WO2013069222A1 - Radiation generating tube and radiation generating apparatus - Google Patents

Radiation generating tube and radiation generating apparatus Download PDF

Info

Publication number
WO2013069222A1
WO2013069222A1 PCT/JP2012/006845 JP2012006845W WO2013069222A1 WO 2013069222 A1 WO2013069222 A1 WO 2013069222A1 JP 2012006845 W JP2012006845 W JP 2012006845W WO 2013069222 A1 WO2013069222 A1 WO 2013069222A1
Authority
WO
WIPO (PCT)
Prior art keywords
radiation generating
tubular member
generating tube
cathode
radiation
Prior art date
Legal status (The legal status is an assumption and is not a legal conclusion. Google has not performed a legal analysis and makes no representation as to the accuracy of the status listed.)
Ceased
Application number
PCT/JP2012/006845
Other languages
English (en)
French (fr)
Inventor
Koji Yamazaki
Yasue Sato
Kazuyuki Ueda
Current Assignee (The listed assignees may be inaccurate. Google has not performed a legal analysis and makes no representation or warranty as to the accuracy of the list.)
Canon Inc
Original Assignee
Canon Inc
Priority date (The priority date is an assumption and is not a legal conclusion. Google has not performed a legal analysis and makes no representation as to the accuracy of the date listed.)
Filing date
Publication date
Application filed by Canon Inc filed Critical Canon Inc
Priority to US14/356,578 priority Critical patent/US9887063B2/en
Publication of WO2013069222A1 publication Critical patent/WO2013069222A1/en
Anticipated expiration legal-status Critical
Priority to US15/856,838 priority patent/US10068742B2/en
Ceased legal-status Critical Current

Links

Images

Classifications

    • HELECTRICITY
    • H01ELECTRIC ELEMENTS
    • H01JELECTRIC DISCHARGE TUBES OR DISCHARGE LAMPS
    • H01J35/00X-ray tubes
    • H01J35/02Details
    • H01J35/16Vessels; Containers; Shields associated therewith
    • GPHYSICS
    • G01MEASURING; TESTING
    • G01NINVESTIGATING OR ANALYSING MATERIALS BY DETERMINING THEIR CHEMICAL OR PHYSICAL PROPERTIES
    • G01N23/00Investigating or analysing materials by the use of wave or particle radiation, e.g. X-rays or neutrons, not covered by groups G01N3/00 – G01N17/00, G01N21/00 or G01N22/00
    • G01N23/02Investigating or analysing materials by the use of wave or particle radiation, e.g. X-rays or neutrons, not covered by groups G01N3/00 – G01N17/00, G01N21/00 or G01N22/00 by transmitting the radiation through the material
    • HELECTRICITY
    • H01ELECTRIC ELEMENTS
    • H01JELECTRIC DISCHARGE TUBES OR DISCHARGE LAMPS
    • H01J35/00X-ray tubes
    • H01J35/02Details
    • H01J35/025X-ray tubes with structurally associated circuit elements
    • HELECTRICITY
    • H01ELECTRIC ELEMENTS
    • H01JELECTRIC DISCHARGE TUBES OR DISCHARGE LAMPS
    • H01J35/00X-ray tubes
    • H01J35/02Details
    • H01J35/20Selection of substances for gas fillings; Means for obtaining or maintaining the desired pressure within the tube, e.g. by gettering
    • HELECTRICITY
    • H01ELECTRIC ELEMENTS
    • H01JELECTRIC DISCHARGE TUBES OR DISCHARGE LAMPS
    • H01J5/00Details relating to vessels or to leading-in conductors common to two or more basic types of discharge tubes or lamps
    • H01J5/20Seals between parts of vessels
    • H01J5/22Vacuum-tight joints between parts of vessel
    • H01J5/26Vacuum-tight joints between parts of vessel between insulating and conductive parts of vessel
    • HELECTRICITY
    • H01ELECTRIC ELEMENTS
    • H01JELECTRIC DISCHARGE TUBES OR DISCHARGE LAMPS
    • H01J9/00Apparatus or processes specially adapted for the manufacture, installation, removal, maintenance of electric discharge tubes, discharge lamps, or parts thereof; Recovery of material from discharge tubes or lamps
    • H01J9/24Manufacture or joining of vessels, leading-in conductors or bases
    • H01J9/26Sealing together parts of vessels
    • HELECTRICITY
    • H01ELECTRIC ELEMENTS
    • H01JELECTRIC DISCHARGE TUBES OR DISCHARGE LAMPS
    • H01J9/00Apparatus or processes specially adapted for the manufacture, installation, removal, maintenance of electric discharge tubes, discharge lamps, or parts thereof; Recovery of material from discharge tubes or lamps
    • H01J9/24Manufacture or joining of vessels, leading-in conductors or bases
    • H01J9/32Sealing leading-in conductors
    • HELECTRICITY
    • H01ELECTRIC ELEMENTS
    • H01JELECTRIC DISCHARGE TUBES OR DISCHARGE LAMPS
    • H01J9/00Apparatus or processes specially adapted for the manufacture, installation, removal, maintenance of electric discharge tubes, discharge lamps, or parts thereof; Recovery of material from discharge tubes or lamps
    • H01J9/24Manufacture or joining of vessels, leading-in conductors or bases
    • H01J9/36Joining connectors to internal electrode system
    • HELECTRICITY
    • H01ELECTRIC ELEMENTS
    • H01JELECTRIC DISCHARGE TUBES OR DISCHARGE LAMPS
    • H01J9/00Apparatus or processes specially adapted for the manufacture, installation, removal, maintenance of electric discharge tubes, discharge lamps, or parts thereof; Recovery of material from discharge tubes or lamps
    • H01J9/38Exhausting, degassing, filling, or cleaning vessels
    • H01J9/395Filling vessels
    • HELECTRICITY
    • H01ELECTRIC ELEMENTS
    • H01JELECTRIC DISCHARGE TUBES OR DISCHARGE LAMPS
    • H01J2209/00Apparatus and processes for manufacture of discharge tubes
    • H01J2209/18Assembling together the component parts of the discharge tube
    • HELECTRICITY
    • H01ELECTRIC ELEMENTS
    • H01JELECTRIC DISCHARGE TUBES OR DISCHARGE LAMPS
    • H01J2209/00Apparatus and processes for manufacture of discharge tubes
    • H01J2209/26Sealing parts of the vessel to provide a vacuum enclosure
    • HELECTRICITY
    • H01ELECTRIC ELEMENTS
    • H01JELECTRIC DISCHARGE TUBES OR DISCHARGE LAMPS
    • H01J2235/00X-ray tubes
    • H01J2235/08Targets (anodes) and X-ray converters
    • H01J2235/083Bonding or fixing with the support or substrate
    • H01J2235/084Target-substrate interlayers or structures, e.g. to control or prevent diffusion or improve adhesion

Definitions

  • the present invention relates to a radiation generating tube and a radiation generating apparatus equipped with the same.
  • withstand voltage withstand voltage characteristics
  • One of portions of radiation generating tubes that require withstand voltage is a bonded portion of an insulating tubular member and a cathode. Particularly when the bonded portion is exposed from the radiation generating tube as viewed from the outside thereof, electric field concentration tends to occur in the vicinity of the exposed portion, where discharge is prone to occur.
  • PTL 1 discloses providing a corona ring so as to cover a fusing portion of a glass vacuum envelope and a cathode to relax electric field concentration in the vicinity of the fusing portion, thereby preventing damage to the vacuum envelope due to a local discharge impact.
  • PTL 2 discloses a structure in which an electrically conducting portion located at the side of a radiation emission window and an electrically insulating portion located at the side of a voltage apply portion are fixed, and an electrically resistive film is disposed outside the electrically insulating portion to prevent discharge due to the disturbance of the electric field between a corona ring and a vacuum envelope.
  • the present invention provides a radiation generating tube and a radiation generating apparatus having high reliability and high radiation-output stability in which electric field concentration generated at the bonded portion of a cathode or an anode and an insulating tubular member is made difficult to occur, thereby preventing discharge.
  • a radiation generating tube includes an envelope including an insulating tubular member having at least two openings, a cathode connected to one of the openings of the tubular member, and an anode connected to the other of the openings of the tubular member; an electron emitting source connected to the cathode; and a target connected to the anode, wherein the internal space of the envelope is under negative pressure relative to the external space, wherein at least one of the cathode and the anode and the tubular member are bonded at a bonded portion with an electrically conductive bonding material; and the bonded portion bonded with the bonding material is coated with a dielectric layer.
  • the present invention can provide a high-reliability radiation generating apparatus in which high withstand voltage characteristics are maintained over a long period.
  • Fig. 1 is a cross-sectional view of a radiation generating apparatus according to an embodiment of the present invention.
  • Fig. 2A is a cross-sectional view of a radiation generating tube according to an embodiment of the present invention.
  • Fig. 2B is a cross-sectional view of the radiation generating tube according to the embodiment of the present invention.
  • Fig. 2C is a cross-sectional view of the radiation generating tube according to the embodiment of the present invention.
  • Fig. 3 is a cross-sectional view of a radiation generating tube according to an embodiment of the present invention.
  • Fig. 4 is a cross-sectional view of a radiation generating tube according to an embodiment of the present invention.
  • Fig. 5 is a block diagram of an experimental device according to an embodiment of the present invention.
  • Fig. 6 is a block diagram of an experimental device according to an embodiment of the present invention.
  • Fig. 7A is a schematic diagram for explaining an action of the present invention.
  • Fig. 7B is a schematic diagram for explaining an action of the present invention.
  • Fig. 8A is a schematic diagram for explaining another action of the present invention.
  • Fig. 8B is a schematic diagram for explaining the other action of the present invention.
  • Fig. 9A is a cross-sectional view of a radiation generating tube according to another embodiment of the present invention.
  • Fig. 9B is a cross-sectional view of the radiation generating tube according to the other embodiment of the present invention.
  • Fig. 9C is a cross-sectional view of a radiation generating tube according to another embodiment of the present invention.
  • Fig. 9A is a cross-sectional view of a radiation generating tube according to another embodiment of the present invention.
  • Fig. 9B is a cross-sectional view of the radiation generating tube according to
  • FIG. 9D is a cross-sectional view of a radiation generating tube according to another embodiment of the present invention.
  • Fig. 10A is a cross-sectional view showing the state of coating of the bonded portion of the dielectric layer of a radiation generating tube according to an embodiment of the present invention.
  • Fig. 10B is a cross-sectional view showing the state of coating of the bonded portion of the dielectric layer of a radiation generating tube according to an embodiment of the present invention.
  • Fig. 10C is a cross-sectional view showing the state of coating of the bonded portion of the dielectric layer of a radiation generating tube according to an embodiment of the present invention.
  • Fig. 10A is a cross-sectional view showing the state of coating of the bonded portion of the dielectric layer of a radiation generating tube according to an embodiment of the present invention.
  • Fig. 10B is a cross-sectional view showing the state of coating of the bonded portion of the dielectric layer of a radiation generating tube according to an embodiment of
  • FIG. 10D is a cross-sectional view showing the state of coating of the bonded portion of the dielectric layer of a radiation generating tube according to an embodiment of the present invention.
  • Fig. 10E is a cross-sectional view showing the state of coating of the bonded portion of the dielectric layer of a radiation generating tube according to an embodiment of the present invention.
  • Fig. 10F is a cross-sectional view showing the state of coating of the bonded portion of the dielectric layer of a radiation generating tube according to an embodiment of the present invention.
  • Figs. 2A to 2C are cross-sectional views of a radiation generating tube according to an embodiment of the present invention
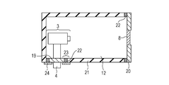
  • Fig. 1 is a cross-sectional view of a radiation generating apparatus that accommodates the radiation generating tube according to the embodiment of the present invention.
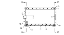
  • a radiation generating tube 1 is equipped with a cathode 19, an electron emitting source 3 connected to the cathode 19, an anode 20, a target 8 connected to the anode 20, and an insulating tubular member 21.
  • the cathode 19 and the anode 20 are individually connected to two openings of the tubular member 21 at separate locations.
  • a container 6 formed of the cathode 19, the anode 20, and the tubular member 21 to define an internal space 12 is referred to as an envelope 6 in the present invention.
  • the internal space 12 of the envelope 6 is reduced in pressure (evacuated) so that electrons emitted from an electron emitting portion 2 of the electron emitting source 3 disposed in the internal space 12 of the envelope 6 can be emitted to the target 8 as an electron beam 5.
  • the degree of vacuum in the internal space 12 can be selected as appropriate in consideration of the kind, the driving conditions, and so on of the electron emitting source 3 used; for example, a vacuum level of 1E-4 to 1E-8 Pa can be selected. If a cold-cathode electron emitting source of Spindt type, metal-insulator-metal (MIM) type, or the like is used, a vacuum of 1E-6 Pa or less may be selected in view of the stability of electron emission characteristics. To maintain the degree of vacuum, a getter (not shown) may be disposed in the internal space 12 or an auxiliary space (not shown) that communicates with the internal space 12.
  • MIM metal-insulator-metal
  • the electron emitting source 3 may be any electron emitting source whose electron emission amount can be controlled from the outside of the envelope 6; for example; in addition to the above-described cold-cathode electron emitting source, a hot-cathode electron emitting source can be applied as appropriate.
  • An impregnated hot-cathode electron emitting source can be employed because it can stably emit a large-current electron beam 5.
  • the electron emitting source 3 is electrically connected to a driving circuit 14 disposed outside the envelope 6 so that the electron emission amount and the on/off timing of electron emission can be controlled via a current lead-in terminal 4 provided on the cathode 19.
  • the location of the driving circuit 14 is not limited thereto; it may be disposed in the envelope 6.
  • the cathode 19 defines an electrostatic field around the mounting portion of the electron emitting source 3 to the envelope 6 so as to relax the spatial asymmetry of the electrostatic field around the electron emitting source 3 and to prevent local electric field concentration.
  • the electron emitting source 3 has the electron emitting portion 2.
  • the electron emitting portion 2 has two electrodes that supply emission electron currents as an emitter electrode pair (not shown). If electrooptical functions, such as electron beam convergence and astigmatism correction, are to be added, additional auxiliary electrodes (not shown) are provided.
  • the electrode group composed of the above-described emitter electrode pair and the auxiliary electrodes can be connected to the driving circuit 14 outside the radiation generating tube 1 from the cathode 19 side via the current lead-in terminal 4.
  • the cathode 19 may be set at a constant potential sufficiently lower than the electrode potential of the anode 20 in view of the relaxation of the asymmetry of the electrostatic field, described above.
  • the potential may be set to the same potential as that of one of the emitter electrode pair that supplies potential to the electron emitting portion 2 or may be set to an intermediate potential of the potentials of the emitter electrode pair.
  • the anode 20 has functions of defining the potential of the target 8 with a voltage source (not shown) and supplying an anode current flowing in the target 8 to a grounding terminal 16 via the voltage source.
  • the anode 20 is an electrode having the function of defining an electrostatic field around the target 8 of the radiation generating tube 1, like the cathode 19.
  • the cathode 19 and the anode 20 may individually define the potentials of predetermined areas, it may also be the case that the areas are equal to the opening cross-sectional area of the insulating tubular member 21.
  • the anode 20 may separately have a shielding member (not shown) that can define the radiation range of radiation 15.
  • the anode 20 and the target 8 may also be connected via the shielding member.
  • the materials of the cathode 19 and the anode 20 may be determined depending on electrical conductivity, airtightness, strength, and Coefficient of linear Thermal Expansion matching with the tubular member 21; for example, Kovar and tungsten can be employed.
  • the target 8 is disposed in the radiation generating tube 1 so as to be irradiated with electrons emitted from the electron emitting portion 2.
  • the target 8 may be opposed to the electron emitting portion 2 in view of the symmetry of the electric field between the cathode 19 and the anode 20.
  • a positive potential of 10 kV to 200 kV is applied to the electron emitting portion 2, so that electrons having an energy of 10 keV to 200 keV are emitted from the electron emitting portion 2 to the target 8 as the electron beam 5 to cause the target 8 to generate radiation.
  • substantially the same positive potential as that of the target 8 may be applied to anode 20 in view of suppression of asymmetry of the electric field distribution between the cathode 19 and the anode 20.
  • the target 8 has a target component containing a heavy element that generates radiation due to a collision of electrons.
  • the target 8 may be of an independent type composed of only the target component.
  • the target 8 may be of a distributed type in which a target material is distributed in a material that allows radiation to pass therethrough and a layered type in which a metal thin film that contains a target material is stacked on a substrate formed of a material that allows radiation to pass therethrough.
  • the substrate that allows radiation to pass therethrough include substrates made of a material having a low atomic number, such beryllium and diamond.
  • the target 8 may be of a layered type in which a target layer and a support substrate that supports the target layer are layered.
  • a metal thin film having a thickness of several micrometers may be supported by the substrate in view of prevention of attenuation of radiation and prevention of defocusing due to the thermal deformation of the target 8.
  • the metal thin film may be formed of a heavy metal material having an atomic number 26 or larger in view of radiation/incoming electrons conversion efficiency.
  • the metal thin film may be made of tungsten, molybdenum, chrome, copper, cobalt, iron, rhodium, rhenium, or an alloy thereof. If such the metal thin film is formed on the support substrate as a target material of the target 8, any method that ensures the contact between it and the support substrate may be employed; various deposition methods, for example, sputtering, CVD, and vapor deposition, may be employed.
  • the tubular member 21 has a dielectric property and has at least two openings that connect to the cathode 19 and the anode 20, respectively.
  • the tubular member 21 is configured such that the two openings communicate with each other so that electrons emitted from the electron emitting portion 2 irradiate the target 8 in the envelope 6. That is, the radiation generating tube 1 may have not only the configuration in which the cathode 19 and the anode 20 are exposed and opposed, as shown in Fig. 1, but also a configuration in which the internal space of the tubular member 21 is separated by a partition and the electron emitting source 3 passes through the partition, as shown in Fig. 9D. As shown in Fig. 9A and a cross-sectional view 9B of the radiation generating tube 1 in Fig.
  • the anode 20 (or the cathode 19) may be connected to the side of the tubular member 21.
  • the cathode 19 and the anode 20 need not be opposed and may be in a nonparallel positional relationship.
  • the tubular member 21 need not have a cylindrical shape in cross section, as in Fig. 1, but may have a polygonal outer shape or inner shape in cross section.
  • the material of the tubular member 21 is selected in view of the electrical insulation performance, airtightness, low gas emission performance, heat resistance, and Coefficient of linear Thermal Expansion matching between the cathode 19 and the anode 20; for example, insulative ceramics, such as boron nitride and alumina, and insulative inorganic glass, such as borosilicate glass.
  • the bonded portion of the cathode 19 or the anode 20 and the tubular member 21 becomes an electric field concentration area when the radiation generating tube 1 is operated, where discharge occurs at high probability, and the withstand voltage characteristics of the radiation generating tube 1 are restricted.
  • the bonded portion of the cathode 19 and the tubular member 21 is referred to as a triple point, where field electron emission from the cathode 19 side tends to occur. Accordingly, one of measures to reduce discharge is reducing ununiformity of electric field distribution particularly in the vicinity of the bonded portion 23 adjacent to the cathode 19.
  • the bonding material 22 may be hard solder (brazing alloy), such as silver alloy brazing filler and copper solder, having electrical conductivity and high bondability between different kinds of material, metal and insulator. As shown in Figs.
  • the bonding material 22 may be shaped like a ring and may hermetically seal the bonded portion 23 in a ring shape in view of the uniformity of the electric field in the circumferential direction of the bonded portion 23 of the tubular member 21 and the cathode 19 or the anode 20.
  • Figs. 2A and 2C are cross-sectional views of the radiation generating tube 1 shown in Fig. 2B, taken along IIA-IIA and IIC-IIC, respectively.
  • At least one of the cathode 19 and the anode 20 of the radiation generating tube 1 is bonded together with the bonding material 22.
  • the bonded portion 23 having the bonding material 22 interposed therebetween is coated with a dielectric layer 24 made of a dielectric material, such as epoxy resin, silicone resin, aluminum oxide, silicon oxide, and boron nitride.
  • the dielectric layer 24 exhibits a plurality of actions that improve the withstand voltage characteristics of the radiation generating tube 1 according to an embodiment of the radiation generating tube 1.
  • the dielectric layer 24 has the action of making the electric field concentration generated at the bonding material 22 difficult to extend directly to the electrostatic field in a space that the bonding material 22 faces. This action will be specifically described hereinbelow.
  • the bonding material 22 is set to substantially the same potential as that of the cathode 19. Note, however, that the boundary between the bonding material 22 having electrical conductivity, the tubular member 21 having a dielectric property, and the vacuum internal space 12 is a triple point in a microscopic scale, where electric field concentration occurs. On the other hand, in a radiation generating tube manufactured through an actual manufacturing process, sometimes the surface of the bonding material 22 is not formed into a completely smooth surface, and the boundary between the bonding material 22 and the tubular member 21 is not formed into a completely smooth ring shape.
  • the bonding material 22 is a material that comes into close contact with the members which are to be bonded to mutually to ensure a bonded surface in a bonding process, owing to a property of softening to be deformed more easily than the cathode 19 and the tubular member 21 and a property of wettability to members which are to be bonded to mutually.
  • bonding local deformation, such as protrusions, and locally spreading wetting occurred in the bonding material 22 to cause the bonding material 22 to be varied in shape.
  • Such variations in the shape of the bonding material 22 further accelerate electric field concentration at the triple point.
  • the dielectric layer 24 coats at least the boundary between the bonding material 22 and the insulating tubular member 21.
  • the coating of the bonded portion 23 with the dielectric layer 24 can relax electric field concentration generated at the surface of the bonding material 22 and the boundary between the surface of the bonding material 22 and the insulating tubular member 21.
  • the effect of relaxing the electric field concentration on the space in the vicinity of the bonded portion 23 depends on the relative dielectric constant, the shape, and the coating range of the dielectric layer 24.
  • the relative dielectric constant of the dielectric layer 24 may be smaller than the relative dielectric constant of the tubular member 21.
  • a thickness of 100 micrometers or more or a thickness of 10% or higher than the thickness of the side wall of the tubular member 21 allows the electric field concentration to be suppressed more effectively. Setting the thickness of the dielectric layer 24 to 100% or less of the thickness of the side wall of the tubular member 21 prevents the electric field concentration area from coming excessively close to the current lead-in terminal 4 or the electrode group of the cathode 19, thus allowing a drop in withstand voltage to be prevented.
  • the coating range of the dielectric layer 24 may be set to at least continuous part of the tubular member 21 next to the boundary between the bonding material 22 and the tubular member 21 in consideration of the alignment tolerance of the coating.
  • the bonded portion 23 including the thickwise direction of the bonding material 22 may be coated. That is, the dielectric layer 24 in Fig. 10C offers a higher field-concentration relaxing effect than that in Fig. 10B, and the dielectric layer 24 in Fig. 10A offers a higher field-concentration relaxing effect than that in Fig. 10C. As shown in Figs. 10D to 10F, the bonding material 22 and the dielectric layer 24 need not necessarily be in close contact; according to some embodiments of the present invention, there may be a space between the dielectric layer 24 and the bonding material 22. As shown in Fig. 3 and Figs.
  • the dielectric layer 24 may be shaped like a ring and may coat the bonded portion 23 in a ring shape in view of the uniformity of the electric field in the circumferential direction of the bonded portion 23.
  • the dielectric layer 24 has the operational advantage of directly suppressing electric field concentration in the vicinity of the bonded portion 23. Furthermore, as shown in Figs. 10A, 10D, 10E, and 10F, the dielectric layer 24 has the operational advantage of indirectly suppressing electric field concentration in the vicinity of the bonded portion 23, depending on the configuration of coating. This will be described hereinbelow.
  • the target 8 generates the radiation 15 when irradiated with the electron beam 5.
  • the conversion efficiency thereof is extremely smaller than 1.
  • Most of the kinetic energy of the electron beam 5 input to the target 8 is converted to heat and does not contribute to generation of radiation.
  • the bonded portion 23 of the radiation generating tube 1 is subjected to a temperature change history from a storage temperature (environmental temperature or room temperature) in an inoperative state to an operating temperature (the order of several hundred Celsius degrees). Furthermore, continuous compressive stress occurs in the bonded portion 23 due to the pressure difference (atmospheric pressure) between the interior and the exterior of the radiation generating tube 1.
  • a linear expansion amount difference due to a Coefficient of linear Thermal Expansion difference between the cathode 19 or the anode 20 and the insulating tubular member 21 and the temperature distribution occurs among the components due to the temperature changes, described above.
  • the mismatch of the Coefficient of linear Thermal Expansion and the liner expansion amount causes an intermittent and changing stress in the bonded portion 23.
  • the bonded portion 23 with the bonding material 22 that contains metal, such as silver alloy brazing filler, has a faculty to prevent cracks, breaking, and so on in the other components of the radiation generating tube 1 due to distortion (deformation) of the bonding material 22, such as viscoelastic deformation.
  • the stress that is generated in the bonded portion 23 for a long period, described above, and the repletion thereof serve as driving force to grow needle crystal 28 called whisker from the bonding material 22.
  • the bonding material 22 is an alloy made of hard solder, such as silver alloy brazing filler, and has the property of relaxing compressive stress generated in the alloy when subjected to continuous stress, particularly, compressive stress by generating needle crystal 28 of a selected component thereof, such as silver, copper, gold, zinc, and tin, outwards from the surface of the alloy composition.
  • the inventors have found that the withstand voltage characteristics sometimes deteriorate due to the needle crystal 28 protruding from the surface of the bonding material 22.
  • Fig. 7A shows the initial state of the radiation generating tube 1 in which the bonded portions 23 of the tubular member 21 and the cathode 19 and the anode 20 are not coated with dielectric layers.
  • FIG. 7B schematically shows the same radiation generating tube 1 after being operated for 1,000 hours. Since the needle crystal 28 has electrical conductivity and has a shape with a high aspect ratio (length in a growing direction/cross-sectional width), it caused further acceleration of the electric field concentration in the vicinity of the bonded portion 23.
  • the dielectric layer 24 has the action of physically preventing the needle crystal 28 from protruding from the surface of the bonding material 22 into a space in the vicinity of the bonded portion 23 by covering the bonded portion 23. Accordingly, the coating of the bonded portion 23 with the dielectric layer 24 is effective particularly when the electrically conductive bonding material 22 contains a metal element selected from silver, tin, zinc, and gold as simple metal, or metal elements selected therefrom as components of an alloy or components of a metal mixture.
  • the dielectric layer 24 may be configured to coat both of part of the cathode 19 and part of the tubular member 21 in such a manner so as to connect the cathode 19 and the tubular member 21.
  • the dielectric layer 24 may be configured to coat part of the members which are to be bonded to mutually to be bonded by the bonded portion 23 in such a manner as to bridge the members which are to be bonded to mutually.
  • Such a configuration allows part of the stress generated in the bonding material 23 to be shared by the dielectric layer 24 to reduce the stress generated in the bonding material 22, thereby preventing generation of the needle crystal 28.
  • Fig. 10A, 10D, and 10F the dielectric layer 24 may be configured to coat both of part of the cathode 19 and part of the tubular member 21 in such a manner so as to connect the cathode 19 and the tubular member 21.
  • the dielectric layer 24 may be configured to coat part of the members which are to be bonded to mutually to be bonded by the bonded portion 23 in
  • the bonded portion 23 at the anode 20 side offers the same operational advantages as those of the bonded portion 23 at the cathode 19 side by employing the same configurations as those of the bonded portion 23 at the cathode 19 side.
  • the process of manufacturing the radiation generating apparatus 1 includes the step of bonding at least one of the cathode 19 and the anode 20 and an opening of the insulating tubular member 21 with the electrically conductive bonding material 22; the step of coating the bonded portion 23 with the dielectric layer 24 so as to bridge part of at least one of the cathode 19 and the anode 20 and part of the tubular member 21; the step of forming the envelope 6 by defining the internal space 12 by hermetically sealing the cathode 19, the anode 20, and the tubular member 21; and the step of reducing the pressure of the internal space 12 of the envelope 6 into negative pressure relative to an external space.
  • the radiation generating tube 1 may be accommodated in the container 11 to configure the radiation generating apparatus 13.
  • the internal space 17 between the radiation generating tube 1 and the container 11 may accommodate insulative fluid (insulative liquid 18) in view of stabilization of the withstand voltage characteristics and the performance characteristics of the radiation generating apparatus 13 in operation.
  • the introduction of the insulative liquid 18 can enhance the heat radiation performance of the radiation generating tube 1 in operation while ensuring the insulation between the cathode 19 and the anode 20.
  • the insulative liquid 18 may have high electrical insulation performance, high cooling performance and is less prone to degradation due to heat; for example, electrically insulating oil, such as silicone oil, transformer oil, and fluorine oil and fluorine insulative liquid, such as hydrofluoroether, can be used.
  • a foreign substance 31 gets mixed or a foreign substance 30 is generated in the insulative liquid 18, as shown in Fig. 8A.
  • Possible causes of the contaminant foreign substance 31 are dropping-off of part of some of the components that constitute the radiation generating apparatus 13 resulting from deterioration due to heat generated during operation or vibration during operation and inevitable intrusion thereof into the insulative liquid 18 during manufacture.
  • Possible causes of the generated foreign substance 30 are deterioration of the insulative liquid 18 itself into a solid due to an increase in the temperature of the insulative liquid 18, absorption of electromagnetic waves, or the like with the operation of the radiation generating apparatus (hereinafter the contaminant foreign substance 31 and the generated foreign substance 30 are collectively referred to as foreign substances).
  • these foreign substances sometimes come into contact with the bonded portion 23 of the cathode 19 or anode 20 and the tubular member 23 as the insulative liquid 18 flows.
  • the contact between the bonded portion 23 and the foreign substances irrespective of whether the foreign substances have electrical conductivity or dielectricity, has a possibility that the electric field distribution in the vicinity of the bonded portion 23 is locally disturbed to cause a new electric field concentration area.
  • the dielectric layer 24 also has the effect of suppressing the generation of an electric field concentration area due to the contact between the foreign substances in the insulative liquid 18 and the bonded portion 23 by obstructing such contact itself between the foreign substances and the bonded portion 23 in the insulative liquid 18. Accordingly, as shown in Fig. 1, at least part of the outer surface of the tubular member 6 and the bonding material 22 are continuously coated so as to separate the insulative liquid 18 and the bonded portion 23 from each other using the dielectric layer 24.
  • the electric field concentration in the vicinity of the bonded portion 23 can be further relaxed.
  • the driving circuit 14 for driving the radiation generating tube 1 may be disposed either inside or outside the container 11.
  • the container 11 may be set at a predetermined potential in view of operational stability and safety of the radiation generating apparatus 13.
  • the predetermined potential may be a grounding potential set via the grounding terminal 16.
  • the material of the container 11 may be various kinds of material; for example, metal, such as iron, stainless steel, lead, brass, and copper, may be employed in view of radiation shielding performance, strength, and surface-potential setting performance.
  • the auxiliary electrode may be connected to a collection circuit (not shown) disposed outside the radiation generating tube 1. Both of the correction circuit and the voltage source may be provided in the driving circuit 14.
  • Example 1 is an example of the configuration shown in the foregoing embodiment and will be described in detail using Figs. 4 and 5.
  • Fig. 4 shows a cross-section of the radiation generating tube 1 of Example 1.
  • Fig. 5 is a block diagram of an experimental device for examining the performance characteristics of the radiation generating tube 1 of Example 1.
  • the radiation generating tube 1 of Example 1 was formed as follows. First, a high-pressure synthetic diamond made by Sumitomo electric industries, Ltd., was prepared as a support substrate.
  • the support substrate has a disc shape (cylindrical shape) having a diameter of 5 mm and a thickness of 1 mm.
  • the prepared support substrate was subjected to UV-ozone ashing to remove organic matter on the surface thereof.
  • a titanium contact layer was formed by sputtering at a thickness of 10 nm on one of the two circular surfaces of the support substrate having a diameter of 1 mm by using argon as a carrier gas.
  • the support substrate during deposition of titanium was heated to 260 Celsius degrees with a heating stage.
  • a tungsten target layer was formed by sputtering at a thickness of 7 micrometers on the contact layer by continuous deposition using argon as a carrier gas without venting an atmosphere around the deposition unit.
  • the diamond support substrate during deposition of tungsten was heated to 260 Celsius degrees with a heating stage, as in the deposition of titanium.
  • the thicknesses of the titanium contact layer and the tungsten target layer were adjusted to designated film thicknesses depending on the deposition times before the deposition by acquiring calibration curve data about the thicknesses of the individual films and deposition times in advance. Measurement of the film thicknesses for acquiring the calibration curve data was performed using a spectroscopic ellipsometer, UVISEL ER, made by Horiba, Ltd. Thus, the target 8 in which the diamond support substrate, the titanium contact layer, and the tungsten target layer were deposited in this order was obtained.
  • a cylindrical opening having a diameter of 1.1 mm was formed in the center of a disc-shaped metal plate formed of Kovar and having a diameter of 60 mm and a thickness of 3 mm to form the anode 20.
  • the anode 20 was subjected to organic solvent cleaning, rinse, and UV-ozone ashing to remove organic matter on the surface of the anode 20.
  • silver alloy brazing filler was applied between the opening of the anode 20 and the outer circumference of the disc-shaped target 8 as a bonding material to solder them, and thus the anode 20 connected to the target 8 was obtained.
  • the current lead-in terminal 4 was provided at the center of a disc-shaped metal plate made of Kovar and having a diameter of 60 mm and a thickness of 3 mm to form the cathode 19.
  • the cathode 19 was subjected to cleaning similar to that for the anode 20, such as organic solvent cleaning, rinse, and UV-ozone ashing, to remove organic matter on the surface of the cathode 19.
  • the insulating tubular member 21 made of alumina and having a length of 70 mm, an outside diameter of 60 mm, and an inside diameter of 50 mm was prepared.
  • the tubular member 21 was also subjected to cleaning similar to that for the cathode 19 and the anode 20 to remove organic matter on the surface thereof.
  • ring-shaped silver alloy brazing filler Japanese Industrial Standard, BAg-8 (Ag72-Cu28, melting point: 780 Celsius degrees), was inserted between the surface of the cathode 19 on which the electron emitting source 3 is provided and one of the openings of the tubular member 21 and is subjected to brazing at 820 Celsius degrees to form the bonded portion 23 having the ring-shaped hermetically bonded bonding material 22.
  • BAg-8 Japanese Industrial Standard
  • a two-component epoxy adhesive is applied to the side of the bonded portion 23 of the cathode 19 and the tubular member 21 exposed to the interior of the tubular member 21 and the side of the bonded portion 23 exposed to the outside of the tubular member 21 and is hardened.
  • the bonded portion 23 is coated with the dielectric layers 24 formed of epoxy resin obtained by hardening the epoxy adhesive so as to sandwich the bonded portion 23 therebetween.
  • the coating ranges of the dielectric layers 24 were set to a range of 1 mm from the boundary between the cathode 19 and the bonding material 22 toward the cathode 19 to 5 mm from the boundary between the tubular member 21 and the bonding material 22 toward the anode 20 on both of inside and outside of the tubular member 21.
  • the thickness of the dielectric layers 24 used was set to 1 mm.
  • the relative dielectric constant of the alumina in the tubular member 21 was 9.5 (at room temperature, 1 MHz).
  • the relative dielectric constant of the epoxy resin used was 4.0 (at room temperature, 1 MHz).
  • the melting point of the alumina in the tubular member 21 was 2,020 Celsius degrees.
  • the other of the openings of the tubular member 21 and the same exposed surface of the anode 20 as the surface of the target 8 from which tungsten is exposed was soldered by inserting ring-shaped silver alloy brazing filler, Japanese Industrial Standard, BAg-8 (Ag72-Cu28, melting point: 780 Celsius degrees), in the same manner as the bonding of the cathode 19 side to form the bonded portion 23 having the ring-shaped hermetically bonded bonding material 22.
  • the cathode 19 and the anode 20 and the tubular member 21 are individually connected at the two openings of the tubular member 21 by airtight bonding to form the envelope 6.
  • the interior of the envelope 6 was evacuated to a vacuum of 1E-5 Pa with an exhaust pipe and an exhauster (not shown), and thereafter the exhaust pipe is sealed to form the radiation generating tube 1.
  • the formed radiation generating tubes 1 were disposed in the atmosphere, and the cathode 19, the anode 20, and the current lead-in terminal 4 of each of the radiation generating tubes 1 were connected to a cathode terminal that outputs -1/2 Va, an anode terminal that outputs +1/2 Va, and a terminal group that controls the amount of electrons of the electron beam 5 to be emitted from the electron gun 3, which are provided in the driving circuit 14 in advance, where Va is an acceleration voltage between the electron emitting portion 2 and the target 8.
  • a radiation-intensity detector 26 equipped with a semiconductor detector was disposed at a position 100 cm away from the target 8 on the central vertical axis of the target 8 of the radiation generating apparatus 1, that is, a position on the radiation emission center axis.
  • Output-stability evaluation with the radiation-intensity detector 26 was performed in such a manner that radiation was emitted for five seconds every time the electron emitting source 3 repeats 100 times of a one-second emission and a three-second idle period, with the acceleration voltage Va set at 60 kV, the output intensity of radiation was measured for three seconds except the preceding and following one seconds, and thus, temporal changes in the output intensity of the radiation generating tube 1 were measured.
  • the electron emission was performed in such a manner that the emission axis of the electron beam 5 was aligned so that the focus on the target 8 is well within the target 8, and the spot radius of the electron beam 5 is 0.5 mm, and the density of a current flowing in the anode 20 was controlled to a variable value within 1% while monitoring the current flowing through the path between the anode 20 and the grounding electrode with a negative feedback circuit (not shown).
  • the discharge counter 25 observed whether discharge has occurred in a connection wire from the cathode 19 to the driving circuit 14, a connection wire from the anode 20 to the driving circuit 14, and a connection wire group from the current lead-in terminal 4 to the driving circuit 14 with inductive probes.
  • a discharge-withstand-voltage characteristic test was performed by gradually increasing the acceleration voltage Va while stopping the current supplied to the electron emitting portion 2.
  • the average value of the output changes of the radiation generating tubes 1 of Example 1 was 1.9%, which was a good result.
  • the average of voltages that the radiation generating tubes 1 of Example 1 discharged first was 91 kV, and the average of the accumulated numbers of discharge to an application of 100 kV was 1.3, which were good results.
  • Example 1 Another five radiation generating tubes 1 of Example 1 were formed, and when the individual bonded portions 23 were observed by conducting a test to give a 1,000-hour temperature history in which temperatures from a room temperature to 300 Celsius degrees are repeated 100 times using environment testing equipment, as in Example 1, no needle crystal was observed at the cathode-side bonded portions 23 and the anode-side bonded portions 23.
  • the process of forming the radiation generating tubes 1 was performed as in Example 1, except the step of coating with the dielectric layers 24, to form five radiation generating tubes 1 shown in Fig. 7A.
  • the average of voltages that the radiation generating tubes 1 of Comparative Example 1 discharged first was 65 kV, and the average of the accumulated numbers of discharge to an application of 100 kV was 12.3, the performance of which was poorer than that of Example 1.
  • Another five radiation generating tubes 1 of Comparative Example 1 were formed, and when the individual bonded portions 23 were observed by conducting a test to give a 1,000-hour temperature history in which temperatures from a room temperature to 300 Celsius degrees are repeated 100 times using environment testing equipment, as in Example 1, three pieces of needle crystal 28 were observed at two locations on the cathode 19 side and one location on the anode 20 side.
  • the dielectric layer 24 was formed only on the inside of the tubular member 21, and the other forming steps were performed as in Example 1 to form five radiation generating tubes 1 shown in Fig. 7A.
  • Example 2 A radiation-intensity-output-stability test and a discharge-withstand-voltage characteristic test were performed on the radiation generating tubes 1 formed in Example 2 for the experimental device shown in Fig. 5, as in Example 1.
  • the average value of the output changes of the radiation generating tubes 1 of Example 2 was 2.3%, which was a good result.
  • the average of voltages that the radiation generating tubes 1 of Example 2 discharged first was 84 kV, and the average of the accumulated numbers of discharge to an application of 100 kV was 1.6, which was a good result.
  • Example 2 Another five radiation generating tubes 1 of Example 2 were formed, and when the individual bonded portions 23 were observed by conducting a test to give a 1,000-hour temperature history in which temperatures from a room temperature to 300 Celsius degrees are repeated 100 times using environment testing equipment, as in Example 1, no needle crystal was observed at the cathode-side bonded portions 23 and the anode-side bonded portions 23.
  • Example 3 in the step of forming the dielectric layers 24 on the bonded portion 23 of the same forming method as in Example 1, the dielectric layer 24 was formed only on the outside of the envelope 6 as in Example 1, except that both of bonded portion 23 at the cathode 19 side and the bonded portion 23 at the anode 20 side were coated with dielectric layers 24, to form five radiation generating tubes 1 shown in Figs. 2A, 2B, and 2C.
  • the thus-formed radiation generating tubes 1 were each accommodated in the brass container 11 together with the driving circuit 14.
  • the driving circuit 14 and the radiation generating tube 1 were electrically connected.
  • Example 2 the dielectric probes of the discharge counter 25 disposed outside the container 11 were disposed on connection wires between the driving circuit 14 and the radiation generating tube 1, and the container 11 was filled with silicone oil having a relative dielectric constant of 2.8 (at room temperature, 1 MHz), and thereafter, the container 11 was closed with a brass cover.
  • the radiation generating apparatus 13 whose output changes can be measured was formed.
  • the radiation-intensity detector 26 equipped with the semiconductor detector was disposed at a position facing a radiation extracting portion 10 of the container 11, on the radiation irradiation center axis 27, and 100 cm distant from the target 8, as in Example 1.
  • the average value of the output changes of the radiation generating tubes 3 of Example 3 was 2.0%, which was a good result.
  • the average of voltages that the radiation generating tubes 1 of this example discharged first was 94 kV, and the average of the accumulated numbers of discharge to an application of 100 kV was 1.3, which was a good result.
  • Example 3 The process of forming the radiation generating tubes 1 in Example 3 was performed as in Example 1, except the step of coating with the dielectric layers 24, to form five radiation generating tubes 21 shown in Fig. 7A.
  • the thus-formed radiation generating apparatuses 13 were each accommodated in the container 11, as in Example 3, and were filled with the insulative liquid 18 formed of silicone oil, and the radiation generating tube 5 was connected to the driving circuit 14, the discharge counter 25, and the radiation-intensity detector 26.

Landscapes

  • Engineering & Computer Science (AREA)
  • Manufacturing & Machinery (AREA)
  • Physics & Mathematics (AREA)
  • Health & Medical Sciences (AREA)
  • Life Sciences & Earth Sciences (AREA)
  • Chemical & Material Sciences (AREA)
  • Analytical Chemistry (AREA)
  • Biochemistry (AREA)
  • General Health & Medical Sciences (AREA)
  • General Physics & Mathematics (AREA)
  • Immunology (AREA)
  • Pathology (AREA)
  • X-Ray Techniques (AREA)
PCT/JP2012/006845 2011-11-09 2012-10-25 Radiation generating tube and radiation generating apparatus Ceased WO2013069222A1 (en)

Priority Applications (2)

Application Number Priority Date Filing Date Title
US14/356,578 US9887063B2 (en) 2011-11-09 2012-10-25 Radiation generating tube, radiation generating apparatus, radiography system and manufacturing method thereof
US15/856,838 US10068742B2 (en) 2011-11-09 2017-12-28 Radiation generating tube, radiation generating apparatus, radiography system and manufacturing method thereof

Applications Claiming Priority (2)

Application Number Priority Date Filing Date Title
JP2011-245793 2011-11-09
JP2011245793A JP5921153B2 (ja) 2011-11-09 2011-11-09 放射線発生管および放射線発生装置

Related Child Applications (2)

Application Number Title Priority Date Filing Date
US14/356,578 A-371-Of-International US9887063B2 (en) 2011-11-09 2012-10-25 Radiation generating tube, radiation generating apparatus, radiography system and manufacturing method thereof
US15/856,838 Division US10068742B2 (en) 2011-11-09 2017-12-28 Radiation generating tube, radiation generating apparatus, radiography system and manufacturing method thereof

Publications (1)

Publication Number Publication Date
WO2013069222A1 true WO2013069222A1 (en) 2013-05-16

Family

ID=47324311

Family Applications (1)

Application Number Title Priority Date Filing Date
PCT/JP2012/006845 Ceased WO2013069222A1 (en) 2011-11-09 2012-10-25 Radiation generating tube and radiation generating apparatus

Country Status (3)

Country Link
US (2) US9887063B2 (enExample)
JP (1) JP5921153B2 (enExample)
WO (1) WO2013069222A1 (enExample)

Cited By (1)

* Cited by examiner, † Cited by third party
Publication number Priority date Publication date Assignee Title
US9514910B2 (en) 2014-01-16 2016-12-06 Canon Kabushiki Kaisha Radiation tube, radiation generating apparatus, and radiation imaging system

Families Citing this family (13)

* Cited by examiner, † Cited by third party
Publication number Priority date Publication date Assignee Title
JP6388387B2 (ja) * 2014-08-25 2018-09-12 東芝電子管デバイス株式会社 X線管
JP2016110744A (ja) * 2014-12-03 2016-06-20 株式会社東芝 X線管装置
JP6262161B2 (ja) * 2015-01-16 2018-01-17 双葉電子工業株式会社 X線管
JP6573380B2 (ja) * 2015-07-27 2019-09-11 キヤノン株式会社 X線発生装置及びx線撮影システム
EP3396697B1 (en) * 2015-12-25 2024-07-17 Nikon Corporation X-ray generating device, structure manufacturing method, and structure manufacturing system
US11201031B2 (en) 2018-03-22 2021-12-14 Varex Imaging Corporation High voltage seals and structures having reduced electric fields
KR102367142B1 (ko) * 2018-12-28 2022-02-23 캐논 아네르바 가부시키가이샤 X선 발생관, x선 발생 장치 및 x선 촬상 장치
US11315751B2 (en) * 2019-04-25 2022-04-26 The Boeing Company Electromagnetic X-ray control
EP4006951B1 (en) * 2019-09-03 2024-03-20 Canon Anelva Corporation X-ray generation device and x-ray imaging device
DE102022209314B3 (de) * 2022-09-07 2024-02-29 Siemens Healthcare Gmbh Röntgenröhre mit zumindest einem elektrisch leitfähigen Gehäuseabschnitt
CN120584548A (zh) * 2023-01-25 2025-09-02 佳能安内华股份有限公司 X射线生成装置和x射线成像装置
CN120584395A (zh) * 2023-01-25 2025-09-02 佳能安内华股份有限公司 X射线生成装置和x射线成像装置
WO2025057338A1 (ja) * 2023-09-13 2025-03-20 キヤノンアネルバ株式会社 X線発生装置およびx線撮像装置

Citations (5)

* Cited by examiner, † Cited by third party
Publication number Priority date Publication date Assignee Title
US3553514A (en) * 1967-05-26 1971-01-05 Philips Corp A cooling gasket for oil filled x-ray tubes
JPH07296754A (ja) 1994-04-27 1995-11-10 Toshiba Corp 電子管及びその製造方法
US6015325A (en) * 1995-12-25 2000-01-18 Hamamatsu Photonics K.K. Method for manufacturing transmission type X-ray tube
US6108402A (en) * 1998-01-16 2000-08-22 Medtronic Ave, Inc. Diamond vacuum housing for miniature x-ray device
JP2009245806A (ja) 2008-03-31 2009-10-22 Hamamatsu Photonics Kk X線管及びこのx線管を具備したx線発生装置

Family Cites Families (4)

* Cited by examiner, † Cited by third party
Publication number Priority date Publication date Assignee Title
JP2892403B2 (ja) * 1989-11-15 1999-05-17 寛 磯部 フラッシュx線管
JP3594716B2 (ja) * 1995-12-25 2004-12-02 浜松ホトニクス株式会社 透過型x線管
WO2006102359A2 (en) * 2005-03-23 2006-09-28 Abbott Laboratories Delivery of highly lipophilic agents via medical devices
JP2009021032A (ja) * 2007-07-10 2009-01-29 Takasago Thermal Eng Co Ltd X線発生管

Patent Citations (5)

* Cited by examiner, † Cited by third party
Publication number Priority date Publication date Assignee Title
US3553514A (en) * 1967-05-26 1971-01-05 Philips Corp A cooling gasket for oil filled x-ray tubes
JPH07296754A (ja) 1994-04-27 1995-11-10 Toshiba Corp 電子管及びその製造方法
US6015325A (en) * 1995-12-25 2000-01-18 Hamamatsu Photonics K.K. Method for manufacturing transmission type X-ray tube
US6108402A (en) * 1998-01-16 2000-08-22 Medtronic Ave, Inc. Diamond vacuum housing for miniature x-ray device
JP2009245806A (ja) 2008-03-31 2009-10-22 Hamamatsu Photonics Kk X線管及びこのx線管を具備したx線発生装置

Cited By (1)

* Cited by examiner, † Cited by third party
Publication number Priority date Publication date Assignee Title
US9514910B2 (en) 2014-01-16 2016-12-06 Canon Kabushiki Kaisha Radiation tube, radiation generating apparatus, and radiation imaging system

Also Published As

Publication number Publication date
US20140369467A1 (en) 2014-12-18
US10068742B2 (en) 2018-09-04
JP2013101879A (ja) 2013-05-23
US20180158641A1 (en) 2018-06-07
JP5921153B2 (ja) 2016-05-24
US9887063B2 (en) 2018-02-06

Similar Documents

Publication Publication Date Title
US10068742B2 (en) Radiation generating tube, radiation generating apparatus, radiography system and manufacturing method thereof
JP2013101879A5 (enExample)
US10522316B2 (en) X-ray source
EP2751828B1 (en) Target structure and x-ray generating apparatus
US8300769B2 (en) Microminiature X-ray tube with triode structure using a nano emitter
US9257254B2 (en) Transmissive target, X-ray generating tube including transmissive target, X-ray generating apparatus, and radiography system
US11004647B2 (en) Compact source for generating ionizing radiation, assembly comprising a plurality of sources and process for producing the source
US6930313B2 (en) Emission source having carbon nanotube, electron microscope using this emission source, and electron beam drawing device
US10381190B2 (en) X-ray generating tube, X-ray generating apparatus, and radiography system
US9117621B2 (en) Radiation generating tube, radiation generating unit, and radiation image taking system
EP2495747B1 (en) X-ray tube
US10559446B2 (en) Vacuum closed tube and X-ray source including the same
US20140203183A1 (en) Radiation generating tube, and radiation generating device and apparatus including the tube
KR102288924B1 (ko) 원통형 엑스선 튜브 및 그 제조 방법
US20160155598A1 (en) X-ray generation tube, x-ray generation apparatus, and radiography system
KR20170022852A (ko) 엑스선 소스
US20140177796A1 (en) X-ray tube
JP2014086147A (ja) 放射線発生管、放射線発生ユニット及び放射線撮影システム
US20200194213A1 (en) Compact source for generating ionizing radiation, assembly comprising a plurality of sources and process for producing the source
US20210142974A1 (en) Compact source for generating ionizing radiation, assembly comprising a plurality of sources and process for producing the source
CN117174552A (zh) 一种电子束形可调的共面四极聚焦结构冷阴极电子枪
JP6580231B2 (ja) X線発生管、x線発生装置及びx線撮影システム
US20240274392A1 (en) X-ray tube
JP2025089097A (ja) 電子銃、x線管、および検査装置
Dummer et al. British Special Quality Valves and Electron Tube Devices Data Annual 1964–65

Legal Events

Date Code Title Description
121 Ep: the epo has been informed by wipo that ep was designated in this application

Ref document number: 12798418

Country of ref document: EP

Kind code of ref document: A1

WWE Wipo information: entry into national phase

Ref document number: 14356578

Country of ref document: US

NENP Non-entry into the national phase

Ref country code: DE

122 Ep: pct application non-entry in european phase

Ref document number: 12798418

Country of ref document: EP

Kind code of ref document: A1