WO2013065620A1 - 使い捨て着用物品 - Google Patents

使い捨て着用物品 Download PDF

Info

Publication number
WO2013065620A1
WO2013065620A1 PCT/JP2012/077834 JP2012077834W WO2013065620A1 WO 2013065620 A1 WO2013065620 A1 WO 2013065620A1 JP 2012077834 W JP2012077834 W JP 2012077834W WO 2013065620 A1 WO2013065620 A1 WO 2013065620A1
Authority
WO
WIPO (PCT)
Prior art keywords
panel
elastic
region
crotch
rear waist
Prior art date
Legal status (The legal status is an assumption and is not a legal conclusion. Google has not performed a legal analysis and makes no representation as to the accuracy of the status listed.)
Ceased
Application number
PCT/JP2012/077834
Other languages
English (en)
French (fr)
Japanese (ja)
Inventor
市川 誠
賢一 笹山
邦彦 桂川
Current Assignee (The listed assignees may be inaccurate. Google has not performed a legal analysis and makes no representation or warranty as to the accuracy of the list.)
Unicharm Corp
Original Assignee
Unicharm Corp
Priority date (The priority date is an assumption and is not a legal conclusion. Google has not performed a legal analysis and makes no representation as to the accuracy of the date listed.)
Filing date
Publication date
Application filed by Unicharm Corp filed Critical Unicharm Corp
Publication of WO2013065620A1 publication Critical patent/WO2013065620A1/ja
Anticipated expiration legal-status Critical
Ceased legal-status Critical Current

Links

Images

Classifications

    • AHUMAN NECESSITIES
    • A61MEDICAL OR VETERINARY SCIENCE; HYGIENE
    • A61FFILTERS IMPLANTABLE INTO BLOOD VESSELS; PROSTHESES; DEVICES PROVIDING PATENCY TO, OR PREVENTING COLLAPSING OF, TUBULAR STRUCTURES OF THE BODY, e.g. STENTS; ORTHOPAEDIC, NURSING OR CONTRACEPTIVE DEVICES; FOMENTATION; TREATMENT OR PROTECTION OF EYES OR EARS; BANDAGES, DRESSINGS OR ABSORBENT PADS; FIRST-AID KITS
    • A61F13/00Bandages or dressings; Absorbent pads
    • A61F13/15Absorbent pads, e.g. sanitary towels, swabs or tampons for external or internal application to the body; Supporting or fastening means therefor; Tampon applicators
    • A61F13/45Absorbent pads, e.g. sanitary towels, swabs or tampons for external or internal application to the body; Supporting or fastening means therefor; Tampon applicators characterised by the shape
    • A61F13/49Absorbent pads, e.g. sanitary towels, swabs or tampons for external or internal application to the body; Supporting or fastening means therefor; Tampon applicators characterised by the shape specially adapted to be worn around the waist, e.g. diapers, nappies
    • A61F13/496Absorbent pads, e.g. sanitary towels, swabs or tampons for external or internal application to the body; Supporting or fastening means therefor; Tampon applicators characterised by the shape specially adapted to be worn around the waist, e.g. diapers, nappies in the form of pants or briefs
    • AHUMAN NECESSITIES
    • A61MEDICAL OR VETERINARY SCIENCE; HYGIENE
    • A61FFILTERS IMPLANTABLE INTO BLOOD VESSELS; PROSTHESES; DEVICES PROVIDING PATENCY TO, OR PREVENTING COLLAPSING OF, TUBULAR STRUCTURES OF THE BODY, e.g. STENTS; ORTHOPAEDIC, NURSING OR CONTRACEPTIVE DEVICES; FOMENTATION; TREATMENT OR PROTECTION OF EYES OR EARS; BANDAGES, DRESSINGS OR ABSORBENT PADS; FIRST-AID KITS
    • A61F13/00Bandages or dressings; Absorbent pads
    • A61F13/15Absorbent pads, e.g. sanitary towels, swabs or tampons for external or internal application to the body; Supporting or fastening means therefor; Tampon applicators
    • A61F13/45Absorbent pads, e.g. sanitary towels, swabs or tampons for external or internal application to the body; Supporting or fastening means therefor; Tampon applicators characterised by the shape
    • A61F13/49Absorbent pads, e.g. sanitary towels, swabs or tampons for external or internal application to the body; Supporting or fastening means therefor; Tampon applicators characterised by the shape specially adapted to be worn around the waist, e.g. diapers, nappies
    • A61F13/49007Form-fitting, self-adjusting disposable diapers
    • A61F13/49009Form-fitting, self-adjusting disposable diapers with elastic means
    • A61F13/49011Form-fitting, self-adjusting disposable diapers with elastic means the elastic means is located at the waist region
    • A61F13/49012Form-fitting, self-adjusting disposable diapers with elastic means the elastic means is located at the waist region the elastic means being elastic panels
    • AHUMAN NECESSITIES
    • A61MEDICAL OR VETERINARY SCIENCE; HYGIENE
    • A61FFILTERS IMPLANTABLE INTO BLOOD VESSELS; PROSTHESES; DEVICES PROVIDING PATENCY TO, OR PREVENTING COLLAPSING OF, TUBULAR STRUCTURES OF THE BODY, e.g. STENTS; ORTHOPAEDIC, NURSING OR CONTRACEPTIVE DEVICES; FOMENTATION; TREATMENT OR PROTECTION OF EYES OR EARS; BANDAGES, DRESSINGS OR ABSORBENT PADS; FIRST-AID KITS
    • A61F13/00Bandages or dressings; Absorbent pads
    • A61F13/15Absorbent pads, e.g. sanitary towels, swabs or tampons for external or internal application to the body; Supporting or fastening means therefor; Tampon applicators
    • A61F13/45Absorbent pads, e.g. sanitary towels, swabs or tampons for external or internal application to the body; Supporting or fastening means therefor; Tampon applicators characterised by the shape
    • A61F13/49Absorbent pads, e.g. sanitary towels, swabs or tampons for external or internal application to the body; Supporting or fastening means therefor; Tampon applicators characterised by the shape specially adapted to be worn around the waist, e.g. diapers, nappies
    • A61F13/49007Form-fitting, self-adjusting disposable diapers
    • A61F13/49009Form-fitting, self-adjusting disposable diapers with elastic means
    • A61F13/4902Form-fitting, self-adjusting disposable diapers with elastic means characterised by the elastic material

Definitions

  • the present invention relates to a disposable wearing article, and more specifically, a disposable diaper having a crotch panel and an elastic waist panel and having a buttocks panel covering a wearer's buttocks, disposable toilet training pants, disposable incontinence pants, disposable
  • the present invention relates to disposable wearing articles such as sanitary pants and disposable absorbent pads.
  • Patent Document 1 discloses a disposable wearing article that includes an elastic waist panel that forms a front and rear waist region and a crotch panel that extends to the front and rear waist region around the crotch region.
  • the front and rear end portions of the crotch panel are interposed and attached between the inner and outer surface sheets forming the front and rear waist panels, and the both sides are in the longitudinal direction of the wearing article.
  • a pair of elastic side flaps in which extending leg elastic bodies are disposed are located. In the wearing state of the wearing article, the pair of elastic side flaps rises toward the wearer's body, and a pocket capable of accommodating excrement is formed between the front and rear waist panels and the crotch panel.
  • a waste storage space for absorbing and holding a relatively large amount of waste is defined.
  • the subject of this invention is improvement of the conventional disposable wearing article, Comprising:
  • the disposable wearing article which has sufficient excrement accommodation space and does not expose a wearer's buttocks during wearing is provided. There is.
  • the present invention has a longitudinal direction and a lateral direction perpendicular thereto, and is located between the skin facing surface and the non-skin facing surface located on the opposite side, the front waist region, the rear waist region, and the front and rear waist regions.
  • a crotch region, the front and rear waist regions are defined, and an elastic waist panel formed from the front and rear waist panels and attached to the elastic waist panel to define a part of the front and rear waist regions and the crotch region,
  • the present invention relates to a disposable wearing article including a crotch panel including a liquid structure.
  • the present invention further includes a buttocks panel separate from the elastic waist panel, and the buttocks panel is attached to a rear waist panel that forms the rear waist area at an outer end thereof, and the crotch area side.
  • the collar panel may be elastically stretchable in the lateral direction at least on both lateral sides of the liquid absorbing structure.
  • the buttock panel extends from the inner edge of the rear waist panel forming the rear waist region to the crotch region side, the crotch panel during wearing Even if a part of is caught in the crack, there is no possibility that the buttock is covered with the buttock panel and exposed to the outside. Further, since the buttock panel is elastically stretchable at least in the lateral direction on both sides of the liquid absorption structure of the crotch panel, both sides are bent away from the buttock of the wearer or deformed during wearing. There is no fear.
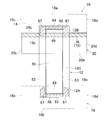
  • FIG. 4 is a schematic cross-sectional view taken along line VI-VI in FIG. 1.
  • a disposable diaper 10 shown as an example of the disposable wearing article of the present invention includes a longitudinal direction Y and a transverse direction X orthogonal thereto, and a virtual longitudinal center line that bisects the width dimension of the transverse direction X. PP and a virtual horizontal center line QQ that bisects the width dimension in the vertical direction X.
  • the diaper 10 is formed symmetrically with respect to the virtual vertical center line PP.
  • the diaper 10 includes a skin facing surface, a non-skin facing surface facing the skin, an annular elastic waist panel 11 extending in the direction of the waist, a crotch panel 12 attached to the non-skin facing surface of the elastic waist panel 11, and each panel.
  • 11 and 12 includes a front waist region 13, a rear waist region 14, and a crotch region (intermediate region) 15 extending between the front and rear waist regions 13 and 14 in the longitudinal direction Y.
  • the elastic waist panel 11 includes a front waist panel 18 located in the front waist region 13 and a rear waist panel 19 located in the rear waist region 14.
  • a buttock panel 20 is located facing and covering the wearer's buttock while the diaper 10 is worn.
  • the front waist panel 18 intersects the crotch panel 12 and extends in the lateral direction X.
  • the outer end edge 18b extends in the lateral direction X while being spaced apart from the inner end edge 18a in the longitudinal direction Y. It has a horizontally long rectangular shape defined by both side edges 18c, 18d extending in the longitudinal direction Y between the edges 18a, 18b.
  • the rear waist panel 19 is substantially the same shape and size as the front waist panel 18, intersects the crotch panel 12, and has an inner end edge 19 a that extends in the lateral direction X and is spaced apart from the inner end edge 19 a in the longitudinal direction Y. It has a horizontally long rectangular shape defined by an outer edge 19b extending in the horizontal direction X and both side edges 19c, 19d extending in the vertical direction Y between the inner and outer edges 19a, 19b.
  • Each of the side edges 18c, 18d of the front waist panel 18 and each of the side edges 19c, 19d of the rear waist panel 19 are overlapped with each other and connected by side seam portions 22 extending intermittently in the longitudinal direction Y.
  • An opening 23 and a pair of leg openings 24 are defined (see FIG. 1).
  • the side seam 22 portion is applied by a known joining means, for example, various heat welding means such as hot embossing and sonic processing.
  • the front waist panel 18 has a first inner sheet 24 positioned on the skin facing surface side and a first outer sheet 25 positioned on the non-skin facing surface side.
  • the first inner and outer sheet 24, 25 is a substantially liquid-impervious SMS (spunbond / meltblown / spainbond) fiber nonwoven fabric, a spunbond nonwoven fabric, a plastic sheet or a nonwoven fabric having a mass of about 10 to 30 g / m 2. It can be formed from one laminate sheet. Both sheets 24 and 25 are joined to each other by a hot melt adhesive applied intermittently to at least one of the inner surfaces or the heat welding means.
  • a plurality of strand-like or string-like elastic bodies 27 extending in the transverse direction X are disposed between both sheets 24 and 25.
  • the front waist panel 18 is elasticized so that it can contract at least in the lateral direction X by the elastic body 27 being disposed under the extension in the lateral direction X.
  • Both sheets 24 and 25 are made of hot-melt adhesive applied to almost the entire circumferential surface of the elastic body 27 as long as there is no fear that the sheets 24 and 25 are peeled off during handling or wearing of the diaper 10.
  • the elastic body 27 includes a plurality of elastic bodies 28 extending in the lateral direction X along the outer end edge 18b of the front waist panel 18, and a plurality of elastic bodies 29 extending in the lateral direction X along the inner end edge 18a. Composed. A part of the elastic body 29 is arranged denser than the elastic body 28.
  • the rear waist panel 19 has a second inner sheet 30 positioned on the skin facing surface side and a second outer sheet 31 positioned on the non-skin facing surface side.
  • the second inner and outer sheets 30, 31 are substantially liquid-impervious SMS (spunbond / meltblown / spainbond) fiber nonwoven fabrics, spunbond fiber nonwoven fabrics, plastic sheets or nonwoven fabrics having a mass of about 10 to 30 g / m 2.
  • SMS spunbond / meltblown / spainbond
  • Both sheets 30 and 31 are joined by a hot melt adhesive applied intermittently to at least one of the inner surfaces or by the heat welding means.
  • a plurality of strand-like or string-like elastic bodies 32 extending in the transverse direction X are arranged extending in the transverse direction X.
  • the rear waist panel 19 is elasticized so as to be contractible at least in the lateral direction X by providing the elastic body 32. Both sheets 30 and 31 may be joined to each other only via a hot melt adhesive applied to substantially the entire circumferential surface of the elastic body 32.
  • the elastic body 32 includes a plurality of elastic bodies 33 extending in the lateral direction X along the upper end edge 19b of the rear waist panel 19 and a plurality of elastic bodies 34 extending in the horizontal direction X along the inner end edge 19a. Is done. A part of the elastic body 34 is arranged denser than the elastic body 33.
  • the elastic bodies 27 and 32 can be formed of an elastic material having a thickness (wire diameter) of about 400 to 1000 dtex and an expansion ratio of about 1.8 to 3.0 times. Further, the separation dimension (pitch, distance between the center portions of the elastic bodies) in the longitudinal direction Y between the elastic bodies is about 5.0 to 30.0 mm, and preferably at least 6.0 mm or more.
  • the collar panel 20 includes an inner end edge 20a extending in the lateral direction X, an outer end edge 20b extending in the lateral direction X spaced apart from the outer end edge 20b in the longitudinal direction Y, and inner and outer ends. It has a horizontally long rectangular shape defined by both side edges 20c and 20d extending in the longitudinal direction Y between the edges 20a and 20b.
  • the buttocks panel 20 includes an inner layer sheet 36 and an outer layer sheet 37.
  • the inner and outer layer sheets 36 and 37 are substantially liquid-impervious SMS (spunbond / meltblown / spunbond) fiber nonwoven fabrics, spunbond fiber nonwoven fabrics, plastic sheets or plastic sheets having a mass of about 10 to 20 g / m 2. It can be formed from one laminate sheet. Both sheets 36 and 37 are joined by a hot melt adhesive or the above-mentioned heat welding means.
  • an elastic body 38 made of a plurality of strand-like or string-like elastic bodies extending in the lateral direction X is disposed extending in the lateral direction X.
  • the elastic body 40 is located on the rear waist panel 19 side
  • the elastic body 42 is located on the front waist panel 18 side
  • the elastic body 43 is located between the elastic body 40 and the elastic body 42.
  • Both sheets 36 and 37 may be joined to each other only via a hot melt adhesive applied to substantially the entire peripheral surface of each elastic body constituting the elastic body.
  • the buttock panel 20 may be formed by bending a single sheet formed from the fiber nonwoven sheet into two with an elastic body 38 interposed therebetween, or the elastic body 38 is formed of an elastic stretch sheet. May be.
  • you may form collar part panel 20 itself with an elastic sheet.
  • the elastic body 38 is cut so that a non-elastic region 45 is formed in the central portion of the collar panel 20 that overlaps the central portion of the region of the liquid absorbing structure 49.
  • a first elastic region 46 and a second elastic region 47 that can contract at least in the lateral direction are formed on both sides. Since the first and second elastic regions 46 and 47 are provided, both side portions of the buttock panel 20 fit the wearer's buttock, so that they are bent away from the buttock or deformed during wearing. There is no fear.
  • the collar panel 20 is formed of a stretchable sheet, it is preferable to process (for example, break a part of the sheet) so that the stretchable elasticity is not expressed or reduced in the non-elastic region 45.
  • the collar panel 20 and the back waist panel 19 can also be formed integrally, when forming the collar panel 20 separately from the back waist panel 19 like this embodiment, in the manufacturing process, After manufacturing the normal disposable diaper which does not have the buttocks panel 20, the buttocks panel 20 can be attached to the outer surface of the rear waist region 14 of the diaper. Therefore, the manufacturing apparatus of a normal diaper can be utilized, and a manufacturing cost can be suppressed compared with the case where the collar panel 20 and the rear waist panel 19 are formed integrally.
  • non-elastic region means that a plurality of elastic bodies forming the elastic region are cut or removed at the site and are not substantially present, or an elastic body is present. This means that the elastic elasticity is not expressed.
  • the joining regions overlap” and “the joining regions and the elastic body overlap” mean that they overlap or cross over three-dimensionally in addition to directly or indirectly overlapping in a plane.
  • the crotch panel 12 has a vertically long and substantially rectangular shape, and has a front end portion 12A connected to a non-skin facing surface (outer surface) of the front waist panel 18 and a non-skin of the rear waist panel 19. A rear end portion 12B connected to the opposing surface and an intermediate portion 12C extending in the vertical direction Y between the front and rear end portions 12A and 12B.
  • the crotch panel 12 includes a base sheet 48, a liquid absorbent structure 49 disposed on the inner surface of the base sheet 48, and a body side liner 50 formed of a liquid permeable sheet that covers the liquid absorbent structure 49. Have.
  • the front and rear end edges of the front and rear end portions 12A and 12B of the crotch panel 12 are covered with front and rear cover sheets 70 and 71 that are formed from a fiber nonwoven fabric and extend in the lateral direction X.
  • the base sheet 48 is formed by inner and outer surface crotch sheets 51 and 52, at least one of which is made of a substantially liquid-impervious fiber nonwoven fabric sheet or a liquid-impervious plastic film. Also, the inner and outer surface crotch sheets 51 and 52 are joined to each other via a hot melt adhesive (not shown), and both sides thereof are bent inward and have a gasket function extending in the longitudinal direction Y.
  • the elastic side flap 53 is formed.
  • Each elastic side flap 53 is provided with a plurality of strand-like or string-like elastic bodies 54 and 55 extending in the longitudinal direction Y, and is elasticized at least in the longitudinal direction Y.
  • the elastic body 54 is curved toward the longitudinal axis P at the central portion of the crotch region 15 and extends in the direction around the wearer's leg when the diaper 10 is worn, while the elastic body 55 is the elastic side flap 53. It extends in a straight line in the longitudinal direction Y along the inner edge 53a.
  • the elastic bodies 54 and 55 are arranged in the longitudinal direction Y between the sheets 51 and 52 via a hot melt adhesive (not shown) applied to the inner surface of one of the inner and outer surface crotch sheets 51 and 52. It is fixed in the extended state.
  • the elastic body 54 has a central portion that is convex toward the vertical axis P, is close to the other elastic body 54, and in the elastic region of the elastic bodies 54 and 55, the elongation stress at those adjacent portions is elastic body 54. , 55 is increased compared to the elongation stress at the front and rear waist panels 18 and 19 side. Thereby, the central part vicinity of the elastic side flap 53 which should contact a wearer's thigh closely_contact
  • the body side liner 50 is a fiber non-woven sheet having a liquid permeability of about 15 to 35 g / m 2 , preferably hydrophilized, such as a spunbond fiber non-woven fabric, a point bond fiber non-woven fabric and an air-through non-woven fabric. These can be formed from various known fiber nonwoven fabrics.
  • the liquid absorbing structure 49 is formed from a mixture of water-absorbing fibers such as fluff pulp and so-called absorbent polymer particles that are water-insoluble and have a water absorption capacity of 10 times or more of the self-mass.
  • the absorbent core 59 can also be formed only from absorbent polymer particles in order to form it thinner. In that case, the absorbent core 59 may be divided into a plurality of absorption regions in order to prevent the shape of the absorbent polymer particles from being deformed after absorbing the body fluid. Further, the liquid absorbing structure 49 is fixed to the inner surface of the base sheet 48 via joints 62A and 62B located at the front and rear end portions thereof.
  • the crotch panel 12 includes a front joint area 63 and a rear joint area 64 formed by applying hot melt adhesive to the inner surfaces of the front end portion 12A and the rear end portion 12B. It is connected to the outer surfaces of the front and rear waist panels 18,19. In this way, the front and rear end portions 12A and 12B of the crotch panel 12 are connected to the outer surfaces of the front and rear waist panels 18 and 19, so that they are excreted as compared with the case where they are connected to the inner surfaces of the front and rear waist panels 18 and 19.
  • the accommodation space 83 can be formed large (see FIG. 6). In addition, as long as the excrement accommodation space 83 has a required size, only one of the front and rear waist regions 13 and 14 may be connected to the outer surface of the front and rear waist panels 18 and 19.
  • the front and rear joining regions 63 and 64 have a concave shape that opens toward the crotch region 15, and both side portions 67 formed by applying a hot melt adhesive to the skin facing surface of the elastic side flap 53, respectively, 67 and a central portion 68 extending in the transverse direction X.
  • the central portion 68 is located outward in the longitudinal direction Y from the liquid absorbing structure 49, and a non-bonding region 69 where no hot-melt adhesive is applied between the side portions 67 and the central portion 68. Is defined.
  • the non-bonding area 69 is formed at a position facing the liquid absorbing structure 49.
  • both side portions 67 of the front joint region 63 have a stepped shape
  • both side portions 67 of the rear joint region 64 have a rectangular shape.
  • Both side portions 67 of the regions 63 and 64 may have various shapes such as a stepped shape, a rectangular shape, and a curved shape.
  • the front waist panel 19 and the rear waist panel 19 are indicated by virtual lines, and various dimensions are shown.
  • the dimension L1 in the longitudinal direction Y of the diaper 10 varies depending on each size (S, M, L, LL), and is about 450 to 900 mm.
  • the dimension L2 in the longitudinal direction Y of the panels (front and rear waist regions 13, 14) 18 and 19 is about 150 to 180 mm when the diaper 10 is S or M size, and about 180 to 210 mm when the diaper 10 is L or LL size. It is.
  • the dimension of the crotch region 15 in the longitudinal direction Y is substantially the same for various sizes, and is about 400 to 500 mm.
  • the dimension W1 in the lateral direction X of the front and rear waist panels 18 and 19 is about 450 to 500 mm when the diaper 10 is an S size for adults, and about 530 to 560 mm when the diaper 10 is an M size. In this case, it is 600 to 650 mm, and in the case of the LL size, it is about 700 to 750 mm.
  • the dimension L4 in the longitudinal direction Y of the buttock panel 20 is specifically about 30 to 330 mm, preferably about 100 to 200 mm, and more preferably about 110 to 140 mm.
  • the dimension L2 in the longitudinal direction Y of the front and rear waist regions 13 and 14 is about 170 mm
  • the dimension L4 in the longitudinal direction Y of the buttock panel 20 is about 120 mm
  • the inner edge 19a of the buttock panel 20 is moved to the crotch region 15 side.
  • the dimension L5 in the longitudinal direction Y of the extending part (the part of the buttocks panel 20 extending downward from the rear waist panel 19 when the diaper 10 is worn) is about 100 mm
  • the dimension L2 is about 1.7 times larger than the dimension L5.
  • the dimension L2 in the longitudinal direction Y of the rear waist region 14 is not more than 2.0 times the size L5 in the longitudinal direction Y of the part extending from the rear waist region 14 to the crotch region 15 side, the former.
  • a conventional diaper having a size of 2.0 times or more of the latter and covering a part of the wearer's buttocks with a portion slightly extending from the rear waist region to the crotch region 15 side It has a unique shape in view and can give a sense of security that the buttocks are not exposed even when worn by the wearer. In particular, when the diaper 10 is used for adults, there is no risk of causing the wearer to be embarrassed by exposing the buttocks.
  • a buttock panel joining region 75 for joining the buttock panel 20 to the rear waist panel 19 is a transverse joint X between the side joining edges 20c and 20d of the buttock panel 20 intersecting with the center joining portion 77 located at the center. And a transverse joint portion 76 extending straight. Since the transverse joining portion 75 extends in the entire dimension in the lateral direction X of the butt panel 20, the outer end portion of the butt panel 20 is stably fixed to the rear waist panel 19 and the rear end portion 12 ⁇ / b> B of the crotch panel 12. ing.
  • central joint portion 77 is formed in a region overlapping the non-elastic region 45 where the elastic body 38 does not substantially exist, even if the buttock panel 20 is fixed to the crotch panel 12 via the portion, those central joint portions 77 are not formed. There is no possibility that the liquid absorption performance of the liquid absorption structure 49 is lowered by the expansion and contraction action.
  • the central joint portion 77 extends over the entire dimension W2 in the lateral direction X of the crotch panel 12, but in order to suppress the influence of the expansion and contraction action of the first and second elastic regions 46, 47 as much as possible,
  • the dimension W3 in the lateral direction X of the central joint part 77 is preferably as small as possible as long as the entire region 75 has the required joint strength.
  • the dimension W3 in the lateral direction X of the central joint part 77 is preferably crotch panel.
  • the size is preferably about 50% or less of the dimension W2 in the horizontal direction X of 12.
  • the transverse joining portion 76 of the buttock panel joining region 75 is located below the central portion 68 of the rear joining region 64 for joining the crotch panel 12 to the rear waist panel 19 and does not overlap each other.
  • the overlapping part may be harder than the other part of the diaper 10, and there is a risk of giving the wearer a tactile feeling, in this embodiment, Since these joining areas do not overlap with each other in the central part of the diaper 10, the sheet member does not become too hard, and there is no possibility of causing such a disadvantage.
  • both side portions 67 of the rear joining region 64 and the transverse joining portion 76 of the buttock panel joining region 75 are positioned so as to overlap each other.
  • Both side portions 67 are for fixing the elastic side flaps 53 to the rear waist panel 19, and a portion of the base sheet 48 that forms the elastic side flaps 53 that faces the rear waist panel 19 is interposed via the both side portions 67. Even if fixed, the fixed part and the part fixed to the elastic side flap 53 of the buttocks panel 20 are separated from each other, so that the sheet member does not become hard.
  • the elastic body 38 of the buttocks panel 20 is formed of an elastic material having a thickness (wire diameter) of about 700 to 800 dtex and an expansion ratio of about 2.2 times.
  • the separation dimension (pitch, distance between the centers of the elastic bodies) P1 in the longitudinal direction Y is about 35 mm.
  • the thickness of the elastic body 38 is uniform.
  • the thickness of the elastic body 40 is about 450 to 500 dtex
  • the thickness of the elastic body 43 is about 770 to 830 dtex
  • the thickness of the elastic body 42 is By setting the thickness to about 920 to 970 dtex and increasing the thickness of the elastic material to be used as it goes downward, the stretching force by them may be adjusted.
  • the expansion / contraction force of the buttocks panel 20 increases toward the crotch region 15 side, the inner edge 20a of the buttocks panel 20 is not separated from the wearer's body when worn, and the shape of the buttocks It can be made to fit a heel part more by exhibiting the curved shape along.
  • the fixing portion 79 (the region where the cross-joining region 76 is present) fixed to the rear waist panel 19 of the butt panel 20 is composed of two elastic bodies 81 located on the inner end edge 19b side of the elastic body 34. , 82 only overlap, in other words, the two or more elastic bodies 34 do not overlap.
  • the cross-joining part 76 has overlapped with the two or more elastic bodies 34, they face the fixing part 79 of the buttock panel 20 of the rear waist panel 19 by their outer shape and the heel formed by them.
  • part has an uneven
  • fixed part 79 when the fixing
  • the fixing portion 79 since the fixing portion 79 does not overlap with the two or more elastic bodies 34, the buttock panel 20 can be stably fixed via the cross-joining portion 76, and the portion is compared to other portions. It wo n’t be too hard.
  • the separation dimension (pitch) P3 between the elastic bodies 34B located on the crotch region 15 side is the separation dimension (pitch) P2 between the elastic bodies 34A located on the outer edge 19b side. Is bigger than. This is because an elastic body located on the outer edge 19b side is set to have a separation dimension P3 between the elastic bodies 34B located on the crotch region 15 side so that the elastic force exerted by the elastic body 34 is as small as possible on the transverse joint portion 76. This is because the separation dimension P2 between the elastic bodies 34A positioned on the outer end edge 19b side is about 7 in the present embodiment.
  • the distance P3 between the elastic bodies 34B located on the crotch region 15 side is about 15.0 mm.
  • the elastic body 34A on the outer end edge 19b side is relatively densely arranged to fit the rear waist panel 19 to the wearer's body.
  • the elastic member 34B on the crotch region 15 side is relatively sparsely arranged so that the elastic force is lower than that on the outer edge 19b side, and the fixing portion 79 is provided. The influence on can be suppressed.
  • at least the separation dimension in the longitudinal direction Y between the elastic bodies 81 and 82 located at the fixed portion 79 may be set larger than that of the other elastic bodies.
  • the elastic side flap 53 rises toward the body side due to the extending action of the elastic bodies 54 and 55.
  • the diaper 10 has a large-capacity excrement storage space 83 as compared with other articles of this type, and a relatively large amount of excrement.
  • the crotch panel 12 is suspended in a state of being separated from the wearer's buttocks to form a bag shape, and the wearer's buttocks can be prevented from being soiled by excrement.
  • a non-joining area 69 is defined between the front and rear joining areas 63 and 64, so that the non-joining area 69 includes front and rear pockets (space portions) 84 between the front and rear waist panels 18 and 19 and the crotch panel 12. 85 is formed.
  • the waste storage space 83 defined in the crotch panel 12 can be made larger.
  • the buttock panel 20 extends downward from the leg opening 24.
  • the buttock panel 20 covers the buttock of the wearer and the buttock is not exposed to the outside.
  • the crotch panel 12 is attached to the outside of the elastic waist panel 11 as in the diaper 10 of the present embodiment, even if the elastic waist panel 11 is pulled in the waist direction of the wearer, the crotch panel 12 responds accordingly.
  • the crotch panel 12 is sandwiched between the wearer's thighs without being pulled in the waist direction, and a part of the crotch panel 12 may be caught in the fissure. Since it coat
  • the buttocks joint region 75 is formed only from the transverse joint part 76 and does not have the central joint part 77.
  • the heel panel 20 is all separated from the rear waist panel 19 except for the fixing portion 79. Therefore, even if a part of the crotch panel 12 is sandwiched between cracks, there is no possibility that the buttocks panel 20 will be sandwiched.
  • the buttock panel 20 has a skirt shape in appearance and can improve the aesthetics and further give the wearer a sense of security that the buttock is not exposed before wearing.
  • the elastic body 38 is not cut at the central portion, is curved downward at the central portion, and extends in the lateral direction X. It has a curved shape extending in a series.
  • the center part of the buttocks panel 20 exhibits a curved shape along the shape of the wearer's buttocks when the diaper 10 is worn. Can be further improved.
  • the distance between the elastic bodies 38 is smaller than that of the embodiment of FIG. 9 (a), and the lower portion located on the crotch region 15 side in the central portion. Can be fitted to the wearer's body.
  • the elastic force of the entire elastic body 38 may be suppressed, or the elastic force may be locally reduced in the central portion.
  • the lower both ends (inner both ends) of the buttock panel 20 have a curved shape.
  • the diaper 10 can have a more underwear-like appearance, and the wear of the wearer on the buttocks is improved. In order to obtain such an effect, it is sufficient that at least one lower end portion has a curved shape.
  • a crotch region located between the front and rear waist regions, a skin facing surface and a non-skin facing surface located on the opposite side, a front waist region, a rear waist region, and a longitudinal direction and a lateral direction perpendicular thereto;
  • the front and rear waist regions are defined, elastic waist panels formed from front and rear waist panels, and attached to the elastic waist panels to define a part of the front and rear waist regions and the crotch region,
  • the disposable wearing article comprising a crotch panel comprising, further comprising a buttocks panel separate from the elastic waist panel, the buttocks panel is attached to the back waist panel forming the back waist region at the outer end thereof, And it extends to the crotch region side, and the buttock panel is the lateral direction at least on both sides of the lateral direction of the liquid absorbing structure.
  • the wearing article is elastically stretchable.
  • the present invention disclosed in the above paragraph 0046 can include at least the following embodiments.
  • the heel panel has a first elastic region and a second elastic region that are spaced apart from each other in the lateral direction on both sides of the liquid absorbing structure in the lateral direction, and an inelastic region therebetween. Is defined.
  • the crotch panel is attached to the outer surface of the rear waist panel via a rear joint region located on the inner surface thereof, and the outer end portion of the buttock panel is disposed via the buttock joint region located on the inner surface thereof. It is attached to the rear waist panel and the crotch panel, and the buttock joining area is located closer to the crotch area than the rear joining area.
  • region is located in the side of the said crotch area rather than the center part of the said back joining area
  • the buttocks joint region has a center joint portion that intersects the transverse joint portion at the center of the buttocks panel and further extends toward the crotch region.
  • the buttock panel is elastically disposed between the inner layer sheet positioned on the skin facing surface side, the outer layer sheet positioned on the non-skin facing surface side, and the inner and outer layer sheets so as to be elastically stretchable. Having a body.
  • the elastic body of the buttocks is formed of a string-like or strand-like elastic material, and an upper hip elastic body extending in the lateral direction X along the inner edge of the rear waist panel; A lower hook elastic body extending in the lateral direction along an inner edge, and an intermediate hook elastic body extending in the horizontal direction X between the upper and lower hook elastic bodies, and the thickness of the lower hook elastic body is the intermediate It is larger than that of the heel elastic body, and the thickness of the intermediate heel elastic body is larger than that of the upper heel elastic body.
  • the elastic body of the collar portion has a curved shape in which a central portion thereof is curved toward the crotch region side.
  • the rear waist panel has a plurality of elastic bodies extending in the lateral direction X, and the separation distance in the vertical direction between the elastic bodies overlapping the buttocks joint area of the elastic bodies is different from each other. It is larger than the separation dimension in the longitudinal direction between the elastic bodies.
  • a lower end portion of the collar panel has a curved shape.

Landscapes

  • Health & Medical Sciences (AREA)
  • Epidemiology (AREA)
  • Engineering & Computer Science (AREA)
  • Biomedical Technology (AREA)
  • Heart & Thoracic Surgery (AREA)
  • Vascular Medicine (AREA)
  • Life Sciences & Earth Sciences (AREA)
  • Animal Behavior & Ethology (AREA)
  • General Health & Medical Sciences (AREA)
  • Public Health (AREA)
  • Veterinary Medicine (AREA)
  • Absorbent Articles And Supports Therefor (AREA)
PCT/JP2012/077834 2011-10-31 2012-10-29 使い捨て着用物品 Ceased WO2013065620A1 (ja)

Applications Claiming Priority (2)

Application Number Priority Date Filing Date Title
JP2011-239777 2011-10-31
JP2011239777A JP5734161B2 (ja) 2011-10-31 2011-10-31 使い捨て着用物品

Publications (1)

Publication Number Publication Date
WO2013065620A1 true WO2013065620A1 (ja) 2013-05-10

Family

ID=48191967

Family Applications (1)

Application Number Title Priority Date Filing Date
PCT/JP2012/077834 Ceased WO2013065620A1 (ja) 2011-10-31 2012-10-29 使い捨て着用物品

Country Status (2)

Country Link
JP (1) JP5734161B2 (enExample)
WO (1) WO2013065620A1 (enExample)

Cited By (2)

* Cited by examiner, † Cited by third party
Publication number Priority date Publication date Assignee Title
WO2015002328A1 (ja) * 2013-09-30 2015-01-08 ユニ・チャーム株式会社 使い捨てパンツ型おむつ
CN107809990A (zh) * 2015-06-30 2018-03-16 宝洁公司 带有弹性化区域的吸收制品

Families Citing this family (6)

* Cited by examiner, † Cited by third party
Publication number Priority date Publication date Assignee Title
JPH07115724B2 (ja) 1988-11-28 1995-12-13 株式会社ダイフク 荷受け台装置
JP6410020B2 (ja) * 2014-07-11 2018-10-24 日本製紙クレシア株式会社 パンツ型吸収性物品
JP6406991B2 (ja) * 2014-11-28 2018-10-17 ユニ・チャーム株式会社 吸収性物品
JP6296074B2 (ja) * 2016-02-08 2018-03-20 王子ホールディングス株式会社 使い捨ておむつ
JP6229787B1 (ja) * 2016-02-16 2017-11-15 王子ホールディングス株式会社 使い捨ておむつ、および、使い捨ておむつの製造方法
JP6461237B2 (ja) * 2017-05-31 2019-01-30 ユニ・チャーム株式会社 スカート付き使い捨ておむつ

Citations (5)

* Cited by examiner, † Cited by third party
Publication number Priority date Publication date Assignee Title
WO2003077812A1 (en) * 2002-03-20 2003-09-25 Zuiko Corporation Disposable wearing article
JP2008178682A (ja) * 2006-12-28 2008-08-07 Daio Paper Corp 紙おむつ
JP2010188143A (ja) * 2010-03-29 2010-09-02 Daio Paper Corp 紙おむつ
JP2011115229A (ja) * 2009-11-30 2011-06-16 Unicharm Corp 使い捨て着用物品
JP2011115304A (ja) * 2009-12-02 2011-06-16 Kao Corp パンツ型吸収性物品

Patent Citations (5)

* Cited by examiner, † Cited by third party
Publication number Priority date Publication date Assignee Title
WO2003077812A1 (en) * 2002-03-20 2003-09-25 Zuiko Corporation Disposable wearing article
JP2008178682A (ja) * 2006-12-28 2008-08-07 Daio Paper Corp 紙おむつ
JP2011115229A (ja) * 2009-11-30 2011-06-16 Unicharm Corp 使い捨て着用物品
JP2011115304A (ja) * 2009-12-02 2011-06-16 Kao Corp パンツ型吸収性物品
JP2010188143A (ja) * 2010-03-29 2010-09-02 Daio Paper Corp 紙おむつ

Cited By (3)

* Cited by examiner, † Cited by third party
Publication number Priority date Publication date Assignee Title
WO2015002328A1 (ja) * 2013-09-30 2015-01-08 ユニ・チャーム株式会社 使い捨てパンツ型おむつ
JP2015066356A (ja) * 2013-09-30 2015-04-13 ユニ・チャーム株式会社 使い捨てのパンツ型おむつ
CN107809990A (zh) * 2015-06-30 2018-03-16 宝洁公司 带有弹性化区域的吸收制品

Also Published As

Publication number Publication date
JP5734161B2 (ja) 2015-06-10
JP2013094422A (ja) 2013-05-20

Similar Documents

Publication Publication Date Title
JP5674303B2 (ja) 使い捨て着用物品
JP5868123B2 (ja) 使い捨て着用物品
JP5734161B2 (ja) 使い捨て着用物品
JP5968117B2 (ja) 使い捨て着用物品
JP5991809B2 (ja) 使い捨て着用物品
JP5539798B2 (ja) パンツ型の吸収性着用物品
CN104185462B (zh) 一次性穿戴物品
JP5911263B2 (ja) 使い捨て着用物品
JP5984368B2 (ja) 使い捨て着用物品
WO2008069279A1 (ja) 吸収性物品
JP6103834B2 (ja) 使い捨て着用物品
JP5596984B2 (ja) 使い捨て着用物品
JP6407090B2 (ja) 使い捨ての体液吸収性着用物品
JP6129124B2 (ja) 着用物品
JP2013226392A (ja) 使い捨て着用物品
TWI667017B (zh) Absorbent article
CN205626293U (zh) 一次性吸收物品
JP6173219B2 (ja) 使い捨て着用物品
WO2013054840A1 (ja) 使い捨て着用物品
JP5933251B2 (ja) 使い捨て着用物品
CN107072826B (zh) 吸收性物品
JP5917136B2 (ja) 使い捨て着用物品
JP5709450B2 (ja) 使い捨て着用物品
JP5822475B2 (ja) 使い捨てのパンツ型の着用物品

Legal Events

Date Code Title Description
121 Ep: the epo has been informed by wipo that ep was designated in this application

Ref document number: 12845075

Country of ref document: EP

Kind code of ref document: A1

NENP Non-entry into the national phase

Ref country code: DE

122 Ep: pct application non-entry in european phase

Ref document number: 12845075

Country of ref document: EP

Kind code of ref document: A1