WO2013058146A1 - 表示パネル、表示装置および電子機器 - Google Patents

表示パネル、表示装置および電子機器 Download PDF

Info

Publication number
WO2013058146A1
WO2013058146A1 PCT/JP2012/076179 JP2012076179W WO2013058146A1 WO 2013058146 A1 WO2013058146 A1 WO 2013058146A1 JP 2012076179 W JP2012076179 W JP 2012076179W WO 2013058146 A1 WO2013058146 A1 WO 2013058146A1
Authority
WO
WIPO (PCT)
Prior art keywords
anode electrode
organic
pixel
display panel
cathode electrode
Prior art date
Legal status (The legal status is an assumption and is not a legal conclusion. Google has not performed a legal analysis and makes no representation as to the accuracy of the status listed.)
Ceased
Application number
PCT/JP2012/076179
Other languages
English (en)
French (fr)
Japanese (ja)
Inventor
究 三浦
Current Assignee (The listed assignees may be inaccurate. Google has not performed a legal analysis and makes no representation or warranty as to the accuracy of the list.)
Sony Corp
Original Assignee
Sony Corp
Priority date (The priority date is an assumption and is not a legal conclusion. Google has not performed a legal analysis and makes no representation as to the accuracy of the date listed.)
Filing date
Publication date
Application filed by Sony Corp filed Critical Sony Corp
Priority to US14/346,889 priority Critical patent/US9401494B2/en
Priority to CN201280050067.5A priority patent/CN103891408B/zh
Publication of WO2013058146A1 publication Critical patent/WO2013058146A1/ja
Anticipated expiration legal-status Critical
Ceased legal-status Critical Current

Links

Images

Classifications

    • HELECTRICITY
    • H10SEMICONDUCTOR DEVICES; ELECTRIC SOLID-STATE DEVICES NOT OTHERWISE PROVIDED FOR
    • H10KORGANIC ELECTRIC SOLID-STATE DEVICES
    • H10K59/00Integrated devices, or assemblies of multiple devices, comprising at least one organic light-emitting element covered by group H10K50/00
    • H10K59/80Constructional details
    • H10K59/805Electrodes
    • H10K59/8051Anodes
    • H10K59/80515Anodes characterised by their shape
    • HELECTRICITY
    • H10SEMICONDUCTOR DEVICES; ELECTRIC SOLID-STATE DEVICES NOT OTHERWISE PROVIDED FOR
    • H10KORGANIC ELECTRIC SOLID-STATE DEVICES
    • H10K50/00Organic light-emitting devices
    • H10K50/80Constructional details
    • H10K50/805Electrodes
    • H10K50/81Anodes
    • H10K50/813Anodes characterised by their shape
    • HELECTRICITY
    • H10SEMICONDUCTOR DEVICES; ELECTRIC SOLID-STATE DEVICES NOT OTHERWISE PROVIDED FOR
    • H10KORGANIC ELECTRIC SOLID-STATE DEVICES
    • H10K2102/00Constructional details relating to the organic devices covered by this subclass
    • H10K2102/301Details of OLEDs
    • H10K2102/302Details of OLEDs of OLED structures
    • HELECTRICITY
    • H10SEMICONDUCTOR DEVICES; ELECTRIC SOLID-STATE DEVICES NOT OTHERWISE PROVIDED FOR
    • H10KORGANIC ELECTRIC SOLID-STATE DEVICES
    • H10K50/00Organic light-emitting devices
    • H10K50/10OLEDs or polymer light-emitting diodes [PLED]
    • H10K50/14Carrier transporting layers
    • H10K50/15Hole transporting layers
    • HELECTRICITY
    • H10SEMICONDUCTOR DEVICES; ELECTRIC SOLID-STATE DEVICES NOT OTHERWISE PROVIDED FOR
    • H10KORGANIC ELECTRIC SOLID-STATE DEVICES
    • H10K50/00Organic light-emitting devices
    • H10K50/10OLEDs or polymer light-emitting diodes [PLED]
    • H10K50/17Carrier injection layers
    • HELECTRICITY
    • H10SEMICONDUCTOR DEVICES; ELECTRIC SOLID-STATE DEVICES NOT OTHERWISE PROVIDED FOR
    • H10KORGANIC ELECTRIC SOLID-STATE DEVICES
    • H10K59/00Integrated devices, or assemblies of multiple devices, comprising at least one organic light-emitting element covered by group H10K50/00
    • H10K59/10OLED displays
    • H10K59/12Active-matrix OLED [AMOLED] displays

Definitions

  • the present technology relates to a display panel including an organic EL (Electro Luminescence) element for each pixel and a display device including the display panel.
  • the present technology also relates to an electronic device including the display device.
  • organic EL elements whose light emission luminance changes according to the value of a flowing current have been developed as light-emitting elements of pixels. Is being promoted.
  • the organic EL element is a self-luminous element. Therefore, a display device (organic EL display device) using an organic EL element does not require a light source (backlight), so that it can be made thinner and brighter than a liquid crystal display device that requires a light source. .
  • the active matrix method is used as the driving method, each pixel can be lighted on hold and power consumption can be reduced. Therefore, organic EL display devices are expected to become the mainstream of next-generation flat panel displays.
  • a current flowing through an organic EL element arranged for each pixel is controlled by a thin film transistor (TFT; Thin Film Transistor) provided in a pixel circuit provided for each organic EL element (Patent Document). 1).
  • TFT Thin Film Transistor
  • An organic EL element is an electronic element in which a thin film made of an organic compound is provided between an anode electrode and a cathode electrode.
  • an organic EL element holes and electrons are injected from each of an anode electrode and a cathode electrode, and energy generated by recombination of these holes and electrons is extracted as light. Therefore, by improving the hole injection characteristics, the drive voltage is reduced, the light emission efficiency is improved, and the like.
  • the organic EL elements are of a low molecular vapor deposition type
  • the light emitting layer is formed by selectively vapor-depositing each pixel using a vapor deposition mask.
  • the layers other than the light emitting layer in the organic layer are formed in common for each pixel in consideration of improvement in productivity and reduction in production cost.
  • the hole injection layer (HIL) is shared by each pixel, a leak current is generated between adjacent pixels due to the low resistivity of the hole injection layer, and even pixels other than the desired pixel may be damaged. Emits light. As a result, there is a problem that color mixing occurs and the image quality deteriorates.
  • a display panel includes a plurality of pixels in a display area.
  • Each pixel has an organic EL element and a pixel circuit that drives the organic EL element.
  • the organic EL element has an anode electrode, a cathode electrode, and an organic layer provided between the anode electrode and the cathode electrode.
  • the side surface of the anode electrode has a structure in which the cross-sectional area of the anode electrode on the cathode electrode side is larger than the cross-sectional area of the anode electrode on the side opposite to the cathode electrode.
  • a display device includes the display panel and a drive circuit that drives each pixel.
  • An electronic apparatus includes the display device described above.
  • the side surface of the anode electrode of the organic EL element is a cross-sectional area of the anode electrode on the side opposite to the cathode electrode of the anode electrode.
  • the structure is larger than the area.
  • the high resistance structure is formed at a position corresponding to the side surface of each anode electrode in the hole injection layer. Therefore, it is possible to suppress the occurrence of a leak current between adjacent pixels. As a result, it is possible to suppress color mixing and image quality degradation.
  • FIG. 2 is a diagram for explaining a leakage current between pixels in the display panel of FIG. 1. It is a figure for demonstrating the leak current between the pixels in the display panel which concerns on a comparative example. It is sectional drawing showing an example of the manufacturing process of the organic EL element of FIG. It is a top view showing schematic structure of the module containing the display apparatus of the said embodiment.
  • FIG. 14 is a perspective view illustrating an appearance of application example 4.
  • FIG. (A) is a front view of the application example 5 in an open state
  • (B) is a side view thereof
  • (C) is a front view in a closed state
  • (D) is a left side view
  • (E) is a right side view
  • (F) is a top view
  • (G) is a bottom view.
  • Embodiment display device
  • Example in which the hole injection layer is disconnected at the side surface of the anode electrode
  • Application example electronic equipment
  • Example in which the display device of the above embodiment is applied to an electronic device
  • FIG. 1 illustrates a schematic configuration of a display device 1 according to an embodiment of the present technology.
  • the display device 1 includes a display panel 10 and a drive circuit 20 that drives the display panel 10.
  • the drive circuit 20 includes, for example, a timing generation circuit 21, a video signal processing circuit 22, a signal line drive circuit 23, a write line drive circuit 24, and a power supply line drive circuit 25.
  • the display panel 10 has a plurality of pixels 11 two-dimensionally arranged over the entire display area 10 ⁇ / b> A of the display panel 10.
  • the pixel 11 corresponds to a minimum unit point constituting a screen on the display panel 10.
  • the pixel 11 corresponds to a sub-pixel that emits light of a single color such as red, green, or blue
  • the pixel 11 Reference numeral 11 corresponds to a pixel that emits white light.
  • the display panel 10 displays an image based on the video signal 20 ⁇ / b> A input from the outside when each pixel 11 is driven in an active matrix by the drive circuit 20.
  • FIG. 2 illustrates an example of a circuit configuration of the pixel 11.
  • the pixel 11 includes a pixel circuit 12 and an organic EL element 13.
  • the pixel circuit 12 includes, for example, a drive transistor Tr1, a write transistor Tr2, and a storage capacitor Cs as shown in FIG. 2, and has a 2Tr1C circuit configuration.
  • the write transistor Tr2 samples a voltage of a signal line DTL, which will be described later, and writes it to the gate of the drive transistor Tr1.
  • the drive transistor Tr1 controls the current flowing through the organic EL element 13 according to the magnitude of the voltage written by the write transistor Tr2.
  • the holding capacitor Cs holds a predetermined voltage between the gate and source of the driving transistor Tr1. Note that the pixel circuit 12 may have a circuit configuration different from the above-described 2Tr1C circuit configuration.
  • the drive transistor Tr1 and the write transistor Tr2 are formed of, for example, an n-channel MOS thin film transistor (TFT (Thin-Film-Transistor)).
  • TFT Thin-Film-Transistor
  • the type of TFT is not particularly limited, and may be, for example, an inverted stagger structure (bottom gate type) or a stagger structure (top gate type).
  • the drive transistor Tr1 or the write transistor Tr2 may be a p-channel MOS type TFT.
  • the display panel 10 includes a plurality of write lines WSL extending in the row direction, a plurality of signal lines DTL extending in the column direction, and a plurality of power supply lines extending in the row direction.
  • a pixel 11 is provided in the vicinity of the intersection of each signal line DTL and each write line WSL.
  • Each signal line DTL is connected to an output end (not shown) of a signal line drive circuit 23 described later and the source or drain of the write transistor Tr2.
  • Each write line WSL is connected to an output end (not shown) of a write line drive circuit 24 described later and a gate of the write transistor Tr2.
  • Each power supply line DSL is connected to an output terminal (not shown) of a power supply that outputs a fixed voltage and the source or drain of the drive transistor Tr1.
  • the gate of the write transistor Tr2 is connected to the write line WSL.
  • the source or drain of the write transistor Tr2 is connected to the signal line DTL, and the terminal not connected to the signal line DTL among the source and drain of the write transistor Tr2 is connected to the gate of the drive transistor Tr1.
  • the source or drain of the drive transistor Tr1 is connected to the power supply line DSL, and the terminal not connected to the power supply line DSL among the source and drain of the drive transistor Tr1 is connected to the anode of the organic EL element 13.
  • One end of the storage capacitor Cs is connected to the gate of the drive transistor Tr1, and the other end of the storage capacitor Cs is connected to the source of the drive transistor Tr1 (terminal on the organic EL element 13 side in FIG. 2).
  • the storage capacitor Cs is inserted between the gate and source of the drive transistor Tr1.
  • the cathode of the organic EL element 13 is connected to the ground line GND.
  • the ground line GND is electrically connected to an external circuit (not shown) having a reference potential (for example, ground potential).
  • FIG. 3 illustrates an example of a cross-sectional configuration of the organic EL element 13 in the display panel 10 and the vicinity thereof.
  • FIG. 4 illustrates another example of the cross-sectional configuration of the organic EL element 13 in the display panel 10 and the vicinity thereof.
  • the display panel 10 includes a plurality of organic EL elements 13 provided on the TFT substrate 14 so as to correspond to the respective pixels 11.
  • the TFT substrate 14 is a substrate on which the pixel circuit 12 and the like are formed, and has a metal layer (not shown) electrically connected to the pixel circuit 12 at least on the uppermost surface.
  • the organic EL element 13 is formed in contact with the metal layer.
  • the organic EL element 13 includes an anode electrode 31 provided on the TFT substrate 14 side, an organic layer 32 provided on the anode electrode 31, and an organic layer 32. And a cathode electrode 33 provided.
  • the anode electrode 31 is for injecting holes into the organic layer 32.
  • the anode electrode 31 is made of, for example, a material having a good hole injection property, and is made of, for example, an Al-based metal.
  • Al-based metal is a concept including Al and Al alloy.
  • the organic layer 32 emits light with brightness according to the amount of current flowing in the organic layer 32.
  • the organic layer 32 includes, for example, in order from the anode electrode 31 side, a hole injection layer 32A that increases the hole injection efficiency, a hole transport layer 32B that increases the hole transport efficiency to the light emitting layer 32C described later, It has a stacked structure in which a light emitting layer 32C that emits light by recombination with a hole and an electron transport layer 32D that increases the efficiency of electron transport to the light emitting layer 32C are stacked.
  • the cathode electrode 33 is for injecting electrons into the organic layer 32.
  • the cathode electrode 33 is made of a material having a good electron injection property, for example, a semi-transmissive metal material such as MgAg.
  • the organic EL element 13 is a low molecular vapor deposition type element, and the organic layer 32 is formed by vapor deposition.
  • the side surface of the anode electrode 31 has a structure in which the cross-sectional area of the anode electrode 31 on the cathode electrode 33 side is larger than the cross-sectional area of the anode electrode 31 on the side opposite to the cathode electrode 33.
  • the side surface of the anode electrode 31 has a reverse taper, for example, as shown in FIG.
  • the side surface of the anode electrode 31 may have an eaves shape as shown in FIG. 4, for example.
  • the organic layer 32 all layers other than the light emitting layer 32C are formed over the entire region including all the pixels 11 in the display region 10A.
  • the light emitting layer 32 ⁇ / b> C is selectively formed for each organic EL element 13, for example, selectively formed for each region facing the anode electrode 31.
  • the hole transport layer 32 ⁇ / b> B and the electron transport layer 32 ⁇ / b> D are shared by all the pixels 11.
  • the resistivity is larger than the resistivity of the hole injection layer 32A and the thickness is thin, so that the resistance in the in-layer direction is large. Therefore, even though the hole transport layer 32 ⁇ / b> B and the electron transport layer 32 ⁇ / b> D are shared by all the pixels 11, they are electrically separated for each pixel 11.
  • the hole injection layer 32A has a high resistance structure at a location corresponding to the side surface of each anode electrode 31.
  • the high resistance structure is a stepped structure. This stepped structure is formed by a reverse taper formed on the side surface of the anode electrode 31 when the hole injection layer 32A is formed on the anode electrode 31 by vapor deposition.
  • the high resistance structure is a stepped structure. This stepped structure is formed by an eaves-like shape formed on the side surface of the anode electrode 31 when the hole injection layer 32A is formed on the anode electrode 31 by vapor deposition.
  • a stepped structure cannot be formed at a position corresponding to the side surface of each anode electrode 31, and a local thin film structure is formed.
  • the thickness of the hole injection layer 32A is thinner than the thickness of the portion of the hole injection layer 32A that does not correspond to the side surface of the anode electrode 31. Therefore, in the local thin film structure, the resistivity of the hole injection layer 32A is higher than the resistivity of a portion of the hole injection layer 32A that does not correspond to the side surface of the anode electrode 31. Therefore, in this case, the high resistance structure is a local thin film structure.
  • FIG. 5 and 6 show the leakage current flowing between the pixels as a current density distribution. Specifically, the current density around the pixel when the pixel on the left side in the figure is caused to emit light is shown. It represents the distribution.
  • FIG. 5 shows an example of a current density distribution when a high resistance structure is provided in the hole injection layer 32A.
  • FIG. 6 shows an example of the current density distribution when the high-resistance structure is not provided in the hole injection layer 32A. 5 and 6, the current density on the vertical axis is normalized by the density of the current flowing through the pixel when the pixel on the left side in the figure is caused to emit light.
  • the drive circuit 20 includes the timing generation circuit 21, the video signal processing circuit 22, the signal line drive circuit 23, the write line drive circuit 24, and the power supply line drive circuit 25. Have.
  • the timing generation circuit 21 controls each circuit in the drive circuit 20 to operate in conjunction with each other.
  • the timing generation circuit 21 outputs a control signal 21A to each circuit described above, for example, in response to (in synchronization with) the synchronization signal 20B input from the outside.
  • the video signal processing circuit 22 corrects the digital video signal 20A inputted from the outside, converts the corrected video signal into analog, and outputs it to the signal line drive circuit 23.
  • the signal line driving circuit 23 outputs the analog video signal input from the video signal processing circuit 22 to each signal line DTL in response to (in synchronization with) the input of the control signal 21A.
  • the write line drive circuit 24 sequentially selects a plurality of write lines WSL for each predetermined unit in response to (in synchronization with) the input of the control signal 21A.
  • the power supply line drive circuit 25 sequentially selects a plurality of power supply lines DSL for each predetermined unit in response to (in synchronization with) the input of the control signal 21A.
  • FIG. 7 shows an example of the manufacturing process of the organic EL element 13.
  • the anode electrode 31 is formed on the TFT substrate 14 (FIG. 7A).
  • a mask layer having a mortar-shaped opening is formed on the TFT substrate 14, and the opening is filled with a predetermined metal material. Thereafter, the mask layer is removed. Thereby, the anode electrode 31 whose side surface is reversely tapered can be formed.
  • the following is performed. First, a first mask layer having an opening is formed on the TFT substrate 14, and the opening is filled with a predetermined metal material. Next, a second mask layer having an opening with a larger diameter than the previous opening is formed. At this time, the second mask layer is formed so that the entire upper surface of the filled metal material is exposed at the bottom surface of the opening. Thereafter, the opening of the second mask layer is filled with a predetermined metal material. Thereafter, the first mask layer and the second mask layer are removed. As a result, the anode electrode 31 whose side surfaces are elongated can be formed.
  • the material constituting the hole injection layer 32A over the entire predetermined region including the anode electrode 31 (region corresponding to the region including all the pixels 11 in the display region 10A) using, for example, vapor deposition. are stacked.
  • the hole transport layer 32B, the organic layer 32C, and the electron transport layer 32D are sequentially formed by using, for example, a vapor deposition method.
  • a hole transport layer 32B is formed on the upper surface of the hole injection layer 32A, an organic layer 32C is formed immediately above the anode electrode 31 in the upper surface of the hole transport layer 32B, and a predetermined region including the organic layer 32C The electron transport layer 32D is formed throughout.
  • the organic EL element 13 is formed on the TFT substrate 14.
  • the cathode electrode 33 is formed on the entire surface including the organic EL element 13. In this way, the organic EL element 13 can be formed on the TFT substrate 14.
  • the organic EL elements are of a low molecular vapor deposition type
  • the light emitting layer is usually formed by selectively depositing each pixel using a deposition mask.
  • the layers other than the light emitting layer in the organic layer are formed in common for each pixel in consideration of improvement in productivity and reduction in production cost.
  • the hole injection layer is shared by each pixel, a leak current is generated between adjacent pixels due to the low resistivity of the hole injection layer. For example, as shown in FIG. 6, the leakage current from the light emitting pixel reaches a pixel adjacent to the light emitting pixel (the pixel on the right side in FIG. 6). For this reason, even pixels other than the desired pixel emit light, so that color mixing occurs and image quality deteriorates.
  • the side surface 31A of the anode electrode 31 is such that the cross-sectional area of the anode electrode 31 on the cathode electrode 33 side is larger than the cross-sectional area of the anode electrode 31 opposite to the cathode electrode 33. It has a structure. Specifically, the side surface 31A of the anode electrode 31 has a reverse taper shape or an eaves shape. Thereby, for example, when the hole injection layer 32A is laminated over the entire region corresponding to the region including all the pixels 11 in the display region 10A, the side surface of each anode electrode 31 in the hole injection layer 32A. A high resistance structure is formed at a location corresponding to 31A. As a result, for example, as shown in FIG. 5, since the current density rapidly decreases at the position of the high resistance structure of the hole injection layer 32A, it is possible to suppress the occurrence of a leakage current between the adjacent pixels 11. Can do. As a result, it is possible to suppress color mixing and image quality degradation.
  • the display device 1 described above is an image signal or a video signal generated from an externally input video signal or an internally generated video signal such as a television device, a digital camera, a notebook personal computer, a mobile terminal device such as a mobile phone, or a video camera. It can be applied to display devices for electronic devices in all fields.
  • the display device 1 described above is incorporated into various electronic devices such as application examples 1 to 5 described later, for example, as a module shown in FIG.
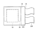
  • a region 210 exposed from the sealing substrate 35 is provided on one side of the substrate 34, and the wiring of the drive circuit 20 is extended to the exposed region 210 to provide an external connection terminal (not shown).
  • the external connection terminal may be provided with a flexible printed circuit (FPC) 220 for signal input / output.
  • FPC flexible printed circuit
  • FIG. 9 illustrates an appearance of a television device to which the above-described display device 1 is applied.
  • This television apparatus has, for example, a video display screen unit 300 including a front panel 310 and a filter glass 320, and the video display screen unit 300 is configured by the display device 1 described above.
  • FIG. 10 shows the appearance of a digital camera to which the above-described display device 1 is applied.
  • the digital camera includes, for example, a flash light emitting unit 410, a display unit 420, a menu switch 430, and a shutter button 440.
  • the display unit 420 is configured by the display device 1 described above.
  • FIG. 11 shows the appearance of a notebook personal computer to which the above-described display device 1 is applied.
  • This notebook personal computer has, for example, a main body 510, a keyboard 520 for inputting characters and the like, and a display unit 530 for displaying an image.
  • the display unit 530 is configured by the display device 1 described above. ing.
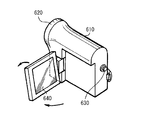
  • FIG. 12 shows the appearance of a video camera to which the above display device 1 is applied.
  • the video camera has, for example, a main body 610, a subject shooting lens 620 provided on the front side surface of the main body 610, a start / stop switch 630 at the time of shooting, and a display 640.
  • Reference numeral 640 denotes the display device 1 described above.
  • FIG. 13 shows the appearance of a mobile phone to which the above-described display device 1 is applied.
  • this mobile phone is obtained by connecting an upper housing 710 and a lower housing 720 with a connecting portion (hinge portion) 730, and includes a display 740, a sub-display 750, a picture light 760, and a camera 770.
  • the display 740 or the sub-display 750 is configured by the display device 1 described above.
  • the configuration of the pixel circuit 12 for driving the active matrix is not limited to that described in the above-described embodiment.
  • a capacitor element or a transistor may be added to the pixel circuit 12 as necessary.
  • a necessary drive circuit may be added in addition to the signal line drive circuit 23, the write line drive circuit 24, and the power supply line drive circuit 25 described above in accordance with the change of the pixel circuit 12.
  • the timing generation circuit 21 controls the driving of the video signal processing circuit 22, the signal line drive circuit 23, the write line drive circuit 24, and the power supply line drive circuit 25. These circuits may control these driving operations. Further, the video signal processing circuit 22, the signal line drive circuit 23, the write line drive circuit 24, and the power supply line drive circuit 25 may be controlled by hardware (circuit) or performed by software (program). It may be broken.
  • the display area has a plurality of pixels, Each pixel has an organic EL element and a pixel circuit that drives the organic EL element,
  • the organic EL element has an anode electrode, a cathode electrode, and an organic layer provided between the anode electrode and the cathode electrode,
  • the side surface of the anode electrode has a structure in which a cross-sectional area of the anode electrode on the cathode electrode side is larger than a cross-sectional area of the anode electrode on the side opposite to the cathode electrode.
  • the organic layer includes a hole injection layer that increases hole injection efficiency, a hole transport layer that increases hole transport efficiency, a light emitting layer that emits light by recombination of electrons and holes, and an electron that increases electron transport efficiency.
  • a transport layer Among the organic layers, at least the hole injection layer is formed over the entire region including all the pixels in the display region, and has a high resistance structure at a position corresponding to the side surface of each anode electrode.
  • (3) The display panel according to (2), wherein the high resistance structure is a stepped structure or a local thin film structure.
  • a display panel having a plurality of pixels in a display area, and a drive circuit for driving each pixel; Each pixel has an organic EL element and a pixel circuit that drives the organic EL element,
  • the organic EL element has an anode electrode, a cathode electrode, and an organic layer provided between the anode electrode and the cathode electrode,
  • the side surface of the anode electrode has a structure in which a cross-sectional area of the anode electrode on the cathode electrode side is larger than a cross-sectional area of the anode electrode on the side opposite to the cathode electrode.
  • a display device includes a display panel including a plurality of pixels in a display area, and a drive circuit that drives each pixel.
  • Each pixel has an organic EL element and a pixel circuit that drives the organic EL element
  • the organic EL element has an anode electrode, a cathode electrode, and an organic layer provided between the anode electrode and the cathode electrode
  • the electronic device has a structure in which a side surface of the anode electrode has a cross-sectional area of the anode electrode on the cathode electrode side larger than a cross-sectional area of the anode electrode on the side opposite to the cathode electrode.

Landscapes

  • Physics & Mathematics (AREA)
  • Optics & Photonics (AREA)
  • Electroluminescent Light Sources (AREA)
  • Devices For Indicating Variable Information By Combining Individual Elements (AREA)
PCT/JP2012/076179 2011-10-19 2012-10-10 表示パネル、表示装置および電子機器 Ceased WO2013058146A1 (ja)

Priority Applications (2)

Application Number Priority Date Filing Date Title
US14/346,889 US9401494B2 (en) 2011-10-19 2012-10-10 Display panel, display unit, and electronic apparatus
CN201280050067.5A CN103891408B (zh) 2011-10-19 2012-10-10 显示面板、显示单元和电子设备

Applications Claiming Priority (2)

Application Number Priority Date Filing Date Title
JP2011-229995 2011-10-19
JP2011229995A JP5919723B2 (ja) 2011-10-19 2011-10-19 表示パネル、表示装置および電子機器

Publications (1)

Publication Number Publication Date
WO2013058146A1 true WO2013058146A1 (ja) 2013-04-25

Family

ID=48140794

Family Applications (1)

Application Number Title Priority Date Filing Date
PCT/JP2012/076179 Ceased WO2013058146A1 (ja) 2011-10-19 2012-10-10 表示パネル、表示装置および電子機器

Country Status (4)

Country Link
US (1) US9401494B2 (enExample)
JP (1) JP5919723B2 (enExample)
CN (1) CN103891408B (enExample)
WO (1) WO2013058146A1 (enExample)

Families Citing this family (9)

* Cited by examiner, † Cited by third party
Publication number Priority date Publication date Assignee Title
EP3002797B1 (en) * 2014-09-30 2020-04-29 Novaled GmbH A light emitting organic device and an active OLED display
JP7203499B2 (ja) * 2018-03-07 2023-01-13 株式会社ジャパンディスプレイ 表示装置
TWI675472B (zh) * 2018-08-14 2019-10-21 友達光電股份有限公司 有機發光裝置及其製造方法
CN110299389B (zh) * 2019-06-26 2021-06-04 合肥视涯技术有限公司 一种有机发光显示装置
CN114864838A (zh) 2020-01-06 2022-08-05 京东方科技集团股份有限公司 有机电致发光结构及显示装置
CN113078270A (zh) * 2020-01-06 2021-07-06 京东方科技集团股份有限公司 有机电致发光结构及其制作方法、显示装置
JP7744092B2 (ja) * 2020-03-31 2025-09-25 ソニーセミコンダクタソリューションズ株式会社 表示装置および電子機器
JP7585062B2 (ja) 2021-01-28 2024-11-18 株式会社ジャパンディスプレイ 表示装置
US11610954B1 (en) * 2022-02-14 2023-03-21 Applied Materials, Inc. OLED panel with advanced sub-pixel overhangs

Citations (3)

* Cited by examiner, † Cited by third party
Publication number Priority date Publication date Assignee Title
JP2008235066A (ja) * 2007-03-22 2008-10-02 Toppan Printing Co Ltd 有機el素子及びその製造方法
WO2010134237A1 (ja) * 2009-05-22 2010-11-25 シャープ株式会社 有機el表示装置及びその製造方法
JP2011155004A (ja) * 2010-01-27 2011-08-11 Samsung Mobile Display Co Ltd 有機発光ディスプレイ装置及びその製造方法

Family Cites Families (9)

* Cited by examiner, † Cited by third party
Publication number Priority date Publication date Assignee Title
US20020036291A1 (en) * 2000-06-20 2002-03-28 Parker Ian D. Multilayer structures as stable hole-injecting electrodes for use in high efficiency organic electronic devices
KR100712295B1 (ko) * 2005-06-22 2007-04-27 삼성에스디아이 주식회사 유기 전계 발광 소자 및 그 제조 방법
JP4203772B2 (ja) 2006-08-01 2009-01-07 ソニー株式会社 表示装置およびその駆動方法
KR100823511B1 (ko) * 2006-11-10 2008-04-21 삼성에스디아이 주식회사 유기 발광 표시 장치 및 그 제조방법
JPWO2009133680A1 (ja) * 2008-04-28 2011-08-25 パナソニック株式会社 表示装置およびその製造方法
JP5199773B2 (ja) * 2008-07-30 2013-05-15 住友化学株式会社 有機エレクトロルミネッセンス素子およびその製造方法
CN102687302A (zh) * 2009-09-30 2012-09-19 凸版印刷株式会社 有机电致发光元件、有机电致发光显示屏及有机电致发光显示屏的制造方法
CN102165593B (zh) * 2009-12-22 2015-01-28 松下电器产业株式会社 显示装置及其制造方法
JP5919807B2 (ja) * 2011-03-30 2016-05-18 ソニー株式会社 有機発光素子、有機発光素子の製造方法および表示装置

Patent Citations (3)

* Cited by examiner, † Cited by third party
Publication number Priority date Publication date Assignee Title
JP2008235066A (ja) * 2007-03-22 2008-10-02 Toppan Printing Co Ltd 有機el素子及びその製造方法
WO2010134237A1 (ja) * 2009-05-22 2010-11-25 シャープ株式会社 有機el表示装置及びその製造方法
JP2011155004A (ja) * 2010-01-27 2011-08-11 Samsung Mobile Display Co Ltd 有機発光ディスプレイ装置及びその製造方法

Also Published As

Publication number Publication date
JP2013089505A (ja) 2013-05-13
US20140231789A1 (en) 2014-08-21
JP5919723B2 (ja) 2016-05-18
CN103891408B (zh) 2016-08-17
CN103891408A (zh) 2014-06-25
US9401494B2 (en) 2016-07-26

Similar Documents

Publication Publication Date Title
JP5919723B2 (ja) 表示パネル、表示装置および電子機器
US8581275B2 (en) Organic EL display and electronic apparatus
US20190347992A1 (en) Display device, method of laying out light emitting elements, and electronic device
JP5811709B2 (ja) 発光パネル、表示装置および電子機器
CN102903326B (zh) 显示装置以及电子设备
JP2013058323A (ja) 発光パネル、表示装置および電子機器
TWI423220B (zh) 顯示裝置,在顯示裝置中佈局導線之方法及電子裝置
CN102629448B (zh) 有机电致发光显示器及电子设备
JP2010002476A (ja) 自発光表示装置および電子機器
JP2010003880A (ja) 表示装置および電子機器
JP2009169070A (ja) カラー画像表示装置、シャドーマスクおよびシャドーマスクを使用したカラー画像表示装置の製造方法
JP2010002531A (ja) 表示装置および電子機器
CN102592540B (zh) 有机el显示装置和电子设备
JP2010002530A (ja) 表示装置および電子機器
US9276053B2 (en) Display panel, display unit, and electronic apparatus
JP5590285B2 (ja) 表示装置
JP5737568B2 (ja) 表示パネル、表示装置および電子機器
JP2012185327A (ja) 書込回路、表示パネル、表示装置および電子機器
US20130057523A1 (en) Display panel and display
JP5927601B2 (ja) 発光パネル、表示装置および電子機器
JP5766491B2 (ja) 発光パネル、表示装置および電子機器
JP5737570B2 (ja) 表示装置および電子機器
JP2013073051A (ja) 回路基板およびその製造方法、および電子機器
JP2011221204A (ja) 表示装置、電子機器、表示装置の駆動方法
JP2010014746A (ja) 表示装置およびその駆動方法ならびに電子機器

Legal Events

Date Code Title Description
121 Ep: the epo has been informed by wipo that ep was designated in this application

Ref document number: 12841405

Country of ref document: EP

Kind code of ref document: A1

WWE Wipo information: entry into national phase

Ref document number: 14346889

Country of ref document: US

NENP Non-entry into the national phase

Ref country code: DE

122 Ep: pct application non-entry in european phase

Ref document number: 12841405

Country of ref document: EP

Kind code of ref document: A1