WO2011151984A1 - Document transporter - Google Patents
Document transporter Download PDFInfo
- Publication number
- WO2011151984A1 WO2011151984A1 PCT/JP2011/002767 JP2011002767W WO2011151984A1 WO 2011151984 A1 WO2011151984 A1 WO 2011151984A1 JP 2011002767 W JP2011002767 W JP 2011002767W WO 2011151984 A1 WO2011151984 A1 WO 2011151984A1
- Authority
- WO
- WIPO (PCT)
- Prior art keywords
- document
- passageway
- sphere
- bill
- transporter
- Prior art date
- Legal status (The legal status is an assumption and is not a legal conclusion. Google has not performed a legal analysis and makes no representation as to the accuracy of the status listed.)
- Ceased
Links
Images
Classifications
-
- B—PERFORMING OPERATIONS; TRANSPORTING
- B65—CONVEYING; PACKING; STORING; HANDLING THIN OR FILAMENTARY MATERIAL
- B65H—HANDLING THIN OR FILAMENTARY MATERIAL, e.g. SHEETS, WEBS, CABLES
- B65H5/00—Feeding articles separated from piles; Feeding articles to machines
- B65H5/06—Feeding articles separated from piles; Feeding articles to machines by rollers or balls, e.g. between rollers
- B65H5/062—Feeding articles separated from piles; Feeding articles to machines by rollers or balls, e.g. between rollers between rollers or balls
-
- B—PERFORMING OPERATIONS; TRANSPORTING
- B65—CONVEYING; PACKING; STORING; HANDLING THIN OR FILAMENTARY MATERIAL
- B65H—HANDLING THIN OR FILAMENTARY MATERIAL, e.g. SHEETS, WEBS, CABLES
- B65H5/00—Feeding articles separated from piles; Feeding articles to machines
- B65H5/02—Feeding articles separated from piles; Feeding articles to machines by belts or chains, e.g. between belts or chains
- B65H5/021—Feeding articles separated from piles; Feeding articles to machines by belts or chains, e.g. between belts or chains by belts
- B65H5/025—Feeding articles separated from piles; Feeding articles to machines by belts or chains, e.g. between belts or chains by belts between belts and rotary means, e.g. rollers, drums, cylinders or balls, forming a transport nip
-
- B—PERFORMING OPERATIONS; TRANSPORTING
- B65—CONVEYING; PACKING; STORING; HANDLING THIN OR FILAMENTARY MATERIAL
- B65H—HANDLING THIN OR FILAMENTARY MATERIAL, e.g. SHEETS, WEBS, CABLES
- B65H5/00—Feeding articles separated from piles; Feeding articles to machines
- B65H5/36—Article guides or smoothers, e.g. movable in operation
-
- B—PERFORMING OPERATIONS; TRANSPORTING
- B65—CONVEYING; PACKING; STORING; HANDLING THIN OR FILAMENTARY MATERIAL
- B65H—HANDLING THIN OR FILAMENTARY MATERIAL, e.g. SHEETS, WEBS, CABLES
- B65H9/00—Registering, e.g. orientating, articles; Devices therefor
- B65H9/10—Pusher and like movable registers; Pusher or gripper devices which move articles into registered position
- B65H9/101—Pusher and like movable registers; Pusher or gripper devices which move articles into registered position acting on the edge of the article
-
- B—PERFORMING OPERATIONS; TRANSPORTING
- B65—CONVEYING; PACKING; STORING; HANDLING THIN OR FILAMENTARY MATERIAL
- B65H—HANDLING THIN OR FILAMENTARY MATERIAL, e.g. SHEETS, WEBS, CABLES
- B65H9/00—Registering, e.g. orientating, articles; Devices therefor
- B65H9/16—Inclined tape, roller, or like article-forwarding side registers
-
- B—PERFORMING OPERATIONS; TRANSPORTING
- B65—CONVEYING; PACKING; STORING; HANDLING THIN OR FILAMENTARY MATERIAL
- B65H—HANDLING THIN OR FILAMENTARY MATERIAL, e.g. SHEETS, WEBS, CABLES
- B65H2404/00—Parts for transporting or guiding the handled material
- B65H2404/10—Rollers
- B65H2404/15—Roller assembly, particular roller arrangement
-
- B—PERFORMING OPERATIONS; TRANSPORTING
- B65—CONVEYING; PACKING; STORING; HANDLING THIN OR FILAMENTARY MATERIAL
- B65H—HANDLING THIN OR FILAMENTARY MATERIAL, e.g. SHEETS, WEBS, CABLES
- B65H2404/00—Parts for transporting or guiding the handled material
- B65H2404/50—Surface of the elements in contact with the forwarded or guided material
- B65H2404/54—Surface including rotary elements, e.g. balls or rollers
-
- B—PERFORMING OPERATIONS; TRANSPORTING
- B65—CONVEYING; PACKING; STORING; HANDLING THIN OR FILAMENTARY MATERIAL
- B65H—HANDLING THIN OR FILAMENTARY MATERIAL, e.g. SHEETS, WEBS, CABLES
- B65H2404/00—Parts for transporting or guiding the handled material
- B65H2404/60—Other elements in face contact with handled material
- B65H2404/61—Longitudinally-extending strips, tubes, plates, or wires
- B65H2404/611—Longitudinally-extending strips, tubes, plates, or wires arranged to form a channel
-
- B—PERFORMING OPERATIONS; TRANSPORTING
- B65—CONVEYING; PACKING; STORING; HANDLING THIN OR FILAMENTARY MATERIAL
- B65H—HANDLING THIN OR FILAMENTARY MATERIAL, e.g. SHEETS, WEBS, CABLES
- B65H2404/00—Parts for transporting or guiding the handled material
- B65H2404/70—Other elements in edge contact with handled material, e.g. registering, orientating, guiding devices
- B65H2404/71—Adaptor, mask, i.e. restricting the working area of the parts for transporting or guiding the handled material
-
- B—PERFORMING OPERATIONS; TRANSPORTING
- B65—CONVEYING; PACKING; STORING; HANDLING THIN OR FILAMENTARY MATERIAL
- B65H—HANDLING THIN OR FILAMENTARY MATERIAL, e.g. SHEETS, WEBS, CABLES
- B65H2404/00—Parts for transporting or guiding the handled material
- B65H2404/70—Other elements in edge contact with handled material, e.g. registering, orientating, guiding devices
- B65H2404/74—Guiding means
- B65H2404/741—Guiding means movable in operation
-
- B—PERFORMING OPERATIONS; TRANSPORTING
- B65—CONVEYING; PACKING; STORING; HANDLING THIN OR FILAMENTARY MATERIAL
- B65H—HANDLING THIN OR FILAMENTARY MATERIAL, e.g. SHEETS, WEBS, CABLES
- B65H2701/00—Handled material; Storage means
- B65H2701/10—Handled articles or webs
- B65H2701/19—Specific article or web
- B65H2701/1912—Banknotes, bills and cheques or the like
Definitions
- This invention relates to a document transporter for transporting a document such as a bill along and in alignment with a passageway.
- One of known bill transporters comprises an aligning or a centering device that may automatically bring a bill into alignment with a passageway when the bill is inserted into the passageway in the deviated or inclined condition of the bill from a longitudinal central axis of the passageway.
- Patent Document 1 discloses a self aligning transport apparatus for variable media that comprises a passageway and a plurality of rotors aligned substantially parallel to side walls of the passageway, wherein at least one of the rotors has a surface shaped to drive the media in an intermittent fashion in a direction longitudinal to the passageway so as to align the media substantially with the side walls when the media is free to rotate about each rotor.
- the media is intermittently driven to intermittently bring the surface of the rotor into contact to the media, and at the point where the rotor becomes disengaged from the media, the distorted media releases its strain energy accumulated upon contact to a side wall of the passageway to automatically bring the media in alignment with the passageway so that the media may be transported along the passageway.
- the apparatus of Patent Document 1 naturally needs the mechanism for intermittently bringing the rotor into contact to valuable media while resulting in increased abrasion in rotor which therefore must be exchanged for new one at fixed intervals.
- Patent Document 2 undermentioned represents a banknote drive system that comprises a series of drive rollers located in a banknote guide channel and an associated passive roller positioned opposite to drive rollers and having a flattered or notched portion to transport a banknote while gripping it between the drive roller and passive roller wherein flattered or notched potion defines a gap to pass the banknote through the gap during the stoppage of the passive roller's rotation so as to allow alignment of the banknote with a guide channel in the system.
- the banknote drive system shown in Patent Document 2 disadvantageously requires a stop mechanism made up of a spiral cam surface formed with a stop face and a spring latch with which stop face of the cam surface is brought into engagement to stop rotation of the passive roller. This stop mechanism undesirably prevents continuous and smooth rotation of the passive roller and leads to complicated structure in the system.
- Patent Document 3 demonstrates a banknote centering device that comprises an enlarged slot for receiving a banknote longitudinally, side engaging members associated with the slot and movable from an open position either side of the slot to a narrow position defining a minimum position between the side engaging members, a banknote drive mechanism for driving a banknote from an insert position to a centering position where the banknote is freely centered within the slot, a side engaging member drive arrangement for moving the side engaging members in a controlled manner towards one another and equally spaced either side of a centerline of the slot.
- the side engaging member drive arrangement includes a motor for accelerating the side engaging members from the open position towards the narrow position until further inward movement of the side engaging members is opposed by the sides of a banknote being parallel therewith and contacting the side engaging members over a substantial length thereof centering the banknote in the slot.
- the drive arrangement of the side engaging members includes a screw drive in drive connection with the side engaging members, and the screw drive includes a second shaft parallel to the common shaft to maintain the side engaging members appropriately spaced by the screw drive during movement between the open and narrow positions.
- the banknote centering device of Patent Document 3 unfavorably demands the side engaging members and the side engaging member drive arrangement for moving the side engaging members towards one another.
- Patent Document 4 exhibits an aligning and reading apparatus for a bill that comprises first transporters for laterally conveying a bill along a passageway when one kind of bills having their different longitudinal length is supplied into the passageway, an alignment arrangement for centering the bill toward a longitudinal center of the passageway by urging inwardly the opposite ends of the bill conveyed by the first transporters, second transporters located on quarto lines of the bill for further conveying the centered bill, and a reading head located away from the quarto lines of the bill for detecting features of the bill.
- the apparatus shown in Patent Document 4 disadvantageously has the increased number of assembled elements and cannot be cut down the cost for manufacture because it calls for the alignment arrangement for centering the bill toward a longitudinal center of the passageway by urging inwardly the opposite ends of the bill.
- an object of the present invention is to provide a document transporter of the simplified structure capable of aligning a transported document with a passageway for the bill.
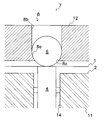
- the document transporter comprises a passageway (2) and a conveyor (3) for transporting a document (1) along passageway (2).
- Conveyor (3) comprises a frictional carrier (4) rotatably mounted in passageway (2), a drive device (5) for driving frictional carrier (4) and a weighting device (7) for urging document (1) against frictional carrier (4).
- Weighting device (7) comprises a holder (8) adjacent to passageway (2), and a sphere (6) rotatably maintained in holder (8) to be in contact to frictional carrier (4) to grip document (1) between sphere (6) and frictional carrier (4).
- the present invention can provide an inexpensive document transporter of its simplified structure capable of automatically aligning a transported document with a passageway to certainly validate the aligned document by means of a discrimination sensor mounted in the back of the passageway.
- a word "document” used herein means a bill, a banknote, a coupon, a security, tender, scrip of money equivalence or one of all economically valuable papers.
- FIGS 1 to 7 illustrate a first embodiment of the bill transporter according to the present invention.
- the bill transporter comprises a passageway 2 and a conveyor 3 for transporting a bill 1 as a document inserted into passageway 2.
- Passageway 2 comprises a bottom wall 11, a top wall 12 and side walls 13 all formed of plastic or metallic materials.
- Conveyor 3 comprises a frictional carrier 4 rotatably mounted in passageway 2, a drive device 5 for driving frictional carrier 4 and a weighting device 7 for urging or pressing bill 1 against a conveyor belt of frictional carrier 4. While the shown embodiments instantiate frictional carrier 4 utilizing a conveyor belt, however, it may utilize a conveyor roller or conveyor rollers accessible to bill 1 in lieu of conveyor belt.
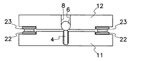
- Weighting device 7 comprises a holder 8 formed adjacent to passageway 2, and a sphere or ball 6 rotatably maintained in holder 8 to be accessible to or in contact to conveyor belt of frictional carrier 4 to grip bill 1 between ball 6 and conveyor belt of frictional carrier 4.
- frictional carrier 4 is drivingly mounted within a chamber 14 formed in a bottom wall of passageway 2.
- Drive device 5 comprises a drive motor 20 that is drivingly connected to frictional carrier 4 through a power transmission device 21 of a desired reduction gear ratio.
- Power transmission device 21 may comprise a gear train, a belt transmission or their combination.
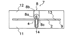
- Holder 8 is formed in a top wall 12 of conveyor 3 for defining passageway 2 to arrange ball 6 in holder 8 that comprises a vertically formed cylindrical hole 8b, an inner bearing surface 8a formed at a lower portion of cylindrical hole 8b into a partially spherical shape and an opening 8c formed at the bottom of holder 8 for communicating inner bearing surface 8a with passageway 2.
- Ball 6 is in contact to inner bearing surface 8a to freely rotate, roll, make a spherical motion or slide in all or any directions within inner bearing surface 8a when in contact to bill 1, and also to vertically move in holder 8 toward and away from passageway 2.
- Ball 6 may freely rotate and slide within holder 8 with an extremely less amount of resultant frictional force between ball 6 and bill 1 compared to a case of the sliding contact only, and also, ball 6 may upwardly move within holder 8 when any external force is applied to ball 6 from the bottom.
- Conveyor belt in frictional carrier 4 is formed of any plastic material with its outer surface covered with rubber materials of larger friction coefficient in contact to moved bill 1 and ball 6. Even where frictional carrier 4 comprises a conveyor roller in place of conveyor belt, such a conveyor roller may have its outer surface coated with a rubber material of larger friction coefficient.
- Ball 6 is made of a material selected from the group of corrosive-resistant materials such as stainless steel, iron or ferric alloy, and in a structure of ball 6 resiliently urged toward frictional carrier 4 by a spring 15, ball 6 may be made of a relatively light metal such as copper, titanium, aluminum or their alloy or wear-resistant plastic materials.
- An inner diameter of opening 8c in holder 8 is smaller than an outer diameter of ball 6 to keep ball 6 within holder 8 without downward drop of ball 6 that however can move upwardly within holder 8.
- a bottom portion of ball 6 retained in holder 8 projects into passageway 2 through opening 8c of holder 8 and makes contact to conveyor belt of frictional carrier 4 that upwardly projects into passageway 2 from bottom wall thereof so that bottom portion of ball 6 also makes contact to bill 1 in touch with conveyor belt of frictional carrier 4 while bill 1 moves between ball 6 and conveyor belt of frictional carrier 4 within passageway 2.
- Opposite side walls 13 define passageway 2 and have inwardly tapered surfaces 9 at the front to form an inlet 16.
- a pair of inlet sensors 10 are arranged in bottom and top walls 11 and 12 in the vicinity of and on the opposite sides of conveyor belt of frictional carrier 4 to detect bill 1 inserted into passageway 2.
- each of inlet sensors 10 may have a photo-coupler of light emitting and receiving elements for detecting light-interruption between these elements by bill 1 moving through passageway 2.
- any inlet sensor 10 detects light-interruption by passage of bill 1, it produces a detection signal to a control device (not shown) that in turn effects a trigger signal to drive device 5 to activate drive device 5 and thereby drive frictional carrier 4.
- ball 6 makes contact to rotating conveyor belt of frictional carrier 4 and thereby rotates within inner bearing surface 8a of holder 8, and when ball 6 makes spherical contact to bill 1 inserted into passageway 2, it may freely rotate within inner bearing surface 8a of holder 8 in accordance with movement of bill 1 through passageway 2 if bill 1 moves in any planar direction in passageway 2.
- FIG. 4 illustrates an example of the structures wherein ball 6 makes contact to conveyor belt of frictional carrier 4 or bill 1 under its own weight in other words at a given pressure, and this structure has the feature capable of maintaining a constant pressure on bill 1 by ball 6 without effecting any change to pressure by ball 6 on conveyor belt of frictional carrier 4 and on bill 1 even though ball 6 rotates within inner bearing surface 8a of holder 8. If rotating ball 6 has any frictional force on bill 1, it is smaller than a frictional force by bill 1 on frictional carrier 4.
- bill 1 When bill 1 is inserted into passageway 2 with the deviated or inclined central axis of bill 1 relative to a longitudinal central axis of passageway 2 on a plane surface as shown in Figure 5, bill 1 is gripped between ball 6 and conveyor belt of frictional carrier 4, and at the time at least one or both of side edges 1a of bill 1 come into contact to either or both side walls 13 of passageway 2, side wall or walls 13 cause flexible bill 1 to elastically deform while inducing a restoring force in deformed bill 1 to turn back to its original undeformed flat shape.
- This restoring force in bill 1 may produce a reactive force that tends to separate side edge or edges 1a of bill 1 off from side wall or walls 13 of passageway 2 so as to move and bring bill 1 into alignment with a longitudinal central axis of passageway 2.
- a frictional force of ball 6 on bill 1 is very small, while the resultant reactive force is greater than frictional force to ball 6.
- bill 1 can freely move within a two-directional plane containing the contact point with ball 6 to release the reactive force in bill 1 in contact to ball 6 so that bill 1 moves to come into alignment with a longitudinal central axis of passageway 2 for automatic aligning or centering of bill's attitude.
- this invention may provide an inexpensive bill transporter of its simplified structure capable of automatically aligning a transported bill with a passageway.
- Figure 7 illustrates a variation from the embodiment in Figure 4 with the vertically inverted structure of ball 6 and frictional carrier 4 wherein frictional carrier 4 is rotatably arranged in chamber 14 of top wall 12 in conveyor 3; holder 8 is formed in bottom wall 11 of conveyor 3; and ball 6 is disposed in holder 8 to upwardly and elastically urge ball 6 toward conveyor belt of frictional carrier 4 by a resilient force of a spring 15 as an elastic material so that ball 6 makes contact to bill 1 moving between ball 6 and frictional carrier 4.
- spring 15 is used to upwardly and elastically urge ball 6 to produce a predetermined elastic force on bill 1 toward conveyor belt of frictional carrier 4.
- FIGs 8 to 16 represent a second embodiment of the invention wherein two pairs of guide rollers 22 are rotatably arranged face-to-face each other and attached to opposite side walls 13 of passageway 2 shown in Figures 1 to 7.
- each guide roller 22 has an outer rim formed with a V- or U-shaped annular groove 23 into which a side edge of bill 1 may be fit, and each of side walls 13 of passageway 2 has an intermediate surface formed into an arcuate shape between anterior and posterior guide rollers 22.
- This invention is applicable to document transporters of various types for transporting documents in alignment with a passageway.
Landscapes
- Engineering & Computer Science (AREA)
- Mechanical Engineering (AREA)
- Delivering By Means Of Belts And Rollers (AREA)
- Registering Or Overturning Sheets (AREA)
Priority Applications (7)
| Application Number | Priority Date | Filing Date | Title |
|---|---|---|---|
| CA2801628A CA2801628A1 (en) | 2010-06-04 | 2011-05-18 | Document transporter |
| EP11789399.0A EP2576404A4 (en) | 2010-06-04 | 2011-05-18 | DOCUMENTS TRANSPORTER |
| CN2011800359803A CN103025635A (zh) | 2010-06-04 | 2011-05-18 | 文档输送器 |
| BR112012030945A BR112012030945A2 (pt) | 2010-06-04 | 2011-05-18 | transportador de documentos |
| AU2011262134A AU2011262134A1 (en) | 2010-06-04 | 2011-05-18 | Document transporter |
| MX2012014157A MX2012014157A (es) | 2010-06-04 | 2011-05-18 | Transportador de documento. |
| ZA2012/09451A ZA201209451B (en) | 2010-06-04 | 2012-12-12 | Document transporter |
Applications Claiming Priority (2)
| Application Number | Priority Date | Filing Date | Title |
|---|---|---|---|
| JP2010129462A JP2011255976A (ja) | 2010-06-04 | 2010-06-04 | 紙葉類搬送装置 |
| JP2010-129462 | 2010-06-04 |
Publications (1)
| Publication Number | Publication Date |
|---|---|
| WO2011151984A1 true WO2011151984A1 (en) | 2011-12-08 |
Family
ID=45066377
Family Applications (1)
| Application Number | Title | Priority Date | Filing Date |
|---|---|---|---|
| PCT/JP2011/002767 Ceased WO2011151984A1 (en) | 2010-06-04 | 2011-05-18 | Document transporter |
Country Status (10)
| Country | Link |
|---|---|
| EP (1) | EP2576404A4 (enExample) |
| JP (1) | JP2011255976A (enExample) |
| CN (1) | CN103025635A (enExample) |
| AU (1) | AU2011262134A1 (enExample) |
| BR (1) | BR112012030945A2 (enExample) |
| CA (1) | CA2801628A1 (enExample) |
| MX (1) | MX2012014157A (enExample) |
| TW (1) | TW201210928A (enExample) |
| WO (1) | WO2011151984A1 (enExample) |
| ZA (1) | ZA201209451B (enExample) |
Cited By (3)
| Publication number | Priority date | Publication date | Assignee | Title |
|---|---|---|---|---|
| AU2015230709A1 (en) * | 2015-03-27 | 2016-10-13 | Fujifilm Business Innovation Corp. | Sheet conveying device and image forming apparatus |
| DE102017105842A1 (de) * | 2017-03-17 | 2018-09-20 | Wincor Nixdorf International Gmbh | Vorrichtung zum Ausrichten von Wertscheinen |
| US11136210B2 (en) | 2017-08-08 | 2021-10-05 | Japan Cash Machine Co., Ltd. | Friction transport device and paper sheet transport device |
Families Citing this family (9)
| Publication number | Priority date | Publication date | Assignee | Title |
|---|---|---|---|---|
| CN103302962B (zh) * | 2013-07-02 | 2015-03-25 | 青岛海刚烫印设备制造有限公司 | 票据自动烫金机 |
| JP6193832B2 (ja) * | 2014-09-26 | 2017-09-06 | 富士通フロンテック株式会社 | 通帳搬送装置および通帳印刷装置 |
| JP6322108B2 (ja) * | 2014-09-29 | 2018-05-09 | 富士通フロンテック株式会社 | 通帳搬送装置および通帳印刷装置 |
| JP6609958B2 (ja) * | 2015-03-27 | 2019-11-27 | 富士ゼロックス株式会社 | 用紙搬送装置および画像形成装置 |
| JP6589326B2 (ja) * | 2015-03-27 | 2019-10-16 | 富士ゼロックス株式会社 | 用紙搬送装置および画像形成装置 |
| JP2017075049A (ja) * | 2015-10-15 | 2017-04-20 | ケイディケイ株式会社 | シートの送り出し方向制御機構 |
| JP2021012559A (ja) * | 2019-07-08 | 2021-02-04 | グローリー株式会社 | 紙葉類取込機構および紙葉類処理装置 |
| CN111775554A (zh) * | 2020-06-08 | 2020-10-16 | 安徽兴中新材料股份有限公司 | 一种塑料包装袋用的印刷装置 |
| JP7535547B2 (ja) | 2022-03-23 | 2024-08-16 | 日本金銭機械株式会社 | 摩擦搬送装置、及び紙葉搬送装置 |
Citations (6)
| Publication number | Priority date | Publication date | Assignee | Title |
|---|---|---|---|---|
| JPS5148317Y1 (enExample) * | 1970-08-14 | 1976-11-20 | ||
| JPS5988047U (ja) * | 1982-12-03 | 1984-06-14 | 株式会社リコー | 複写紙ガイド装置 |
| JPS6141709Y2 (enExample) * | 1981-04-08 | 1986-11-27 | ||
| EP0300095A1 (en) * | 1987-07-20 | 1989-01-25 | Agfa-Gevaert N.V. | An electrophotographic printer with angular sheet alignment |
| US5577719A (en) * | 1993-11-15 | 1996-11-26 | Ncr Corporation | Document alignment system |
| JP2007314344A (ja) * | 2006-05-25 | 2007-12-06 | K D K Kk | 用紙の搬送手段及びそれを用いたラミネータ |
Family Cites Families (7)
| Publication number | Priority date | Publication date | Assignee | Title |
|---|---|---|---|---|
| GB2059398B (en) * | 1979-04-20 | 1983-09-14 | Canon Kk | Text orientating device |
| JPH08108954A (ja) * | 1994-10-07 | 1996-04-30 | Omron Corp | 紙葉類姿勢制御機構、当該紙葉類姿勢制御機構を利用した紙葉類搬送装置及び紙葉類処理装置 |
| IT1291189B1 (it) * | 1997-03-12 | 1998-12-29 | Gera Srl | Dispositivo per l'alimentazione di fogli ad una macchina piegatrice. |
| JPH11322134A (ja) * | 1998-05-15 | 1999-11-24 | Glory Ltd | 紙葉類搬送装置 |
| US6102391A (en) * | 1998-05-15 | 2000-08-15 | Pitney Bowes Inc. | Right angle transfer apparatus |
| US6712356B2 (en) * | 2000-02-09 | 2004-03-30 | Mars Incorporated | Self aligning transport mechanism for media of variable media widths |
| CA2323329C (en) * | 2000-10-17 | 2009-12-29 | Cashcode Company Inc. | Banknote drive rollers with antijamming characteristics |
-
2010
- 2010-06-04 JP JP2010129462A patent/JP2011255976A/ja active Pending
-
2011
- 2011-05-18 MX MX2012014157A patent/MX2012014157A/es not_active Application Discontinuation
- 2011-05-18 CA CA2801628A patent/CA2801628A1/en not_active Abandoned
- 2011-05-18 BR BR112012030945A patent/BR112012030945A2/pt not_active IP Right Cessation
- 2011-05-18 WO PCT/JP2011/002767 patent/WO2011151984A1/en not_active Ceased
- 2011-05-18 EP EP11789399.0A patent/EP2576404A4/en not_active Withdrawn
- 2011-05-18 AU AU2011262134A patent/AU2011262134A1/en not_active Abandoned
- 2011-05-18 CN CN2011800359803A patent/CN103025635A/zh active Pending
- 2011-05-24 TW TW100118119A patent/TW201210928A/zh unknown
-
2012
- 2012-12-12 ZA ZA2012/09451A patent/ZA201209451B/en unknown
Patent Citations (6)
| Publication number | Priority date | Publication date | Assignee | Title |
|---|---|---|---|---|
| JPS5148317Y1 (enExample) * | 1970-08-14 | 1976-11-20 | ||
| JPS6141709Y2 (enExample) * | 1981-04-08 | 1986-11-27 | ||
| JPS5988047U (ja) * | 1982-12-03 | 1984-06-14 | 株式会社リコー | 複写紙ガイド装置 |
| EP0300095A1 (en) * | 1987-07-20 | 1989-01-25 | Agfa-Gevaert N.V. | An electrophotographic printer with angular sheet alignment |
| US5577719A (en) * | 1993-11-15 | 1996-11-26 | Ncr Corporation | Document alignment system |
| JP2007314344A (ja) * | 2006-05-25 | 2007-12-06 | K D K Kk | 用紙の搬送手段及びそれを用いたラミネータ |
Non-Patent Citations (1)
| Title |
|---|
| See also references of EP2576404A4 * |
Cited By (7)
| Publication number | Priority date | Publication date | Assignee | Title |
|---|---|---|---|---|
| AU2015230709A1 (en) * | 2015-03-27 | 2016-10-13 | Fujifilm Business Innovation Corp. | Sheet conveying device and image forming apparatus |
| AU2015230709B2 (en) * | 2015-03-27 | 2017-03-02 | Fujifilm Business Innovation Corp. | Sheet conveying device and image forming apparatus |
| US9760050B2 (en) | 2015-03-27 | 2017-09-12 | Fuji Xerox Co., Ltd. | Sheet conveying device and image forming apparatus |
| DE102017105842A1 (de) * | 2017-03-17 | 2018-09-20 | Wincor Nixdorf International Gmbh | Vorrichtung zum Ausrichten von Wertscheinen |
| DE102017105842B4 (de) | 2017-03-17 | 2019-05-29 | Wincor Nixdorf International Gmbh | Vorrichtung zum Ausrichten von Wertscheinen |
| US10543998B2 (en) | 2017-03-17 | 2020-01-28 | Wincor Nixdorf International Gmbh | Apparatus for aligning notes of value |
| US11136210B2 (en) | 2017-08-08 | 2021-10-05 | Japan Cash Machine Co., Ltd. | Friction transport device and paper sheet transport device |
Also Published As
| Publication number | Publication date |
|---|---|
| BR112012030945A2 (pt) | 2016-11-01 |
| ZA201209451B (en) | 2013-08-28 |
| EP2576404A1 (en) | 2013-04-10 |
| CA2801628A1 (en) | 2011-12-08 |
| EP2576404A4 (en) | 2014-01-22 |
| MX2012014157A (es) | 2013-05-01 |
| CN103025635A (zh) | 2013-04-03 |
| TW201210928A (en) | 2012-03-16 |
| JP2011255976A (ja) | 2011-12-22 |
| AU2011262134A1 (en) | 2013-01-24 |
Similar Documents
| Publication | Publication Date | Title |
|---|---|---|
| WO2011151984A1 (en) | Document transporter | |
| US9580263B2 (en) | Apparatus for automatically aligning bill and skew control unit | |
| US4420151A (en) | Overlapping feed detection device in sheet-processing machine | |
| TWI669264B (zh) | 摩擦搬運裝置及紙張搬運裝置 | |
| EP0514441B1 (en) | A method of, and apparatus for, delivering flat articles one by one from a stack of such articles | |
| US20110298172A1 (en) | Document conveyor | |
| EP2259234B1 (en) | Media separating apparatus of automatic media dispenser | |
| US20250197146A1 (en) | Friction transport device and paper sheet transport device | |
| JP4700978B2 (ja) | 鑑別装置及びローラ | |
| US8820737B2 (en) | Sheet-transport device, sheet-turning unit and method for turning sheets | |
| CN103548061B (zh) | 纸张类识别装置 | |
| JP5851805B2 (ja) | 硬貨取扱い装置 | |
| KR101077393B1 (ko) | 금융자동화기기의 매체 분리 장치 | |
| JPS63282032A (ja) | 紙葉類の繰出し装置 | |
| US20180265318A1 (en) | Apparatus for Aligning Notes of Value | |
| CN210776903U (zh) | 一种用于票据及纸张的整理叠放装置 | |
| US20150114795A1 (en) | Clamping of media items | |
| CN210428613U (zh) | 阻票轮、分票机构、票箱及自助金融设备 | |
| JP4338077B2 (ja) | 紙幣処理装置 | |
| KR100777574B1 (ko) | 지폐 겹침이송 감지장치 | |
| JP3506955B2 (ja) | 硬貨搬送装置 | |
| KR102210391B1 (ko) | 지폐 자동정렬장치 | |
| JP2017091204A (ja) | 紙葉類整列装置及び紙幣取扱装置 | |
| KR20110092831A (ko) | 금융자동화기기의 매체 분리 장치 | |
| KR20170100853A (ko) | 다권종 매체 저장 장치 |
Legal Events
| Date | Code | Title | Description |
|---|---|---|---|
| WWE | Wipo information: entry into national phase |
Ref document number: 201180035980.3 Country of ref document: CN |
|
| 121 | Ep: the epo has been informed by wipo that ep was designated in this application |
Ref document number: 11789399 Country of ref document: EP Kind code of ref document: A1 |
|
| ENP | Entry into the national phase |
Ref document number: 2801628 Country of ref document: CA |
|
| NENP | Non-entry into the national phase |
Ref country code: DE |
|
| WWE | Wipo information: entry into national phase |
Ref document number: 1201006310 Country of ref document: TH Ref document number: MX/A/2012/014157 Country of ref document: MX |
|
| WWE | Wipo information: entry into national phase |
Ref document number: 10648/DELNP/2012 Country of ref document: IN |
|
| WWE | Wipo information: entry into national phase |
Ref document number: 2011789399 Country of ref document: EP |
|
| ENP | Entry into the national phase |
Ref document number: 2011262134 Country of ref document: AU Date of ref document: 20110518 Kind code of ref document: A |
|
| REG | Reference to national code |
Ref country code: BR Ref legal event code: B01A Ref document number: 112012030945 Country of ref document: BR |
|
| ENP | Entry into the national phase |
Ref document number: 112012030945 Country of ref document: BR Kind code of ref document: A2 Effective date: 20121204 |