WO2011114947A1 - 横断歩道検出装置、横断歩道検出方法及びプログラム - Google Patents

横断歩道検出装置、横断歩道検出方法及びプログラム Download PDF

Info

Publication number
WO2011114947A1
WO2011114947A1 PCT/JP2011/055384 JP2011055384W WO2011114947A1 WO 2011114947 A1 WO2011114947 A1 WO 2011114947A1 JP 2011055384 W JP2011055384 W JP 2011055384W WO 2011114947 A1 WO2011114947 A1 WO 2011114947A1
Authority
WO
WIPO (PCT)
Prior art keywords
pattern
calculation
image
sub
pedestrian crossing
Prior art date
Legal status (The legal status is an assumption and is not a legal conclusion. Google has not performed a legal analysis and makes no representation as to the accuracy of the status listed.)
Ceased
Application number
PCT/JP2011/055384
Other languages
English (en)
French (fr)
Japanese (ja)
Inventor
淳邦 橋本
足立 淳
将弘 水野
Current Assignee (The listed assignees may be inaccurate. Google has not performed a legal analysis and makes no representation or warranty as to the accuracy of the list.)
Aisin Corp
Original Assignee
Aisin Seiki Co Ltd
Priority date (The priority date is an assumption and is not a legal conclusion. Google has not performed a legal analysis and makes no representation as to the accuracy of the date listed.)
Filing date
Publication date
Application filed by Aisin Seiki Co Ltd filed Critical Aisin Seiki Co Ltd
Priority to DE112011100928T priority Critical patent/DE112011100928T5/de
Priority to US13/583,868 priority patent/US8600112B2/en
Priority to CN201180011768.3A priority patent/CN102782725B/zh
Publication of WO2011114947A1 publication Critical patent/WO2011114947A1/ja
Anticipated expiration legal-status Critical
Ceased legal-status Critical Current

Links

Images

Classifications

    • GPHYSICS
    • G08SIGNALLING
    • G08GTRAFFIC CONTROL SYSTEMS
    • G08G1/00Traffic control systems for road vehicles
    • G08G1/16Anti-collision systems
    • G08G1/166Anti-collision systems for active traffic, e.g. moving vehicles, pedestrians, bikes
    • GPHYSICS
    • G06COMPUTING OR CALCULATING; COUNTING
    • G06VIMAGE OR VIDEO RECOGNITION OR UNDERSTANDING
    • G06V20/00Scenes; Scene-specific elements
    • G06V20/50Context or environment of the image
    • G06V20/56Context or environment of the image exterior to a vehicle by using sensors mounted on the vehicle
    • G06V20/588Recognition of the road, e.g. of lane markings; Recognition of the vehicle driving pattern in relation to the road

Definitions

  • the present invention relates to a pedestrian crossing detection apparatus, a pedestrian crossing detection method, and a program. More specifically, the present invention relates to a pedestrian crossing detection apparatus that detects a pedestrian crossing reflected in an image, and a pedestrian crossing detection method and program for detecting a pedestrian crossing reflected in an image. About.
  • Patent Document 1 various devices for acquiring in advance information relating to the road on which the vehicle travels have been proposed (see, for example, Patent Document 1).
  • the apparatus disclosed in Patent Document 1 attempts to detect a pedestrian crossing with respect to an image obtained by photographing a road surface. Then, the detection result is provided to the driver via the monitor. A driver who drives a vehicle can know in advance whether or not there is a pedestrian crossing in front of the vehicle even at night or in bad weather.
  • the above-described apparatus identifies the position predicted as the outer edge of the white pattern constituting the pedestrian crossing based on the luminance change of the pixels constituting the image. Then, based on the regularity of the specified position, it is determined whether or not a pedestrian crossing is shown in the image.
  • the regularity of the brightness change becomes ambiguous when a part of the white pattern is peeled off due to deterioration over time, or when a crack is generated on the road on which the white pattern is formed. It is conceivable that the detection accuracy of the pedestrian crossing is lowered.
  • the present invention has been made under the above-described circumstances, and an object thereof is to detect a pedestrian crossing with high accuracy regardless of road conditions.
  • a pedestrian crossing detection apparatus includes: A main pattern having a first sub-pattern corresponding to a white pattern constituting a pedestrian crossing reflected in an image and a second sub-pattern corresponding to a region sandwiched between the white patterns from the first position on the image, While moving to a second position different from the first position, a calculation is performed based on the first calculation value calculated based on the luminance of the pixel overlapping the first sub pattern and the luminance of the pixel overlapping the second sub pattern.
  • Calculating means for calculating the calculated second operation value A calculation means for performing a calculation using the first calculation value and the second calculation value; It is determined whether an image of the pedestrian crossing exists between the first position and the second position based on the regularity of the relationship between the position of the main pattern and the calculation result by the calculation means. Judgment means, Is provided.
  • the calculation means may calculate a difference between the first calculation value and the second calculation value.
  • the calculating means includes As the first calculation value, a value serving as an index of overall brightness of the first sub-pattern is calculated, A value that is an index of overall brightness of the second sub-pattern may be calculated as the second calculation value.
  • the computing means computes the degree of coincidence between the first sub-pattern and the white pattern in the image using the first computed value and the second computed value
  • the determination means is based on regularity of the relationship between the position of the main pattern in the moving direction of the main pattern and the degree of coincidence as a result of the calculation by the calculation means. It may be determined whether or not there is an image of the pedestrian crossing.
  • the first position may be defined on one side of a road lane shown in the image, and the second position may be specified on the other side of the road lane shown in the image.
  • first position may be defined on one side of the road shown in the image
  • second position may be specified on the other side of the road shown in the image
  • the first position may be defined on a line that divides a road lane.
  • the main pattern may include the first sub pattern and the second sub pattern adjacent to one side of the first sub pattern.
  • the main pattern may further include the second sub pattern adjacent to the other side of the first sub pattern.
  • the determining means may determine whether or not the image of the pedestrian crossing exists based on regularity of an interval between peak values indicated by a characteristic curve derived from a calculation result by the calculating means. Good.
  • the determination means is based on regularity of intervals between peak values in a characteristic curve showing a relationship between the position of the main pattern in the moving direction of the main pattern and the degree of coincidence as a result of the calculation by the calculation means. It may be determined whether an image of the pedestrian crossing exists.
  • the first straight line defined by the first position and the second position may be orthogonal to the road shown in the image.
  • the calculating means calculates a first calculation value calculated based on the luminance of a pixel overlapping the first sub-pattern while further moving the main pattern along a second straight line parallel to the first straight line;
  • the second calculated value calculated based on the luminance of the pixel overlapping the second sub pattern may be calculated.
  • a pedestrian crossing detection method includes: A main pattern having a first sub-pattern corresponding to a white pattern constituting a pedestrian crossing reflected in an image and a second sub-pattern corresponding to a region sandwiched between the white patterns from the first position on the image, While moving to a second position different from the first position, a calculation is performed based on the first calculation value calculated based on the luminance of the pixel overlapping the first sub pattern and the luminance of the pixel overlapping the second sub pattern.
  • Calculating the second calculated value Performing a calculation using the first calculation value and the second calculation value; Based on the regularity of the relationship between the position of the main pattern and the calculation result using the first calculation value and the second calculation value, the crossing between the first position and the second position. Determining whether a sidewalk image exists, including.
  • a program provides a computer, A main pattern having a first sub-pattern corresponding to a white pattern constituting a pedestrian crossing reflected in an image and a second sub-pattern corresponding to a region sandwiched between the white patterns from the first position on the image, While moving to a second position different from the first position, a calculation is performed based on the first calculation value calculated based on the luminance of the pixel overlapping the first sub pattern and the luminance of the pixel overlapping the second sub pattern.
  • Calculating means for calculating the calculated second calculated value A calculation means for performing a calculation using the first calculation value and the second calculation value; It is determined whether an image of the pedestrian crossing exists between the first position and the second position based on the regularity of the relationship between the position of the main pattern and the calculation result by the calculation means. Judgment means, To function as.
  • a calculation using a calculation value based on the luminance of a plurality of pixels is performed. Based on the regularity of the relationship between the result of this calculation and the position of the main pattern, the presence / absence of a pedestrian crossing in the image is determined. Thereby, even if a part of white pattern has deteriorated, the pedestrian crossing in an image can be detected accurately.
  • FIG. 6 is a first diagram illustrating a characteristic curve based on a scanning operation.
  • FIG. 6 is a second diagram illustrating a characteristic curve based on a scanning operation.
  • FIG. 6 is a third diagram illustrating a characteristic curve based on a scanning operation. It is a block diagram of the pedestrian crossing detection system which concerns on 2nd Embodiment. It is a flowchart (the 1) for demonstrating operation
  • FIG. It is FIG. (1) for demonstrating the identification procedure of a peak. It is FIG. (2) for demonstrating the identification procedure of a peak. It is FIG. (3) for demonstrating the specific procedure of a peak.
  • FIG. 1 is a block diagram showing a schematic configuration of a pedestrian crossing detection system 10 according to the present embodiment.
  • the pedestrian crossing detection system 10 is mounted on, for example, an automobile. And the pedestrian crossing reflected in the image imaged by the imaging device 20 is detected.
  • the pedestrian crossing detection system 10 includes an imaging device 20 and a pedestrian crossing detection device 30 that detects a pedestrian crossing from an image captured by the imaging device 20.
  • the imaging device 20 includes a CCD camera that converts an image PH1 acquired by imaging a subject into an electrical signal and outputs the electrical signal.
  • the imaging device 20 is installed on, for example, a front grill or a bumper of an automobile.
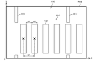
  • FIG. 2 is a diagram illustrating an example of an image PH1 imaged by the imaging device 20.
  • image PH1 a road 100, a line 101 that divides the lane of the road 100, and a pedestrian crossing 120 that crosses the road 100 are shown.
  • the viewing angle and magnification of the imaging device 20 are adjusted so that the lane partitioned by the line 101 is located in the field of view.
  • the imaging device 20 images the road 100 sequentially, and outputs the information regarding the imaged image.
  • the pedestrian crossing detection device 30 includes a storage unit 31, an image conversion unit 32, an average value calculation unit 33, a calculation unit 34, a curve generation unit 35, and a determination unit 36.
  • the storage unit 31 stores information on images sequentially output from the imaging device 20 in time series.
  • the storage unit 31 sequentially stores information as processing results of the units 32 to 36.
  • the image conversion unit 32 converts the image PH1 captured by the imaging device 20 into an image (top view image) viewed from directly above the road 100. Specifically, the image conversion unit 32 performs a coordinate conversion process on the image PH1, and generates, for example, an image PH2 shown in FIG.
  • FIG. 3 shows an XY coordinate system defined in the image PH2 with the lower left corner as the origin, and the following description uses the XY coordinate system.
  • each of the white patterns 121 constituting the pedestrian crossing 120 is a rectangle whose longitudinal direction is the Y-axis direction.
  • each white pattern 121 is arrange
  • the distance d1 between the edges of the adjacent white patterns 121 is equal to the width (size) d2 of the white pattern 121 in the X-axis direction.
  • the image conversion unit 32 When the image conversion unit 32 generates the image PH2, the image conversion unit 32 stores the image PH2 in the storage unit 31 and notifies the average value calculation unit 33 that the conversion process of the image PH1 is completed.
  • FIG. 4 is a diagram illustrating the image PH2 and the main pattern MP defined on the image PH2.
  • the average value calculation unit 33 defines the main pattern MP on the image PH2. Then, average value calculation unit 33, the main pattern MP, the straight line L 1, the straight line L 2, along each of the straight line L 3, while moving the luminance of the pixel which overlaps with the sub-pattern SP1 ⁇ SP3 The average value is calculated.
  • Lines L 1 is a straight line parallel to the street X axis the center of the image PH1.
  • Linear L 2 is parallel to the X axis, a straight line distance D2 spaced from the straight line L 1 in the + Y direction.
  • Linear L 3 is parallel to the X axis, a straight line distance D2 spaced from the straight line L 1 in the -Y direction.
  • the movement of the main pattern MP may be an arbitrarily determined amount, but is performed, for example, by 1 to several pixels.
  • the main pattern MP and the sub patterns SP1 to SP3 are regions or windows having a predetermined shape. With the above operation, the average value of the luminance of the pixels in the area or window is calculated.
  • FIG. 5 is an enlarged view showing the main pattern MP defined on the image PH2.
  • the main pattern MP is composed of three sub patterns SP1 to SP3 arranged in the X-axis direction.
  • Each of the sub-patterns SP1 to SP3 is a rectangle whose longitudinal direction is the X-axis direction.
  • the dimensions of the sub-patterns SP1 and SP3 in the X-axis direction are equal to the distance d1, and the dimension of the sub-pattern SP2 is equal to the distance d2.
  • FIG. 6 is a diagram for explaining the operation of the average value calculator 33.
  • the average value calculating unit 33 first centered along the straight line L 1 is parallel to the street X axis of the image PH2, while moving the main pattern MP, each sub-pattern SP1 ⁇ SP3 The average value of the luminance of the pixels overlapping with is calculated.
  • the main pattern MP is a lane from the first position indicated by the arrow a (one side of the lane defined by the two lines 101) to the second position indicated by the arrow b (the other side of the lane). Move across the (road).
  • the average value calculation unit 33 defines the main pattern MP at the first position. In this position, the center of the main pattern MP is located on the straight line L 1. Further, the ⁇ X side end of the main pattern MP coincides with the ⁇ X side end of the image PH2.
  • average value calculation unit 33 a main pattern MP, the first position shown by arrow a, while moving along a straight line L 1 toward the second position shown by the arrow b, the luminance of the pixel Average values B1 1 , B2 1 , B3 1 are calculated sequentially.
  • the average value B1 1 is an average value of the luminance of the pixels overlapping the sub-patterns SP1 when on the straight line L 1 is the center of the main pattern MP located.
  • Average B2 1 is an average value of the luminance of the pixels overlapping the sub-patterns SP2 when on the straight line L 1 is the center of the main pattern MP located.
  • Mean value B3 1 is an average value of the luminance of the pixels overlapping the sub-patterns SP3 when on the straight line L 1 is the center of the main pattern MP located. Then, the average value calculation unit 33 associates the calculated average values B1 1 , B2 1 , B3 1 with the X coordinate of the center of the main pattern MP when the average values B1 1 , B2 1 , B3 1 are calculated.
  • the data B1 1 (X), B2 1 (X), and B3 1 (X) are output to the storage unit 31. Thereby, data B1 1 (X), B2 1 (X), and B3 1 (X) are stored in the storage unit 31.
  • the main pattern MP is, the + X side end reaches a position corresponding to the + X side end of the image PH2, the main pattern MP, the center is located on the straight line L 2, -X The side end is positioned at a position corresponding to the ⁇ X side end of the image PH2. Then, the average value calculation unit 33 sequentially calculates the average value B1 2 , average value B2 2 , and B3 2 of the luminance of the pixels from this position while moving the main pattern MP in the + X direction along the straight line L 2. To do.
  • the average value B1 2 is an average value of the luminance of the pixels overlapping the sub-patterns SP1 when on the straight line L 2 is the center of the main pattern MP located.
  • Average B2 2 is an average value of the luminance of the pixels overlapping the sub-patterns SP2 when on the straight line L 2 is the center of the main pattern MP located.
  • Mean value B3 2 is an average value of the luminance of the pixels overlapping the sub-patterns SP3 when on the straight line L 2 is the center of the main pattern MP located.
  • the average value calculation unit 33 associates the calculated average values B1 2 , B2 2 , B3 2 with the X coordinate of the center of the main pattern MP when the average values B1 2 , B2 2 , B3 2 are calculated.
  • Data B1 2 (X), B2 2 (X), and B3 2 (X) are output to the storage unit 31. Accordingly, the data B1 2 (X), B2 2 (X), and B3 2 (X) are stored in the storage unit 31.
  • the main pattern MP is, the + X side end reaches a position corresponding to the + X side end of the image PH2, the main pattern MP, the center is located on the straight line L 3, -X The side end is positioned at a position corresponding to the ⁇ X side end of the image PH2. Then, the average value calculation unit 33 sequentially calculates the average luminance values B1 3 , B2 3 , and B3 3 of the pixels from this position while moving the main pattern MP in the + X direction along the straight line L 3 .
  • the average value B1 3 is the average value of the luminance of the pixels overlapping the sub-patterns SP1 when on the straight line L 3 is the center of the main pattern MP located.
  • Mean value B2 3 is the average value of the luminance of the pixels overlapping the sub-patterns SP2 when on the straight line L 3 is the center of the main pattern MP located.
  • Mean value B3 3 is an average value of the luminance of the pixels overlapping the sub-patterns SP3 when on the straight line L 3 is the center of the main pattern MP located.
  • the average value calculation unit 33 associates the calculated average values B1 3 , B2 3 , B3 3 with the X coordinate of the center of the main pattern MP when the average values B1 3 , B2 3 , B3 3 are calculated.
  • the data B1 3 (X), B2 3 (X), and B3 3 (X) are output to the storage unit 31. Thereby, data B1 3 (X), B2 3 (X), and B3 3 (X) are stored in the storage unit 31.
  • the average value calculator 33 notifies the calculator 34 of the end of the process.
  • an operation of outputting data B1 N (X), B2 N (X), and B3 N (X) while moving the main pattern MP is referred to as a scan operation.
  • the computing unit 34 performs the computation represented by the following equation (1) on the data B1 N (X), B2 N (X), and B3 N (X).
  • N represents an integer from 1 to 3.
  • G N (X) B 2 N (X) ⁇ (B 1 N (X) + B 3 N (X)) / 2 (1)
  • the calculation unit 34 stores the calculation result G N (X) in the storage unit 31 and notifies the curve generation unit 35 of the completion of the calculation.
  • the curve generation unit 35 generates a characteristic curve based on the calculation result G N (X) by the calculation unit 34. Specifically, a point defined by the value of X and the value of the calculation result G N (X) is plotted in a coordinate system in which the horizontal axis is X and the vertical axis is the calculation result G N (X). Generate a characteristic curve that passes through the plotted points.
  • the calculation result G N (X) is maximized.
  • the reason is that the average luminance value B2 N of the pixels overlapping the sub-pattern SP2 is maximized, and the average luminance values B1 N and B3 N of the pixels overlapping the sub-patterns SP1 and SP3 are substantially zero. This is because the calculation result G N (X) of
  • the calculation result G N (X) is minimized.
  • the average luminance values B1 N and B3 N of the pixels overlapping the sub patterns SP1 and SP3 are maximized, and the average luminance value B2 N of the pixels overlapping the sub pattern SP2 is substantially zero. This is because the calculation result G N (X) of (2) is minimized.
  • the calculation result G N (X) is a calculation result based on the result of the scanning operation performed along the straight line crossing the white pattern 121 constituting the pedestrian crossing 120, a plurality of characteristic curves ( For example, the curve has three or more peaks.
  • the scanning operation is a diagram showing a characteristic curve which is generated based on the result performed along a straight line L 1 in FIG.
  • the calculation result G 1 (X) has a value of X corresponding to the position of each white pattern 121.
  • a peak occurs when X 1 to X 6 are satisfied. Therefore, the characteristic curve is a curve having five peaks.
  • the characteristic curve is 2 The curve has two peaks.
  • the scanning operation is a diagram showing a characteristic curve which is generated based on the result performed along a straight line L 2 in FIG. 6.
  • the calculation result G 1 (X) indicates that the value of X corresponds to the position of each line 101 in the image PH 2.
  • a peak occurs when X 0 and X 5 are set. Therefore, the characteristic curve is a curve having two peaks.
  • the curve generation unit 35 generates a characteristic curve for each scanning operation performed along each of the straight lines L 1 to L 3 . And while outputting the information regarding a characteristic curve to the memory
  • the determination unit 36 determines whether or not a pedestrian crossing is shown in the image PH2 based on the regularity of the generated characteristic curve.
  • FIG. 10 is a diagram illustrating an example of a characteristic curve. As can be seen from FIG. 10, the determination unit 36 detects the maximum point of the curve as the peak P. Then, to identify the peak P each X coordinate XP N detected. Next, the determination unit 36 performs a calculation represented by the following equation (2), and calculates a difference DP N between the X coordinates XP N corresponding to the peak P of the characteristic curve. Note that N in Equation (2) is an integer corresponding to the Nth peak. The calculation result of Expression (2) is equal to the distance between the positions of the main pattern MP in the image PH2 when G N (X) is maximized.
  • the peak of the characteristic curve is than three reduced. Further, even if there are three or more peaks, it is considered that the calculation result DP of the formula (2) is not equal to the arrangement interval D1 of the white pattern 121.
  • the determination unit 36 is a case where, for example, three or more peaks are detected in the characteristic curve, and the majority of the values of the N differences DPN are substantially equal to the value of the arrangement interval D1 of the white pattern 121.
  • the scanning operation is performed along a straight line (for example, the straight lines L 1 and L 3 ) crossing the white pattern 121 of the pedestrian crossing 120.
  • a comparison of the difference value DP N, the value of the arrangement interval D1 is, for example differences in the value of the difference between DP N values and arrangement interval D1 is determined to be equal to the time threshold value or less.
  • the determination unit 36 performs the scanning operation along a straight line that does not cross the white pattern 121 of the pedestrian crossing 120 (for example, the straight line L 2 ). Judge that. Further, determination unit 36, the characteristic curve, a case where it is detected peaks 3 or more, even when the majority of the difference value DP N is different from the value of the arrangement interval D1, scanning operation, crosswalk 120 The white pattern 121 is determined to be performed along a straight line that does not cross the white pattern 121 (for example, the straight line L 2 ).
  • the determination unit 36 determines that two or more scanning operations are performed along the straight line crossing the white pattern 121 of the pedestrian crossing 120 during the three scanning operations along the straight lines L 1 to L 3. In addition, it is determined that the pedestrian crossing 120 is reflected in the image PH2. On the other hand, when the determination unit 36 determines that only one scan operation is performed along the straight line crossing the white pattern 121 of the pedestrian crossing 120 during the three scan operations along the straight lines L 1 to L 3. In addition, it is determined that the pedestrian crossing 120 is not shown in the image PH2. The determination unit 36 also determines that the pedestrian crossing 120 is not shown in the image PH ⁇ b> 2 even when it is determined that all scanning operations have not been performed along a straight line that crosses the white pattern 121. Then, the determination unit 36 outputs a result of determining whether or not the pedestrian crossing 120 is reflected in the image PH2 to an external device or the like.
  • the data B1 N (X), B2 N (X), and B3 N (X) obtained by the scan operation using the main pattern MP are expressed by the equation (1).
  • the arithmetic processing shown in FIG. Next, a characteristic curve indicating the relationship between the calculation result G N (X) of this calculation process and the position of the main pattern MP on the image PH2 is calculated. Then, based on the regularity of the peak appearing in the characteristic curve, it is determined whether or not a pedestrian crossing is shown in the image PH2.
  • the above-described data B1 N (X), B2 N (X), and B3 N (X) are average luminances of pixels that overlap with the sub patterns SP1 to SP3 of the main pattern MP. For this reason, even if the white pattern 121 constituting the pedestrian crossing 120 is cracked or peeled off, the data B1 N (X), B2 N (X), B3 N (X) The value of is almost unaffected.
  • the white pattern 121 constituting the pedestrian crossing 120 is cracked or the white pattern 121 is peeled off, the number of pixels for displaying these portions is sub-patterns SP1 to SP3. It is only a few percent of overlapping pixels. Therefore, the values of the data B1 N (X), B2 N (X), and B3 N (X) are hardly affected even if the white pattern 121 has a crack or the like. Therefore, even if the white pattern 121 of the pedestrian crossing 120 has deteriorated over time, it can be accurately determined whether or not the pedestrian crossing is reflected in the image PH2.
  • the values of the array interval D1 and the distances d1 and d2 are values corresponding to 0.45 m on the actual road 100.
  • the distance D2 between the straight lines L 1 to L 3 is a value corresponding to 1.5 m on the actual road 100.
  • the dimension of the main pattern MP in the Y-axis direction is, for example, the same size as the pixel of the image PH2 (a size corresponding to one pixel).
  • the dimensions in the Y-axis direction of the main pattern MP and the sub patterns SP1, SP2, SP3 may be appropriately changed as necessary.
  • the dimension in the Y-axis direction may be a size corresponding to several pixels.
  • the dimensions in the Y-axis direction may be constant or may vary along the X-axis direction.
  • the pedestrian crossing detection system 10 is a crosswalk according to the first embodiment in that the pedestrian crossing detection device 30 is realized by the same configuration as a general computer or a device such as a microcomputer. This is different from the sidewalk detection system 10.
  • FIG. 11 is a block diagram showing a physical configuration of the pedestrian crossing detection system 10. As shown in FIG. 11, the pedestrian crossing detection system 10 includes an imaging device 20 and a pedestrian crossing detection device 30 including a computer.
  • the pedestrian crossing detection device 30 includes a central processing unit (CPU) 30a, a main storage unit 30b, an auxiliary storage unit 30c, a display unit 30d, an input unit 30e, an interface unit 30f, and a system bus 30g that interconnects the above units. It consists of
  • the CPU 30a executes processing to be described later on the image PH1 output from the imaging device 20 according to the program stored in the auxiliary storage unit 30c.
  • the main storage unit 30b includes a RAM (Random Access Memory) and the like, and is used as a work area of the CPU 30a.
  • RAM Random Access Memory
  • the auxiliary storage unit 30c includes a non-volatile memory such as a ROM (Read Only Memory), a magnetic disk, and a semiconductor memory.
  • the auxiliary storage unit 30c stores programs executed by the CPU 30a, various parameters, and the like. In addition, information about an image output from the imaging device 20 and information including a processing result by the CPU 30a are sequentially stored.
  • the display unit 30d includes a CRT (Cathode Ray Tube) or LCD (Liquid Crystal Display), and displays the processing result of the CPU 30a.
  • CRT Cathode Ray Tube
  • LCD Liquid Crystal Display
  • the input unit 30e includes a pointing device such as a keyboard and a mouse.
  • the operator's instruction is input via the input unit 30e and notified to the CPU 30a via the system bus 30g.
  • the interface unit 30f includes a serial interface or a LAN (Local Area Network) interface.
  • the imaging device 20 is connected to the system bus 30g via the interface unit 30f.
  • FIG. 12 and 13 correspond to a series of processing algorithms of a program executed by the CPU 30a.
  • the process which the pedestrian crossing detection apparatus 30 performs is demonstrated, referring FIG. This process is executed after the pedestrian crossing detection system 10 is activated and information related to the image captured by the imaging device 20 is output. As a premise, it is assumed that the image PH1 shown in FIG.
  • the CPU 30a converts the image PH1 picked up by the image pickup device 20 into an image (top view image) seen from directly above the road 100.
  • the image conversion unit 32 performs a coordinate conversion process on the image PH1, and generates, for example, an image PH2 shown in FIG.
  • FIG. 13 is a diagram showing a subroutine executed in step S102.
  • the CPU 30a implements the processing in step S102 by executing a subroutine shown in FIG.
  • the CPU 30a resets the counter value N.
  • the value of the counter N is initialized to 1.
  • the CPU 30a sets the determination flag to OFF.
  • the CPU 30a positions the main pattern to the first position on the straight line LN (the position indicated by the arrow a in FIG. 3). In this position, the center of the main pattern MP is located on the straight line L 1. Further, the ⁇ X side end of the main pattern MP coincides with the ⁇ X side end of the image PH2.
  • the CPU 30a In the next step S204, the CPU 30a, the average luminance value B1 1 of the pixels overlapping the sub-pattern SP1, the average luminance value B2 1 of the pixels overlapping the sub-pattern SP2, and the average luminance value B3 1 of the pixels overlapping the sub-pattern SP3. Are calculated sequentially. Then, the CPU 30a generates data B1 N (X), B2 N (X), B3 N (X) in which the X coordinate of the main pattern MP is associated with each luminance average value.
  • the CPU 30a executes the calculation represented by the above formula (1) for the data B1 N (X), B2 N (X), and B3 N (X). Thereby, the calculation result G N (X) is calculated.
  • step S206 the CPU 30a determines whether or not the value of the calculation result G N (X) is equal to or greater than a threshold A equal to or greater than zero.
  • Figure 14 is a characteristic curve obtained from a result of the scanning operation along the straight line L 1, the threshold A, the relationship between the B is shown.
  • the main pattern MP is in the first position where the X coordinate is zero. Therefore, the calculation result G N (X) is smaller than the threshold value A. Therefore, a negative determination (step S206; No) is made in step S206, and the CPU 30a proceeds to step S212.
  • step S212 the CPU 30a determines whether or not the value of the calculation result G N (X) is equal to or less than a threshold value B that is equal to or less than zero. As shown in FIG. 14, here, the calculation result G N (X) is equal to or less than the threshold value B. Therefore, the CPU 30a proceeds to step S213.
  • step S213 the CPU 30a sets the determination flag to OFF.
  • step S214 the CPU 30a determines whether or not the main pattern MP is at the second position (position indicated by the arrow b in FIG. 6).
  • a negative determination step S214; No is made in step S214, and the CPU 30a proceeds to the next step S215.
  • step S215 the CPU 30a moves the position of the main pattern MP in the + X direction by a minute distance. Then, the process returns to step S204.
  • step S212 step S212; No
  • step S206 when the processing of steps S204 to S206 and the processing of S212, S214, and S215 are repeatedly executed by the CPU 30a, the value of the calculation result G N (X) becomes larger than the threshold value B. In this case, an affirmative determination (step S206; Yes) is made in step S206, and the CPU 30a proceeds to step S207.
  • step S207 the CPU 30a determines whether or not the determination flag is off.
  • the determination flag is off. Accordingly, an affirmative determination (step S207; Yes) is made in step S207, and the CPU 30a proceeds to step S208.
  • step S208 the CPU 30a stores the calculation result G N (X) in the storage unit 31 as a peak value.
  • the CPU 30a sets the determination flag to ON.
  • step S207 a negative determination (step S207; No) is made in step S207. In this case, the CPU 30a proceeds to step S210.
  • step S210 CPU 30a, the arithmetic result G N (X) is greater or judges than calculation result G N-1 stored in the most recently (X).
  • X coordinate of the main pattern MP is the case where X 1 or less, in step S210 affirmative decision (step S210; Yes) is made, CPU 30a proceeds to step S211.
  • step S211 the CPU 30a stores the calculation result G N (X) as a peak value. Thereby, the calculation result G N (X) is updated.
  • the CPU 30a repeatedly executes the processes of steps S214, S215, steps S204 to S207, and steps S210, S211 to update the peak value as indicated by white circles in FIG.
  • step S210 negative determination step S210; No
  • CPU 30a proceeds to step S214.
  • step S214 the processing from steps S201 to S215 is repeatedly executed. Accordingly, the scanning operation is completed along a straight line L 1, the peak as indicated by a white circle is updated in FIG. 16, finally plurality of peaks P 1 is determined.
  • step S214 If an affirmative determination is made in step S214 (step S214; Yes), the CPU 30a proceeds to step S216.
  • step S216 the CPU 30a determines whether or not the counter value N is 3.
  • a negative determination is made in step S216, and the CPU 30a proceeds to step S217.
  • step S217 the CPU 30a increments the counter value N by 1, and returns to step S203.
  • step S216 the processing of S201 to S214 is repeatedly executed until the counter value becomes 3, and an affirmative determination (step S216; Yes) is made in step S216. Thereby, a scanning operation along the straight line L 2 is performed, and finally, a plurality (two) of peaks P 2 shown in FIG. 17 are determined. Also, it is performed scanning operation along a straight line L 3, and finally, a plurality of peaks P 3 is determined.
  • step S216 When the counter value N becomes 3 and an affirmative determination is made in step S216 (step S216; Yes), the CPU 30a ends the subroutine and proceeds to step S103.
  • the CPU 30a determines whether or not the pedestrian crossing 120 is shown in the image PH2, based on the peak P determined by the scan processing in step 102. *
  • the CPU 30a specifies the X coordinate XP M of the peaks P N and M for each scanning operation along the straight line L N.
  • N represents a line number
  • M represents a peak number.
  • CPU 30a calculates the difference DP N X coordinate XP M each other is shown in Figure 16.
  • the CPU 30a performs the scan operation. Is determined to be performed along straight lines (for example, straight lines L 1 and L 3 ) that cross the white pattern 121 of the pedestrian crossing 120.
  • the CPU 30a performs the scanning operation along a straight line that does not cross the white pattern 121 of the pedestrian crossing 120 (for example, the straight line L 2 ) when three or more peaks are not detected in the characteristic curve. to decide. Further, CPU 30a is a case where it is detected peaks 3 or more, the value of the difference DP N, even when the value of the array pitch D1 is different, scan operation, cross the white pattern 121 of the crosswalk 120 It is determined that the movement is performed along a straight line (eg, straight line L 2 ).
  • a straight line eg, straight line L 2
  • the CPU 30a determines that two or more scanning operations are performed along the straight line crossing the white pattern 121 of the pedestrian crossing 120 during the three scanning operations along the straight lines L 1 to L 3 , It is determined that the pedestrian crossing 120 is shown in the image PH2.
  • the CPU 30a determines that only one scan operation is performed along the straight line crossing the white pattern 121 of the pedestrian crossing 120 during the three scan operations along the straight lines L 1 to L 3 , It is determined that the pedestrian crossing 120 is not shown in the image PH2.
  • the CPU 30a also determines that the pedestrian crossing 120 is not shown in the image PH2 even when it is determined that all the scanning operations have not been performed along the straight line crossing the white pattern 121.
  • the CPU 30a outputs a result of determining whether or not the pedestrian crossing 120 is shown in the image PH2 to an external device or the like.
  • the data B1 N (X), B2 N (X), and B3 N (X) obtained by the scan operation using the main pattern MP are expressed by the equation (1).
  • the arithmetic processing shown in FIG. the peak of the characteristic curve indicating the relationship between the calculation result G N (X) and the position of the main pattern MP on the image PH2 is determined. Based on the regularity of this peak, a pedestrian crossing is reflected in the image PH2. It is determined whether or not.
  • the above-described data B1 N (X), B2 N (X), and B3 N (X) are average luminances of pixels that overlap with the sub patterns SP1 to SP3 of the main pattern MP. For this reason, even if the white pattern 121 constituting the pedestrian crossing 120 is cracked or peeled off, the data B1 N (X), B2 N (X), B3 N (X) The value of is almost unaffected. Therefore, even if the white pattern 121 of the pedestrian crossing 120 has deteriorated over time, it can be accurately determined whether or not the pedestrian crossing is reflected in the image PH2.
  • the scanning operation is performed even after three or more peaks are specified. For example, if two peaks can be identified in the scan operation, the scan operation may be stopped, and the difference DP 1 between the X coordinate XP 1 and the X coordinate XP 2 of the peak may be calculated. Then, when the difference DP 1 is substantially equal to the value of the arrangement interval D 1 of the white pattern 121, it may be determined that the scanning operation is performed along a straight line that crosses the white pattern 121.
  • the scan operation is performed three times along each of the straight lines L 1 to L 3 .
  • the pedestrian crossing detection system 10 may perform a scanning operation
  • the straight line L 1 has a passing through the center of the image PH1.
  • the straight line L 1 may not be a straight line passing through the center of the image PH1.
  • the positions of the straight lines L 1 to L 3 in the image PH can be set to appropriate positions according to, for example, the vehicle type, the mounting position of the imaging device 20, and other conditions.
  • the average brightness values B1 N , B2 N , and B3 N of the pixels that overlap the sub-patterns SP1, SP2, and SP3 are used to detect the pedestrian crossing that appears in the image PH.
  • B1 N , B2 N , and B3 N may be values that serve as indicators of the overall brightness of the pixels that overlap with the sub patterns SP1, SP2, and S3, respectively.
  • B1 N , B2 N , and B3 N may be the sum of the luminances of pixels that overlap with the sub-patterns SP1, SP2, and SP3, respectively.
  • B1 N , B2 N , and B3 N may be calculated values that are calculated based on the luminance of the pixels that overlap the sub patterns SP1, SP2, and SP3.
  • B1 N , B2 N , and B3 N are the average of the luminance evaluation values of the pixels obtained based on the luminance of the pixels, not the average value, the sum, etc. of the luminance itself of the pixels overlapping the sub-patterns SP1, SP2, SP3. It may be a value, a sum, etc.
  • This evaluation value may be arbitrarily set according to the luminance of the pixel. That is, the evaluation value may be associated with the luminance of the pixel so that the higher the luminance of the pixel, the larger the value continuously or in steps. The evaluation value may be associated with the luminance of the pixel so that the smaller the luminance of the pixel, the smaller the value continuously or in steps.
  • an example of the evaluation value set so as to increase stepwise according to the luminance of the pixel is given.
  • “1” is associated with the luminance evaluation value of the pixel.
  • “0” is associated with the luminance evaluation value of the pixel.
  • the luminance value of the pixel is equal to or higher than the second threshold value and lower than the first threshold value, the luminance value of the pixel itself or “0.5” is associated with the evaluation value of the luminance value of the pixel.
  • the main pattern MP includes three subpatterns, that is, the subpattern SP2 as the first subpattern and the subpatterns SP1 and SP3 as the second subpattern, has been described.
  • the main pattern MP may be composed of only the sub pattern SP1 as the second sub pattern and the sub pattern SP2 as the first sub pattern.
  • the calculation unit 34 may perform the calculation represented by the following expression (3) for the data B1 N (X) and B2 N (X).
  • G N (X) is an index indicating the degree of coincidence between the sub-pattern SP2 as the first sub-pattern and the white pattern 121 in the image PH2, which is an image used for the calculation.
  • G N (X) may be obtained, for example, by performing an operation based on the following formula (4) or the following formula (5).
  • the value of the coefficient k 1 can be 2 and the value of the coefficient k 2 can be 1.
  • G N (X) k 1 ⁇ B 2 N (X) ⁇ k 2 ⁇ (B 1 N (X) + B 3 N (X)) / 2 (4)
  • G N (X) k 1 ⁇ B 2 N (X) ⁇ k 2 ⁇ B 1 N (X) (5)
  • the CPU 30a moves the main pattern MP from the first position on one side of the lane defined by the line 101 to the second position on the other side in the scanning operation. In addition to this, when the entire pedestrian crossing 120 is shown in the image, the CPU 30a moves the main pattern MP from one side (+ X side) of the road 100 to the other side ( ⁇ X side) in the scanning operation. You may let them.
  • the CPU 30a moves the main pattern MP in the + X direction from the position where the ⁇ X side end coincides with the ⁇ X side end of the image PH2.
  • the CPU 30a may move the main pattern MP between the two lines 101 shown in FIG. Good.
  • a specific example of the case where the position of the line 101 on the road 100 is known includes a case where the CPU 30a detects the line 101 in advance by image processing or the like.
  • the pedestrian crossing detection system 10 can complete the processing in a short time.
  • the CPU 30a converts the image PH1 imaged by the imaging device 20 into the image PH2.
  • the CPU 30a may define the main pattern MP directly on the image PH1 and perform a scanning operation using the main pattern MP.
  • the CPU 30a defines, on the image PH1 before conversion by the image conversion unit 32, the XY coordinate system having the lower left corner as the origin and the main pattern MP, similarly to the image PH2. Then, the CPU 30a performs a scanning operation on the image PH1 using the main pattern MP. In this case, it is necessary to appropriately change the dimension of the main pattern MP in the X-axis direction according to the Y coordinate of the main pattern MP.
  • the width of the road 100 shown in the image PH1 decreases as the vanishing point of the image PH1 is approached (as the distance from the imaging device 20). .
  • the sub-patterns SP1 to SP3 may be arranged with a predetermined clearance.
  • the sub-patterns SP1 to SP3 in FIG. 5 may be reduced in size in the X-axis direction by, for example, 0.1 m while leaving the center position as it is, and the main pattern MP may be configured from these sub-patterns SP1 to SP3. .
  • the function of the pedestrian crossing detection apparatus 30 according to each of the above embodiments can be realized by dedicated hardware or by a normal computer system.
  • the programs stored in the auxiliary storage unit 30c of the pedestrian crossing detection device 30 are flexible disk, CD-ROM (Compact Disk Read-Only Memory), DVD (Digital Versatile Disk), MO ( A device that executes the above-described processing may be configured by storing and distributing in a computer-readable recording medium such as Magneto-Optical disk) and installing the program in the computer.
  • CD-ROM Compact Disk Read-Only Memory
  • DVD Digital Versatile Disk
  • MO A device that executes the above-described processing may be configured by storing and distributing in a computer-readable recording medium such as Magneto-Optical disk) and installing the program in the computer.
  • the program may be stored in a disk device or the like included in a predetermined server device on a communication network such as the Internet, and may be downloaded to a computer while being superimposed on a carrier wave, for example.
  • the program may be activated and executed while being transferred via a communication network.
  • all or part of the program may be executed on the server device.
  • the computer terminal may execute the above-described image processing by transmitting / receiving information regarding the processing of the program to / from the server device via the communication network.
  • the pedestrian crossing detection apparatus, the pedestrian crossing detection method, and the program according to the present invention are suitable for detecting a pedestrian crossing reflected in an image.

Landscapes

  • Physics & Mathematics (AREA)
  • Engineering & Computer Science (AREA)
  • General Physics & Mathematics (AREA)
  • Multimedia (AREA)
  • Theoretical Computer Science (AREA)
  • Image Analysis (AREA)
  • Traffic Control Systems (AREA)
  • Image Processing (AREA)
PCT/JP2011/055384 2010-03-15 2011-03-08 横断歩道検出装置、横断歩道検出方法及びプログラム Ceased WO2011114947A1 (ja)

Priority Applications (3)

Application Number Priority Date Filing Date Title
DE112011100928T DE112011100928T5 (de) 2010-03-15 2011-03-08 Fußgängerüberwegerfassungsvorrichtung, Fußgängerüberwegerfassungsverfahren und Programm
US13/583,868 US8600112B2 (en) 2010-03-15 2011-03-08 Crosswalk detection device, crosswalk detection method and recording medium
CN201180011768.3A CN102782725B (zh) 2010-03-15 2011-03-08 人行横道检测装置、人行横道检测方法

Applications Claiming Priority (2)

Application Number Priority Date Filing Date Title
JP2010-058286 2010-03-15
JP2010058286A JP5035371B2 (ja) 2010-03-15 2010-03-15 横断歩道検出装置、横断歩道検出システム,横断歩道検出方法及びプログラム

Publications (1)

Publication Number Publication Date
WO2011114947A1 true WO2011114947A1 (ja) 2011-09-22

Family

ID=44649045

Family Applications (1)

Application Number Title Priority Date Filing Date
PCT/JP2011/055384 Ceased WO2011114947A1 (ja) 2010-03-15 2011-03-08 横断歩道検出装置、横断歩道検出方法及びプログラム

Country Status (5)

Country Link
US (1) US8600112B2 (enExample)
JP (1) JP5035371B2 (enExample)
CN (1) CN102782725B (enExample)
DE (1) DE112011100928T5 (enExample)
WO (1) WO2011114947A1 (enExample)

Families Citing this family (14)

* Cited by examiner, † Cited by third party
Publication number Priority date Publication date Assignee Title
JP5836774B2 (ja) * 2011-11-28 2015-12-24 三菱電機株式会社 俯瞰映像生成装置、俯瞰映像生成方法、映像表示システムおよびナビゲーション装置
KR101440293B1 (ko) * 2012-02-16 2014-09-17 팅크웨어(주) 횡단 보도를 검출하는 장치 및 방법
JP6205712B2 (ja) * 2012-03-02 2017-10-04 日産自動車株式会社 横断歩道検出装置および横断歩道検出方法
EP2963633A4 (en) 2013-02-27 2016-12-07 Hitachi Automotive Systems Ltd OBJECT SENSOR
CN104680171B (zh) * 2013-11-27 2018-10-02 富士通株式会社 图像中斑马线的检测装置、方法
CN104268513B (zh) * 2014-09-17 2017-10-31 百度在线网络技术(北京)有限公司 道路引导数据的获取方法及装置
CN104331708B (zh) * 2014-11-05 2017-11-10 武汉大学 一种人行横道线自动检测分析方法及系统
KR102383425B1 (ko) * 2014-12-01 2022-04-07 현대자동차주식회사 전자 장치, 전자 장치의 제어 방법, 컴퓨터 프로그램 및 컴퓨터 판독 가능한 기록 매체
US9846969B2 (en) 2014-12-01 2017-12-19 Thinkware Corporation Electronic apparatus, control method thereof, computer program, and computer-readable recording medium
MX375820B (es) * 2016-01-29 2025-03-07 Nissan Motor Método para control de desplazamiento de vehículo, y dispositivo para control de desplazamiento de vehículo.
CA3018661C (en) * 2016-03-24 2020-06-09 Nissan Motor Co., Ltd. Travel lane detection method and travel lane detection device
CN107049717B (zh) * 2016-11-23 2019-03-01 杭州视氪科技有限公司 一种基于rgb-d相机和立体声的视障人士斑马线检测系统及方法
JP7032280B2 (ja) * 2018-10-11 2022-03-08 トヨタ自動車株式会社 横断歩道標示推定装置
US10915762B1 (en) * 2018-12-07 2021-02-09 Waymo Llc Sidewalk detection for pedestrian behavior modeling

Citations (3)

* Cited by examiner, † Cited by third party
Publication number Priority date Publication date Assignee Title
JPH08315296A (ja) * 1995-05-12 1996-11-29 Mitsubishi Electric Corp 路面監視装置及び路面監視方法
JP2007052645A (ja) * 2005-08-18 2007-03-01 Fujitsu Ltd 路面標示認識装置及びシステム
JP2007228448A (ja) * 2006-02-27 2007-09-06 Hitachi Ltd 撮像環境認識装置

Family Cites Families (23)

* Cited by examiner, † Cited by third party
Publication number Priority date Publication date Assignee Title
SE394146B (sv) * 1975-10-16 1977-06-06 L Olesen Anordning for metning resp kontroll av ett foremals, i synnerhet ett fordons hastighet.
JP3833001B2 (ja) * 1999-04-12 2006-10-11 積水樹脂株式会社 路面標示システム
JP3352655B2 (ja) 1999-09-22 2002-12-03 富士重工業株式会社 車線認識装置
JP2002329297A (ja) * 2001-04-27 2002-11-15 Nippon Signal Co Ltd:The 危険検出システム
JP4327389B2 (ja) * 2001-10-17 2009-09-09 株式会社日立製作所 走行レーン認識装置
JP3736463B2 (ja) * 2002-01-23 2006-01-18 石川島播磨重工業株式会社 歩行者感応信号制御方法
JP3964230B2 (ja) * 2002-03-01 2007-08-22 アルパイン株式会社 車載用ナビゲーション装置
JP3977776B2 (ja) * 2003-03-13 2007-09-19 株式会社東芝 ステレオキャリブレーション装置とそれを用いたステレオ画像監視装置
JP2004310522A (ja) 2003-04-08 2004-11-04 Toyota Motor Corp 車両用画像処理装置
DE10349631A1 (de) * 2003-10-24 2005-05-19 Robert Bosch Gmbh Fahrerassistenzverfahren und -vorrichtung auf der Basis von Fahrspurinformationen
WO2006045259A1 (de) * 2004-10-27 2006-05-04 Robert Bosch Gmbh Verfahren zur verbesserung der sicherheit von an einem vorzeitig erkannten unfall beteiligten verkehrsteilnehmern
JP2006190188A (ja) * 2005-01-07 2006-07-20 Toyota Motor Corp 領域分割方法
JP4568637B2 (ja) 2005-04-26 2010-10-27 富士重工業株式会社 道路認識装置
JP4248558B2 (ja) * 2006-03-24 2009-04-02 トヨタ自動車株式会社 道路区画線検出装置
JP2007264712A (ja) 2006-03-27 2007-10-11 Fuji Heavy Ind Ltd 車線検出装置
US8204278B2 (en) * 2006-11-28 2012-06-19 Fujitsu Limited Image recognition method
JP4886597B2 (ja) * 2007-05-25 2012-02-29 アイシン・エィ・ダブリュ株式会社 レーン判定装置及びレーン判定方法、並びにそれを用いたナビゲーション装置
JP5395385B2 (ja) 2008-09-01 2014-01-22 学校法人東海大学 炭素繊維強化熱可塑性樹脂成型体の製造方法および炭素繊維強化熱可塑性樹脂成型体
JP5361541B2 (ja) * 2009-06-02 2013-12-04 三菱電機株式会社 標識認識装置
US8953838B2 (en) * 2009-06-24 2015-02-10 Here Global B.V. Detecting ground geographic features in images based on invariant components
CN101620732A (zh) * 2009-07-17 2010-01-06 南京航空航天大学 道路行驶线的视觉检测方法
JP5631581B2 (ja) 2009-12-01 2014-11-26 富士重工業株式会社 道路認識装置
JP5220787B2 (ja) * 2010-03-08 2013-06-26 株式会社日本自動車部品総合研究所 車載白線認識装置

Patent Citations (3)

* Cited by examiner, † Cited by third party
Publication number Priority date Publication date Assignee Title
JPH08315296A (ja) * 1995-05-12 1996-11-29 Mitsubishi Electric Corp 路面監視装置及び路面監視方法
JP2007052645A (ja) * 2005-08-18 2007-03-01 Fujitsu Ltd 路面標示認識装置及びシステム
JP2007228448A (ja) * 2006-02-27 2007-09-06 Hitachi Ltd 撮像環境認識装置

Also Published As

Publication number Publication date
CN102782725B (zh) 2014-06-11
JP5035371B2 (ja) 2012-09-26
JP2011192071A (ja) 2011-09-29
DE112011100928T5 (de) 2013-01-24
US20130016915A1 (en) 2013-01-17
CN102782725A (zh) 2012-11-14
US8600112B2 (en) 2013-12-03

Similar Documents

Publication Publication Date Title
JP5035371B2 (ja) 横断歩道検出装置、横断歩道検出システム,横断歩道検出方法及びプログラム
CN104584076B (zh) 图像处理装置以及图像处理方法
JP5413516B2 (ja) 立体物検出装置及び立体物検出方法
US6801244B2 (en) Obstacle detection apparatus and method
US20200217656A1 (en) Method and apparatus for measuring distance using vehicle-mounted camera, storage medium, and electronic device
US9946950B2 (en) Data processing apparatus, data processing method, and program
JP4872769B2 (ja) 路面判別装置および路面判別方法
WO2008056660A1 (en) Vanishing point detecting system, vanishing point detecting method, and vanishing point detecting program
JP2004144671A (ja) 車載用レーダ装置
CN102270344A (zh) 移动体检测装置和移动体检测方法
KR20140056790A (ko) 영상 인식 장치 및 그 방법
CN109583365A (zh) 基于成像模型约束非均匀b样条曲线拟合车道线检测方法
JP2009139323A (ja) 車両用走行路面検出装置
KR20080024776A (ko) 호프 변환을 이용한 주차구획 인식 방법, 장치 및 그를이용한 주차 보조 시스템
US10679090B2 (en) Method for estimating 6-DOF relative displacement using vision-based localization and apparatus therefor
JP5796187B2 (ja) 評価値算出装置及び評価値算出方法
US11519780B2 (en) Measurement system, correction processing apparatus, correction processing method, and computer-readable recording medium
CN109558765A (zh) 汽车及车道线的检测方法、装置
CN115019260B (zh) 一种道路积雪状态识别方法、装置及电子设备
JP5273801B2 (ja) 指紋特徴点決定システム、指紋特徴点決定方法、指紋特徴点決定プログラム
CN113989117A (zh) 基于相机阵列的隧道图像动态拼接方法、装置及电子设备
JP4573590B2 (ja) 画像処理による移動物体計測方法及び装置
JP2024167464A (ja) 配筋検査装置、配筋検査方法およびプログラム
JP2024032396A (ja) 情報処理装置、情報処理方法およびプログラム
CN119107574A (zh) 基于无人机遥感技术的水利工程地形测绘方法

Legal Events

Date Code Title Description
WWE Wipo information: entry into national phase

Ref document number: 201180011768.3

Country of ref document: CN

121 Ep: the epo has been informed by wipo that ep was designated in this application

Ref document number: 11756136

Country of ref document: EP

Kind code of ref document: A1

WWE Wipo information: entry into national phase

Ref document number: 13583868

Country of ref document: US

WWE Wipo information: entry into national phase

Ref document number: 1120111009283

Country of ref document: DE

Ref document number: 112011100928

Country of ref document: DE

122 Ep: pct application non-entry in european phase

Ref document number: 11756136

Country of ref document: EP

Kind code of ref document: A1