WO2010095202A1 - 偏光コントローラ、干渉計及び光画像計測装置 - Google Patents

偏光コントローラ、干渉計及び光画像計測装置 Download PDF

Info

Publication number
WO2010095202A1
WO2010095202A1 PCT/JP2009/006712 JP2009006712W WO2010095202A1 WO 2010095202 A1 WO2010095202 A1 WO 2010095202A1 JP 2009006712 W JP2009006712 W JP 2009006712W WO 2010095202 A1 WO2010095202 A1 WO 2010095202A1
Authority
WO
WIPO (PCT)
Prior art keywords
optical fiber
light
polarization controller
pair
pressure
Prior art date
Legal status (The legal status is an assumption and is not a legal conclusion. Google has not performed a legal analysis and makes no representation as to the accuracy of the status listed.)
Ceased
Application number
PCT/JP2009/006712
Other languages
English (en)
French (fr)
Japanese (ja)
Inventor
阿部知好
沖川滋
Current Assignee (The listed assignees may be inaccurate. Google has not performed a legal analysis and makes no representation or warranty as to the accuracy of the list.)
Topcon Corp
Original Assignee
Topcon Corp
Priority date (The priority date is an assumption and is not a legal conclusion. Google has not performed a legal analysis and makes no representation as to the accuracy of the date listed.)
Filing date
Publication date
Application filed by Topcon Corp filed Critical Topcon Corp
Publication of WO2010095202A1 publication Critical patent/WO2010095202A1/ja
Anticipated expiration legal-status Critical
Ceased legal-status Critical Current

Links

Images

Classifications

    • GPHYSICS
    • G01MEASURING; TESTING
    • G01BMEASURING LENGTH, THICKNESS OR SIMILAR LINEAR DIMENSIONS; MEASURING ANGLES; MEASURING AREAS; MEASURING IRREGULARITIES OF SURFACES OR CONTOURS
    • G01B9/00Measuring instruments characterised by the use of optical techniques
    • G01B9/02Interferometers
    • G01B9/0209Low-coherence interferometers
    • G01B9/02091Tomographic interferometers, e.g. based on optical coherence
    • GPHYSICS
    • G01MEASURING; TESTING
    • G01BMEASURING LENGTH, THICKNESS OR SIMILAR LINEAR DIMENSIONS; MEASURING ANGLES; MEASURING AREAS; MEASURING IRREGULARITIES OF SURFACES OR CONTOURS
    • G01B2290/00Aspects of interferometers not specifically covered by any group under G01B9/02
    • G01B2290/70Using polarization in the interferometer

Definitions

  • the present invention relates to a polarization controller, an interferometer, and an optical image measurement device.
  • the polarization controller according to the present invention changes the polarization state of light passing through the optical fiber by compressing the optical fiber by applying pressure.
  • the interferometer according to the present invention is one to which this polarization controller is applied.
  • the optical image measurement apparatus according to the present invention is one to which this interferometer is applied, and forms a tomographic image of an object to be measured using a light beam.
  • optical image measurement technique that forms an image representing the surface form or internal form of an object to be measured using a light beam from a laser light source or the like has attracted attention. Since the optical image measurement technique does not have invasiveness to the human body like the X-ray CT apparatus, it is expected to be applied particularly in the medical field and the biological field.
  • Patent Document 1 discloses an apparatus to which an optical image measurement technique is applied.
  • the measuring arm scans an object with a rotary turning mirror (galvanomirror), a reference mirror is installed on the reference arm, and the intensity of the interference light of the light beam from the measuring arm and the reference arm is dispersed at the exit.
  • An interferometer is provided for analysis by the instrument.
  • the reference arm is configured to change the phase of the reference light beam stepwise by a discontinuous value.
  • Patent Document 1 uses a so-called “Fourier Domain OCT (Fourier Domain Optical Coherence Tomography)” technique.
  • a low-coherence beam is irradiated onto the object to be measured, the reflected light and the reference light are superimposed to generate interference light, and the spectral intensity distribution of the interference light is acquired and subjected to Fourier transform.
  • This type of technique is also referred to as a spectral domain.
  • the apparatus described in Patent Document 1 includes a galvanometer mirror that scans a light beam (signal light), thereby forming an image of a desired measurement target region of the object to be measured. Since this apparatus is configured to scan the light beam only in one direction (x direction) orthogonal to the z direction, the image formed by this apparatus is in the scanning direction (x direction) of the light beam. It becomes a two-dimensional tomogram in the depth direction (z direction) along.
  • a plurality of horizontal two-dimensional tomographic images are formed by scanning signal light in the horizontal direction (x direction) and the vertical direction (y direction), and the measurement range is determined based on the plurality of tomographic images.
  • a technique for acquiring and imaging three-dimensional tomographic information is disclosed. Examples of the three-dimensional imaging include a method of displaying a plurality of tomographic images side by side in a vertical direction (referred to as stack data) and a method of rendering a plurality of tomographic images to form a three-dimensional image. Conceivable.
  • Patent Documents 3 and 4 disclose other types of OCT apparatuses.
  • Patent Document 3 scans the wavelength of light applied to an object to be measured, acquires a spectral intensity distribution based on interference light obtained by superimposing reflected light of each wavelength and reference light,
  • an OCT apparatus for imaging the form of an object to be measured by performing Fourier transform on the object is described.
  • Such an OCT apparatus is called a swept source type.
  • Patent Document 4 the traveling direction of light is obtained by irradiating the object to be measured with light having a predetermined beam diameter, and analyzing the component of interference light obtained by superimposing the reflected light and the reference light.
  • An OCT apparatus for forming an image of an object to be measured in a cross-section orthogonal to is described. Such an OCT apparatus is called a full-field type or an en-face type.
  • Patent Document 5 discloses a configuration in which the OCT technique is applied to the ophthalmic field. Prior to the application of the OCT apparatus to the ophthalmology field, a fundus observation apparatus such as a fundus camera was used (see, for example, Patent Document 6).
  • the fundus photographing apparatus using the OCT technology has an advantage that a tomographic image and a three-dimensional image of the fundus can be acquired as compared with a fundus camera that only photographs the fundus from the front. Therefore, it is expected to contribute to improvement of diagnostic accuracy and early detection of lesions.
  • a conventional optical image measurement device uses a polarization controller that matches the polarization states of two lights (signal light and reference light) that are superimposed to generate interference light.
  • a polarization controller that matches the polarization states of two lights (signal light and reference light) that are superimposed to generate interference light.
  • polarization controllers There are various types of polarization controllers. For example, there are a type using a polarizer, a type using a wave plate, a type compressing an optical fiber, a type vibrating an optical fiber, and a type using an electric field or a magnetic field. For application to an optical image measurement device, a type that compresses an optical fiber is considered desirable in view of size and performance.
  • a compression type polarization controller for example, one disclosed in Patent Document 8 is known.
  • the polarization controller fixes both ends of the optical fiber and changes the polarization state of the light passing through the optical fiber by compressing the central portion of the optical fiber with a pair of blocks.
  • the optical fiber is configured to be rotatable so that the compression direction of the optical fiber can be changed.
  • the conventional polarization controller is configured to apply pressure by sandwiching an optical fiber between a pair of blocks.
  • the conventional polarization controller is configured to sandwich a linear optical fiber between a pair of blocks having a two-dimensional contact surface.
  • the optical fiber When the optical fiber is compressed with such a structure, the optical fiber may move or rotate due to pressure. In particular, when the pressure is increased, the risk is increased.
  • it is difficult to apply pressure uniformly to the optical fiber.
  • the present invention has been made in order to solve such a problem, and an object of the present invention is to stably apply pressure to an optical fiber and suppress temporal variation of the polarization state of light passing through the optical fiber. It is to provide a technology that can.
  • the invention according to claim 1 includes a pressure application unit that applies pressure to the optical fiber, and the polarization state of light passing through the optical fiber is changed by the applied pressure.
  • a polarization controller to be changed wherein the pressure application unit is provided at a position facing the radial direction of the optical fiber, and has a pair of contact members each having a flat surface portion that contacts the side surface of the optical fiber, A member disposed between the pair of flat portions and having a thickness substantially equal to the diameter of the optical fiber, and the pair of contact members are relatively moved so as to change a distance between the pair of flat portions.
  • a moving mechanism for applying the pressure is provided at a position facing the radial direction of the optical fiber, and has a pair of contact members each having a flat surface portion that contacts the side surface of the optical fiber, A member disposed between the pair of flat portions and having a thickness substantially equal to the diameter of the optical fiber, and the pair of contact members are relatively moved so as to change a distance between the pair of flat portions.
  • the invention according to claim 2 is the polarization controller according to claim 1, further comprising a rotation mechanism that rotates the pressure application unit with the axial direction of the optical fiber as a rotation axis. To do.
  • the invention according to claim 3 is the polarization controller according to claim 1 or 2, wherein the pressure application unit is a pair of contact members that are relatively moved by the moving mechanism. It further comprises a fixing mechanism for fixing the position.
  • the invention according to claim 4 is the polarization controller according to any one of claims 1 to 3, wherein the member includes a linear member having a diameter substantially equal to that of the optical fiber. It is characterized by that.
  • the invention according to claim 5 is the polarization controller according to claim 4, wherein the linear member is an optical fiber having the same form as the optical fiber.
  • the invention according to claim 6 is the polarization controller according to claim 4 or 5, wherein the pressure application unit further includes a holding unit for holding the linear member. To do.
  • the invention according to claim 7 is the polarization controller according to any one of claims 1 to 3, wherein the member is a position other than an arrangement position of the optical fiber in the pair of plane portions. It includes a film-like member provided at a location and having a thickness substantially equal to that of the optical fiber.
  • the invention according to claim 8 is a first light guide including a first optical fiber, a second light guide including a second optical fiber, the first optical fiber and / or the first optical fiber.
  • a polarization controller that changes the polarization state of light passing through the optical fiber by applying pressure to the second optical fiber, and the light guided by the first light guide and the second light guide
  • An interferometer that generates interference light by superimposing the light guided by the optical fiber, wherein the polarization controller is provided at a position facing the radial direction of the optical fiber and is in contact with a side surface of the optical fiber
  • a pair of abutting members each having a portion, a member disposed between the pair of plane portions and having a thickness substantially equal to the diameter of the optical fiber, and the interval between the pair of plane portions is changed.
  • the pair of contact members are moved relative to each other to Comprising a moving mechanism for applying a force, and characterized in that.
  • the invention according to claim 9 includes a light source that outputs low-coherence light, a dividing unit that divides the output low-coherence light into signal light and reference light, and a first optical fiber, A first light guide path that guides the signal light to irradiate the object to be measured, guides the signal light that has passed through the object to be measured, and a second optical fiber, and guides the reference light. Pressure is applied to the second light guide path that irradiates the reference object and guides the reference light via the reference object, and the first optical fiber and / or the second optical fiber. A polarization controller that changes a polarization state of light passing through the optical fiber, the signal light guided by the first light guide path through the object to be measured, and the second light through the reference object.
  • the reference light guided by the light guide path is superimposed and dried.
  • the polarization controller is provided at a position facing the radial direction of the optical fiber, and has a pair of abutting members each having a flat portion that abuts against a side surface of the optical fiber.
  • the member disposed between the pair of flat portions and having a thickness substantially equal to the diameter of the optical fiber and the pair of contact members are relatively moved so as to change a distance between the pair of flat portions. And a moving mechanism for applying the pressure.
  • the member having a thickness substantially equal to that of the optical fiber is disposed between the pair of plane portions together with the optical fiber, so that the pressure is compared with the conventional configuration in which only the optical fiber is sandwiched.
  • the posture of the abutting member in a state where the pressure is applied is stabilized, and the pressure can be stably applied to the optical fiber.
  • the interferometer according to the present invention includes the polarization controller according to the present invention, it is possible to suppress the temporal variation of the polarization state of the light passing through the optical fiber. Thereby, suitable interference light can be stably obtained.
  • the optical image measurement device includes the interferometer according to the present invention, suitable interference light can be obtained stably. Thereby, a suitable tomographic image can be stably obtained.
  • 1 Fundus observation device (optical image measurement device) 1A Fundus camera unit 141 Scan unit 150 OCT unit 160 Low coherence light source 161, 163, 164, 165 Optical fiber 162 Optical coupler 174 Reference mirror 180 Spectrometer 184 CCD 200 arithmetic control unit 210 control unit 220 image forming unit 230 image processing unit 240 display unit 250 operation unit 300, 400 polarization controller 1000, 4000 polarization controller 1010 main body unit 1020 rotation unit 1021 plane unit 1022 sub-fiber holding unit 1030 block 1032 plane unit 1040 Spring 1080 Adjustment screw fixing portion 1100 Adjustment screw 1120 Film member 2000 Optical fiber 3000 Sub fiber
  • the polarization controller according to the present invention changes the polarization state of light passing through the optical fiber by compressing the optical fiber by applying pressure.
  • the polarization state includes various physical quantities and expressions representing the polarization state, such as the polarization direction and the polarization amount, and the type of polarization (linearly polarized light, circularly polarized light, elliptically polarized light, etc.).
  • the first embodiment is configured to stably apply pressure to an optical fiber by compressing a linear member having a diameter substantially equal to that of the optical fiber together with the optical fiber.
  • 2nd Embodiment is comprised so that a pressure may be stably provided with respect to an optical fiber by compressing the film-like member of thickness substantially equal to an optical fiber with an optical fiber.
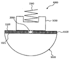
  • the polarization controller 1000 changes the polarization state of light passing through the optical fiber 2000.
  • the optical fiber 2000 is held by the main body 1010.
  • the main body 1010 is formed in a substantially cylindrical shape. A central portion of the main body portion 1010 is cut away, and a planar mounting portion 1011 is formed.
  • the rotating unit 1020 is mounted on the mounting unit 1011.
  • holding portions 1012 that hold the rotating portion 1020 are formed at both ends of the mounting portion 1011. These holding units 1012 hold both ends of the rotating unit 1020.
  • the rotating part 1020 is formed in a substantially cylindrical shape.
  • the holding unit 1012 holds the rotating unit 1020 so that the cylindrical axis of the rotating unit 1020 matches the cylindrical axis of the main body unit 1010.
  • An end portion 1013 is formed outside each holding portion 1012. Each end portion 1013 is formed so as to protrude outward from the holding portion 1012, and acts to guide the optical fiber 2000.
  • a gap 1014 is formed along the axial direction of the main body portion 1010 on the upper side surface (side surface on the connecting portion 1050 side) of each holding portion 1012 and each end portion 1013.
  • Each holding portion 1012 is formed with a hollow portion for fitting the end portion of the rotating portion 1020.
  • the hollow portion is formed in a cylindrical shape with the cylindrical axis of the main body portion 1010 as an axis.
  • the gap 1014 of each holding portion 1012 is formed from the side surface to the hollow portion.
  • Each end 1013 is formed with a hole 1015 in which the optical fiber 2000 is disposed.
  • the hole 1015 forms a cylindrical cavity.
  • the hole 1015 is formed so that its cylindrical axis is parallel to the cylindrical axis of the main body 1010.
  • the cylindrical axis of the hole 1015 is substantially coincident with the cylindrical axis of the main body 1010. That is, the hole 1015 is formed slightly eccentric with respect to the main body 1010. A gap 1014 at the end 1013 is formed from the side surface of the end 1013 to the hole 1015.
  • a pair of screws 1016 for fixing / releasing the rotating part 1020 are provided on both sides of the gap 1014.
  • Each screw 1016 is screwed into a screw hole (not shown) penetrating from the side surface of the holding portion 1012 to the hollow portion.
  • the tip of each screw 1016 enters the hollow portion from the screw hole and comes into contact with the side surface of the rotating portion 1020.
  • the pressure applied to the rotating portion 1020 by the screw 1016 increases and the rotating portion 1020 is fixed.
  • the pressure applied by the screw 1016 to the rotating portion 1020 decreases, and the rotating portion 1020 becomes rotatable.
  • the mechanism for rotating the rotating unit 1020 with respect to the main body unit 1010 may be any conventional mechanism such as Patent Document 8 described above.
  • the rotating part 1020 is formed in a substantially cylindrical shape as described above, and both end parts thereof are held by the holding part 1012. Similar to the main body portion 1010, the rotating portion 1020 is notched at the center, and a flat portion 1021 on which the optical fiber 2000 and the sub-fiber 3000 are placed is formed. The flat portion 1021 is formed so that the normal direction thereof faces upward (the connecting portion 1050 side).
  • the optical fiber 2000 is disposed so as to be substantially along the cylindrical axis of the rotating unit 1020.
  • the sub fiber 3000 is disposed at a position away from the cylindrical axis.
  • the sub-fiber 3000 may be arranged in parallel with the optical fiber 2000 or may be arranged non-parallel.
  • the sub-fiber 3000 has a diameter substantially equal to that of the optical fiber 2000.
  • a fiber having the same diameter as the optical fiber 2000 is used as the sub-fiber 3000, for example, a piece of an optical fiber of the same lot as the optical fiber 2000 is used as the sub-fiber 3000.
  • the sub fiber 3000 does not need to be an optical fiber, and may be a linear member made of an arbitrary material having a diameter substantially equal to that of the optical fiber 2000.
  • Sub-fiber holding parts 1022 for holding the sub-fiber 3000 are provided at both ends of the flat part 1021.
  • Each sub-fiber holding portion 1022 is formed with a cut portion 1023 from the top to the bottom.
  • Each notch 1023 has a width substantially equal to the diameter of the sub-fiber 3000.
  • the end portion of the sub fiber 3000 is inserted into the cut portion 1023 from above.
  • the cut portion 1023 sandwiches the end portion. In this way, the sub-fiber holding unit 1022 holds the sub-fiber 3000.
  • a connecting hole 1024 is formed in a part of the rotating part 1020 outside the flat part 1021. Each connecting hole 1024 is open upward. A screw thread is formed on the peripheral surface of each connection hole 1024. That is, the connection hole 1024 is a female screw. The lower end portion of the connection screw 1060 is screwed into each connection hole 1024. Thereby, the rotation part 1020 and the connection part 1050 are connected.
  • a cylindrical tube portion 1070 extending upward is joined to the connecting portion 1050.
  • a cylindrical engaging member 1090 is joined to the inside of the cylindrical portion 1070.
  • a thread is formed on the inner peripheral surface of the engaging member 1090.
  • An engaging portion 1102 of the adjusting screw 1100 is screwed into the engaging member 1090.
  • the adjustment screw 1100 and the engagement member 1090 have a relationship between a male screw and a female screw.
  • the engaging portion 1102 is also rotated integrally, whereby the adjusting screw 1100 moves up and down in the engaging member 1090.
  • a disc-shaped spring support member 1110 is provided at the lower end of the engaging portion 1102 of the adjusting screw 1100 (the end opposite to the head 1101).
  • the upper surface of the spring support member 1110 is in contact with the lower end of the engaging portion 1102, and the lower surface is in contact with the upper end of the spring 1040. Note that these contact portions may simply be in contact with each other, or may be joined by an adhesive or the like.
  • the spring 1040 is arranged to expand and contract in the vertical direction.
  • the lower end of the spring 1040 is fitted into a recess 1031 formed on the upper surface of the block 1030.
  • the adjustment screw 1100 is rotated and moved up and down, the block 1030 moves up and down together with the spring support member 1110.
  • the lower surface (planar portion 1032) of the block 1030 is placed on the planar portion 1021 of the rotating portion 1020.
  • the optical fiber 2000 and the sub-fiber 3000 are brought into contact with each other. Furthermore, the pressure applied to the optical fiber 2000 and the sub-fiber 3000 can be adjusted by adjusting the vertical position of the block 1030 with the adjusting screw 1100 (see FIG. 3A).
  • the rotating unit 1020 when the rotating unit 1020 is rotated with respect to the main body unit 1010 in a state where the rotating unit 1020 and the connecting unit 1050 are connected, the block 1030, the spring 1040, the connecting unit 1050, the tube unit 1070, and the adjustment screw fixing unit 1080.
  • the engaging member 1090 and the adjusting screw 1100 rotate integrally with the rotating unit 1020 (see FIG. 3B).
  • the rotation axis of the rotation unit 1020 is the cylindrical axis C of the main body unit 1010 and the rotation unit 1020.
  • the adjustment screw fixing portion 1080 is a nut that is rotatably provided around the cylindrical axis of the cylinder portion 1070, and is configured to tighten the engaging member 1090 inward when rotated in a predetermined direction. Yes. When the adjustment screw fixing portion 1080 is rotated in the reverse direction, the fastening with respect to the engaging member 1090 is loosened.
  • the optical fiber 2000 and the sub-fiber 3000 are installed.
  • the optical fiber 2000 is installed as follows, for example.
  • the tip of the optical fiber 2000 is inserted from one hole 1015 and is taken out from the other hole 1015 via the flat surface 1021 of the rotating part 1020. It is also possible to install the optical fiber 2000 on the flat surface 1021 through the gap 1014 (this installation method is more suitable when using a relatively long optical fiber 2000).
  • the sub-fiber 3000 is installed as follows. The end portions of the sub-fibers 3000 are inserted and held in the cut portions 1023 of both the sub-fiber holding portions 1022. Either the optical fiber 2000 or the sub-fiber 3000 may be installed first.
  • the rotating part 1020 and the connecting part 1050 are connected by screwing the connecting screw 1060 into the connecting hole 1024.
  • the rotational position of the rotating unit 1020 is changed, or light is adjusted with the adjusting screw 1100.
  • a rotational position and pressure that can achieve a desired polarization state (polarization direction, polarization amount, etc.) are found.
  • the quality of the polarization state can be confirmed using a device such as a polarization analyzer.
  • the quality of the polarization state can be confirmed by, for example, analyzing the interference component of the generated interference light.
  • the polarization controller 1000 is applied to an optical image measurement device, the quality of the polarization state can be confirmed by analyzing interference light or analyzing or visually checking the interference image, as will be described later.
  • the adjustment screw fixing unit 1080 is rotated to fix the position of the adjustment screw 1100, and the screw 1016 is rotated to fix the rotation unit 1020.
  • the position of the adjustment screw 1100 can be fixed by any mechanism other than the adjustment screw fixing portion 1080.
  • a lock mechanism other than the screw 1016 can be provided to restrict the rotation of the rotating unit 1020 and the like.
  • the polarization controller 1000 is a compression type polarization controller that changes the polarization state of light passing through the optical fiber 2000 by applying pressure to the optical fiber 2000.
  • the polarization controller 1000 causes the planar portion 1021 of the rotating portion 1020 and the planar portion 1032 of the block 1030 to contact the optical fiber 2000, and moves the rotating portion 1020 and the block 1030 relative to each other by the adjustment screw 1100. Pressure is applied to the optical fiber 2000 by changing the distance between the portion 1021 and the flat portion 1032.
  • the polarization controller 1000 includes a sub-fiber 3000 that is disposed between the flat portion 1021 and the flat portion 1032 and has a diameter substantially equal to that of the optical fiber 2000.
  • a polarization controller 1000 since a plurality of members (the optical fiber 2000 and the sub fiber 3000) are interposed between the rotating unit 1020 and the block 1030, a conventional configuration in which a single optical fiber is sandwiched. In comparison, it is possible to apply pressure to the optical fiber 2000 while the planar portion 1021 and the planar portion 1032 are kept parallel. Thereby, pressure can be applied uniformly from the direction orthogonal to the axial direction of the optical fiber 2000.
  • the presence of the sub-fiber 3000 stabilizes the posture of the block 1030 in a state where pressure is applied, so that the pressure can be stably applied to the optical fiber 2000. As a result, the temporal change in the polarization state of the light passing through the optical fiber 2000 can be suppressed.
  • the rotating unit 1020 and the block 1030 are an example of “a pair of contact members” of the present invention.
  • the sub fiber 3000 is an example of the “linear member” in the present invention.
  • the “movement mechanism” of the present invention includes an adjustment screw 1100, an engagement member 1090, and a spring 1040.
  • the “pressure applying unit” of the present invention includes a block 1030, a sub-fiber 3000, an adjusting screw 1100, an engaging member 1090, and a spring 1040.
  • the rotation unit 1020 of the polarization controller 1000 is provided with a mechanism for rotating the block 1030, the sub fiber 3000, the adjustment screw 1100, the engagement member 1090, and the spring 1040 with the axial direction of the optical fiber 2000 as the rotation axis.
  • This mechanism is an example of the “rotating mechanism” of the present invention, and includes a holding portion 1012 and a screw 1016.
  • pressure can be applied to the optical fiber 2000 from various directions, and the degree of freedom in adjusting the polarization state is increased. For example, the polarization direction of light passing through the optical fiber 2000 can be adjusted.
  • the pressure application unit of the polarization controller 1000 is provided with an adjustment screw fixing unit 1080 that fixes the position of the block 1030 moved by the adjustment screw 1100 or the like.
  • the adjustment screw fixing portion 1080 is an example of the “fixing mechanism” of the present invention.
  • the characteristic of the polarization controller 1000 according to this embodiment is that the sub-fiber 3000 is sandwiched together with the optical fiber 2000 as described above. With such a configuration, the pressure applied from the block 1030 is distributed between the pressure applied to the optical fiber 2000 and the pressure applied to the sub-fiber 3000.
  • the axis of the spring 1040 (the central axis of the spiral spring 1040) is located between the optical fiber 2000 and the sub-fiber 3000 (see FIG. 3). In this case, half of the pressure applied from the block 1030 is applied to the optical fiber 2000.
  • the pressure applied to the optical fiber 2000 with respect to the amount of rotation of the adjusting screw 1100 decreases, and as a result, the amount of change in the polarization state decreases, so that the polarization state can be finely adjusted.
  • the pressure application unit of the polarization controller 1000 is provided with a sub-fiber holding unit 1022 that holds the sub-fiber 3000.
  • the sub-fiber holding unit 1022 is an example of the “holding unit” in the present invention.
  • the axis of the spring 1040 is arranged between the optical fiber 2000 and the sub-fiber 3000.
  • the axis A of the spring 1040 is arranged at a position deviated from the middle between the optical fiber 2000 and the sub-fiber 3000. It may be arranged.
  • the position of the concave portion of the block 1030 may be changed. As an example, as shown in FIG. 4, it is possible to arrange the axis A closer to the optical fiber 2000 by forming a recess 1033 closer to the optical fiber 2000. On the contrary, it is possible to arrange the axis A closer to the sub-fiber 3000 by forming a recess near the sub-fiber 3000. In consideration of the collapse of the posture of the block 1030 during application of pressure, it may not be desirable to form a recess at a position greatly deviated from the intermediate position.
  • the number of sub-fibers 3000 can be arbitrarily selected. That is, it is possible to install one or more arbitrary numbers of sub-fibers 3000.
  • the amount of change in the polarization state by the adjusting screw 1100 may be adjusted by providing two or more springs.
  • the sub-fiber 3000 is prevented from dropping by the sub-fiber holding unit 1022 having the notch 1023, but the same effect may be obtained with any other configuration.
  • the sub-fiber by forming a groove along the sub-fiber placement position of the flat surface portion 1021 of the rotating unit 1020 and inserting the sub-fiber into this groove. It is desirable that the depth of the groove be slightly shallower than the diameter of the sub-fiber.
  • This groove is an example of the “holding portion” of the present invention.
  • the interval between the flat surface portion 1021 and the flat surface portion 1032 is changed by moving the block 1030 from above with respect to the rotating portion 1020.
  • the present invention is not limited to this. .
  • the distance between the flat portions may be changed by configuring both of the pair of abutting members that abut on the optical fiber to be movable.
  • a linear member having a material or structure different from that of the optical fiber 2000 can be used as appropriate.
  • the diameter of the linear member is preferably substantially equal to that of the optical fiber 2000.
  • the rotation mechanism and the fixing mechanism according to the present invention are not limited to those of the above-described embodiment. If the rotation mechanism acts so as to integrally rotate the pair of contact members, a member having a thickness substantially equal to the diameter of the optical fiber, and the moving mechanism, with the axial direction of the optical fiber as the rotation axis The configuration is unquestioned. In addition, the configuration of the fixing mechanism is not limited as long as it functions to fix the position of the pair of contact members relatively moved by the moving mechanism.
  • a polarization controller having a configuration different from that of the first embodiment will be described.
  • the feature of the polarization controller of this embodiment is that a film-like member having a thickness substantially equal to that of the optical fiber is used instead of the linear member (sub-fiber or the like).
  • the polarization controller 4000 includes a rotating unit 1020, a block 1030, a spring 1040, and the like, similar to the polarization controller 1000 of the first embodiment.
  • the block 1030 and the spring 1040 have the same configuration as in the first embodiment.
  • a film-like member 1120 is provided on the plane part 1021 of the rotating part 1020 of the polarization controller 4000.
  • the film member 1120 has a thickness substantially equal to the diameter of the optical fiber 2000.
  • the film-like member 1120 is provided at a place other than the arrangement position of the optical fiber 2000.
  • the film-like member 1120 is disposed so as to cover a portion other than the placement position of the optical fiber 2000 on the flat portion 1021. Note that at least a part of the film-like member 1120 needs to be disposed between the flat portion 1021 and the flat portion 1032.
  • the membrane member 1120 has appropriate elasticity.
  • the film-like member 1120 may be affixed on the flat part 1021 or may be provided on the flat part 1021 by any other method.
  • film-like member 1120 is not limited to the rectangular shape as shown in FIG. 6, and may be of any shape.
  • the polarization controller 4000 having such a configuration, since a plurality of members (the optical fiber 2000 and the film-like member 1120) are interposed between the rotating unit 1020 and the block 1030, a single optical fiber is sandwiched between them. Compared with the configuration of FIG. 9, it is possible to apply pressure to the optical fiber 2000 while the flat portion 1021 and the flat portion 1032 are kept parallel. Thereby, pressure can be applied uniformly from the direction orthogonal to the axial direction of the optical fiber 2000.
  • the posture of the block 1030 in a state where pressure is applied is stabilized due to the presence of the film-like member 1120, the pressure can be stably applied to the optical fiber 2000. As a result, the temporal change in the polarization state of the light passing through the optical fiber 2000 can be suppressed.
  • An optical image measurement apparatus is an apparatus that forms a tomographic image of an object to be measured using OCT technology.
  • An image acquired by the OCT technique may be referred to as an OCT image.
  • the optical image measurement device is equipped with the interferometer according to the present invention.
  • an optical image measurement device (fundus observation device) that acquires a tomographic image of the fundus using a Fourier domain type technique
  • a fundus oculi observation device having substantially the same configuration as the device disclosed in Patent Document 5 will be taken up. Even when other types of OCT technology are applied, the same operation and effect can be obtained by using the same configuration as that of this embodiment.
  • the fundus oculi observation device 1 includes a fundus camera unit 1 ⁇ / b> A, an OCT unit 150, and an arithmetic control device 200.
  • the fundus camera unit 1A has an optical system that is substantially the same as that of a conventional fundus camera.
  • the fundus camera is a device that captures the surface of the fundus and acquires a two-dimensional image.
  • the fundus camera is also used for photographing the fundus blood vessel.
  • the OCT unit 150 stores an optical system for acquiring an OCT image of the fundus.
  • the arithmetic and control unit 200 includes a computer that executes various arithmetic processes and control processes.
  • connection line 152 One end of a connection line 152 is attached to the OCT unit 150.
  • a connector 151 for connecting the connection line 152 to the retinal camera unit 1A is attached to the other end of the connection line 152.
  • An optical fiber 152a is conducted inside the connection line 152 (see FIG. 8).
  • the OCT unit 150 and the fundus camera unit 1A are optically connected via a connection line 152.
  • the arithmetic and control unit 200 is connected to each of the fundus camera unit 1A and the OCT unit 150 via a communication line that transmits an electrical signal.
  • the fundus camera unit 1A includes an optical system for forming a two-dimensional image representing the form of the fundus surface.
  • the two-dimensional image of the fundus surface includes a color image and a monochrome image obtained by photographing the fundus surface, and further a fluorescent image (fluorescein fluorescent image, indocyanine green fluorescent image, etc.) and the like.
  • the fundus camera unit 1A is provided with an illumination optical system 100 and a photographing optical system 120 as in the case of a conventional fundus camera.
  • the illumination optical system 100 irradiates the fundus oculi Ef with illumination light.
  • the imaging optical system 120 guides the fundus reflection light of the illumination light to the imaging devices 10 and 12.
  • the imaging optical system 120 guides the signal light from the OCT unit 150 to the fundus oculi Ef and guides the signal light passing through the fundus oculi Ef to the OCT unit 150.
  • the illumination optical system 100 includes an observation light source 101, a condenser lens 102, a photographing light source 103, a condenser lens 104, exciter filters 105 and 106, a ring translucent plate 107 (ring slit 107a), a mirror 108, as in a conventional fundus camera.
  • An LCD (Liquid Crystal Display) 109, an illumination stop 110, a relay lens 111, a perforated mirror 112, and an objective lens 113 are included.
  • the observation light source 101 outputs illumination light including a wavelength in the visible region in the range of about 400 nm to 700 nm, for example.
  • the imaging light source 103 outputs illumination light including a near-infrared wavelength in the range of about 700 nm to 800 nm, for example. This near-infrared light is set shorter than the wavelength of light used in the OCT unit 150 (described later).
  • the illumination light output from the observation light source 101 is a perforated mirror 112 via condenser lenses 102 and 104, (exciter filter 105 or 106) ring translucent plate 107, mirror 108, LCD 109, illumination diaphragm 110, and relay lens 111. To reach. Further, the illumination light is reflected by the perforated mirror 112 and enters the eye E through the objective lens 113 to illuminate the fundus oculi Ef. On the other hand, the illumination light output from the imaging light source 103 enters the eye E through the condenser lens 104 to the objective lens 113 and illuminates the fundus oculi Ef.
  • the photographing optical system 120 includes an objective lens 113, a perforated mirror 112 (hole 112a), a photographing aperture 121, barrier filters 122 and 123, a variable power lens 124, a relay lens 125, a photographing lens 126, a dichroic mirror 134, and a field lens. (Field lens) 128, half mirror 135, relay lens 131, dichroic mirror 136, photographing lens 133, imaging device 10, reflection mirror 137, photographing lens 138, imaging device 12, lens 139 and LCD 140 are configured.
  • the photographing optical system 120 has substantially the same configuration as a conventional fundus camera.
  • the dichroic mirror 134 reflects the fundus reflection light (having a wavelength included in the range of about 400 nm to 800 nm) of the illumination light from the illumination optical system 100.
  • the dichroic mirror 134 transmits the signal light LS (for example, having a wavelength included in the range of about 800 nm to 900 nm; see FIG. 8) from the OCT unit 150.
  • the dichroic mirror 136 transmits the fundus reflection light of the illumination light from the observation light source 101.
  • the dichroic mirror 136 reflects the fundus reflection light of the illumination light from the imaging light source 103.
  • the LCD 140 displays a fixation target (internal fixation target) for fixing the eye E to be examined.
  • a fixation target (internal fixation target) for fixing the eye E to be examined.
  • Light from the LCD 140 is collected by the lens 139, reflected by the half mirror 135, and reflected by the dichroic mirror 136 via the field lens 128. Further, this light is incident on the eye E through the photographing lens 126, the relay lens 125, the variable power lens 124, the aperture mirror 112 (the aperture 112a thereof), the objective lens 113, and the like. Thereby, the internal fixation target is projected onto the fundus oculi Ef.
  • the fixation direction of the eye E can be changed by changing the display position of the internal fixation target on the LCD 140.
  • As the fixation direction of the eye E for example, as with a conventional fundus camera, a fixation direction for acquiring an image centered on the macular portion of the fundus oculi Ef or an image centered on the optic disc is acquired. And the fixation direction for acquiring an image centered on the fundus center between the macula and the optic disc.
  • the imaging device 10 includes an imaging element 10a.
  • the imaging device 10 can particularly detect light having a wavelength in the near infrared region. That is, the imaging device 10 functions as an infrared television camera that detects near-infrared light.
  • the imaging device 10 detects near infrared light and outputs a video signal.
  • the imaging element 10a is an arbitrary imaging element (area sensor) such as a CCD (Charge Coupled Devices) or a CMOS (Complementary Metal Oxide Semiconductor).
  • the imaging device 12 includes an imaging element 12a.
  • the imaging device 12 can particularly detect light having a wavelength in the visible region. That is, the imaging device 12 functions as a television camera that detects visible light.
  • the imaging device 12 detects visible light and outputs a video signal.
  • the image sensor 12a is configured by an arbitrary image sensor (area sensor), similarly to the image sensor 10a.
  • the touch panel monitor 11 displays the fundus oculi image Ef ′ based on the video signals from the image sensors 10a and 12a.
  • the video signal is sent to the arithmetic and control unit 200.
  • the fundus camera unit 1A is provided with a scanning unit 141 and a lens 142.
  • the scanning unit 141 scans the irradiation position of the signal light LS output from the OCT unit 150 to the fundus oculi Ef.
  • the scanning unit 141 scans the signal light LS on the xy plane shown in FIG.
  • the scanning unit 141 is provided with, for example, a galvanometer mirror for scanning in the x direction and a galvanometer mirror for scanning in the y direction.
  • the OCT unit 150 includes an optical system similar to that of a conventional Fourier domain type OCT apparatus. That is, the OCT unit 150 divides low-coherence light into reference light and signal light, and generates interference light by causing the signal light passing through the fundus of the subject's eye to interfere with the reference light passing through the reference object ( An interferometer) and detection means for detecting the interference light. The detection result (detection signal) of the interference light is sent to the arithmetic and control unit 200.
  • the low coherence light source 160 is a broadband light source that outputs a broadband low coherence light L0.
  • a broadband light source for example, a super luminescent diode (SLD), a light emitting diode (LED), or the like can be used.
  • the low coherence light source 160 is an example of the “light source” of the present invention.
  • the low coherence light L0 includes, for example, light having a wavelength in the near infrared region, and has a temporal coherence length of about several tens of micrometers.
  • the low coherence light L0 includes a wavelength longer than the illumination light (wavelength of about 400 nm to 800 nm) of the fundus camera unit 1A, for example, a wavelength in the range of about 800 nm to 900 nm.
  • the low coherence light L0 output from the low coherence light source 160 is guided to the optical coupler 162 through the optical fiber 161.
  • the optical fiber 161 is configured by, for example, a single mode fiber, a PM fiber (Polarization maintaining fiber), or the like.
  • the optical coupler 162 splits the low coherence light L0 into the reference light LR and the signal light LS.
  • the optical coupler 162 has both functions of a splitting unit (splitter) that splits light and a superimposing unit (coupler) that superimposes light.
  • a splitting unit splits light
  • a superimposing unit superimposes light.
  • it is conventionally referred to as an “optical coupler”. Called.
  • a single member serves as both the dividing means and the superimposing means, but other types of interferometers are applied.
  • the dividing means and the superimposing means are each constituted by individual members.
  • the reference light LR generated by the optical coupler 162 is guided by an optical fiber 163 made of a single mode fiber or the like and emitted from the end face of the fiber.
  • the optical fiber 163 is an example of the “second optical fiber” in the present invention.
  • a polarization controller 400 is attached to the optical fiber 163.
  • the polarization controller 400 is an arbitrary polarization controller according to the present invention.
  • the polarization controller 400 changes the polarization state of the reference light LR that passes through the optical fiber 163.
  • the adjustment operation of the polarization state of the reference light LR is performed, for example, before shipment or during maintenance.
  • the reference light LR emitted from the optical fiber 163 via the polarization controller 400 is converted into a parallel light beam by the collimator lens 171, passes through the glass block 172, the polarizing plate ( ⁇ / 4 plate) 175, and the density filter 173, for reference. Reflected by the mirror 174.
  • the reference mirror 174 is an example of the “reference object” in the present invention.
  • the reference light LR reflected by the reference mirror 174 passes through the density filter 173, the polarizing plate 175, and the glass block 172 again, is condensed on the fiber end surface of the optical fiber 163 by the collimator lens 171, and passes through the optical fiber 163 to the optical coupler 162. Led to. Also at this time, the polarization state of the reference light LR passing through the optical fiber 163 is changed by the polarization controller 400.
  • the optical path (reference optical path) through which the reference light LR is guided is an example of the “second light guide path” in the present invention.
  • the glass block 172 and the density filter 173 act as delay means for matching the optical path lengths (optical distances) of the reference light LR and the signal light LS. Further, the glass block 172 and the density filter 173 function as dispersion compensation means for matching the dispersion characteristics of the reference light LR and the signal light LS.
  • the density filter 173 acts as a neutral density filter that reduces the amount of the reference light LR.
  • the density filter 173 is configured by, for example, a rotary ND (Neutral Density) filter.
  • the density filter 173 is rotationally driven by a drive mechanism (not shown) to change the amount of the reference light LR that contributes to the generation of the interference light LC.
  • the polarizing plate 175 is used to correct the optical path length of the reference light LR and is used to improve the image quality of the OCT image.
  • the polarizing plate 175 is disposed so as to be inclined by, for example, about 3 degrees with respect to the direction orthogonal to the optical path direction of the reference light LR.
  • the polarizing plate 175 is rotationally driven by a predetermined driving mechanism, thereby adjusting the image quality of the interference image.
  • the polarizing plate 175 is rotated under the control of the arithmetic and control unit 200, for example. Further, a polarizing knob 175 may be rotated by providing a manual knob or the like.
  • the reference mirror 174 is moved in the traveling direction of the reference light LR (the direction of the double-sided arrow shown in FIG. 8) by a driving mechanism (not shown). Thereby, the optical path length of the reference light LR can be ensured according to the axial length of the eye E and the working distance (distance between the objective lens 113 and the eye E).
  • the signal light LS generated by the optical coupler 162 is guided to the end of the connection line 152 by an optical fiber 164 made of a single mode fiber or the like.
  • the optical fiber 164 and the optical fiber 152a may be formed from a single optical fiber, or may be formed integrally by joining the respective end faces.
  • the optical fiber 164 is an example of the “first optical fiber” in the present invention.
  • a polarization controller 300 is attached to the optical fiber 164.
  • the polarization controller 300 is an arbitrary polarization controller according to the present invention.
  • the polarization controller 300 changes the polarization state of the signal light LS that passes through the optical fiber 164.
  • the adjustment operation of the polarization state of the signal light LS is performed, for example, before shipment or during maintenance.
  • the polarization state is adjusted, for example, by measuring the fundus of the model eye and including the peak value of the detection signal obtained by the CCD 184 within a predetermined range. Also, the polarization state may be adjusted so that the tomographic image of the fundus of the model eye has good image quality.
  • the signal light LS having passed through the optical fiber 164 is guided by the optical fiber 152a and guided to the fundus camera unit 1A. Further, the signal light LS passes through the lens 142, the scanning unit 141, the dichroic mirror 134, the photographing lens 126, the relay lens 125, the variable magnification lens 124, the photographing aperture 121, the hole 112 a of the aperture mirror 112, and the objective lens 113.
  • the eye E is irradiated to the fundus Ef.
  • the barrier filters 122 and 123 are retracted from the optical path in advance.
  • the signal light LS incident on the eye E is imaged and reflected on the fundus oculi Ef.
  • the signal light LS is not only reflected by the surface of the fundus oculi Ef, but also reaches the deep region of the fundus oculi Ef and is scattered at the refractive index boundary. Therefore, the signal light LS passing through the fundus oculi Ef includes information reflecting the surface form of the fundus oculi Ef and information reflecting the state of backscattering at the refractive index boundary of the deep tissue of the fundus oculi Ef. This light may be simply referred to as “fundus reflected light of the signal light LS”.
  • the fundus reflection light of the signal light LS is guided in the reverse direction along the same path as the signal light LS toward the eye E to be collected on the end surface of the optical fiber 152a. Further, the fundus reflection light of the signal light LS enters the OCT unit 150 through the optical fiber 152 a and returns to the optical coupler 162 through the optical fiber 164. Also at this time, the polarization state of the signal light LS passing through the optical fiber 164 is changed by the polarization controller 300.
  • the optical path (signal optical path) through which the signal light LS is guided is an example of the “first light guide path” in the present invention.
  • the optical coupler 162 superimposes the signal light LS returned via the fundus oculi Ef and the reference light LR reflected by the reference mirror 174 to generate interference light LC.
  • the interference light LC is guided to the spectrometer 180 through an optical fiber 165 made of a single mode fiber or the like.
  • a spectrometer (spectrometer) 180 detects a spectral component of the interference light LC.
  • the spectrometer 180 includes a collimator lens 181, a diffraction grating 182, an imaging lens 183, and a CCD 184.
  • the diffraction grating 182 may be transmissive or reflective. Further, in place of the CCD 184, other light detection elements (line sensor or area sensor) such as CMOS may be used.
  • the interference light LC incident on the spectrometer 180 is converted into a parallel light beam by the collimator lens 181 and split (spectral decomposition) by the diffraction grating 182.
  • the split interference light LC is imaged on the imaging surface of the CCD 184 by the imaging lens 183.
  • the CCD 184 detects each spectral component of the separated interference light LC and converts it into electric charges.
  • the CCD 184 accumulates this electric charge and generates a detection signal. Further, the CCD 184 sends this detection signal to the arithmetic and control unit 200.
  • the spectrometer 180 (in particular, the CCD 184) is an example of the “detection means” of the present invention.
  • a Michelson interferometer is used.
  • any type of interferometer such as a Mach-Zehnder type can be appropriately used.
  • the configuration of the arithmetic and control unit 200 will be described.
  • the arithmetic and control unit 200 analyzes the detection signal input from the CCD 184 and forms an OCT image of the fundus oculi Ef.
  • the arithmetic processing for this is the same as that of a conventional Fourier domain type OCT apparatus.
  • the arithmetic and control unit 200 controls each part of the fundus camera unit 1A and the OCT unit 150.
  • the arithmetic control device 200 controls the output of illumination light by the observation light source 101 and the imaging light source 103, and controls the insertion / retraction operation of the exciter filters 105 and 106 and the barrier filters 122 and 123 on the optical path. Then, operation control of a display device such as the LCD 140, movement control of the illumination aperture 110 (control of the aperture value), control of the aperture value of the photographing aperture 121, movement control of the variable power lens 124 (control of magnification), and the like are performed. Further, the arithmetic and control unit 200 controls the scanning unit 141 to scan the signal light LS.
  • the arithmetic and control unit 200 controls the output of the low coherence light L0 by the low coherence light source 160, the movement control of the reference mirror 174, and the rotation operation of the density filter 173 (the amount of decrease in the light amount of the reference light LR). Control), charge accumulation time by CCD 184, charge accumulation timing, signal transmission timing, and the like. Further, the arithmetic and control unit 200 may perform rotation control of the polarizing plate 175.
  • the arithmetic and control unit 200 includes a microprocessor, a RAM, a ROM, a hard disk drive, a keyboard, a mouse, a display, a communication interface, and the like, like a conventional computer.
  • the hard disk drive stores a computer program for controlling the fundus oculi observation device 1.
  • the arithmetic and control unit 200 may include a dedicated circuit board that forms an OCT image based on a detection signal from the CCD 184.
  • Control system The configuration of the control system of the fundus oculi observation device 1 will be described with reference to FIG.
  • the control system of the fundus oculi observation device 1 is configured around the control unit 210 of the arithmetic and control unit 200.
  • the control unit 210 includes, for example, the aforementioned microprocessor, RAM, ROM, hard disk drive, communication interface, and the like.
  • the control unit 210 is provided with a main control unit 211 and a storage unit 212.
  • the main control unit 211 performs the various controls described above.
  • the storage unit 212 stores various data. Examples of data stored in the storage unit 212 include image data of an OCT image, image data of a fundus oculi image Ef ′, and eye information to be examined.
  • the eye information includes information about the subject such as patient ID and name, and information about the eye such as left / right eye identification information.
  • the main control unit 211 performs a process of writing data to the storage unit 212 and a process of reading data from the storage unit 212.
  • the image forming unit 220 receives image signals from the imaging devices 10 and 12 and forms image data of the fundus oculi image Ef ′.
  • the image forming unit 220 forms tomographic image data of the fundus oculi Ef based on the detection signal from the CCD 184.
  • This process includes processes such as noise removal (noise reduction), filter processing, FFT (Fast Fourier Transform), and the like, as in the conventional Fourier domain type OCT technology.
  • the image forming unit 220 is an example of the “image forming unit” in the present invention.
  • the image forming unit 220 includes, for example, the above-described circuit board and communication interface.
  • image data and “image” presented based on the “image data” may be identified with each other.
  • the image processing unit 230 performs various types of image processing and analysis processing on the image formed by the image forming unit 220. For example, the image processing unit 230 executes various correction processes such as image brightness correction and dispersion correction.
  • the image processing unit 230 forms image data of a three-dimensional image of the fundus oculi Ef by executing interpolation processing for interpolating pixels between tomographic images formed by the image forming unit 220.
  • the image data of a three-dimensional image means image data in which pixel positions are defined by a three-dimensional coordinate system.
  • image data of a three-dimensional image there is image data composed of voxels arranged three-dimensionally. This image data is called volume data or voxel data.
  • the image processing unit 230 When displaying an image based on the volume data, the image processing unit 230 performs rendering processing (volume rendering, MIP (Maximum Intensity Projection), etc.) on the volume data, and views the image from a specific line-of-sight direction.
  • rendering processing volume rendering, MIP (Maximum Intensity Projection), etc.
  • MIP Maximum Intensity Projection
  • stack data of a plurality of tomographic images is image data of a three-dimensional image.
  • the stack data is image data obtained by three-dimensionally arranging a plurality of tomographic images obtained along a plurality of scanning lines based on the positional relationship of the scanning lines. That is, the stack data is image data obtained by expressing a plurality of tomographic images originally defined by individual two-dimensional coordinate systems using one three-dimensional coordinate system (that is, embedding in one three-dimensional space). is there.
  • the image processing unit 230 includes, for example, the above-described microprocessor, RAM, ROM, hard disk drive, circuit board, and the like.
  • the display unit 240 includes a display.
  • the operation unit 250 includes an input device such as a keyboard and a mouse and an operation device. Further, the operation unit 250 may include various buttons and keys provided on the housing of the fundus oculi observation device 1 or outside.
  • the display unit 240 and the operation unit 250 need not be configured as individual devices.
  • a device in which the display unit 240 and the operation unit 250 are integrated, such as a touch panel LCD, can be used.
  • Examples of the scanning mode of the signal light LS by the fundus oculi observation device 1 include a horizontal scan, a vertical scan, a cross scan, a radiation scan, a circle scan, a concentric scan, and a spiral scan. These scanning modes are selectively used as appropriate in consideration of the observation site of the fundus, the analysis target (such as retinal thickness), the time required for scanning, the precision of scanning, and the like.
  • the horizontal scan is to scan the signal light LS in the horizontal direction (x direction).
  • the horizontal scan also includes an aspect in which the signal light LS is scanned along a plurality of horizontal scanning lines arranged in the vertical direction (y direction). In this aspect, it is possible to arbitrarily set the scanning line interval. By sufficiently narrowing the interval between the scanning lines, the above-described three-dimensional image can be formed (three-dimensional scan). The same applies to the vertical scan.
  • the cross scan scans the signal light LS along a cross-shaped trajectory composed of two linear trajectories (straight trajectories) orthogonal to each other.
  • the signal light LS is scanned along a radial trajectory composed of a plurality of linear trajectories arranged at a predetermined angle.
  • the cross scan is an example of a radiation scan.
  • the circle scan scans the signal light LS along a circular locus.
  • the signal light LS is scanned along a plurality of circular trajectories arranged concentrically around a predetermined center position.
  • a circle scan is considered a special case of a concentric scan.
  • the spiral scan scans the signal light LS along a spiral trajectory.
  • the scanning unit 141 can scan the signal light LS independently in the x direction and the y direction, respectively, by the configuration as described above. Therefore, the scanning unit 141 can scan the signal light LS along an arbitrary locus on the xy plane. . Thereby, various scanning modes as described above can be realized.
  • a tomographic image in the depth direction (x direction) along the scanning line (scanning locus) can be formed.
  • the above-described three-dimensional image can be formed.
  • the fundus oculi observation device 1 includes a polarization controller 300 installed in the signal optical path and a polarization controller 400 installed in the reference optical path.
  • Each polarization controller 300, 400 is a polarization controller according to the present invention. That is, the polarization controllers 300 and 400 are provided at the radial positions of the optical fibers 164 and 163, respectively, and a pair of abutting members each having a flat portion that abuts against the side surfaces of the optical fibers 164 and 163; A member disposed between the pair of flat portions and having a thickness substantially equal to the diameter of the optical fibers 164 and 163 and a movement for relatively moving the pair of contact members so as to change the distance between the pair of flat portions.
  • polarization controllers 300 and 400 it is possible to uniformly apply pressure from a direction orthogonal to the axial direction of the optical fibers 164 and 163, and to pass through the optical fibers 164 and 163. Time-dependent fluctuations in the polarization state of the signal light LS and the reference light LR can be suppressed.
  • the polarization state of the signal light LS and the reference light LR is set to a suitable state, it is possible to obtain an OCT image with good image quality over a longer period of time than before. Further, at the time of detecting the interference light LC, a suitable interference light LC can be stably obtained, and a suitable OCT image can be stably formed. That is, it is possible to obtain an OCT image without blurring (or little).
  • the reference light LR of the fundus oculi observation device 1 is provided with a polarizing plate 175, and the polarizing state of the reference light LR can be appropriately adjusted by the polarizing plate 175.
  • adjustment by the polarizing plate 175 is not in time, adjustment by the polarization controllers 300 and 400 may be performed.
  • a polarization controller is installed in each of the signal optical path and the reference optical path.
  • a polarization controller is installed in at least one of the signal optical path and the reference optical path. Is enough. However, by providing polarization controllers in both the signal optical path and the reference optical path, it is possible to match the polarization state of the signal light and the polarization state of the reference light with higher accuracy (the closer the both polarization states are, A detection signal reflecting the state of the fundus oculi Ef with higher accuracy is obtained).
  • the fundus oculi observation device 1 is equipped with an interferometer according to the present invention. That is, the interferometer is provided for the first light guide including the first optical fiber, the second light guide including the second optical fiber, the first optical fiber, and / or the second optical fiber.
  • a polarization controller that changes the polarization state of the light passing through the optical fiber by applying pressure, and superimposing the light guided by the first light guide and the light guided by the second light guide
  • the polarization controller includes a pair of abutting members that are provided at opposed positions in the radial direction of the optical fiber and each have a flat portion that abuts against the side surface of the optical fiber.
  • pressure can be applied uniformly from the direction orthogonal to the axial direction of the optical fibers 164 and 163, and the signal light LS and the reference light LR passing through the optical fibers 164 and 163 can be applied.
  • a polarization controller is provided that can suppress fluctuations in the polarization state over time, once the polarization state is set to a suitable state, it is possible to obtain suitable interference light over a longer period of time than before. is there.
  • suitable interference light can be stably obtained when generating interference light. That is, it is possible to obtain interference light without blurring (or little).
  • It can be configured to automatically adjust the polarization state of signal light and reference light by automatically controlling the polarization controller.
  • a mechanism (pulse motor or the like) that rotationally drives the adjusting screw of the polarization controller and a mechanism (pulse motor or the like) that rotationally drives the rotating unit or the like are provided, and these mechanisms are controlled by the arithmetic and control unit 200.
  • This control can be executed, for example, by determining the positions of the adjusting screw and the rotating unit while analyzing the detection signal and the interference image.
  • the Fourier domain type optical image measurement device has been described. However, even if a similar polarization controller is mounted on a swept source type or full field type, or even a time domain type optical image measurement device, Similar actions and effects can be obtained.
  • the interferometer according to the present invention can be mounted on any device other than the optical image measurement device. That is, the polarization controller according to the present invention can be applied to an arbitrary apparatus on which an interferometer is mounted.
  • the position of the reference mirror 174 is changed to change the optical path length difference between the optical path of the signal light LS and the optical path of the reference light LR.
  • the method of changing the optical path length difference is limited to this. Is not to be done.
  • the optical path length difference can be changed by moving the fundus camera unit 1A or the OCT unit 150 with respect to the eye E to change the optical path length of the signal light LS. It is also effective to change the optical path length difference by moving the measurement object in the depth direction (z direction), particularly when the measurement object is not a living body part.

Landscapes

  • Health & Medical Sciences (AREA)
  • General Health & Medical Sciences (AREA)
  • Nuclear Medicine, Radiotherapy & Molecular Imaging (AREA)
  • Radiology & Medical Imaging (AREA)
  • Physics & Mathematics (AREA)
  • General Physics & Mathematics (AREA)
  • Investigating Or Analysing Materials By Optical Means (AREA)
  • Length Measuring Devices By Optical Means (AREA)
  • Mechanical Light Control Or Optical Switches (AREA)
  • Eye Examination Apparatus (AREA)
  • Instruments For Measurement Of Length By Optical Means (AREA)
PCT/JP2009/006712 2009-02-23 2009-12-09 偏光コントローラ、干渉計及び光画像計測装置 Ceased WO2010095202A1 (ja)

Applications Claiming Priority (2)

Application Number Priority Date Filing Date Title
JP2009-039370 2009-02-23
JP2009039370A JP2010197474A (ja) 2009-02-23 2009-02-23 偏光コントローラ、干渉計及び光画像計測装置

Publications (1)

Publication Number Publication Date
WO2010095202A1 true WO2010095202A1 (ja) 2010-08-26

Family

ID=42633505

Family Applications (1)

Application Number Title Priority Date Filing Date
PCT/JP2009/006712 Ceased WO2010095202A1 (ja) 2009-02-23 2009-12-09 偏光コントローラ、干渉計及び光画像計測装置

Country Status (2)

Country Link
JP (1) JP2010197474A (enExample)
WO (1) WO2010095202A1 (enExample)

Cited By (1)

* Cited by examiner, † Cited by third party
Publication number Priority date Publication date Assignee Title
CN107065173A (zh) * 2017-05-26 2017-08-18 西安科技大学 一种超小型偏振控制器

Families Citing this family (6)

* Cited by examiner, † Cited by third party
Publication number Priority date Publication date Assignee Title
JP5220155B2 (ja) * 2011-03-31 2013-06-26 キヤノン株式会社 眼科装置および眼科装置の制御方法
JP5220156B2 (ja) * 2011-03-31 2013-06-26 キヤノン株式会社 医療装置および医療システム
JP2013148509A (ja) * 2012-01-20 2013-08-01 Canon Inc 画像処理装置及び画像処理方法
JP5919175B2 (ja) * 2012-11-29 2016-05-18 株式会社トプコン 光画像計測装置
CN203658691U (zh) * 2013-11-13 2014-06-18 江苏昂德光电科技有限公司 一种光纤旋转挤压型偏振控制器
KR102491442B1 (ko) * 2016-12-13 2023-01-20 매직 립, 인코포레이티드 편광된 광을 전달하고 포도당 레벨들을 결정하기 위한 증강 및 가상 현실 안경류, 시스템들, 및 방법들

Citations (4)

* Cited by examiner, † Cited by third party
Publication number Priority date Publication date Assignee Title
US5448657A (en) * 1993-04-22 1995-09-05 Agency For Defense Development Polarimetric fiber laser sensors
US5903684A (en) * 1997-08-12 1999-05-11 The United States Of America As Represented By The Secretary Of The Navy Independent control of one of normally interdependent light transmission characteristics of optical fiber
JP2001264246A (ja) * 2000-03-21 2001-09-26 Olympus Optical Co Ltd 光イメージング装置
JP2003156639A (ja) * 2001-11-21 2003-05-30 Sumitomo Electric Ind Ltd 光部品、光部品特性調整方法および光通信システム

Family Cites Families (1)

* Cited by examiner, † Cited by third party
Publication number Priority date Publication date Assignee Title
US5561726A (en) * 1995-09-05 1996-10-01 Yao; X. Steve Apparatus and method for connecting polarization sensitive devices

Patent Citations (4)

* Cited by examiner, † Cited by third party
Publication number Priority date Publication date Assignee Title
US5448657A (en) * 1993-04-22 1995-09-05 Agency For Defense Development Polarimetric fiber laser sensors
US5903684A (en) * 1997-08-12 1999-05-11 The United States Of America As Represented By The Secretary Of The Navy Independent control of one of normally interdependent light transmission characteristics of optical fiber
JP2001264246A (ja) * 2000-03-21 2001-09-26 Olympus Optical Co Ltd 光イメージング装置
JP2003156639A (ja) * 2001-11-21 2003-05-30 Sumitomo Electric Ind Ltd 光部品、光部品特性調整方法および光通信システム

Cited By (2)

* Cited by examiner, † Cited by third party
Publication number Priority date Publication date Assignee Title
CN107065173A (zh) * 2017-05-26 2017-08-18 西安科技大学 一种超小型偏振控制器
CN107065173B (zh) * 2017-05-26 2020-07-28 西安科技大学 一种超小型偏振控制器

Also Published As

Publication number Publication date
JP2010197474A (ja) 2010-09-09

Similar Documents

Publication Publication Date Title
CN102985785B (zh) 光学断层图像摄像设备
US8801180B2 (en) Ophthalmic tomographic imager with corneo-retinal image analysis
JP4971864B2 (ja) 光画像計測装置及びそれを制御するプログラム
JP4896794B2 (ja) 光画像計測装置、それを制御するプログラム及び光画像計測方法
JP5404078B2 (ja) 光画像計測装置
RU2533976C2 (ru) Устройство формирования оптических томографических изображений и способ формирования изображений для указанного устройства
JP5491064B2 (ja) 光画像計測装置
KR101570666B1 (ko) 화상처리장치 및 화상처리방법
JP5415812B2 (ja) 光画像計測装置及びその制御方法
WO2010095202A1 (ja) 偏光コントローラ、干渉計及び光画像計測装置
JP2013153798A (ja) 光断層撮像装置および制御方法
JP4994911B2 (ja) 光画像計測装置
WO2011052131A1 (ja) 光画像計測装置
US9068812B2 (en) Imaging apparatus, imaging method, and storage medium
US9072457B2 (en) Optical image measurement apparatus and optical attenuator
JP5144579B2 (ja) 眼科観察装置
JPWO2013085042A1 (ja) 眼底観察装置
JP5919175B2 (ja) 光画像計測装置
JP2014039870A (ja) 光画像計測装置及び撮影装置
US9241625B2 (en) Image processing apparatus and image processing method
JP5905711B2 (ja) 光画像計測装置
JP5766225B2 (ja) 光断層撮像装置および制御方法
JP2013195305A (ja) 光画像計測装置及び偏波コントローラ
JP2017104319A (ja) 眼科装置

Legal Events

Date Code Title Description
121 Ep: the epo has been informed by wipo that ep was designated in this application

Ref document number: 09840309

Country of ref document: EP

Kind code of ref document: A1

NENP Non-entry into the national phase

Ref country code: DE

122 Ep: pct application non-entry in european phase

Ref document number: 09840309

Country of ref document: EP

Kind code of ref document: A1