WO2009133768A1 - 端子付回路ケース - Google Patents

端子付回路ケース Download PDF

Info

Publication number
WO2009133768A1
WO2009133768A1 PCT/JP2009/057462 JP2009057462W WO2009133768A1 WO 2009133768 A1 WO2009133768 A1 WO 2009133768A1 JP 2009057462 W JP2009057462 W JP 2009057462W WO 2009133768 A1 WO2009133768 A1 WO 2009133768A1
Authority
WO
WIPO (PCT)
Prior art keywords
terminal
mounting member
terminal mounting
circuit case
mounting hole
Prior art date
Legal status (The legal status is an assumption and is not a legal conclusion. Google has not performed a legal analysis and makes no representation as to the accuracy of the status listed.)
Ceased
Application number
PCT/JP2009/057462
Other languages
English (en)
French (fr)
Japanese (ja)
Inventor
安保 次雄
島沢 勝次
田中 義和
Current Assignee (The listed assignees may be inaccurate. Google has not performed a legal analysis and makes no representation or warranty as to the accuracy of the list.)
Mitsubishi Cable Industries Ltd
Original Assignee
Mitsubishi Cable Industries Ltd
Priority date (The priority date is an assumption and is not a legal conclusion. Google has not performed a legal analysis and makes no representation as to the accuracy of the date listed.)
Filing date
Publication date
Application filed by Mitsubishi Cable Industries Ltd filed Critical Mitsubishi Cable Industries Ltd
Priority to CN2009801151152A priority Critical patent/CN102017347B/zh
Publication of WO2009133768A1 publication Critical patent/WO2009133768A1/ja
Anticipated expiration legal-status Critical
Ceased legal-status Critical Current

Links

Images

Classifications

    • HELECTRICITY
    • H01ELECTRIC ELEMENTS
    • H01RELECTRICALLY-CONDUCTIVE CONNECTIONS; STRUCTURAL ASSOCIATIONS OF A PLURALITY OF MUTUALLY-INSULATED ELECTRICAL CONNECTING ELEMENTS; COUPLING DEVICES; CURRENT COLLECTORS
    • H01R13/00Details of coupling devices of the kinds covered by groups H01R12/70 or H01R24/00 - H01R33/00
    • H01R13/73Means for mounting coupling parts to apparatus or structures, e.g. to a wall
    • HELECTRICITY
    • H01ELECTRIC ELEMENTS
    • H01RELECTRICALLY-CONDUCTIVE CONNECTIONS; STRUCTURAL ASSOCIATIONS OF A PLURALITY OF MUTUALLY-INSULATED ELECTRICAL CONNECTING ELEMENTS; COUPLING DEVICES; CURRENT COLLECTORS
    • H01R13/00Details of coupling devices of the kinds covered by groups H01R12/70 or H01R24/00 - H01R33/00
    • H01R13/40Securing contact members in or to a base or case; Insulating of contact members

Definitions

  • the present invention relates to a terminal-equipped circuit case used in an electric circuit such as a vehicle.
  • Patent Document 1 discloses an electronic unit that collects wiring of various electronic devices and connects them to a counterpart connector.
  • this electronic unit a large number of pin terminals whose one ends are connected to a built-in electronic circuit protrude toward the outside of the case.
  • Patent Document 1 a complicated mechanism is employed to securely fix a large number of pin terminals to the case, resulting in an increase in cost.
  • An object of the present invention is to provide a circuit case with a terminal that solves the above-described problems and can reliably and easily fix a large number of pin terminals to the case.
  • a circuit case with a terminal accommodates a circuit board in a casing, and projects front end portions of a large number of pin terminals connected to the circuit board outward from the casing.
  • the pin terminal is fixed in parallel to the terminal mounting member, and the terminal mounting member is fixed to the mounting hole provided in the housing. It is inserted forward in parallel with the projecting direction, and after the insertion, it is laterally moved in a direction orthogonal to the insertion direction to lock the terminal mounting member with respect to the mounting hole.
  • the terminal mounting member into which the pin terminal is inserted can be locked by the lateral movement with respect to the mounting hole of the case, and can be fixed securely.
  • the pin terminal attached to the terminal mounting member is securely fixed to the housing, and even if an untimely twisting force or the like from the receiving terminal of the mating connector is applied, the pin terminal The posture will not become unstable.
  • the terminal mounting member After fixing the terminal mounting member, it can be confirmed that the terminal mounting member is correctly fixed at a predetermined position by visually confirming that the lock member is mounted at a proper position.
  • FIG. 1 is a schematic perspective view seen from the front with the lid of the case removed
  • FIG. 2 is a perspective view seen from the rear.
  • the pin terminal 2 is fixed to a terminal mounting member 3 made of synthetic resin, and the terminal mounting member 3 is mounted in a mounting hole of the housing 1. Further, the rear end portion of the pin terminal 2 is aligned via the terminal alignment member 4 in the housing 1.
  • the pin terminal 2 shown in FIG. 3 is formed into a pin shape by folding a single metal plate as shown in FIG. 4, and the front end portion 2a and the rear end portion 2b have a conical shape and are cut into an intermediate portion.
  • fixed part 2c which consists of is provided.
  • the pin terminals 2 have different lengths depending on the position where they are fixed to the housing 1.
  • a rod-shaped wire may be cut to a predetermined length, and thereafter the end shape or the middle portion may be provided as described above.
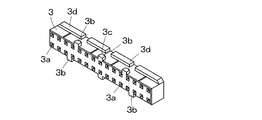
  • FIG. 5 is a perspective view seen from the front of the terminal mounting member 3
  • FIG. 6 is a perspective view seen from the rear.
  • the terminal mounting member 3 made of a rectangular parallelepiped is provided with a large number of terminal insertion holes 3a in two stages and in parallel.
  • the number of stages may be one or a plurality of stages, but it is preferable that the number of stages is about two in consideration of bending all terminals equally in one step.
  • a plurality of protrusions 3b are intermittently formed in parallel on the upper and lower portions of the front portion of the terminal mounting member 3, and a claw portion 3c is provided on a part of the protrusion 3b.
  • the part is provided with a stopper 3d which is a wall-like front stop.
  • the pin terminal 2 is inserted into the terminal insertion hole 3a of the terminal mounting member 3, the fixing portion 2c is fixed in the terminal insertion hole 3a, and the front end portion 2a and the rear end portion 2b are fixed to each other. Align to position. Thereafter, the rear end portion 2b of the pin terminal 2 is bent in the upper right direction.
  • the pin terminal 2 may be inserted into the terminal mounting member 3 after being bent. Or you may shape
  • a mounting hole 5 that is often longer than the length is provided.
  • the upper and lower surfaces of these mounting holes 5 have a gap for allowing the protruding portion 3b of the terminal mounting member 3 to pass therethrough, and a plurality of locking portions 5a for locking the protruding portion 3b are provided intermittently. It has been.
  • FIG. 8 shows an explanatory view when the corresponding terminal mounting member 3 is inserted into the left mounting hole 5.
  • an arc portion 5b bulging forward to engage with the claw portion 3c of the protruding portion 3b is provided. Is provided.
  • the gap between the locking portions 5a of the mounting hole 5 is changed to the protrusion 3b of the terminal mounting member 3 as shown in FIG.
  • the stopper 3d is inserted until the stopper 3d contacts the inlet portion of the mounting hole 5.
  • the claw portion 3c of the projection portion 3b is engaged by getting over the arc portion 5b of the locking portion 5a as shown in FIG. 9B.
  • the protrusion 3b and the locking portion 5a are provided with engaging means for engaging with each other, so that more reliable attachment is possible, and the terminal attachment member 3 moves in the X and Y directions. Conversely, it can be regulated not to return.
  • the engagement means may be at least one with respect to the attachment hole 5 at one place, but by providing the engagement means at a plurality of places, the return movement of the terminal attachment member 3 in the X and Y directions can be suppressed.
  • the arc portion 5b of the locking portion 5a is not indispensable, and by attaching a lock member described later, the terminal attachment member 3 is restricted from returning in the Y direction after assembly, and may be omitted. .
  • the left and right terminal mounting members 3 are laterally moved in opposite directions so that the distance between them is widened, so that a space is created on the center side in the left and right mounting holes 5. Therefore, the lock member 6c shown in FIG. 10 (c) for simultaneously inserting two spaces generated in the left and right mounting holes 5, and further the lock member 6d shown in (d) for simultaneously inserting into four spaces. Using this makes it possible to shorten the installation work.
  • FIG. 11 is a perspective view of a state in which the terminal mounting member 3 to which the pin terminal 2 is fixed is attached to the housing 1.
  • the rear end 2b of the pin terminal 2 bent upward is fixed by a terminal alignment member 4 having a large number of alignment holes 4a for each pin terminal 2 shown in FIG.
  • the rear end 2b of the pin terminal 2 bent upward is inserted upward with respect to the terminal alignment member 4 arranged horizontally as shown in FIG. 1 and FIG.
  • the pin terminal 2 attached to the upper end of the rear end 2b is also aligned at a predetermined position.
  • a lock member 6e for restricting the movement of the terminal mounting member 3 after insertion is integrally formed on a part of the terminal alignment member 4. As shown in FIG. 1 and FIG. 2, separate locking members 6 as shown in FIG. 10 are used by fitting the locking members 6e into the spaces created by the moved left and right terminal mounting members 3, respectively. The terminal mounting member 3 fixed to the mounting hole 5 can be locked so that the lateral movement of each does not return.
  • the lock members 6 a to 6 d are brought into contact with the rear end portions of the lock members 6 a to 6 d described above fixed to the mounting holes 5. Can be fixed.
  • the terminal alignment member 4 is fixed by a holding portion 1 a of the housing 1 while inserting an end portion and a central portion thereof into the housing 1.
  • the upper ends of the rear end portions 2b of the pin terminals 2 aligned by the terminal alignment member 4 are connected to the circuit pattern of the circuit board accommodated in the housing 1 by soldering or the like.
  • the front end portions 2a of the pin terminals 2 of the upper and lower terminal mounting members 3 are collectively projected outward from a predetermined position of the housing 1 and can be connected in correspondence with the receiving terminals of the mating connector. Outside the housing 1, the front end 2 a of the pin terminal 2 is protected, and the cylindrical guide portion 7 that serves as a guide for the mating connector, and the plate body portion 8 inside thereof are the right and left terminal mounting members. It is provided for every three.
  • the pin terminal 2 attached to the terminal attachment member 3 is securely fixed to the housing 1, and even if an untimely twisting force or the like is applied from the receiving terminal of the mating connector.
  • the posture of the pin terminal 2 does not become unstable. Further, by visually recognizing that the lock member 6 is mounted at a normal position after the terminal mounting member 3 is fixed, it can be confirmed that the terminal mounting member 3 is correctly fixed at a predetermined position.
  • a plurality of mounting holes 5 are provided, but a single mounting hole 5 may be provided, and the terminal alignment member 4 is not indispensable.

Landscapes

  • Details Of Connecting Devices For Male And Female Coupling (AREA)
  • Connector Housings Or Holding Contact Members (AREA)
  • Coupling Device And Connection With Printed Circuit (AREA)
  • Connection Or Junction Boxes (AREA)
PCT/JP2009/057462 2008-04-28 2009-04-13 端子付回路ケース Ceased WO2009133768A1 (ja)

Priority Applications (1)

Application Number Priority Date Filing Date Title
CN2009801151152A CN102017347B (zh) 2008-04-28 2009-04-13 带端子电路箱

Applications Claiming Priority (2)

Application Number Priority Date Filing Date Title
JP2008-116642 2008-04-28
JP2008116642A JP2009268291A (ja) 2008-04-28 2008-04-28 端子付回路ケース

Publications (1)

Publication Number Publication Date
WO2009133768A1 true WO2009133768A1 (ja) 2009-11-05

Family

ID=41254987

Family Applications (1)

Application Number Title Priority Date Filing Date
PCT/JP2009/057462 Ceased WO2009133768A1 (ja) 2008-04-28 2009-04-13 端子付回路ケース

Country Status (4)

Country Link
JP (1) JP2009268291A (enExample)
KR (1) KR20110009654A (enExample)
CN (1) CN102017347B (enExample)
WO (1) WO2009133768A1 (enExample)

Cited By (1)

* Cited by examiner, † Cited by third party
Publication number Priority date Publication date Assignee Title
WO2019008062A1 (en) * 2017-07-05 2019-01-10 Tyco Electronics (Shanghai) Co. Ltd. CONNECTOR AND CONNECTOR ASSEMBLY

Families Citing this family (5)

* Cited by examiner, † Cited by third party
Publication number Priority date Publication date Assignee Title
JP5543793B2 (ja) * 2010-01-28 2014-07-09 矢崎総業株式会社 電気接続箱
CN103078219A (zh) * 2011-10-25 2013-05-01 鸿富锦精密工业(武汉)有限公司 连接器固定装置
JP6738245B2 (ja) * 2016-09-02 2020-08-12 タイコエレクトロニクスジャパン合同会社 電気コネクタ
JP6701526B2 (ja) * 2016-12-09 2020-05-27 住友電装株式会社 基板用コネクタのハウジング、基板用コネクタ及びケース付き基板用コネクタ
JP6817272B2 (ja) * 2018-11-20 2021-01-20 矢崎総業株式会社 電気接続箱

Citations (3)

* Cited by examiner, † Cited by third party
Publication number Priority date Publication date Assignee Title
JPH106815A (ja) * 1996-06-26 1998-01-13 Yazaki Corp ブロック取付構造
JP2004048857A (ja) * 2002-07-09 2004-02-12 Furukawa Electric Co Ltd:The 電気接続箱におけるリレーブロックの取付構造
JP2004274954A (ja) * 2003-03-11 2004-09-30 Yazaki Corp 電子ユニット

Family Cites Families (2)

* Cited by examiner, † Cited by third party
Publication number Priority date Publication date Assignee Title
CN1301066C (zh) * 2004-11-22 2007-02-21 广东省农业科学院农业生物技术研究所 一种黑米抗氧化活性物质的工业化制备方法
JP2006294311A (ja) * 2005-04-06 2006-10-26 Smk Corp ハウジングへの端子類の取付構造

Patent Citations (3)

* Cited by examiner, † Cited by third party
Publication number Priority date Publication date Assignee Title
JPH106815A (ja) * 1996-06-26 1998-01-13 Yazaki Corp ブロック取付構造
JP2004048857A (ja) * 2002-07-09 2004-02-12 Furukawa Electric Co Ltd:The 電気接続箱におけるリレーブロックの取付構造
JP2004274954A (ja) * 2003-03-11 2004-09-30 Yazaki Corp 電子ユニット

Cited By (1)

* Cited by examiner, † Cited by third party
Publication number Priority date Publication date Assignee Title
WO2019008062A1 (en) * 2017-07-05 2019-01-10 Tyco Electronics (Shanghai) Co. Ltd. CONNECTOR AND CONNECTOR ASSEMBLY

Also Published As

Publication number Publication date
CN102017347A (zh) 2011-04-13
CN102017347B (zh) 2013-11-20
KR20110009654A (ko) 2011-01-28
JP2009268291A (ja) 2009-11-12

Similar Documents

Publication Publication Date Title
JP7361839B2 (ja) コネクタ
KR101928630B1 (ko) 커넥터 장치
JP6074289B2 (ja) 雌コネクタ及びカードエッジコネクタ
KR101832599B1 (ko) 커넥터
KR101265438B1 (ko) 보드-대-보드 커넥터
JP2010146858A (ja) 基板対基板コネクタ
JP2010097724A (ja) 基板対基板コネクタ
JP2001283958A (ja) 基板用コネクタの係止構造
KR20100113545A (ko) 전기커넥터 부착 회로기판용 케이스 및 이를 구비한 전자유닛
WO2009133768A1 (ja) 端子付回路ケース
KR101452626B1 (ko) 회로기판 수직 접속용 커넥터 조립체
JP7407687B2 (ja) 平型導体付電気コネクタ
TWI269496B (en) Module socket
JP7403614B2 (ja) コネクタ
JP7139929B2 (ja) ハーネス部品
JP6044918B2 (ja) コネクタ、当該コネクタに用いられるソケットおよびヘッダ
JP5923660B2 (ja) 電子部品の組付構造及び電気接続箱
JP4922612B2 (ja) 電気コネクタ
US7204719B2 (en) Connector for solderless connection and plug connected to the connector
KR20100070892A (ko) 커넥터 및 이를 포함한 커넥터 어셈블리
JP5243588B2 (ja) コネクタ
JP4851170B2 (ja) コネクタ付基板
CN107171094B (zh) 3pin欧规插头
JP7168619B2 (ja) インナハウジング組付け時の基板保護構造
CN103918134B (zh) 电连接箱

Legal Events

Date Code Title Description
WWE Wipo information: entry into national phase

Ref document number: 200980115115.2

Country of ref document: CN

121 Ep: the epo has been informed by wipo that ep was designated in this application

Ref document number: 09738705

Country of ref document: EP

Kind code of ref document: A1

ENP Entry into the national phase

Ref document number: 20107021501

Country of ref document: KR

Kind code of ref document: A

NENP Non-entry into the national phase

Ref country code: DE

122 Ep: pct application non-entry in european phase

Ref document number: 09738705

Country of ref document: EP

Kind code of ref document: A1