US20080308564A1 - Package Container, Packaging Laminate and the Use of a Colour Print - Google Patents

Package Container, Packaging Laminate and the Use of a Colour Print Download PDF

Info

Publication number
US20080308564A1
US20080308564A1 US11/629,360 US62936005A US2008308564A1 US 20080308564 A1 US20080308564 A1 US 20080308564A1 US 62936005 A US62936005 A US 62936005A US 2008308564 A1 US2008308564 A1 US 2008308564A1
Authority
US
United States
Prior art keywords
layer
print
color print
transparent
packaging container
Prior art date
Legal status (The legal status is an assumption and is not a legal conclusion. Google has not performed a legal analysis and makes no representation as to the accuracy of the status listed.)
Abandoned
Application number
US11/629,360
Other languages
English (en)
Inventor
Linda Hall
Sara Ohlgren
Thomas Mattsson
Peter Ohman
Current Assignee (The listed assignees may be inaccurate. Google has not performed a legal analysis and makes no representation or warranty as to the accuracy of the list.)
Tetra Laval Holdings and Finance SA
Original Assignee
Individual
Priority date (The priority date is an assumption and is not a legal conclusion. Google has not performed a legal analysis and makes no representation as to the accuracy of the date listed.)
Filing date
Publication date
Application filed by Individual filed Critical Individual
Assigned to TETRA LAVAL HOLDINGS & FINANCE S.A. reassignment TETRA LAVAL HOLDINGS & FINANCE S.A. ASSIGNMENT OF ASSIGNORS INTEREST (SEE DOCUMENT FOR DETAILS). Assignors: HALL, LINDA, OHMAN, PETER, MATTSSON, THOMAS, OHLGREN, SARA
Publication of US20080308564A1 publication Critical patent/US20080308564A1/en
Abandoned legal-status Critical Current

Links

Images

Classifications

    • BPERFORMING OPERATIONS; TRANSPORTING
    • B32LAYERED PRODUCTS
    • B32BLAYERED PRODUCTS, i.e. PRODUCTS BUILT-UP OF STRATA OF FLAT OR NON-FLAT, e.g. CELLULAR OR HONEYCOMB, FORM
    • B32B27/00Layered products comprising a layer of synthetic resin
    • BPERFORMING OPERATIONS; TRANSPORTING
    • B32LAYERED PRODUCTS
    • B32BLAYERED PRODUCTS, i.e. PRODUCTS BUILT-UP OF STRATA OF FLAT OR NON-FLAT, e.g. CELLULAR OR HONEYCOMB, FORM
    • B32B27/00Layered products comprising a layer of synthetic resin
    • B32B27/06Layered products comprising a layer of synthetic resin as the main or only constituent of a layer, which is next to another layer of the same or of a different material
    • B32B27/08Layered products comprising a layer of synthetic resin as the main or only constituent of a layer, which is next to another layer of the same or of a different material of synthetic resin
    • BPERFORMING OPERATIONS; TRANSPORTING
    • B32LAYERED PRODUCTS
    • B32BLAYERED PRODUCTS, i.e. PRODUCTS BUILT-UP OF STRATA OF FLAT OR NON-FLAT, e.g. CELLULAR OR HONEYCOMB, FORM
    • B32B27/00Layered products comprising a layer of synthetic resin
    • B32B27/32Layered products comprising a layer of synthetic resin comprising polyolefins
    • BPERFORMING OPERATIONS; TRANSPORTING
    • B44DECORATIVE ARTS
    • B44FSPECIAL DESIGNS OR PICTURES
    • B44F1/00Designs or pictures characterised by special or unusual light effects
    • B44F1/06Designs or pictures characterised by special or unusual light effects produced by transmitted light, e.g. transparencies, imitations of glass paintings
    • BPERFORMING OPERATIONS; TRANSPORTING
    • B44DECORATIVE ARTS
    • B44FSPECIAL DESIGNS OR PICTURES
    • B44F1/00Designs or pictures characterised by special or unusual light effects
    • B44F1/06Designs or pictures characterised by special or unusual light effects produced by transmitted light, e.g. transparencies, imitations of glass paintings
    • B44F1/066Designs or pictures characterised by special or unusual light effects produced by transmitted light, e.g. transparencies, imitations of glass paintings comprising at least two transparent elements, e.g. sheets, layers
    • BPERFORMING OPERATIONS; TRANSPORTING
    • B44DECORATIVE ARTS
    • B44FSPECIAL DESIGNS OR PICTURES
    • B44F1/00Designs or pictures characterised by special or unusual light effects
    • B44F1/08Designs or pictures characterised by special or unusual light effects characterised by colour effects
    • BPERFORMING OPERATIONS; TRANSPORTING
    • B65CONVEYING; PACKING; STORING; HANDLING THIN OR FILAMENTARY MATERIAL
    • B65DCONTAINERS FOR STORAGE OR TRANSPORT OF ARTICLES OR MATERIALS, e.g. BAGS, BARRELS, BOTTLES, BOXES, CANS, CARTONS, CRATES, DRUMS, JARS, TANKS, HOPPERS, FORWARDING CONTAINERS; ACCESSORIES, CLOSURES, OR FITTINGS THEREFOR; PACKAGING ELEMENTS; PACKAGES
    • B65D65/00Wrappers or flexible covers; Packaging materials of special type or form
    • B65D65/38Packaging materials of special type or form
    • B65D65/40Applications of laminates for particular packaging purposes
    • BPERFORMING OPERATIONS; TRANSPORTING
    • B65CONVEYING; PACKING; STORING; HANDLING THIN OR FILAMENTARY MATERIAL
    • B65DCONTAINERS FOR STORAGE OR TRANSPORT OF ARTICLES OR MATERIALS, e.g. BAGS, BARRELS, BOTTLES, BOXES, CANS, CARTONS, CRATES, DRUMS, JARS, TANKS, HOPPERS, FORWARDING CONTAINERS; ACCESSORIES, CLOSURES, OR FITTINGS THEREFOR; PACKAGING ELEMENTS; PACKAGES
    • B65D75/00Packages comprising articles or materials partially or wholly enclosed in strips, sheets, blanks, tubes or webs of flexible sheet material, e.g. in folded wrappers
    • B65D75/52Details
    • BPERFORMING OPERATIONS; TRANSPORTING
    • B32LAYERED PRODUCTS
    • B32BLAYERED PRODUCTS, i.e. PRODUCTS BUILT-UP OF STRATA OF FLAT OR NON-FLAT, e.g. CELLULAR OR HONEYCOMB, FORM
    • B32B2307/00Properties of the layers or laminate
    • B32B2307/70Other properties
    • B32B2307/724Permeability to gases, adsorption
    • B32B2307/7242Non-permeable
    • BPERFORMING OPERATIONS; TRANSPORTING
    • B32LAYERED PRODUCTS
    • B32BLAYERED PRODUCTS, i.e. PRODUCTS BUILT-UP OF STRATA OF FLAT OR NON-FLAT, e.g. CELLULAR OR HONEYCOMB, FORM
    • B32B2439/00Containers; Receptacles
    • B32B2439/70Food packaging
    • BPERFORMING OPERATIONS; TRANSPORTING
    • B65CONVEYING; PACKING; STORING; HANDLING THIN OR FILAMENTARY MATERIAL
    • B65DCONTAINERS FOR STORAGE OR TRANSPORT OF ARTICLES OR MATERIALS, e.g. BAGS, BARRELS, BOTTLES, BOXES, CANS, CARTONS, CRATES, DRUMS, JARS, TANKS, HOPPERS, FORWARDING CONTAINERS; ACCESSORIES, CLOSURES, OR FITTINGS THEREFOR; PACKAGING ELEMENTS; PACKAGES
    • B65D2203/00Decoration means, markings, information elements, contents indicators

Definitions

  • the present invention relates to a flexible packaging container of a transparent packaging laminate, containing a coloured, liquid food product, the packaging container displaying, on a front and/or rear display surface, a colour print applied directly thereon.
  • the present invention also relates to a packaging laminate for the packaging container, as well as to the use of a colour print on such a packaging laminate.
  • the above-outlined objects are attained by offering a flexible packaging container of a transparent packaging laminate containing a coloured, liquid food product, the packaging container displaying, on a front and/or rear display surface, a colour print directly applied thereon, at least selected portions of said colour print being a transparent colour print which permits transparency for the food product and one or more colour shades in the transparent colour print being selected so that the visible impression thereof is enhanced or modified in cooperation with the colour of the food product proper.
  • the transparent colour print has an opacity of greater than 3, preferably greater than 4 and more preferably greater than 5.
  • An upper limit is in principle set by the value of a totally transparent film without colour print and, therefore, the opacity level is in practice at most 13, preferably at most 12 and most preferably at most 11.
  • the value 1 signifies total opacity and the higher the value, the greater will be the transparency.
  • the measurements are carried out using a reflectometer which measures in accordance with ISO 6504/AST E97/DIN 55984 and the opacity is calculated as the relationship between reflectance of a measurement object on a white background to reflectance of the measurement object on a black background with an angle of impingement of 450 and a reflection angle of 0°.
  • the transparent colour print constitutes a background for an artwork- or text print which is disposed on the same display surface.
  • the background which may be printed with different colour densities, permits the display of the coloured food product in a different and more attractive manner than prior art packages of transparent, flexible packaging laminate where a background is totally absent in order that the food product be visible in the regions between text/artwork.
  • the transparent colour print is a photographic print. It is to be preferred that this be applied by means of a so-called process or screen printing technique, preferably with varying density between the half tone dots in order to obtain different colour intensities in one and the same artwork or one and the same background to artwork and/or text.
  • a so-called process or screen printing technique preferably with varying density between the half tone dots in order to obtain different colour intensities in one and the same artwork or one and the same background to artwork and/or text.
  • the process/screen technique the entire colour spectrum can be obtained from four primary subtractive colours, viz. cyan, magenta, yellow and black.
  • One advantage is that the application of a transparent colour print is eminently suitable for solvent-free printing inks/techniques, since less ink quantities are consumed for a transparent colour print than for an opaque colour print. The reason for this is that, for creating an opaque colour print with larger ink quantities, solvents are often needed to attain satisfactory results.
  • the transparent colour print forms a complete piece of artwork or part thereof.
  • a fruit, berry or vegetable representative artwork can be formed as a transparent colour print according to the present invention, in which event the visual impression of this printing ink is enhanced or modified in cooperation with the colour of the food product proper.
  • the front and/or rear display surface may also display colour print which is directly applied thereon in selected areas and which affords opacity, and preferably constitutes a text and/or a piece of artwork and preferably includes a subjacent white colour layer and an upper colour layer.
  • This print will then constitute a substantially opaque piece of artwork and/or text on a background of the transparent colour print according to the present invention.
  • the transparent colour print is applied at least on the front display surface of the package, while a transparent colour print or a transparent or opaque artwork or opaque text print is disposed on its rear display surface, so that the transparent colour print or artwork or text print on the rear display surface clearly appears through both the coloured food product proper, the front display surface and its transparent colour print.
  • an “aquarium effect” can for example be obtained, or information such as slogans, so-called “fortune cookies” etc. can be read through both the coloured food product, the front display surface and its transparent colour print.
  • said transparent colour print is of the same colour as the food product, but of a different shade, whereby the visual impression of the transparent colour print is enhanced in cooperation with the colour of the food product proper.
  • a visual impression with more life can be obtained from a blue coloured food product in a transparent packaging container with a blue, transparent colour print.
  • the colour print is moreover photographic and displays different degrees of colour density and/or different shades of blue, water-like effects can, for example, be achieved including bubbles, foam, water swell or the like.
  • said transparent colour print is of a different colour than the food product, whereby the visual impression of the transparent colour print, in cooperation with the colour of the food product proper, is modified to a third colour.
  • a yellow food product such as orange juice
  • a red, transparent colour print of varying colour density gives an orange visual impression which, for example, may represent the citrus fruit.
  • a yellow product in a packaging container with a blue, transparent colour print makes a green visual impression.
  • the packaging laminate for the package according to the invention preferably includes a gas barrier layer. More precisely, it preferably includes an outside layer of thermosealable olefin polymer, a first gas barrier layer of SiOx, coated on a first polymer carrier layer, and a second gas barrier layer of SiOx, coated on a second polymer carrier layer, as well as an interjacent polymer layer of greater thickness in relation to each one of the surrounding layers which is laminated between the two gas barrier-coated carrier layers.
  • a well functioning packaging laminate of this type is described in PCT/SE2003/001750, whose contents are hereby incorporated herein by reference.
  • the present invention is not restricted to being utilised in connection with such a laminate.
  • a transparent packaging laminate with low gas barrier properties, in which event use is instead made of a preserving agent in the product.
  • Other variations of transparent packaging laminates are also conceivable.
  • One preferred variation of the package according to the invention consists of a flexible bag which is fold-formed at the bottom, preferably of portion size and with a hole for a drinking straw or an opening arrangement.
  • the packaging container according to the invention is a bag or a “standing bag” or the like and is durable on handling and distribution and resistant to moisture and oxygen gas during long-term storage, because of the high quality packaging laminate, which in turn also imparts a high level of quality to seals and enjoys excellent gas barrier properties.
  • a further crucial advantage in packaging containers produced from the packaging laminate according to the invention is that they withstand boiling or thawing by means of microwaves, as well as retorting.
  • FIG. 1 is a cross sectional view of a preferred laminated packaging material according to the present invention.
  • FIG. 2 shows one preferred example of a packaging container which has been produced from the packaging laminate according to the present invention.
  • FIG. 1 thus shows a transparent packaging laminate 10 including a first and second carrier layer 11 ; 12 which are films of a preferably prefabricated film of polyester or polyamide, such as a moulded film or preferably a mono- or biaxially oriented polyethylene terephthalate (PET), polyethylene naphthenate (PEN) or polyamide (PA), on which coatings of a thin gas barrier layer of SiOx 13 ; 14 have been applied.
  • the two SiOx layers are preferably turned to face towards the interior of the laminate and thus face towards one another.
  • the interjacent layer 15 may consist of a relatively rigid olefin polymer, such as, for example, high density polyethylene (HDPE) or polypropylene (PP), or alternatively of a polymer which is soft and/or has elastomeric properties, such as, for example, polyethylene of very low density (VLDPE) or polyethylene of ultra low density (ULDPE).
  • a relatively rigid olefin polymer such as, for example, high density polyethylene (HDPE) or polypropylene (PP)
  • PP polypropylene
  • a polymer which is soft and/or has elastomeric properties such as, for example, polyethylene of very low density (VLDPE) or polyethylene of ultra low density (ULDPE).
  • VLDPE very low density
  • ULDPE ultra low density
  • the interjacent layer 15 consists of a mixture of high density polyethylene (HDPE) and polyethylene of very low density (VLDPE) or polyethylene of ultra low density (ULDPE).
  • the interjacent layer 15 is built up from at least two, preferably three sublayers of high density polyethylene (HDPE) and polyethylene of very low density (VLDPE) or polyethylene of ultra low density (ULDPE).
  • the interjacent layer is thicker than any of the surrounding layers in the packaging laminate and thereby serves as a spacer element between the two carrier layer films of oriented polymer.
  • the thickness of the interjacent layer does not constitute more than from about 30 to about 55% of the total thickness of the packaging laminate, more preferably from about 35 to about 50%.
  • the thickness of the carrier layers constitutes from about 5 to about 20%, more preferably from about 5 to about 15% of the total packaging laminate.
  • thermosealable olefin polymer preferably a low density polyethylene (LDPE) or a linear low density polyethylene (LLDPE) is applied and also includes so-called metallocen catalysed LLDPE (m-LLDPE), i.e. LLDPE polymers catalysed by means of a single seat catalyst.
  • LDPE low density polyethylene
  • LLDPE linear low density polyethylene
  • m-LLDPE metallocen catalysed LLDPE
  • LLDPE metallocen catalysed LLDPE
  • Other examples of alternative polymers for the outside layer in the packaging wall may be a polyethylene of medium high density (MDPE) or polypropylene (PP).
  • At least one layer 17 of a thermosealable olefin polymer preferably a layer of LDPE or more preferably a layer of LLDPE and most preferably a first sublayer 17 a of LDPE and a second, outer sublayer 17 b of LLDPE.
  • the outside layers 16 , 17 are each applied in a quantity of from about 10 to about 25 ⁇ m in order to obtain optimum thermosealing properties in relation to cost efficiency.
  • tie layer of adhesive polymers for optimal adhesion between the different layers in the packaging laminate, use is preferably made of a tie layer of adhesive polymers, tie layers and primers which are known in the art.
  • Such tie layers and primers are adapted to the specific choices of polymer in the different layers and may be selected from polyolefins and modified polyolefins, preferably polyethylene-based polymers, such as, for example, LDPE and modified LDPE.
  • tie layers 18 , 19 between the layers of SiOx 13 ; 14 and the interjacent polyolefin layer 15 use is preferably made of a polyethylene base polymer which is inoculation modified by means of an unsaturated alkoxy silan compound as described in U.S. Pat. No. 5,731,092 which is hereby incorporated herein by reference. See in particular column 1 line 39 to column 3 line 21 and Examples 1 and 2.
  • tie layers are homo- or copolymers of LDPE or inoculated copolymers of polyethylene, inoculated with monomers which include functional groups of carboxyl- or glycidyl type, such as acrylic monomers or maleic acid anhydride monomers (MAH), for example ethylene (meta) acrylic acid copolymers (E(M)AA), ethylene, glycidyl (meta) acrylate copolymers (EG(M)A) or MAH inoculated polyethylene (MAH-g-PE).
  • monomers which include functional groups of carboxyl- or glycidyl type such as acrylic monomers or maleic acid anhydride monomers (MAH), for example ethylene (meta) acrylic acid copolymers (E(M)AA), ethylene, glycidyl (meta) acrylate copolymers (EG(M)A) or MAH inoculated polyethylene (MAH-g-PE).
  • the colour print according to the present invention is applied in conjunction to layer 16 of a thermosealable olefin polymer on that side of the packaging laminate which will constitute the outside wall in a packaging container produced from the packaging laminate.
  • FIG. 1 shows three variations of where this colour print can be applied. Furthest to the right is shown the preferred embodiment that the colour print 26 a is applied on the tie layer 20 (or direct on the carrier layer 11 ), whereafter the outside layer 16 is laid thereon. As a result, the colour print is protected against wear etc. by the layer 16 . In the central illustration is shown a less preferred variation where the colour print 26 b lies outside the outside layer 16 .
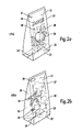
  • FIGS. 2 a and 2 b show a preferred example of a packaging container 25 containing a coloured, liquid food product, the packaging container having been produced from the packaging laminate 10 according to the present invention.
  • the packaging container is particularly suitable for small drink packages for direct use by means of a drinking straw or the like.
  • One such packaging container typically has a volume of about 330 ml or less, preferably from about 100 to about 250 ml, for example about 125 ml, 200 ml or about 250 ml. It may be a bag of any configuration whatever, but is preferably cuneiform 21 so that it is simple to handle and dimensionally stable when placed on a shelf in the food hall or on a table or the like.
  • the bottom portion 22 of the package is formed so that the transverse thermoseal 24 in the bottom is concealed under the triangular corner flaps 23 which are folded and sealed against the bottom of the package.
  • the variation of the packaging container 25 a in FIG. 2 a has a colour print directly applied on the packaging container on a front display surface 27 , the colour print including artwork, for example in the form of an orange 28 with leaves 29 , a background 30 and a text 31 .
  • the orange artwork 28 is a transparent colour print according to the invention, suitably in a red shade.
  • an orange juice is yellow the visual impression of the artwork 28 will be modified to become orange, in cooperation with this yellow orange juice.
  • the orange leaves 29 are formed from a transparent colour print according to the invention, suitably in a blue shade.
  • the contents are, as was mentioned above, yellow, the visual impression of the artwork 29 will be modified in cooperation with this yellow orange juice, so that the orange leaves appear as green.
  • the background 30 is also formed from a transparent colour print according to the invention, for example with a yellow shade which is enhanced/intensified in cooperation with the yellow contents of the packaging container.
  • the text 31 on the packaging container 25 a is made from a colour print affording opacity, preferably including a subjacent white colour layer as well as an upper colour layer.
  • a hole 37 for a drinking straw is also shown on the packaging container 25 a.
  • the variation of the packaging container 25 a in FIG. 2 a also has a colour print 32 applied directly on the packaging container on a front display surface 27 , the colour print being a transparent colour print according to the invention, in this case with a blue shade and representing waves and bubbles.
  • the contents of the packaging container 25 b are blue, the visual impression of the colour print will be enhanced/intensified in cooperation with these contents.
  • artwork 34 On the rear display surface 33 of the packaging container, there is disposed artwork 34 , in this case a starfish which may be of opaque character and which clearly appears through both the coloured food product, the front display surface 27 and its transparent colour print 32 .
  • the background 35 to the artwork 34 is also disposed on the rear display surface 33 and may consist of a transparent colour print according to the present invention, or may be a colour print of an opaque character which is also seen through both the coloured food product, the front display surface 27 and its transparent colour print 32 , which can give an “aquarium-like” effect.
  • An opening arrangement 38 in this case a pull tab, is also shown on the packaging container 25 b.

Landscapes

  • Engineering & Computer Science (AREA)
  • Mechanical Engineering (AREA)
  • Wrappers (AREA)
  • Packages (AREA)
  • Bag Frames (AREA)
  • Laminated Bodies (AREA)
  • Packging For Living Organisms, Food Or Medicinal Products That Are Sensitive To Environmental Conditiond (AREA)
  • Details Of Rigid Or Semi-Rigid Containers (AREA)
US11/629,360 2004-06-14 2005-06-10 Package Container, Packaging Laminate and the Use of a Colour Print Abandoned US20080308564A1 (en)

Applications Claiming Priority (3)

Application Number Priority Date Filing Date Title
SE0401508.7 2004-06-14
SE0401508A SE528075C2 (sv) 2004-06-14 2004-06-14 Förpackningsbehållare, förpackningslaminat och användning av ett färgtryck
PCT/SE2005/000888 WO2005120826A1 (en) 2004-06-14 2005-06-10 A package container, packaging laminate and the use of a colour print

Publications (1)

Publication Number Publication Date
US20080308564A1 true US20080308564A1 (en) 2008-12-18

Family

ID=32653592

Family Applications (1)

Application Number Title Priority Date Filing Date
US11/629,360 Abandoned US20080308564A1 (en) 2004-06-14 2005-06-10 Package Container, Packaging Laminate and the Use of a Colour Print

Country Status (12)

Country Link
US (1) US20080308564A1 (es)
EP (1) EP1768842A1 (es)
JP (1) JP2008502547A (es)
KR (1) KR20070036063A (es)
CN (1) CN1960864A (es)
AR (1) AR049226A1 (es)
BR (1) BRPI0511644A (es)
CA (1) CA2569171A1 (es)
MX (1) MXPA06013325A (es)
SE (1) SE528075C2 (es)
WO (1) WO2005120826A1 (es)
ZA (1) ZA200609970B (es)

Cited By (5)

* Cited by examiner, † Cited by third party
Publication number Priority date Publication date Assignee Title
US20110004571A1 (en) * 2009-07-02 2011-01-06 Parikh Rita M Use of color to identify or unify as well as to differentiate products in a product line
US20110317187A1 (en) * 2007-07-31 2011-12-29 Canon Kabushiki Kaisha Control apparatus, controlling method, program and recording medium
US20120258228A1 (en) * 2009-10-22 2012-10-11 Sig Technology Ag Process for producing autoclaved foodstuffs in a container formed from a flat composite having a colored cross-linked outer polymer layer obtainable by means of high pressure
US20180273269A1 (en) * 2014-03-24 2018-09-27 Sio Medical Products, Inc. Packaging for high purity solvents
US11905100B1 (en) * 2023-05-02 2024-02-20 Lance W. Schneier Disposable receptacle to dispense flowable solutions into oral cavity and to collect same from oral cavity

Families Citing this family (3)

* Cited by examiner, † Cited by third party
Publication number Priority date Publication date Assignee Title
US20070090010A1 (en) * 2005-10-20 2007-04-26 The Procter & Gamble Company Transparent or translucent filled package exhibiting a colored appearance
DE102016209350A1 (de) * 2016-05-30 2017-11-30 Sig Technology Ag Elektrostatisch unterstütztes Bedrucken eines Packstofflaminats für formstabile Nahrungsmittelbehälter mit einer Vielzahl von Druckwerken
WO2018061029A1 (en) * 2016-09-28 2018-04-05 Huhtamaki-Ppl Limited Packaging laminate

Citations (12)

* Cited by examiner, † Cited by third party
Publication number Priority date Publication date Assignee Title
US4546019A (en) * 1984-05-21 1985-10-08 Donna Schneider Works of visual and sculptural art and methods of making them
US5201460A (en) * 1990-04-30 1993-04-13 Hoechst Celanese Corporation Spill-resistant drinking straw
US5388695A (en) * 1994-05-23 1995-02-14 Professional Package Company Flat trapezoidal container of brightly printed thermally sealable film
US5542529A (en) * 1990-04-23 1996-08-06 R. J. Reynolds Tobacco Company High barrier packages for smoking articles and other products
US5782404A (en) * 1991-03-04 1998-07-21 Combibloc, Inc. Package opening
US6024219A (en) * 1998-10-30 2000-02-15 Kraft Foods, Inc. Display packages
US6182855B1 (en) * 1997-08-27 2001-02-06 Theodore Alpert Holder for a container
US6431434B1 (en) * 1999-09-23 2002-08-13 Keith Louis Haughton Individual beverage carton with a straw therein and a method of manufacture
US6513343B2 (en) * 2000-10-02 2003-02-04 Bruce Pahl Liquid container and dispenser
US20040050728A1 (en) * 1999-02-18 2004-03-18 Montan Nederland B.V. Storage device having protective means
US7000349B2 (en) * 1998-02-10 2006-02-21 William M.Weder And William F. Straeter Floral wrapper having printed design with shaded and highlighted areas
US7122234B2 (en) * 2002-11-13 2006-10-17 Tetra Laval Holding & Finance S.A. Transparent plastic gas barrier packaging laminate

Family Cites Families (1)

* Cited by examiner, † Cited by third party
Publication number Priority date Publication date Assignee Title
SE526512C2 (sv) * 2002-11-13 2005-09-27 Tetra Laval Holdings & Finance Transparant förpackningslaminat i plast och med gasbarriär

Patent Citations (12)

* Cited by examiner, † Cited by third party
Publication number Priority date Publication date Assignee Title
US4546019A (en) * 1984-05-21 1985-10-08 Donna Schneider Works of visual and sculptural art and methods of making them
US5542529A (en) * 1990-04-23 1996-08-06 R. J. Reynolds Tobacco Company High barrier packages for smoking articles and other products
US5201460A (en) * 1990-04-30 1993-04-13 Hoechst Celanese Corporation Spill-resistant drinking straw
US5782404A (en) * 1991-03-04 1998-07-21 Combibloc, Inc. Package opening
US5388695A (en) * 1994-05-23 1995-02-14 Professional Package Company Flat trapezoidal container of brightly printed thermally sealable film
US6182855B1 (en) * 1997-08-27 2001-02-06 Theodore Alpert Holder for a container
US7000349B2 (en) * 1998-02-10 2006-02-21 William M.Weder And William F. Straeter Floral wrapper having printed design with shaded and highlighted areas
US6024219A (en) * 1998-10-30 2000-02-15 Kraft Foods, Inc. Display packages
US20040050728A1 (en) * 1999-02-18 2004-03-18 Montan Nederland B.V. Storage device having protective means
US6431434B1 (en) * 1999-09-23 2002-08-13 Keith Louis Haughton Individual beverage carton with a straw therein and a method of manufacture
US6513343B2 (en) * 2000-10-02 2003-02-04 Bruce Pahl Liquid container and dispenser
US7122234B2 (en) * 2002-11-13 2006-10-17 Tetra Laval Holding & Finance S.A. Transparent plastic gas barrier packaging laminate

Cited By (8)

* Cited by examiner, † Cited by third party
Publication number Priority date Publication date Assignee Title
US20110317187A1 (en) * 2007-07-31 2011-12-29 Canon Kabushiki Kaisha Control apparatus, controlling method, program and recording medium
US8564833B2 (en) * 2007-07-31 2013-10-22 Canon Kabushiki Kaisha Control apparatus, controlling method, program and recording medium
US8724173B2 (en) 2007-07-31 2014-05-13 Canon Kabushiki Kaisha Control apparatus, controlling method, program and recording medium
US20110004571A1 (en) * 2009-07-02 2011-01-06 Parikh Rita M Use of color to identify or unify as well as to differentiate products in a product line
US20120258228A1 (en) * 2009-10-22 2012-10-11 Sig Technology Ag Process for producing autoclaved foodstuffs in a container formed from a flat composite having a colored cross-linked outer polymer layer obtainable by means of high pressure
US20180273269A1 (en) * 2014-03-24 2018-09-27 Sio Medical Products, Inc. Packaging for high purity solvents
US10807781B2 (en) * 2014-03-24 2020-10-20 Sio2 Medical Products, Inc. Packaging for high purity solvents
US11905100B1 (en) * 2023-05-02 2024-02-20 Lance W. Schneier Disposable receptacle to dispense flowable solutions into oral cavity and to collect same from oral cavity

Also Published As

Publication number Publication date
ZA200609970B (en) 2008-10-29
EP1768842A1 (en) 2007-04-04
MXPA06013325A (es) 2007-02-02
WO2005120826A1 (en) 2005-12-22
SE0401508L (sv) 2005-12-15
SE0401508D0 (sv) 2004-06-14
AR049226A1 (es) 2006-07-05
CA2569171A1 (en) 2005-12-22
CN1960864A (zh) 2007-05-09
KR20070036063A (ko) 2007-04-02
SE528075C2 (sv) 2006-08-29
JP2008502547A (ja) 2008-01-31
BRPI0511644A (pt) 2008-01-02

Similar Documents

Publication Publication Date Title
JP6613879B2 (ja) 反射性遮光性積層体
US20050252627A1 (en) Method for producing paper packaging material, lightproof paper packaging material, semi-paper packaging material and lightproof paper packaging container
CN100500432C (zh) 包装材料
US20080308564A1 (en) Package Container, Packaging Laminate and the Use of a Colour Print
JP4730189B2 (ja) 包装材料、およびそれを使用した栄養剤用包装容器
EP1541488A1 (en) Packaging material and packaging container
WO1997002948A1 (en) Multilayer film material and pouches made from the material
JP2005037624A (ja) インモールド成形用ラベル、およびそれを使用したインモ−ルドラベル成形容器
JP4249432B2 (ja) 多層積層樹脂フィルム
JP4777590B2 (ja) 多層積層樹脂フィルム
JP7137164B2 (ja) 光感受性物品を包装するための包装材料及び前記包装材料を生成するための方法
JP2003118777A (ja) 食品包装袋
JP4121815B2 (ja) 包装用積層フィルム
JP4170414B2 (ja) 遮光性積層材およびそれを使用した包装用容器
JP2004066769A (ja) 遮光性包装材料、遮光性包装材料の製造法及び遮光性包装容器
CN208006409U (zh) 一种包装层压板以及由该包装层压板制成的包装容器
JP2000128229A (ja) 包装用積層体及び易開封性包装体
JP2003012045A (ja) バリヤー性パウチ
JP3908522B2 (ja) 金属の風調とバリア性を有する包装材
JP2002240850A (ja) 軟包装袋用の積層材
JP4793542B2 (ja) 蓋材
JP4730188B2 (ja) 包装材料、およびそれを使用した栄養剤用包装容器
JP4377287B2 (ja) 多層シート及び当該多層シートからなる包装体
JP7342399B2 (ja) 包装用積層体
JP2004331210A (ja) 自立性袋

Legal Events

Date Code Title Description
AS Assignment

Owner name: TETRA LAVAL HOLDINGS & FINANCE S.A., SWITZERLAND

Free format text: ASSIGNMENT OF ASSIGNORS INTEREST;ASSIGNORS:HALL, LINDA;OHLGREN, SARA;MATTSSON, THOMAS;AND OTHERS;REEL/FRAME:018712/0294;SIGNING DATES FROM 20061114 TO 20061117

STCB Information on status: application discontinuation

Free format text: ABANDONED -- FAILURE TO RESPOND TO AN OFFICE ACTION