RU2196373C2 - Устройство и способ для выполнения электрического соединения - Google Patents
Устройство и способ для выполнения электрического соединения Download PDFInfo
- Publication number
- RU2196373C2 RU2196373C2 RU99100281/09A RU99100281A RU2196373C2 RU 2196373 C2 RU2196373 C2 RU 2196373C2 RU 99100281/09 A RU99100281/09 A RU 99100281/09A RU 99100281 A RU99100281 A RU 99100281A RU 2196373 C2 RU2196373 C2 RU 2196373C2
- Authority
- RU
- Russia
- Prior art keywords
- contact part
- conical
- contact
- shank
- paragraphs
- Prior art date
Links
Images
Classifications
-
- H—ELECTRICITY
- H01—ELECTRIC ELEMENTS
- H01R—ELECTRICALLY-CONDUCTIVE CONNECTIONS; STRUCTURAL ASSOCIATIONS OF A PLURALITY OF MUTUALLY-INSULATED ELECTRICAL CONNECTING ELEMENTS; COUPLING DEVICES; CURRENT COLLECTORS
- H01R4/00—Electrically-conductive connections between two or more conductive members in direct contact, i.e. touching one another; Means for effecting or maintaining such contact; Electrically-conductive connections having two or more spaced connecting locations for conductors and using contact members penetrating insulation
- H01R4/28—Clamped connections, spring connections
- H01R4/50—Clamped connections, spring connections utilising a cam, wedge, cone or ball also combined with a screw
- H01R4/5016—Clamped connections, spring connections utilising a cam, wedge, cone or ball also combined with a screw using a cone
- H01R4/5025—Clamped connections, spring connections utilising a cam, wedge, cone or ball also combined with a screw using a cone combined with a threaded ferrule operating in a direction parallel to the conductor
-
- F—MECHANICAL ENGINEERING; LIGHTING; HEATING; WEAPONS; BLASTING
- F01—MACHINES OR ENGINES IN GENERAL; ENGINE PLANTS IN GENERAL; STEAM ENGINES
- F01N—GAS-FLOW SILENCERS OR EXHAUST APPARATUS FOR MACHINES OR ENGINES IN GENERAL; GAS-FLOW SILENCERS OR EXHAUST APPARATUS FOR INTERNAL-COMBUSTION ENGINES
- F01N3/00—Exhaust or silencing apparatus having means for purifying, rendering innocuous, or otherwise treating exhaust
- F01N3/08—Exhaust or silencing apparatus having means for purifying, rendering innocuous, or otherwise treating exhaust for rendering innocuous
- F01N3/10—Exhaust or silencing apparatus having means for purifying, rendering innocuous, or otherwise treating exhaust for rendering innocuous by thermal or catalytic conversion of noxious components of exhaust
- F01N3/18—Exhaust or silencing apparatus having means for purifying, rendering innocuous, or otherwise treating exhaust for rendering innocuous by thermal or catalytic conversion of noxious components of exhaust characterised by methods of operation; Control
- F01N3/20—Exhaust or silencing apparatus having means for purifying, rendering innocuous, or otherwise treating exhaust for rendering innocuous by thermal or catalytic conversion of noxious components of exhaust characterised by methods of operation; Control specially adapted for catalytic conversion
- F01N3/2006—Periodically heating or cooling catalytic reactors, e.g. at cold starting or overheating
- F01N3/2013—Periodically heating or cooling catalytic reactors, e.g. at cold starting or overheating using electric or magnetic heating means
-
- Y—GENERAL TAGGING OF NEW TECHNOLOGICAL DEVELOPMENTS; GENERAL TAGGING OF CROSS-SECTIONAL TECHNOLOGIES SPANNING OVER SEVERAL SECTIONS OF THE IPC; TECHNICAL SUBJECTS COVERED BY FORMER USPC CROSS-REFERENCE ART COLLECTIONS [XRACs] AND DIGESTS
- Y02—TECHNOLOGIES OR APPLICATIONS FOR MITIGATION OR ADAPTATION AGAINST CLIMATE CHANGE
- Y02T—CLIMATE CHANGE MITIGATION TECHNOLOGIES RELATED TO TRANSPORTATION
- Y02T10/00—Road transport of goods or passengers
- Y02T10/10—Internal combustion engine [ICE] based vehicles
- Y02T10/12—Improving ICE efficiencies
Landscapes
- Chemical & Material Sciences (AREA)
- Engineering & Computer Science (AREA)
- Chemical Kinetics & Catalysis (AREA)
- Health & Medical Sciences (AREA)
- Toxicology (AREA)
- Combustion & Propulsion (AREA)
- Mechanical Engineering (AREA)
- General Engineering & Computer Science (AREA)
- Exhaust Gas After Treatment (AREA)
Abstract
Изобретение относится к устройству и способу для выполнения электрического соединения. Это устройство содержит первую контакт-деталь, имеющую конический хвостовик, и вторую контакт-деталь, имеющую коническое отверстие. Вторая контакт-деталь соединена с электрическим проводом. Контакт-детали образуют разъемное конусное зажимное соединение. Для стопорения такого конусного зажимного соединения первая контакт-деталь снабжена резьбовым наконечником, на который навинчена гайка, насаживающая вторую контакт-деталь в осевом направлении на первую контакт-деталь. Техническим результатом является обеспечение надежного электрического контакта. 2 с. и 12 з.п.ф-лы, 4 ил.
Description
Изобретение относится к устройству и способу для выполнения электрического соединения.
Известны различные методы соединения двух электрических проводников.
Так, например, два электрических проводника могут быть соединены друг с другом пайкой. В случае же разъемного соединения двух электрических проводников каждый проводник соединяют с соответствующей контакт-деталью, а эти контакт-детали в свою очередь соединяют друг с другом. Для этой цели, например, используют контакт-детали, которые известным образом вставляются одна в другую. В таком устройстве для выполнения электрического соединения одна из контакт-деталей выполнена в форме пластинки. Эта контакт-деталь вставляется в соответствующее ей по форме гнездо, выполненное во второй контакт-детали. Такие электрические соединения применяют главным образом для электрических проводников, по которым протекают лишь слабые токи.
В GB 449934 описано устройство для выполнения электрического соединения. В этом электрическом соединении предусмотрены две контакт-детали, которые при прижатии друг к другу их конических поверхностей образуют зажимное разъемное соединение. На одном конце первой контакт-детали предусмотрен конический участок, переходящий в резьбовой участок. Во второй контакт-детали выполнено коническое углубление, переходящее в сквозное отверстие. Первая контакт-деталь вставляется во вторую контакт-деталь. Клиновое разъемное соединение получают при этом путем прижатия друг к другу конических поверхностей этих контакт-деталей с помощью гайки, которая навинчивается на резьбовой участок первой контакт-детали и прилегает к торцевой поверхности второй контакт-детали. Такая конструкция устройства для выполнения электрического соединения предотвращает размыкание конусного зажимного соединения в том случае, когда контакт-детали имеют различный коэффициент теплового расширения, обусловленный различными свойствами материалов, из которых они изготовлены.
В автомобильной промышленности применяют различные устройства для выполнения электрического соединения. Так, например, для соединения замыкаемого на массу полюса аккумуляторной батареи автомобиля с кузовом, как известно, используют соответствующий болт, привариваемый к кузову. Такой болт для соединения с массой имеет резьбовой участок, на который до упора навинчена контакт-деталь, которая может представлять собой, например, наконечник провода и которая соединена с массовым проводом. Электрическое соединение массового провода с кузовом предпочтительно выполнять неразъемным.
Из патента FR 740843 известно устройство для выполнения разъемного электрического соединения. В этом патенте речь идет об устройстве, с помощью которого электрический провод присоединяется к соответствующему полюсу аккумуляторной батареи. Присоединительный полюс аккумуляторной батареи выполнен в форме усеченного конуса. В этом присоединительном полюсе со стороны его открытого торца выполнено сужающееся резьбовое отверстие. В это резьбовое отверстие ввинчивается конусообразный винт. Присоединительный полюс аккумуляторной батареи имеет продольную прорезь, благодаря которой он может разжиматься в стороны. Соединенная с проводом контакт-деталь выполнена в виде втулки. В ней предусмотрено гнездо, соответствующее по форме присоединительному полюсу аккумуляторной батареи. Когда контакт-деталь одета на присоединительный полюс, последний при ввинчивании винта разжимается, благодаря чему между присоединительным полюсом и контакт-деталью образуется зажимное разъемное соединение. Преимущество такой конструкции устройства в основном состоит в том, что контакт-деталь после удаления винта легко может быть снята с присоединительного полюса.
Еще одно решение, относящееся к соединению кабеля с присоединительным полюсом аккумуляторной батареи, известно из DE-OS 2104036. Согласно этому решению предлагаемое в нем устройство содержит присоединительный колпачок с участком, имеющим форму усеченного конуса. На этом имеющем форму усеченного конуса участке предусмотрена продольная прорезь, благодаря которой соответствующие участки боковой поверхности приобретают некоторую упругость. Конусообразный участок снабжен наружной резьбой под накидную гайку. Для обеспечения контакта между присоединительным колпачком и выводом аккумуляторной батареи этот колпачок одевают на вывод батареи и на наружную резьбу навинчивают накидную гайку, которая при этом прижимает упругие участки к боковой поверхности вывода аккумуляторной батареи. Для улучшения электрического контакта между присоединительным колпачком и выводом аккумуляторной батареи на внутренней поверхности конусообразного хвостовика предусмотрены выступы, которые вдавливаются в поверхность вывода.
Особые требования предъявляются к электрическому соединению, предназначенному для соединения сотового элемента с электрическим подогревом, в частности сотового элемента каталитического нейтрализатора, с источником напряжения. Такой каталитический нейтрализатор может быть, например, деталью системы выпуска отработавших газов (ОГ) двигателя внутреннего сгорания (ДВС). Применение таких каталитических нейтрализаторов приобретает все большее значение, поскольку законодательно установленные нормы предписывают более строгий контроль за выбросом вредных веществ транспортными средствами. С повышением требований к снижению содержания вредных веществ в ОГ транспортных средств применяются все более сложные системы нейтрализации ОГ ДВС. В частности, для уменьшения выброса вредных веществ в период пуска холодного двигателя наряду с трехкомпонентными каталитическими нейтрализаторами ОГ с электронным управлением (каталитические нейтрализаторы с кислородными датчиками) применяют каталитические нейтрализаторы с электрическим подогревом. Одно из таких устройств известно, например, из публикации WO 92/02714. Однако в таких каталитических нейтрализаторах с электрическим подогревом приходится сталкиваться с проблемой электрического подсоединения контактных выводов каталитического нейтрализатора к токоподводящим проводам. В процессе нагревания каталитического нейтрализатора сила тока, протекающего по проводам, достигает 500 ампер. Из-за относительно близкого расположения токоподводящих проводов к поверхности нейтрализатора эти токоподводящие проводы, соответственно места соединений подвергаются воздействию чрезвычайно больших колебаний температуры. Вблизи каталитического нейтрализатора температуры в месте соединения могут достигать 350oС.
В известных в настоящее время каталитических нейтрализаторах наконечник электрического провода закрепляется путем навинчивания на контактный вывод каталитического нейтрализатора.
Исходя из вышеизложенного, в основу настоящего изобретения была положена задача разработать устройство для выполнения электрического соединения, в частности в сотовом элементе с электрическим подогревом, которое обеспечивало бы надежный электрический контакт. Далее, такое устройство должно обеспечивать получение долговечного даже при переменных температурных нагрузках электрического соединения. Кроме того, еще одной задачей изобретения является разработка способа выполнения электрического соединения, который был бы прост в осуществлении, в частности при крупносерийном производстве, и который можно было бы интегрировать в общий технологический процесс. В частности, такой способ выполнения электрического соединения должен допускать его автоматизацию.
Согласно изобретению указанные задачи решаются, во-первых, с помощью устройства для выполнения электрического соединения с отличительными признаками п. 1 формулы изобретения, а во-вторых, с помощью способа выполнения электрического соединения с отличительными признаками п.15 формулы изобретения. Предпочтительные варианты выполнения устройства и осуществления способа представлены в зависимых пунктах формулы изобретения.
Предлагаемое согласно изобретению устройство для выполнения электрического соединения имеет первую и вторую контакт-детали, причем первая контакт-деталь имеет конический хвостовик, а вторая контакт-деталь имеет коническое отверстие. Боковая поверхность конического хвостовика и боковая поверхность конического отверстия выполнены с таким углом конусности, что первая контакт-деталь и вторая контакт-деталь образуют самотормозящееся конусное соединение. Благодаря такой конструкции устройства для выполнения электрического соединения позволяет с помощью простых средств создать застопоренное и надежное электрическое соединение. Преимущество предлагаемого устройства состоит также в том, что для долговечного соединения между первой и второй контакт-деталями нет необходимости в использовании дополнительных стопорных средств, поскольку конусное соединение является самотормозящимся. Такое соединение является также достаточно прочным.
Для создания самотормозящегося конусного соединения угол конусности предлагается выбирать в зависимости от материалов сопряженных поверхностей и/или характера поверхностей первой и второй контакт-деталей. Выбором угла конусности можно изменять в значительных пределах степень самоторможения.
В одном из предпочтительных вариантов первая контакт-деталь имеет конический хвостовик и выполненный рядом с ним резьбовой участок. Во второй же контакт-детали выполнено коническое отверстие. В устройство далее предусмотрен прижимной элемент, который привинчивается к первой контакт-детали. Наличие этого прижимного элемента позволяет смещать одну из контакт-деталей относительно другой с образованием в результате между ними конусного соединения. В качестве указанного прижимного элемента предпочтительно применять унифицированный сборочный элемент, который, в частности, позволяет автоматизировать процесс изготовления конусного соединения. В другом варианте в качестве такого прижимного элемента можно использовать крепежный элемент, который обеспечивает дополнительное стопорение конусного соединения.
Согласно еще одному предпочтительному варианту в устройстве предлагается выполнять резьбовой участок в виде резьбового наконечника, наружный диаметр резьбы которого не превышает наименьшего диаметра конического отверстия. Альтернативно этому в первой контакт-детали можно предусмотреть резьбовое отверстие, проходящее вдоль конического хвостовика. Навинчивая прижимной элемент на резьбовой наконечник, соответственно ввинчивая этот прижимной элемент в резьбовое отверстие, можно смещать первую контакт-деталь относительно второй. С помощью соответствующего момента затяжки прижимного элемента может регулировать необходимое прижимное усилие между обеими контакт-деталями.
В случае ввинчиваемого в резьбовое отверстие прижимного элемента на нем предпочтительно предусмотреть по меньшей мере один уступ, которым он может упираться в первую контакт-деталь. Таким прижимным элементом может служить винт, который своей головкой или при необходимости через прокладку упирается в первую контакт-деталь.
Согласно еще одному варианту изобретения резьбовой участок выполнен в виде наружной резьбы, наружный диаметр которой равен по меньшей мере наибольшему диаметру конического хвостовика. Прижимной элемент имеет при этом внутреннюю полость, в которой по меньшей мере частично размещается вторая контакт-деталь, и по меньшей мере один круговой упор, ориентированный практически поперечно оси второй контакт-детали и взаимодействующий с этой второй контакт-деталью.
При такой конструкции устройства для выполнения электрического соединения конусное соединение защищено прижимным элементом, поскольку последний по меньшей мере частично по типу кожуха закрывает это соединение, защищая его тем самым от воздействия окружающей среды.
Особенно предпочтительным является устройство для выполнения электрического соединения, в котором первая контакт-деталь образована разрезной втулкой. На такую втулку можно навинчивать прижимной элемент, с помощью которого вторая контакт-деталь с коническим отверстием прижимается к коническому хвостовику втулки.
Предпочтительным далее является устройство для выполнения электрического соединения, в котором одна из контакт-деталей, предпочтительно первая контакт-деталь, по меньшей мере частично образована центральным проводником, выступающим из кожуха сотового элемента с электрическим подогревом, предпочтительно каталитического нейтрализатора. Такое устройство обеспечивает подвод тока к каталитическому нейтрализатору.
Угол конусности конического хвостовика, соответственно конического отверстия предпочтительно составляет от 1o до 5o, в частности равен 1,75o. Такой угол конусности позволяет создавать с помощью незначительного момента затяжки высокое контактное усилие между первой и второй контакт-деталями. Угол конусности в указанном интервале особенно предпочтителен, поскольку в этом интервале, в частности при 1,75o, конусное соединение является самотормозящимся. Контакт-детали предпочтительно изготавливать из высококачественной стали. Согласно еще одному предпочтительному варианту конический хвостовик выполнен в форме наружного конуса, а коническое отверстие выполнено в форме внутреннего конуса. При этом такие наружный и внутренний конусы образуют самотормозящееся конусное зажимное соединение.
В соответствии с изобретением предлагается далее способ выполнения электрического соединения, при осуществлении которого сначала на участке конического хвостовика первой контакт-детали располагают вторую контакт-деталь с коническим отверстием. Затем привинчивают прижимной элемент на резьбовой участок, выполненный вблизи конического хвостовика первой контакт-детали, благодаря чему вторая контакт-деталь насаживается на первую контакт-деталь с образованием конусного соединения между ними. Если прижимной элемент должен использоваться как дополнительное стопорное приспособление для самотормозящегося конусного соединения, то его оставляют в его окончательном навинченном положении. Однако этот прижимной элемент после выполнения самотормозящегося конусного соединения можно снять и использовать для изготовления следующих конусных соединений. Выполнение конусного соединения самотормозящимся позволяет упростить технологический процесс.
Другие преимущества и особенности изобретения более подробно поясняются ниже на примере некоторых вариантов его осуществления со ссылкой на прилагаемые чертежи, на которых показано:
на фиг.1 - схематичное изображение первого примера выполнения устройства в разрезе,
на фиг.2 - второй пример выполнения устройства в разрезе,
на фиг. 3 - третий пример выполнения устройства в разрезе с прижимным элементом в виде колпачка и
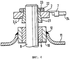
на фиг.4 - четвертый пример выполнения устройства в разрезе с контактной втулкой.
на фиг.1 - схематичное изображение первого примера выполнения устройства в разрезе,
на фиг.2 - второй пример выполнения устройства в разрезе,
на фиг. 3 - третий пример выполнения устройства в разрезе с прижимным элементом в виде колпачка и
на фиг.4 - четвертый пример выполнения устройства в разрезе с контактной втулкой.
Изображенные на фиг. 1-4 варианты исполнения устройства для выполнения электрического соединения поясняются на примере присоединения электрического провода 24 к каталитическому нейтрализатору с электрическим подогревом. Конструкция такого каталитического нейтрализатора описана, например, в WO 92/02714.
На фиг. 1 изображен первый пример исполнения устройства для выполнения электрического соединения. В кожухе 11 выполнено сквозное отверстие, сквозь которое проходит металлическая гильза 10. Эта гильза 10 приварена к кожуху 11. Сварной шов между гильзой 10 и металлическим кожухом 11 обозначен позицией 12. Сквозь гильзу проходит центральный проводник 8. Выступающий в кожух 11 конец этого центрального проводника 8 электрически контактирует с не показанным на чертеже каталитическим нейтрализатором. Выступающий из гильзы 10 над кожухом 11 конец центрального проводника 8 служит для электрического присоединения к электрическому проводу 24, который в свою очередь соединен с не показанным источником напряжения.
Между центральным проводником 8 и гильзой 10 предусмотрена электрическая изоляция 9, благодаря чему гильза 10 электрически отделена от центрального проводника 8. Изоляция 9 может быть выполнена, например, из оксида алюминия.
Выступающий из гильзы 10 над кожухом 11 конец центрального проводника 8 образует первую контакт-деталь 1. Эта первая контакт-деталь 1 имеет конический хвостовик 3. Этот конический хвостовик 3 сужается в направлении от кожуха 11. К коническому хвостовику 3 примыкает резьбовой наконечник 5. На этот резьбовой наконечник 5 навинчен прижимной элемент в форме гайки 6.
На коническом хвостовике 3 контакт-детали 1 расположена вторая контакт-деталь 2. Эта вторая контакт-деталь 2 имеет коническое отверстие 4, соответствующее по форме коническому хвостовику 3. При затяжке гайки 6 вторая контакт-деталь с коническим отверстием 4 насаживается на конический хвостовик 3, образуя в результате самотормозящееся конусное зажимное соединение.
На контакт-детали 2 выполнен лепестковый вывод 7, с помощью которого контакт-деталь 2 соединена с электрическим проводом 24. Лепестковый вывод 7 соединяется с электрическим проводом 24 с помощью резьбового, и/или паяного, и/или сварного соединения.
На фиг.2 показан второй пример исполнения устройства для выполнения электрического соединения. В этом примере концевой участок центрального проводника 8, выступающий из кожуха 11, также образует первую контакт-деталь, которая имеет конический хвостовик 3. Этот конический хвостовик 3 сужается в направлении к выступающему из кожуха 11 торцу. В торце контакт-детали 1 выполнено резьбовое отверстие 13, проходящее в осевом направлении контакт-детали 1, соответственно центрального проводника 8. В указанное резьбовое отверстие 13 ввинчен прижимной элемент в форме винта 14. Между головкой винта 14 и второй контакт-деталью 2 расположена распорная прокладка 15, которая прилегает к контакт-детали 2. Под действием создаваемого при ввинчивании винта 14 в резьбовое отверстие 13 усилия, направленного по оси контакт-детали 1, контактная деталь 2 прижимается через распорную прокладку 15 к коническому хвостовику 3, насаживаясь на него. В смонтированном положении боковая поверхность конического отверстия 4 второй контакт-детали 2 прилегает к боковой поверхности конического хвостовика 3. С контакт-деталью 2 соединен лепестковый вывод 7, служащий для крепления электрического провода 24 на этой контакт-детали 2.
Еще один пример исполнения устройства для выполнения электрического соединения показан на фиг.3. Принципиальная конструкция центрального проводника 8 в сочетании с каталитическим сотовым элементом в примере выполнения по фиг.3 соответствует варианту выполнения по фиг.1, соответственно фиг. 2.
Выступающий из кожуха 11 участок центрального проводника 8 образует первую контакт-деталь 1. Эта контакт-деталь имеет наружную резьбу 16, наружный диаметр которой по меньшей мере равен наибольшему диаметру конического хвостовика 3. С наружной резьбой 16 контакт-детали 1 соединен прижимной элемент 17. Для этой цели на прижимном элементе 17 предусмотрена внутренняя резьба 19. Прижимной элемент 17 выполнен трубчатым. Внутри его полости 18 размещается вторая контакт-деталь 2. На противоположном от внутренней резьбы 19 конце прижимного элемента 17 выполнен круговой упор 20. Этот упор 20 взаимодействует со второй контакт-деталью 2. Во второй контакт-детали 2 в свою очередь предусмотрено коническое отверстие 4, которое, как показано на фиг. 3, прилегает к коническому хвостовику 3 первой контакт-детали 1. С контакт-деталью 2 соединен электрический провод 24, который проходит сквозь отверстие 25, ограниченное упором 20. Прижимной элемент 17 окружает конусное зажимное соединение между первой 1 и второй 2 контакт-деталями.
На фиг.4 показан кожух 11, сквозь который проходит металлическая гильза 10. Эта гильза 10 приварена к кожуху 11. Через гильзу 10 пропущен центральный проводник 8, выполненный в форме стержня. Выступающий внутрь кожуха 11 конец центрального проводника 8 электрически контактирует с не показанным на чертеже каталитическим нейтрализатором. Между центральным проводником 8 и гильзой 10 предусмотрена электрическая изоляция 9, благодаря которой гильза 10 электрически отделена от центрального проводника 8. Такая конструкция стержневого центрального проводника 8 известна, например, из статьи P.F. W. Maus и др., опубликованной в SAE TECHNICAL PAPER SERIES 940465.
На выступающем из кожуха 11 концевом участке стержневого центрального проводника 8 расположена разрезная втулка 21. Эта втулка 21 имеет конический хвостовик 3. Кроме того, втулка 21 имеет цилиндрический участок с наружной резьбой 23. Наружный диаметр наружной резьбы 23 не превышает наименьшего диаметра конического хвостовика 3 во втулке 21. На наружную резьбу 23 навинчена гайка 22, с помощью которой вторая контакт-деталь 2 коническим отверстием 4 насаживается на конический хвостовик 3 втулки 21. Под действием контакт-детали 2 происходит обжатие разрезной втулки 21, благодаря чему между этой втулкой 21 и стержневым центральным проводником 8 образуется электрическое и механическое соединение. Электрическое и механическое соединение создается также между втулкой 21 и второй контакт-деталью 2. Вторая контакт-деталь 2, в свою очередь, соединена с электрическим проводником 24.
Описанные выше предпочтительные варианты конструкций устройства для выполнения электрического соединения пригодны, в частности, для электрического подсоединения к центральному проводнику каталитического нейтрализатора. Электрический центральный проводник 8 соединен с металлическим сотовым элементом, например, сваркой или пайкой твердым припоем. При формировании и при пайке конусного зажимного соединения место соединения между центральным проводником 8 и металлическим сотовым элементом не подвергается действию нагрузок совсем или подвергается действию лишь незначительных нагрузок, поскольку необходимое для выполнения электрического соединения усилие направлено практически перпендикулярно центральному проводнику 8.
В контексте настоящего описания под понятием "конический" подразумевается не только поверхность в форме конуса, соответственно усеченного конуса в строго геометрическом смысле, но также и поверхности таких форм, с помощью которых может быть создано зажимное соединение между первой и второй контакт-деталями. При этом речь может идти о поверхностях, например, в форме призмы, предпочтительно трехгранной призмы, или в форме пирамиды.
Claims (14)
1. Устройство для выполнения электрического соединения, содержащее первую (1, 21) и вторую (2) контакт-детали, причем контакт-деталь (1, 21) имеет конический хвостовик (3), а вторая контакт-деталь (2) имеет коническое отверстие (4), отличающееся тем, что боковая поверхность конического хвостовика (3) и боковая поверхность конического отверстия (4) выполнены с таким определяемым в зависимости от материалов сопряженных поверхностей и/или характера поверхностей первой и второй контакт-деталей (1, 21, 2) углом конусности, что первая контакт-деталь (1, 21) и вторая контакт-деталь (2) образуют самотормозящееся конусное соединение.
2. Устройство по п. 1, отличающееся тем, что первая контакт-деталь (1, 21) имеет вблизи конического хвостовика (3) резьбовой участок (5, 13, 16, 23), который для образования конусного соединения выполнен с возможностью резьбового соединения с прижимным элементом (6, 14, 17, 22).
3. Устройство по п. 2, отличающееся тем, что резьбовой участок выполнен в виде резьбового наконечника (5), наружный диаметр резьбы которого не превышает наименьшего диаметра конического отверстия (4).
4. Устройство по п. 2, отличающееся тем, что резьбовой участок выполнен в виде резьбового отверстия (13), проходящего вдоль конического хвостовика (3).
5. Устройство по пп. 2, 3 или 4, отличающееся тем, что прижимной элемент (6, 14, 22) является унифицированным сборочным элементом.
6. Устройство по пп. 2, 3 или 4, отличающееся тем, что прижимной элемент (6, 14, 17, 22) является крепежным элементом.
7. Устройство по пп. 3 и 6, отличающееся тем, что крепежный элемент является гайкой (6, 22).
8. Устройство по пп. 4 и 6, отличающееся тем, что крепежный элемент является винтом (14).
9. Устройство по п. 2, отличающееся тем, что резьбовой участок выполнен в виде наружной резьбы (16), наружный диаметр которой равен по меньшей мере наибольшему диаметру конического хвостовика (3), причем прижимной элемент (17) имеет внутреннюю полость (18), в которой по меньшей мере частично размещается вторая контакт-деталь (2), и по меньшей мере один, предпочтительно круговой упор (20), ориентированный практически поперечно оси второй контакт-детали (2) и взаимодействующий с этой второй контакт-деталью (2).
10. Устройство по п. 1, отличающееся наличием первой контакт-детали, выполненной в виде разрезной втулки (21) с коническим хвостовиком (3), второй контакт-детали (2) с коническим отверстием (4) и навинчиваемого на втулку (21) прижимного элемента (22), с помощью которого вторая контакт-деталь (2) прижимается к коническому хвостовику (3).
11. Устройство по любому из пп. 1-10, отличающееся тем, что одна из контакт-деталей (1, 21, 2), предпочтительно первая контакт-деталь (1, 21), по меньшей мере частично образована центральным проводником (8), выступающим из кожуха (11) сотового элемента с электрическим подогревом, предпочтительно каталитического нейтрализатора.
12. Устройство по любому из пп. 1-11, отличающееся тем, что угол конусности лежит в пределах от 1 до 5o, предпочтительно составляет 1,75o.
13. Устройство по любому из пп. 1-12, отличающееся тем, что конический хвостовик (3) выполнен в форме наружного конуса, а коническое отверстие (4) выполнено в форме внутреннего конуса.
14. Способ выполнения электрического соединения с устройством по любому из пп. 1-13, заключающийся в том, что на участке конического хвостовика (3) первой контакт-детали (1, 21) располагают вторую контакт-деталь (2) с коническим отверстием (4) и привинчивают прижимной элемент (6, 14, 17, 22) на резьбовой участок (5, 13, 16, 23), выполненный вблизи конического хвостовика (3) первой контакт-детали (1, 21), таким образом, что вторая контакт-деталь (2) насаживается на первую контакт-деталь (1, 21) с образованием самотормозящегося конусного соединения между первой и второй контакт-деталями (1, 21, 2), после чего прижимной элемент (6, 14, 17, 22) либо оставляют в его окончательном навинченном положении и используют как дополнительное стопорное приспособление для самотормозящегося конусного соединения, либо снимают.
Applications Claiming Priority (2)
| Application Number | Priority Date | Filing Date | Title |
|---|---|---|---|
| DE19622406.3 | 1996-06-04 | ||
| DE19622406A DE19622406A1 (de) | 1996-06-04 | 1996-06-04 | Einrichtung zur Ausbildung einer elektrischen Verbindung |
Publications (2)
| Publication Number | Publication Date |
|---|---|
| RU99100281A RU99100281A (ru) | 2001-01-10 |
| RU2196373C2 true RU2196373C2 (ru) | 2003-01-10 |
Family
ID=7796114
Family Applications (1)
| Application Number | Title | Priority Date | Filing Date |
|---|---|---|---|
| RU99100281/09A RU2196373C2 (ru) | 1996-06-04 | 1997-06-03 | Устройство и способ для выполнения электрического соединения |
Country Status (6)
| Country | Link |
|---|---|
| EP (1) | EP0902991B1 (ru) |
| JP (1) | JP2000511685A (ru) |
| CN (1) | CN1221518A (ru) |
| DE (2) | DE19622406A1 (ru) |
| RU (1) | RU2196373C2 (ru) |
| WO (1) | WO1997047057A1 (ru) |
Families Citing this family (9)
| Publication number | Priority date | Publication date | Assignee | Title |
|---|---|---|---|---|
| DE102012005786A1 (de) | 2012-03-21 | 2013-09-26 | Emitec Gesellschaft Für Emissionstechnologie Mbh | Verdrehsicherer elektrischer Anschluss, insbesondere für einen elektrisch beheizbaren Wabenkörper |
| DE102016209282B4 (de) | 2016-05-30 | 2023-01-12 | Vitesco Technologies GmbH | Elektrischer Anschluss, insbesondere für einen elektrisch beheizbaren Wabenkörper |
| RU176541U1 (ru) * | 2017-07-10 | 2018-01-23 | Общество с ограниченной ответственностью "Информационные технологии" (ООО "ИнфоТех") | Штепсельный узел электрической рельсовой цепи для установки в отверстия с повышенным полем допуска |
| EP3696917B1 (en) * | 2019-02-12 | 2022-08-31 | AIRBUS HELICOPTERS DEUTSCHLAND GmbH | An electrical connector system |
| HUE068884T2 (hu) | 2020-01-14 | 2025-01-28 | Hidria D O O | Elektromos csatlakozás |
| DE102020206293A1 (de) | 2020-05-19 | 2021-11-25 | Vitesco Technologies GmbH | Elektrische Durchführung |
| RU204624U1 (ru) * | 2021-03-25 | 2021-06-02 | Общество с ограниченной ответственностью "Информационные технологии" (ООО "ИнфоТех") | Штепсельный узел электрической рельсовой цепи универсальный |
| DE102021121835A1 (de) | 2021-08-24 | 2023-03-02 | Purem GmbH | Anschlusseinheit |
| DE102022113905A1 (de) | 2022-06-02 | 2023-12-07 | Purem GmbH | Anschlusseinheit |
Citations (2)
| Publication number | Priority date | Publication date | Assignee | Title |
|---|---|---|---|---|
| FR740843A (fr) * | 1932-08-01 | 1933-02-01 | Expanding Battery Post Company | Bloque-câble pour batteries d'accumulateurs |
| GB449934A (en) * | 1935-05-15 | 1936-07-07 | Gen Electric Co Ltd | Improvements in electrical connections |
Family Cites Families (4)
| Publication number | Priority date | Publication date | Assignee | Title |
|---|---|---|---|---|
| US3457542A (en) * | 1967-10-02 | 1969-07-22 | Raymond J Wolf | Battery terminal connector |
| US3663927A (en) * | 1970-02-19 | 1972-05-16 | Amp Inc | Battery terminal |
| JPH06182224A (ja) * | 1992-09-18 | 1994-07-05 | Nippondenso Co Ltd | 自己発熱型ハニカムフィルタ |
| DE19505727A1 (de) * | 1995-02-20 | 1996-08-22 | Emitec Emissionstechnologie | Vorrichtung zur katalytischen Umsetzung von Abgasen in einem Abgassystem |
-
1996
- 1996-06-04 DE DE19622406A patent/DE19622406A1/de not_active Withdrawn
-
1997
- 1997-06-03 WO PCT/EP1997/002873 patent/WO1997047057A1/de not_active Ceased
- 1997-06-03 EP EP97927116A patent/EP0902991B1/de not_active Expired - Lifetime
- 1997-06-03 DE DE59702350T patent/DE59702350D1/de not_active Expired - Lifetime
- 1997-06-03 CN CN97195258A patent/CN1221518A/zh active Pending
- 1997-06-03 RU RU99100281/09A patent/RU2196373C2/ru not_active IP Right Cessation
- 1997-06-03 JP JP10500221A patent/JP2000511685A/ja active Pending
Patent Citations (2)
| Publication number | Priority date | Publication date | Assignee | Title |
|---|---|---|---|---|
| FR740843A (fr) * | 1932-08-01 | 1933-02-01 | Expanding Battery Post Company | Bloque-câble pour batteries d'accumulateurs |
| GB449934A (en) * | 1935-05-15 | 1936-07-07 | Gen Electric Co Ltd | Improvements in electrical connections |
Also Published As
| Publication number | Publication date |
|---|---|
| EP0902991A1 (de) | 1999-03-24 |
| JP2000511685A (ja) | 2000-09-05 |
| CN1221518A (zh) | 1999-06-30 |
| WO1997047057A1 (de) | 1997-12-11 |
| DE19622406A1 (de) | 1997-12-11 |
| EP0902991B1 (de) | 2000-09-13 |
| DE59702350D1 (de) | 2000-10-19 |
Similar Documents
| Publication | Publication Date | Title |
|---|---|---|
| RU2196373C2 (ru) | Устройство и способ для выполнения электрического соединения | |
| CN104205504B (zh) | 特别用于电加热蜂窝体的防旋转式固定的电连接件 | |
| CA2623079C (en) | Composite conductor, in particular for glow plugs for diesel engines | |
| EP0624791A1 (en) | Exhaust sensor with tubular shell | |
| US4112577A (en) | Method of making electric heater | |
| US8552628B2 (en) | High thread spark plug with undercut insulator | |
| US6759796B2 (en) | Compact spark plug and method for its production | |
| DE10238628A1 (de) | Keramisch isolierter Hochtemperatursensor | |
| WO2005061963A1 (ja) | セラミックスヒータ型グロープラグ | |
| US6060699A (en) | Electrode structure for high temperature heated body | |
| US20160003649A1 (en) | Sensor and sensor mounting structure | |
| KR100496768B1 (ko) | 전기접속부형성장치및방법 | |
| US20140355653A1 (en) | Exhaust gas temperature sensor | |
| RU99100281A (ru) | Устройство и способ для выполнения электрического соединения | |
| US20040084435A1 (en) | Electrically-heated glowplug and method for production of an electrically-heated glowplug | |
| JP7741968B2 (ja) | セグメント化された電気フィードスルー | |
| US20120104927A1 (en) | Spark plug with undercut insulator | |
| CN2087390U (zh) | 螺杆形端子的电流接头 | |
| US20090050479A1 (en) | Exhaust gas sensor | |
| KR20250022207A (ko) | 분할형 전기 피드스루 | |
| JPH11270849A (ja) | イオン電流検出用グロープラグ | |
| JPS63311022A (ja) | セラミツクグロ−プラグ | |
| JPS6126770Y2 (ru) | ||
| US20020079801A1 (en) | Spark plug having a central electrode which is welded or soldered on and method for its production | |
| JPH0714717Y2 (ja) | 配管継手構造 |
Legal Events
| Date | Code | Title | Description |
|---|---|---|---|
| MM4A | The patent is invalid due to non-payment of fees |
Effective date: 20150604 |