RU2189309C1 - Передвижная универсальная строительная установка - Google Patents
Передвижная универсальная строительная установка Download PDFInfo
- Publication number
- RU2189309C1 RU2189309C1 RU2001100199A RU2001100199A RU2189309C1 RU 2189309 C1 RU2189309 C1 RU 2189309C1 RU 2001100199 A RU2001100199 A RU 2001100199A RU 2001100199 A RU2001100199 A RU 2001100199A RU 2189309 C1 RU2189309 C1 RU 2189309C1
- Authority
- RU
- Russia
- Prior art keywords
- water
- foam
- mixer
- unit
- foaming liquid
- Prior art date
Links
- 238000010276 construction Methods 0.000 title claims abstract description 18
- XLYOFNOQVPJJNP-UHFFFAOYSA-N water Substances O XLYOFNOQVPJJNP-UHFFFAOYSA-N 0.000 claims abstract description 81
- 239000006260 foam Substances 0.000 claims abstract description 49
- 239000011381 foam concrete Substances 0.000 claims abstract description 37
- 239000007788 liquid Substances 0.000 claims abstract description 31
- 238000005187 foaming Methods 0.000 claims abstract description 27
- 238000011010 flushing procedure Methods 0.000 claims abstract description 21
- 239000004570 mortar (masonry) Substances 0.000 claims abstract description 20
- 238000004519 manufacturing process Methods 0.000 claims abstract description 15
- 239000004567 concrete Substances 0.000 claims abstract description 12
- 239000004568 cement Substances 0.000 claims abstract description 11
- 239000004576 sand Substances 0.000 claims abstract description 11
- 238000009434 installation Methods 0.000 claims description 42
- 238000005406 washing Methods 0.000 claims description 15
- 230000005611 electricity Effects 0.000 claims description 9
- 238000011068 loading method Methods 0.000 claims description 3
- 239000002283 diesel fuel Substances 0.000 claims description 2
- 238000002360 preparation method Methods 0.000 abstract description 17
- 230000000694 effects Effects 0.000 abstract description 2
- 239000000126 substance Substances 0.000 abstract 1
- 239000000203 mixture Substances 0.000 description 8
- -1 plastering Substances 0.000 description 4
- 238000005086 pumping Methods 0.000 description 4
- 239000004575 stone Substances 0.000 description 4
- 238000010586 diagram Methods 0.000 description 3
- 238000009429 electrical wiring Methods 0.000 description 3
- 238000004080 punching Methods 0.000 description 3
- 239000003463 adsorbent Substances 0.000 description 2
- 238000005516 engineering process Methods 0.000 description 2
- 239000003337 fertilizer Substances 0.000 description 2
- 238000011049 filling Methods 0.000 description 2
- 230000009970 fire resistant effect Effects 0.000 description 2
- 238000007667 floating Methods 0.000 description 2
- 239000008187 granular material Substances 0.000 description 2
- 238000009413 insulation Methods 0.000 description 2
- 239000002689 soil Substances 0.000 description 2
- 238000006424 Flood reaction Methods 0.000 description 1
- 230000002411 adverse Effects 0.000 description 1
- 238000005253 cladding Methods 0.000 description 1
- 239000012141 concentrate Substances 0.000 description 1
- 230000001276 controlling effect Effects 0.000 description 1
- 238000009826 distribution Methods 0.000 description 1
- 238000010292 electrical insulation Methods 0.000 description 1
- 239000000463 material Substances 0.000 description 1
- 238000002156 mixing Methods 0.000 description 1
- 230000001105 regulatory effect Effects 0.000 description 1
Images
Landscapes
- Preparation Of Clay, And Manufacture Of Mixtures Containing Clay Or Cement (AREA)
Abstract
Изобретение относится к области строительства, а именно к устройствам для приготовления пенобетонных смесей. Изобретение позволит улучшить ее ремонтопригодность и повысить экономичность за счет использования воды после промывки. Передвижная универсальная строительная установка содержит платформу с колесами, на которой смонтированы пеногенератор, емкость для пенообразующей жидкости, емкость для чистой воды, смеситель принудительного действия с бетононасосом, конвейер с бункером-дозатором для подачи цемента и песка в смеситель и пульт управления. Она снабжена емкостью для сбора воды после промывки всей системы от остатков пены, пенообразующей жидкости, пенобетона, строительных растворов, с возможностью использования этой промывочной жидкости для производства пенобетона и строительных растворов, автономной электростанцией. Пеногенератор, емкость для пенообразующей жидкости, емкость для чистой воды, емкость для сбора воды после промывки системы, автономная электростанция и смеситель принудительного действия выполнены по модульной схеме в виде отдельных быстросъемных и быстро устанавливаемых автономных блоков коробчатого типа, смонтированных вместе на одной общей платформе с колесами, по концам которой имеются выносные регулируемые по высоте аутригеры. Блок пеногенератора, блок для пенообразующей жидкости, блок для чистой воды, блок для сбора воды после промывки системы, блок автономной электростанции имеют преимущественно квадратное или прямоугольное сечение. Блок смесителя принудительного действия выполнен выносным с куполообразными дном и крышкой. 5 з.п. ф-лы. 11 ил.
Description
Предлагаемое изобретение относится к области строительства и может быть использовано для приготовления пенобетона в широком диапазоне его плотности, приготовления различного рода строительных растворов, их транспортировки и подачи непосредственно на строительный объект, для производства каменных, штукатурных, отделочных, облицовочных работ, для снабжения строительного объекта автономной электроэнергией, сжатым воздухом, чистой водой, а также водой после промывки системы от остатков пенобетона и строительных растворов, для утепления, для пробивки строительных отверстий, для перекачивания воды, для получения противопожарной пены, для изготовления электроизоляционных, электротехнических, пожароустойчивых и водоплавающих изделий, для приготовления сверхтекучих масс, способных к затвердеванию при консервации шахт и заполнении пустот, для подготовки полосы при аварийной посадке самолета, для внесения в почву удобрений с помощью адсорбентов (гранул из пенобетона).
Известны аналоги [1, 2, 3, 4, 5, 6, 7] предназначенные в основном для приготовления, транспортировки и подачи на объект пенобетона. Но эти аналоги не обладают универсальностью. Так например, аналог (1) - "Мобильный комплекс МКП5-6/18.00.00РЭ Краснодарской научно-производственной фирмы "Газблок" предназначен только для производства и транспортировки ячеистого бетона, но не для производства каменных, штукатурных, отделочных, облицовочных работ. Этот аналог не предназначен для перекачивания воды, для пробивки строительных отверстий, для снабжения строительных объектов автономной электроэнергией, противопожарной пеной, сжатым воздухом, чистой водой, а также водой после промывки системы от остатков пенобетона и строительных растворов.
Недостаточной универсальностью обладают и остальные аналоги [2, 3, 4, 5, 6, 7].
Наиболее близким по технической сущности и достигаемому эффекту является "Передвижной комплекс по приготовлению пенобетона" (прототип), с помощью которого можно изготавливать различного рода строительные растворы, осуществлять их транспортировку и подачу на строительный объект для производства каменных, штукатурных, отделочных, облицовочных работ, получать противопожарную пену, производить утепление, изготавливать электроизоляционные, электротехнические, пожароустойчивые и водоплавающие изделия, приготавливать сверхтекучие массы, способные к затвердеванию при консервации шахт и заполнении пустот, подготавливать полосы при аварийной посадке самолета, вносить в почву удобрения с помощью адсорбентов (гранул из пенобетона). Подробно об этом смотри информацию на стр. 4 самого близкого аналога [8].
Однако и эту универсальность прототипа [8] можно максимально расширить, что и является одной из задач заявленного объекта.
Прототип [8] состоит из платформы с колесами, на которой смонтированы пеногенератор, емкость для пенообразующей жидкости, емкость для чистой воды, смеситель принудительного действия с бетононасосом, конвейер с бункером-дозатором для подачи цемента и песка в смеситель и пульт управления.
Недостатком конструкции прототипа [8] является то, что в ее составе нет емкости для сбора воды после промывки всей системы от остатков пенобетона и строительных растворов, и эта промывочная вода не используется в дальнейшем для получения пенобетона и строительных растворов в самой установке и не подается на строительный объект для производства различных строительных работ. Недостатком прототипа [8] является также отсутствие в установке автономной электростанции, что снижает ее универсальность.
Но самым главным недостатком известной установки является ее плохая ремонтопригодность. Дело в том, что при производстве ремонтных работ тратится очень много сил и времени на замену вышедших из строя отдельных элементов и частей установки, так как они не выполнены в виде отдельных быстросъемных блоков (модулей). Поэтому при конструировании, проектировщики не могут выбрать оптимальный вариант расположения основных элементов установки, что отрицательно сказывается при ее эксплуатации и уменьшает ее ремонтопригодность. Кроме того, в прототипе [8] не предусмотрены отводы от установки для подачи на стройплощадку автономной электроэнергии, сжатого воздуха, чистой воды, пенообразующей жидкости, воды после промывки системы.
Существенным недостатком прототипа [8] является то, что в конструкции смесителя не предусмотрен автоматический контроль за пеной в смесителе при производстве пенобетона, и очень часто эта пена выходит из верха смесителя и заливает его.
Одной из задач заявленного объекта является устранение вышеуказанных недостатков конструкции прототипа [8].
Поставленные задачи решаются тем, что в известной передвижной универсальной строительной установке, состоящей из платформы с колесами, на которой смонтированы пеногенератор, емкость для пенообразующей жидкости, емкость для чистой воды, смеситель принудительного действия с бетононасосом, конвейер с бункером-дозатором для подачи цемента и песка в смеситель, и пульт управления, в нее дополнительно включена емкость для сбора воды после промывки всей системы от остатков пены, пенообразующей жидкости, пенобетона, строительных растворов, с возможностью использования этой промывочной воды для производства пенобетона и строительных растворов, а также дополнительно включена автономная электростанция, работающая на бензине или дизтопливе, причем пеногенератор, емкость для пенообразующей жидкости, емкость для чистой воды, емкость для сбора воды после промывки системы, автономная электростанция и смеситель принудительного действия выполнены по модульной схеме в виде отдельных быстросъемных и быстро устанавливаемых автономных блоков коробчатого типа, смонтированных вместе на одной общей платформе с колесами, по концам которой имеются выносные регулирующие по высоте аутригеры, причем блок пеногенератора, блок для пенообразующей жидкости, блок для чистой воды, блок для сбора воды после промывки системы, блок автономной электростанции, имеют преимущественно квадратное или прямоугольное сечение, и эти блоки контактируют между собой своими боковыми поверхностями и расположены рядом друг с другом или один над другим, а блок смесителя принудительного действия выполнен выносным с куполообразным дном и крышкой и контактирует с другими блоками своим торцом, причем куполообразная крышка смесителя выполнена двухстворчатой с микровыключателями ее подъема, а съемный конвейер с бункером-дозатором для подачи в смеситель цемента и песка выполнен с возможностью его поворота на 360 градусов вокруг вертикальной оси загрузочного люка смесителя.
Другое отличие состоит в том, что каждый блок пеногенератора, пенообразующей жидкости, чистой воды, и сбора воды после промывки системы оборудован насосом принудительного действия с возможностью подачи от них под давлением пены, пенообразующей жидкости, чистой воды и воды после промывки системы непосредственно, как в любой блок установки, так и на стройплощадку (объект).
Кроме того, блоки установки имеют отводы с регулируемой запорной арматурой для подачи от них на стройплощадку (объект) сжатого воздуха, пены, и в том числе противопожарной, чистой воды, воды после промывки системы, пенообразующей жидкости, пенобетона, различного рода строительных растворов, а также электроэнергии от автономной электростанции.
При этом все автономные блоки установки и пульт управления соединены между собой быстроразъемной системой электропроводки и быстроразъемной системой трубопроводов и шлангов.
Дополнительное отличие состоит в том, что пульт управления блока автономной электростанции выполнен с возможностью подключения установки к внешним электрическим сетям.
Кроме того, блок смесителя принудительного действия оборудован шнеком, а конвейер с бункером-дозатором имеет транспортную ленту ковшового типа.
Технический результат, получаемый от заявленного объекта, заключается в следующем:
1. Блочная схема компоновки основных элементов установки, выполненная по модульному принципу, позволяет улучшить ее ремонтопригодность, т.к. по сравнению с прототипом на замену вышедших из строя основных элементов установки требуется меньше времени и сил.
1. Блочная схема компоновки основных элементов установки, выполненная по модульному принципу, позволяет улучшить ее ремонтопригодность, т.к. по сравнению с прототипом на замену вышедших из строя основных элементов установки требуется меньше времени и сил.
2. Повторное использование воды после промывки системы для приготовления пенобетонной смеси и строительных растворов позволяет повысить ее экономичность.
3. Расширение универсальности установки за счет подачи на объект сжатого воздуха, противопожарной пены, автономной электроэнергии, воды.
Суть предложения поясняется графическими материалами где
на фиг.1 в схематическом виде представлена установка, вид спереди;
на фиг.2 - то же, вид установки в плане;
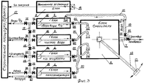
на фиг. 3 в схематическом виде дана принципиальная схема расположенная блоков установки с их взаимосвязью и отводами от них на стройплощадку сжатого воздуха, пены (и в том числе противопожарной пены), чистой воды, пенообразующей жидкости, различного рода строительных растворов, пенобетона, автономной электроэнергии и воды после промывки системы, причем на чертеже эта вода представлена как "вода б/у".
на фиг.1 в схематическом виде представлена установка, вид спереди;
на фиг.2 - то же, вид установки в плане;
на фиг. 3 в схематическом виде дана принципиальная схема расположенная блоков установки с их взаимосвязью и отводами от них на стройплощадку сжатого воздуха, пены (и в том числе противопожарной пены), чистой воды, пенообразующей жидкости, различного рода строительных растворов, пенобетона, автономной электроэнергии и воды после промывки системы, причем на чертеже эта вода представлена как "вода б/у".
на фиг. 4, 5, 6, 7, 8, 9, 10 в схематическом виде представлены варианты компоновки блоков: пеногенератора, пенообразующей жидкости, чистой воды, воды после промывки системы, автономной электростанции, контактирующими друг с другом своими боковыми поверхностями и расположенных рядом друг с другом или один над другим.
Эти блоки имеют преимущественно квадратное или прямоугольное сечение. Так, на фиг.4. представлена схема расположения блоков рядом друг с другом, а на фиг.5, 6, 7, 8, 9, 10 - расположения блоков один над другим, причем, например, емкость для чистой воды в установке может быть расположена вертикально по центру блоков (фиг.6), с левой (фиг.5), или правой (фиг.7) стороны. Этот же блок может быть расположен горизонтально по центру блоков (фиг. 9), над блоками (фиг.8) или под блоками (фиг.10). Аналогичные варианты компоновки блоков и их различные на этих чертежах сочетания представлены и с другими блоками установки.
на фиг. 11 в схематическом виде в аксонометрической проекции изображен смеситель принудительного действия с бетононасосом, оборудованный двухстворчатыми куполообразными крышками с микровыключателями их подъема.
Примечание: на фиг. 1, 2, 3, 11 условно не показано на чертежах, что смеситель принудительного действия имеет электромотор, оборудован шнеком, а конвейер с бункером-дозатором имеет транспортную ленту ковшового типа. Кроме того, на этих чертежах условно не показано, что все блоки установки и пульт управления соединены между собой быстроразъемной и быстросоединяемой системой трубопроводов, шлангов и электропроводки.
Передвижная универсальная строительная установка (фиг.1, фиг.2) состоит из: блока - 1 пеногенератора, блока - 2 для пенообразующей жидкости, блока - 3 для чистой воды, блока - 4 для сбора воды после промывки системы, блока - 5 автономной электростанции, блока -6 смесителя принудительного действия с бетононасосом - 7, смонтированных вместе на одной платформе - 8 с колесами - 9 с выносными регулируемыми по высоте аутригерами - 10.
Вокруг вертикальной оси загрузочного люка - 11, блока - 6, - может поворачиваться на 360 градусов съемной конвейер - 12 с бункером - дозатором для подачи в блок - 6 смесителя цемента и песка, а своей верхней части блок - 6 смесителя имеет двухстворчатые куполообразные крышки - 14 с микровыключателями - 15 их подъема.
Блоки 1, 2, 3, 4 имеют насосы - 16 (фиг.3)принудительного действия с возможностью подачи от них под давлением пены, пенообразующей жидкости, чистой воды, и воды после промывки системы непосредственно, как любой блок установки вне зависимости от его компоновки, так и на стройплощадку (объект) - 17 (фиг.3).
Туда же может подаваться автономная электроэнергия от блока - 5, с пульта - 18 управления и распределения электроэнергии. Пульт - 18 выполнен с возможностью подключения установки к внешним электрическим сетям.
Все блоки установки соединены между собой быстроразъемной системой электропроводки (она на чертеже условно не показана) и быстроразъемной системой трубопроводов - 19, шлангов - 20 с регулируемой запорной арматурой, - вентилями: 21, 22, 23, 24, 25, 26, 27, 28, 29, 30, 31, 32, 33, 34, 35, 36, 37, 38.
Передвижная универсальная строительная установка работает следующим образом.
Приготовление пенобетонной смеси: в блоке - 2 приготавливают пенообразующую жидкость из пеноконцентрата и воды. Чистую воды подают в блок - 2 из блока - 3 путем включения насоса - 16 блока - 3 и по трубопроводу - 19 с открытием вентилей 30, 31, 32. Затем пенообразующую жидкость из блока - 2 его насосом - 16 по трубопроводу - 19 с открытыми вентилями 28, 29, 30 подаются в блок - 1 пеногенератора. Одновременно с помощью конвейера - 12 и бункера дозатора - 13 через загрузочное отверстие - 11 в блок - 6 смесителя подают цемент и песок. Туда же из блока - 3 по трубопроводу - 19, шлангу - 20 через открытый вентиль - 25 подают воду путем включения насоса - 16 блока - 3.
В блок - 6 смесителя может подаваться и вода, собранная после промывки системы в блоке - 4. Для этого открывают вентиль - 26 и включают насос - 16. После включения электромотора шнека (на чертеже они условно не показаны) смесителя - 6 в него подают пену из блока - 1 его насосом по шлангу - 20 путем открытия вентиля - 23.
При перемешивании в блоке - 6 смесителя песка, цемента, воды и пены получают пенобетонную смесь, которую с помощью бетононасоса - 7 через открытый вентиль - 21 подают на объект - 17. При приготовлении пенобетонной смеси очень часто пена выходит из верхней части смесителя - 6 и заливает его. Для предотвращения этого явления (см. фиг.11) верхняя крышка - 14 смесителя - 6 выполнена куполообразной, двухстворчатой и оборудована микровыключателями - 15 ее подъема. При подъеме крышки - 14 пеной автоматически выключается насос - 16 блока - 1 и прекращается подача пены в блок - 6 смесителя.
Приготовление строительных растворов. Технология приготовления строительных растворов аналогична технологии приготовления пенобетонной смеси, но для этого и блок - 6 смесителя не подают пену, а подают только цемент, песок, чистую воду, или воду после промывки системы. Плотность, вязкость и другие параметры смеси регулируют путем изменения соотношений воды, цемента и песка в зависимости от назначения строительного раствора.
Готовый строительный раствор с помощью бетононасоса - 7 через открытый вентиль - 21 подают на объект - 17.
Промывка системы установки от остатков пены, пенообразующей жидкости, пенобетонной или бетонной смеси выполнена с возможностью осуществлять эту промывку, как каждого блока в отдельности, так и с возможностью производить промывку всех блоков системы одновременно со сбором промывочной воды.
В последнем случае промывку всей системы производят следующим образом: открывают вентили 23, 24, 25, 28, 29, 30, 31, 32 (см. фиг.3) включают насос - 16 блока - 3, и чистая вода поступает одновременно в блок - 1 и в блок - 2, промывает их, а затем по шлангам - 20 поступает в блок - 6 и промывает его. Затем открывают вентиль - 22 включают бетононасос - 7, и вода после промывки всей системы (вода б/у, см. фиг.3) по шлангу - 20 поступает в блок - 4 для ее сбора. Можно промывать и каждый блок в отдельности. Например, для промывки только блока - 6 смесителя открывают вентили 22, 25 включают насосы - 16, 7, и чистая вода промывает только блок - 6, а затем собирается в блоке - 4.
Для промывки только блока - 1 открывают вентили 22, 23, 28, 29, 31, 32 включают насосы 16, 7 и чистая вода промывает только блок -1, а затем собирается в блоке - 4.
Для промывки только блока - 2 открывают вентили 22, 24, 30, 31, 32, включают насосы 16, 7 и чистая вода промывает только блок - 2, а затем собирается в блоке - 4.
Снабжение стройплощадки (объекта): от передвижной универсальной строительной установки стройплощадку (объект) - 17 можно снабжать (см. фиг.3) автономной электроэнергией, водой после промывки системы (вода б/у), чистой водой, пенообразующей жидкостью, пеной (и в том числе и противопожарной пеной) пенобетонной смесью, и различными строительными растворами.
Для снабжения объекта - 17 водой после промывки системы открывают вентиль - 35 и включают насос -15 блока - 4.
Для снабжения объекта чистой водой открывают вентиль - 36 и включают насос - 16 блока - 3. Для снабжения объекта - 17 пенообразующей жидкостью открывают вентиль - 37 и включают насос - 16 блока - 2.
Для снабжения объекта - 17 сжатым воздухом открывают вентиль - 27 и сжатый воздух от компрессора блока - 1 (на чертеже он условно не показан) пеногенератора поступает на объект - 17. Для снабжения объекта - 17 пеной (в том числе и противопожарной) открывают вентиль - 37 и включают насос - 16 блока - 1. Противопожарная пена производится в блоке - 1 пеногенератора, но для этой цели приготавливают специальную противопожарную пенообразующую жидкость в блоке - 2, а затем подают ее в блок - 1 пеногенератора.
Для пробивки строительных отверстий используют сжатый воздух от блока - 1 или автономную электроэнергию, которую подают от пульта управления - 18 блока - 5. Пульт управления - 18 блока - 5 выполнен с возможностью подключения установки к внешним электрическим сетям.
Для перекачивания воды используют блок - 3 с его насосом - 16. Для этого отключают шланг - 20 блока - 3 от блока - 6, помещают его в источник воды, требующий перекачки, открывают вентили 25, 32, 36, включают насос - 16 блока - 3 и воду перекачивают на объект - 17.
Кроме того, передвижная универсальная строительная установка прямо на объект - 17 подает бетононасосом - 7 через вентиль - 21 пенобетонную смесь для производства пенобетона или различные строительные растворы (см. фиг.3) для производства каменных, штукатурных, отделочных и облицовочных работ.
Общий технический результат, получаемый от заявленного объекта, состоит в расширении универсальности установки, улучшении ее ремонтопригодности за счет применения модульной системы блоков, и экономичности за счет повторного использования воды после промывки системы.
Источники информации
1. Мобильный комплекс приготовления и подачи ячеистого бетона типа МКП5-6/18.00.00РЭ Краснодарской научно-производственной фирмы "Газблок".
1. Мобильный комплекс приготовления и подачи ячеистого бетона типа МКП5-6/18.00.00РЭ Краснодарской научно-производственной фирмы "Газблок".
2. Установка для приготовления пенобетона экспериментальной научно-производственной фирмы "Рубин" (газета "Строительный комплекс" 12(78), 1997 г., стр.4).
3. Установка для приготовления пенобетона (рекламный проспект) АО ВНИИ-С гром им. Будникова (140080, Московская обл., пос. Красково, ул. К. Маркса, 117).
4. Установка для приготовления пенобетона (рекламный проспект) АО "Стройпрогресс" (113105, г. Москва, Варшавское шоссе, 17).
5. Установка для приготовления пенобетона (рекламный проспект) АО "Строймаштехнология" (111524, г. Москва, ул. Плеханова, 7).
6. Установка для приготовления пенобетона (рекламный проспект) Самарского комбината по производству и монтажу изделий из ячеистого бетона АО "Коттедж".
7. Установка для приготовления пенобетона (рекламный проспект) АО "Новомстром" (121908, г. Москва, Новый Арбат, 11).
8. Передвижной комплекс для приготовления пенобетона модели ZM-1000 ЕA фирмы "Неопор", рекламный проспект, раздел 1, пеногенератор ВК-8, мини-пеногенератор НПГ-8, 01.02.1995.
Claims (5)
1. Передвижная универсальная строительная установка, состоящая из платформы с колесами, на которой смонтированы пеногенератор, емкость для пенообразующей жидкости, емкость для чистой воды, смеситель принудительного действия с бетононасосом, конвейер с бункером-дозатором для подачи цемента и песка в смеситель, и пульт управления, отличающаяся тем, что в состав универсальной строительной установки дополнительно включена емкость для сбора воды после промывки всей системы от остатков пены, пенообразующей жидкости, пенобетона, строительных растворов, с возможностью использования этой промывочной воды для производства пенобетона и строительных растворов, а также дополнительно включена автономная электростанция, работающая на бензине или дизтопливе, причем пеногенератор, емкость для пенообразующей жидкости, емкость для чистой воды, емкость для сбора воды после промывки системы, автономная электростанция и смеситель принудительного действия выполнены по модульной схеме в виде отдельных быстросъемных и быстроустанавливаемых автономных блоков коробчатого типа, смонтированных вместе на одной общей платформе с колесами, по концам которой имеются выносные регулируемые по высоте аутригеры, причем блок пеногенератора, блок для пенообразующей жидкости, блок для чистой воды, блок для сбора воды после промывки системы, блок автономной электростанции имеют преимущественно квадратное или прямоугольное сечение и эти блоки контактируют между собой своими боковыми поверхностями и расположены рядом друг с другом, или один над другим, а блок смесителя принудительного действия выполнен выносным с куполообразными дном и крышкой и контактирует с другими блоками своим торцом, при этом куполообразная крышка смесителя выполнена двухстворчатой с микровыключателями ее подъема, а съемный конвейер с бункером-дозатором для подачи в смеситель цемента и песка выполнен с возможностью его поворота на 360o вокруг вертикальной оси загрузочного люка смесителя
2. Установка по п. 1, отличающаяся тем, что блоки пеногенератора, пенообразующей жидкости, чистой воды, и сбора воды после промывки системы оборудованы насосами принудительного действия с возможностью подачи от них под давлением пены, пенообразующей жидкости, чистой воды и воды после промывки системы непосредственно, как в любой блок установки, так и на стройплощадку, объект.
2. Установка по п. 1, отличающаяся тем, что блоки пеногенератора, пенообразующей жидкости, чистой воды, и сбора воды после промывки системы оборудованы насосами принудительного действия с возможностью подачи от них под давлением пены, пенообразующей жидкости, чистой воды и воды после промывки системы непосредственно, как в любой блок установки, так и на стройплощадку, объект.
3. Установка по п. 1 или 2, отличающаяся тем, что блоки установки имеют отводы с регулируемой запорной арматурой для подачи от них на стройплощадку, объект сжатого воздуха, пены и в том числе противопожарной, чистой воды, воды после промывки системы, пенообразующей жидкости, пенобетона, различного рода строительных растворов, а также электроэнергии от автономной электростанции.
4. Установка по любому из пп. 1-3, отличающаяся тем, что все автономные блоки установки и пульт управления соединены между собой быстроразъемной системой электропроводки и быстросъемной системой трубопроводов и шлангов.
5. Установка по любому из пп. 1-4, отличающаяся тем, что пульт управления блока автономной элетростанции выполнен с возможностью подключения установки к внешним электрическим сетям.
6. Установка по любому из пп. 1-5, отличающаяся тем, что блок смесителя принудительного действия оборудован шнеком, а конвейер с бункером-дозатором имеет транспортную ленту ковшового типа.
Priority Applications (1)
| Application Number | Priority Date | Filing Date | Title |
|---|---|---|---|
| RU2001100199A RU2189309C1 (ru) | 2001-01-03 | 2001-01-03 | Передвижная универсальная строительная установка |
Applications Claiming Priority (1)
| Application Number | Priority Date | Filing Date | Title |
|---|---|---|---|
| RU2001100199A RU2189309C1 (ru) | 2001-01-03 | 2001-01-03 | Передвижная универсальная строительная установка |
Publications (1)
| Publication Number | Publication Date |
|---|---|
| RU2189309C1 true RU2189309C1 (ru) | 2002-09-20 |
Family
ID=20244374
Family Applications (1)
| Application Number | Title | Priority Date | Filing Date |
|---|---|---|---|
| RU2001100199A RU2189309C1 (ru) | 2001-01-03 | 2001-01-03 | Передвижная универсальная строительная установка |
Country Status (1)
| Country | Link |
|---|---|
| RU (1) | RU2189309C1 (ru) |
Cited By (4)
| Publication number | Priority date | Publication date | Assignee | Title |
|---|---|---|---|---|
| RU2261967C1 (ru) * | 2004-02-17 | 2005-10-10 | Общество с ограниченной ответственностью "Новые Строительные Технологии" | Устройство для приготовления и укладки строительных смесей |
| RU2292265C2 (ru) * | 2003-01-31 | 2007-01-27 | Открытое акционерное общество Комбинат по производству изделий из ячеистого бетона "Коттедж" | Способ заливки форм ячеистобетонной смесью и устройство для заливки форм ячеистобетонной смесью |
| RU2298471C1 (ru) * | 2005-10-31 | 2007-05-10 | Валерий Федорович Громаков | Мобильный комплекс для изготовления строительных блоков |
| RU233947U1 (ru) * | 2024-12-28 | 2025-05-13 | Виктор Романович Ногих | Пенобетонный насос |
Citations (7)
| Publication number | Priority date | Publication date | Assignee | Title |
|---|---|---|---|---|
| US4594046A (en) * | 1981-12-11 | 1986-06-10 | Elba-Werk Maschinengesellschaft Mbh & Co. | Mobile apparatus for mixing and loading concrete |
| FR2665102A1 (fr) * | 1990-07-25 | 1992-01-31 | Engineering Travaux Publi Bure | Centrale mobile, lourde, autonome et auto-erectile pour la fabrication de beton. |
| US5171121A (en) * | 1992-01-07 | 1992-12-15 | Concrete Equipment Company | Portable concrete batch plant |
| DE4138912A1 (de) * | 1991-11-27 | 1993-06-09 | Markus 7053 Kernen De Amann | Vorrichtung zur herstellung von vorgemischten baustoffen |
| RU12069U1 (ru) * | 1999-03-23 | 1999-12-16 | Кимаев Анатолий Петрович | Мини-завод по производству сухих строительных смесей |
| RU2152871C2 (ru) * | 1998-06-09 | 2000-07-20 | Закрытое акционерное общество Промышленно-строительная фирма "Содружество" | Способ приготовления пенобетона и устройство для его осуществления |
| RU17470U1 (ru) * | 2001-01-03 | 2001-04-10 | Открытое акционерное общество "345 Механический завод" | Установка для приготовления цветных строительных смесей |
-
2001
- 2001-01-03 RU RU2001100199A patent/RU2189309C1/ru not_active IP Right Cessation
Patent Citations (7)
| Publication number | Priority date | Publication date | Assignee | Title |
|---|---|---|---|---|
| US4594046A (en) * | 1981-12-11 | 1986-06-10 | Elba-Werk Maschinengesellschaft Mbh & Co. | Mobile apparatus for mixing and loading concrete |
| FR2665102A1 (fr) * | 1990-07-25 | 1992-01-31 | Engineering Travaux Publi Bure | Centrale mobile, lourde, autonome et auto-erectile pour la fabrication de beton. |
| DE4138912A1 (de) * | 1991-11-27 | 1993-06-09 | Markus 7053 Kernen De Amann | Vorrichtung zur herstellung von vorgemischten baustoffen |
| US5171121A (en) * | 1992-01-07 | 1992-12-15 | Concrete Equipment Company | Portable concrete batch plant |
| RU2152871C2 (ru) * | 1998-06-09 | 2000-07-20 | Закрытое акционерное общество Промышленно-строительная фирма "Содружество" | Способ приготовления пенобетона и устройство для его осуществления |
| RU12069U1 (ru) * | 1999-03-23 | 1999-12-16 | Кимаев Анатолий Петрович | Мини-завод по производству сухих строительных смесей |
| RU17470U1 (ru) * | 2001-01-03 | 2001-04-10 | Открытое акционерное общество "345 Механический завод" | Установка для приготовления цветных строительных смесей |
Non-Patent Citations (1)
| Title |
|---|
| Передвижной комплекс для приготовления пенобетона модели ZM-100 ЕА, фирмы "Неопор", рекламный проспект, раздел 1, пеногенератор ВК-8, минипеногенератор НПГ - 8, 01.02.1995. * |
Cited By (5)
| Publication number | Priority date | Publication date | Assignee | Title |
|---|---|---|---|---|
| RU2292265C2 (ru) * | 2003-01-31 | 2007-01-27 | Открытое акционерное общество Комбинат по производству изделий из ячеистого бетона "Коттедж" | Способ заливки форм ячеистобетонной смесью и устройство для заливки форм ячеистобетонной смесью |
| RU2261967C1 (ru) * | 2004-02-17 | 2005-10-10 | Общество с ограниченной ответственностью "Новые Строительные Технологии" | Устройство для приготовления и укладки строительных смесей |
| RU2298471C1 (ru) * | 2005-10-31 | 2007-05-10 | Валерий Федорович Громаков | Мобильный комплекс для изготовления строительных блоков |
| RU233947U1 (ru) * | 2024-12-28 | 2025-05-13 | Виктор Романович Ногих | Пенобетонный насос |
| RU240260U1 (ru) * | 2025-08-13 | 2025-12-29 | Общество с ограниченной ответственностью "Новые Промышленные Технологии" | Устройство для получения бетонной смеси |
Similar Documents
| Publication | Publication Date | Title |
|---|---|---|
| CN104119101B (zh) | 现浇筑轻质泡沫混凝土施工工艺 | |
| US4185923A (en) | Method and apparatus for producing insulating material | |
| CN203198064U (zh) | 泡沫混凝土现浇自动上料配料装置 | |
| CN209718183U (zh) | 一种土木工程施工用的混凝土板浇筑装置 | |
| CN105275209A (zh) | 一种异形空间曲面清水混凝土施工方法 | |
| CN102152382A (zh) | 混凝土布料机及其制作方法与使用方法 | |
| RU2189309C1 (ru) | Передвижная универсальная строительная установка | |
| CN107584667B (zh) | 一种用于轻质墙板生产的自动搅拌设备 | |
| CN202006506U (zh) | 混凝土布料机 | |
| CN201808150U (zh) | 制造泡沫混凝土墙体砌块设备 | |
| KR101220163B1 (ko) | 경량 콘크리트의 혼합 장치 및 이를 포함하는 타설 장치 | |
| RU2152871C2 (ru) | Способ приготовления пенобетона и устройство для его осуществления | |
| CN208247148U (zh) | 一种用于生产透水砖的配料机 | |
| CN102909787A (zh) | 复合发泡浆料现场浇注施工方法 | |
| CN117403799A (zh) | 一种泡沫混凝土墙体施工方法 | |
| JP4531154B2 (ja) | 気泡モルタル連続製造用のミキサポンプを用いた気泡モルタルの連続製造方法 | |
| CN213440431U (zh) | 高层建筑用干粉砂浆搅拌下料装置及干粉砂浆搅拌站 | |
| CN207997427U (zh) | 一种砂浆搅拌站及生产线 | |
| CN213732641U (zh) | 一种路面透水混凝土的现场制备装置 | |
| CN211754363U (zh) | 一种建筑工程施工用配比搅拌装置 | |
| CN211306887U (zh) | 一种建筑用预混砂浆配料装置 | |
| CN212105158U (zh) | 一种土木建筑施工用混料装置 | |
| RU22303U1 (ru) | Технологическая линия для производства пенобетонных блоков | |
| CN208082837U (zh) | 简易天然砂石料筛分装置 | |
| CN213290793U (zh) | 一种用于混凝土生产的高效砂浆搅拌装置 |
Legal Events
| Date | Code | Title | Description |
|---|---|---|---|
| MM4A | The patent is invalid due to non-payment of fees |
Effective date: 20070104 |