RU12069U1 - Мини-завод по производству сухих строительных смесей - Google Patents
Мини-завод по производству сухих строительных смесей Download PDFInfo
- Publication number
- RU12069U1 RU12069U1 RU99105669/20U RU99105669U RU12069U1 RU 12069 U1 RU12069 U1 RU 12069U1 RU 99105669/20 U RU99105669/20 U RU 99105669/20U RU 99105669 U RU99105669 U RU 99105669U RU 12069 U1 RU12069 U1 RU 12069U1
- Authority
- RU
- Russia
- Prior art keywords
- hopper
- mixer
- dispensing
- mixture
- unit
- Prior art date
Links
Landscapes
- Preparation Of Clay, And Manufacture Of Mixtures Containing Clay Or Cement (AREA)
Abstract
1. Мини-завод по производству сухих строительных смесей, содержащий расходные емкости компонентов сухой строительной смеси, средства дозирования и подачи этих компонентов в смеситель, смесительное устройство, емкость для готовой продукции, отличающийся тем, что он выполнен в виде блочной конструкции, включающей расходно-дозировочный блок инертного материала, расходно-дозировочный блок вяжущих материалов, смесительный и блок выдачи готовой смеси, причем в расходно-дозировочном блоке инертного материала установлены в технологической последовательности расходный бункер, транспортирующее устройство конвейерного типа, сушильный барабан, вибросито, бункер сухого инертного материала, оснащенный заслонкой, обеспечивающей выдачу определенной порции материала за определенное время, средство транспортирования сухого инертного материала в смеситель, выполненное в виде скипового подъемника, в расходно-дозировочном блоке вяжущих материалов установлены, по меньшей мере, два бункера-дозатора, смонтированные над смесителем и связанные с ним патрубками и трубопроводом со складом вяжущих материалов, причем эти бункеры-дозаторы оснащены установленными в основании шнековыми питателями, обеспечивающими выдачу в смеситель определенной порции вяжущих за определенное время, в смесительном блоке установлен смеситель и смонтированное под ним вибросито, в блоке выдачи готовой смеси установлен бункер готовой смеси и устройство для расфасовки готовой смеси, при этом блок готовой смеси размещен после смесительного по ходу технологического процесса.2. Мини-завод по п.1, отличающийся тем, что фасовочное устройство состои
Description
Мини-завод по производству сухих строительиых смесей
Полезная модель относится к производству строительных материалов, а именно к оборудованию для приготовления сухих строительных смесей, предназначенных для изготовления кладочных и штукатурных растворов для наружных и внутренних работ, декоративных штукатурных работ, производства составов для устройства полов, стяжек, заделки стыков и т.д.
Известна установка для приготовления растворных и бетонных смесей. 1 Устройство содержит сил осы для хранения цемента, расходные бункеры для заполнителей, устройство для подачи цемента и конвейеры для подачи заполнителей в сборный бункер. Дозируюшее приспособление выполнено в виде весовой платформы, на которой установлен сборный бункер , имеющий затвор и течку. При этом сборный бункер выполнен двухсекционным в виде корпуса с перегородкой, нижний торец которой размешен над выгрузочным отверстием с образованием шели. Секции бункера выполнены с объемами в соотношении 1:3 (цемент: заполнители).
Известная установка непригодна для получения сухой смеси мелкой фракции. Кроме того, изготовленная смесь непригодна для хранения, т.к. инертные материалы не просушиваются.
Дозирование компонентов посредством весовой платформы снижает производительность установки за счет поочередного взвешивания компонентов.
Также известна бетоносмесительная установка с объемным дозированием компонентов смеси, имеюшая возможность регулирования величин дозируемых порций смеси. 2 Известная бетоносмесительная установка содержит расходные емкости компонентов бетона, выполненные в виде склада с отдельными секциями, дозировочное устройство, смеситель, бункер готовой смеси, устройство подачи компонентов в смеситель, включаюшее ковш, направляюшие и привод. Дозировочное устройство выполнено в едином блоке с ковшом , содержашем переставные перегородки, образующие сектора изменяемых объемов ковша, соответствуюших каждый выгрузочному окну одной расходной емкости. Окна снабжены подвижными , регулируюшими поступление компонентов заслонками.
Недостатком известной установки является ручная перестановка перегородок, образующих сектора изменяемых объемов ковша, что приводит к необходимости зачистки направляюших ячеек. В месте сопряжения ковша-дозатора и расходных емкостей неизбежно просыпание компонентов, что также приводит к необходимости постоянной зачистки. Вышеуказанные вспомогательные операции зачистки приводят к перебоям
:r 1-ssts... -r
«%r.-« -csssr :ггд .г.
риалов, дай писателями, °б; „еяеявое ,еителем, / бункера, И1йе2
ционного бункера, причем накопительный бункер установлен рядом с бункером готовой смеси и выполнен двухсекционным, каждая секция соединена желобом с бункером готовой смеси и оснащена шнеком, установленным на уровне загрузочного желоба, а мерный бункер установлен с возможностью выгрузки готовой смеси в сухосмесевоз.
Кроме того, к трубопроводу подачи вяжущих материалов со склада может быть дополнительно подсоединен трубопровод для подачи вяжущих материалов с автотранспорта. Трубопроводы оснащены задвижками, обеспечивающими альтернативную подачу вяжущих материалов.
Оснащение заявляемой полезной модели сушильным барабаном и виброситами, постепенная загрузка смесителя позволило изготавливать сухую строительную смесь высокого качества, пригодную для отделочных работ и длительного хранения. Раздельное выполнение расходнодозировочных блоков песка и вяжущих материалов, использование средств дозирования в воде питателей, работающих во время задающем режиме, обеспечило высокую точность дозирования и бесперебойную работу механизмов. Одновременно, совмещение процессов загрузки смесителя компонентами смеси, непрерывная отгрузка смеси на склад или в сухосмесевоз, а также возможность работы в режиме фасовки цемента позволяет иметь достаточно высокую производительность при небольших габаритах бункеров и самой установки в целом, расширяет ее функциональные возможности. Закрытая система подачи вяжущих материалов, система очистки воздуха позволяют размещать заявляемый минизавод в закрытом производственном помещении.
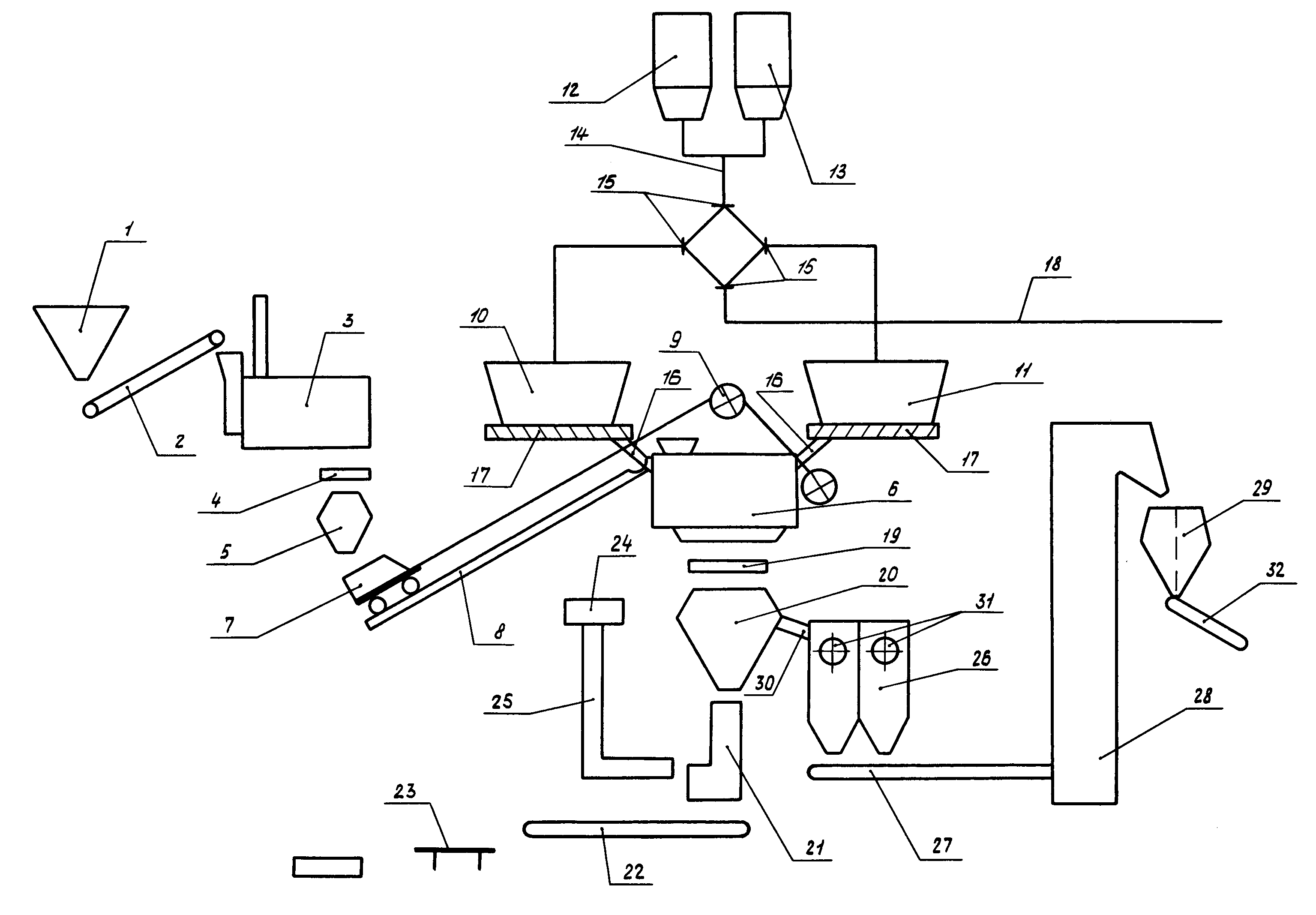
Полезная модель поясняется чертежом, на котором изображена общая схема мини-завода по производству сухих строительных смесей (ССС).
Заявляемый в качестве полезной модель мини-завод по производству ССС содержит установленные в технологической последовательности расходный бункер 1 инертного материала (в данном случае - песка), ленточный транспортер 2, сушильный барабан 3, вибросито 4, установленное на выходе песка из барабана 3. Под виброситом 4 установлен бункер 5 сухого песка, оснащенный на выходе заслонкой, обеспечивающей выдачу определенной порции сухого песка в течение определенного времени. Устройство транспортирования сухого песка в двухвальный смеситель 6 выполнено в виде скипа 7, установленного на рельсах 8 и поднимаемого лебедкой 9.
Над смесителем 6 установлены расходные бункеры-дозаторы 10 и 11 вяжущих материалов (цемента и извести), которые соединены со складом цемента 12 и извести 13 трубопроводом 14 с задвижками 15, а со смесителем 6 - патрубками 16. В основании бункеров-дозаторов 10 и 11 установлены шнековые питатели 17, обеспечивающие дозированную выдачу вяжущих материалов в смеситель 6. Объем подаваемой шнеками 17 порции цемента и извести задается временем работы этих шнеков. К трубопроводу 14 подключен дополнительный трубопровод 18 для подачи вяжущих материалов непосредственно с автотранспорта (не показано). Задвижки 15 позволяют использовать трубопровод 14 для загрузки бункеров-дозаторов 10 и 11 со склада 12 и 13 (поочередно) или трубопровод 18 для загрузки с автотранспорта. Далее по ходу технологического процесса под смесителем 6 установлено вибросито 19, бункер 20 готовой смеси, упаковочная машина 21. Под упаковочной машиной 21 установлен ленточный транспортер 22 для подачи фасованной смеси в мешках на приемный стол 23. В месте фасовки ССС установлены крышные вентиляторы 24 и воздуховод 25.
Кроме того, заявляемый мини-завод может содержать устройство дозированной выдачи ССС непосредственно в сухосмесевоз, выполненное в виде последовательно смонтированных накопительного бункера 26, шнекового конвейера 27, элеватора 28 и мерного бункера 29. Накопительный бункер установлен рядом с бункером 20 готовой смеси, выполнен 2-х секционным для хранения ССС разных марок. Каждая секция подсоединена к бункеру 20 посредством желоба 30 и оснащена шнеком 31, установленным на уровне загрузочного отверстия. Мерный бункер 29 состоит из 2-х отсеков, снабжен на выходе двумя заслонками, обеспечивающими дозированную выдачу ССС порциями, например 0,375 м или 0,75 м. Высыпание ССС производится по желобу 32.
Нижняя часть бункеров 1, 5, 20, 26, 29 выполнена с наклонными стенками в виде перевернутой усеченной пирамиды, что способствует лучшей высыпаемости материала.
Бункеры 5, 26, 29 для равномерного заполнения загружаемым материалом в верхней части выполнен в виде усеченной пирамиды. Управление заслонками бункеров, затвором бетоносмесителя, упаковочной машины осушествляется от малогабаритного компрессора.
Мини-завод работает следующим образом.
Автопогрузчик (не показано) засыпает сырой песок в расходный бункер 1, откуда песок поступает на ленточный транспортер 2, который подает песок в приемную воронку сушильного барабана 3. Нросушенный песок из сушильного барабана поступает на вибросито 4, затем в бункер 5. Нросеянный и просушенный песок из бункера 5 дозировано подается в скип 7. Ноток песка и время высыпания регулируется заслонкой на выходе из бункера 5, что позволяет загрузить скип 7 заданным объемом песка за расчетное время. Заполненный песком скип 7 поднимается лебедкой 9 по рельсовому пути 8 и ссыпает подготовленный песок в двухвальный бетоносмеситель 6.
Загрузка расходных бункеров-дозаторов 10 (цемента) и 11 (извести) производится по трубопроводу 14 со складов 12 (цементе) и 13 (извести) или по трубопроводу 18 и 14 непосредственно с автотранспорта.
С момента засыпания песка в бетоносмеситель 6 включаются шнековые питатели 17, цемент и известь по патрубкам 16 поступают в бетоносмеситель 6. Заданный объем вяжущих загружается за определенное время работы шнеков 17. Но мере поступления компонентов ССС в бетоносмеситель 6 происходит их перемешивание. Носле перемешивания материалов в бетоносмесителе 6 открывается затвор (не показано) и
смесь выгружается на вибросито 19 для того, чтобы исключить наличие в смеси крупных частиц, попавших в нее с вяжущими материалами. Просеянная таким образом ССС поступает в бункер 20 готовой смеси, откуда смесь поступает в упаковочную машину 21 для фасовки в мешки.
Упакованная в мешки ССС поступает на конвейер 22, затем на приемный стол 23, где грузится на поддоны для последующего хранения и / или выдачи потребителю.
В режиме дозированной выдачи ССС в сухосмесевоз устройство работает следующим образом. После заполнения бункера 20 смесь начинает поступать в одну из секции бункера 26 (в зависимости от марки изготавливаемой смеси). Поступающая по желобу 30 смесь равномерно распределяется посредством шнека 31. Из бункера 26 по шнековому конвейеру 27 смесь подается на ковшный элеватор 27, и из него выгружается в мерный бункер 29. Из мерного бункера 29 готовая смесь выгружается в сухосмесевоз по желобу 32. В зависимости от выгружаемой дозы открывается заслонка одной секции бункера 29 или обе заслонки обеих секций. Цементно-песчаная пыль и пар, образующиеся в процессе изготовления смеси удаляются крышными вентиляторами 24 и воздуховодом 25.
Кроме приготовления сухой строительной смеси заявляемое устройство позволяет производить фасовку цемента в мешки.
В режиме фасовки цемента открывают затвор бетоносмесителя 6, одновременно включают вибросито 19. Из бункера-дозатора 10 шнековым питателем 17 цемент подается в бетоносмеситель 6, а затем в бункер 20 и далее в упаковочную машину 21, мешки с цементом поступают на транспортер 22, затем на приемный стол 23, откуда грузятся на поддоны для последующего хранения и/или выдачи потребителю.
Источники информации.
Принятые во внимание при составлении заявки на полезную модель «Мини-завод по производству сухих строительных смесей.
1.Патент РФ №2047489,
кл.В 28 С 9/00, 1995, Бюл.№31.
2.Патент РФ №2054999,
кл.В 28 С 9/00, 1996, Бюл.№6.
Claims (4)
1. Мини-завод по производству сухих строительных смесей, содержащий расходные емкости компонентов сухой строительной смеси, средства дозирования и подачи этих компонентов в смеситель, смесительное устройство, емкость для готовой продукции, отличающийся тем, что он выполнен в виде блочной конструкции, включающей расходно-дозировочный блок инертного материала, расходно-дозировочный блок вяжущих материалов, смесительный и блок выдачи готовой смеси, причем в расходно-дозировочном блоке инертного материала установлены в технологической последовательности расходный бункер, транспортирующее устройство конвейерного типа, сушильный барабан, вибросито, бункер сухого инертного материала, оснащенный заслонкой, обеспечивающей выдачу определенной порции материала за определенное время, средство транспортирования сухого инертного материала в смеситель, выполненное в виде скипового подъемника, в расходно-дозировочном блоке вяжущих материалов установлены, по меньшей мере, два бункера-дозатора, смонтированные над смесителем и связанные с ним патрубками и трубопроводом со складом вяжущих материалов, причем эти бункеры-дозаторы оснащены установленными в основании шнековыми питателями, обеспечивающими выдачу в смеситель определенной порции вяжущих за определенное время, в смесительном блоке установлен смеситель и смонтированное под ним вибросито, в блоке выдачи готовой смеси установлен бункер готовой смеси и устройство для расфасовки готовой смеси, при этом блок готовой смеси размещен после смесительного по ходу технологического процесса.
2. Мини-завод по п.1, отличающийся тем, что фасовочное устройство состоит из последовательно установленных упаковочной машины, ленточного транспортера и приемного стола.
3. Мини-завод по п.1, отличающийся тем, что в блоке выдачи готовой смеси установлено устройство дозировочной выдачи смеси в сухосмесевоз, выполненное в виде установленных по ходу технологического процесса накопительного бункера, шнекового конвейера, ковшового элеватора и двухсекционного мерного бункера, причем накопительный бункер установлен рядом с бункером готовой смеси и выполнен двухсекционным, каждая секция соединена с бункером готовой смеси посредством желоба и оснащена шнеком, установленным на уровне загрузочного желоба, а мерный бункер установлен с возможностью выгрузки смеси в сухосмесевоз.
4. Мини-завод по п.1, отличающийся тем, что к трубопроводу подачи вяжущих материалов со склада в расходные бункеры-дозаторы подключен дополнительный трубопровод для подачи этих компонентов непосредственно с автотранспорта, при этом трубопроводы оснащены задвижками, обеспечивающими соответствующую подачу вяжущих материалов.
Priority Applications (1)
| Application Number | Priority Date | Filing Date | Title |
|---|---|---|---|
| RU99105669/20U RU12069U1 (ru) | 1999-03-23 | 1999-03-23 | Мини-завод по производству сухих строительных смесей |
Applications Claiming Priority (1)
| Application Number | Priority Date | Filing Date | Title |
|---|---|---|---|
| RU99105669/20U RU12069U1 (ru) | 1999-03-23 | 1999-03-23 | Мини-завод по производству сухих строительных смесей |
Publications (1)
| Publication Number | Publication Date |
|---|---|
| RU12069U1 true RU12069U1 (ru) | 1999-12-16 |
Family
ID=48273490
Family Applications (1)
| Application Number | Title | Priority Date | Filing Date |
|---|---|---|---|
| RU99105669/20U RU12069U1 (ru) | 1999-03-23 | 1999-03-23 | Мини-завод по производству сухих строительных смесей |
Country Status (1)
| Country | Link |
|---|---|
| RU (1) | RU12069U1 (ru) |
Cited By (5)
| Publication number | Priority date | Publication date | Assignee | Title |
|---|---|---|---|---|
| RU2189309C1 (ru) * | 2001-01-03 | 2002-09-20 | Курбатов Владимир Леонидович | Передвижная универсальная строительная установка |
| RU2195397C1 (ru) * | 2001-04-26 | 2002-12-27 | Гордилов Олег Григорьевич | Мобильная установка для приготовления пенобетона |
| RU2502594C1 (ru) * | 2012-08-16 | 2013-12-27 | Константин Николаевич Мишин | Установка для производства сухой строительной смеси на основе вспученного перлита |
| CN114211609A (zh) * | 2021-12-23 | 2022-03-22 | 浙江金州科技有限公司 | 一种用于制备干混砂浆的搅拌机 |
| CN114750297A (zh) * | 2022-04-07 | 2022-07-15 | 辽宁海诺重工股份有限公司 | 一种高效环保型干混砂浆站及方法 |
-
1999
- 1999-03-23 RU RU99105669/20U patent/RU12069U1/ru active
Cited By (7)
| Publication number | Priority date | Publication date | Assignee | Title |
|---|---|---|---|---|
| RU2189309C1 (ru) * | 2001-01-03 | 2002-09-20 | Курбатов Владимир Леонидович | Передвижная универсальная строительная установка |
| RU2195397C1 (ru) * | 2001-04-26 | 2002-12-27 | Гордилов Олег Григорьевич | Мобильная установка для приготовления пенобетона |
| RU2502594C1 (ru) * | 2012-08-16 | 2013-12-27 | Константин Николаевич Мишин | Установка для производства сухой строительной смеси на основе вспученного перлита |
| WO2014027926A3 (ru) * | 2012-08-16 | 2014-04-10 | Mishin Konstantin Nikolayevich | Установка для производства сухой строительной смеси на основе вспученного перлита |
| CN114211609A (zh) * | 2021-12-23 | 2022-03-22 | 浙江金州科技有限公司 | 一种用于制备干混砂浆的搅拌机 |
| CN114211609B (zh) * | 2021-12-23 | 2023-05-26 | 浙江金州科技有限公司 | 一种用于制备干混砂浆的搅拌机 |
| CN114750297A (zh) * | 2022-04-07 | 2022-07-15 | 辽宁海诺重工股份有限公司 | 一种高效环保型干混砂浆站及方法 |
Similar Documents
| Publication | Publication Date | Title |
|---|---|---|
| KR101142349B1 (ko) | 연속식믹서를 사용하는 콘크리트 배처플랜트 및 그 배처플랜트를 이용한 콘크리트 제조방법 | |
| US5478172A (en) | Apparatus for feeding ultrafine powder in quantitative batch operation | |
| RU2351469C2 (ru) | Способ приготовления бетонной смеси и технологическая линия для его реализации | |
| US3905586A (en) | Mini-plant for batching and mixing materials | |
| US5605397A (en) | System for mixing cement and aggregate | |
| ITMI961303A1 (it) | Apparecchiatura per la produzione e la contemporanea distribuzione di impasti cementizi e simili | |
| RU12069U1 (ru) | Мини-завод по производству сухих строительных смесей | |
| CN101879743A (zh) | 无机轻集料保温砂浆的连续式生产工艺及生产装置 | |
| RU2659362C1 (ru) | Мобильный автономный завод по производству стеновых строительных и дорожных материалов | |
| CN109333829A (zh) | 预拌混凝土全封闭自动供料系统及操作方法 | |
| JP4480819B2 (ja) | コンクリートの製造方法およびコンクリートの製造装置 | |
| CN108162195A (zh) | 用于混凝土生产的砂石配料系统 | |
| SU1712162A1 (ru) | Установка дл приготовлени бетонной смеси | |
| JP4781513B2 (ja) | コンクリートの製造方法及びコンクリートの製造装置 | |
| RU2526944C2 (ru) | Модульный завод по производству растворобетонных смесей | |
| CN214057942U (zh) | 一种用于干粉砂浆的计量装置 | |
| CN214000021U (zh) | 一种配料小车 | |
| KR102036698B1 (ko) | 이동식 병렬형 시공 시스템 | |
| CN115613416A (zh) | 冷拌沥青混合料、砼厂拌装置一体化系统 | |
| CN223290044U (zh) | 一种矿用混凝土制备系统 | |
| CN221985449U (zh) | 一种砂浆干湿一体化生产系统 | |
| RU2047103C1 (ru) | Дозатор-смеситель сыпучих материалов | |
| RU131338U1 (ru) | Мини-завод контейнерного типа по производству сухих строительных смесей | |
| RU2047489C1 (ru) | Растворобетонная установка | |
| KR102877385B1 (ko) | Srcm 플랜트 시스템 |
