KR880000752B1 - 잠혈을 감지하기 위한 테스트의 개량된 검사물 테스트 슬라이드와 테스트 방법 - Google Patents
잠혈을 감지하기 위한 테스트의 개량된 검사물 테스트 슬라이드와 테스트 방법 Download PDFInfo
- Publication number
- KR880000752B1 KR880000752B1 KR8201925A KR820001925A KR880000752B1 KR 880000752 B1 KR880000752 B1 KR 880000752B1 KR 8201925 A KR8201925 A KR 8201925A KR 820001925 A KR820001925 A KR 820001925A KR 880000752 B1 KR880000752 B1 KR 880000752B1
- Authority
- KR
- South Korea
- Prior art keywords
- test
- blood
- sheet
- monitor
- positive
- Prior art date
- Legal status (The legal status is an assumption and is not a legal conclusion. Google has not performed a legal analysis and makes no representation as to the accuracy of the status listed.)
- Expired
Links
Images
Classifications
-
- G—PHYSICS
- G01—MEASURING; TESTING
- G01N—INVESTIGATING OR ANALYSING MATERIALS BY DETERMINING THEIR CHEMICAL OR PHYSICAL PROPERTIES
- G01N33/00—Investigating or analysing materials by specific methods not covered by groups G01N1/00 - G01N31/00
- G01N33/48—Biological material, e.g. blood, urine; Haemocytometers
- G01N33/50—Chemical analysis of biological material, e.g. blood, urine; Testing involving biospecific ligand binding methods; Immunological testing
- G01N33/72—Chemical analysis of biological material, e.g. blood, urine; Testing involving biospecific ligand binding methods; Immunological testing involving blood pigments, e.g. haemoglobin, bilirubin or other porphyrins; involving occult blood
-
- G—PHYSICS
- G01—MEASURING; TESTING
- G01N—INVESTIGATING OR ANALYSING MATERIALS BY DETERMINING THEIR CHEMICAL OR PHYSICAL PROPERTIES
- G01N33/00—Investigating or analysing materials by specific methods not covered by groups G01N1/00 - G01N31/00
- G01N33/48—Biological material, e.g. blood, urine; Haemocytometers
- G01N33/50—Chemical analysis of biological material, e.g. blood, urine; Testing involving biospecific ligand binding methods; Immunological testing
- G01N33/72—Chemical analysis of biological material, e.g. blood, urine; Testing involving biospecific ligand binding methods; Immunological testing involving blood pigments, e.g. haemoglobin, bilirubin or other porphyrins; involving occult blood
- G01N33/721—Haemoglobin
- G01N33/726—Devices
-
- G—PHYSICS
- G01—MEASURING; TESTING
- G01N—INVESTIGATING OR ANALYSING MATERIALS BY DETERMINING THEIR CHEMICAL OR PHYSICAL PROPERTIES
- G01N33/00—Investigating or analysing materials by specific methods not covered by groups G01N1/00 - G01N31/00
- G01N33/48—Biological material, e.g. blood, urine; Haemocytometers
- G01N33/50—Chemical analysis of biological material, e.g. blood, urine; Testing involving biospecific ligand binding methods; Immunological testing
- G01N33/52—Use of compounds or compositions for colorimetric, spectrophotometric or fluorometric investigation, e.g. use of reagent paper and including single- and multilayer analytical elements
- G01N33/528—Atypical element structures, e.g. gloves, rods, tampons, toilet paper
Landscapes
- Health & Medical Sciences (AREA)
- Life Sciences & Earth Sciences (AREA)
- Hematology (AREA)
- Engineering & Computer Science (AREA)
- Immunology (AREA)
- Molecular Biology (AREA)
- Biomedical Technology (AREA)
- Chemical & Material Sciences (AREA)
- Urology & Nephrology (AREA)
- Physics & Mathematics (AREA)
- General Physics & Mathematics (AREA)
- Cell Biology (AREA)
- Food Science & Technology (AREA)
- Medicinal Chemistry (AREA)
- Biotechnology (AREA)
- Analytical Chemistry (AREA)
- Biochemistry (AREA)
- General Health & Medical Sciences (AREA)
- Microbiology (AREA)
- Pathology (AREA)
- Investigating Or Analysing Biological Materials (AREA)
- Sampling And Sample Adjustment (AREA)
- Microscoopes, Condenser (AREA)
- Steroid Compounds (AREA)
- External Artificial Organs (AREA)
- Measurement Of The Respiration, Hearing Ability, Form, And Blood Characteristics Of Living Organisms (AREA)
- Analysing Materials By The Use Of Radiation (AREA)
- Investigating Or Analysing Materials By The Use Of Chemical Reactions (AREA)
- Automatic Analysis And Handling Materials Therefor (AREA)
Applications Claiming Priority (3)
| Application Number | Priority Date | Filing Date | Title |
|---|---|---|---|
| US259,757 | 1981-05-01 | ||
| US259757 | 1981-05-01 | ||
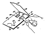
| US06/259,757 US4365970A (en) | 1981-05-01 | 1981-05-01 | Specimen test slide and method for testing occult blood |
Publications (2)
| Publication Number | Publication Date |
|---|---|
| KR830009760A KR830009760A (ko) | 1983-12-23 |
| KR880000752B1 true KR880000752B1 (ko) | 1988-05-04 |
Family
ID=22986238
Family Applications (1)
| Application Number | Title | Priority Date | Filing Date |
|---|---|---|---|
| KR8201925A Expired KR880000752B1 (ko) | 1981-05-01 | 1982-04-30 | 잠혈을 감지하기 위한 테스트의 개량된 검사물 테스트 슬라이드와 테스트 방법 |
Country Status (27)
| Country | Link |
|---|---|
| US (1) | US4365970A (enExample) |
| EP (1) | EP0064392B1 (enExample) |
| JP (1) | JPS57190266A (enExample) |
| KR (1) | KR880000752B1 (enExample) |
| AT (1) | ATE16644T1 (enExample) |
| AU (1) | AU549811B2 (enExample) |
| BG (1) | BG40490A3 (enExample) |
| CA (1) | CA1174150A (enExample) |
| CS (1) | CS254310B2 (enExample) |
| DD (1) | DD209029A5 (enExample) |
| DE (1) | DE3267532D1 (enExample) |
| DK (1) | DK154858C (enExample) |
| ES (1) | ES8308429A1 (enExample) |
| FI (1) | FI73838C (enExample) |
| GR (1) | GR75409B (enExample) |
| HU (1) | HU186012B (enExample) |
| IE (1) | IE53142B1 (enExample) |
| IL (1) | IL65638A (enExample) |
| NO (1) | NO159466C (enExample) |
| NZ (1) | NZ200431A (enExample) |
| PH (1) | PH19226A (enExample) |
| PL (1) | PL131497B1 (enExample) |
| PT (1) | PT74807B (enExample) |
| RO (1) | RO87961A2 (enExample) |
| SU (1) | SU1480777A3 (enExample) |
| YU (1) | YU44422B (enExample) |
| ZA (1) | ZA822929B (enExample) |
Families Citing this family (93)
| Publication number | Priority date | Publication date | Assignee | Title |
|---|---|---|---|---|
| US4956300A (en) | 1982-01-05 | 1990-09-11 | Helena Laboratories Corporation | Aid for determining the presence of occult blood, method of making the aid, and method of using the aid |
| US4486536A (en) * | 1982-05-28 | 1984-12-04 | Smithkline Diagnostics, Inc. | Specimen slide for occult blood testing |
| USD281903S (en) | 1983-02-09 | 1985-12-24 | C. B. Fleet Company, Inc. | Fecal occult blood test kit |
| EP0117689A1 (en) * | 1983-03-01 | 1984-09-05 | Smithkline Diagnostics, Inc. | Improved specimen slide for occult blood testing |
| USD284215S (en) | 1983-05-03 | 1986-06-10 | Warner-Lambert Company | Specimen-collection pad for occult-blood detection |
| US4578359A (en) * | 1983-05-03 | 1986-03-25 | Warner-Lambert Company | Occult-blood detection |
| US4578358A (en) * | 1983-05-03 | 1986-03-25 | Warner-Lambert Company | Collection of specimens and detection of occult blood therein |
| US4541987A (en) * | 1983-09-29 | 1985-09-17 | Helena Laboratories Corporation | Test pad for detecting occult blood |
| DE3481645D1 (de) * | 1983-12-02 | 1990-04-19 | Vertrik Bioteknik Ab | Vorrichtung fuer chemische analyse und deren verwendung. |
| US5702913A (en) | 1983-12-21 | 1997-12-30 | Helena Laboratories Corporation | Chromgen-reagent test system |
| US5273888A (en) | 1984-01-16 | 1993-12-28 | Helena Laboratories Corporation | Chemical test kit and method for determining the presence of blood in a specimen and for verifying the effectiveness of the chemicals |
| US4971914A (en) * | 1984-12-11 | 1990-11-20 | Litmus Concepts, Inc. | Developer for fecal occult blood tests |
| US4983416A (en) * | 1985-02-04 | 1991-01-08 | Propper Manufacturing Co., Inc. | Manufacturing method for an occult fecal blood test slide |
| US4808379A (en) * | 1985-02-08 | 1989-02-28 | Wardlaw Stephen C | Device for obtaining stool samples and detecting occult blood |
| US4804518A (en) * | 1985-02-25 | 1989-02-14 | Levine Robert A | Device for occult blood testing |
| US4675160A (en) * | 1986-01-28 | 1987-06-23 | Warner-Lambert Company | Occult blood test monitor |
| US4645743A (en) * | 1986-03-11 | 1987-02-24 | Smithkline Diagnostics, Inc. | Method and device for collecting and testing for fecal occult blood |
| EP0267952A4 (en) * | 1986-06-02 | 1989-06-27 | Paul J Lawrence | TEST REAGENTS AND METHODS FOR DETECTING THE PRESENCE OF BLOOD IN FECES. |
| US4789629A (en) * | 1986-11-24 | 1988-12-06 | Smithkline Beckman Corporation | Method and device for collecting and testing for fecal occult blood |
| AU7799187A (en) * | 1987-01-16 | 1988-07-21 | Helena Laboratories Corp. | Continuous test strip for fecal occult blood |
| US5238847A (en) * | 1987-05-20 | 1993-08-24 | Boehringer Mannheim Gmbh | Test kit and process for the determination of an analyte in a pasty sample |
| US5081040A (en) | 1987-06-29 | 1992-01-14 | Helena Laboratories Corporation | Composition and kit for testing for occult blood in human and animal excretions, fluids, or tissue matrixes |
| CA1340069C (en) * | 1987-10-08 | 1998-10-06 | Gloria J. Covington | Depositing a binder on a solid support |
| FR2621690A1 (fr) * | 1987-10-09 | 1989-04-14 | Lebosse Jean Louis | Dispositif destine a servir de support pour des prelevements |
| US5256372A (en) * | 1987-11-06 | 1993-10-26 | Idexx Corporation | Dipstick test device including a removable filter assembly |
| US5182191A (en) * | 1988-10-14 | 1993-01-26 | Pacific Biotech, Inc. | Occult blood sampling device and assay |
| US5217874A (en) | 1989-04-04 | 1993-06-08 | Helena Laboratories Corporation | Fecal occult blood test product with positive and negative controls |
| US5196167A (en) | 1989-04-04 | 1993-03-23 | Helena Laboratories Corporation | Fecal occult blood test product with positive and negative controls |
| US5100619A (en) * | 1989-05-09 | 1992-03-31 | Beckman Instruments, Inc. | Device and method for collecting fecal occult blood specimens |
| US5064766A (en) * | 1989-10-18 | 1991-11-12 | Wardlaw Stephen C | Method for differentiating the source of occult gastrointestinal bleeding |
| US5104619A (en) * | 1990-01-24 | 1992-04-14 | Gds Technology, Inc. | Disposable diagnostic system |
| DE4022655A1 (de) * | 1990-07-17 | 1992-01-23 | Boehringer Mannheim Gmbh | Testkit zur bestimmung eines analyten in einer pastoesen probe, insbesondere in stuhl |
| US5066463A (en) * | 1990-10-01 | 1991-11-19 | Chang Maw Guay | Multiple-purpose fecal examination apparatus |
| US5106582A (en) * | 1990-12-18 | 1992-04-21 | Smithkline Diagnostics, Inc. | Specimen test slide and method of testing for fecal occult blood |
| US5468648A (en) * | 1991-05-29 | 1995-11-21 | Smithkline Diagnostics, Inc. | Interrupted-flow assay device |
| US5998220A (en) | 1991-05-29 | 1999-12-07 | Beckman Coulter, Inc. | Opposable-element assay devices, kits, and methods employing them |
| US5869345A (en) * | 1991-05-29 | 1999-02-09 | Smithkline Diagnostics, Inc. | Opposable-element assay device employing conductive barrier |
| US5877028A (en) | 1991-05-29 | 1999-03-02 | Smithkline Diagnostics, Inc. | Immunochromatographic assay device |
| US6168956B1 (en) | 1991-05-29 | 2001-01-02 | Beckman Coulter, Inc. | Multiple component chromatographic assay device |
| US5607863A (en) * | 1991-05-29 | 1997-03-04 | Smithkline Diagnostics, Inc. | Barrier-controlled assay device |
| US5171529A (en) * | 1992-01-24 | 1992-12-15 | Robert Schreiber | Occult blood testing device |
| US5264181A (en) * | 1992-01-24 | 1993-11-23 | Robert Schreiber | Occult blood testing device |
| US5268146A (en) * | 1992-03-25 | 1993-12-07 | Litmus Concepts, Inc. | Fast response test panel |
| US5331973A (en) * | 1993-03-15 | 1994-07-26 | Fiedler Paul N | Method for obtaining stool samples for gastrointestinal cancer testing |
| US5900379A (en) * | 1996-04-11 | 1999-05-04 | Mizuho Usa, Inc. | Analytical device |
| US6232124B1 (en) | 1996-05-06 | 2001-05-15 | Verification Technologies, Inc. | Automated fingerprint methods and chemistry for product authentication and monitoring |
| US5948687A (en) * | 1996-06-05 | 1999-09-07 | Cleator; Iain G.M. | Device and method for screening fecal occult blood specimens |
| US5747344A (en) * | 1996-06-05 | 1998-05-05 | Cleator; Iain G.M. | Device and method for screening fecal occult blood specimens |
| US5714390A (en) * | 1996-10-15 | 1998-02-03 | Bio-Tech Imaging, Inc. | Cartridge test system for the collection and testing of blood in a single step |
| US5879951A (en) * | 1997-01-29 | 1999-03-09 | Smithkline Diagnostics, Inc. | Opposable-element assay device employing unidirectional flow |
| US5939252A (en) * | 1997-05-09 | 1999-08-17 | Lennon; Donald J. | Detachable-element assay device |
| US5954369A (en) * | 1997-09-19 | 1999-09-21 | Seabrook; March E | Greeting card with kit for health testing |
| US6077711A (en) * | 1998-02-25 | 2000-06-20 | Singer; Jason | Frangible ampule specimen test card |
| USD445906S1 (en) | 1998-08-11 | 2001-07-31 | Diagnostica, Inc. | Test kit housing |
| US6436714B1 (en) * | 1998-08-11 | 2002-08-20 | Diagnostica, Inc. | Self-contained system and method for testing for fecal occult blood |
| USD427320S (en) * | 1998-08-11 | 2000-06-27 | Diagnostica, Inc | Test kit housing |
| US6490030B1 (en) | 1999-01-18 | 2002-12-03 | Verification Technologies, Inc. | Portable product authentication device |
| US7079230B1 (en) | 1999-07-16 | 2006-07-18 | Sun Chemical B.V. | Portable authentication device and method of authenticating products or product packaging |
| US6512580B1 (en) | 1999-10-27 | 2003-01-28 | Verification Technologies, Inc. | Method and apparatus for portable product authentication |
| WO2002002301A1 (en) | 2000-06-30 | 2002-01-10 | Verification Technologies Inc. | Copy-protected optical media and method of manufacture thereof |
| US7124944B2 (en) | 2000-06-30 | 2006-10-24 | Verification Technologies, Inc. | Product packaging including digital data |
| US7486790B1 (en) | 2000-06-30 | 2009-02-03 | Verification Technologies, Inc. | Method and apparatus for controlling access to storage media |
| US6638593B2 (en) | 2000-06-30 | 2003-10-28 | Verification Technologies, Inc. | Copy-protected optical media and method of manufacture thereof |
| US7660415B2 (en) | 2000-08-03 | 2010-02-09 | Selinfreund Richard H | Method and apparatus for controlling access to storage media |
| US6850633B2 (en) * | 2001-02-23 | 2005-02-01 | Beckman Coulter, Inc. | Devices and methods for reading and interpreting guaiac-based occult blood tests |
| US6474694B1 (en) | 2001-06-05 | 2002-11-05 | Moore North America, Inc. | Medical test form |
| US20050084645A1 (en) * | 2002-02-07 | 2005-04-21 | Selinfreund Richard H. | Method and system for optical disc copy-protection |
| US7189356B1 (en) | 2002-05-03 | 2007-03-13 | Diagnostica, Inc. | Occult blood testing apparatus with features for enhancing ease of use |
| US20040160054A1 (en) * | 2003-02-13 | 2004-08-19 | Brad Davin | Combined collection or storage device for biological specimens |
| WO2005006959A2 (en) * | 2003-07-11 | 2005-01-27 | Oakville Hong Kong Co., Limited | Compact analyte testing cassette with true positive and negative analyte controls |
| US7588733B2 (en) | 2003-12-04 | 2009-09-15 | Idexx Laboratories, Inc. | Retaining clip for reagent test slides |
| US7427505B2 (en) * | 2004-07-22 | 2008-09-23 | Immunostics, Inc. | Fecal occult blood testing device and method |
| US8679420B2 (en) * | 2004-07-22 | 2014-03-25 | Immunostics, Inc. | Fecal sampling device and method |
| USD596753S1 (en) * | 2004-07-22 | 2009-07-21 | Lastella Vincent P | Testing device |
| EP2058661A1 (en) * | 2004-07-22 | 2009-05-13 | Immunostics, Inc. | Fecal occult blood testing device and method |
| USD598121S1 (en) | 2004-07-22 | 2009-08-11 | Lastella Vincent | Sampling device |
| US20080241940A1 (en) * | 2004-07-22 | 2008-10-02 | Lastella Vincent P | Fecal sampling device and method |
| US7195878B2 (en) * | 2004-09-30 | 2007-03-27 | Cryo-Genomics | Device and method for fecal testing |
| CN1760672B (zh) * | 2004-10-12 | 2010-05-12 | 因韦尔尼斯医药瑞士股份有限公司 | 样本检测装置和样本检测方法 |
| US20060184144A1 (en) * | 2005-02-01 | 2006-08-17 | Leslie Goulden | Fecal specimen collectors |
| EP1941253A1 (en) * | 2005-10-25 | 2008-07-09 | Inverness Medical Switzerland GmbH | Method and a kit for detecting an analyte in a sample |
| US7592181B2 (en) * | 2006-09-25 | 2009-09-22 | Diagnostica, Inc. | Occult blood testing device |
| US7556769B2 (en) * | 2006-11-10 | 2009-07-07 | Kevin Kikta | Fecal occult test packaging |
| US7748283B2 (en) | 2007-02-16 | 2010-07-06 | Whatman, Inc. | Controlled transfer biological sample collection devices and methods of using such devices |
| US7976792B2 (en) * | 2007-05-30 | 2011-07-12 | Ally Shivji | Biological specimen collection card |
| US8304596B2 (en) | 2008-04-11 | 2012-11-06 | Immunostics, Inc. | Fecal sampling device and method |
| US8394627B2 (en) * | 2009-10-09 | 2013-03-12 | Life Fit Testing, LLC | Home test kit for detecting fecal blood |
| GB2482726A (en) * | 2010-08-13 | 2012-02-15 | Invicta Plastics Ltd | Specimen slide for microscope |
| CN102331423A (zh) * | 2011-09-19 | 2012-01-25 | 苏州浩欧博生物医药有限公司 | 便隐血检测试纸及其制备方法 |
| USD680227S1 (en) * | 2011-12-22 | 2013-04-16 | Sandwell and West Birmingham Hospitals NHS Trust | Sample collector |
| CN110720033A (zh) * | 2016-12-08 | 2020-01-21 | Essenlix 公司 | 分析样品卡和适配器及其使用 |
| CN107505315A (zh) * | 2017-09-27 | 2017-12-22 | 安徽朗德生物科技有限公司 | 一种大便隐血试剂盒及使用方法 |
| CN110389057B (zh) * | 2018-04-23 | 2024-12-31 | 上海伯顿医疗设备有限公司 | 一体化多功能生物样品处理器 |
Family Cites Families (8)
| Publication number | Priority date | Publication date | Assignee | Title |
|---|---|---|---|---|
| US3853468A (en) * | 1972-05-08 | 1974-12-10 | H Haymond | Method and apparatus for clinical testing of biological fluids |
| US3838012A (en) * | 1972-11-20 | 1974-09-24 | Lilly Co Eli | Multipoint test paper |
| US3933594A (en) * | 1974-08-16 | 1976-01-20 | Polaroid Corporation | Method and device for determining the concentration of a substance in a fluid |
| US3986834A (en) * | 1975-06-04 | 1976-10-19 | Becton, Dickinson And Company | Method for detecting blood urea nitrogen |
| AT360176B (de) * | 1977-07-01 | 1980-12-29 | Roehm Gmbh | Testkarte fuer den nachweis okkulten bluts im stuhl |
| US4175923A (en) * | 1978-06-26 | 1979-11-27 | Friend William G | Method and apparatus for occult blood testing in the home |
| AT370312B (de) * | 1978-08-10 | 1983-03-25 | Roehm Gmbh | Testbriefe fuer stuhlproben |
| DE2853300C3 (de) * | 1978-12-09 | 1982-12-02 | Röhm GmbH, 6100 Darmstadt | Schnelldiagnostica zur diagnostischen Erfassung von okkultem Blut |
-
1981
- 1981-05-01 US US06/259,757 patent/US4365970A/en not_active Expired - Lifetime
-
1982
- 1982-04-24 GR GR67987A patent/GR75409B/el unknown
- 1982-04-26 PH PH27195A patent/PH19226A/en unknown
- 1982-04-26 AU AU83010/82A patent/AU549811B2/en not_active Expired
- 1982-04-26 JP JP57071112A patent/JPS57190266A/ja active Granted
- 1982-04-27 PT PT74807A patent/PT74807B/pt unknown
- 1982-04-27 PL PL1982236165A patent/PL131497B1/pl unknown
- 1982-04-27 ES ES511740A patent/ES8308429A1/es not_active Expired
- 1982-04-27 IL IL65638A patent/IL65638A/xx unknown
- 1982-04-27 NZ NZ200431A patent/NZ200431A/en unknown
- 1982-04-28 BG BG056423A patent/BG40490A3/xx unknown
- 1982-04-28 SU SU823430045A patent/SU1480777A3/ru active
- 1982-04-29 FI FI821512A patent/FI73838C/fi not_active IP Right Cessation
- 1982-04-29 DD DD82239426A patent/DD209029A5/de unknown
- 1982-04-29 YU YU934/82A patent/YU44422B/xx unknown
- 1982-04-29 AT AT82302207T patent/ATE16644T1/de not_active IP Right Cessation
- 1982-04-29 ZA ZA822929A patent/ZA822929B/xx unknown
- 1982-04-29 CA CA000401954A patent/CA1174150A/en not_active Expired
- 1982-04-29 RO RO82107389A patent/RO87961A2/ro unknown
- 1982-04-29 DE DE8282302207T patent/DE3267532D1/de not_active Expired
- 1982-04-29 EP EP82302207A patent/EP0064392B1/en not_active Expired
- 1982-04-30 NO NO821445A patent/NO159466C/no unknown
- 1982-04-30 IE IE1023/82A patent/IE53142B1/en unknown
- 1982-04-30 HU HU821368A patent/HU186012B/hu not_active IP Right Cessation
- 1982-04-30 CS CS823129A patent/CS254310B2/cs unknown
- 1982-04-30 KR KR8201925A patent/KR880000752B1/ko not_active Expired
- 1982-04-30 DK DK193782A patent/DK154858C/da not_active IP Right Cessation
Also Published As
Similar Documents
| Publication | Publication Date | Title |
|---|---|---|
| KR880000752B1 (ko) | 잠혈을 감지하기 위한 테스트의 개량된 검사물 테스트 슬라이드와 테스트 방법 | |
| JP2513740B2 (ja) | 糞便潜血採取およびテスト用方法および装置 | |
| EP0239265B1 (en) | Method and device for collecting and testing for fecal occult blood | |
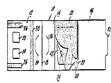
| US3996006A (en) | Specimen test slide | |
| CA2033985C (en) | Device and method for collecting fecal occult blood specimens | |
| DE69125827T2 (de) | Probentestträger und verfahren zur prüfung von okkultem blut im stuhl | |
| US5948687A (en) | Device and method for screening fecal occult blood specimens | |
| US4742002A (en) | Test kit and method for determining the presence of blood in a specimen and for testing the effectiveness of peroxidase inactivating solution | |
| US5747344A (en) | Device and method for screening fecal occult blood specimens | |
| US5273888A (en) | Chemical test kit and method for determining the presence of blood in a specimen and for verifying the effectiveness of the chemicals | |
| US5702913A (en) | Chromgen-reagent test system | |
| KR101324839B1 (ko) | 반응 화학을 사용한 측면 유출 장치 | |
| EP0117689A1 (en) | Improved specimen slide for occult blood testing | |
| US20080241940A1 (en) | Fecal sampling device and method | |
| CA1071911A (en) | Specimen test slide with hinged cover means |
Legal Events
| Date | Code | Title | Description |
|---|---|---|---|
| PA0109 | Patent application |
St.27 status event code: A-0-1-A10-A12-nap-PA0109 |
|
| R17-X000 | Change to representative recorded |
St.27 status event code: A-3-3-R10-R17-oth-X000 |
|
| P11-X000 | Amendment of application requested |
St.27 status event code: A-2-2-P10-P11-nap-X000 |
|
| P13-X000 | Application amended |
St.27 status event code: A-2-2-P10-P13-nap-X000 |
|
| P11-X000 | Amendment of application requested |
St.27 status event code: A-2-2-P10-P11-nap-X000 |
|
| P13-X000 | Application amended |
St.27 status event code: A-2-2-P10-P13-nap-X000 |
|
| PG1501 | Laying open of application |
St.27 status event code: A-1-1-Q10-Q12-nap-PG1501 |
|
| PA0201 | Request for examination |
St.27 status event code: A-1-2-D10-D11-exm-PA0201 |
|
| PG1605 | Publication of application before grant of patent |
St.27 status event code: A-2-2-Q10-Q13-nap-PG1605 |
|
| PE0701 | Decision of registration |
St.27 status event code: A-1-2-D10-D22-exm-PE0701 |
|
| PR0701 | Registration of establishment |
St.27 status event code: A-2-4-F10-F11-exm-PR0701 |
|
| PR1002 | Payment of registration fee |
St.27 status event code: A-2-2-U10-U11-oth-PR1002 Fee payment year number: 1 |
|
| PC1903 | Unpaid annual fee |
St.27 status event code: A-4-4-U10-U13-oth-PC1903 Not in force date: 19910505 Payment event data comment text: Termination Category : DEFAULT_OF_REGISTRATION_FEE |
|
| PC1903 | Unpaid annual fee |
St.27 status event code: N-4-6-H10-H13-oth-PC1903 Ip right cessation event data comment text: Termination Category : DEFAULT_OF_REGISTRATION_FEE Not in force date: 19910505 |