KR20190032229A - 이중 클로스를 패딩하기 위한 방법 - Google Patents
이중 클로스를 패딩하기 위한 방법 Download PDFInfo
- Publication number
- KR20190032229A KR20190032229A KR1020180111229A KR20180111229A KR20190032229A KR 20190032229 A KR20190032229 A KR 20190032229A KR 1020180111229 A KR1020180111229 A KR 1020180111229A KR 20180111229 A KR20180111229 A KR 20180111229A KR 20190032229 A KR20190032229 A KR 20190032229A
- Authority
- KR
- South Korea
- Prior art keywords
- bag
- padded
- area
- cloth
- blank
- Prior art date
- Legal status (The legal status is an assumption and is not a legal conclusion. Google has not performed a legal analysis and makes no representation as to the accuracy of the status listed.)
- Withdrawn
Links
- 238000000034 method Methods 0.000 title claims abstract description 27
- 210000003746 feather Anatomy 0.000 claims abstract description 23
- 239000004744 fabric Substances 0.000 claims description 37
- 241000272814 Anser sp. Species 0.000 claims description 10
- 238000009958 sewing Methods 0.000 claims description 9
- 230000002093 peripheral effect Effects 0.000 claims description 2
- 238000000926 separation method Methods 0.000 description 4
- 230000002441 reversible effect Effects 0.000 description 3
- 210000002268 wool Anatomy 0.000 description 3
- 239000000463 material Substances 0.000 description 2
- 238000007796 conventional method Methods 0.000 description 1
- 238000003780 insertion Methods 0.000 description 1
- 230000037431 insertion Effects 0.000 description 1
- 238000012986 modification Methods 0.000 description 1
- 230000004048 modification Effects 0.000 description 1
- 238000007789 sealing Methods 0.000 description 1
- 239000004575 stone Substances 0.000 description 1
Images
Classifications
-
- A—HUMAN NECESSITIES
- A41—WEARING APPAREL
- A41H—APPLIANCES OR METHODS FOR MAKING CLOTHES, e.g. FOR DRESS-MAKING OR FOR TAILORING, NOT OTHERWISE PROVIDED FOR
- A41H43/00—Other methods, machines or appliances
-
- B—PERFORMING OPERATIONS; TRANSPORTING
- B65—CONVEYING; PACKING; STORING; HANDLING THIN OR FILAMENTARY MATERIAL
- B65B—MACHINES, APPARATUS OR DEVICES FOR, OR METHODS OF, PACKAGING ARTICLES OR MATERIALS; UNPACKING
- B65B1/00—Packaging fluent solid material, e.g. powders, granular or loose fibrous material, loose masses of small articles, in individual containers or receptacles, e.g. bags, sacks, boxes, cartons, cans, or jars
- B65B1/04—Methods of, or means for, filling the material into the containers or receptacles
-
- A—HUMAN NECESSITIES
- A41—WEARING APPAREL
- A41D—OUTERWEAR; PROTECTIVE GARMENTS; ACCESSORIES
- A41D27/00—Details of garments or of their making
-
- A—HUMAN NECESSITIES
- A41—WEARING APPAREL
- A41D—OUTERWEAR; PROTECTIVE GARMENTS; ACCESSORIES
- A41D3/00—Overgarments
- A41D3/02—Overcoats
-
- A—HUMAN NECESSITIES
- A41—WEARING APPAREL
- A41D—OUTERWEAR; PROTECTIVE GARMENTS; ACCESSORIES
- A41D15/00—Convertible garments
- A41D15/005—Convertible garments reversible garments
-
- A—HUMAN NECESSITIES
- A41—WEARING APPAREL
- A41D—OUTERWEAR; PROTECTIVE GARMENTS; ACCESSORIES
- A41D27/00—Details of garments or of their making
- A41D27/02—Linings
-
- A—HUMAN NECESSITIES
- A41—WEARING APPAREL
- A41D—OUTERWEAR; PROTECTIVE GARMENTS; ACCESSORIES
- A41D3/00—Overgarments
-
- A—HUMAN NECESSITIES
- A41—WEARING APPAREL
- A41D—OUTERWEAR; PROTECTIVE GARMENTS; ACCESSORIES
- A41D31/00—Materials specially adapted for outerwear
-
- A—HUMAN NECESSITIES
- A41—WEARING APPAREL
- A41D—OUTERWEAR; PROTECTIVE GARMENTS; ACCESSORIES
- A41D31/00—Materials specially adapted for outerwear
- A41D31/02—Layered materials
-
- A—HUMAN NECESSITIES
- A41—WEARING APPAREL
- A41D—OUTERWEAR; PROTECTIVE GARMENTS; ACCESSORIES
- A41D31/00—Materials specially adapted for outerwear
- A41D31/04—Materials specially adapted for outerwear characterised by special function or use
- A41D31/06—Thermally protective, e.g. insulating
-
- A—HUMAN NECESSITIES
- A41—WEARING APPAREL
- A41D—OUTERWEAR; PROTECTIVE GARMENTS; ACCESSORIES
- A41D31/00—Materials specially adapted for outerwear
- A41D31/04—Materials specially adapted for outerwear characterised by special function or use
- A41D31/06—Thermally protective, e.g. insulating
- A41D31/065—Thermally protective, e.g. insulating using layered materials
-
- A—HUMAN NECESSITIES
- A41—WEARING APPAREL
- A41D—OUTERWEAR; PROTECTIVE GARMENTS; ACCESSORIES
- A41D31/00—Materials specially adapted for outerwear
- A41D31/04—Materials specially adapted for outerwear characterised by special function or use
- A41D31/10—Impermeable to liquids, e.g. waterproof; Liquid-repellent
- A41D31/102—Waterproof and breathable
-
- B—PERFORMING OPERATIONS; TRANSPORTING
- B65—CONVEYING; PACKING; STORING; HANDLING THIN OR FILAMENTARY MATERIAL
- B65B—MACHINES, APPARATUS OR DEVICES FOR, OR METHODS OF, PACKAGING ARTICLES OR MATERIALS; UNPACKING
- B65B51/00—Devices for, or methods of, sealing or securing package folds or closures; Devices for gathering or twisting wrappers, or necks of bags
- B65B51/04—Applying separate sealing or securing members, e.g. clips
- B65B51/07—Sewing or stitching
-
- A—HUMAN NECESSITIES
- A41—WEARING APPAREL
- A41D—OUTERWEAR; PROTECTIVE GARMENTS; ACCESSORIES
- A41D2400/00—Functions or special features of garments
- A41D2400/10—Heat retention or warming
Landscapes
- Engineering & Computer Science (AREA)
- Textile Engineering (AREA)
- Mechanical Engineering (AREA)
- Physics & Mathematics (AREA)
- Thermal Sciences (AREA)
- Bedding Items (AREA)
- Woven Fabrics (AREA)
- Nonwoven Fabrics (AREA)
- Outer Garments And Coats (AREA)
Abstract
이중 클로스를 패딩하기 위한 방법은
- 바람직하게는 의류 품목의 일 부분과 같이 형성된, 이중 클로스로 제조된 블랭크(1)를 준비하는 단계 - 상기 이중 클로스는 연결 스레드(5)의 2 차원 분포에 의해 서로 결합되는 클로스(2, 3)의 적어도 2개의 층을 포함함 - ;
- 상기 블랭크의 적어도 하나의 에지 영역(6)으로부터 시작하여 부분적으로 처리된 품목의 패딩될 영역(7)에 실질적으로 대응하는 정도로 상기 클로스의 2개의 층(2, 3)을 분리하는 단계;
- 상기 패딩될 영역(7)에서 상기 클로스의 2개의 층(2, 3) 사이에, 페더 또는 다운의 백(10)을 끼우는 단계;
- 상기 적어도 하나의 에지 영역(6)을 폐쇄하는 단계
를 포함하는 것을 특징으로 한다.
- 바람직하게는 의류 품목의 일 부분과 같이 형성된, 이중 클로스로 제조된 블랭크(1)를 준비하는 단계 - 상기 이중 클로스는 연결 스레드(5)의 2 차원 분포에 의해 서로 결합되는 클로스(2, 3)의 적어도 2개의 층을 포함함 - ;
- 상기 블랭크의 적어도 하나의 에지 영역(6)으로부터 시작하여 부분적으로 처리된 품목의 패딩될 영역(7)에 실질적으로 대응하는 정도로 상기 클로스의 2개의 층(2, 3)을 분리하는 단계;
- 상기 패딩될 영역(7)에서 상기 클로스의 2개의 층(2, 3) 사이에, 페더 또는 다운의 백(10)을 끼우는 단계;
- 상기 적어도 하나의 에지 영역(6)을 폐쇄하는 단계
를 포함하는 것을 특징으로 한다.
Description
본 발명은 이중 클로스를 패딩하기 위한 방법에 관한 것이다.
"이중" 클로스는 층 사이의 모든 접촉면을 실질적으로 따라, 연결 스레드의 2 차원 분포를 통해 서로 함께 결합된 예를 들어 양모의, 클로스의 2개의 층으로 형성된 클로스이다.
이러한 방식으로, 클로스는 양 면에 우측을 가지며, 이러한 클로스로 제조된 의류 품목은 그 결과 뒤집힐 수 있는데, 즉, 뒤집어서 착용할 수도 있다.
요즘에는 페더 또는 다운으로 패딩되어 예를 들어 뒤집을 수 있는 양면성 및 밝기와 같은 이중 클로스 의류의 전형적인 특성을 유지하는 것이 바람직한 이중 클로스로 만들어진 의류 품목을 생산할 수 있도록 하는 방법이 알려져 있지 않다.
본 발명의 목적은 페더 또는 다운으로 이중 클로스를 패딩하는 방법을 제공하는 것이다.
이 목적 내에서, 본 발명의 목적은 이미 이용 가능한 이중 클로스로부터 시작하는 그러한 방법을 제공하는 것이다.
본 발명의 다른 목적은 페더나 다운이 직물로부터 빠져 나올 수 있는 가능성을 감소시키거나 방지하는 페더 또는 다운으로 이중 클로스를 패딩하는 방법을 제공하는 것이다.
또한, 본 발명의 다른 목적은 임의의 기존 솔루션에 대한 대안적인 방식으로 종래 기술의 단점을 극복하는 것이다.
본 발명의 또 다른 목적은 신뢰성이 높고, 구현하기 쉽고, 저비용인 방법을 제공하는 것이다.
이하에서 보다 명확해질 이러한 목적 및 이들 및 다른 목적은 이중 클로스를 패딩하기 위한 방법에 의해 달성되며, 이는 다음의 단계를 포함하는 것을 특징으로 한다:
- 바람직하게는 의류 품목의 일 부분과 같이 형성된, 이중 클로스로 제조된 블랭크를 제공하는 단계 - 상기 이중 클로스는 연결 스레드의 2 차원 분포에 의해 서로 결합되는 클로스의 적어도 2개의 층을 포함함 - ;
- 상기 블랭크의 적어도 하나의 에지 영역으로부터 시작하여 부분적으로 처리된 품목의 패딩될 영역에 실질적으로 대응하는 정도로 상기 클로스의 2개의 층를 분리하는 단계;
- 상기 패딩될 영역에서 상기 클로스의 2개의 층 사이에, 페더 또는 다운, 바람직하게는 구스 페더 또는 다운의 백을 끼우는 단계;
- 상기 적어도 하나의 에지 영역을 폐쇄하는 단계
본 발명의 다른 특징 및 이점은 첨부된 도면에 비한정적인 예로서 도시된 본 발명에 따른 방법의 바람직한 실시예에 대한 이하의 상세한 설명으로부터 보다 명확해질 것이다.
도 1은 본 발명에 따른 방법에 사용될 수 있는 이중 클로스로 제조된 블랭크를 도시한다.
도 2는 패딩될 영역을 생성하기 위해 이중 클로스의 2개의 층 사이의 분리의 시작을 도시한다.
도 3은 이중 클로스의 패딩될 영역으로의 백의 삽입을 도시한다.
도 4는 패딩될 영역에 삽입된 백을 도시한다.
도 5는 페더 또는 다운으로 충전될 포켓을 만들기 위해 패딩될 영역의 재봉을 보여준다.
도 6은 이전 도면에서 포켓을 충전하는 것을 도시한다.
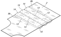
도 7은 이전 도면에서 포켓을 스티치 폐쇄한 후 패딩된 블랭크를 보여준다.
도 2는 패딩될 영역을 생성하기 위해 이중 클로스의 2개의 층 사이의 분리의 시작을 도시한다.
도 3은 이중 클로스의 패딩될 영역으로의 백의 삽입을 도시한다.
도 4는 패딩될 영역에 삽입된 백을 도시한다.
도 5는 페더 또는 다운으로 충전될 포켓을 만들기 위해 패딩될 영역의 재봉을 보여준다.
도 6은 이전 도면에서 포켓을 충전하는 것을 도시한다.
도 7은 이전 도면에서 포켓을 스티치 폐쇄한 후 패딩된 블랭크를 보여준다.
도면을 참조하면, 일반적으로 참조 번호 1로 표시된 본 발명에 따른 방법은 종래의 기술로 미리 제조된 이중 클로스로부터 유래하는 블랭크(1)를 준비하는 단계를 포함한다. 이중 클로스는 실질적으로 층(2)과 층(3) 사이의 모든 접촉면을 따라, 연결 스레드(5)의 2 차원 분포에 의해 상호 결합된, 예를 들어 양모의 클로스의 적어도 2개의 층(2 및 3)을 포함한다.
블랭크(1)는 제조될 의류 아이템의 일부와 같은 형상일 수 있으며, 예를 들어 블랭크(1)는 결정된 패턴에 따라 이중 클로스를 절단함으로써 성형될 수 있다.
이어서, 블랭크의 적어도 하나의 에지 영역으로부터 시작하여 블랭크(1)의 패딩된 영역(7)에 실질적으로 대응하는 클로스의 적어도 2개의 층(2 및 3)이 분리된다.
도시된 예에서, 패딩될 영역(7)은 밴드, 즉 블랭크의 2개의 서로 마주 보는 에지(6 및 8)를 포함하는 전체 블랭크(1)의 일 부분에 대응한다. 도시되지 않은 다른 실시예에서, 패딩될 영역은 블랭크(1)의 전체 표면에 대응할 수 있다.
바람직하게는, 본 발명에 따른 방법은 블랭크(1) 상에 블랭크(1) 상에, 패딩될 영역(7)의 경계 및/또는 본 발명에 따른 방법의 후속 단계에서 잠금 스티치 또는 고정을 어디에서 수행해야 하는지를 시각적으로 나타내도록 구성되어, 작업자가 제조하는 것을 돕는 예를 들어 초크 또는 직물 연필을 사용하여 블랭크(1) 상에 임시 라인(4)을 추적하는 단계를 포함한다.
패딩된 영역(7)에서 클로스의 적어도 2개의 층(2 및 3)의 상호 분리를 수행하기 위해, 작업자는 에지 영역(6)에서 2개의 층(2 및 3) 사이에 삽입된 블레이드(도시되지 않음)를 사용하여 패딩될 영역(7)에서 이러한 층들을 함께 유지시킨 연결 스레드(5)를 절단할 수 있다.
바람직하게는, 층(2 및 3)의 분리를 제한하여 패딩될 영역(7) 외측의 블랭크(1)의 영역에 영향을 미치지 않도록 하기 위해, 블랭크(1) 상에 봉합을 위해 잠금 스티치 또는 가봉 스티치를 수행할 수 있다. 손 또는 재봉기로 수행될 수 있는 봉합용 잠금 스티치 또는 가봉 스티치는 클로스의 층(2, 3)이 분리되었거나 또는 분리될 패딩될 영역(7)이 원하지 않게, 클로스의 층(2, 3)이 분리되어서는 안 되는 상기 블랭크(1)의 영역을 향해 팽창되는 것을 방지하도록 구성된다.
대안적으로, 봉합(9b)을 위한 잠금 스티치 또는 가봉 스티치는 패딩된 영역(7)에 후술될 백(10)을 삽입한 후에 수행될 수 있고, 선택적으로 백(10)을 통과하여(10), 패딩돌 영역(7)에 백(10)을 고정시킨다.
봉합(9b)을 위한 잠금 스티치 또는 가봉 스티치는 바람직하게는 본 발명에 따른 방법의 말미에서 제거될 것이다.
본 발명에 따른 방법은 층(2)와 층(3)을 분리하는 단계 후에, 상기 분리 단계에 의해 획득된 패딩될 영역(7)에서 상기 분리된 2개의 층(2, 3) 사이에, 페더 또는 다운(11), 바람직하게는 구스 페더 또는 구스 다운으로 충전된 백(10)을 끼우는 단계를 계속한다.
도시되지 않은 실시예에서 이러한 끼움 단계는 패딩될 영역(7) 내로, 미리 페더 또는 다운으로 충전된 백을 삽입하는 단계를 포함할 수 있다. 그러나, 이러한 끼움 단계는 부분 처리된 품목을 재봉하는 후속 단계에서, 재봉 바늘에 의해 페더 또는 다운이 직물로부터 인출될 수 있다는 결점을 가질 수도 있다.
이러한 가능한 단점을 극복하기 위해, 도면에 도시된 본 발명의 바람직한 실시예에서, 패딩될 영역(7)의 클로스의 2개의 층(2-3) 사이에는 백(10)이 삽입되고, 상기 백은 비어 있는데, 즉, 페더 또는 다운이 없어서, 삽입 후, 빈 백(10)의 마우스(12)는 클로스의 적어도 2개의 층(2-3)이 분리되기 시작한 에지 영역(6)을 따라, 또는 클로스의 2개의 층(2-3)이 분리되는 패딩될 영역(7)의 임의의 다른 에지(8)를 따라 위치된다.
실질적으로 패딩될 영역(7)의 것에 상응하는 표면 장력, 즉 폭 및 길이를 갖는 백(10)은 바람직하게는 그 자체로 공지된 다운-프루프 재료로 제조된다.
빈 백(10)을 패딩될 영역(7)에 삽입한 후, 백(10)은 바람직하게는, 예를 들어 블랭크(1)에 백(10)을 관통하는 고정용 잠금 스티치(9a)를 적용함으로써 이중 클로스의 층(2 및 3)에 고정된다. 도면에서 고정 잠금 스티치(9a)는 백(10)의 바닥 영역에 적용되었지만, 본 발명의 다른 실시예에서는 백의 마우스(12)를 제외하고는 백(10)의 모든 주변 영역을 따라 연장될 수 있고, 이는 따라서 개방된 상태로 유지되고 후속 단계를 위해 외부로부터 액세스될 수 있다.
이 시점에서, 백(10)은 페더 또는 다운(11), 바람직하게는 구스 페더 또는 구스 다운으로 이 채워질 수 있고, 마지막으로 패딩될 영역(7)을 폐쇄할 수 있다.
도시된 바람직한 실시예에서, 페더 또는 다운(11)으로 백(10)을 채우기 전에, 예를 들어 적어도 하나의 라인을 따라, 바람직하게는 복수의 라인(4)을 따라, 백(10)의 둘레 내부에서, 예를 들어 백의 마우스(12) 또는 백(10)의 마우스(12)에 외부로부터 접근 가능한 블랭크(1)의 에지 영역(6)에 횡 방향 또는 실질적으로 수직인 실질적으로 평행한 라인들(4)을 따라 빈 백(10)을 수용하는 패딩될 영역(7)에 재봉 작업을 수행함으로써 하나 이상의 포켓(16)이 백(10)에 생성된다. 이러한 재봉 작업은 이전에 추적된 임시 라인(4)의 존재에 의해 바람직하게 촉진될 수 있고, 이를 따라 재봉 바늘이 작동되도록 될 수 있다.
이러한 재봉 작업으로부터 얻어진 잠금 스티치(13)는 또한 클로스의 층들(2 및 3)과 백(10)을 서로 고정되게 유지할 것이다.
그 다음, 포켓(16)은 개구 포트에서, 즉 전술한 잠금 스티치(13)로 얻어진 백의 마우스(12)의 각각의 부분에서 페더 또는 다운(11)으로, 바람직하게는 구스 페더 또는 구스 다운으로 충전되어, “부댕(boudin)”(14), 즉 다운 재킷의 전형적인 소시지-형 외관을 생성한다.
충전은 그 자체로 공지된 방식으로, 예를 들어 인젝터(17)가 구비된 페더로 힘을 채우기 위한 기계로 수행될 수 있으며, 이는 마우스(12)에서 빈 백(10), 보다 구체적으로는 도 6에 도시된 바와 같이 포켓(16) 각각에 삽입된다.
백(10)울 페더 또는 다운(11)으로 채운 후에, 다른 잠금 스티치(15)가 백(10)의 마우스(12)를 따라 및/또는 백이 페더 또는 다운으로 채워지는 블랭크(1)의 에지 영역을 따라 수행되고, 이러한 방식으로 패딩될 영역(7)이 폐쇄된다.
도시되지 않은 본 발명의 다른 실시예에서, 라인(13 및/또는 15 및/또는 9a 및/또는 9b)을 따른 고정은 예를 들어 양면 접착 테이프의 개재에 의해 재봉 이외의 테일러링 기술에 의해 수행될 수 있다.
패딩된 영역(7)이 폐쇄된 후 블랭크(1)로부터 돌출된 백(10)의 임의의 플랩은 쉽게 절단될 수 있다.
이와 같이 얻어진 페더 또는 다운으로 패딩된 블랭크는 임의로 피니싱되고 및/또는 다른 것들과 결합되어 완전한 의류 품목을 얻을 수 있다.
실제로, 본 발명은 의도된 목적 및 목표를 완전히 달성하는 것으로 밝혀졌는데, 왜냐하면 페더 또는 다운으로 패딩된 이중 클로스로 만들어진 의류 아이템을 얻을 수 있게 함과 동시에, 예를 들어 뒤집을 수 있는 가역성과 같은 이 직물의 전형적인 모든 특성을 유지할 수 있기 때문이다.
따라서, 본 발명은 수많은 변형 및 변경이 가능하며, 이들 모두는 첨부된 청구항의 범위 내에있다. 또한, 모든 세부 사항은 기술적으로 동등한 다른 요소로 대체될 수 있다.
실제로, 조건부 형상 및 치수뿐만 아니라 사용된 재료는 요구 조건 및 최신 기술에 따라 임의로 선택될 수 있다.
Claims (10)
- 이중 클로스를 패딩하기 위한 방법에 있어서,
- 바람직하게는 의류 품목의 일 부분과 같이 형성된, 이중 클로스로 제조된 블랭크(1)를 제공하는 단계 - 상기 이중 클로스는 연결 스레드(5)의 2 차원 분포에 의해 서로 결합되는 클로스의 적어도 2개의 층(2, 3)을 포함함 - ;
- 상기 블랭크의 적어도 하나의 에지 영역(6)으로부터 시작하여 블랭크의 패딩될 영역(7)에 실질적으로 대응하는 정도로 상기 클로스의 2개의 층(2, 3)을 분리하는 단계;
- 상기 패딩될 영역(7)에서 상기 클로스의 2개의 층(2, 3) 사이에, 페더 또는 다운, 바람직하게는 구스 페더 또는 구스 다운의 백(10)을 끼우는 단계;
- 상기 적어도 하나의 에지 영역(6)을 폐쇄하는 단계
를 포함하는, 방법. - 제1항에 있어서, 상기 끼우는 단계는,
- 상기 클로스의 2개의 층(2, 3) 사이에, 페더 또는 다운이 아직 없는 상태에서, 상기 백(10)을 삽입하는 단계 - 상기 백(10)은 개방 마우스(12)를 가짐 - ;
- 상기 백을 상기 마우스(12)를 통해 페더 또는 다운(11), 바람직하게는 구스 페더 또는 다운으로 충전하는 단계
를 포함하고,
상기 폐쇄하는 단계는 상기 백의 마우스(12)을 폐쇄하는 단계를 포함하는 것인, 방법. - 제1항 또는 제2항에 있어서,
상기 분리하는 단계에 이전에, 클로스의 층(2, 3)이 분리되었거나 또는 분리될 패딩될 영역(7)이 원하지 않게, 클로스의 층(2, 3)이 분리되어서는 안 되는 상기 블랭크(1)의 영역을 향해 팽창되는 것을 방지하도록 구성되는, 상기 에지 영역(6)에 의해 영향을 받지 않는 상기 패딩될 영역(7)의 적어도 한 측면에 봉합(9b)을 위해 잠금 스티치 또는 가봉(basting) 스티치를 적용하는 단계를 포함하는 것인, 방법. - 제1항 내지 제3항 중 어느 한 항에 있어서,
상기 패딩될 영역(7)에 상기 백(10)을 고정하는 단계를 더 포함하며, 상기 고정 단계는 바람직하게는 상기 충전하는 단계에 선행하는 것인, 방법. - 제4항에 있어서,
상기 고정하는 단계는 상기 클로스의 2개의 층(2, 3)과 상기 백(10)을 통과하는 적어도 하나의 고정 잠금 스티치(9a)에 의해 달성되는 것인, 방법. - 제4항 또는 제5항에 있어서,
상기 고정하는 단계는 상기 패딩될 영역(7)에 수용된 상기 백(10)의 주변 영역을 따라 상기 블랭크(1) 상에서 수행되는 것인, 방법. - 제4항 내지 제6항 중 어느 한 항에 있어서,
상기 고정하는 단계는 상기 백(10)의 둘레 내에서 적어도 하나의 라인(4)을 따라 수행되는 것인, 방법. - 제7항에 있어서,
상기 적어도 하나의 라인(4)은, 상기 클로스의 2개의 층(2, 3) 사이에 고정되고 상기 백의 마우스(12)으로부터 시작하는 상기 백(10) 내에서, 상기 충전하는 단계에서 페더 또는 다운(11)으로 각각 충전되는 복수의 포켓(16)을 한정하도록 구성되는 것인, 방법. - 제8항에 있어서,
상기 폐쇄하는 단계는 바람직하게는 재봉(15)에 의해 상기 포켓(16)을 폐쇄하는 단계를 포함하는 것인, 방법. - 제1항 내지 제9항 중 어느 한 항에 있어서,
상기 패딩될 영역(7)은 전체 블랭크(1)의 연장부에 실질적으로 대응하는 연장부를 갖는 것인, 방법.
Applications Claiming Priority (2)
| Application Number | Priority Date | Filing Date | Title |
|---|---|---|---|
| IT102017000104327A IT201700104327A1 (it) | 2017-09-19 | 2017-09-19 | Procedimento di imbottitura di tessuti double. |
| IT102017000104327 | 2017-09-19 |
Publications (1)
| Publication Number | Publication Date |
|---|---|
| KR20190032229A true KR20190032229A (ko) | 2019-03-27 |
Family
ID=61006163
Family Applications (1)
| Application Number | Title | Priority Date | Filing Date |
|---|---|---|---|
| KR1020180111229A Withdrawn KR20190032229A (ko) | 2017-09-19 | 2018-09-18 | 이중 클로스를 패딩하기 위한 방법 |
Country Status (8)
| Country | Link |
|---|---|
| US (1) | US20190084699A1 (ko) |
| EP (1) | EP3456215A1 (ko) |
| JP (1) | JP2019056198A (ko) |
| KR (1) | KR20190032229A (ko) |
| CN (1) | CN109527678A (ko) |
| CA (1) | CA3015713A1 (ko) |
| IT (1) | IT201700104327A1 (ko) |
| MA (1) | MA46976A (ko) |
Families Citing this family (3)
| Publication number | Priority date | Publication date | Assignee | Title |
|---|---|---|---|---|
| CN113929052B (zh) * | 2020-07-14 | 2022-03-29 | 西昌市邛池茶业有限责任公司 | 荞壳填充垫自动打袋机 |
| CN112315087B (zh) * | 2020-11-18 | 2022-08-12 | 上海之禾企业发展有限公司 | 原色亚麻无里男西装及其制作方法 |
| US11723424B2 (en) * | 2021-04-27 | 2023-08-15 | Acushnet Company | Insulated paneling for active sports |
Family Cites Families (5)
| Publication number | Priority date | Publication date | Assignee | Title |
|---|---|---|---|---|
| GB2212719B (en) * | 1987-11-26 | 1991-10-23 | Mazor Ltd | Cushion |
| JP2001186971A (ja) * | 1999-12-27 | 2001-07-10 | France Bed Co Ltd | 羽毛掛け布団 |
| JP2001234417A (ja) * | 2000-02-21 | 2001-08-31 | Shogo Tsuchida | 二重ダウンウェア |
| WO2010093211A2 (ko) * | 2009-02-13 | 2010-08-19 | Kim Hye Ran | 다운 주머니, 이를 이용한 다운 제품 및 그 제조 방법 |
| US9950492B2 (en) * | 2014-04-10 | 2018-04-24 | Channel Gear, LLC | Variable insulation system for outdoor equipment |
-
2017
- 2017-09-19 IT IT102017000104327A patent/IT201700104327A1/it unknown
-
2018
- 2018-08-28 CA CA3015713A patent/CA3015713A1/en not_active Abandoned
- 2018-09-05 EP EP18192714.6A patent/EP3456215A1/en not_active Withdrawn
- 2018-09-05 MA MA046976A patent/MA46976A/fr unknown
- 2018-09-14 JP JP2018172062A patent/JP2019056198A/ja active Pending
- 2018-09-17 CN CN201811083088.2A patent/CN109527678A/zh active Pending
- 2018-09-18 KR KR1020180111229A patent/KR20190032229A/ko not_active Withdrawn
- 2018-09-18 US US16/134,544 patent/US20190084699A1/en not_active Abandoned
Also Published As
| Publication number | Publication date |
|---|---|
| US20190084699A1 (en) | 2019-03-21 |
| CN109527678A (zh) | 2019-03-29 |
| EP3456215A1 (en) | 2019-03-20 |
| MA46976A (fr) | 2019-10-09 |
| CA3015713A1 (en) | 2019-03-19 |
| IT201700104327A1 (it) | 2019-03-19 |
| JP2019056198A (ja) | 2019-04-11 |
Similar Documents
| Publication | Publication Date | Title |
|---|---|---|
| KR20190032229A (ko) | 이중 클로스를 패딩하기 위한 방법 | |
| Seram et al. | Investigating the possibility of constructing different seam types for clothing using ultrasonic | |
| CN106868728B (zh) | 一种双层服装的隐形拉链的缝制方法 | |
| CN103948200B (zh) | 一种高端全对格对条衬衫的制作工艺 | |
| US2282545A (en) | Garment pocket and method of making same | |
| US6475318B2 (en) | Method for creating a design using multiple pieces of material | |
| US1426892A (en) | Seam | |
| CN104116195B (zh) | 一种弹力羽绒服及其制作方法 | |
| CN109602101B (zh) | 一种毛料裤子膝围绸和口袋布二合一裁制方法 | |
| CN105080146A (zh) | 一种人形充棉毛绒玩具的制作方法 | |
| US1211832A (en) | Kimono. | |
| CN202425612U (zh) | 一种半里西服 | |
| CN206836347U (zh) | 一种绗缝款男夹克前片拼块的组合式缝制模板夹具 | |
| CN106942803B (zh) | 一种定制西服前片贴人体肩部的制作方法 | |
| CN109349695A (zh) | 一种驳头镶嵌式服装的制作方法 | |
| CN106858857B (zh) | 一种有袋盖的双嵌线口袋缝制方法 | |
| US3187703A (en) | Moccasin type seam and methods of inserting the same | |
| JPH08299627A (ja) | 布地の縫製方法 | |
| JP6260050B2 (ja) | バストダーツにしわが無いtシャツとカットソーおよびその作製方法 | |
| CN109730384A (zh) | 在挂面正面手工缝制弧形止口的方法 | |
| CN105080147A (zh) | 一种含电子元件的充棉毛绒玩具的制作方法 | |
| Seram et al. | Threadless seaming-Application of ultrasonic technology in fashion | |
| CN110367631A (zh) | 一种帽口隐形连帽口绳的服装裁制方法 | |
| US1764848A (en) | Hem for sewed articles and method of making the same | |
| CN113349497A (zh) | 车缝方法及衣服 |
Legal Events
| Date | Code | Title | Description |
|---|---|---|---|
| PA0109 | Patent application |
Patent event code: PA01091R01D Comment text: Patent Application Patent event date: 20180918 |
|
| PG1501 | Laying open of application | ||
| PC1203 | Withdrawal of no request for examination |