KR20170131663A - 도축된 돼지의 직장 및 골반을 세정 및 가공하기 위한 장치 및 장치의 작동 방법 - Google Patents
도축된 돼지의 직장 및 골반을 세정 및 가공하기 위한 장치 및 장치의 작동 방법 Download PDFInfo
- Publication number
- KR20170131663A KR20170131663A KR1020177031229A KR20177031229A KR20170131663A KR 20170131663 A KR20170131663 A KR 20170131663A KR 1020177031229 A KR1020177031229 A KR 1020177031229A KR 20177031229 A KR20177031229 A KR 20177031229A KR 20170131663 A KR20170131663 A KR 20170131663A
- Authority
- KR
- South Korea
- Prior art keywords
- rectum
- pelvis
- mandrel
- cleaning
- blade
- Prior art date
- Legal status (The legal status is an assumption and is not a legal conclusion. Google has not performed a legal analysis and makes no representation as to the accuracy of the status listed.)
- Withdrawn
Links
- 210000000664 rectum Anatomy 0.000 title claims abstract description 34
- 238000004140 cleaning Methods 0.000 title claims abstract description 17
- 210000004197 pelvis Anatomy 0.000 title claims abstract description 17
- 238000000034 method Methods 0.000 title claims abstract description 14
- 241001465754 Metazoa Species 0.000 claims abstract description 22
- 238000005520 cutting process Methods 0.000 claims description 19
- XLYOFNOQVPJJNP-UHFFFAOYSA-N water Substances O XLYOFNOQVPJJNP-UHFFFAOYSA-N 0.000 claims description 11
- 239000000203 mixture Substances 0.000 claims description 3
- 210000003608 fece Anatomy 0.000 claims description 2
- 230000002070 germicidal effect Effects 0.000 claims 2
- 241000282887 Suidae Species 0.000 abstract description 3
- 230000000249 desinfective effect Effects 0.000 abstract 1
- 239000000645 desinfectant Substances 0.000 description 3
- 241000124008 Mammalia Species 0.000 description 2
- 239000012530 fluid Substances 0.000 description 2
- 239000012535 impurity Substances 0.000 description 2
- 210000003689 pubic bone Anatomy 0.000 description 2
- 239000013049 sediment Substances 0.000 description 2
- 206010028980 Neoplasm Diseases 0.000 description 1
- 230000002411 adverse Effects 0.000 description 1
- 239000003570 air Substances 0.000 description 1
- 201000011510 cancer Diseases 0.000 description 1
- 230000003749 cleanliness Effects 0.000 description 1
- 238000011109 contamination Methods 0.000 description 1
- 239000002245 particle Substances 0.000 description 1
- 238000000926 separation method Methods 0.000 description 1
- 238000004659 sterilization and disinfection Methods 0.000 description 1
- 239000003206 sterilizing agent Substances 0.000 description 1
- 239000000126 substance Substances 0.000 description 1
- 210000000689 upper leg Anatomy 0.000 description 1
Images
Classifications
-
- A—HUMAN NECESSITIES
- A22—BUTCHERING; MEAT TREATMENT; PROCESSING POULTRY OR FISH
- A22B—SLAUGHTERING
- A22B5/00—Accessories for use during or after slaughtering
- A22B5/0094—Cutting or blocking the rectum of a carcass, e.g. for avoiding fecal contamination
-
- A—HUMAN NECESSITIES
- A22—BUTCHERING; MEAT TREATMENT; PROCESSING POULTRY OR FISH
- A22B—SLAUGHTERING
- A22B5/00—Accessories for use during or after slaughtering
- A22B5/0005—Eviscerating devices, e.g. removing rectum, anus, intestines, brain tissue, hypophysis
-
- A—HUMAN NECESSITIES
- A22—BUTCHERING; MEAT TREATMENT; PROCESSING POULTRY OR FISH
- A22B—SLAUGHTERING
- A22B5/00—Accessories for use during or after slaughtering
-
- A—HUMAN NECESSITIES
- A22—BUTCHERING; MEAT TREATMENT; PROCESSING POULTRY OR FISH
- A22B—SLAUGHTERING
- A22B5/00—Accessories for use during or after slaughtering
- A22B5/0017—Apparatus for cutting, dividing or deboning carcasses
-
- A—HUMAN NECESSITIES
- A22—BUTCHERING; MEAT TREATMENT; PROCESSING POULTRY OR FISH
- A22B—SLAUGHTERING
- A22B5/00—Accessories for use during or after slaughtering
- A22B5/0017—Apparatus for cutting, dividing or deboning carcasses
- A22B5/0023—Cutting open the abdominal cavity of a carcass
-
- A—HUMAN NECESSITIES
- A22—BUTCHERING; MEAT TREATMENT; PROCESSING POULTRY OR FISH
- A22B—SLAUGHTERING
- A22B5/00—Accessories for use during or after slaughtering
- A22B5/0017—Apparatus for cutting, dividing or deboning carcasses
- A22B5/0041—Electronic, robotic or computer assisted cutting, dividing or deboning carcasses
-
- A—HUMAN NECESSITIES
- A22—BUTCHERING; MEAT TREATMENT; PROCESSING POULTRY OR FISH
- A22B—SLAUGHTERING
- A22B5/00—Accessories for use during or after slaughtering
- A22B5/0082—Cleaning, washing or disinfecting carcasses
-
- B—PERFORMING OPERATIONS; TRANSPORTING
- B08—CLEANING
- B08B—CLEANING IN GENERAL; PREVENTION OF FOULING IN GENERAL
- B08B15/00—Preventing escape of dirt or fumes from the area where they are produced; Collecting or removing dirt or fumes from that area
- B08B15/04—Preventing escape of dirt or fumes from the area where they are produced; Collecting or removing dirt or fumes from that area from a small area, e.g. a tool
-
- B—PERFORMING OPERATIONS; TRANSPORTING
- B08—CLEANING
- B08B—CLEANING IN GENERAL; PREVENTION OF FOULING IN GENERAL
- B08B3/00—Cleaning by methods involving the use or presence of liquid or steam
- B08B3/02—Cleaning by the force of jets or sprays
-
- A—HUMAN NECESSITIES
- A22—BUTCHERING; MEAT TREATMENT; PROCESSING POULTRY OR FISH
- A22B—SLAUGHTERING
- A22B5/00—Accessories for use during or after slaughtering
- A22B5/0005—Eviscerating devices, e.g. removing rectum, anus, intestines, brain tissue, hypophysis
- A22B2005/0011—Means for closing or removing the vent, rectum, anus or claoca of carcasses
Landscapes
- Engineering & Computer Science (AREA)
- Life Sciences & Earth Sciences (AREA)
- Food Science & Technology (AREA)
- Health & Medical Sciences (AREA)
- General Health & Medical Sciences (AREA)
- Neurosurgery (AREA)
- Automation & Control Theory (AREA)
- General Engineering & Computer Science (AREA)
- Robotics (AREA)
- Processing Of Meat And Fish (AREA)
- Cleaning In General (AREA)
- Infusion, Injection, And Reservoir Apparatuses (AREA)
- Absorbent Articles And Supports Therefor (AREA)
Abstract
본 발명은 주로 기계적 성질을 갖는 도축된 돼지의 직장 및 골반을 세정 및 가공하기 위한 장치 및 장치의 작동 방법에 관한 것으로, 상기 장치의 세정 및 소독 작동 문제를 해결하고, 상기 동물의 직장 내로 삽입되는 상기 블레이드 및 상기 맨드릴에 기초하여 본 발명은 상기 동작들을 하나의 작동으로 수행하여 상기 장치가 약 2 내지 3초 내에 상기 동물의 직장에 들어갈 수 있게 하고, 상기 직장을 잘라내고 상기 동물의 골반 내에서 절개하며, 동시에 세정이 이루어지는 세미-인클로즈드(semi-enclosed)된 챔버(chamber)를 상기 장치에 통합함으로써 세정 및 소독할 수 있다.
Description
보다 상세하게는, 본 발명의 실시예들은 도축된 돼지의 직장 및 골반을 세정 및 가공하기 위한 장치 및 그 방식이 사실상 기계적인 상기 장치의 작동 방법에 관한 것으로, 이를 통해, 약 2 내지 3초 내에 상기 장치가 상기 동물들의 직장으로 들어가고, 이를 잘라내어, 상기 동물들의 골반 내에 절개를 형성하며, 동시에 상기 장치는 상기 과정이 수행되는 세미-인클로즈드(semi-enclosed)된 챔버를 포함하기 때문에 상기 장치 스스로 청소 및 소독할 수 있다.
도축된 돼지의 직장의 세정 및 가공을 하기 위한 장치는 유럽등록특허 제1,115,292호에 기술 및 청구되어 있는 것과 같이 마켓에서 이용될 수 있고, 상기 세정은 보통 모든 산업 도축장에서 일반적으로 발견되는 연속 체인에서 일어날 수 있는 바, 상기 장치들은 종래 기술로 간주될 수 있다.
상기 유럽특허는 실린더 블레이드에 의해 형성된 공간에 공급되고, 상기 직장 내 일 부분을 비우기 위해 부압을 발생시키기 위한 수단으로부터 분리되며, 상기 공간에서 부가적인 부압을 발생시키기 위한 어레인지먼트(arrangement)를 포함하는 살균 물질 흡입 수단을 구비한 장치로 구성된다.
종래 기술에 포함된 또 다른 참고 문헌은 유럽등록특허 제457,409호로서, 도축된 동물의 몸체에서 치골, 특히 돼지의 치골을 분리하기 위한 장치를 기재 및 청구하고 있고, 결합됨으로써 전체적으로 죽은 동물로부터 이동될 수 있는 기능 유닛이 되는 위치 설정 요소, 회전 원통형 커터 및 블레이드형 커팅 디스크를 포함한다.
종래 기술에 포함된 또 다른 참고 문헌은 유럽등록특허 제258,939로서, 상기 문헌의 물건은 죽은 동물의 사체, 주로 죽은 동물의 치골을 자르고 개방하기 위한 일 장비이고, 도축된 동물의 위치 설정을 위한 요소, 제1 절단 요소 및 제2 절단 요소가 상기 제2 절단 요소에 연결된 센서와 함께 청구되어 있으며, 모두 결합되어 기능 유닛이 된다.
상기 문헌들의 모든 실시예에서 상기 장치들을 이루는 구성들을 청소하는 것은 명백히 개선될 수 있는데, 이는 대부분의 케이스에서 커팅 헤드를 물과 소독제를 수용한 탱크에 담궈짐에 의해 자동적으로 수행되었기 때문이며, 비록 그것이 자동적으로 세정하나, 청결함을 보장하지 않는다
본 발명의 실시예들은 상기 직장의 절단 및 골반의 절개를 개선하고 상기 과정에 이용되는 수단들을 연속적으로 세정하기 위한 것이며, 산업 도축장에 구비된 연속 체인들의 이동의 지체없이 모든 과정이 이루어질 수 있는 장치를 제공하기 위한 것이다.
보다 구체적으로 본 발명의 일 실시예에서, 사람의 식료품 분야에서 건강분야는 종래 기술을 개선한 솔루션들이 발견되기를 필요로 하고, 바람직하게는, 돼지들과 같은 동물들을 완벽하게 취급하도록 보장하는 수단을 마련하여, 상기 솔루션들이 상기 동물을 절단하는 전 과정에 악영향을 끼치는 것뿐만 아니라, 잘못된 돼지의 절단으로 인해 일부 부위들이 폐기되어야 하고, 결과적으로 경제적 손실을 수반함을 의미할 수 있는 일부 유닛(unit)들의 폐기를 강제해야 하는 특정 단점들을 예방할 것을 요구한다.
상기 절단 과정 및 초기 단계들 중 하나에서, 위생의 손실이나 상기 동물의 다른 부위의 오염 없이 먼저 상기 직장을 절단하고 그 후 상기 직장을 제거함으로써 도축된 돼지의 상기 직장은 제거되어야 하고, 상기 직장이 포함하는 퇴적물을 비우고, 동시에, 또는 후속으로, 골반에서 절단이 이루어짐으로써 상기 후부의 분리를 가능하게 한다.
본 발명의 일 실시예는 순서대로 상기 직장의 절단 및 제거 그리고 상기 직장이 포함하는 퇴적물을 비운 후, 상기 동물의 직장 내로 프로그램 된 방식으로 안내된 멘드릴 및 상기 블레이드를 포함한 상기한 작동들에 이용된 상기 수단들을 효과적으로 세정하는 것으로 구성된다.
상기 장치의 세정은 맨드릴 및 일부 절단 나이프들을 포함하는 상기 수단들이 두개의 관절형 밸브들의 폐쇄에 의해 형성된 공간 내부에서 약 2 내지 3초 동안 머무르는 것을 허용하는 디자인으로서 가능하고, 따라서, 상기 공간은 일 밸브가 다른 밸브상으로 낙하할 때 형성되고, 가압된 물 또는 소독제 또는 물 및 소독제의 혼합물이 유입부 도관을 통해 상기 내부로 안내되어 상기 공간 내부에 존재하는 모든 것 주로 상기 맨드릴 및 절단 블레이드들을 세정하면, 상기 유체들은 상기 세정에 의해 응집된 불순물 입자들과 함께 상기 하부 밸브에 형성된 배출부를 통해 비워진다.
상기 밸브들은, 상기 상부 밸브가 세미-인클로즈드(semi-enclosed)된 챔버를 형성하며 상기 하부 밸브로 낙하하여 상기 밸브들의 엣지(edges)가 상호 마주할 수 있도록 디자인 될 뿐만 아니라, 상기 밸브들이 완전히 분리된 상태의 상기 장치의 가장 좌측 위치에서 그들이 함께 서로 포개어진 상태의 가장 우측 위치로 이동될 수 있도록 하는 수단들을 구비한다.
상기 수단들은 일단이 상기 밸브들의 몸체에 부착되는 한 세트의 레버들을 포함하고, 상기 레버들의 반대측 단은 연결 로드들에 의해 상기 관절형 레버들을 미는 지지부들 또는 슬라이드들에 부착되며, 상기 연결로드들의 일단은 상기 레버들에 결합되고, 상기 연결로드들의 타단은 스템에서 공압식 또는 유압식 실린더의 작용으로 우측에서 좌측으로 그리고 그 반대로 이동하는 상기 스템의 헤드에 부착된다.
상기 밸브들의 분리 및 상기 밸브들이 함께 합쳐지는 것을 포함하는. 상기 공간의 개방 및 폐쇄 작용은, 그것과 함께 상기 맨드릴의 상기 확장부에 더하여 좌에서 우측 또는 반대로 슬라이드하는 맨드릴의 작용과 함께 일어나며, 같은 움직임을 나타내고 상기 동물의 후부에 절개를 일으켜 상기 골반을 부러뜨리는 나이프도 함께 할 수 있어, 돼지가 절단된 후 별도로 다뤄져야 하는 허벅지나 햄을 절단하지 않는데, 만약 상기 부분들이 절단되는 경우에는 사용될 수 없어서 결과적인 경제적 손실을 가져온다.
본 발명의 기술적 사상은 청구범위에 의해 결정되며, 이하의 실시예는 본 발명의 기술적 사상을 본 발명이 속하는 기술분야에서 통상의 지식을 가진 자에게 효율적으로 설명하기 위한 일 수단일 뿐이다.
본 발명의 실시예들에 의하면, 상기 직장의 절단 및 골반의 절개를 개선하고 상기 과정에 이용되는 수단들을 연속적으로 세정하기 위한 것이며, 산업 도축장에 구비된 연속 체인들의 이동의 지체 없이 모든 과정이 이루어질 수 있다.
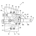
도 1은 본 장치(10)의 측평면도로서, 레버(16, 17)에 의해 연결된 상부 밸브(11) 및 하부 밸브(12)를 나타낸 도면
도 2는 본 장치(10)의 측평면도로서, 연결 로드(27) 및 레버(16, 17) 상의 공압 실린더(22)의 작용에 의해 레버(16, 17)의 이동으로 밸브(11, 12)가 우측에 위치되고, 세미-인클로즈드(semi-enclosed)된 공간(28)을 형성하는 밸브(11, 12)로 맨드릴(20) 및 확장부(21)를 덮는 모습을 나타낸 도면
도 3은 밸브(11, 12)의 이동을 가능케 하는 부분들을 구비한 본 장치(10)의 부분 측평면도로서, 상기 이동은 상기 부분들이 레버(16, 17)의 일단에 배치되고, 상기 레버(16, 17)가 연결 로드(27)에 연결된 조인트(26, 29)의 보조로 지지 플레이트(23)에 대해 회전함으로써 발생하며, 상기 연결 로드(27)들은 공압 실린더(22)의 스템(24)의 헤드(25)에 연결됨을 나타낸 도면
도 4는 상기 밸브(11, 12)가 상기 장치(10)의 좌측으로 후퇴되는 모습을 나타내는 것으로, 도 3의 모습과 유사한 도면
도 5는 밴치(33) 상에 장착된 장치(10) 및 본 도면에서 대략적으로 도시된 로봇(35)에 부착된 암(37)에 장착된 플레이트 지지부(34)에 장착된 장치(10)의 사시도
도 2는 본 장치(10)의 측평면도로서, 연결 로드(27) 및 레버(16, 17) 상의 공압 실린더(22)의 작용에 의해 레버(16, 17)의 이동으로 밸브(11, 12)가 우측에 위치되고, 세미-인클로즈드(semi-enclosed)된 공간(28)을 형성하는 밸브(11, 12)로 맨드릴(20) 및 확장부(21)를 덮는 모습을 나타낸 도면
도 3은 밸브(11, 12)의 이동을 가능케 하는 부분들을 구비한 본 장치(10)의 부분 측평면도로서, 상기 이동은 상기 부분들이 레버(16, 17)의 일단에 배치되고, 상기 레버(16, 17)가 연결 로드(27)에 연결된 조인트(26, 29)의 보조로 지지 플레이트(23)에 대해 회전함으로써 발생하며, 상기 연결 로드(27)들은 공압 실린더(22)의 스템(24)의 헤드(25)에 연결됨을 나타낸 도면
도 4는 상기 밸브(11, 12)가 상기 장치(10)의 좌측으로 후퇴되는 모습을 나타내는 것으로, 도 3의 모습과 유사한 도면
도 5는 밴치(33) 상에 장착된 장치(10) 및 본 도면에서 대략적으로 도시된 로봇(35)에 부착된 암(37)에 장착된 플레이트 지지부(34)에 장착된 장치(10)의 사시도
본 발명의 바람직한 실시예 중의 하나로서 도 5에 나타난 바와 같이, 상기 제안된 장치(10)는 플레이트 지지부(34)의 수단에 의해 종래의 로봇(35)에서 이용되거나 상기 로봇(35)의 암(37)에 장착되어 이용될 수 있고, 상기 장치(10)는 상기 레버들(16, 17)을 작동하는 공압식 또는 유압식 실린더(22)를 포함하고 상기 플레이트 지지부(34)에 수직인 관형 요소(36)에 부착되며, 후술하는 바와 같이, 지지 플레이트(23)와 함께 하나의 부분을 형성하는 부속부재(38)들의 보조로 상기 레버들(16, 17)을 상기 관형 요소(36)의 양측으로 이동되는 상기 지지 플레이트(23)에 부착한다.
비록, 도 5의 관점으로부터 본 발명의 이해를 용이하게 하기 위하여 단지 일부만이 재현되었으나, 본 발명의 핵심은 로봇(35) 및 로봇 암(37)에 기초한 상기 장치(10)이고, 상기 로봇(35)은 전적으로 종래의 것이며, 앞서 설명한 바와 같이 상기 장치(10)는 상기 로봇(35)에 장착된다.
상기 장치(10)가 비대칭이므로, 설명의 정확도를 높이기 위해 상기 장치는 도 1 내지 4에 재현되고, 상기 도 1에서, 상기 두개의 밸브들(11, 12)은 가장 좌측에 위치한 것으로 나타나며, 상기 관형 요소(36)의 단부로부터 나타나는 맨드릴(20)을 노출시킨다.
상기 밸브들(11, 12)은 도 1에 도시된 위치에서부터 도 3에 도시된 가장 우측까지 이동하며, 한 세트의 레버들(15)의 작용에 의해 위와 같이 상기 밸브들(11. 12)이 좌측에서 우측으로 그리고 반대로 이동하는 것이 가능하다.
도 2에서 볼 수 있듯이 상술한 한 세트의 레버들(15)은 상기 레버들(16, 17)자체를 포함하고, 상기 레버들(16, 17)의 끝단들은 상기 밸브들(11, 12) 일단에 플레이트들(40)과 함께 부착되어 상기 밸브들(11, 12)을 보강하고, 그리고 반대측 단들은 지지 플레이트(23) 및 연결 로드(27)들에 부착되며, 상기 연결 로드(27)의 일단은 상기 레버들(16, 17)에 결합되고, 타단은 공압식 또는 유압식 실린더(22)의 축(24)의 헤드(25)에 결합되며, 헤드(25)에서 상기 스템(24)을 미는 작용이 대응하는 조인트들(26)의 보조를 통해 연결 로드(27)가 상기 레버들(16, 17)을 밀거나 당기도록 하는 것을 강제한다.
상기 확장부(21)는 공기 및 물이 통과할 수 있도록 허용하는 상기 맨드릴(20)의 일단에서 연장되어 상기 맨드릴(20)의 외측면(20b)을 둘러싸는 상기 동물들의 직장 내에서 상기 맨드릴(20) 및 상기 확장부(21)를 작동 위치로 위치시키며, 이를 통해, 브레이드 홀더(19)에 장착된 블레이드(18)의 작동으로 상기 직장의 절단이 가능 해지며, 이 때 상기 블레이드 홀더(19)는 도 1 및 2에서 볼 수 있듯이 상기 가이드 레일(39)을 따라 좌측 및 우측으로 이동하는 상기 나이프 지지부(31)에 부착된다.
본 발명의 일 실시예에 따른 특징으로서, 도 3 및 5를 참조하면, 상기 밸브들(11, 12)의 기능은 하나가 다른 하나 위로 접힐 때, 세미-인클로즈드(semi-enclosed)된 공간을 형성하고, 상기 블레이드, 맨드릴 및 확장부가 그들의 작업을 끝내고 상기 세미-인클로즈드(semi-enclosed)된 공간 내부에 존재할 때, 하나의 동물 절단 및 연속 체인 상의 다음 동물의 넘어가는 사이의 시간을 이용하여, 상기 블레이드들(18, 42)에 더하여 상기 맨드릴(20) 및 확장부(21)를 세정하기 위하여 물 및 공기가 상기 상부 밸브(11)에서 상기 유입 도관(41)을 통해 상기 공간으로 주입되고, 상기 세정의 일부로서 더러운 물은 하부 밸브(12) 하측의 상기 유체 배출부(13)를 통해 배출됨으로써 상기 맨드릴(20), 상기 확장부(21) 및 상기 블레이드들(18, 42)이 더러운 물과 접촉하지 않도록 하고, 이를 통해, 다음 동물이 오염되지 않도록 한다.
상기 장치(10)의 작동 주기는 연속 체인으로부터 상기 동물의 후부에 의해 걸린 이미 도축된 동물이 적절한 수단들에 의해 상기 장치(10)의 앞에 위치될 때 시작하며, 후술하는 움직임들이 일어날 때 약 2 내지 3초 간 유지된다.
- 상기 확장부(21) 및 상기 맨드릴(20)이 상기 동물의 직장을 통해 기 결정된 깊이까지 안내되며, 상기 블레이드(18)가 상기 동물의 후부 대면하게 되고,
- 상기 맨드릴(20)은 상기 직장 내부의 좌측에서 우측으로 연장되고, 상기 확장부(21)에 제공된 덕트를 통해 상기 직장의 조각들 및 상기 직장에 포함된 대변을 빨아들이는 상기 맨드릴(20)의 우측단에 위치되는 상기 원형 블레이드(42)의 보조로 상기 직장을 제거하고,
- 상기 블레이드(18)는 가이드 레일(39)을 따라 이동하고, 골반의 중심부에서 상기 절개를 제공하는 나이프(knife) 지지부(31)의 작용에 의해 좌측에서 우측으로 이동되고,
- 상기 블레이드(18)는 상기 가이드 레일(39)에 의해 가이드 된 나이프(knife) 지지부(31)의 작용에 의해 맨드릴(20) 및 확장부(21)와 함께 우측으로 되돌아가고, 상기 밸브는(11, 12) 상기 세미-인클로즈드(semi-enclosed)된 공간(28)을 형성하며 닫히게 되고 동시에 상기 유입부 도관(41)에 의해 물, 살균제 및 공기가 유입되어 상기 세미-인클로즈드(semi-enclosed)된 공간(28) 내에서 상기 혼합물이 상기 블레이드(18, 42), 상기 맨드릴(20) 및 상기 확장부(21)를 세정하고, 상기 물 및 불순물은 상기 배출부(13)를 통해 배출된다.
본 발명은 첨부된 도면들과 관련하여 충분히 설명되었고, 본 발명이 방해되지 않는 한, 적절히 간주될 수 있는 것으로 세부 내용의 변형도 가능할 것임은 쉽게 이해될 수 있고, 이는 후술한 청구범위에 요약된다.
10 : 장치
11 : 상부 밸브
12 : 하부 밸브
13 : 유체 배출부
14 : 하부 베이스
15 : 레버 세트
16, 17 : 레버
18 : 블레이드
19 : 블레이드 홀더
20 : 맨드릴
20b : 맨드릴 외측면
21 : 확장부
22 : 공압식 및 또는 유압식 실린더
23 : 지지 플레이트
24 : 스템
25 : 헤드
26 : 조인트
27 : 연결 로드
28 : 세미-인클로즈드된 공간
29 : 조인트
30 : 스크류
31 : 나이프 지지부
32 : 슬라이드
33 : 벤치
34 : 장착 플레이트 지지부
35 : 로봇
36 : 관형 요소
37 : 암
38 : 부속물
39 : 가이드 레일
40 : 플레이트
41 : 유입부 도관
42 : 원형 블레이드
11 : 상부 밸브
12 : 하부 밸브
13 : 유체 배출부
14 : 하부 베이스
15 : 레버 세트
16, 17 : 레버
18 : 블레이드
19 : 블레이드 홀더
20 : 맨드릴
20b : 맨드릴 외측면
21 : 확장부
22 : 공압식 및 또는 유압식 실린더
23 : 지지 플레이트
24 : 스템
25 : 헤드
26 : 조인트
27 : 연결 로드
28 : 세미-인클로즈드된 공간
29 : 조인트
30 : 스크류
31 : 나이프 지지부
32 : 슬라이드
33 : 벤치
34 : 장착 플레이트 지지부
35 : 로봇
36 : 관형 요소
37 : 암
38 : 부속물
39 : 가이드 레일
40 : 플레이트
41 : 유입부 도관
42 : 원형 블레이드
Claims (5)
- 원형 블레이드(42) 및 확장부(21)를 구비한 맨드릴(mandrel)(20)과 결합된 블레이드(18)의 수단들에 의해 수행되는 직장의 부분 절단 및 동물 골반의 절개를 포함하는 기능을 구비한 로봇(35)의 암(arm)(37)에 부착되고, 도축된 돼지의 직장 및 골반을 세정 및 가공하기 위한 장치(10)에 있어서,
상기 장치(10)는 상기 로봇(35)의 상기 암(37)에 장착되고 공압식 및/또는 유압식 실린더(22)를 포함하는 장착 플레이트 지지부(34)에 수직인 관형 요소(36)에 부착되고,
상기 장치(10)는,
관절형 밸브(11, 12);
일단이 상기 관형 요소(36)의 우측 및 좌측에 위치된 지지 플레이트(23)에 부착되고, 타단이 상기 관절형 밸브(11, 12)에 부착된 레버(16, 17); 및
일단이 상기 레버(16, 17)에 연결되고, 반대측 단이 상기 공압식 및/또는 상기 유압식 실린더(22)의 스템(24)의 헤드(25)에 부착된 연결 로드(27);를 포함하며,
상기 밸브(11, 12)는 상호에 대해 낙하(drop down)하도록 적용됨으로써 상기 블레이드(18, 42)뿐만 아니라 상기 맨드릴(20) 및 상기 확장부(21)가 내부에 위치된 세미-인클로즈드(semi-enclosed)된 공간(28)을 형성하는, 도축된 돼지의 직장 및 골반을 세정 및 가공하기 위한 장치(10).
- 청구항 1에 있어서,
상기 상부 밸브(11)는 유입부(41)를 가지고, 상기 하부 밸브(12)는 하측에 배출부(13)를 포함하는, 도축된 돼지의 직장 및 골반을 세정 및 가공하기 위한 장치(10).
- 청구항 1에 있어서,
상기 원형 블레이드(42) 및 상기 확장부(21)는 상기 맨드릴(20)의 외측면(20b)으로부터 연장되고, 상기 맨드릴(20) 및 상기 확장부(21)는 적용되어 상기 동물들의 직장 내의 작업 위치로 이동되는, 도축된 돼지의 직장 및 골반을 세정 및 가공하기 위한 장치(10).
- 청구항 1에 있어서,
상기 블레이드(18)는 편평(flat)하고, 절삭 날(18')을 가지는, 도축된 돼지의 직장 및 골반을 세정 및 가공하기 위한 장치(10).
- 청구항 1 내지 4 중 어느 한 항에 정의된 도축된 돼지의 직장 및 골반을 세정 및 가공하기 위한 장치의 작동 방법에 있어서,
- 상기 확장부(21) 및 상기 맨드릴(20)이 상기 동물의 직장을 통해 기 결정된 깊이까지 안내되며, 상기 블레이드(18)가 상기 동물의 후부와 대면하게 되고,
- 상기 맨드릴(20)은 상기 직장 내부의 좌측에서 우측으로 연장되고, 상기 확장부(21)에 제공된 덕트를 통해 상기 직장의 조각들 및 상기 직장에 포함된 대변을 빨아들이는 상기 맨드릴(20)의 우측단에 위치된 상기 원형 블레이드(42)의 보조로 상기 직장을 제거하고,
- 상기 블레이드(18)는, 가이드 레일(39)을 따라 이동하고 골반의 중심부에서 상기 절개를 제공하는 나이프(knife) 지지부(31)의 작용에 의해 좌측에서 우측으로 이동하고,
- 상기 블레이드(18)는 상기 가이드 레일(39)에 의해 가이드 된 상기 나이프(knife) 지지부(31)의 작용에 의해 맨드릴(20) 및 확장부(21)와 함께 좌측으로 되돌아가고, 상기 밸브(11, 12)는 상기 세미-인클로즈드(semi-enclosed)된 공간(28)을 형성하며 닫히게 되고 동시에 상기 유입부 도관(41)에 의해 물, 살균제 및 공기가 유입되어 상기 세미-인클로즈드(semi-enclosed)된 공간(28) 내에서 상기 물 및 상기 살균제의 혼합물이 상기 블레이드(18, 42), 상기 맨드릴(20) 및 상기 확장부(21)를 세정하고, 상기 물 및 불순물은 상기 배출부(13)를 통해 배출되는, 도축된 돼지의 직장 및 골반을 세정 및 가공하기 위한 장치의 작동 방법.
Applications Claiming Priority (3)
| Application Number | Priority Date | Filing Date | Title |
|---|---|---|---|
| ES201530426A ES2552852B1 (es) | 2015-03-30 | 2015-03-30 | Dispositivo para la limpieza y procesamiento del recto y pelvis de cerdos sacrificados y procedimiento de funcionamiento de dicho dispositivo |
| ESP201530426 | 2015-03-30 | ||
| PCT/ES2015/070921 WO2016156633A1 (es) | 2015-03-30 | 2015-12-17 | Dispositivo para la limpieza y procesamiento del recto y pelvis de cerdos sacrificados y procedimiento de funcionamiento de dicho dispositivo |
Publications (1)
| Publication Number | Publication Date |
|---|---|
| KR20170131663A true KR20170131663A (ko) | 2017-11-29 |
Family
ID=54696235
Family Applications (1)
| Application Number | Title | Priority Date | Filing Date |
|---|---|---|---|
| KR1020177031229A Withdrawn KR20170131663A (ko) | 2015-03-30 | 2015-12-17 | 도축된 돼지의 직장 및 골반을 세정 및 가공하기 위한 장치 및 장치의 작동 방법 |
Country Status (8)
| Country | Link |
|---|---|
| US (1) | US20180042247A1 (ko) |
| EP (1) | EP3278670A4 (ko) |
| KR (1) | KR20170131663A (ko) |
| CN (1) | CN107404884A (ko) |
| CA (1) | CA2979959A1 (ko) |
| ES (1) | ES2552852B1 (ko) |
| RU (1) | RU2017131457A (ko) |
| WO (1) | WO2016156633A1 (ko) |
Families Citing this family (7)
| Publication number | Priority date | Publication date | Assignee | Title |
|---|---|---|---|---|
| NL2016862B1 (en) * | 2016-05-31 | 2017-12-11 | Humboldt Bv | Method and device for detaching and enclosing the outer end of the rectum of a carcass. |
| US11129391B2 (en) | 2020-01-28 | 2021-09-28 | NSC Beef Processing, LLC | Apparatus for supporting and maneuvering an animal carcass |
| MX2022010375A (es) | 2020-03-31 | 2022-11-07 | Marel Red Meat B V | Perforadora de intestino ciego con portador de intestino ciego. |
| WO2022164436A1 (en) * | 2021-01-29 | 2022-08-04 | NSC Beef Processing, LLC | Apparatus for supporting and maneuvering an animal carcass |
| CN113275329B (zh) * | 2021-05-17 | 2022-04-08 | 滨州学院 | 一种陶瓷印刷表面处理加工用等离子体清洗机及清洗工艺 |
| US12495806B2 (en) | 2021-09-29 | 2025-12-16 | Marel Red Meat B.V. | Cutting device, a system including a cutting device and a method for cutting free a rectum end portion of an animal carcass |
| CN114733822B (zh) * | 2022-04-07 | 2024-05-17 | 华润五丰有限公司 | 一种清洗设备及清洗方法 |
Family Cites Families (7)
| Publication number | Priority date | Publication date | Assignee | Title |
|---|---|---|---|---|
| US2795815A (en) * | 1953-10-02 | 1957-06-18 | C A Swanson & Sons | Poultry dressing machine |
| NL9001152A (nl) * | 1990-05-17 | 1991-12-16 | Ccm Beheer Bv | Inrichting voor het lossnijden van de endeldarm van een slachtdierkarkas. |
| DK174160B1 (da) * | 1998-09-25 | 2002-07-29 | Sfk Danfotech As | Apparatur for desinfektion af rectum samt fremgangsmåde og anvendelse heraf |
| DE202004019195U1 (de) * | 2004-12-07 | 2005-04-14 | Schmid & Wezel Gmbh & Co | Vorrichtung zum Freischneiden des Enddarms eines Schlachttieres |
| FR2896956A1 (fr) * | 2006-02-06 | 2007-08-10 | Couedic Madore Equipement Soc | Systeme de detection de corps etrangers dans un outil de decoupe de rectum d'un animal |
| NL2000358C2 (nl) * | 2006-12-07 | 2008-06-10 | Humboldt B V | Werkwijze en inrichting voor het van een karkas separeren van de anus en ten minste een deel van de endeldarm. |
| NL1039371C2 (en) * | 2012-02-09 | 2013-08-14 | Nawi B V | Rectal cutting device for cutting loose the rectum of a slaughtered animal. |
-
2015
- 2015-03-30 ES ES201530426A patent/ES2552852B1/es active Active
- 2015-12-17 EP EP15887357.0A patent/EP3278670A4/en not_active Withdrawn
- 2015-12-17 CA CA2979959A patent/CA2979959A1/en not_active Abandoned
- 2015-12-17 US US15/559,735 patent/US20180042247A1/en not_active Abandoned
- 2015-12-17 CN CN201580078568.8A patent/CN107404884A/zh active Pending
- 2015-12-17 KR KR1020177031229A patent/KR20170131663A/ko not_active Withdrawn
- 2015-12-17 WO PCT/ES2015/070921 patent/WO2016156633A1/es not_active Ceased
- 2015-12-17 RU RU2017131457A patent/RU2017131457A/ru not_active Application Discontinuation
Also Published As
| Publication number | Publication date |
|---|---|
| ES2552852B1 (es) | 2016-06-01 |
| WO2016156633A1 (es) | 2016-10-06 |
| CA2979959A1 (en) | 2016-10-06 |
| RU2017131457A (ru) | 2019-04-30 |
| EP3278670A4 (en) | 2019-02-27 |
| US20180042247A1 (en) | 2018-02-15 |
| ES2552852A1 (es) | 2015-12-02 |
| CN107404884A (zh) | 2017-11-28 |
| EP3278670A1 (en) | 2018-02-07 |
Similar Documents
| Publication | Publication Date | Title |
|---|---|---|
| KR20170131663A (ko) | 도축된 돼지의 직장 및 골반을 세정 및 가공하기 위한 장치 및 장치의 작동 방법 | |
| RU2396753C2 (ru) | Инструмент, устройство и способ для потрошения рыб, вскрытых в брюшной полости | |
| RU2620003C2 (ru) | Устройство и способ для обработки туш животных | |
| US8956205B2 (en) | Method for removing blood released during filleting from the backbone of fish, and device for removing such blood | |
| WO2009139032A1 (ja) | うで部位又はもも部位の脱骨方法及び装置 | |
| US4393545A (en) | Processing of sea urchins | |
| US2838786A (en) | Apparatus for extracting crab meat | |
| EP1115292B1 (en) | System for disinfection and method | |
| US2903737A (en) | Method of extracting crab meat | |
| KR102186120B1 (ko) | 가금류의 브레스트 캡들로부터 창사골을 제거하기 위한 장치, 시스템 및 방법 | |
| CN112791211A (zh) | 一种肿瘤科手术剪消毒设备 | |
| JPH042214B2 (ko) | ||
| CN205611637U (zh) | 一种用于淡水鱼的剖鱼装置 | |
| JP2015073441A (ja) | 砂のう切開洗浄装置 | |
| CN218138399U (zh) | 一种安全健康的畜禽肉类保存用切割处理装置 | |
| JP2010148845A (ja) | クリーンボックス及びクリーンボックスの連結システム | |
| JP4562923B2 (ja) | 後肢で吊った屠殺済み食用獣の前肢を位置決めするための方法及び装置 | |
| CN210869683U (zh) | 一种海参加工用清洗设备 | |
| EP0507840B1 (en) | Arrangement in sticking knives | |
| KR20220160554A (ko) | 막창 홀더가 있는 막창 드릴러 | |
| CN208956837U (zh) | 一种屠宰线内脏转运处理装置 | |
| CN223349512U (zh) | 一种鸡肉分切机 | |
| JP3697662B2 (ja) | 食肉体の脊髄除去装置 | |
| CN222722347U (zh) | 一种羊肉加工用切片装置 | |
| CN218593065U (zh) | 一种可降解自热食品包装制造设备 |
Legal Events
| Date | Code | Title | Description |
|---|---|---|---|
| PA0105 | International application |
Patent event date: 20171027 Patent event code: PA01051R01D Comment text: International Patent Application |
|
| PG1501 | Laying open of application | ||
| PC1203 | Withdrawal of no request for examination |