KR20160008694A - 슬래브 동시양중 장치 및 그의 시공방법 - Google Patents

슬래브 동시양중 장치 및 그의 시공방법 Download PDF

Info

Publication number
KR20160008694A
KR20160008694A KR1020140088425A KR20140088425A KR20160008694A KR 20160008694 A KR20160008694 A KR 20160008694A KR 1020140088425 A KR1020140088425 A KR 1020140088425A KR 20140088425 A KR20140088425 A KR 20140088425A KR 20160008694 A KR20160008694 A KR 20160008694A
Authority
KR
South Korea
Prior art keywords
slab
balance beam
slabs
crane
wire rope
Prior art date
Legal status (The legal status is an assumption and is not a legal conclusion. Google has not performed a legal analysis and makes no representation as to the accuracy of the status listed.)
Ceased
Application number
KR1020140088425A
Other languages
English (en)
Inventor
김기동
김용남
장수연
김기훈
이종백
Original Assignee
삼성물산 주식회사
Priority date (The priority date is an assumption and is not a legal conclusion. Google has not performed a legal analysis and makes no representation as to the accuracy of the date listed.)
Filing date
Publication date
Application filed by 삼성물산 주식회사 filed Critical 삼성물산 주식회사
Priority to KR1020140088425A priority Critical patent/KR20160008694A/ko
Publication of KR20160008694A publication Critical patent/KR20160008694A/ko
Ceased legal-status Critical Current

Links

Images

Classifications

    • BPERFORMING OPERATIONS; TRANSPORTING
    • B66HOISTING; LIFTING; HAULING
    • B66CCRANES; LOAD-ENGAGING ELEMENTS OR DEVICES FOR CRANES, CAPSTANS, WINCHES, OR TACKLES
    • B66C1/00Load-engaging elements or devices attached to lifting or lowering gear of cranes or adapted for connection therewith for transmitting lifting forces to articles or groups of articles
    • B66C1/10Load-engaging elements or devices attached to lifting or lowering gear of cranes or adapted for connection therewith for transmitting lifting forces to articles or groups of articles by mechanical means
    • B66C1/22Rigid members, e.g. L-shaped members, with parts engaging the under surface of the loads; Crane hooks
    • EFIXED CONSTRUCTIONS
    • E04BUILDING
    • E04GSCAFFOLDING; FORMS; SHUTTERING; BUILDING IMPLEMENTS OR AIDS, OR THEIR USE; HANDLING BUILDING MATERIALS ON THE SITE; REPAIRING, BREAKING-UP OR OTHER WORK ON EXISTING BUILDINGS
    • E04G21/00Preparing, conveying, or working-up building materials or building elements in situ; Other devices or measures for constructional work
    • E04G21/14Conveying or assembling building elements

Landscapes

  • Engineering & Computer Science (AREA)
  • Architecture (AREA)
  • Mechanical Engineering (AREA)
  • Civil Engineering (AREA)
  • Structural Engineering (AREA)
  • Conveying And Assembling Of Building Elements In Situ (AREA)

Abstract

본 발명은 슬래브 동시양중 장치 및 그의 시공방법에 관한 것으로서, 크레인으로 크레인케이블을 감거나 풀어서 슬래브를 동시양중 하도록, 상기 크레인케이블의 끝단에 마련된 크레인후크블록에 일측 끝단을 연결하고, 각각의 타측 끝단에 샤클을 구비한 복수개의 인양케이블; 상기 인양케이블의 상기 샤클과 각각 연결되는 복수개의 상부 러그를 코너 상면에 각각 구비하고, 상기 상부 러그의 아래쪽에 위치하도록, 복수개의 하부 러그를 코너 저면에 각각 구비한 밸런스빔; 상기 밸런스빔의 상기 하부 러그로부터 각각 연장되고, 하단부에 후크부를 구비한 연장와이어; 및 상기 후크부에 걸리도록 고리를 로프 양단부에 구비하고, 상기 연장와이어의 개수에 대응하여 상기 밸런스빔의 하향에 배치되는 병렬와이어로프를 포함하고, 상기 밸런스빔의 평면을 기준으로 평행하게 배치된 복수개의 상기 슬래브를 상기 병렬와이어로프로 각각 감아 구속한다.

Description

슬래브 동시양중 장치 및 그의 시공방법{APPARATUS FOR SIMULTANEOUSLY LIFTING SLAB AND CONSTRUCTION METHOD THEREOF}
본 발명은 슬래브 동시양중 장치 및 그의 시공방법에 관한 것으로서, 더욱 상세하게는, 건설 현장에서 중공 슬래브(HCS : hollow core slab), 프리캐스트 슬래브 등과 같은 슬래브를 복수개로 동시에 양중 하고, 복수개의 슬래브를 정밀하고 동시에 조립 가능한 슬래브 동시양중 장치 및 그의 시공방법에 관한 것이다.
일반적으로 지하주차장 등에서 슬래브와 프리캐스트 콘크리트를 이용한 공법은 공사 시공 현장에서 콘크리트를 과도하게 타설하지 않으므로, 시공 기간을 단축하다는 장점이 있다.
최근에는 일반 슬래브에 비하여 중공을 구비하는 중공 슬래브를 이용하되, 중공 슬래브가 좁은 폭과 가벼운 중량을 가지고 있기 때문에, 복수개의 중공 슬래브를 동시에 양중 할 수 있는 지그 장치 또는 공법이 등장하였다.
프리캐스트 콘크리트 또는 중공 슬래브는 기본적인 형태가 갖추어져서 공사 시공 현장에서 조립될 수 있는 조립식 건축 부재로서 전용공장에서 제작된다.
따라서, 전용공장에서 제작 및 출하되는 모듈 형태의 조립식 건축 부재는 현장에서 간단한 조립공정을 거쳐 하나의 건축물로 완성된다.
발명의 배경이 되는 특허문헌 1은 피알씨 복합화 공법을 이용한 건축 구조물의 시공방법으로서, 완성된 피씨 기둥과 피씨 보 및 피씨 슬래브 등의 건축 부재를 현장으로 운반하여 시공할 때, 크레인 등을 통해 양중한다. 이때, 현장에서는 크레인을 통해 1회 양중시, 1매의 슬래브가 조립됨으로써, 일일 조립량이 약 50매 정도로서 원활한 시공이 이루어지지 못한다.
예컨대, 중공 슬래브의 경우에는 그의 폭이 1.2m 로 좁아서, 조립 수량과 조립 소요시간이 많은 문제점이 있다.
이에 착안하여 발명의 배경이 되는 다른 종래 기술로서 특허문헌 2는 복수 중공 슬래브의 양중을 위한 지그장치로서, 'ㄷ'자 형태를 가지는 한 쌍의 지그부를 통해서 복수 중공 슬래브를 양중 하고자 시도한 바 있다.
그러나, 특허문헌 2는 'ㄷ'자 형태를 가지는 한 쌍의 지그부에 중공 슬래브가 단순히 끼워진 다음 이동 또는 양중되기 때문에, 상기 지그부를 작동시키도록 연결된 포크형 양중장비가 상기 지그부를 회전 작동시키거나, 이상 기상 상황에 따라 풍력이 과도하게 작용하는 경우, 지그부의 'ㄷ'자 형태의 개구부로부터 복수개의 중공 슬래브가 이탈될 염려가 있다. 즉, 상기 지그부는 복수개의 중공 슬래브를 일측에서만 구속할 뿐 양측에서 구속시킬 수 있는 수단을 가지고 있지 않다.
또한, 특허문헌 2를 비롯하여 종래의 양중장치는 양중 하려는 대상물이 1개 또는 복수개인 경우, 그 개수에 맞게 장치 구성이 되어 있으므로, 선택적으로 대상물을 1개 또는 복수개로 적용할 수 있는 구조가 미비하다.
또한, 특허문헌 2는 단순히 중공 슬래브를 수직으로 적층하거나 수평으로 배열하여 양중한다. 이런 연유로, 특허문헌 2는 복수개의 중공 슬래브의 사이에 간격 또는 갭(gap)이 발생될 수 있고, 포크형 양중장비의 작동으로 인하여 발생되는 진동 등으로 인하여, 중공 슬래브의 사이 간격이 더욱 벌어지거나, 중공 슬래브가 서로 평행하게 정렬되어 있지 않게 된다.
또한, 시공 현장에서는 나란하게 적재 또는 배치된 피씨(PC: precast concrete) 보가 기 설치되어 있다.
이런 시공 현장의 경우에서, 종래 기술의 포크형 양중장비 및 'ㄷ'자 형태를 가지는 한 쌍의 지그부는 복수개의 중공 슬래브를 들어 올린 후, 피씨 보 쪽으로 하강시키면서, 피씨 보를 따라 차례로 배열 또는 배치하는 작동을 수행하게 된다.
이때, 각 중공 슬래브의 단부가 피씨 보와 결속되기 위해서는, 중공 슬래브의 단부와 피씨 보간 설치 각도가 서로 일치하도록 조정하는 작업이 요구되고, 특히 중공 슬래브간 사이 간격도 상호 평행하면서도 미리 정한 치수로 맞춰야 한다.
그러나, 특허문헌 2에 의해 양중된 복수개의 중공 슬래브들은 'ㄷ'자 형태를 가지는 한 쌍의 지그부에 의해 양중 또는 하강되기 때문에, 중공 슬래브간 간격이 일정하지 않거나, 중공 슬래브간 대면하는 측면의 각도가 제각각으로 틀어져 있을 수 있고, 이런 연유로, 현장 작업자가 간격 또는 각도 조정을 위하여 육체적인 힘과 끌 형상의 스틸 지렛대 등의 공구를 사용함으로써, 피씨 보 상에서 중공 슬래브를 조립할 때, 작업자에게 과도한 수작업을 증대시키고, 작업자의 근골격계 질환을 유발하는 단점이 있다.
따라서, 일반적인 크레인을 사용하면서도 복수개의 슬래브를 동시양중 할 수 있고, 특히 동시양중 도중 및 하강과 보 안착시에도 슬래브의 간격이 일정하고, 슬래브간 상호 평행이 유지될 수 있는 새로운 기술이 요구되고 있다.
[특허문헌]
(특허문헌1)한국공개특허 제10-2010-0121865호(2010.11.19)
(특허문헌2)한국공개특허 제10-2014-0069689호(2014.06.10)
본 발명은 상술한 종래기술의 문제점을 해결하기 위한 것으로, 본 발명의 목적은 크레인에 연결된 밸런스빔과, 밸런스빔에 결합된 병렬와이어로프를 통해서 2매의 슬래브를 동시양중 하거나 1매의 슬래브를 양중 할 수 있고, 특히 2매의 슬래브의 동시양중 및 하강 도중에 슬래브의 간격 및 평행 상태를 일정하게 하여 빔에 정밀하게 안착시킬 수 있는 슬래브 동시양중 장치 및 그의 시공방법을 제공하고자 한다.
본 발명의 일 측면에 따르면, 크레인으로 크레인케이블을 감거나 풀어서 슬래브를 동시양중 하는 장치에 있어서, 상기 크레인케이블의 끝단에 마련된 크레인후크블록에 일측 끝단을 연결하고, 각각의 타측 끝단에 샤클을 구비한 복수개의 인양케이블; 상기 인양케이블의 상기 샤클과 각각 연결되는 복수개의 상부 러그를 코너 상면에 각각 구비하고, 상기 상부 러그의 아래쪽에 위치하도록, 복수개의 하부 러그를 코너 저면에 각각 구비한 밸런스빔; 상기 밸런스빔의 상기 하부 러그로부터 각각 연장되고, 하단부에 후크부를 구비한 연장와이어; 및 상기 후크부에 걸리도록 고리를 로프 양단부에 구비하고, 상기 연장와이어의 개수에 대응하여 상기 밸런스빔의 하향에 배치되는 병렬와이어로프를 포함하고, 상기 밸런스빔의 평면을 기준으로 평행하게 배치된 복수개의 상기 슬래브를 상기 병렬와이어로프로 각각 감아 구속하는 것을 특징으로 하는 슬래브 동시양중 장치가 제공된다.
또한, 상기 밸런스빔은, 직사각형 골격 구조를 이루는 외곽프레임; 상기 외곽프레임의 내측면에 연결된 트러스프레임; 상기 외곽프레임의 코너 상면에서 각각 상향으로 돌출된 상기 상부 러그; 및 상기 외곽프레임의 코너 저면에서 각각 하향으로 돌출되고, 상기 상부 러그의 설치 방향과 수직을 이루도록 배치된 상기 하부 러그를 포함한다.
또한, 상기 밸런스빔은, 상기 상부 러그 사이로 상기 밸런스빔의 상면에 마련된 보조 상부 러그; 및 상기 하부 러그 사이로 상기 밸런스빔의 저면에 마련된 보조 하부 러그를 더 포함한다.
또한, 상기 연장와이어는, 상기 밸런스빔의 상기 하부 러그에 대하여 샤클을 통해 연결된다.
또한, 상기 연장와이어는, 복수개로서 동일 길이 또는 서로 다른 길이를 가질 수 있다.
또한, 상기 병렬와이어로프는, 상기 로프 양단부에 마련된 고리와, 상기 고리 사이의 로프 몸체의 길이 중간 부위를 접어서 만든 중간 고리 및 2중 로프 구조를 포함한다.
또한, 상기 병렬와이어로프는, 상기 슬래브의 종단면을 기준으로 상기 슬래브의 저면 및 상기 슬래브의 양측면을 감싼 후, 서로 좌우 대칭되어 삼각 형상을 갖도록 연장된 후, 상기 고리 및 중간 고리를 상기 연장와이어의 후크부에 연결될 수 있다.
또한, 상기 병렬와이어로프는, 상기 슬래브의 길이방향을 따라 이격되어서 상기 밸런스빔의 하향 위치에서 쌍을 이룰 수 있다.
또한, 상기 병렬와이어로프는, 상기 슬래브 사이의 측면에 배치되도록 결합된 펜더부를 더 포함할 수 있다.
또한, 상기 병렬와이어로프는, 상기 후크부에 걸려 있고, 와이어 코어 단면을 갖고 착탈부를 구비한 일측 상부와이어; 상기 후크부에 걸려 있고, 상기 일측 상부와이어와 동일한 단면을 갖는 타측 상부와이어; 및 상기 타측 상부와이어의 끝단으로부터 상기 슬래브를 감싸도록 연장되고, 상기 착탈부에 취부 가능하게 결합되는 체결판을 끝단에 구비한 연결스트립을 포함할 수 있다.
또한, 상기 슬래브의 측변에는 상기 연결스트립 또는 상기 병렬와이어로프가 통과할 수 있는 홈부가 더 마련될 수 있다.
또한, 본 발명의 다른 측면에 따르면, 크레인으로 크레인케이블을 감거나 풀어서 슬래브를 동시양중 하는 장치에 있어서, 상기 크레인케이블의 끝단에 마련된 크레인후크블록에 일측 끝단을 연결하고, 각각의 타측 끝단에 샤클을 구비한 복수개의 인양케이블; 상기 인양케이블의 상기 샤클과 각각 연결되는 복수개의 상부 러그와, 상기 상부 러그의 아래쪽에 위치된 복수개의 하부 러그를 갖는 H형 밸런스빔; 상기 밸런스빔의 상기 하부 러그로부터 각각 연장되고, 하단부에 후크부를 구비한 연장와이어; 및 상기 후크부에 걸리도록 고리를 로프 양단부에 구비하고, 상기 연장와이어의 개수에 대응하여 상기 밸런스빔의 하향에 배치되는 병렬와이어로프를 포함하고, 상기 밸런스빔의 평면을 기준으로 평행하게 배치된 복수개의 상기 슬래브를 상기 병렬와이어로프로 각각 감아 구속하는 것을 특징으로 하는 슬래브 동시양중 장치가 제공될 수 있다.
또한, 상기 H형 밸런스빔은, 한 쌍으로 구비되어 서로 대칭되도록 이격 배치된 T자형 프레임; 및 상기 T자형 프레임의 플랜지를 통해 교체 가능하게 결합되고, 상기 슬래브의 규격별 길이를 갖는 중간 프레임을 포함할 수 있다.
또한, 상기 슬래브는, 상기 병렬와이어로프에 연결되어서 상기 슬래브를 수평하게 양중시키도록, 상기 슬래브의 무게 중심을 기준으로 이격 배치된 복수개의 고리 매립부; 및 상기 고리 매립부를 기초로 돌출된 U자 고리부를 포함할 수 있다.
또한, 본 발명의 또 다른 측면에 따르면, 크레인으로 크레인케이블을 감거나 풀어서 쌍으로 배치된 슬래브를 동시양중 하는 시공방법에 있어서, 상기 슬래브 각각에 병렬와이어로프를 체결하는 단계; 상기 크레인으로 밸런스빔을 병렬와이어로프의 상부쪽으로 이동하는 단계; 상기 밸런스빔에서 연장된 연장와이어와 상기 병렬와이어로프를 연결하는 단계; 상기 크레인으로 밸런스빔을 들어올려 복수개의 슬래브를 동시양중 하는 단계; 및 상기 크레인으로 밸런스빔을 하강시켜서 건축 대상물의 빔에 안착시키도록, 상기 슬래브를 동시하강하는 단계를 포함하는 것을 특징으로 하는 슬래브 동시양중 장치의 시공방법이 제공될 수 있다.
또한, 본 발명은 상기 슬래브가 상기 빔에 안착될 경우, 상기 병렬와이어로프의 고리를 상기 연장와이어의 후크부로부터 빼내어서, 상기 슬래브와 상기 병렬와이어로프를 서로 분리시키는 단계를 더 포함할 수 있다.
본 발명의 일 측면에 따른 슬래브 동시양중 장치 및 그의 시공방법에 의하면, 후크부에 의해 일자형으로 변환이 가능한 폐루프 구조의 병렬와이어로프를 복수개로 밸런스빔에 결합시키고 있음에 따라, 2매 또는 1매의 슬래브(예: HCS)를 양중 수량을 증대시킬 수 있음에 따라, 1일 기준 조립 수량을 증대시킬 수 있고, 조립 소요시간을 상대적으로 단축시킬 수 있다.
또한, 본 발명은 기존 'ㄷ'자 형태를 가지는 한 쌍의 지그부와 포크형 양중장비에 비하여, 복수의 슬래브 각각을 폐루프 구조의 병렬와이어로프로 완전히 감싸거나 구속시킨 상태에서 상기 슬래브를 동시양중 할 수 있고, 이에 따라 슬래브가 이동 도중 회전되거나 또는 과도한 풍력을 만나더라도, 각 슬래브가 이탈될 염려가 없다.
또한, 본 발명은 트럭 적재상태를 고려할 때, 폭 1.2m 슬래브가 병렬 또는 2열로 층당 2장씩 다수층으로 적재되어 있음에 대응하여, 2장씩 슬래브를 동시양중하여 간편하고 효율적으로 슬래브를 건축대상물의 보에 설치시킬 수 있다.
또한, 본 발명에서 병렬와이어로프는 슬래브의 폭 규격을 기준으로 병렬와이어로프가 매달려 있는 무게 중심점이 정해져 있음에 따라, 2매의 슬래브의 간격이 일정하고, 2매의 슬래브간 평행 상태가 정밀하게 유지되어서, 빔 위의 조립 위치에 정밀하게 안착될 수 있고, 그 결과 현장 작업자가 슬래브간 간격 또는 각도 조정을 위하여 육체적인 힘과 지렛대 등의 공구 사용을 최소화시킬 수 있고, 작업자의 근골격계 질환을 미연에 방지할 수 있다.
또한, 본 발명의 병렬와이어로프에는 동시양중 도중에서 슬래브간 접촉에 의해 슬래브가 파손되는 것을 방지하도록 펜더부(fender member)가 더 구비되어서, 슬래브간 접촉에 의한 충격을 흡수할 수 있다.
또한, 본 발명은 밸런스빔으로부터 연장된 연장와이어와, 연장와이어의 하단부에 마련된 후크부를 구비하되, 이때, 병렬와이어로프가 상기 후크부에 결합된 와이어 코어 단면의 상부와이어와, 착탈부를 구비하여 상부와이어에 결합 또는 체결될 수 있고 상부와이어의 직경보다 상대적으로 얇은 두께와 상대적으로 넓은 폭을 갖는 연결스트립으로 이루어져 있음에 따라서, 슬래브간 간격을 더욱 세밀하게 유지시킬 수 있다.
또한, 본 발명은 슬래브의 측변에 상기 연결스트립 또는 상기 병렬와이어로프가 통과할 수 있는 홈부를 더 구비시켜서, 역시 홈부를 제외한 모든 슬래브의 측변들이 서로 밀착되게 할 수 있어서, 정밀한 슬래브 조립 과정이 가능하고, 2매의 슬래브를 서로 밀착시키기 위한 현장 작업자의 수작업을 최소화시킬 수 있다.
도 1은 본 발명의 제 1 실시예에 따른 슬래브 동시양중 장치를 설명하기 위한 사시도.
도 2는 도 1에 도시된 슬래브를 동시양중 하기 위한 밸런스빔, 연장와이어, 후크부 및 병렬와이어로프의 측면도.
도 3은 도 2에 도시된 슬래브를 동시양중 하기 위한 밸런스빔, 연장와이어, 후크부 및 병렬와이어로프의 정면도.
도 4는 도 2에 도시된 슬래브를 서로 다른 길이의 연장와이어를 사용하여 동시양중하는 측면도.
도 5는 도 2에 도시된 병렬와이어로프에 펜더부가 구비된 측면도.
도 6은 도 2에 도시된 밸런스빔, 연장와이어, 후크부 및 병렬와이어로프로 1매의 슬래브를 양중 하는 방법을 설명하기 위한 측면도.
도 7은 본 발명의 제 2 실시예에 따른 슬래브 동시양중 장치의 병렬와이어로프의 확대 부위를 갖는 측면도.
도 8은 본 발명의 제 3 실시예에 따른 슬래브 동시양중 장치의 H형 밸런스빔의 사시도.
도 9는 본 발명의 제 4 실시예에 따른 슬래브 동시양중 장치의 양중 대상물인 슬래브의 사시도.
도 10은 본 발명의 제 5 실시예에 따른 슬래브 동시양중 장치의 양중 대상물인 슬래브의 사시도.
이하, 본 발명의 실시예를 첨부된 도면을 참조하여 상세히 설명하기로 한다. 아울러 본 발명을 설명함에 있어서, 관련된 공지 구성 또는 기능에 대한 구체적인 설명이 본 발명의 요지를 흐릴 수 있다고 판단되는 경우에는 그 상세한 설명을 생략한다.
제 1 실시예
도 1은 본 발명의 제 1 실시예에 따른 슬래브 동시양중 장치를 설명하기 위한 사시도이다.
도 1을 참조하면, 본 실시예에서는 일반적인 크레인(110)을 이용한 슬래브 동시양중 장치(100) 및 그의 시공방법이 개시된다.
설명의 용이성을 위해서, 본 실시예에서 슬래브의 개수를 지칭하는 복수개란 의미는 슬래브(10,20) 2매이거나, 슬래브(10,20) 쌍이거나, 또는 다수의 슬래브(10,20)를 샐 수 있는 단위를 의미할 수 있고, 예컨대, 1매는 1개의 슬래브(10)를 지칭할 수 있다.
또한, 슬래브(10,20)는 중공 슬래브, 즉 HCS(hollow core slab)를 의미하거나, 혹은 프리캐스트 콘크리트 공법에서 사용되는 기타 슬래브가 될 수 있으므로, 특정 슬래브로 한정되지 않을 수도 있다.
또한, 슬래브(10,20)는 폭 1.2m로서, 트럭(1)의 적재함의 규격 또는 상태를 고려할 때, 2장씩 트럭(1)의 적재함에서 병렬로 적재되어 시공 현장으로 운반되어 올 수 있다.
슬래브 동시양중 장치(100)는 위와 같은 트럭(1) 적재 상태에서 매우 효율적인 작업을 실현할 수 있다.
즉, 슬래브 동시양중 장치(100)는 크레인케이블(101)을 감거나 풀어 양중을 행하는 크레인(110)을 통해서 2매의 슬래브(10,20)를 동시양중 하거나, 또는 1매의 슬래브(10)(도 6 참조)를 양중 하는 장치일 수 있다.
여기서, 슬래브 동시양중 장치(100)는 기본적으로 크레인(110)을 포함하여 구성되거나, 혹은 일반적인 다른 크레인(예: 타워크레인, 고소작업용 장치 등)에 결합되어 사용될 수 있다.
또한, 슬래브 동시양중 장치(100)는 인양케이블(120), 밸런스빔(130), 연장와이어(140) 및 병렬와이어로프(150)를 포함할 수 있다.
크레인(110)은 크레인케이블(101)의 끝단에 마련된 크레인후크블록(102)을 포함한다.
인양케이블(120)은 크레인후크블록(102)에 연결되도록 복수개로 이루어질 수 있다. 예컨대, 인양케이블(120)의 개수는 밸런스빔(130)의 코너 개수와 일치할 수 있다.
각 인양케이블(120)은 크레인후크블록(102)에 연결된 일측 끝단(121)과, 상기 일측 끝단(121)으로부터 연장된 케이블몸체와, 케이블몸체를 기준으로 상기 일측 끝단(121)의 반대쪽에 해당하는 타측 끝단에 구비된 샤클(122)을 포함할 수 있다. 여기서, 인양케이블(120) 각각의 타측 끝단은 고리이고, 그 고리는 샤클(122)의 체결 구멍에 걸린 상태일 수 있다.
크레인후크블록(102)에 복수개의 일측 끝단(121)을 연결한다는 의미는 크레인후크블록(102)의 후크 체결부에 일측 끝단(121)의 고리를 걸어 연결한다는 의미일 수 있다.
도 2는 도 1에 도시된 슬래브를 동시양중 하기 위한 밸런스빔, 연장와이어, 후크부 및 병렬와이어로프의 측면도이다.
도 2를 참조하면, 인양케이블(120)의 타측 끝단은 고리 형태로 제작되어 있다. 고리 형태의 인양케이블(120)의 타측 끝단은 샤클(122)에 연결된다.
여기서, 인양케이블(120)은 밸런스빔(130)의 무게 중심 혹은 동시양중이 일어나는 인양 중심을 맞추기 위하여, 4개로 구비되고, 경우에 따라서 밸런스빔(130)에 미리 결합된 형태가 될 수 있고, 도 1에 도시된 크레인후크블록(102)을 기준으로 사각 뿔 형태와 같이 연장 배치될 수 있다.
이후, 인양케이블(120)의 샤클(122)은 도 2에 보이듯이, 밸런스빔(130)의 상부 러그(131)에 연결된다.
밸런스빔(130)은 인양케이블(120)의 상기 샤클(122)과 각각 연결되는 복수개의 상부 러그(131)를 코너 상면에 각각 구비하고, 하부 러그(132)를 코너 저면에 각각 구비하고 있다. 이때, 하부 러그(132)는 상기 상부 러그(131)의 아래쪽에 위치하되, 더욱 상세하게는, 상기 상부 러그(131)의 아래쪽에 해당하는 밸런스빔(130)의 코너 저면에 위치될 수 있다.
여기서, 상부 러그(131)는 밸런스빔(130)의 코너 상면 4곳에 각각 설치될 수 있도록 4개로 이루어질 수 있다.
또한, 하부 러그(132)도 인양 하중의 연속적 및 효과적인 전달을 위하여, 상기 상부 러그(131)의 연직 하향에 해당하는 밸런스빔(130)의 코너 저면 4곳에 각각 설치될 수 있도록 4개로 구비된다.
연장와이어(140)는 하부 러그(132) 각각에 연결될 수 있도록 복수개로 마련된다. 예컨대, 연장와이어(140)는 하부 러그(132)의 개수에 대응하여 총 4개로 구비될 수 있고, 이때, 연장와이어(140)의 길이는 모두 동일할 수 있다.
연장와이어(140)는 상기 밸런스빔(130)의 상기 하부 러그(132)에 대하여 샤클(141)을 통해 연결된다. 또한, 연장와이어(140)는 밸런스빔(130)의 상기 하부 러그(132)로부터 각각 연장되고, 하단부에 후크부(142)를 구비하고 있다.
병렬와이어로프(150)는 총 4개로 이루어질 수 있다. 각 병렬와이어로프(150)는 2매의 슬래브(10,20)를 동시양중시켰을 때, 2매의 슬래브(10,20)가 동시에 밸런스빔(130)의 아래에서 밸런스빔(130)의 폭방향과 일치되게 수평 배치될 수 있도록, 동일한 로프 길이를 갖는다.
이때, 2개의 병렬와이어로프(150)는 밸런스빔(130)의 폭방향을 따라 이격 배치되고, 나머지 2개의 병렬와이어로프(150)는 밸런스빔(130)의 길이방향을 따라 이격 배치된다.
병렬와이어로프(150)는 후크부(142)에 걸리도록 고리(151,152)를 로프 양단부에 구비하고, 상기 연장와이어(140)의 개수에 대응하여 상기 밸런스빔(130)의 하향에 배치된다.
각 병렬와이어로프(150)는 양측 끝단(예: 로프 양단부)에 마련된 고리(151,152)와, 고리(151,152) 사이를 서로 연결하는 로프 몸체(152a)를 포함한다.
특히, 병렬와이어로프(150)는 로프 몸체(152a)의 길이 중간 부위를 접어서 만든 중간 고리(151a) 및 2중 로프 구조를 포함하여서, 병렬와이어로프(150)의 두께를 2배로 증대시키고, 슬래브(10,20)와의 접촉 면적을 극대화하여서, 슬래브(10,20)를 안정되게 매달거나 지지할 수 있고, 슬래브(10,20)의 양중시 로프 내구성 및 안전성을 극대화할 수 있다.
이러한 슬래브 동시양중 장치(100)는 밸런스빔(130)의 평면을 기준으로 평행하게 배치된 복수개(예: 2매)의 슬래브(10,20)를 병렬와이어로프(150)로 각각 감아 구속하면서 동시양중 하고, 건축 대상물의 빔에 안착 시키도록 슬래브(10,20)를 이동시킨다.
일단 슬래브(10,20)가 빔에 안착될 경우, 빔 주변에 있던 현장 작업자가 병렬와이어로프(150)를 후크부(142) 및 슬래브(10,20)에서 분리시킬 수 있다.
도 3은 도 2에 도시된 슬래브를 동시양중 하기 위한 밸런스빔, 연장와이어, 후크부 및 병렬와이어로프의 정면도이다.
도 1 내지 도 3을 참조하면, 밸런스빔(130)은 전체 인양 하중을 고려하여 견고하게 제작되고, 2매 또는 1매의 슬래브(10,20)를 인양하기 위한 설계 기준에 대응하게 길이와 폭 및 두께를 갖는 스틸 구조물일 수 있다.
예컨대, 밸런스빔(130)은 직사각형 골격 구조를 이루는 외곽프레임(133,134)을 포함한다.
또한, 밸런스빔(130)은 외곽프레임(133,134)의 내측면에서 용접을 통해 연결된 트러스프레임(135)을 포함한다.
또한, 밸런스빔(130)은 외곽프레임(133,134)의 코너 상면에서 각각 상향으로 돌출된 4개의 상부 러그(131)와, 상기 외곽프레임(133,134)의 코너 저면에서 각각 하향으로 돌출되고, 상기 상부 러그(131)의 설치 방향과 수직을 이루도록 배치된 상기 하부 러그(132)를 포함할 수 있다. 즉, 도 2를 참조하면, 하부 러그(132)의 러그플레이트(132a)의 설치 방향은 상부 러그(131)의 러그플레이트(131a)의 설치 방향과 직각을 이루고 있음을 알 수 있다.
상기 상부 러그(131) 및 상기 하부 러그(132)의 설치 방향은 슬래브(10,20)를 동시양중 하는 도중에 인양케이블(120), 연장와이어(140) 및 병렬와이어로프(150)가 편향력 또는 비틀림력에 의해 불안전한 상태로 빠지는 것을 방지하는 역할을 담당할 수 있다.
예컨대, 하부 러그(132)의 러그플레이트(132a)의 설치 방향 또는 연장 방향(예: 밸런스빔의 폭방향)은 연장와이어(140)의 샤클(141)의 와이어 체결 구멍의 관통 방향과 일치되거나, 상기 샤클(141)에 연결된 연장와이어(140)의 양단부에 마련된 고리의 원주 방향과 일치되어 있다. 또한, 병렬와이어로프(150)가 슬래브(10,20)를 각각 감고 있는 방향도, 상기 하부 러그(132)의 러그플레이트(132a)의 설치 방향과 일치되어 있다.
따라서, 동시양중 하는 도중에는 연장와이어(140) 및 병렬와이어로프(150)에서 꼬임이 발생되지 않거나, 최소화될 수 있다.
도 3을 참조하면, 병렬와이어로프(150)는 슬래브(10,20)의 길이방향을 따라 이격되어서 상기 밸런스빔(130)의 하향 위치에서 쌍을 이루고 있다.
이때, 각 병렬와이어로프(150)는 슬래브(10,20)의 종단면을 기준으로 상기 슬래브(10,20)의 저면 및 상기 슬래브(10,20)의 양측면을 감싼 후, 서로 좌우 대칭되어 삼각 형상을 갖도록 연장된 후, 상기 고리(151,152) 및 중간 고리(151a)를 상기 연장와이어(140)의 후크부(142)에 연결된다. 이때, 2줄의 로프 몸체(152a)가 슬래브(10,20)의 저면을 지지할 수 있게 된다.
또한, 후크부(142)의 방향도 하부 러그(132)의 러그플레이트(132a)의 연장 방향과 일치할 수 있다(도 2 참조).
따라서, 슬래브(10,20)가 동시양중 할 때 안정된 자세를 잡을 수 있으면서도, 병렬와이어로프(150)의 직경(예: 와이어 코어 단면의 직경)에 대응한 간격을 유지할 수 있고, 상호간 평행을 유지하여, 추후 건축 대상물의 빔에 정밀하게 안착 및 조립될 수 있게 된다.
한편, 밸런스빔(130)의 길이 방향을 기준으로, 밸런스빔(130)은 상기 상부 러그(131) 사이로 밸런스빔(130)의 상면에 마련된 보조 상부 러그(131b)와, 상기 하부 러그(132) 사이로 밸런스빔(130)의 저면에 마련된 보조 하부 러그(132b)를 더 포함한다.
여기서, 보조 상부 러그(131b)간 사이 간격 또는 보조 하부 러그(132b) 간 사이 간격은 기존의 상부 러그(131) 또는 하부 러그(132)간 사이 간격보다 짧다. 따라서, 보조 상부 러그(131b) 및 보조 하부 러그(132b)는 상대적으로 짧은 길이를 갖는 소형 사이즈의 슬래브(미 도시)를 양중할 때 사용될 수 있다.
도 4는 도 2에 도시된 슬래브를 서로 다른 길이의 연장와이어를 사용하여 동시양중하는 측면도이다.
또한, 슬래브 동시양중 장치(100)에서 연장와이어(140,140a)는 서로 다른 길이(L1,L2)를 가질 수 있다.
이런 경우, 연장와이어(140,140a)에 매달려 있는 병렬와이어로프(150)의 높이가 차이나게 되고, 그 결과, 각 병렬와이어로프(150)에 구속된 슬래브(10,20)간 단차가 발생될 수 있다. 이 경우, 단차를 갖는 건축 대상물의 빔에 효율적으로 슬래브(10,20)를 안착시킬 수 있다.
도 5는 도 2에 도시된 병렬와이어로프에 펜더부가 구비된 측면도이다.
도 5를 참조하면, 병렬와이어로프(150)는 슬래브(10,20) 사이의 측면에 배치되도록 결합된 펜더부(160)를 더 포함할 수 있다.
여기서, 펜더부(160)는 충격 흡수 재질 혹은 완충 재질로서, 철사 등을 이용하여 병렬와이어로프(150)에 결합 또는 고정될 수 있다.
또한, 펜더부(160)는 중공 구조물 형태로 제작되어서, 병렬와이어로프(150)에 삽입되고, 이후 파스너 또는 철사 등을 이용하여 병렬와이어로프(150)에 고정될 수 있다.
이러한 펜더부(160)는 슬래브(10,20)의 사이에 개재되어서, 동시양중 도중에서 슬래브(10,20)간 접촉에 의해 슬래브(10,20)가 부분적으로 파손되는 것을 방지하는 역할이나, 혹은 슬래브(10,20)간 접촉에 의한 충격을 흡수하는 역할 등과 같이, 슬래브(10,20) 및 병렬와이어로프(150)를 보호하거나, 병렬와이어로프(150)가 슬래브(10,20)의 모서리에 찍히는 손상 등을 방지하는 역할을 담당할 수 있다.
이하, 본 실시예에 따른 구체적인 시공방법에 대하여 상세히 설명하고자 한다.
본 실시예에 따른 시공방법의 준비 단계에서는, 시공 현장의 건축 대상물에 필요한 개수의 슬래브가 프리캐스트 콘크리트 공장 또는 슬래브 제작을 수행하는 전용공장으로부터 시공 현장까지 운반되어 온다.
운반된 슬래브는 시공 현장 옆의 야적장에 적층 형태로 쌓여 있듯이 적치되어 있을 수 있고, 이때, 복수 쌍으로 배치되어 있을 수 있다.
또한, 크레인은 크레인케이블 및 크레인후크블록을 통해 인양케이블과 연결되고, 이때 인양케이블에는 밸런스빔이 수평하게 매달려 있고, 이러한 밸런스빔의 하부 러그에는 총 4개의 연장와이어가 매달려 있는 상태로 준비될 수 있다.
또한, 작업자는 2매의 슬래브의 동시양중을 위해서 총 4개의 병렬와이어로프를 슬래브 근처에 준비하여 둔다.
이후, 크레인케이블을 감거나 푸는 크레인과, 슬래브 주위의 작업자간 협업을 통해서 슬래브의 동시양중 작업을 진행한다.
이에 대하여 더욱 구체적으로 설명하면, 작업자는 슬래브의 길이 방향을 기준으로, 쌍으로 배치된 슬래브 각각의 일측과 타측에 병렬와이어로프를 각각 감은 후, 병렬와이어로프의 일측단과 타측단이 동일한 길이가 되게 조절하여서, 병렬와이어로프의 고리가 슬래브의 중심 위치의 상향에 놓일 수 있도록, 병렬와이어로프를 체결하는 단계를 수행한다.
한편, 작업자가 와이어로프를 체결하는 동안, 크레인은 밸런스빔을 병렬와이어로프의 상부쪽으로 이동시키는 단계를 수행한다.
즉, 크레인은 적치된 상태의 슬래브의 상부 공간쪽으로 크레인 붐대를 이동시키고, 이후, 크레인케이블을 풀어서, 인양케이블, 밸런스빔 및 연장와이어를 슬래브의 위쪽으로 하강시킨다.
이런 경우, 작업자는 밸런스빔에서 연장된 연장와이어와 병렬와이어로프를 연결하는 단계를 수행한다.
즉, 작업자는 2개의 병렬와이어로프를 1매의 슬래브에 각각 연결하는 과정을 반복하되, 이때, 서로 좌우 대칭되어 삼각 형상을 갖도록 병렬와이어로프를 들어올린 후, 각각의 병렬와이어로프의 고리를 연장와이어의 후크부에 끼워 넣듯이 각각 연결시킨다.
이후, 크레인으로 밸런스빔을 들어올려 슬래브를 동시양중 하는 단계가 진행된다.
즉, 크레인은 크레인케이블을 감아서, 인양케이블, 밸런스빔, 연장와이어, 병렬와이어로프 및 슬래브를 위쪽으로 상승시키고, 건축 대상물의 빔 쪽으로 크레인 붐대를 이동시킨다.
슬래브가 상기 빔의 상향 위치에 도달하였을 때, 크레인이 크레인케이블을 풀고, 밸런스빔을 하강시키고, 그 결과 2매의 슬래브가 동시에 빔 쪽으로 하강 및 안착되는 단계가 수행된다.
이후에는, 건축 대상물의 빔 쪽에 위치한 다른 작업자가 병렬와이어로프를 슬래브로부터 분리시킨다.
즉, 슬래브가 상기 빔에 안착될 경우, 작업자는 상기 병렬와이어로프의 고리를 상기 연장와이어의 후크부로부터 빼내어서, 상기 슬래브와 상기 병렬와이어로프를 서로 분리시키는 단계를 더 수행할 수 있다.
또한, 작업자는 분리된 병렬와이어로프를 연장와이어의 후크부에 걸어서, 크레인을 통해 지상에 있는 작업자 쪽으로 전달시킨다.
지상에 있는 작업자는 전달 받은 병렬와이어로프를 재사용하거나, 별도로 준비한 병렬와이어로프로 교체 사용하여 동시양중 과정을 더욱 원활하게 진행할 수도 있다.
도 6은 도 2에 도시된 밸런스빔, 연장와이어, 후크부 및 병렬와이어로프로 1매의 슬래브를 양중 하는 방법을 설명하기 위한 측면도이다.
도 6을 참조하면, 지상의 작업자는 연장와이어(140) 및 병렬와이어로프(150) 중 밸런스빔(130)의 일측에 배치된 것만을 사용할 수 있다.
즉, 지상의 작업자는 일측의 병렬와이어로프(150)로 1매의 슬래브(10)를 감싸게 결합한 후, 연장와이어(140)의 후크부(142)에 일측의 병렬와이어로프(150)를 연결한다.
이때, 타측의 병렬와이어로프는 슬래브 없이 그대로 연장와이어에 매달아 놓을 수 있다. 또한, 밸런스빔(130)은 1매의 슬래브(10)의 중량에 의해 기울어질 수 있다. 그러나, 1매의 슬래브(10)는 밸런스빔(130)의 무게보다 상대적으로 가볍다. 따라서, 약간 기울어지듯이 자연스럽게 밸런스빔(130)의 무게 중심이 1매의 슬래브(10)의 인양 중심에 일치되듯이, 밸런스빔(130)의 균형 유지 기능을 통해서 안정되게 1매의 슬래브(10)의 양중이 가능해질 수 있다.
이처럼 본 발명의 슬래브 동시양중 장치는 앞서 설명한 바와 같이 2매의 슬래브뿐만 아니라, 1매의 슬래브(10)도 양중 할 수 있다.
제 2 실시예
이 실시예에서 설명하는 본 발명의 슬래브 동시양중 장치는 서로 다른 단면형상을 상부와 하부에 구비한 병렬와이어로프를 구비한 것을 제외하고 제 1 실시예와 동일하거나 매우 유사할 수 있다. 그러하므로, 도 1 내지 도 7에서 동일하거나 대응하는 구성요소에 대해서는 동일하거나 유사한 도면부호가 부여될 것이며, 이것들에 대한 설명은 여기에서 생략될 것이다.
제 2 실시예에 따른 병렬와이어로프(150a)는 연장와이어의 후크부에 걸려 있고, 와이어 코어 단면을 갖고 착탈부(153)를 구비한 일측 상부와이어(154)와, 상기 후크부에 걸려 있고, 상기 일측 상부와이어(153)와 동일한 단면을 갖는 타측 상부와이어(155)를 포함한다.
여기서, 착탈부(153)는 일측 상부와이어(154)의 끝단에 마련된 11자 형태의 브래킷 및 브래킷의 체결 구멍에 착탈 가능하게 결합되는 볼트 및 너트 세트로 구성될 수 있다.
또한, 병렬와이어로프(150a)는 타측 상부와이어(155)의 끝단으로부터 상기 슬래브(10)를 감싸도록, 슬래브(10)의 우측 및 저면을 지나서 좌측으로 올라오듯이 연장되고, 상기 착탈부(153)에 취부 가능하게 결합되는 체결판(156)을 끝단에 구비한 연결스트립(157)을 포함한다.
여기서, 일측 슬래브(10)용 연결스트립(157)은 타측 슬래브(20)용 연결스트립(157a)에 대하여 엇갈리게 배치되어 있을 수 있다. 즉, 연결스트립(157,157a)들은 서로 겹치지 않는 위치를 기준으로, 일측 슬래브(10) 또는 타측 슬래브(20)를 감싸고 있다.
착탈부(153)와 체결판(156)은 볼트 및 너트 세트를 착탈부(153) 및 체결판(156)의 체결 구멍에 결합시키거나 분리시킴으로써, 일측 상부와이어(154)와 연결스트립(157)을 서로 체결 또는 분리시키는 역할을 담당한다.
이때, 연결스트립(157)의 두께(m1)는 일측 상부와이어(154)의 직경(m2) 또는 연결스트립(157)의 폭(m3)보다 상대적으로 작다.
따라서, 슬래브(10,20)간 사이 간격(g)을 제 1 실시예에 비하여 상대적으로 감소시킬 수 있다. 물론, 이를 위해서는, 상기 후크부 및 연장와이어가 연결된 하부 러그의 위치는 슬래브(10,20)간 사이 간격(g) 및 상기 슬래브(10,20)의 무게 중심간 거리를 고려하여 제 1 실시예에 비해 서로 가깝게 밸런스빔의 저면에 위치되어 있을 수 있다.
제 3 실시예
이 실시예에서 설명하는 본 발명의 슬래브 동시양중 장치는 H형 밸런스빔을 포함한 것을 제외하고 제 1 실시예 또는 제 2 실시예와 동일하거나 매우 유사할 수 있다. 그러하므로, 도 1 내지 도 8에서 동일하거나 대응하는 구성요소에 대해서는 동일하거나 유사한 도면부호가 부여될 것이며, 이것들에 대한 설명은 여기에서 생략될 것이다.
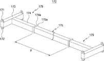
도 8은 본 발명의 제 3 실시예에 따른 슬래브 동시양중 장치의 H형 밸런스빔의 사시도이다.
도 8을 참조하면, 슬래브 동시양중 장치에는 슬래브의 규격(예: 길이)에 따라 빔 길이를 가변시킬 수 있는 H형 밸런스빔(170)이 더 포함될 수 있다.
H형 밸런스빔(170)은 앞서 실시예들에서 설명한 인양케이블의 샤클과 각각 연결되는 복수개의 상부 러그(171)와, 상기 상부 러그(171)의 아래쪽에 위치된 복수개의 하부 러그(172)를 갖는다.
또한, H형 밸런스빔(170)은 한 쌍으로 구비되어 서로 대칭되도록 이격 배치된 T자형 프레임(178,179)과, T자형 프레임(178,179)의 플랜지(174a)를 통해 교체 가능하게 결합되고, 슬래브의 규격별 길이(P)를 갖는 중간 프레임(175)을 포함한다.
여기서, 각 T자형 프레임(178,179)은 박스형 철판 구조물 또는 거더형 빔 구조물일 수 있다.
또한, 각 T자형 프레임(178,179)은 상부 러그(171) 또는 하부 러그(172)가 양측 끝단에 구비된 측부프레임(173)과, 일측 끝단이 측부프레임(173)의 측면 중간에 수직하게 연결되고 타측 끝단에 플랜지(174a)를 구비한 수직프레임(174)을 포함할 수 있다.
또한, 중간 프레임(175)의 양단에는 상기 플랜지(174a)에 대응하여 복수개의 볼트 및 너트로 결합되는 플랜지(175a)가 마련된다.
중간 프레임(175)은 슬래브의 규격별 길이에 대응하여서, 양중하려는 슬래브 별로 서로 다른 길이(P)를 갖도록 복수개로 준비될 수 있고, 현장 상황에 따라, T자형 프레임(178,179)의 사이에 교체 결합될 수 있다.
이런 교체 결합의 특성에 따라서, H형 밸런스빔(170)의 상부 러그(171) 간 거리 또는 하부 러그(172) 간 거리를 조절하여서, 다양한 규격의 슬래브가 H형 밸런스빔(170)을 통해 양중될 수 있다.
제 4 실시예
이 실시예에서 설명하는 본 발명의 슬래브 동시양중 장치는 홈부를 슬래브에 마련한 것을 제외하고 제 1 실시예 내지 제 3 실시예 중 어느 하나의 실시예에 비하여 동일하거나 매우 유사할 수 있다. 그러하므로, 도 1 내지 도 9에서 동일하거나 대응하는 구성요소에 대해서는 동일하거나 유사한 도면부호가 부여될 것이며, 이것들에 대한 설명은 여기에서 생략될 것이다.
도 9는 본 발명의 제 4 실시예에 따른 슬래브 동시양중 장치의 양중 대상물인 슬래브의 사시도이다.
앞서 설명한 본 실시예들은 도 9에 도시된 슬래브(30,40)를 동시양중 하는데 사용될 수 있다.
즉, 슬래브(30,40)의 측변에는 상기 연결스트립 또는 상기 병렬와이어로프가 통과할 수 있는 홈부(31,41)가 더 마련되어 있을 수 있다.
홈부(31,41)의 사이즈는 상기 연결스트립 또는 상기 병렬와이어로프를 통과시킬 수 있는 정도로 정해질 수 있다.
실제 동시양중이 실행될 때, 작업자의 조정에 따라 상기 연결스트립 또는 상기 병렬와이어로프는 홈부(31,41)에 위치되게 함으로써, 그 결과, 홈부(31,41)를 제외한 모든 슬래브(30,40)의 측변들이 서로 밀착되게 할 수 있다. 이에 따라서, 응용예에 따른 본 발명은 정밀한 슬래브(30,40) 조립을 실현할 수 있고, 2매의 슬래브(30,40)를 서로 밀착시키기 위한 현장 작업자의 수작업을 최소화시킬 수 있다.
제 5 실시예
이 실시예에서 설명하는 본 발명의 슬래브 동시양중 장치는 고리 매립부 및 U자 고리부를 슬래브에 마련한 것을 제외하고 제 1 실시예 내지 제 4 실시예 중 어느 하나의 실시예에 비하여 동일하거나 매우 유사할 수 있다. 그러하므로, 도 1 내지 도 10에서 동일하거나 대응하는 구성요소에 대해서는 동일하거나 유사한 도면부호가 부여될 것이며, 이것들에 대한 설명은 여기에서 생략될 것이다.
도 10은 본 발명의 제 5 실시예에 따른 슬래브 동시양중 장치의 양중 대상물인 슬래브의 사시도이다.
도 10을 참조하면, 슬래브(50)는 앞서 실시예에서 설명한 병렬와이어로프에 연결되어서 슬래브(50)를 수평하게 양중시키기 위한 고리 매립부(51) 및 U자 고리부(52)를 포함한다.
이때, 고리 매립부(51)는 복수개, 또는 총 4개로 이루어질 수 있다. 고리 매립부(51)의 위치는 슬래브(50)의 무게 중심을 기준으로 이격 배치되어서, 슬래브(50)의 상면의 각 코너 부위일 수 있다.
고리 매립부(51)는 프리캐스트 콘크리트 공법으로 슬래브(50)가 제작될 때, 슬래브(50)의 상면쪽에 일체형 또는 매립형으로 만들어질 수 있다.
이러한 고리 매립부(51)에는 U자 고리부(52)가 결합된다. 즉, U자 고리부(52)는 고리 매립부(51)를 기초로 돌출될 수 있다. 즉, U자 고리부(52)의 하부는 고리 매립부(51)의 내부에 매립되고, 고리 형상을 이루는 U자 고리부(52)의 상부는 슬래브(50)의 상면 위에 배치된다. 이에 따라서, 병렬와이어로프는 U자 고리부(52)의 구리 구멍을 슬래브(50)의 폭방향으로 통과한 후, 다시 연장와이어의 후크부에 결합됨으로써, 슬래브(50)를 안전하게 양중시킬 수 있다.
또한, 2매의 슬래브(50)를 병렬로 동시양중하더라도, 병렬와이어로프가 U자 고리부(52)에 위치함에 따라서, 2매의 슬래브(50)의 측면 사이에 갭(gap) 발생이 전혀 발생되지 않을 수 있다.
10,20,30,40,50 : 슬래브 31,41 : 홈부
51 : 고리 매립부 52 : U자 고리부
101 : 크레인케이블 102 : 크레인후크블록
110 : 크레인 120 : 인양케이블
130 : 밸런스빔 140,140a : 연장와이어
150,150a : 병렬와이어로프 160 : 펜더부
170 : H형 밸런스빔

Claims (16)

  1. 크레인으로 크레인케이블을 감거나 풀어서 슬래브를 동시양중 하는 장치에 있어서,
    상기 크레인케이블의 끝단에 마련된 크레인후크블록에 일측 끝단을 연결하고, 각각의 타측 끝단에 샤클을 구비한 복수개의 인양케이블;
    상기 인양케이블의 상기 샤클과 각각 연결되는 복수개의 상부 러그를 코너 상면에 각각 구비하고, 상기 상부 러그의 아래쪽에 위치하도록, 복수개의 하부 러그를 코너 저면에 각각 구비한 밸런스빔;
    상기 밸런스빔의 상기 하부 러그로부터 각각 연장되고, 하단부에 후크부를 구비한 연장와이어; 및
    상기 후크부에 걸리도록 고리를 로프 양단부에 구비하고, 상기 연장와이어의 개수에 대응하여 상기 밸런스빔의 하향에 배치되는 병렬와이어로프를 포함하고,
    상기 밸런스빔의 평면을 기준으로 평행하게 배치된 복수개의 상기 슬래브를 상기 병렬와이어로프로 각각 감아 구속하는 것을 특징으로 하는 슬래브 동시양중 장치.
  2. 제 1 항에 있어서,
    상기 밸런스빔은,
    직사각형 골격 구조를 이루는 외곽프레임;
    상기 외곽프레임의 내측면에 연결된 트러스프레임;
    상기 외곽프레임의 코너 상면에서 각각 상향으로 돌출된 상기 상부 러그; 및
    상기 외곽프레임의 코너 저면에서 각각 하향으로 돌출되고, 상기 상부 러그의 설치 방향과 수직을 이루도록 배치된 상기 하부 러그를 포함하는 것을 특징으로 하는 슬래브 동시양중 장치.
  3. 제 2 항에 있어서,
    상기 밸런스빔은,
    상기 상부 러그 사이로 상기 밸런스빔의 상면에 마련된 보조 상부 러그; 및
    상기 하부 러그 사이로 상기 밸런스빔의 저면에 마련된 보조 하부 러그를 더 포함하는 것을 특징으로 하는 슬래브 동시양중 장치.
  4. 제 2 항에 있어서,
    상기 연장와이어는,
    상기 밸런스빔의 상기 하부 러그에 대하여 샤클을 통해 연결되는 것을 특징으로 하는 슬래브 동시양중 장치.
  5. 제 4 항에 있어서,
    상기 연장와이어는,
    복수개로서 동일 길이 또는 서로 다른 길이를 갖는 것을 특징으로 하는 슬래브 동시양중 장치.
  6. 제 1 항에 있어서,
    상기 병렬와이어로프는,
    상기 로프 양단부에 마련된 고리와, 상기 고리 사이의 로프 몸체의 길이 중간 부위를 접어서 만든 중간 고리 및 2중 로프 구조를 포함하는 것을 특징으로 하는 슬래브 동시양중 장치.
  7. 제 6 항에 있어서,
    상기 병렬와이어로프는,
    상기 슬래브의 종단면을 기준으로 상기 슬래브의 저면 및 상기 슬래브의 양측면을 감싼 후, 서로 좌우 대칭되어 삼각 형상을 갖도록 연장된 후, 상기 고리 및 중간 고리를 상기 연장와이어의 후크부에 연결되는 것을 특징으로 하는 슬래브 동시양중 장치.
  8. 제 6 항에 있어서,
    상기 병렬와이어로프는,
    상기 슬래브의 길이방향을 따라 이격되어서 상기 밸런스빔의 하향 위치에서 쌍을 이루는 것을 특징으로 하는 슬래브 동시양중 장치.
  9. 제 6 항에 있어서,
    상기 병렬와이어로프는,
    상기 슬래브 사이의 측면에 배치되도록 결합된 펜더부를 더 포함하는 것을 특징으로 하는 슬래브 동시양중 장치.
  10. 제 1 항에 있어서,
    상기 병렬와이어로프는,
    상기 후크부에 걸려 있고, 와이어 코어 단면을 갖고 착탈부를 구비한 일측 상부와이어;
    상기 후크부에 걸려 있고, 상기 일측 상부와이어와 동일한 단면을 갖는 타측 상부와이어; 및
    상기 타측 상부와이어의 끝단으로부터 상기 슬래브를 감싸도록 연장되고, 상기 착탈부에 취부 가능하게 결합되는 체결판을 끝단에 구비한 연결스트립을 포함하는 것을 특징으로 하는 슬래브 동시양중 장치.
  11. 제 10 항에 있어서,
    상기 슬래브의 측변에는 상기 연결스트립 또는 상기 병렬와이어로프가 통과할 수 있는 홈부가 더 마련되어 있는 것을 특징으로 하는 슬래브 동시양중 장치.
  12. 크레인으로 크레인케이블을 감거나 풀어서 슬래브를 동시양중 하는 장치에 있어서,
    상기 크레인케이블의 끝단에 마련된 크레인후크블록에 일측 끝단을 연결하고, 각각의 타측 끝단에 샤클을 구비한 복수개의 인양케이블;
    상기 인양케이블의 상기 샤클과 각각 연결되는 복수개의 상부 러그와, 상기 상부 러그의 아래쪽에 위치된 복수개의 하부 러그를 갖는 H형 밸런스빔;
    상기 밸런스빔의 상기 하부 러그로부터 각각 연장되고, 하단부에 후크부를 구비한 연장와이어; 및
    상기 후크부에 걸리도록 고리를 로프 양단부에 구비하고, 상기 연장와이어의 개수에 대응하여 상기 밸런스빔의 하향에 배치되는 병렬와이어로프를 포함하고,
    상기 밸런스빔의 평면을 기준으로 평행하게 배치된 복수개의 상기 슬래브를 상기 병렬와이어로프로 각각 감아 구속하는 것을 특징으로 하는 슬래브 동시양중 장치.
  13. 제 12 항에 있어서,
    상기 H형 밸런스빔은,
    한 쌍으로 구비되어 서로 대칭되도록 이격 배치된 T자형 프레임; 및
    상기 T자형 프레임의 플랜지를 통해 교체 가능하게 결합되고, 상기 슬래브의 규격별 길이를 갖는 중간 프레임을 포함하는 것을 특징으로 하는 슬래브 동시양중 장치.
  14. 제 1 항에 있어서,
    상기 슬래브는,
    상기 병렬와이어로프에 연결되어서 상기 슬래브를 수평하게 양중시키도록, 상기 슬래브의 무게 중심을 기준으로 이격 배치된 복수개의 고리 매립부; 및
    상기 고리 매립부를 기초로 돌출된 U자 고리부를 포함하는 것을 특징으로 하는 슬래브 동시양중 장치.
  15. 크레인으로 크레인케이블을 감거나 풀어서 쌍으로 배치된 슬래브를 동시양중 하는 시공방법에 있어서,
    상기 슬래브 각각에 병렬와이어로프를 체결하는 단계;
    상기 크레인으로 밸런스빔을 병렬와이어로프의 상부쪽으로 이동하는 단계;
    상기 밸런스빔에서 연장된 연장와이어와 상기 병렬와이어로프를 연결하는 단계;
    상기 크레인으로 밸런스빔을 들어올려 복수개의 슬래브를 동시양중 하는 단계; 및
    상기 크레인으로 밸런스빔을 하강시켜서 건축 대상물의 빔에 안착시키도록, 상기 슬래브를 동시하강하는 단계를 포함하는 것을 특징으로 하는 슬래브 동시양중 장치의 시공방법.
  16. 제 15 항에 있어서,
    상기 슬래브가 상기 빔에 안착될 경우, 상기 병렬와이어로프의 고리를 상기 연장와이어의 후크부로부터 빼내어서, 상기 슬래브와 상기 병렬와이어로프를 서로 분리시키는 단계를 더 포함하는 것을 특징으로 하는 슬래브 동시양중 장치의 시공방법.
KR1020140088425A 2014-07-14 2014-07-14 슬래브 동시양중 장치 및 그의 시공방법 Ceased KR20160008694A (ko)

Priority Applications (1)

Application Number Priority Date Filing Date Title
KR1020140088425A KR20160008694A (ko) 2014-07-14 2014-07-14 슬래브 동시양중 장치 및 그의 시공방법

Applications Claiming Priority (1)

Application Number Priority Date Filing Date Title
KR1020140088425A KR20160008694A (ko) 2014-07-14 2014-07-14 슬래브 동시양중 장치 및 그의 시공방법

Publications (1)

Publication Number Publication Date
KR20160008694A true KR20160008694A (ko) 2016-01-25

Family

ID=55306680

Family Applications (1)

Application Number Title Priority Date Filing Date
KR1020140088425A Ceased KR20160008694A (ko) 2014-07-14 2014-07-14 슬래브 동시양중 장치 및 그의 시공방법

Country Status (1)

Country Link
KR (1) KR20160008694A (ko)

Cited By (11)

* Cited by examiner, † Cited by third party
Publication number Priority date Publication date Assignee Title
CN107235413A (zh) * 2017-06-16 2017-10-10 中交航局第工程有限公司 一种构件吊索具
CN110759222A (zh) * 2019-12-02 2020-02-07 中建三局第二建设工程有限责任公司 一种带配重的pc墙板快速吊装装置
CN112320561A (zh) * 2020-11-27 2021-02-05 广西路桥工程集团有限公司 一种用于纠正预制涵洞侧墙构件偏心吊装的装置及方法
CN113173486A (zh) * 2021-06-11 2021-07-27 上海市机械施工集团有限公司 一种顶管管节吊具
CN113481858A (zh) * 2021-07-12 2021-10-08 山东省高速路桥养护有限公司 一种桥梁箱梁安装方法
CN113968543A (zh) * 2021-11-01 2022-01-25 中国建筑第五工程局有限公司 一种装配式建筑起吊装置
CN114197696A (zh) * 2021-12-15 2022-03-18 深圳市东深工程有限公司 一种预制钢板混凝土剪力墙及其施工方法
CN115303927A (zh) * 2021-05-07 2022-11-08 中国核工业二三建设有限公司 一种大尺寸变截面薄壳型热室壳体分层吊装方法
CN116605749A (zh) * 2023-04-27 2023-08-18 巢湖市金鸿电缆有限公司 一种电缆起吊防护装置
CN116692652A (zh) * 2023-04-23 2023-09-05 中船澄西船舶修造有限公司 一种吊装风力转子内塔吊耳
KR20240162321A (ko) 2023-05-08 2024-11-15 삼성중공업 주식회사 러그의 구조 강도 시험 장치

Citations (2)

* Cited by examiner, † Cited by third party
Publication number Priority date Publication date Assignee Title
KR20100121865A (ko) 2009-05-11 2010-11-19 동서 피, 씨, 씨 주식회사 피알씨 복합화 공법을 이용한 건축 구조물의 시공방법
KR20140069689A (ko) 2012-11-29 2014-06-10 삼성물산 주식회사 복수 중공슬래브의 양중을 위한 지그장치

Patent Citations (2)

* Cited by examiner, † Cited by third party
Publication number Priority date Publication date Assignee Title
KR20100121865A (ko) 2009-05-11 2010-11-19 동서 피, 씨, 씨 주식회사 피알씨 복합화 공법을 이용한 건축 구조물의 시공방법
KR20140069689A (ko) 2012-11-29 2014-06-10 삼성물산 주식회사 복수 중공슬래브의 양중을 위한 지그장치

Cited By (15)

* Cited by examiner, † Cited by third party
Publication number Priority date Publication date Assignee Title
CN107235413A (zh) * 2017-06-16 2017-10-10 中交航局第工程有限公司 一种构件吊索具
CN110759222A (zh) * 2019-12-02 2020-02-07 中建三局第二建设工程有限责任公司 一种带配重的pc墙板快速吊装装置
CN112320561A (zh) * 2020-11-27 2021-02-05 广西路桥工程集团有限公司 一种用于纠正预制涵洞侧墙构件偏心吊装的装置及方法
CN115303927B (zh) * 2021-05-07 2023-09-08 中国核工业二三建设有限公司 一种大尺寸变截面薄壳型热室壳体分层吊装方法
CN115303927A (zh) * 2021-05-07 2022-11-08 中国核工业二三建设有限公司 一种大尺寸变截面薄壳型热室壳体分层吊装方法
CN113173486A (zh) * 2021-06-11 2021-07-27 上海市机械施工集团有限公司 一种顶管管节吊具
CN113481858A (zh) * 2021-07-12 2021-10-08 山东省高速路桥养护有限公司 一种桥梁箱梁安装方法
CN113968543A (zh) * 2021-11-01 2022-01-25 中国建筑第五工程局有限公司 一种装配式建筑起吊装置
CN113968543B (zh) * 2021-11-01 2024-04-09 中国建筑第五工程局有限公司 一种装配式建筑起吊装置
CN114197696A (zh) * 2021-12-15 2022-03-18 深圳市东深工程有限公司 一种预制钢板混凝土剪力墙及其施工方法
CN114197696B (zh) * 2021-12-15 2023-07-28 深圳市东深工程有限公司 一种预制钢板混凝土剪力墙及其施工方法
CN116692652A (zh) * 2023-04-23 2023-09-05 中船澄西船舶修造有限公司 一种吊装风力转子内塔吊耳
CN116605749A (zh) * 2023-04-27 2023-08-18 巢湖市金鸿电缆有限公司 一种电缆起吊防护装置
CN116605749B (zh) * 2023-04-27 2025-11-04 巢湖市金鸿电缆有限公司 一种电缆起吊防护装置
KR20240162321A (ko) 2023-05-08 2024-11-15 삼성중공업 주식회사 러그의 구조 강도 시험 장치

Similar Documents

Publication Publication Date Title
KR20160008694A (ko) 슬래브 동시양중 장치 및 그의 시공방법
KR100898283B1 (ko) 철근이 선조립된 src 기둥용 철골기둥 및 이를 이용한철골조 시공방법
US9506266B2 (en) Concrete deck with lateral force resisting system
CN110259145A (zh) 一种拱形管桁架快速施工方法
TW201704594A (zh) 用於結構之模組
KR101335382B1 (ko) 내부힌지를 활용한 복합트러스 거더교의 시공법
JP2015536391A5 (ko)
CN105369736B (zh) 斜拉桥索塔体外锚固结构
CN105518234B (zh) 预制钢筋网的方法
CN111188273A (zh) 大跨钢-混组合桥大节段钢桁梁架设系统及施工方法
KR101665482B1 (ko) 무지보 연속화를 통한 스플라이스 프리스트레스트 콘크리트 거더의 장경간 교량 시공방법
CN109235903A (zh) 钢结构模块化施工方法
JPH0841826A (ja) 橋の施工方法および橋の施工装置ならびに主桁ユニット
KR102584811B1 (ko) 원격 시공을 위한 교각용 철근망 거치구 및 이를 이용한 인양방법
JP2000045231A (ja) アーチ橋梁の架設方法
KR100981982B1 (ko) 프리캐스트 코핑용 인양 시스템
CN108518071B (zh) 双层大跨度钢结构通廊的安装方法
KR200417438Y1 (ko) 보 및 슬래브 구축을 위한 지지 브라켓
US20070039276A1 (en) Concrete reinforcer and method
JP4977110B2 (ja) 合成桁の構造及び合成桁の構築方法
CN116005960A (zh) 悬挑结构分片吊装与空中嵌补结合施工方法
JP6527074B2 (ja) 橋梁の施工方法
KR101315365B1 (ko) 복합보 구조
JP5640482B2 (ja) 建物の解体工法
CN117926707A (zh) 一种钢-uhpc拱肋的拱桥及其施工方法

Legal Events

Date Code Title Description
A201 Request for examination
PA0109 Patent application

Patent event code: PA01091R01D

Comment text: Patent Application

Patent event date: 20140714

PA0201 Request for examination
N231 Notification of change of applicant
PN2301 Change of applicant

Patent event date: 20151002

Comment text: Notification of Change of Applicant

Patent event code: PN23011R01D

E902 Notification of reason for refusal
PE0902 Notice of grounds for rejection

Comment text: Notification of reason for refusal

Patent event date: 20160121

Patent event code: PE09021S01D

PG1501 Laying open of application
E601 Decision to refuse application
PE0601 Decision on rejection of patent

Patent event date: 20160714

Comment text: Decision to Refuse Application

Patent event code: PE06012S01D

Patent event date: 20160121

Comment text: Notification of reason for refusal

Patent event code: PE06011S01I