KR20130099652A - 고하중 지지구조 및 미끄럼방지 구조를 갖는 그레이팅 - Google Patents

고하중 지지구조 및 미끄럼방지 구조를 갖는 그레이팅 Download PDF

Info

Publication number
KR20130099652A
KR20130099652A KR1020120021328A KR20120021328A KR20130099652A KR 20130099652 A KR20130099652 A KR 20130099652A KR 1020120021328 A KR1020120021328 A KR 1020120021328A KR 20120021328 A KR20120021328 A KR 20120021328A KR 20130099652 A KR20130099652 A KR 20130099652A
Authority
KR
South Korea
Prior art keywords
grating
bar
bearing
high load
patterned
Prior art date
Legal status (The legal status is an assumption and is not a legal conclusion. Google has not performed a legal analysis and makes no representation as to the accuracy of the status listed.)
Ceased
Application number
KR1020120021328A
Other languages
English (en)
Inventor
조찬호
Original Assignee
에이스철강(주)
Priority date (The priority date is an assumption and is not a legal conclusion. Google has not performed a legal analysis and makes no representation as to the accuracy of the date listed.)
Filing date
Publication date
Application filed by 에이스철강(주) filed Critical 에이스철강(주)
Priority to KR1020120021328A priority Critical patent/KR20130099652A/ko
Publication of KR20130099652A publication Critical patent/KR20130099652A/ko
Ceased legal-status Critical Current

Links

Images

Classifications

    • EFIXED CONSTRUCTIONS
    • E03WATER SUPPLY; SEWERAGE
    • E03FSEWERS; CESSPOOLS
    • E03F5/00Sewerage structures
    • E03F5/04Gullies inlets, road sinks, floor drains with or without odour seals or sediment traps
    • E03F5/0401Gullies for use in roads or pavements
    • EFIXED CONSTRUCTIONS
    • E03WATER SUPPLY; SEWERAGE
    • E03FSEWERS; CESSPOOLS
    • E03F5/00Sewerage structures
    • E03F5/04Gullies inlets, road sinks, floor drains with or without odour seals or sediment traps
    • E03F5/06Gully gratings
    • EFIXED CONSTRUCTIONS
    • E03WATER SUPPLY; SEWERAGE
    • E03FSEWERS; CESSPOOLS
    • E03F5/00Sewerage structures
    • E03F5/04Gullies inlets, road sinks, floor drains with or without odour seals or sediment traps
    • E03F5/06Gully gratings
    • E03F2005/066Gully gratings with means for protecting against vandalism

Landscapes

  • Health & Medical Sciences (AREA)
  • Life Sciences & Earth Sciences (AREA)
  • Engineering & Computer Science (AREA)
  • Hydrology & Water Resources (AREA)
  • Public Health (AREA)
  • Water Supply & Treatment (AREA)
  • Sewage (AREA)
  • Road Paving Structures (AREA)

Abstract

본 발명은 고하중 지지구조 및 미끄럼방지 구조를 갖는 그레이팅에 관한 것으로, 상단면에 요철이 형성된 베어링 바(Bearing bar)와 표면에 요철의 무늬가 형성된 무늬철판을 교차되게 배열한 구조의 그레이팅을 제조함으로써 중량이 무거운 차량 등의 빈번한 통행시 물 빠짐을 좋게 하면서 그레이팅 자체의 지지력 극대화로 인한 파손을 방지하여 안전사고를 방지할 수 있도록 함에 그 목적이 있다. 이를 위해 구성되는 본 발명은 차량의 출입로, 도로변, 주거단지 및 지하철로변 등에 설치되는 빗물 집배수로의 덮개로 널리 사용되는 그레이팅에 있어서, 외곽의 직사각형 테두리를 형성하는 엔드 바; 엔드 바의 내측에 일정 간격의 판상으로 설치되어지되 표면에 무늬가 돌출 형성되는 다수의 무늬철판; 무늬철판 사이의 엔드 바 내측에 종방향 또는 횡방향의 일정 간격으로 다수 설치되어지되 각각의 상단면 동일 위치에는 결합홈이 일정 간격으로 형성된 베어링 바; 및 베어링 바의 격자홈 상에 열 융착을 통해 결합되는 크로스 바를 포함한 구성으로 이루어진다.

Description

고하중 지지구조 및 미끄럼방지 구조를 갖는 그레이팅{Support structure and heavy-duty anti-slip grating with a structure}
본 발명은 고하중 지지구조를 갖는 그레이팅에 관한 것으로, 더욱 상세하게는 상단면에 요철이 형성된 베어링 바(Bearing bar)와 표면에 요철의 무늬가 형성된 무늬철판을 교차되게 배열한 구조의 그레이팅을 제조함으로써 중량이 무거운 차량 등의 빈번한 통행시 물 빠짐을 좋게 하면서 지지력을 극대화하여 파손됨을 방지할 수 있도록 함과 아울러 차량 및 보행자의 미끄러짐이 방지되도록 한 고하중 지지구조 및 미끄럼방지 구조를 갖는 그레이팅에 관한 것이다.
일반적으로 그레이팅(Grating)이라 함은 차량의 출입로, 도로변이나 주거단지 및 지하철로변 등에 설치되는 빗물 집배수로(集排水路)의 덮개로 널리 사용되는 것으로, 이러한 그레이팅은 차량의 출입로, 도로변이나 주거단지 및 지하철로변 등의 빗물 집배수로 상에 구성된 안착단부에 안착 설치되어 노면으로부터 흘러든 오수나 우수가 격자홈을 통해 빗물 집배수로의 내부로 배수될 수 있도록 한다.
한편, 전술한 바와 같이 차량의 출입로, 도로변이나 주거단지 및 지하철로변 등의 노면으로부터 흘러든 오수나 우수를 빗물 집배수로의 내부로 배수될 수 있도록 하는 그레이팅은 대개 다수의 직사각형 격자홈이 형성되는 구조로 이루어져 노면으로부터 흘러든 오수나 우수 등이 격자홈을 통해 집배수로의 내부로 배수될 수 있도록 하는 구성으로 이루어진다.
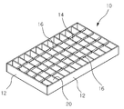
도 1 은 종래 기술에 따른 그레이팅 구조를 분리하여 보인 사시 구성도, 도 2 는 종래 기술에 따른 그레이팅 구조를 결합하여 보인 사시 구성도이다.
도 1 및 도 2 에 도시된 바와 같이 종래 기술에 따른 그레이팅(10)은 직사각형 테두리를 형성하는 엔드 바(12 : End bar)와 엔드 바(12)의 내측에 일정 간격으로 다수 설치되어지되 각각의 상단면 동일 위치에는 결합홈(14a)이 일정 간격으로 형성된 베어링 바(14 : Bearing bar) 및 베어링 바(14)의 결합홈(14a) 상에 열 융착을 통해 결합되는 크로스 바(16 : Cross bar)의 구성으로 이루어진다.
한편, 전술한 바와 같은 그레이팅(10)의 직사각형 격자홈은 직사각형 테두리를 형성하는 엔드 바(12)의 내측에 직교하여 설치되는 베어링 바(14)와 크로스 바(16)에 의해 형성되어진다. 즉, 그레이팅(10)의 직사각형 격자홈(20)은 그레이팅(10)의 사각 테두리를 형성하는 엔드 바(12) 내측에 상호 직각 방향으로 교차 설치되는 베어링 바(14)와 크로스 바(16)에 의해 구획되어 오수나 우수 등이 격자홈을 통해 배수될 수 있도록 한다.
그러나, 전술한 바와 같은 종래의 기술에 따른 그레이팅은 베어링 바와 크로스 바의 상단면이 얇은 구조로 이루어져 있어 차량이 빈번하게 출입하는 출입로에서는 무거운 중량의 차량으로 인하여 그레이팅 자체가 휘어지게 되어 보수를 자주하게 되는 번거러운 결점이 있었을 뿐 아니라 심지어는 그레이팅 자체가 완전히 파손되어 새것으로 교체하여야 함에 따라 유지보수비를 과다하게 소요됨을 물론 노동력이 많이 필요하게 되는 문제점과, 차량의 바퀴 또는 보행자의 신발 바닥과의 접지면적이 적어 베어링 바와 크로스 바의 상단면에 물기가 있거나 얼음이 얼어 있게 되면 미끄러움이 가중되는 문제가 있다.
특히, 전술한 바와 같은 종래의 기술에 따른 그레이팅은 무거운 중량의 차량이 빈번하게 통행시 변형되거나 파손됨에 따라 바퀴가 작은 차량의 통행시 집배수로에 차량의 바퀴가 빠지거나 또는 차량 등의 파손됨이 비번하게 발생하는 문제점과, 베어링 바와 크로스 바의 상단면 폭이 좁아 겨울철이나 비가 오는 경우에는 베어링 바와 크로스 바의 상단면이 미끄러워 차량이나 보행자가 그레이팅의 상부면으로 미끄러짐으로 인하여 대물 및 대인사고가 빈번하게 발생한다는 문제가 있다.
본 발명은 종래 기술의 제반 문제점을 해결하기 위해 안출된 것으로, 상단면에 요철이 형성된 베어링 바(Bearing bar)와 표면에 요철의 무늬가 형성된 무늬철판을 교차되게 배열한 구조의 그레이팅을 제조함으로써 중량이 무거운 차량 등의 빈번한 통행시 물 빠짐을 좋게 하면서 그레이팅 자체의 지지력 극대화로 인한 파손을 방지하여 안전사고를 방지할 수 있도록 한 고하중 지지구조 및 미끄럼방지 구조를 갖는 그레이팅을 제공함에 그 목적이 있다.
본 발명에 따른 기술의 다른 목적은 베어링 바와 크로스 바로 이루어진 구성과 무늬철판을 반복 배열한 구조의 그레이팅을 제조함으로써 그레이팅 자체의 지지력 극대화로 파손됨을 방지하여 반영구적으로 사용함에 따라 유지보수비가 절감될 수 있도록 함에 그 목적이 있다.
아울러, 본 발명에 따른 기술의 또 다른 목적으로는 베어링 바(Bearing bar)와 표면에 무늬가 형성된 무늬철판을 교차로 배열한 구조의 그레이팅을 통해 표면의 접촉면적을 넓혀 차량의 통행시나 보행자의 보행시 미끄러짐이 방지되도록 함에 그 목적이 있다.
전술한 목적을 달성하기 위해 구성되는 본 발명은 다음과 같다. 즉, 본 발명에 따른 고하중 지지구조 및 미끄럼방지 구조를 갖는 그레이팅은 차량의 출입로 또는 도로변이나 주거단지 및 지하철로변 등에 설치되는 빗물 집배수로의 덮개로 널리 사용되는 그레이팅에 있어서, 외곽의 직사각형 테두리를 형성하는 엔드 바; 엔드 바의 내측에 일정 간격의 판상으로 설치되어지되 표면에 무늬가 돌출 형성되는 다수의 무늬철판; 무늬철판 사이의 엔드 바 내측에 종방향 또는 횡방향의 일정 간격으로 다수 설치되어지되 각각의 상단면 동일 위치에는 결합홈이 일정 간격으로 형성된 베어링 바; 및 베어링 바의 격자홈 상에 열 융착을 통해 결합되는 크로스 바를 포함한 구성으로 이루어진다.
전술한 바와 같은 본 발명의 구성에서 무늬철판의 하부에는 1개 이상의 보강바를 용접고정하여 고하중의 지지력을 가일층 증대할 수 있도록 이루어진다.
한편, 전술한 바와 같은 본 발명의 구성에서 무늬철판에는 상하로 관통 형성된 다수의 슬롯홀이 더 형성될 수 있다.
그리고, 본 발명에 따른 구성에서 베어링 바의 상단면에는 요철이 형성되어 차량의 바퀴나 보행자의 신발 바닥과의 마찰을 통해 미끄럼이 방지되도록 할 수 있다.
본 발명의 기술에 따르면 상단면에 요철이 형성된 베어링 바(Bearing bar)와 표면에 요철의 무늬가 형성된 무늬철판을 교차되게 배열한 구조의 그레이팅을 제조함으로써 중량이 무거운 차량 등의 빈번한 통행시 물 빠짐을 좋게 하면서 지지력을 극대화하여 파손됨을 방지할 수 있도록 하여 차량이 빠지거나 파손됨을 방지할 수 있을 뿐 아니라 베어링 바(Bearing bar)와 표면에 무늬가 형성된 무늬철판을 교차로 배열한 구조의 그레이팅을 통해 표면의 접촉면적을 넓혀 차량의 통행시 또는 보행자의 보행시 미끄러짐이 방지되도록 할 수가 있다.
도 1 은 종래 기술에 따른 그레이팅 구조를 분리하여 보인 사시 구성도.
도 2 는 종래 기술에 따른 그레이팅 구조를 결합하여 보인 사시 구성도.
도 3 은 본 발명에 따른 고하중 지지구조 및 미끄럼방지 구조를 갖는 그레이팅을 분리하여 보인 사시 구성도.
도 4 는 본 발명에 따른 고하중 지지구조 및 미끄럼방지 구조를 갖는 그레이팅을 결합하여 보인 사시 구성도.
도 5 는 본 발명에 따른 고하중 지지구조 및 미끄럼방지 구조를 갖는 그레이팅의 평면 구성도.
도 6 은 본 발명에 따른 고하중 지지구조 및 미끄럼방지 구조를 갖는 그레이팅의 측단면 구성도.
도 7a 내지 도 7d 는 본 발명에 따른 고하중 지지구조 및 미끄럼방지 구조를 갖는 그레이팅의 구성에서 베어링 바 상단면 구조를 보인 측면도.
이하에서는 본 발명의 바람직한 실시 예에 따른 고하중 지지구조 및 미끄럼방지 구조를 갖는 그레이팅에 대하여 상세하게 설명하기로 한다.
도 3 은 본 발명에 따른 고하중 지지구조 및 미끄럼방지 구조를 갖는 그레이팅을 분리하여 보인 사시 구성도, 도 4 는 본 발명에 따른 고하중 지지구조 및 미끄럼방지 구조를 갖는 그레이팅을 결합하여 보인 사시 구성도, 도 5 는 본 발명에 따른 고하중 지지구조 및 미끄럼방지 구조를 갖는 그레이팅의 평면 구성도, 도 6 은 본 발명에 따른 고하중 지지구조 및 미끄럼방지 구조를 갖는 그레이팅의 측단면 구성도, 도 7a 내지 도 7d 는 본 발명에 따른 고하중 지지구조 및 미끄럼방지 구조를 갖는 그레이팅의 구성에서 베어링 바 상단면 구조를 보인 측면도이다.
도 3 내지 도 7 에 도시된 바와 같이 본 발명에 따른 고하중 지지구조 및 미끄럼방지 구조를 갖는 그레이팅(100)의 구조를 살펴보면 외곽의 직사각형 테두리를 형성하는 엔드 바(110), 엔드 바(110)의 내측에 일정 간격의 판상으로 설치되어지되 표면에 무늬(122)가 돌출 형성되는 다수의 무늬철판(120), 무늬철판(120) 사이의 엔드 바(110) 내측에 종방향 또는 횡방향의 일정 간격으로 다수 설치되어지되 각각의 상단면 동일 위치에는 결합홈(132)이 일정 간격으로 형성된 베어링 바(130) 및 베어링 바(130)의 격자홈(132) 상에 열 융착을 통해 결합되는 크로스 바(140)를 포함한 구성으로 이루어진다.
이때 상기 무늬철판(120)의 하측으론 무늬철판의 크기에 따라 1개 이상의 보강바(126)를 용접을 통해 고정하여 고하중에 따른 지지력을 극대화할 수 있도록 구성됨이 바람직하다.
다시 말해서, 본 발명에 따른 고하중 지지구조 및 미끄럼 방지구조를 갖는 그레이팅(100)은 무늬철판(120)을 일정 간격으로 배열하되 무늬철판(120) 사이의 간격에 베어링 바(130)와 크로스 바(140)를 교차 설치함으로써 무늬철판(120)으로 인하여 중량이 무거운 차량 등의 빈번한 통행시 물 빠짐을 좋게 하면서 지지력을 극대화하여 파손됨을 방지할 수 있을 뿐 아니라 접지면적을 넓혀 비가 오는 경우나 겨울철 얼음이 어는 경우 보행자의 미끄러짐을 방지할 수 있도록 한 기술이다.
전술한 바와 같이 그레이팅을 제조함으로써 중량이 무거운 차량 등의 빈번한 통행시 물 빠짐을 좋게 하면서 지지력을 극대화하여 파손됨을 방지하여 차량이 안전하게 통행할 수 있도록 함은 물론 접지면적을 넓혀 비가 오는 경우나 겨울철 얼음이 어는 경우 차량 및 보행자의 미끄러짐을 방지하기 위하여 본 발명에서는 먼저, 엔드 바(110)에 의해 형성되는 사각의 테두리 내부의 폭에 대응하는 구조의 판 상으로 이루어진 무늬철판(120)을 일정 간격으로 설치 고정한다.
한편, 전술한 바와 같이 엔드 바(110)에 의해 형성되는 사각의 테두리 내부의 폭에 대응하는 구조의 판상으로 이루어진 무늬철판(120)을 일정 간격으로 설치 고정한 다음에는 무늬철판(120) 사이의 간격 각각에 종방향 또는 횡방향으로 상단면에 일정 간격으로 결합홈(132)이 형성된 베어링 바(130)를 일정 간격으로 설치한다.
이때 상기 무늬철판(120) 하부에는 무늬철판(120)의 넓이에 따라 1개 이상의 보강바(126)를 용접을 통해 고정하여 고하중의 지지력을 극대화 할 수 있도록 보강 설치함에 바람직하다.
다음으로, 전술한 바와 같이 무늬철판(120) 사이의 간격 각각에 종방향 또는 횡방향으로 상단면에 일정 간격으로 결합홈(132)이 형성된 베어링 바(130)를 일정 간격으로 설치한 다음에는 동일 위치상에 위치하는 결합홈(132) 상에 크로스 바(140)를 열융착을 통해 결합하여 베어링 바(130)와 크로스 바(140)를 교차되게 함으로써 베어링 바(130)의 보강이 이루어질 수 있도록 한다.
전술한 바와 같은 본 발명에서와 같이 일정 간격으로 설치되는 무늬철판(120) 사이에 베어링 바(130)와 크로스 바(140)를 교차 설치함으로써 무늬철판(120)으로 인하여 그레이팅(100) 상부면은 차량의 바퀴 또는 보행자의 신발 바닥면과 접지면적이 넓어져 빗물이나 얼음 있는 경우에도 미끄러짐이 적어진다.
한편, 전술한 바와 같이 구성된 본 발명에 따른 고하중 지지구조 및 미끄럼방지 구조를 갖는 그레이팅(100)의 구성에서 무늬철판(120)의 표면에는 무늬(122)가 돌출 형성되어 있어 고중량의 통행시 지지력 극대화는 물론 차량 바퀴가 무늬철판(120)에 접지되는 경우 돌출된 무늬(122)가 차량바퀴와의 마찰력이나 걸림에 의해 미끄러짐이 방지되도록 한다. 또한 보행자의 보행시에도 무늬철판(120)에 돌출된 무의(122)에 의하여 미끄러짐을 방지할 수 있게 되는 것이다.
아울러, 전술한 바와 같이 구성된 본 발명에 따른 고하중 지지구조 및 미끄럼방지 구조를 갖는 그레이팅(100)의 구성에서 무늬철판(120)에는 일정 간격으로 가늘고 긴 슬롯홀(124)이 더 형성되어 있어 무늬철판(120)에 보행자의 하중이 실리는 경우 응력을 분산이 이루어질 수 있도록 한다. 즉, 무늬철판(120) 상의 슬롯홀(124)은 응력을 분산기능을 통해 무늬철판(120)의 강성이 보강되도록 한다.
한편, 본 발명에 따른 그레이팅(100)의 구성에서 베어링 바(130)의 상단면 구조는 도 7a 내지 도 7d 에 도시된 바와 같이 요철(134)이 형성되어 차량 바퀴와 의 마찰력에 의하여 차량의 미끄러짐을 방지할 수 있을 뿐 아니라 보행자의 신발 바닥과의 마찰을 통해 미끄럼이 방지되도록 할 수 있다.
다시 말해서, 전술한 바와 같은 베어링 바(130)의 상단면 요철(134)은 도 7a 에 도시된 바와 같이 쐐기 형태의 요철, 도 7b 에 도시된 바와 같이 직사각형 형태의 요철, 도 7c 에 도시된 바와 같이 이등변 사각형 형태의 요철 및 도 7d 에 도시된 바와 같이 둥근 파형의 형태로 이루어진 요철 등의 형태로 이루어질 수 있다.
전술한 바와 같은 도 7a 내지 도 7d 에 도시된 바와 같은 요철(134)은 차량 등이 베어링 바(130)의 상부면을 통행할 경우 요철(134)의 철면에 의하여 미끄러짐이 방지되고 또한 보행자가 베어링 바(130)의 상부면을 밟는 경우 요철(134)의 철면에 신발 바닥의 러버면에 찍혀 신발 바닥이 베어링 바(130 상단면과 브레이크가 걸릴 수 있도록 함으로써 베어링 바(130) 상단면의 미끄러짐이 방지되도록 한다.
이상에서와 같이 본 발명에 따른 기술은 무늬철판(120) 사이의 간격에 베어링 바(130)와 크로스 바(140)를 교차 설치한 구조를 통한 접지면적의 확대와 베어링 바(130) 상단면의 요철(134) 구조를 통해 그레이팅(100) 상부면에서의 차량 또는 보행자 등의 미끄러짐을 방지할 수가 있다.
본 발명은 전술한 실시 예에 국한되지 않고 본 발명의 기술사상이 허용하는 범위 내에서 다양하게 변형하여 실시할 수가 있다.
100. 그레이팅 110. 엔드 바
120. 무늬철판 122. 무늬
124. 슬롯홀 126. 보강바
130. 베어링 바 132. 결합홈
134. 요철 140. 크로스 바

Claims (4)

  1. 차량의 출입로, 도로변, 주거단지 및 지하철로변 등에 설치되는 빗물 집배수로의 덮개로 널리 사용되는 그레이팅에 있어서,
    외곽의 직사각형 테두리를 형성하는 엔드 바;
    상기 엔드 바의 내측에 일정 간격의 판상으로 설치되어지되 표면에 무늬가 돌출 형성되는 다수의 무늬철판;
    상기 무늬철판 사이의 상기 엔드 바 내측에 종방향 또는 횡방향의 일정 간격으로 다수 설치되어지되 각각의 상단면 동일 위치에는 결합홈이 일정 간격으로 형성된 베어링 바; 및
    상기 베어링 바의 격자홈 상에 열 융착을 통해 결합되는 크로스 바를 포함한 구성으로 이루어진 것을 특징으로 하는 고하중 지지구조 및 미끄럼방지 구조를 갖는 그레이팅.
  2. 제 1 항에 있어서, 상기 무늬철판에는 상하로 관통 형성된 다수의 슬롯홀이 더 형성된 것을 특징으로 하는 고하중 지지구조 및 미끄럼방지 구조를 갖는 그레이팅.
  3. 제 1 항에 있어서, 상기 무늬철판의 하부에는 1개 이상의 보강바가 용접을 통해 더 고정 구성된 것을 특징으로 하는 고하중 지지구조 및 미끄럼방지 구조를 갖는 그레이팅.
  4. 제 1 항 또는 제 2 항에 있어서, 상기 베어링 바의 상단면에는 더 요철이 형성된 것을 특징으로 하는 고하중 지지구조 및 미끄럼방지 구조를 갖는 그레이팅.
KR1020120021328A 2012-02-29 2012-02-29 고하중 지지구조 및 미끄럼방지 구조를 갖는 그레이팅 Ceased KR20130099652A (ko)

Priority Applications (1)

Application Number Priority Date Filing Date Title
KR1020120021328A KR20130099652A (ko) 2012-02-29 2012-02-29 고하중 지지구조 및 미끄럼방지 구조를 갖는 그레이팅

Applications Claiming Priority (1)

Application Number Priority Date Filing Date Title
KR1020120021328A KR20130099652A (ko) 2012-02-29 2012-02-29 고하중 지지구조 및 미끄럼방지 구조를 갖는 그레이팅

Publications (1)

Publication Number Publication Date
KR20130099652A true KR20130099652A (ko) 2013-09-06

Family

ID=49450923

Family Applications (1)

Application Number Title Priority Date Filing Date
KR1020120021328A Ceased KR20130099652A (ko) 2012-02-29 2012-02-29 고하중 지지구조 및 미끄럼방지 구조를 갖는 그레이팅

Country Status (1)

Country Link
KR (1) KR20130099652A (ko)

Cited By (2)

* Cited by examiner, † Cited by third party
Publication number Priority date Publication date Assignee Title
KR20190087887A (ko) * 2018-01-17 2019-07-25 김상돈 플랜지부가 형성된 그레이팅 및 이의 제조방법
KR102244292B1 (ko) * 2019-12-05 2021-04-26 김춘화 버팀바가 형성된 중하중 스틸 그레이팅

Cited By (2)

* Cited by examiner, † Cited by third party
Publication number Priority date Publication date Assignee Title
KR20190087887A (ko) * 2018-01-17 2019-07-25 김상돈 플랜지부가 형성된 그레이팅 및 이의 제조방법
KR102244292B1 (ko) * 2019-12-05 2021-04-26 김춘화 버팀바가 형성된 중하중 스틸 그레이팅

Similar Documents

Publication Publication Date Title
US7527451B2 (en) Support grid platform for supporting vehicles over ecologically sensitive terrain
KR101039711B1 (ko) 배수로용 그레이팅
KR101124407B1 (ko) 배수로용 그레이팅
JP2014066057A (ja) 舗装道路用側溝
KR20110123069A (ko) 도로 배수구용 그레이팅
CA2842448C (en) Load-bearing paver and method of installation
KR20130099652A (ko) 고하중 지지구조 및 미끄럼방지 구조를 갖는 그레이팅
KR100954978B1 (ko) 잔디 보호 매트
KR200459894Y1 (ko) 그레이팅용 미끄럼방지 클립
JP6083758B2 (ja) 開口部蓋のスリップ防止構造
KR101191138B1 (ko) 미끄럼 방지용 맨홀 뚜껑
KR101341349B1 (ko) 스틸 그레이팅
KR20110007013U (ko) 배수용 그레이팅
US20080232900A1 (en) Water Collecting Structure and Drainage Structure Using the Same
RU106267U1 (ru) Щелевая решетка для водоотводных каналов (варианты)
RU2459048C1 (ru) Щелевая решетка для водоотводных каналов (варианты)
KR102328440B1 (ko) 그레이팅바를 구비한 배수장치
KR101843988B1 (ko) 횡단보도 진출입로의 도로경계석
CN211596260U (zh) 一种隧道洞口雨水拦截装置
KR100873095B1 (ko) 미끄럼 방지용 맨홀 뚜껑
KR20120003856U (ko) 고안전성?고내구성 그레이팅
JP2005273154A (ja) 離脱防止機構を有する着脱自在の函渠用グレーチングおよびそれを利用した函渠用ブロック
JP3127873U (ja) 側溝及び枡の蓋構造
KR200403786Y1 (ko) 폐고무를 이용한 트랜치 커버.
KR101029134B1 (ko) 수퍼 그레이팅

Legal Events

Date Code Title Description
A201 Request for examination
PA0109 Patent application

Patent event code: PA01091R01D

Comment text: Patent Application

Patent event date: 20120229

PA0201 Request for examination
E902 Notification of reason for refusal
PE0902 Notice of grounds for rejection

Comment text: Notification of reason for refusal

Patent event date: 20130522

Patent event code: PE09021S01D

PG1501 Laying open of application
E601 Decision to refuse application
PE0601 Decision on rejection of patent

Patent event date: 20131106

Comment text: Decision to Refuse Application

Patent event code: PE06012S01D

Patent event date: 20130522

Comment text: Notification of reason for refusal

Patent event code: PE06011S01I