KR20130000114U - 잠수함용 연료전지 장착모듈 - Google Patents
잠수함용 연료전지 장착모듈 Download PDFInfo
- Publication number
- KR20130000114U KR20130000114U KR2020110005828U KR20110005828U KR20130000114U KR 20130000114 U KR20130000114 U KR 20130000114U KR 2020110005828 U KR2020110005828 U KR 2020110005828U KR 20110005828 U KR20110005828 U KR 20110005828U KR 20130000114 U KR20130000114 U KR 20130000114U
- Authority
- KR
- South Korea
- Prior art keywords
- fuel cell
- submarine
- rod member
- mooring
- jig
- Prior art date
- Legal status (The legal status is an assumption and is not a legal conclusion. Google has not performed a legal analysis and makes no representation as to the accuracy of the status listed.)
- Withdrawn
Links
- 239000000446 fuel Substances 0.000 title claims abstract description 140
- 230000001681 protective effect Effects 0.000 claims description 11
- 238000000034 method Methods 0.000 claims description 4
- 238000009434 installation Methods 0.000 abstract description 6
- 238000005452 bending Methods 0.000 description 5
- 230000004048 modification Effects 0.000 description 3
- 238000012986 modification Methods 0.000 description 3
- 239000000470 constituent Substances 0.000 description 2
- 229910000831 Steel Inorganic materials 0.000 description 1
- 230000004075 alteration Effects 0.000 description 1
- 238000010276 construction Methods 0.000 description 1
- 230000008878 coupling Effects 0.000 description 1
- 238000010168 coupling process Methods 0.000 description 1
- 238000005859 coupling reaction Methods 0.000 description 1
- 230000003111 delayed effect Effects 0.000 description 1
- 238000010586 diagram Methods 0.000 description 1
- 230000002452 interceptive effect Effects 0.000 description 1
- 230000002093 peripheral effect Effects 0.000 description 1
- 230000008569 process Effects 0.000 description 1
- 238000011084 recovery Methods 0.000 description 1
- 230000008439 repair process Effects 0.000 description 1
- 239000010959 steel Substances 0.000 description 1
- 210000001835 viscera Anatomy 0.000 description 1
- XLYOFNOQVPJJNP-UHFFFAOYSA-N water Substances O XLYOFNOQVPJJNP-UHFFFAOYSA-N 0.000 description 1
Images
Classifications
-
- B—PERFORMING OPERATIONS; TRANSPORTING
- B63—SHIPS OR OTHER WATERBORNE VESSELS; RELATED EQUIPMENT
- B63B—SHIPS OR OTHER WATERBORNE VESSELS; EQUIPMENT FOR SHIPPING
- B63B71/00—Designing vessels; Predicting their performance
-
- B—PERFORMING OPERATIONS; TRANSPORTING
- B63—SHIPS OR OTHER WATERBORNE VESSELS; RELATED EQUIPMENT
- B63G—OFFENSIVE OR DEFENSIVE ARRANGEMENTS ON VESSELS; MINE-LAYING; MINE-SWEEPING; SUBMARINES; AIRCRAFT CARRIERS
- B63G8/00—Underwater vessels, e.g. submarines; Equipment specially adapted therefor
-
- B—PERFORMING OPERATIONS; TRANSPORTING
- B63—SHIPS OR OTHER WATERBORNE VESSELS; RELATED EQUIPMENT
- B63H—MARINE PROPULSION OR STEERING
- B63H21/00—Use of propulsion power plant or units on vessels
- B63H21/12—Use of propulsion power plant or units on vessels the vessels being motor-driven
- B63H21/17—Use of propulsion power plant or units on vessels the vessels being motor-driven by electric motor
-
- Y—GENERAL TAGGING OF NEW TECHNOLOGICAL DEVELOPMENTS; GENERAL TAGGING OF CROSS-SECTIONAL TECHNOLOGIES SPANNING OVER SEVERAL SECTIONS OF THE IPC; TECHNICAL SUBJECTS COVERED BY FORMER USPC CROSS-REFERENCE ART COLLECTIONS [XRACs] AND DIGESTS
- Y02—TECHNOLOGIES OR APPLICATIONS FOR MITIGATION OR ADAPTATION AGAINST CLIMATE CHANGE
- Y02E—REDUCTION OF GREENHOUSE GAS [GHG] EMISSIONS, RELATED TO ENERGY GENERATION, TRANSMISSION OR DISTRIBUTION
- Y02E60/00—Enabling technologies; Technologies with a potential or indirect contribution to GHG emissions mitigation
- Y02E60/30—Hydrogen technology
- Y02E60/50—Fuel cells
Landscapes
- Chemical & Material Sciences (AREA)
- Engineering & Computer Science (AREA)
- Combustion & Propulsion (AREA)
- Mechanical Engineering (AREA)
- Ocean & Marine Engineering (AREA)
- Fuel Cell (AREA)
Abstract
본 고안은 잠수함용 연료전지 장착모듈에 관한 것으로, 연료전지(fuel cell)에 연결되는 줄 또는 체인 형태의 하나 이상의 계류부; 상기 계류부가 연결되도록 상기 연료전지의 하단부 모서리에 인접하여 수직하게 연결되는 제1 봉부재와, 상기 제1 봉부재에 연결되어 상기 연료전지의 하면과 이격되는 제1 판부재를 포함하는 제1 전지지그; 상기 연료전지의 상단부 모서리에 인접하여 수직하게 연결되는 제2 봉부재와, 상기 제2 봉부재에 연결되어 상기 연료전지의 상면과 이격되는 제2 판부재와, 상기 제2 봉부재의 반대편에 상기 계류부가 연결되도록 상기 제2 판부재에 연결되는 연결부를 포함하는 제2 전지지그; 상기 연료전지가 출입하는 해치(hatch)의 하단부에 연결되되, 상기 계류부가 연결되는 고리부가 구비되는 제1 이동지지 지그; 및 상기 해치와 상기 연료전지가 설치되는 연료셀랙(fuel cell rack)의 사이에 구비되되, 상기 계류부가 연결되는 걸림홈이 형성되는 제2 이동지지 지그;를 포함하는 것을 특징으로 하며, 연료전지의 이동경로에 구비되는 배관이나 밸브의 철거작업 없이 연료전지를 운송시킬 수 있어, 연료전지의 설치 작업 효율을 상승시킬 수 있는 잠수함용 연료전지 장착모듈을 제공한다.
Description
본 고안은 잠수함용 연료전지 장착모듈에 관한 것이다.
도 1은 일반적인 잠수함(1)을 도시한 도면이다. 도 1을 참조하여 잠수함(1)에 대하여 설명하도록 한다.
잠수함(1)은 잠항을 함에 따라 안테나 및 잠망경(10) 등을 포함하며, 프로펠러(20)를 포함하여 추진력을 얻고, 방향타(30) 등을 포함하여 수중에서 방향을 조정할 수 있다.
이러한, 잠수함(1) 내에는 연료전지가 설치되어 이용되고 있는데, 연료전지가 종종 고장이 발생하여, 이를 잠수함(1) 내에서 분리하여 수리하게 되는 경우가 발생한다.
이때, 연료전지를 잠수함(1) 내에 설치하기 위해서는, 작업자가 연료전지를 손수 들기에는 상당한 무게가 나가므로, 연료전지가 설치되는 연료셀랙(fuel cell rack; 70)으로부터 도어 프레임(door frame; 50)을 지나서 출입구인 해치(40)까지 레일(미도시)을 설치하여 레일을 따라 연료전지를 운송하게 된다.
한편, 함미가 원뿔 등의 모양으로 형성된 잠수함(1)의 특성상, 잠수함(1) 내의 설계 공간이 좁아, 배관(P), 밸브 및 내부기관 등의 배치가 어렵게 된다. 이에 따라, 배관(P) 등이 함체 내의 이동통로 상에 노출된다.
따라서, 연료전지를 안전하게 운송하기 위해, 레일을 간섭하는 잠수함(1) 내의 배관(P) 및 밸브를 철거하여야만 한다. 잠수함(1) 내에는 다수의 배관(P) 및 밸브가 구비되므로, 이를 안전하게 철거하고 복구하는 데에는 2명의 작업자가 2주의 시간을 소요하게 된다.
따라서, 연료전지의 설치 및 복구 작업이 지연되고, 연료전지의 수리에 필요하지 않은 배관(P) 및 밸브를 철거 및 복구해야하는 불필요한 작업이 요구되는 문제점이 있었다.
본 고안은 상기와 같은 종래기술의 문제점을 해결하고자 창출된 것으로서, 본 고안의 목적은 복구작업에 필요하지 않은 배관 등의 철거를 방지하여, 연료전지를 설치하기가 용이한 잠수함용 연료전지 장착모듈을 제공하기 위한 것이다.
본 고안의 바람직한 실시예에 따른 잠수함용 연료전지 장착모듈은, 연료전지(fuel cell)에 연결되는 줄 또는 체인 형태의 하나 이상의 계류부; 상기 계류부가 연결되도록 상기 연료전지의 하단부 모서리에 인접하여 수직하게 연결되는 제1 봉부재와, 상기 제1 봉부재에 연결되어 상기 연료전지의 하면과 이격되는 제1 판부재를 포함하는 제1 전지지그; 상기 연료전지의 상단부 모서리에 인접하여 수직하게 연결되는 제2 봉부재와, 상기 제2 봉부재에 연결되어 상기 연료전지의 상면과 이격되는 제2 판부재와, 상기 제2 봉부재의 반대편에 상기 계류부가 연결되도록 상기 제2 판부재에 연결되는 연결부를 포함하는 제2 전지지그; 상기 연료전지가 출입하는 해치(hatch)의 하단부에 연결되되, 상기 계류부가 연결되는 고리부가 구비되는 제1 이동지지 지그; 및 상기 해치와 상기 연료전지가 설치되는 연료셀랙(fuel cell rack)의 사이에 구비되되, 상기 계류부가 연결되는 걸림홈이 형성되는 제2 이동지지 지그;를 포함하는 것을 특징으로 한다.
여기서, 본 고안은 상기 연료전지의 이동경로에 구비되어 작업자가 출입하는 도어 프레임(door frame)의 손상을 방지하도록 연결되는 도어 프레임용 보호커버부;를 더 포함하는 것을 특징으로 한다.
또한, 상기 제2 봉부재는 상기 연료전지와 분리시 보관이 용이하도록 상기 제2 판부재의 상기 연결부와 동일 편에 연결가능하고, 상기 연결부는, 상기 제2 판부재를 관통하여 회전가능하게 연결되는 회전판과, 상기 회전판에 연결되는 고리부재;를 포함하는 것을 특징으로 한다.
또한, 상기 계류부는 체인블록을 포함하는 것을 특징으로 한다.
본 고안의 특징 및 이점들은 첨부도면에 의거한 다음의 상세한 설명으로부터 더욱 명백해질 것이다.
이에 앞서, 본 명세서 및 청구범위에 사용된 용어나 단어는 통상적이고 사전적인 의미로 해석되어서는 아니되며, 고안자가 그 자신의 고안을 가장 최선의 방법으로 설명하기 위해 용어의 개념을 적절하게 정의할 수 있다는 원칙에 입각하여 본 고안의 기술적 사상에 부합되는 의미와 개념으로 해석되어야만 한다.
본 고안에 따른 잠수함용 연료전지 장착모듈은 계류부, 제1 전지지그, 제2 전지지그, 제1 이동지지 지그 및 제2 이동지지 지그를 포함하도록 구성되고, 연료전지의 이동경로에 구비되는 배관이나 밸브의 철거작업 없이 연료전지를 운송시킬 수 있어, 연료전지의 설치 작업 효율을 상승시킬 수 있는 장점이 있다.
도 1은 일반적인 잠수함을 도시한 도면이다.
도 2는 본 고안의 일 실시예에 따른 잠수함용 연료전지 장착모듈이 잠수함 내에 설치되는 모습을 개략적으로 도시한 도면이다.
도 3은 본 고안의 일 실시예에 따른 잠수함용 연료전지 장착모듈의 제1 전지지그를 도시한 도면이다.
도 4a 내지 도 4c는 본 고안의 일 실시예에 따른 잠수함용 연료전지 장착모듈의 제2 전지지그를 도시한 도면이다.
도 5는 본 고안의 일 실시예에 따른 잠수함용 연료전지 장착모듈의 제1 이동지지 지그를 도시한 도면이다.
도 6은 도 5의 제1 이동지지 지그의 사용 실시를 도시한 도면이다.
도 7은 본 고안의 일 실시예에 따른 잠수함용 연료전지 장착모듈의 도어 프레임용 보호커버부를 도시한 도면이다.
도 8은 본 고안의 일 실시예에 따른 잠수함용 연료전지 장착모듈의 제2 이동지지 지그를 도시한 도면이다.
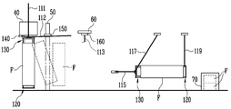
도 2는 본 고안의 일 실시예에 따른 잠수함용 연료전지 장착모듈이 잠수함 내에 설치되는 모습을 개략적으로 도시한 도면이다.
도 3은 본 고안의 일 실시예에 따른 잠수함용 연료전지 장착모듈의 제1 전지지그를 도시한 도면이다.
도 4a 내지 도 4c는 본 고안의 일 실시예에 따른 잠수함용 연료전지 장착모듈의 제2 전지지그를 도시한 도면이다.
도 5는 본 고안의 일 실시예에 따른 잠수함용 연료전지 장착모듈의 제1 이동지지 지그를 도시한 도면이다.
도 6은 도 5의 제1 이동지지 지그의 사용 실시를 도시한 도면이다.
도 7은 본 고안의 일 실시예에 따른 잠수함용 연료전지 장착모듈의 도어 프레임용 보호커버부를 도시한 도면이다.
도 8은 본 고안의 일 실시예에 따른 잠수함용 연료전지 장착모듈의 제2 이동지지 지그를 도시한 도면이다.
본 고안의 목적, 특정한 장점들 및 신규한 특징들은 첨부된 도면들과 연관되어지는 이하의 상세한 설명과 바람직한 실시예로부터 더욱 명백해질 것이다. 본 명세서에서 각 도면의 구성요소들에 참조번호를 부가함에 있어서, 동일한 구성 요소들에 한해서는 비록 다른 도면상에 표시되더라도 가능한 한 동일한 번호를 가지도록 하고 있음에 유의하여야 한다. 또한, 본 고안을 설명함에 있어서, 관련된 공지 기술에 대한 구체적인 설명이 본 고안의 요지를 불필요하게 흐릴 수 있다고 판단되는 경우 그 상세한 설명은 생략한다.
이하, 첨부된 도면을 참조하여 본 고안의 바람직한 실시예를 상세히 설명하기로 한다.
도 2는 본 고안의 일 실시예에 따른 잠수함용 연료전지 장착모듈이 잠수함 내에 설치되는 모습을 개략적으로 도시한 도면이다. 이하, 이를 참조하여 본 실시예에 따른 잠수함용 연료전지 장착모듈에 대해 설명하기로 한다.
여기서, 연료전지(fuel cell; F)는 잠수함의 출입구인 해치(hatch; 40)를 통해 연료셀랙(fuel cell rack; 70)에 설치될 수 있다.
본 실시예에서는 배관(도 1 참조; P)의 간섭을 받는 레일을 설치하지 않고 연료전지(F)를 설치할 수 있도록 한다. 이는, 잠수함 내에서 연료전지(F)가 계류부(111, 112, 113, 115, 117, 119)에 매달려서 운송되도록 할 수 있기 때문이다.
일 예로, 연료전지(F)의 운송은 아래와 같이 할 수 있다.
먼저, 계류부(111)에 매달린 연료전지(F)가 해치(40)를 통해 잠수함 내로 유입된다. 그리고 나서, 해치(40)에 인접하여 다른 계류부(112)에 걸림으로써, 잠수함 내에 매달리게 된다.
다음으로, 연료전지(F)가 도어 프레임(door frame; 50)을 지나서, 연료수급 2차 선체밸브에 인접한 상부 파운데이션(60)에 매달릴 수 있다.
마지막으로, 연료전지(F)가 연료셀랙(70)에 설치되기 위해, 연료셀렉(70)에 인접하여 계류부(115, 117, 119)에 의해 매달릴 수 있다.
이때, 연료전지(F)는 수평하게 눕혀진 상태가 될 수 있는데, 연료전지(F)의 상부가 붙잡히도록, 잠수함 내의 압축공기 공급 다기관에 계류부(115)가 연결되어 이루어질 수 있다. 이때, 연료전지(F)를 안정적으로 매달기 위해 별도의 계류부(117)를 이용할 수 있음은 물론이다.
그리고 연료전지(F)의 하부가 붙잡히도록, 잠수함 내에 기존에 설치된 러그에 계류부(119)가 설치되어 연료전지(F)를 매달 수 있다. 이러한 연료전지(F)는 동일한 방법으로 연료셀랙(70)에 상하로 2기가 눕혀진 상태로 설치될 수 있다.
이와 같이 연료전지(F)가 잠수함 내에 매달려서 운송되기 위해서는, 연료전지(F)를 공중에 매달기 위한 구조물이 필요하다. 잠수함 내의 파운데이션(60)이나 러그는 공급 다기관에 구비되어 이동통로가 확보되며 방해되지 않으므로, 그 설치가 이루어질 수 있다.
한편, 해치(40)에 인접한 영역은 승조원이 출입되는 출입구로서, 러그 등이 설치되는 경우, 승조원이 러그에 걸려 상해를 입는 등 이동에 방해가 되므로 그 설치가 이루어지지 않고 있다. 따라서, 본 실시예에서는, 연료전지(F)를 매달아 운송시킬 수 있도록, 연료전지(F)의 설치 작업시 잠수함 내에 잠수함용 연료전지 장착모듈이 구비될 수 있다. 이러한, 잠수함용 연료전지 장착모듈은 연료전지(F)를 지지하여 잠수함 내에서 매달릴 수 있도록 한다.
이러한, 잠수함용 연료전지 장착모듈은 계류부(111, 112, 113, 115, 117, 119), 제1 전지지그(120), 제2 전지지그(130), 제1 이동지지 지그(140), 도어 프레임용 보호커버부(150) 및 제2 이동지지 지그(160)를 포함할 수 있다.
여기서, 계류부(111, 112, 113, 115, 117, 119)는 연료전지(F)에 연결되는 줄 또는 체인 형태의 하나 이상으로 구비된다. 따라서, 계류부(111, 112, 113, 115, 117, 119)는 예를 들어 슬링벨트(sling belt)와 체인블록(chain block)을 포함할 수 있다.
여기서, 슬링벨트는 고리가 형성되는 일반적인 벨트이다. 체인블록은 운송시킬 연료전지(F)를 연결하는 매개물로서, 연료전지(F)를 권선하도록 체인을 구비한다. 이러한 슬링벨트와 체인블록은 선박의 건조중에 이용되기도 한다.
이하에서는 슬링벨트 또는 체인블록 중 어느 하나를 선택적으로 예시하여 설명하도록 한다. 그러나 이는 작업자의 편의에 따라 달라질 수 있으며 이에 한정되지 않는다.
그리고 이하에서는 이들 각 구성에 대하여 도면을 참조하여 설명하도록 한다.
먼저, 연료전지(F)가 계류부(111, 112, 113, 115, 117, 119)에 연결되기 위한 매개물인 제1 전지지그(120)와 제2 전지지그(130)를 설명하도록 한다.
도 3은 본 고안의 일 실시예에 따른 잠수함용 연료전지 장착모듈의 제1 전지지그(120)를 도시한 도면이다. 이하, 이를 참조하여 본 실시예에 따른 잠수함용 연료전지 장착모듈의 제1 전지지그(120)에 대해 설명하기로 한다.
도 3에 도시한 바와 같이, 본 실시예에 따른 제1 전지지그(120)는, 체인블록(도 2 참조; 119)이 연결되어 연료전지(F)를 잡고 매달기 위한 매개물로서, 제1 봉부재(121) 및 제1 판부재(123)를 포함한다.
제1 봉부재(121)는 체인블록(119)이 연결되도록 연료전지(F)의 하단부 모서리에 인접하여 수직하게 연결된다. 일 예로, 제1 봉부재(121)는 연료전지(F)의 네 모서리 각각에 하나 씩 구비될 수 있으며, 연료전지(F)의 하단부에 나사 결합될 수 있다. 이때, 제1 봉부재(121)의 적어도 일단부(본 실시예에서는 양단부)에 나사산이 형성될 수 있다.
제1 판부재(123)는 제1 봉부재(121)에 연결되어 연료전지(F)의 하면과 이격된다. 예를 들어, 제1 판부재(123)는 판 형태로 이루어질 수 있고, 연료전지(F)의 하면의 넓이와 동일 또는 유사한 넓이로 이루어질 수 있다.
이러한 제1 판부재(123)는 제1 봉부재(121)와 볼트로 결합할 수 있으며, 제1 봉부재(121)의 단부를 가로막아, 체인블록(119)이 이탈되는 것을 방지할 수 있다.
게다가, 제1 판부재(123)에는 나사홀(124)이 형성될 수 있다. 나사홀(124)은 제1 전지지그(120)가 연료전지(F)에 설치되지 않는 경우, 제1 판부재(123)와 제1 봉부재(121)가 나사결합되어 분실을 방지하기 위한 것이다. 이와 같이, 제1 판부재(123)와 제1 봉부재(121)는 나사결합되거나, 볼트결합될 수 있다. 이는 후술되는 제2 전지지그(130)와 동일 또는 유사하며 그 설명은 후술하기로 한다.
도 4a 내지 도 4c는 본 고안의 일 실시예에 따른 잠수함용 연료전지 장착모듈의 제2 전지지그(130)를 도시한 도면이다. 이하, 이를 참조하여 본 실시예에 따른 잠수함용 연료전지 장착모듈의 제2 전지지그(130)에 대해 설명하기로 한다.
사시도로 도시한 도 4a에 도시한 바와 같이, 본 실시예에 따른 제2 전지지그(130)는, 제1 전지지그(120)의 기능과 동일 또는 유사하게 슬링벨트(111)가 연결되어 연료전지(F)를 잡고 매달기 위한 매개물로서, 제2 봉부재(131), 제2 판부재(133), 제1 홀(134) 및 연결부(135)를 포함할 수 있다.
측부를 도시한 도 4b에 도시한 바와 같이, 제2 봉부재(131)는 연료전지(F)의 상단부 모서리에 인접하여 수직하게 연결된다. 일 예로, 제2 봉부재(131)는 제1 봉부재(121)와 동일 또는 유사하게, 연료전지(F)의 네 모서리 각각에 하나 씩 구비될 수 있으며, 연료전지(F)의 상단부에 나사 결합될 수 있다. 이때, 제2 봉부재(131)의 적어도 일단부(본 실시예에서는 양단부)에는 나사산이 형성될 수 있다.
일 예로, 제2 봉부재(131)의 일단부는 나사결합될 수 있도록 외주면에 나사산이 형성되어 돌출될 수 있다. 그리고 제2 봉부재(131)의 타단부는 볼트가 결합될 수 있도록 오목하여 내주면에 나사산이 형성될 수 있다.
이러한, 제2 봉부재(131)의 일단부가 도 4b에 도시된 바와 같이 연료전지(F)에 나사결합되고, 제2 봉부재(131)의 타단부가 제2 봉부재(131)에 볼트결합될 수 있다.
이와 달리, 측부를 절단하여 도시한 도 4c에 도시한 바와 같이, 제2 봉부재(131)는 연료전지(F)와 분리시 보관이 용이하도록 제2 판부재(133)의 연결부(135)와 동일 편에 연결가능할 수 있다. 이때, 제2 봉부재(131)의 일단부가 제2 판부재(133)에 나사결합될 수 있다.
이와 같이, 제2 봉부재(131)와 연결부(135)가 제2 판부재(133)의 동일 편에 구비됨으로써, 지면에 제2 전지지그(130)가 평평하게 보관될 수 있도록 한다.
여기서, 제2 봉부재(131)는 제2 판부재(133)의 중심부에 구비되는 연결부(135)에 인접하게 구비될 수 있으며, 이러한 제2 봉부재(131)가 연결되도록 제2 판부재(133)에는 내주면에 나사산이 형성되는 제1 홀(134)이 형성될 수 있다. 제1 홀(134)은 제1 판부재(123)의 나사홀(124)과 그 기능이 유사 또는 동일하다.
제2 판부재(133)는 제2 봉부재(131)에 연결되어 연료전지(F)의 상면과 이격될 수 있다. 제2 판부재(133)는 판 형태로 이루어질 수 있으며, 제2 봉부재(131)와의 결합은 제1 판부재(123)가 제1 봉부재(121)와 결합되는 형태와 동일 또는 유사하게 나사결합 또는 볼트로 연결될 수 있다.
연결부(135)는 슬링벨트(111)가 연결되도록 제2 판부재(133)에 연결된다.
연결부(135)는 제2 판부재(133)에 맞닿아 회전되는 회전판(135A)과, 회전판(135A)의 일측면에 연결되어 슬링벨트(111)인 계류부가 연결되는 고리부재(135B)를 포함할 수 있다.
회전판(135A)은 제2 판부재(133)를 관통하여 회전가능하게 연결될 수 있다. 예를 들어, 회전판(135A)은 판 형태로 이루어지되 타측면이 돌출되어 회전축을 이루며, 그 단부가 확대된 형태가 되어 제2 판부재(133)에 걸려 이탈이 방지될 수 있다.
그리고 고리부재(135B)는 회전판(135A)에 연결될 수 있다. 예를 들어 고리부재(135B)는 슬링벨트(111)가 연결되기 위한 공간이 회전판(135A)과의 사이에 형성되도록 회전판(135A)을 가로질러 형성될 수 있다.
이러한, 제1 전지지그(120)와 제2 전지지그(130)가 연료전지(F)에 연결됨으로써, 체인블록(119)과 슬링벨트(111) 등이 연료전지(F)에 연결될 수 있어, 수평 또는 수직하게 연료전지(F)를 잠수함 내에 매달아 놓을 수 있다.
이상에서는 연료전지(F)와 계류부(111, 112, 113, 115, 117, 119)가 연결되기 위한 매개물인, 제1 전지지그(120)와 제2 전지지그(130)를 설명하였다.
이하에서는 잠수함 내로 유입된 연료전지(F)가 잠수함 내에 매달리기 위한 지지물인 제1 이동지지 지그(140), 제2 이동지지 지그(160)를 설명하고, 잠수함의 손상을 방지하기 위한 도어 프레임용 보호커버부(150)를 설명하도록 한다.
먼저, 도 5는 본 고안의 일 실시예에 따른 잠수함용 연료전지 장착모듈의 제1 이동지지 지그(140)를 도시한 도면이고, 도 6은 도 5의 제1 이동지지 지그(140)의 사용 실시를 도시한 도면이다. 이하, 이를 참조하여 본 실시예에 따른 잠수함용 연료전지 장착모듈의 제1 이동지지 지그(140)에 대해 설명하기로 한다.
도 5 및 도 6에 도시한 바와 같이, 본 실시예에 따른 제1 이동지지 지그(140)는 연료전지(F)가 운송되기 위해 잠수함 내에서 매달릴 수 있도록 지지하는 지지물로서, 연료전지(F)가 출입하는 해치(40)의 하단부에 연결된다. 즉, 제1 이동지지 지그(140)는 잠수함 외부의 계류부(111)에 의해 매달려 유입되는 연료전지(F)를 잠수함 내에 매달릴 수 있도록 하는 것이다.
예를 들어, 제1 이동지지 지그(140)는 해치(40)의 하면에 맞닿도록 판(141)으로 이루어져 해치(40)와 볼트(143)로 결합될 수 있다. 도면에 도시하지는 않았으나 일반적으로 해치(40)의 하단부에는 해치(40)를 조립하는 볼트가 연결되는데, 이러한, 볼트 연결부분에 제1 이동지지 지그(140)를 설치할 수 있다.
한 편, 제1 이동지지 지그(140)가 해치(40)와 분리되는 경우에는 그 보관의 용이성을 위해, 판(141)에는 별도의 제2 홀(141A)이 형성되고, 이러한 제2 홀(141A)에 볼트가 연결되어 볼트(143)의 분실을 방지할 수 있다.
여기서, 제1 이동지지 지그(140)는 고리부(145)를 포함한다. 고리부(145)에는 체인블록(112)이 연결된다. 고리부(145)는 판(141)의 하측면에 연결되는데, 체인블록(112)이 걸릴 수 있도록 판(141)을 가로질러 형성될 수 있다.
이러한, 제1 이동지지 지그(140)에 체인블록(112)을 걸게 됨으로써, 잠수함 내에 유입되는 연료전지(F)에 체인블록(112)을 걸고 체인블록(112)을 조정하여 연료전지(F)를 끌어당기거나 연료전지(F)가 떨어지지 않도록 매달 수 있다.
이상에서 설명한 도 5 및 도 6에 도시된 바와 같이, 잠수함 내로 유입되어 매달리는 연료전지(F)가 운송과정에서 도어 프레임(50)을 손상시키는 것을 방지하도록 도어 프레임용 보호커버부(150)가 잠수함 내에 구비될 수 있다.
도 7은 본 고안의 일 실시예에 따른 잠수함용 연료전지 장착모듈의 도어 프레임용 보호커버부(150)를 도시한 도면이다. 이하, 이를 참조하여 본 실시예에 따른 잠수함용 연료전지 장착모듈의 도어 프레임용 보호커버부(150)에 대해 설명하기로 한다.
도 7에 도시한 바와 같이, 예를 들어, 도어 프레임용 보호커버부(150)는 도어 프레임(50)의 상단부 하측을 커버할 수 있다. 이를 위해, 도어 프레임용 보호커버부(150)는 도어 프레임(50)을 감싸는 형상이 되도록 ""의 형태를 이루는 프레임(151)을 구비할 수 있다. 이러한, 도어 프레임용 보호커버부(150)는 도어 프레임(50)이 볼트(153)로 연결될 수 있다. 이는, 프레임(151)을 관통하여 볼트(153)가 도어 프레임(50)을 가압함으로써, 프레임(151)이 도어 프레임(50)에 고정되도록 할 수 있다.
한편, 도어 프레임용 보호커버부(150)의 하단부에는 제3 홀(151A)이 형성되어 제3 홀(151A)에 밧줄 등을 연결하여 이동 및 보관시 이용할 수 있다.
도 8은 본 고안의 일 실시예에 따른 잠수함용 연료전지 장착모듈의 제2 이동지지 지그(160)를 도시한 도면이다. 이하, 이를 참조하여 본 실시예에 따른 잠수함용 연료전지 장착모듈의 제2 이동지지 지그(160)에 대해 설명하기로 한다.
도 8에 도시한 바와 같이, 본 실시예에 따른 제2 이동지지 지그(160)는, 제1 이동지지 지그(140)처럼 연료전지(도 2 참조: F)가 잠수함 내에서 매달려 운송될 수 있도록 체인블록(113)이 설치되기 위한 지지물로서, 해치(도 2 참조: 40)와 연료전지(F)가 설치되는 연료셀랙(도 2 참조: 70)의 사이에 구비된다. 체인블록(113)이 연결되기 위해, 제2 이동지지 지그(160)에는 체인블록(113)이 연결되는 걸림홈(163A)이 형성된다.
여기서, 제2 이동지지 지그(160)는 예를 들어 연료수급 2차 선체밸브의 상부 파운데이션(60)에 설치된다. 상부 파운데이션(60)은 강판으로 이루어지는 판 형태로 이루어지는 일반적인 구조물이다.
이때, 제2 이동지지 지그(160)는 수평부재(161)와 절곡부재(163)를 포함하여 이루어질 수 있다. 수평부재(161)는 상부 파운데이션(60)의 하면에 볼트(161A)로 연결되고, 절곡부재(163)는 수평부재(161)에 연결되되 상부 파운데이션(60)의 측면에 맞닿도록 수평부재(161)와 직각으로 이루어질 수 있다. 이러한, 절곡부재(163)에 걸림홈(163A)이 형성될 수 있다.
이와 같은 실시예에 따른 잠수함용 연료전지 장착모듈은 연료전지의 이동경로에 구비되는 배관이나 밸브의 철거작업 없이 연료전지를 운송시킬 수 있어, 연료전지의 설치 작업 효율을 상승시킬 수 있다.
이상 본 고안을 구체적인 실시예를 통하여 상세히 설명하였으나, 이는 본 고안을 구체적으로 설명하기 위한 것으로, 본 고안은 이에 한정되지 않으며, 본 고안의 기술적 사상 내에서 당해 분야의 통상의 지식을 가진 자에 의해 그 변형이나 개량이 가능함은 명백하다고 할 것이다.
본 고안의 단순한 변형 내지 변경은 모두 본 고안의 영역에 속하는 것으로 본 고안의 구체적인 보호 범위는 첨부된 실용신안청구범위에 의하여 명확해질 것이다.
111, 112, 115, 117, 119: 계류부 120 : 제1 전지지그
121 : 제1 봉부재 123 : 제1 판부재
130 : 제2 전지지그 131 : 제2 봉부재
133 : 제2 판부재 135 : 연결부
135A :회전판 135B : 고리부재
140 : 제1 이동지지 지그 145 : 고리부
150 : 도어 프레임용 보호커버부 160 : 제2 이동지지 지그
161 : 수평부재 163 : 절곡부재
163A : 걸림홈
121 : 제1 봉부재 123 : 제1 판부재
130 : 제2 전지지그 131 : 제2 봉부재
133 : 제2 판부재 135 : 연결부
135A :회전판 135B : 고리부재
140 : 제1 이동지지 지그 145 : 고리부
150 : 도어 프레임용 보호커버부 160 : 제2 이동지지 지그
161 : 수평부재 163 : 절곡부재
163A : 걸림홈
Claims (4)
- 연료전지(fuel cell)에 연결되는 줄 또는 체인 형태의 하나 이상의 계류부;
상기 계류부가 연결되도록 상기 연료전지의 하단부 모서리에 인접하여 수직하게 연결되는 제1 봉부재와, 상기 제1 봉부재에 연결되어 상기 연료전지의 하면과 이격되는 제1 판부재를 포함하는 제1 전지지그;
상기 연료전지의 상단부 모서리에 인접하여 수직하게 연결되는 제2 봉부재와, 상기 제2 봉부재에 연결되어 상기 연료전지의 상면과 이격되는 제2 판부재와, 상기 제2 봉부재의 반대편에 상기 계류부가 연결되도록 상기 제2 판부재에 연결되는 연결부를 포함하는 제2 전지지그;
상기 연료전지가 출입하는 해치(hatch)의 하단부에 연결되되, 상기 계류부가 연결되는 고리부가 구비되는 제1 이동지지 지그; 및
상기 해치와 상기 연료전지가 설치되는 연료셀랙(fuel cell rack)의 사이에 구비되되, 상기 계류부가 연결되는 걸림홈이 형성되는 제2 이동지지 지그;
를 포함하는 잠수함용 연료전지 장착모듈. - 제1항에 있어서,
상기 연료전지의 이동경로에 구비되어 작업자가 출입하는 도어 프레임(door frame)의 손상을 방지하도록 연결되는 도어 프레임용 보호커버부;
를 더 포함하는 것을 특징으로 하는 잠수함용 연료전지 장착모듈. - 제1항에 있어서,
상기 제2 봉부재는 상기 연료전지와 분리시 보관이 용이하도록 상기 제2 판부재의 상기 연결부와 동일 편에 연결가능하고,
상기 연결부는, 상기 제2 판부재를 관통하여 회전가능하게 연결되는 회전판과, 상기 회전판에 연결되는 고리부재를 포함하는 것을 특징으로 하는 잠수함용 연료전지 장착모듈. - 제1항에 있어서,
상기 계류부는 체인블록을 포함하는 것을 특징으로 하는 잠수함용 연료전지 장착모듈.
Priority Applications (1)
| Application Number | Priority Date | Filing Date | Title |
|---|---|---|---|
| KR2020110005828U KR20130000114U (ko) | 2011-06-27 | 2011-06-27 | 잠수함용 연료전지 장착모듈 |
Applications Claiming Priority (1)
| Application Number | Priority Date | Filing Date | Title |
|---|---|---|---|
| KR2020110005828U KR20130000114U (ko) | 2011-06-27 | 2011-06-27 | 잠수함용 연료전지 장착모듈 |
Publications (1)
| Publication Number | Publication Date |
|---|---|
| KR20130000114U true KR20130000114U (ko) | 2013-01-04 |
Family
ID=51357653
Family Applications (1)
| Application Number | Title | Priority Date | Filing Date |
|---|---|---|---|
| KR2020110005828U Withdrawn KR20130000114U (ko) | 2011-06-27 | 2011-06-27 | 잠수함용 연료전지 장착모듈 |
Country Status (1)
| Country | Link |
|---|---|
| KR (1) | KR20130000114U (ko) |
Cited By (1)
| Publication number | Priority date | Publication date | Assignee | Title |
|---|---|---|---|---|
| CN116039887A (zh) * | 2023-03-01 | 2023-05-02 | 西北工业大学 | 一种基于定常主动流动控制的水下航行器鳍舵优化装置 |
-
2011
- 2011-06-27 KR KR2020110005828U patent/KR20130000114U/ko not_active Withdrawn
Cited By (1)
| Publication number | Priority date | Publication date | Assignee | Title |
|---|---|---|---|---|
| CN116039887A (zh) * | 2023-03-01 | 2023-05-02 | 西北工业大学 | 一种基于定常主动流动控制的水下航行器鳍舵优化装置 |
Similar Documents
| Publication | Publication Date | Title |
|---|---|---|
| JP6234598B2 (ja) | 船舶用推進システム | |
| RU2581312C2 (ru) | Отсоединяемая швартовная система и способ ее отсоединения или повторного присоединения | |
| CN103403344A (zh) | 借助涡轮机轮毂的无起重机方式的风力涡轮机叶片操纵方法 | |
| US9598832B2 (en) | Assembly for mooring a pile with a mooring line and method implemented with said assembly | |
| OA11101A (en) | Vessel turret systems | |
| US20140137789A1 (en) | Installation vehicle for a tidal power plant and method for the operation thereof | |
| KR102030139B1 (ko) | 항로 표시용 등부표 | |
| CN104160149A (zh) | 海上风车设置用船舶及海上风车设置方法 | |
| KR101281644B1 (ko) | 선체블록의 해상운송용 고박 방법 및 장치 | |
| KR20130000114U (ko) | 잠수함용 연료전지 장착모듈 | |
| TWI530430B (zh) | 船舶 | |
| ES2843741T3 (es) | Método, medio de suspensión de cargas y sistema de montaje para montar una planta de energía eólica | |
| KR101458863B1 (ko) | 동력계의 분리가 가능한 구동모터 및 동력계 설치구조물 및 이를 이용한 구동모터 및 동력계 설치방법 | |
| ES2716532T3 (es) | Introducción o retirada de un elemento alargado en o de un cuerpo | |
| CN209306036U (zh) | 海上风电塔筒运输装置 | |
| KR101348621B1 (ko) | 풍력 발전기 적재용 구조물 | |
| KR20120120748A (ko) | 스터드 볼트 인양 지그 | |
| CN106115508A (zh) | 一种组合式浮船吊 | |
| KR102375318B1 (ko) | 잠수함용 납 발라스트 장치 | |
| CN221294083U (zh) | 一种框架结构有缆遥控水下机器人 | |
| KR102490346B1 (ko) | 액화가스 화물창의 분리 구조형 펌프 타워 베이스 서포트 | |
| KR20150012079A (ko) | 스트랜드 잭 지지 장치 | |
| KR101605342B1 (ko) | 잭업리그 예인라인 설치장치 그리고 이를 포함하는 잭업리그 | |
| KR20140005546U (ko) | 카고 탱크 유지보수용 홀의 손상 방지장치 | |
| JP2021095801A (ja) | 岸壁構造体及び防舷材の運用方法 |
Legal Events
| Date | Code | Title | Description |
|---|---|---|---|
| UA0108 | Application for utility model registration |
Comment text: Application for Utility Model Registration Patent event code: UA01011R08D Patent event date: 20110627 |
|
| UG1501 | Laying open of application | ||
| UC1204 | Withdrawal of no request for examination | ||
| WITN | Application deemed withdrawn, e.g. because no request for examination was filed or no examination fee was paid |