KR20130000012U - 건축용 비계 안전 난간대 - Google Patents

건축용 비계 안전 난간대 Download PDF

Info

Publication number
KR20130000012U
KR20130000012U KR2020110005666U KR20110005666U KR20130000012U KR 20130000012 U KR20130000012 U KR 20130000012U KR 2020110005666 U KR2020110005666 U KR 2020110005666U KR 20110005666 U KR20110005666 U KR 20110005666U KR 20130000012 U KR20130000012 U KR 20130000012U
Authority
KR
South Korea
Prior art keywords
safety
sleeve
locking pin
mail
railings
Prior art date
Legal status (The legal status is an assumption and is not a legal conclusion. Google has not performed a legal analysis and makes no representation as to the accuracy of the status listed.)
Ceased
Application number
KR2020110005666U
Other languages
English (en)
Inventor
백문자
Original Assignee
백문자
Priority date (The priority date is an assumption and is not a legal conclusion. Google has not performed a legal analysis and makes no representation as to the accuracy of the date listed.)
Filing date
Publication date
Application filed by 백문자 filed Critical 백문자
Priority to KR2020110005666U priority Critical patent/KR20130000012U/ko
Publication of KR20130000012U publication Critical patent/KR20130000012U/ko
Ceased legal-status Critical Current

Links

Images

Classifications

    • EFIXED CONSTRUCTIONS
    • E04BUILDING
    • E04GSCAFFOLDING; FORMS; SHUTTERING; BUILDING IMPLEMENTS OR AIDS, OR THEIR USE; HANDLING BUILDING MATERIALS ON THE SITE; REPAIRING, BREAKING-UP OR OTHER WORK ON EXISTING BUILDINGS
    • E04G5/00Component parts or accessories for scaffolds
    • E04G5/14Railings
    • EFIXED CONSTRUCTIONS
    • E04BUILDING
    • E04GSCAFFOLDING; FORMS; SHUTTERING; BUILDING IMPLEMENTS OR AIDS, OR THEIR USE; HANDLING BUILDING MATERIALS ON THE SITE; REPAIRING, BREAKING-UP OR OTHER WORK ON EXISTING BUILDINGS
    • E04G21/00Preparing, conveying, or working-up building materials or building elements in situ; Other devices or measures for constructional work
    • E04G21/32Safety or protective measures for persons during the construction of buildings

Landscapes

  • Engineering & Computer Science (AREA)
  • Architecture (AREA)
  • Mechanical Engineering (AREA)
  • Civil Engineering (AREA)
  • Structural Engineering (AREA)
  • Steps, Ramps, And Handrails (AREA)

Abstract

본 고안은 안전난간대를 두 개의 제 1, 2안전난간대로 나뉘어 구성한 상태에서 상기 제 1, 2안전난간대를 관절수단으로 접힘 가능하게 연결 구성하여 제 1, 2안전난간대를 접은 상태에서 두 개의 수직프레임 사이에 위치시킨 다음, 하나의 제 1안전난간대를 하나의 수직프레임에 고정시킨 다음, 관절수단으로 연결 구성되어 있는 제 2안전난간대를 펼쳐 제 1안전난간대와 수평으로 동일선상에 위치시킨 상태에서 상기 제 2안전난간대의 반대편의 수직프레임에 고정시킴으로서 두 개의 수직프레임 사이에 안전난간대를 보다 간편하게 조립할 수 있도록 한 건축용 비계 안전 난간대를 구현하고자 한다.

Description

건축용 비계 안전 난간대{railing of scaffolding frame for building}
본 고안은 건축용 비계 안전 난간대에 관련되는 것으로서, 더욱 상세하게는 안전 난간대의 중앙부를 접힘 가능하게 구성하여 안전 난간대를 두 개의 수직프레임 사이에 간편하게 위치시킨 상태에서 조립 구성할 수 있도록 한 건축용 비계 안전 난간대에 관한 것이다.
잘 알려진 바와 같이, 비계는 건축 공사시 작업자들이 높은 곳에서 일할 수 있도록 건축물의 외부에 설치되는 임시가설물을 말하는 것으로서, 대표적으로 강관비계를 예로 들 수 있다.
상기 강관비계는 내구성이 우수하고 조립 및 해체가 용이한 장점을 가진 것으로서, 통상 수직 및 수평파이프와, 비계발판 그리고 다수개의 클램프들로 구성한다.
상기한 구성품들중 클램프들은 수직 및 수평파이프를 결속하고, 또한 비계발판을 수평파이프상에 지탱시키는 수단으로서, 강관비계의 내구성과 직결되는 가장 중요한 구성요소중의 하나이다.
그러나 종래 건축용 비계에는 기둥부재인 수직프레임 사이 사이에 추락을 방지하는 난간이 없어 발판을 딛고 통행하는 사람이 넘어질 경우 추락을 방지할 수 없는 결점이 있다.
한편, 근래 들어서는 환봉 형상의 난간대를 수직프레임 사이에 위치시킨 다음, 클램핑수단을 이용하여 난간대를 수직프레임에 연결시켜 추락을 방지토록 하는 기술이 제안된바 있으나, 종래 클램핑수단은 그 구조가 너무 복잡하여 가설물 설치에 따른 비용을 증가시키는 문제점과 더불어 클램핑수단의 조작이 쉽지않아 설치작업이 지연되는 결과를 초래하게 된다.
따라서, 상기한 바와 같은 문제점을 해결하기 위한 본 고안의 목적은, 안전 난간대의 중앙부를 접힘 가능하게 구성하여 안전 난간대를 두 개의 수직프레임 사이에 간편하게 위치시킨 상태에서 조립 구성할 수 있도록 한 건축용 비계 안전 난간대를 제공함에 있다.
상술한 목적들을 달성하기 위한 본 고안은 건축용 비계인 기둥부재를 구성하는 두 개의 수직파이프 사이에 수평으로 누운 상태로 설치되는 건축용 비계 안전 난간대에 있어서, 상기 안전난간대는 관절수단을 사이에 두고 양측으로 서로 접힘 가능하게 연결 구성되며 그 양단에는 상기 수직프레임의 체결구멍에 끼워지는 고정핀이 각각 돌출 형성된 제 1, 2안전난간대로 나뉘어 구성하며, 상기 제 1, 2안전난간대를 연결하는 관절수단은 상기 제 1안전난간대의 일단에 돌출 형성되는 메일체결구와, 상기 제 2안전난간대의 일단에 돌출 형성되며 중앙으로 상기 메일체결구가 끼워지기 위한 삽입부를 형성한 상태에서 상기 메일체결구와 힌지 결합되는 핀메일체결구와, 상기 제 2안전난간대의 외경에 돌출 형성되는 걸림핀과, 상기 제 1안전난간대의 외경에 회전 및 전, 후 슬라이드 이동 가능하게 끼워지며 상기 제 1, 2안전난간대의 메일체결구 및 핀메일체결구에 선택적으로 덮혀지는 슬리브와, 상기 슬리브의 일측 둘레면에 형성되며 상기 슬리브의 전진 이동에 따라 상기 제 2안전난간대의 걸림핀을 통과시키는 걸림핀 안내홀 및 상기 걸림핀 안내홀의 일측에 수직으로 절곡 형성되며 상기 슬리브의 회전 동작에 따라 상기 걸림핀 안내홀을 통과한 걸림핀이 걸려질 수 있도록 하는 걸림핀 걸이홀을 포함하여 구성함을 특징으로 한다.
본 고안은 안전난간대를 두개의 제 1, 2안전난간대로 나뉘어 구성한 상태에서 상기 제 1, 2안전난간대를 관절수단으로 접힘 가능하게 연결 구성하여 두 개의 수직프레임 사이에 안전난간대를 보다 간편하게 조립할 수 있는 작용효과를 구현한다.
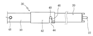
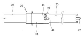
도 1은 본 고안의 바람직한 실시 예에 따른 건축용 비계 안전 난간대의 전체 구성을 도시한 도면.
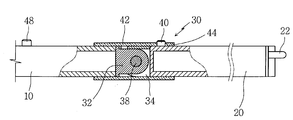
도 2는 도 1에서 도시하고 있는 건축용 비계 안전 난간대에서 관절수단의 구성을 입체적으로 도시한 도면.
도 3은 도 2에서 도시하고 있는 관절수단의 단면도.
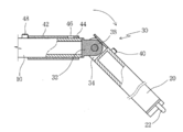
도 4는 도 3의 접힘 상태도.
도 5 내지 도 7은 본 고안에 따른 관절수단의 동작을 순차적으로 도시한 도면들.
이하 본 고안의 실시 예를 첨부된 도면을 참조하여 설명하면 다음과 같다. 후술될 상세한 설명에서는 상술한 기술적 과제를 이루기 위해 본 고안에 있어 대표적인 실시 예를 제시할 것이다. 그리고 본 고안으로 제시될 수 있는 다른 실시 예들은 본 고안의 구성에서 설명으로 대체한다.
본 고안에서는 안전난간대를 두 개의 제 1, 2안전난간대로 나뉘어 구성한 상태에서 상기 제 1, 2안전난간대를 관절수단으로 접힘 가능하게 연결 구성하여 제 1, 2안전난간대를 접은 상태에서 두 개의 수직프레임 사이에 위치시킨 다음, 하나의 제 1안전난간대를 하나의 수직프레임에 고정시킨 다음, 관절수단으로 연결 구성되어 있는 제 2안전난간대를 펼쳐 제 1안전난간대와 수평으로 동일선상에 위치시킨 상태에서 상기 제 2안전난간대의 반대편의 수직프레임에 고정시킴으로서 두 개의 수직프레임 사이에 안전난간대를 보다 간편하게 조립할 수 있도록 한 건축용 비계 안전 난간대를 구현하고자 한다.
이하, 도면들을 참조하여 본 고안의 바람직한 실시 예를 기술하기로 한다.
도 1은 본 고안의 바람직한 실시 예에 따른 건축용 비계 안전 난간대의 전체 구성을 도시한 도면이다.
도 1에서 도시하고 있는 바와 같이, 본 고안의 건축용 비계 안전 난간대는 건축용 비계인 기둥부재를 구성하는 두 개의 수직프레임(50a, 50b) 사이에 수평 방향으로 설치되며 비계 발판을 딛고 통행하는 사람이 넘어져 추락하지 않도록 하는 안전장비로서, 상기 안전난간대는 제 1, 2안전난간대(10, 20)로 나뉘어 구성한 상태에서 관절수단(30)으로 연결시켜 상기 관절수단(30)을 중심으로 접히거나 펼쳐지도록 구성한다.
상기 제 1안전난간대(10)의 일단에는 고정핀(12)이 돌출 형성되며, 상기 고정핀(12)은 하나의 수직프레임(50a) 체결구멍(52a)에 끼워지며 고정되도록 하고, 상기 제 2안전난간대(20)의 일단에도 다른 고정핀(22)을 돌출 형성하고, 상기 고정핀(22)은 반대편 수직프레임(50b)의 체결구멍(52b)에 끼워지며 고정되도록 한다.
이하에서는, 상기 제 1, 2안전난간대(10, 20)를 접힘 가능하게 연결하는 관절수단(30)의 구조에 대하여 구체적으로 기술하기로 한다.
도 2는 도 1에서 도시하고 있는 건축용 비계 안전 난간대에서 관절수단의 구성을 입체적으로 도시한 도면이고, 도 3은 도 2에서 도시하고 있는 관절수단의 단면도이며, 도 4는 도 3의 접힘 상태를 도시한 도면이다.
도 2 내지 도 4에서 도시하고 있는 바와 같이, 관절수단(30)은 서로 힌지 결합되는 메일 및 핀메일체결구(32, 34), 걸림핀(40) 그리고 슬리브(42)를 포함하여 구성한다.
상기 메일체결구(32)는 상기 제 1안전난간대(10)의 단부에 돌출 형성되며, 상기 핀메일체결구(34)는 상기 제 2안전난간대(20)의 단부에 돌출 형성되는 것으로서, 상기 핀메일체결구(34)의 중앙에는 삽입부(36)가 형성되고, 상기 삽입부(36)로 상기 제 1안전난간대(10)의 메일체결구(32)가 삽입된 상태에서 힌지(36) 체결하여 서로 회전 가능하게 연결 구성토록 한다.
상기 걸림핀(40)은 상기 제 2안전난간대(20)의 외경에 돌출 형성되어, 슬리브(42)의 걸림핀 안내홀(44)을 통과한 후, 걸림핀 안내홀(44)의 일측에 수직으로 절곡 형성되어 있는 걸림핀 걸이홀(46)에 걸려지며 슬리브(42)의 수평 이동을 구속시키는 수단이다.
상기 슬리브(42)는 상기 제 1안전난간대(10)의 외경에 회전 가능하게 끼워진 상태에서 전방으로 슬라이드 이동하며 상기 제 1안전난간대(10)의 메일체결구(32)와 힌지(36) 결합되어 있는 핀메일체결구(34)가 구비된 제 2안전난간대(20)의 외경에 끼워지며 상기 메일체결구(32) 및 핀메일체결구(34)를 덮어 제 1, 2안전난간대(10, 20)의 접힘을 구속 및 구속 해지시키는 수단이다.
상기 슬리브(42)의 일측 둘레면에는 걸림핀 안내홀(44)이 형성되고, 상기 걸림핀 안내홀(44)의 일단에는 걸림핀 걸이홀(46)이 수직으로 절곡된 상태로 연장 형성된다.
상기 걸림핀 안내홀(44)에는 상기 슬리브(42)가 전방으로 슬라이드 이동하는 동작에 따라 전술한 제 2안전난간대(20)의 외경에 돌출 형성되어 있는 걸림핀(40)이 통과하게 되고, 상기 걸림핀 걸이홀(46)에는 상기 슬리브(42)의 회전 동작에 따라 상기 걸림핀 안내홀(44)을 통과한 걸림핀(46)이 걸려지며 슬리브(42)의 수평 이동 동작을 구속하게 된다.
상기 제 1안전난간대(10)의 외경에는 스토퍼(48)가 돌출 형성되며, 상기 스토퍼(48)는 상기 슬리브(42)가 후방으로 수평 이동할 때, 슬리브(42)가 일정 길이 이상 밀려나지 않도록 구속하게 된다.
이하, 본 고안에 따른 건축용 비계 안전 난간대의 작용을 첨부된 도 1 내지 도 7을 참조하여 기술하기로 한다.
먼저, 건축용 비계의 기둥부재인 두 개의 수직프레임(50a, 50b) 사이에 서로 관절수단(30)으로 연결되어 있는 제 1, 2안전난간대(10, 20)를 위치시킨 다음, 상기 제 1안전난간대(10)의 일단에 돌출 형성되어 있는 고정핀(12)을 하나의 수직프레임(50a) 둘레면에 형성되어 있는 체결구멍(52a)에 끼워넣고, 이어서 관절수단(30)을 중심으로 해서 접혀져 있는 제 2안전난간대(20)를 펼쳐 제 1안전난간대(10)와 동일한 수평선상에 위치시킨 다음, 상기 제 2안전난간대(20)의 일단에 돌출 형성되어 있는 고정핀(22)을 반대편에 위치하는 수직프레임(50b)의 둘레면에 형성되어 있는 체결구멍(52b)에 끼워넣어 제 1, 2안전난간대(10, 20)를 두 개의 수직프레임(50a, 50b) 사이에 위치시키도록 한다.
즉, 제 1, 2안전난간대(10, 20)는 서로 힌지(38) 결합되어 있는 메일 및 핀메일체결구(32, 34)를 통해 서로 연결 구성되어 상기 힌지(38)를 중심으로 회동하며 접힘 및 펼침 동작을 수행하게 되는 데, 상기 제 1, 2안전난간대(10, 20)의 길이는 수직프레임(50a, 50b) 사이 거리에 맞추어 제작됨에 따라 제 1, 2안전난간대(10, 20)를 접지 않은 상태에서는 수직프레임(50a, 50b) 사이에 조립이 어려운 바, 본 고안은 상기 제 1, 2안전난간대(10, 20)를 관절수단(30)으로 접어 제 1, 2안전난간대(10, 20)의 길이를 줄인 상태에서 수직프레임(50a, 50b) 사이에 위치시킨 다음, 다시 제 1, 2안전난간대(10, 20)를 수평으로 펼쳐 수직프레임(50a, 50b) 사이에 제 1, 2안전난간대(10, 20)를 조립하게 되는 것이다.
구체적으로, 제 1안전난간대(10)의 고정핀(12)을 하나의 수직프레임(50a) 체결구멍(52a)에 끼워넣은 다음, 제 2안전난간대(20)를 들어 올리게 되면 상기 제 2안전난간대(20)는 상기 제 1안전난간대(10)의 메일체결구(32)와 힌지(38) 결합되어 있는 핀메일체결구(34)와 함께 회전하며 제 1안전난간대(10)와 동일한 수평선상에 위치하게 되고, 이 상태에서 슬리브(42)를 전진 이동시키게 되면 제 2안전난간대(20)의 외경에 돌출 형성되어 있는 걸림핀(40)은 상기 슬리브(42)의 걸림핀 안내홀(44)을 통과하게 되며, 이어서, 상기 슬리브(42)의 회전동작에 따라 상기 걸림핀 안내홀(42)의 일측에 수직으로 절곡 형성되어 있는 걸림핀 걸이홀(46)에 걸려지며 슬리브(42)가 후방으로 이동하지 않도록 걸림 고정시키게 된다.
즉, 상기와 같이 슬리브(42)가 걸림핀(40)에 걸려져 고정되면 상기 슬리브(42)는 힌지(380 결합되어 있는 메일 및 핀메일체결구(32, 34)에 덮혀진 상태로 고정됨에 따라 제 2안전난간대(20)을 접기 위해 힌지(38)를 중심으로 회전시키더라도 상기 슬리브(42)가 핀메일체결구(34)의 회전을 간섭하게 됨으로서 제 2안전난간대(20)가 접히는 것을 구속하게 되는 것이다.
한편, 수직프레임(50a, 50b) 사이에 조립되어 있는 제 1, 2안전난간대(10, 20)를 분리하고자 할 때에는 슬리브(42)를 반대 방향으로 회전시켜 걸림핀(40)을 걸림핀 걸이홀(46)에서 빼낸 다음, 상기 슬리브(42)를 후방으로 당겨 이동시키게 되면 상기 제 1, 2안전난간대(10, 20)에서 서로 힌지(38) 결합되어 있는 메일 및 핀메일체결구(32, 34)는 상기 슬리브(42) 외부로 노출되어 지며, 이 상태에서 상기 제 2안전난간대(20)를 아랫 방향으로 밀어주면 상기 핀메일체결구(34)는 힌지(38)를 중심으로 회동하며 제 2안전난간대(34)가 접혀질 수 있도록 하여 제 1, 2안전난간대(10, 20)를 수직프레임(50a, 50b) 사이에서 간편히 조립 해제할 수 있게 되는 것이다.
10: 제 1안전 난간대 20: 제 2안전난간대
30: 관절수단 32: 메일체결구
34: 핀메일체결구 38: 힌지
40: 걸림핀 42: 슬리브
44: 걸림핀 안내홀 46: 걸림핀 걸이홀

Claims (1)

  1. 건축용 비계인 기둥부재를 구성하는 두 개의 수직파이프(50a, 50b) 사이에 수평으로 누운 상태로 설치되는 건축용 비계 안전 난간대에 있어서,
    상기 안전난간대는 관절수단(30)을 사이에 두고 양측으로 서로 접힘 가능하게 연결 구성되며 그 양단에는 상기 수직프레임(50a, 50b)의 체결구멍(52a, 52b)에 끼워지는 고정핀(12, 20)이 각각 돌출 형성된 제 1, 2안전난간대(10, 20)로 나뉘어 구성하며;
    상기 제 1, 2안전난간대(10, 20)를 연결하는 관절수단(30)은;
    상기 제 1안전난간대(10)의 일단에 돌출 형성되는 메일체결구(32)와;
    상기 제 2안전난간대(20)의 일단에 돌출 형성되며 중앙으로 상기 메일체결구(32)가 끼워지기 위한 삽입부(36)를 형성한 상태에서 상기 메일체결구(32)와 힌지(38) 결합되는 핀메일체결구(34)와;
    상기 제 2안전난간대(10, 20)의 외경에 돌출 형성되는 걸림핀(42)과;
    상기 제 1안전난간대(10)의 외경에 회전 및 전, 후 슬라이드 이동 가능하게 끼워지며 상기 제 1, 2안전난간대(10, 20)의 메일체결구(32) 및 핀메일체결구(34)에 선택적으로 덮혀지는 슬리브(42)와;
    상기 슬리브(42)의 일측 둘레면에 형성되며 상기 슬리브(42)의 전진 이동에 따라 상기 제 2안전난간대(20)의 걸림핀(42)을 통과시키는 걸림핀 안내홀(44) 및 ;
    상기 걸림핀 안내홀(44)의 일측에 수직으로 절곡 형성되며 상기 슬리브(42)의 회전 동작에 따라 상기 걸림핀 안내홀(44)을 통과한 걸림핀(42)이 걸려질 수 있도록 하는 걸림핀 걸이홀(46)을 포함하여 구성함을 특징으로 하는 건축용 비계 안전 난간대.



KR2020110005666U 2011-06-22 2011-06-22 건축용 비계 안전 난간대 Ceased KR20130000012U (ko)

Priority Applications (1)

Application Number Priority Date Filing Date Title
KR2020110005666U KR20130000012U (ko) 2011-06-22 2011-06-22 건축용 비계 안전 난간대

Applications Claiming Priority (1)

Application Number Priority Date Filing Date Title
KR2020110005666U KR20130000012U (ko) 2011-06-22 2011-06-22 건축용 비계 안전 난간대

Publications (1)

Publication Number Publication Date
KR20130000012U true KR20130000012U (ko) 2013-01-02

Family

ID=51357572

Family Applications (1)

Application Number Title Priority Date Filing Date
KR2020110005666U Ceased KR20130000012U (ko) 2011-06-22 2011-06-22 건축용 비계 안전 난간대

Country Status (1)

Country Link
KR (1) KR20130000012U (ko)

Cited By (2)

* Cited by examiner, † Cited by third party
Publication number Priority date Publication date Assignee Title
KR101966342B1 (ko) * 2017-11-10 2019-04-05 박상수 접이식 보행 보조기구
KR102196163B1 (ko) * 2020-06-12 2020-12-29 최운성 건축물 공사용 전천후 덮개의 레일 연결장치

Cited By (2)

* Cited by examiner, † Cited by third party
Publication number Priority date Publication date Assignee Title
KR101966342B1 (ko) * 2017-11-10 2019-04-05 박상수 접이식 보행 보조기구
KR102196163B1 (ko) * 2020-06-12 2020-12-29 최운성 건축물 공사용 전천후 덮개의 레일 연결장치

Similar Documents

Publication Publication Date Title
US11761217B2 (en) Scaffold gate toeboard assembly for use on a scaffold gate
WO2009127818A1 (en) Safety unit
US8245816B2 (en) Integral safety system which can be used for construction
US9260873B1 (en) Truss member and truss connector
KR20130000012U (ko) 건축용 비계 안전 난간대
KR20120109170A (ko) 우마형 사다리
US20170028232A1 (en) Lifeline device for temporary scaffold and lifeline support device
JP3692293B2 (ja) 枠組足場の組立及び解体用安全手摺
KR100828576B1 (ko) 이동식 틀비계용 난간대
JP2003147953A (ja) 仮設足場へのパイプ構造物の取付け方法と装置
KR101756054B1 (ko) 갱폼 작업자 추락 방지용 접이식 위험표시장치
KR102362725B1 (ko) 창호 시공용 낙하방지망 조립체
KR102100695B1 (ko) 추락방지 안전망 설치장치 및 그 시공방법
JP4996916B2 (ja) 金網パネルおよび手摺の取付け方法
JP2018044343A (ja) 手摺装置
IES20100326A2 (en) An advanced guard rail
KR20220035885A (ko) 비계용 안전망 설치구
JP2004197364A (ja) 支保工
JP4942074B2 (ja) 手摺の取付装置
KR101241444B1 (ko) 이동식 핸드레일 지지 장치
CN211229470U (zh) 一种多点悬挂脚手架
US20180044921A1 (en) Collapsible safety railing
JP5249171B2 (ja) 足場、幅木塞板複合体及び足場を使用する外壁工事方法
KR100756538B1 (ko) 고소 작업대
RU2380503C2 (ru) Козлы строительные складные безразборные трансформируемые

Legal Events

Date Code Title Description
UA0108 Application for utility model registration

Comment text: Application for Utility Model Registration

Patent event code: UA01011R08D

Patent event date: 20110622

UG1501 Laying open of application
A201 Request for examination
UA0201 Request for examination

Patent event date: 20140623

Patent event code: UA02012R01D

Comment text: Request for Examination of Application

Patent event date: 20110622

Patent event code: UA02011R01I

Comment text: Application for Utility Model Registration

E902 Notification of reason for refusal
UE0902 Notice of grounds for rejection

Comment text: Notification of reason for refusal

Patent event code: UE09021S01D

Patent event date: 20150528

E601 Decision to refuse application
UE0601 Decision on rejection of utility model registration

Comment text: Decision to Refuse Application

Patent event code: UE06011S01D

Patent event date: 20150826