KR20120077458A - 소형 제어회로 설계 및 방수기법이 적용된 물고기형 수중 로봇 - Google Patents

소형 제어회로 설계 및 방수기법이 적용된 물고기형 수중 로봇 Download PDF

Info

Publication number
KR20120077458A
KR20120077458A KR1020100139413A KR20100139413A KR20120077458A KR 20120077458 A KR20120077458 A KR 20120077458A KR 1020100139413 A KR1020100139413 A KR 1020100139413A KR 20100139413 A KR20100139413 A KR 20100139413A KR 20120077458 A KR20120077458 A KR 20120077458A
Authority
KR
South Korea
Prior art keywords
fish
plate
frames
underwater robot
case
Prior art date
Legal status (The legal status is an assumption and is not a legal conclusion. Google has not performed a legal analysis and makes no representation as to the accuracy of the status listed.)
Granted
Application number
KR1020100139413A
Other languages
English (en)
Other versions
KR101236479B1 (ko
Inventor
류영선
차유성
Original Assignee
한국생산기술연구원
Priority date (The priority date is an assumption and is not a legal conclusion. Google has not performed a legal analysis and makes no representation as to the accuracy of the date listed.)
Filing date
Publication date
Application filed by 한국생산기술연구원 filed Critical 한국생산기술연구원
Priority to KR1020100139413A priority Critical patent/KR101236479B1/ko
Publication of KR20120077458A publication Critical patent/KR20120077458A/ko
Application granted granted Critical
Publication of KR101236479B1 publication Critical patent/KR101236479B1/ko
Active legal-status Critical Current
Anticipated expiration legal-status Critical

Links

Images

Classifications

    • AHUMAN NECESSITIES
    • A63SPORTS; GAMES; AMUSEMENTS
    • A63HTOYS, e.g. TOPS, DOLLS, HOOPS OR BUILDING BLOCKS
    • A63H23/00Toy boats; Floating toys; Other aquatic toy devices
    • A63H23/10Other water toys, floating toys, or like buoyant toys
    • AHUMAN NECESSITIES
    • A63SPORTS; GAMES; AMUSEMENTS
    • A63HTOYS, e.g. TOPS, DOLLS, HOOPS OR BUILDING BLOCKS
    • A63H23/00Toy boats; Floating toys; Other aquatic toy devices
    • A63H23/10Other water toys, floating toys, or like buoyant toys
    • A63H23/14Special drives
    • BPERFORMING OPERATIONS; TRANSPORTING
    • B25HAND TOOLS; PORTABLE POWER-DRIVEN TOOLS; MANIPULATORS
    • B25JMANIPULATORS; CHAMBERS PROVIDED WITH MANIPULATION DEVICES
    • B25J11/00Manipulators not otherwise provided for
    • BPERFORMING OPERATIONS; TRANSPORTING
    • B25HAND TOOLS; PORTABLE POWER-DRIVEN TOOLS; MANIPULATORS
    • B25JMANIPULATORS; CHAMBERS PROVIDED WITH MANIPULATION DEVICES
    • B25J19/00Accessories fitted to manipulators, e.g. for monitoring, for viewing; Safety devices combined with or specially adapted for use in connection with manipulators
    • B25J19/005Accessories fitted to manipulators, e.g. for monitoring, for viewing; Safety devices combined with or specially adapted for use in connection with manipulators using batteries, e.g. as a back-up power source

Landscapes

  • Engineering & Computer Science (AREA)
  • Manipulator (AREA)
  • Robotics (AREA)
  • Mechanical Engineering (AREA)

Abstract

본 발명에서는 물고기형 수중 로봇(이하, 물고기 로못)에 특화된 기능 위주로 소형, 저가형으로 탈부착이 쉬운 모듈 설계 기법과, 수중에서 로봇의 1차 방수 처리에서 물이 침투한 경우에 내부 회로에 직접적으로 닿지 않도록 2차 방수 처리 방안이 제시된다. 기존 물고기형 로봇에서는 기계 설계와 프레임의 형태에 회로 시스템이 제한적으로 설계되었으나, 이 경우 방수 처리로 인한 탈부착의 어려움과 완벽한 방수가 어려워 개발 도중 상당한 시간 낭비를 초래하게 된다. 이에, 본 발명에서는 수중 로봇에서 특화된 기능별 제어회로 모듈 설계 기법과 이에 따른 2차 방수 처리 방안이 개시된다.

Description

소형 제어회로 설계 및 방수기법이 적용된 물고기형 수중 로봇{Fish Type Robot}
본 발명은 물고기형 수중 로봇에 관한 것으로서, 소형 제어회로 설계 및 방수기법이 적용된 물고기형 수중 로봇에 관한 것이다.
기존의 물고기 형태의 수중 로봇(이하 물고기 로봇)에서는 기계 설계와 프레임의 제한적 구조에 따라서 방수, 실험, 탈부착 등을 고려하지 않고 기능적인 측면을 우선시하여 설계되어 왔다. 이에 따라 물고기 로봇 프레임의 1차 방수 처리에 문제가 생겨 내부에 침수가 될 경우, 회로의 오작동, 전원 단락, 내부 부식 등의 문제가 발생한다.
이러한 문제들을 해결하기 위해서는 단순히 회로의 소형화, 모듈화만으로 가능한 것이 아니라 물고기형 수중 로봇의 프레임 형태와 방수에 최적화 된 설계방안이 요구된다.
따라서 본 발명의 목적은 1차 방수 처리에 문제가 생겨 내부에 침수가 될 경우, 회로의 오작동, 전원 단락, 내부 부식 등의 문제를 해결할 수 있는 물고기 형태의 수중 로봇을 제공하는 것이다.
상기와 같은 목적을 달성하기 위하여, 본 발명의 일면에 따른 물고기 형태의 수중 로봇은, 복수의 기어를 통해 물리적으로 연결된 복수의 프레임으로 이루어지며, 상기 복수의 프레임 중 어느 한 프레임에 구비되는 제어부 및 상기 복수의 프레임에 각각 구비되고, 상기 제어부와 방수 케이블로 각각 연결된 복수의 구동 모터를 포함하는 구동부를 포함한다. 여기서, 상기 복수의 구동 모터는 제1 내지 제3 구동 모터를 포함하고, 상기 방수 케이블은 제1 내지 제3 방수 케이블을 포함한다. 또한 상기 복수의 프레임은 상기 제어부와 상기 제1 구동모터가 배치된 제1 플레이트와, 상기 제1 플레이트와 결합되어 상기 제어부를 커버하는 제1 케이스를 포함하는 제1 프레임과, 상기 제1 플레이트와 제1 기어를 통해 연결되는 제2 플레이트와, 상기 제2 플레이트상에 배치되어 상기 제어부와 제2 방수 케이블로 연결되는 상기 제2 구동모터를 커버하는 제2 케이스를 포함하는 제2 프레임 및 상기 제2 플레이트와 제2 기어를 통해 연결되는 제3 플레이트와, 상기 제3 플레이트 상에 배치되어 상기 제어부와 제3 방수 케이블로 연결되는 상기 제3 구동 모터를 커버하는 제3 케이스를 포함하는 제3 프레임을 포함한다.
또한, 상기 물고기형 수중 로봇은 상기 제1 플레이트 상에 배치된 충전 가능한 배터리를 더 구비하고, 상기 제1 케이스는 측면에 전원 주입구가 형성되어, 상기 전원 주입구를 통해 외부로부터 상기 배터리에 전원을 충전시키고, 충전완료된 경우, 약품처리 없이 O-ring 타입으로 상기 전원 주입구를 방수 처리하는 것을 특징으로 한다.
본 발명에 의하면, 1차 방수 처리 설계 방안에도 불구하고, 물고기 로봇 내부로 물이 침투한 경우, 아래에서 제안하는 2차 방수 처리 설계 방안에 따라 물고기 로봇의 내부에 구비된 각종 전기 회로 등을 안전하게 보호할 수 있어, 회로이 오작동, 전원 단락, 내부 부식 등과 같은 물고기 로봇의 고장을 방지할 수 있다.
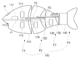
도 1은 본 발명에 일실시예에 따른 물고기 수중 로봇의 형상을 보여주는 측면도이다.
도 2는 도 1에 도시된 물고기 수중 로봇의 내부 구성을 개략적으로 보여주는 블록도이다.
본 발명에서는 물고기형 수중 로봇(이하, 물고기 로못)에 특화된 기능 위주로 소형, 저가형으로 탈부착이 쉬운 모듈 설계 기법과, 수중에서 로봇의 1차 방수 처리에서 물이 침투한 경우에 내부 회로에 직접적으로 닿지 않도록 2차 방수 처리 방안이 제시된다. 기존 물고기형 로봇에서는 기계 설계와 프레임의 형태에 회로 시스템이 제한적으로 설계되었으나, 이 경우 방수 처리로 인한 탈부착의 어려움과 완벽한 방수가 어려워 개발 도중 상당한 시간 낭비를 초래하게 된다. 이에, 본 발명에서는 수중 로봇에서 특화된 기능별 제어회로 모듈 설계 기법과 이에 따른 2차 방수 처리 방법이 아래에서 제안된다.
본 발명의 이점 및 특징, 그리고 그것들을 달성하는 방법은 첨부되는 도면과 함께 상세하게 후술되어 있는 실시 예들을 참조하면 명확해질 것이다. 그러나 본 발명은 이하에서 개시되는 실시 예들에 한정되는 것이 아니라 서로 다른 다양한 형태로 구현될 것이며, 단지 본 실시 예들은 본 발명의 개시가 완전하도록 하며, 본 발명이 속하는 기술분야에서 통상의 지식을 가진 자에게 발명의 범주를 용이하게 이해할 수 있도록 제공되는 것이며, 본 발명은 청구항의 기재에 의해 정의된다.
이하, 첨부된 도면을 참조하여 본 발명의 바람직한 실시예에 대해 상세히 설명하기로 한다.
도 1은 본 발명에 일실시예에 따른 물고기 수중 로봇의 형상을 보여주는 측면도이고, 도 2는 도 1에 도시된 물고기 수중 로봇의 내부 구성을 개략적으로 보여주는 블록도이다.
도 1 및 도 2를 참조하면, 본 발명에 일실시예에 따른 물고기 로봇은 복수의 기어를 통해 물리적으로 연결된 복수의 프레임으로 이루어지며, 무엇보다도 실험용 수중 로봇의 제어나 역학적인 부분에서 모터의 사양을 변경할 필요가 있을 경우, 손쉬운 탈부착을 위하여 방수 케이블이 활용된다.
구체적으로 물고기 로봇(100)은 외관상 기어를 통해 물리적으로 연결된 복수의 프레임으로 구현되어, 각 프레임의 상호 움직임을 통해 수중에서 이동가능하게 된다. 이를 위하여, 복수의 프레임 중 어느 한 프레임에 구비된 전원부(112)와 제어부(114) 및 상기 제어부와 방수 케이블로 연결된 구동부(116, 126, 136)를 포함한다. 본 실시예에서는 4개의 프레임으로 구성되며, 편의상 4개의 프레임은 제1 내지 제4 프레임(F1, F2, F3, F4)으로 지칭된다.
먼저, 제1 프레임(F1)은 물고기의 머리 형상을 구성하는 부분으로서, 판 형상의 제1 플레이트(P1)와 상기 제1 플레이트(P1)와 결합하는 상기 머리 형상을 갖는 제1 케이스(110)를 포함한다. 제1 플레이트(P1) 상부 쪽에는 도시된 바와 같이, 상면에 충전 가능한 전원부(이하, 배터리)와 수중에서의 상기 물고기 로봇(100)의 전반적인 동작을 제어하는 제어부(114)가 배치된다. 제1 플레이트(P1)의 하부 쪽에는 제1 프레임(F1)과 제2 프레임(F2)을 연결하는 기어를 구동시키는 제1 구동 모터(116)를 포함한다. 물고기 로봇(100)의 제어나 역학적인 부분에서 구동 모터의 사양을 변경시킬 필요가 있어, 가급적이면 손쉬운 탈부착이 요구된다. 이에 본 발명의 일실시예에서는, 일반 케이블 포함한 모듈 자체를 방수처리는 하는 기존과는 달리 별도의 방수 케이블을 마련하여 각 구성 블록들을 연결한다. 즉, 제어부(114)와 제1 구동모터(116)가 제1 방수 케이블을 통해 서로 연결된다. 그 밖에 도면에 도시되지는 않았으나, 통신 모듈, 수중 상태의 오염정도를 측정하는 환경감시센서 등 각종 구성 블록들이 서로 방수 케이블로 연결될 수 있다.
한편, 제1 프레임(F1)에는 실제 물고기의 머리 부분에 해당하는 구성으로서, 내부에 구비된 각종 구성들에게 전원 공급하고 외부로부터 전력공급 받아서 충전되는 배터리(112)가 구비된다. 본 실시예에 따른 배터리(112)는 무접전 충전 방식에 의해 전원을 충전하는 것이 아닌 유선 충전방식으로서, 외부로부터 유선을 통해 전원을 공급받는다. 따라서, 외부로부터 전력 공급받기 위하여, 상기 제1 케이스(112)의 일측면에는 측면에 전원 주입구가 형성되어, 상기 전원 주입구를 통해 외부로부터 상기 배터리(112)에 전원을 충전시키고, 기존에는 충전 완료후, 전원 주입구를 차단시키는 경우, 약품을 이용한 방수 처리과정을 하였으나, 이 경우, 빈번한 로봇의 분해가 필요하며, 매번 물고기 로봇 전체의 케이스에 대한 약품에 대한 방수 처리가 요구된다. 이러한 불편한 점을 해결하고자 본 발명의 일실시예에서는 약품처리 없이 O-ring 타입으로 상기 전원 주입구를 방수 처리한다. 즉, 상기 전원 주입구(H)를 커버하는 전원 주입 커버의 테두리를 O-ring 타입의 고무 밴드를 이용하여 방수 처리함으로써, 전원 주입 커버를 전원 주입구(H) 손쉽게 탈부착 시킬 수 있게 된다.
제2 프레임(F2)은 실제 물고기의 몸통 부분에 해당하는 구성으로서, 제2 플레이트(P2)와, 상기 제2 플레이트(P2)와 결합하는 제2 케이스(120)를 포함한다. 제2 플레이트(P2)는 상기 제1 플레이트(P1)와 제1 기어를 통해 연결되며, 제2 구동 모터(126)를 구비한다. 이 제2 구동 모터(126)는 제2 프레임(F2)이 제3 프레임(F3)과 상호 움직이게 하는 제2 기어를 제어한다. 여기서, 제2 구동모터(126)는 제2 방수 케이블로 통해 상기 제어부(114)와 전기적으로 연결된다.
제3 프레임(F3)는 상기 물고기의 몸통 부분과 꼬리부분을 연결하는 구성으로서, 상기 제2 플레이트(P2)와 제2 기어를 통해 연결되는 제3 플레이트(P3)와, 상기 제3 플레이트 상에 배치되어 상기 제어부와 제3 방수 케이블로 연결되는 상기 제3 구동 모터를 커버하는 제3 케이스를 포함한다.
제4 프레임(F3)은 실제 물고기의 꼬리 부분에 해당하는 구성으로서, 제3 기어를 통해 상기 제3 프레임과 연결되어, 상호 움직이는 동작을 수행한다.
한편, 상기 제1 내지 제3 케이스(110, 120, 130)로 구성되는 로봇 케이스는 전술한 바와 같이, 제어부(114)와 같은 회로와 구동부(116, 126, 136)가 내부에 장착될 수 있는 형태이며, 물고기 로봇(100)이 움직이는 부분(기어가 물리는 곳)을 제외한 모든 부분이 방수처리가 되는데, 상기 제1 내지 제3 케이스(110, 120, 130)와 상기 제1 내지 제3 플레이트(P1, P2, P3)의 결합부위에는 액체 실리콘을 이용하여 1차 방수 처리하고, 에폭시를 이용하여 2차 방수 처리된다.
그 밖에, 제1 내지 제3 구동모터 각각에 대한 방수 처리 기법으로서, 본 발명의 실시예에서는, 다음과 같은 절차에 따라 처리된다.
먼저, 구동 모터를 분리하여 내부에 장착되어 있는 회로부(가변 저항 및 디지털 시스템)에 에실리콘, 에폭시 처리를 처리하고, 이어, 분리된 구동 모터를 조립 후 미네랄 오일을 담은 그릇에 담가 서보 모터의 내부에 오일을 가득 채운다. 이어, 조립된 서보 모터의 외부에 실리콘 및 에폭시 처리를 하고, 기어가 물리는 부분에 같은 파이의 고무 O-ring을 끼워 마무리 방수 처리를 한다.
이상 설명한 바와 같이, 기존의 물고기형 수중 로봇에서는 기계 설계와 프레임의 제한적 구조에 따라서 방수, 실험, 탈부착 등을 고려하지 않고 기능 우선으로 설계되어 왔다. 따라서 프레임의 1차 방수 처리에 문제가 생겨 내부에 침수가 될 경우, 회로의 오작동, 전원 단락, 내부 부식 등의 문제가 발생한다. 이러한 문제들을 해결하기 위해서는 단순히 회로의 소형화, 모듈화만으로 가능한 것이 아니라 물고기형 수중 로봇의 프레임 형태와 방수에 최적화 된 설계를 통해서만 구현이 가능하다. 제어 회로의 방수를 위하여 단순히 실리콘이나 에폭시 등의 화학약품을 처리하는 것은 추후 충/방전을 위한 탈부착, 회로의 디버깅 등에서 불리하게 작용하므로, 반드시 탈부착이 필요한 부분만 모듈화하여 방수처리를 해야하며, 이상 설명세서 물고기형 수중 로봇에서 특화된 소형, 저가형으로 탈 부착이 쉬운 모듈 설계 및 방수 기법이 기술되었다.

Claims (6)

  1. 복수의 기어를 통해 물리적으로 연결된 복수의 프레임으로 이루어진 물고기형 수중 로봇에 있어서,
    상기 복수의 프레임 중 어느 한 프레임에 구비되는 제어부; 및
    상기 복수의 프레임에 각각 구비되고, 상기 제어부와 방수 케이블로 각각 연결된 복수의 구동 모터를 포함하는 구동부
    를 포함하는 물고기형 수중 로봇.
  2. 제1항에 있어서, 상기 복수의 구동 모터는 제1 내지 제3 구동 모터를 포함하고, 상기 방수 케이블은 제1 내지 제3 방수 케이블을 포함하고,
    상기 복수의 프레임은,
    상기 제어부와 상기 제1 구동모터가 배치된 제1 플레이트와, 상기 제1 플레이트와 결합되어 상기 제어부를 커버하는 제1 케이스를 포함하는 제1 프레임;
    상기 제1 플레이트와 제1 기어를 통해 연결되는 제2 플레이트와, 상기 제2 플레이트상에 배치되어 상기 제어부와 제2 방수 케이블로 연결되는 상기 제2 구동모터를 커버하는 제2 케이스를 포함하는 제2 프레임; 및
    상기 제2 플레이트와 제2 기어를 통해 연결되는 제3 플레이트와, 상기 제3 플레이트 상에 배치되어 상기 제어부와 제3 방수 케이블로 연결되는 상기 제3 구동 모터를 커버하는 제3 케이스를 포함하는 제3 프레임을 포함하는 것을 특징으로 하는 물고기형 수중 로봇.
  3. 제2항에 있어서, 상기 제1 프레임은,
    상기 제1 플레이트 상에 배치된 충전 가능한 배터리가 더 구비되고,
    상기 제1 케이스는,
    측면에 전원 주입구가 형성되어, 상기 전원 주입구를 통해 외부로부터 상기 배터리에 전원을 충전시키고, 충전완료된 경우, 약품처리 없이 O-ring 타입으로 상기 전원 주입구를 방수 처리하는 것을 특징으로 하는 물고기형 수중 로봇
  4. 제3항에 있어서, 상기 제1 케이스는,
    물고기의 머리 형상인 것을 특징으로 하는 물고기형 수중 로봇.
  5. 제3항에 있어서, 상기 배터리는,
    유선 충전 방식에 따라 외부로부터 전력을 공급받아 충전되는 것을 특징으로 하는 물고기형 수중 로봇.
  6. 제2항에 있어서, 상기 제1 내지 제3 케이스와 상기 제1 내지 제3 플레이트는 결합부위에 액체 실리콘을 이용하여 1차 방수 처리하고, 에폭시를 이용하여 2차 방수 처리하는 것을 특징으로 하는 물고기형 수중 로봇.
KR1020100139413A 2010-12-30 2010-12-30 소형 제어회로 설계 및 방수기법이 적용된 물고기형 수중 로봇 Active KR101236479B1 (ko)

Priority Applications (1)

Application Number Priority Date Filing Date Title
KR1020100139413A KR101236479B1 (ko) 2010-12-30 2010-12-30 소형 제어회로 설계 및 방수기법이 적용된 물고기형 수중 로봇

Applications Claiming Priority (1)

Application Number Priority Date Filing Date Title
KR1020100139413A KR101236479B1 (ko) 2010-12-30 2010-12-30 소형 제어회로 설계 및 방수기법이 적용된 물고기형 수중 로봇

Publications (2)

Publication Number Publication Date
KR20120077458A true KR20120077458A (ko) 2012-07-10
KR101236479B1 KR101236479B1 (ko) 2013-02-22

Family

ID=46710940

Family Applications (1)

Application Number Title Priority Date Filing Date
KR1020100139413A Active KR101236479B1 (ko) 2010-12-30 2010-12-30 소형 제어회로 설계 및 방수기법이 적용된 물고기형 수중 로봇

Country Status (1)

Country Link
KR (1) KR101236479B1 (ko)

Cited By (6)

* Cited by examiner, † Cited by third party
Publication number Priority date Publication date Assignee Title
WO2016200092A1 (ko) * 2015-06-09 2016-12-15 (주)아이로 물고기 로봇
US9937986B1 (en) 2016-11-10 2018-04-10 AIRO Inc. Multi-joint fish robot capable of rapid acceleration propulsion
CN108279676A (zh) * 2015-06-19 2018-07-13 缪雪峰 微型无缆游动机器人及其控制方法
KR20190023830A (ko) 2017-08-30 2019-03-08 황요섭 무볼팅 방수구조가 적용된 수중 로봇
KR102087716B1 (ko) * 2018-11-01 2020-03-11 (주)아이로 로봇물고기
CN112870737A (zh) * 2021-03-16 2021-06-01 上海海洋大学 一种观赏性水下仿生金龙鱼

Family Cites Families (3)

* Cited by examiner, † Cited by third party
Publication number Priority date Publication date Assignee Title
JP2002136776A (ja) * 2000-11-02 2002-05-14 Mitsubishi Heavy Ind Ltd 魚ロボット及び水中通信装置
JP4255477B2 (ja) 2006-02-07 2009-04-15 Mhiソリューションテクノロジーズ株式会社 魚状ロボット
KR100802354B1 (ko) * 2006-11-23 2008-02-13 건국대학교 산학협력단 압전세라믹 작동기로 구동되는 물고기 로봇

Cited By (6)

* Cited by examiner, † Cited by third party
Publication number Priority date Publication date Assignee Title
WO2016200092A1 (ko) * 2015-06-09 2016-12-15 (주)아이로 물고기 로봇
CN108279676A (zh) * 2015-06-19 2018-07-13 缪雪峰 微型无缆游动机器人及其控制方法
US9937986B1 (en) 2016-11-10 2018-04-10 AIRO Inc. Multi-joint fish robot capable of rapid acceleration propulsion
KR20190023830A (ko) 2017-08-30 2019-03-08 황요섭 무볼팅 방수구조가 적용된 수중 로봇
KR102087716B1 (ko) * 2018-11-01 2020-03-11 (주)아이로 로봇물고기
CN112870737A (zh) * 2021-03-16 2021-06-01 上海海洋大学 一种观赏性水下仿生金龙鱼

Also Published As

Publication number Publication date
KR101236479B1 (ko) 2013-02-22

Similar Documents

Publication Publication Date Title
KR101236479B1 (ko) 소형 제어회로 설계 및 방수기법이 적용된 물고기형 수중 로봇
CN109421505B (zh) 用于为机动车辆储存电能的装置
CN103081046B (zh) 蓄电装置及具备其的工程机械
CN107871838B (zh) 汇流条模块
CN102522658A (zh) 一种水下自动机电连接装置
US11616267B2 (en) Modular system for traction batteries of motor vehicles
RU2012104998A (ru) Батареи для электроинструментов и способы прикрепления клемм батарей к кожухам батарей
KR101723037B1 (ko) 이차전지팩의 이차전지 연결장치
JP2010166756A (ja) 電動車両の充電口
CN105626929A (zh) 一种电动阀及其控制方法
DE102015103988A1 (de) Elektrisches Leistungssystem für Hybridfahrzeuge
KR20120051808A (ko) 조립성을 향상한 배터리 모듈
CN108349404B (zh) 用于机动车的高压电池和机动车
FR3060231B1 (fr) Appareil d'alimentation d'energie pour vehicules electriques
ITBO20110466A1 (it) Sistema di connessione per stabilire un collegamento elettrico tra un dispositivo elettrico per autotrazione ed almeno una coppia di cavi
CN105799875A (zh) 一种仿生智能机器鱼的鱼头机构
CN101725262B (zh) 无缆遥控悬浮电源泳池自动清洁机
CN110260926B (zh) 深海载人潜水器能源供给智能化监测与保护系统
US20250135665A1 (en) Multi-battery-equipped robot
WO2020067395A1 (ja) 雄型接続子、それを備える収容装置
JP6376082B2 (ja) 電池パック
CN205070007U (zh) 用于电池箱的连接器总成、电池箱及电池装置
DE602005003237D1 (de) Vorrichtung zum Speichern von elektrischer Energie für die Versorgung von elektrischen Lasten mit hoher Priorität, insbesondere für Motorfahrzeuge
CN207800716U (zh) 一种手提便携式车辆应急启动电池
CN2924010Y (zh) 用于采矿机械的驱动装置

Legal Events

Date Code Title Description
A201 Request for examination
PA0109 Patent application

Patent event code: PA01091R01D

Comment text: Patent Application

Patent event date: 20101230

PA0201 Request for examination
PG1501 Laying open of application
PE0902 Notice of grounds for rejection

Comment text: Notification of reason for refusal

Patent event date: 20120816

Patent event code: PE09021S01D

E701 Decision to grant or registration of patent right
PE0701 Decision of registration

Patent event code: PE07011S01D

Comment text: Decision to Grant Registration

Patent event date: 20130206

GRNT Written decision to grant
PR0701 Registration of establishment

Comment text: Registration of Establishment

Patent event date: 20130218

Patent event code: PR07011E01D

PR1002 Payment of registration fee

Payment date: 20130218

End annual number: 3

Start annual number: 1

PG1601 Publication of registration
PR1001 Payment of annual fee

Payment date: 20151215

Start annual number: 4

End annual number: 4

FPAY Annual fee payment

Payment date: 20170120

Year of fee payment: 5

PR1001 Payment of annual fee

Payment date: 20170120

Start annual number: 5

End annual number: 5

FPAY Annual fee payment

Payment date: 20180102

Year of fee payment: 6

PR1001 Payment of annual fee

Payment date: 20180102

Start annual number: 6

End annual number: 6

FPAY Annual fee payment

Payment date: 20190102

Year of fee payment: 7

PR1001 Payment of annual fee

Payment date: 20190102

Start annual number: 7

End annual number: 7

FPAY Annual fee payment

Payment date: 20191223

Year of fee payment: 8

PR1001 Payment of annual fee

Payment date: 20191223

Start annual number: 8

End annual number: 8

PR1001 Payment of annual fee

Payment date: 20201228

Start annual number: 9

End annual number: 9

PR1001 Payment of annual fee

Payment date: 20220103

Start annual number: 10

End annual number: 10

PR1001 Payment of annual fee

Payment date: 20230102

Start annual number: 11

End annual number: 11

PR1001 Payment of annual fee

Payment date: 20241223

Start annual number: 13

End annual number: 13