KR100232103B1 - 쇼케이스 - Google Patents

쇼케이스 Download PDF

Info

Publication number
KR100232103B1
KR100232103B1 KR1019970074687A KR19970074687A KR100232103B1 KR 100232103 B1 KR100232103 B1 KR 100232103B1 KR 1019970074687 A KR1019970074687 A KR 1019970074687A KR 19970074687 A KR19970074687 A KR 19970074687A KR 100232103 B1 KR100232103 B1 KR 100232103B1
Authority
KR
South Korea
Prior art keywords
chamber
thermoelectric element
storage compartment
showcase
cold water
Prior art date
Legal status (The legal status is an assumption and is not a legal conclusion. Google has not performed a legal analysis and makes no representation as to the accuracy of the status listed.)
Expired - Fee Related
Application number
KR1019970074687A
Other languages
English (en)
Other versions
KR19990054810A (ko
Inventor
조경삼
Original Assignee
배길성
삼성광주전자주식회사
Priority date (The priority date is an assumption and is not a legal conclusion. Google has not performed a legal analysis and makes no representation as to the accuracy of the date listed.)
Filing date
Publication date
Application filed by 배길성, 삼성광주전자주식회사 filed Critical 배길성
Priority to KR1019970074687A priority Critical patent/KR100232103B1/ko
Publication of KR19990054810A publication Critical patent/KR19990054810A/ko
Application granted granted Critical
Publication of KR100232103B1 publication Critical patent/KR100232103B1/ko
Anticipated expiration legal-status Critical
Expired - Fee Related legal-status Critical Current

Links

Images

Classifications

    • AHUMAN NECESSITIES
    • A47FURNITURE; DOMESTIC ARTICLES OR APPLIANCES; COFFEE MILLS; SPICE MILLS; SUCTION CLEANERS IN GENERAL
    • A47FSPECIAL FURNITURE, FITTINGS, OR ACCESSORIES FOR SHOPS, STOREHOUSES, BARS, RESTAURANTS OR THE LIKE; PAYING COUNTERS
    • A47F3/00Show cases or show cabinets
    • A47F3/04Show cases or show cabinets air-conditioned, refrigerated

Landscapes

  • Physics & Mathematics (AREA)
  • Thermal Sciences (AREA)
  • Devices That Are Associated With Refrigeration Equipment (AREA)

Abstract

본 발명은 쇼케이스에 관한 것으로, 직접냉각방식에 의한 본 발명의 쇼케이스는, 밸브(110)가 장착된 급수관(120)을 통해 외부의 물이 공급되어 보관되도록 상기 저장실(101)과 계단모양의 격벽판넬(130)에 의해 구획형성된 소정크기의 챔버(103)와, 상기 저장실(101)에 보관되는 식품을 진열시키기 위해 상기 격벽판넬(130)에 설치되도록 된 계단모양의 선반(140)과, 상측부가 상기 챔버(105) 내에 위치되도록 상기 하체(200)에 설치되어 상기 챔버(105)로 공급된 물을 냉각시키도록 된 열전소자(210)와, 상기 열전소자(210)의 일측부에 설치되어 상기 열전소자(210)를 강제 공랭시키도록 된 송풍팬(220)과, 상기 챔버(105) 내에 설치됨은 물론 상기 열전소자(210)에 의해 냉각된 냉수(150)를 냉수공급관(165)을 이용해 상기 선반(140)으로 펌핑시키도록 된 펌프(160)로 이루어져 있다.
따라서, 상기 열전소자(210)에 의해 냉각된 냉수(150)를 이용하여 저장실(101)에 저장된 식품들이 직접 냉각되므로, 상기 식품의 신선도가 증대되도록 된 것이다.

Description

쇼케이스
본 발명은 식품등을 신선하게 저장 보관시키도록 된 쇼케이스에 관한 것으로, 특히 저장실에 저장된 식품이 냉수에 의한 직접냉각방식으로 냉각되어져, 식품의 신선도가 증대되도록 된 쇼케이스에 관한 것이다.
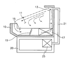
일반적으로, 평대형 냉동오픈 쇼케이스는 제1도에 도시된 바와 같이, 전체적인 외관을 형성하는 본체(10)의 하부에는 상기 본체(10)를 지지하도록 된 하체(20)가 결합되어 있다.
여기서, 상기 본체(10)에는 식품등을 저장 보관하도록 된 저장실(11)이 형성되어 있고, 상기 저장실(10)의 상측 내부에는 냉기가 토출되도록 토출구(13)가 형성되어 있음은 물론, 내부하측에는 소정크기의 챔버(15)가 형성되어 있다.
그리고, 상기 챔버(15)에는 주위의 열을 흡수하여 차가운 공기로 열교환시키도록 된 열교환기(17)가 설치되어 있고, 상기 열교환기(17)의 일측부에는 상기 열교환기(17)를 강제공랭시키도록 된 송풍팬(19)이 설치되어 있다.
또한, 상기 하체(20)의 내부에는, 덕트(21)를 통하여 상기 저장실(11)을 가습시키도록 된 가습기(25)가 설치되어 있다.
따라서, 전원스위치의 조작에 의해 전원이 인가되면, 열교환기(17)가 구동됨과 더불어 상기 열교환기(17)의 구동에 의해 차가워진 주위의 공기가 송풍팬(19)에 의해 토출구(13) 방향으로 토출되게 된다.
그리고, 상기 토출구(13)를 통해 저장실(11)로 토출된 차가운 공기는 저장실(11)에 보관된 식품을 냉각시키게 되고, 냉각이 끝나 다시 더운공기로 열교환된 공기는 상기 본체(10)내의 챔버(15)로 재유입됨과 더불어, 상기 열교환기(17)에 의해 다시 차가운 공기로 열교환되게 된다.
한편, 상기 하체(20)에 설치된 가습기(25)는, 상기 저장실(11)의 습도를 최적의 상태로 유지시키기 위해 구동되는 바, 상기 가습기(25)에서 생성된 수분은 덕트(21)를 통해 이동되어 상기 토출구(13)로 토출되는 차가운 공기와 더불어 상기 저장실(11)로 토출되게 된다.
그러나, 상기와 같은 종래의 냉동오픈 쇼케이스에 의하면, 저장실(11)에 저장된 식품이 열교환기(17)에 의한 간접냉각방식으로 냉각되어져, 가습기(25)를 이용하여 상기 저장실(11)을 가습시키더라도, 상기 저장실(11)이 최적의 상태로 가습되지 못함은 물론, 이로 인해 상기 저장실(11)에 저장된 식품의 신선도가 저하되는 문제점이 있었다.
또한, 종래와 같이 간접냉각방식으로 식품을 냉각시키게 되면, 냉매가 사용되는 열교환기(17)에 의해 환경이 오염되는 문제점도 있었다.
이에 본 발명은 상기와 같은 모든 문제점들을 해소하기 위해 안출된 것으로, 냉수를 이용하여 저장실에 저장된 식품을 직접냉각방식에 의해 냉각시킴으로써, 상기 저장실이 최적의 상태로 가습됨으로 인해 상기 저장실에 저장된 식품의 신선도가 증대됨은 물론, 열교환기를 사용하지 않아도 충분한 냉각이 이루어짐으로 인해 환경의 오염이 방지되도록 된 쇼케이스를 제공함에 그 목적이 있다.
상기와 같은 목적을 달성하기 위한 본 발명은, 외관상 저장실이 형성된 본체 및 상기 본체를 지지하도록 된 하체로 이루어져 상기 저장실에 보관된 식품을 신선하게 유지시키도록 된 쇼케이스에 있어서, 본 발명의 쇼케이스는, 밸브가 장착된 급수관을 통해 외부의 물이 공급되어 보관되도록 상기 저장실과 계단모양의 격벽판넬에 의해 구획형성된 소정크기의 챔버와, 상기 저장실에 보관되는 식품을 진열시키기 위해 상기 격벽판넬에 설치되도록 된 계단모양의 선반과, 상측부가 상기 챔버내에 위치되도록 상기 하체에 설치되어 상기 챔버로 공급된 물을 냉각시키도록 된 열전소자와, 상기 열전소자의 일측부에 설치되어 상기 열전소자를 강제공랭시키도록 된 송풍팬과, 상기 챔버내에 설치됨은 물론 상기 열전소자에 의해 내악된 냉수를 냉수공급관을 이용해 상기 선반으로 펌핑시키도록 된 펌프로 구성되어 있다.
제1도는 일반적으로 사용되는 냉동오픈 쇼케이스를 설명하기 위한 종단면도.
제2도는 본 발명에 따른 냉동오픈 쇼케이스를 설명하기 위한 종단면도이다.
* 도면의 주요부분에 대한 부호의 설명
100 : 본체 101 : 저장실
105 : 챔버 107 : 유입구
110 : 밸브 120 : 급수관
130 : 격벽판넬 140 : 선반
150 : 냉수 160 : 펌프
165 : 냉수공급관 200 : 하체
210 : 열전소자 220 : 송풍팬
이하 본 발명을 첨부된 예시도면에 의거 상세히 설명한다.
제2도는 본 발명에 따른 냉동오픈 쇼케이스를 설명하기 위한 종단면도로서, 본 발명의 쇼케이스는 제2도에 도시된 바와 같이, 밸브(110)가 장착된 급수간(120)을 통해 외부의 물이 공급되어 보관되도록 상기 저장실(101)과 계단모양의 격벽판넬(130)에 의해 구획형성된 소정크기의 챔버(103)와, 상기 저장실(101)에 보관되는 식품을 진열시키기 위해 상기 격벽판넬(130)에 설치되도록 된 계단모양의 선반(140)과, 상측부가 상기 챔버(105) 내에 위치되도록 상기 하체(200)에 설치되어 상기 챔버(105)로 공급된 물을 냉각시키도록 된 열전소자(210)와, 상기 열전소자(210)의 일측부에 설치되어 상기 열전소자(210)를 강제공랭시키도록 된 송풍팬(220)과, 상기 챔버(105) 내에 설치됨은 물론 상기 열전소자(210)에 의해 냉각된 냉수(150)를 냉수공급관(165)을 이용해 상기 선반(140)으로 펌핑시키도록 된 펌프(160)로 이루어져 있다.
여기서, 상기 저장실(101)과 상기 챔버(105)는 일측부에 형성된 유입구(107)에 의해 연결되도록 되어 있다.
이하, 본 발명에 따른 쇼케이스의 작동상태에 대해 제2도를 참조로 상세히 설명한다.
먼저, 쇼케이스의 관리자는 밸브(110)를 개방하여 급수관(120)을 통해 본체(100)내의 챔버(105)로 외부의 물을 공급한다. 이후, 전원스위치의 조작에 의해 상기 본체(100)로 전원이 인가되면, 열전소자(210)가 구동되며 이로인해 상기 챔버(105)로 공급된 외부의 물은 차갑게 냉각되게 된다.
이때, 송풍팬(220)은 상기 열전소자(210)를 강제공랭시켜, 상기 열전소자(210)의 과열을 방지하게 된다. 그리고, 상기 챔버(105) 내에 물이 차가운 냉수로 열교환되면, 일정시간 경과 후 펌프(160)가 구동되게 되며, 상기 펌프(160)의 펌핑작동에 의해 상기 챔버(105)내의 냉수는 냉수공급관(165) 통해 저장실(101)의 선반(140)으로 토출되게 된다.
또한, 상기 선반(140)으로 토출된 상기 냉수(150)는, 계단모양의 선반(140)을 따라 그 흐름이 이동되면서 상기 선반(140)에 진열된 식품들을 냉각시키게 된다.
그리고, 상기 냉수(150)가 최하단의 선반(140)까지 이동되어 식품의 냉각이 끝나게 되면 점차적으로 온수로 열교환되게 되고, 열교환된 온수는 유입구(107)를 통해 상기 챔버(105)로 재유입됨과 더불어, 상기 열전소사(210)에 의해 다시 차가운 냉수로 열교환되어 전술한 싸이클을 반복수행하게 된다.
따라서, 제2도에 도시된 바와 같이 냉수(150)를 이용해 저장실(101)에 저장된 식품들을 직접 냉각시키도록 된 본 발명의 쇼케이스는, 제1도에 도시된 바와 같이 열교환기(17)에 의해 열교환된 차가운 공기를 이용해 저장실(11)의 식품을 냉각시키도록 된 종래의 쇼케이스보다, 식품의 신선도가 증대되게 된다.
이상 설명한 바와 같이 본 발명의 쇼케이스는, 열전소자에 의해 내악된 냉수를 이용하여 저장실에 저장된 식품들을 직접냉각시키도록 되어 있어, 열교환기를 사용하여 식품을 냉각시키도록 된 간접냉각 쇼케이스보다 식품의 신선도가 증대될 뿐만 아니라, 이로 인해 상품성이 증진되는 효과가 있다.

Claims (1)

  1. 저장실이 형성된 본체 및 상기 본체를 지지하도록 된 하체로 이루어져 상기 저장실에 보관된 식품을 신선하게 유지시키도록 된 쇼케이스에 있어서, 밸브가 장착된 급수관을 통해 외부의 물이 공급되어 보관되도록 상기 저장실과 계단모양의 격벽판넬에 의해 구획형성된 소정크기의 챔버와, 상기 저장실에 보관되는 식품을 진열시키기 위해 상기 격벽판넬에 설치되도록 된 계단모양의 선반과, 상측부가 상기 챔버내에 위치되도록 상기 하체에 설치되어 상기 챔버로 공급된 물을 냉각시키도록 된 열전소자와, 상기 열전소자의 일측부에 설치되어 상기 열전소자를 강제공랭시키도록 된 송풍팬과, 상기 챔버내에 설치됨은 물론 상기 열전소자에 의해 내악된 냉수를 냉수공급관을 이용해 상기 선반으로 펌핑시키도록 된 펌프로 이루어진 것을 특징으로 하는 쇼케이스.
KR1019970074687A 1997-12-26 1997-12-26 쇼케이스 Expired - Fee Related KR100232103B1 (ko)

Priority Applications (1)

Application Number Priority Date Filing Date Title
KR1019970074687A KR100232103B1 (ko) 1997-12-26 1997-12-26 쇼케이스

Applications Claiming Priority (1)

Application Number Priority Date Filing Date Title
KR1019970074687A KR100232103B1 (ko) 1997-12-26 1997-12-26 쇼케이스

Publications (2)

Publication Number Publication Date
KR19990054810A KR19990054810A (ko) 1999-07-15
KR100232103B1 true KR100232103B1 (ko) 1999-12-01

Family

ID=19528840

Family Applications (1)

Application Number Title Priority Date Filing Date
KR1019970074687A Expired - Fee Related KR100232103B1 (ko) 1997-12-26 1997-12-26 쇼케이스

Country Status (1)

Country Link
KR (1) KR100232103B1 (ko)

Cited By (1)

* Cited by examiner, † Cited by third party
Publication number Priority date Publication date Assignee Title
WO2009070155A1 (en) * 2007-11-27 2009-06-04 Carrier Commercial Refrigeration, Inc. Refrigerated shelf

Families Citing this family (3)

* Cited by examiner, † Cited by third party
Publication number Priority date Publication date Assignee Title
KR100526954B1 (ko) * 2002-08-21 2005-11-08 유영실 냉가습이 연속적으로 공급되는 저장용기장치
KR101018431B1 (ko) * 2008-08-13 2011-03-02 김영준 가습기능을 구비한 냉난방 시스템
KR101027818B1 (ko) * 2008-09-12 2011-04-07 문인술 김치임시저장대

Cited By (1)

* Cited by examiner, † Cited by third party
Publication number Priority date Publication date Assignee Title
WO2009070155A1 (en) * 2007-11-27 2009-06-04 Carrier Commercial Refrigeration, Inc. Refrigerated shelf

Also Published As

Publication number Publication date
KR19990054810A (ko) 1999-07-15

Similar Documents

Publication Publication Date Title
KR100232103B1 (ko) 쇼케이스
JPH10332248A (ja) 冷蔵庫
JP7522963B2 (ja) 冷蔵庫
KR100487317B1 (ko) 직냉식 냉장고
JPH0233950B2 (ko)
KR0141798B1 (ko) 중앙에 증발기를 구비한 냉장고
KR100271584B1 (ko) 세미간냉및쾌속제상냉장고
KR100201273B1 (ko) 쇼케이스
JP2620664B2 (ja) 冷却貯蔵庫
KR20000033353A (ko) 냉장고 기계실의 공기 유로구조
JPH074458Y2 (ja) 冷蔵ショーケース
KR970004266Y1 (ko) 쇼우케이스의 냉기누설 방지장치
JP2614558B2 (ja) 冷却貯蔵庫
KR100339650B1 (ko) 냉장고용 냉기 순환 시스템
KR200280728Y1 (ko) 냉, 온장용 탑차의 히팅장치
JPH07318217A (ja) 冷却貯蔵庫
KR200264516Y1 (ko) 냉장고의 냉동실 루버
KR100370008B1 (ko) 냉장고의 냉기순환 구조
JPH0674630A (ja) 冷却貯蔵庫
JPS6244295Y2 (ko)
JPH03267672A (ja) 冷蔵庫
JPH0618172Y2 (ja) 低温保存装置
JPH063338B2 (ja) 冷凍・冷蔵オープンショーケースを備えた店舗構造
KR0136588Y1 (ko) 냉장고 냉동실의 단열구조
KR0115187Y1 (ko) 냉 · 온장겸용 쇼케이스의 열풍공급장치

Legal Events

Date Code Title Description
A201 Request for examination
PA0109 Patent application

St.27 status event code: A-0-1-A10-A12-nap-PA0109

PA0201 Request for examination

St.27 status event code: A-1-2-D10-D11-exm-PA0201

R17-X000 Change to representative recorded

St.27 status event code: A-3-3-R10-R17-oth-X000

R17-X000 Change to representative recorded

St.27 status event code: A-3-3-R10-R17-oth-X000

PN2301 Change of applicant

St.27 status event code: A-3-3-R10-R13-asn-PN2301

St.27 status event code: A-3-3-R10-R11-asn-PN2301

PN2301 Change of applicant

St.27 status event code: A-3-3-R10-R13-asn-PN2301

St.27 status event code: A-3-3-R10-R11-asn-PN2301

PN2301 Change of applicant

St.27 status event code: A-3-3-R10-R13-asn-PN2301

St.27 status event code: A-3-3-R10-R11-asn-PN2301

PG1501 Laying open of application

St.27 status event code: A-1-1-Q10-Q12-nap-PG1501

E701 Decision to grant or registration of patent right
PE0701 Decision of registration

St.27 status event code: A-1-2-D10-D22-exm-PE0701

GRNT Written decision to grant
PR0701 Registration of establishment

St.27 status event code: A-2-4-F10-F11-exm-PR0701

PR1002 Payment of registration fee

St.27 status event code: A-2-2-U10-U11-oth-PR1002

Fee payment year number: 1

PN2301 Change of applicant

St.27 status event code: A-5-5-R10-R13-asn-PN2301

St.27 status event code: A-5-5-R10-R11-asn-PN2301

PG1601 Publication of registration

St.27 status event code: A-4-4-Q10-Q13-nap-PG1601

R17-X000 Change to representative recorded

St.27 status event code: A-5-5-R10-R17-oth-X000

PN2301 Change of applicant

St.27 status event code: A-5-5-R10-R13-asn-PN2301

St.27 status event code: A-5-5-R10-R11-asn-PN2301

PN2301 Change of applicant

St.27 status event code: A-5-5-R10-R13-asn-PN2301

St.27 status event code: A-5-5-R10-R11-asn-PN2301

LAPS Lapse due to unpaid annual fee
PC1903 Unpaid annual fee

St.27 status event code: A-4-4-U10-U13-oth-PC1903

Not in force date: 20020903

Payment event data comment text: Termination Category : DEFAULT_OF_REGISTRATION_FEE

PC1903 Unpaid annual fee

St.27 status event code: N-4-6-H10-H13-oth-PC1903

Ip right cessation event data comment text: Termination Category : DEFAULT_OF_REGISTRATION_FEE

Not in force date: 20020903