JP7659900B2 - クランプ装置およびヘミング装置 - Google Patents

クランプ装置およびヘミング装置 Download PDF

Info

Publication number
JP7659900B2
JP7659900B2 JP2022089268A JP2022089268A JP7659900B2 JP 7659900 B2 JP7659900 B2 JP 7659900B2 JP 2022089268 A JP2022089268 A JP 2022089268A JP 2022089268 A JP2022089268 A JP 2022089268A JP 7659900 B2 JP7659900 B2 JP 7659900B2
Authority
JP
Japan
Prior art keywords
support member
clamp arm
rotating lever
connecting member
workpiece
Prior art date
Legal status (The legal status is an assumption and is not a legal conclusion. Google has not performed a legal analysis and makes no representation as to the accuracy of the status listed.)
Active
Application number
JP2022089268A
Other languages
English (en)
Other versions
JP2023176788A (ja
Inventor
丈晴 岡
和也 東
Original Assignee
トライエンジニアリング株式会社
Priority date (The priority date is an assumption and is not a legal conclusion. Google has not performed a legal analysis and makes no representation as to the accuracy of the date listed.)
Filing date
Publication date
Application filed by トライエンジニアリング株式会社 filed Critical トライエンジニアリング株式会社
Priority to JP2022089268A priority Critical patent/JP7659900B2/ja
Publication of JP2023176788A publication Critical patent/JP2023176788A/ja
Application granted granted Critical
Publication of JP7659900B2 publication Critical patent/JP7659900B2/ja
Active legal-status Critical Current
Anticipated expiration legal-status Critical

Links

Images

Landscapes

  • Jigs For Machine Tools (AREA)

Description

本発明は、ワークを下型の上に載せてヘム加工するときに、ワークに対してクランプアームを上側から押し付けることにより、ワークを下型に固定するクランプ装置、および、クランプ装置を備えるヘミング装置に関する。
従来から、上記のようなクランプ装置では、エアシリンダが発生する駆動力によりクランプアームを、ワークの上側に回り込ませるとともに、ワークに対して上側から押し付ける構成が周知となっており、例えば、ローラ式のヘミング装置に用いられている(例えば、特許文献1、2参照。)、以下、クランプアームをワークの上側に回り込ませる動作を「振り込み動作」と呼ぶことがある。また、クランプアームをワークに対して上側から押し付ける動作を「クランプ動作」と呼ぶことがある。
また、特許文献2では、エアシリンダのロッドからクランプアームに至る駆動力の伝達経路において、ピンと長孔との篏合構造(変位連結部)を設けることにより、クランプアームの振り込み動作と、クランプアームのクランプ動作とを分離している。このため、特許文献2のクランプ装置によれば、ロボットハンドの干渉領域外へクランプアームを容易に移動させることができるので、ワークに対する加工をより効率化することができるとともに、加工後の品質を高めることができる。
しかし、更なる効率化を考えてクランプ動作を迅速化しようとすると、次のような問題がある。すなわち、エアシリンダの駆動力は、高圧の圧力空気であるから、クランプ動作を更に迅速化しようとすると、圧力空気をさらに高圧化する必要がある。この結果、圧力空気の高圧化に伴って、クランプ動作によるワークへの衝撃が大きくなり、ワークを傷付ける恐れが高まる。また、圧力空気はコンプレッサにより作り出されており、エネルギー的にも問題視されるようになっている。
特開平5-023763号公報 特開平8-197149号公報
本開示は、上記の問題点を解決するためになされたものであり、その目的は、クランプ装置において、エアシリンダを駆動源とすることに起因する問題を解消することにある。
本開示のクランプ装置は、ワークを下型の上に載せてヘム加工するときに、ワークに対してクランプアームを上側から押し付けることにより、ワークを下型に固定する。
また、クランプ装置は、次の駆動部、連結部材、支持部材および圧縮バネを備える。
まず、駆動部は、電動式であって、次の回転レバーを有する。すなわち、回転レバーは、電動モータの出力により回転駆動されてクランプアームに回転力を伝えるものである。そして、駆動部は、回転レバーを回転中心軸の周囲の一方側に回転駆動することにより、クランプアームによってワークを下型に固定させる。
次に、連結部材は、回転レバーとクランプアームとを連結するものであり、支持部材は、連結部材とクランプアームとを回転自在に支持するものである。また、圧縮バネは、回転レバーと支持部材との間に組み付けられ、回転レバーの一方側への回転により、一方側に公転しながら、支持部材を一方側に公転させる。
そして、回転レバーは、支持部材が拘束されて一方側への公転が規制された状態で、一方側に回転駆動されると、圧縮バネを圧縮しつつ、連結部材を支持部材に対して回転させ、さらに、連結部材の回転に伴って、クランプアームを支持部材に対して回転させる。
これにより、クランプ装置において、エアシリンダを駆動源とすることに起因する問題を解消する、という課題を潜在的に解決することができる。
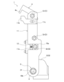
ヘミング装置の要部構成図である。 クランプ装置の側面図である。 クランプ装置の正面図である。 回転角が0°のクランプ装置を示す状態図である。 回転角が拘束角θcのクランプ装置を示す状態図である。 クランプ動作後のクランプ装置を示す状態図である。 連結部材とクランプアームとの連結構造を示す説明図である。 連結部材と回転レバーとの連結構造を示す説明図である。
実施形態のクランプ装置およびヘミング装置を、以下の実施例に基づき説明する。
〔実施例の構成〕
実施例のクランプ装置1の構成を、図面を用いて説明する。
クランプ装置1は、ワーク2を下型3の上に載せてヘム加工するときに、ワーク2に対してクランプアーム4を上側から押し付けることにより、ワーク2を下型3に固定するものであり、例えば、ローラ式のヘミング装置5に用いられている。
ここで、ローラ式のヘミング装置5は、例えば、多関節のロボット6の先端にマニピュレータとしてヘムローラ7を具備するものであり(図1等参照。)、ヘムローラ7を所定の軌跡に沿って移動させることで、ワーク2の被加工部位を折り曲げていく。
また、ワーク2は、例えば、アウタパネル2oとインナパネル2iとからなる車両のドアパネルであり、アウタパネル2oの周縁は、予め別の加工によりほぼ直角に折り曲げられている。
そして、折り曲げられた周縁の内側に沿ってインナパネル2iの周縁を重ね合わせたものがワーク2として、下型3に載せられてクランプ装置1により固定される。さらに、直角に折れ曲がったアウタパネル2oの周縁が、被加工部位としてヘムローラ7によって折り曲げられていく。
このようなローラ式のヘミング装置5において、クランプ装置1は下型3の周縁に沿って複数箇所に、適宜、間隔をおいて配置されており、それぞれのクランプ装置1は互いに同じ構成である。
続いて、主に、クランプ装置1について詳述する(図2~図6等参照。)。
クランプ装置1は、以下に説明する駆動部9、連結部材10、支持部材11および圧縮バネ12を備える。また、ヘミング装置5は、クランプ装置1とともに、以下に説明する拘束部13を備える。
以下、駆動部9、連結部材10、支持部材11、圧縮バネ12および拘束部13を、順次、説明する。
まず、駆動部9は、電動式であり、次の駆動装置15および回転レバー16を有する。以下、駆動装置15および回転レバー16を、順次、説明する。
まず、駆動装置15は、減速機および電動モータを内蔵する周知の構成であり、下型3に取り付けられた台座17に搭載されている。そして、後記するように電動モータの出力により、クランプアーム4を上側からワーク2に対して押し付けることで、ワーク2を下型3に固定する。
ここで、クランプアーム4とは、ワーク2に直接当接する部品であり、例えば、扁平なV字状に設けられており、一方の端に、ワーク2に当接する部位としての当接端4aが、V字の内側に向かって突き出ている。また、クランプアーム4は、ワーク2を下型3に固定しているときには、直角に折れ曲がったアウタパネル2oの周縁を跨いでインナパネル2iの周縁の上側に突き出ており、当接端4aは、インナパネル2iの周縁に上側から当接している。なお、クランプアーム4は、長手方向の他方の端部において、連結部材10との間に連結構造Aを構成している。
また、台座17は、例えば、L字型に設けられており、下型3やロボット6を載せる基準面と平行な水平部17hと、水平部17hに垂直であって鉛直方向に平行な鉛直部17vとを有する。そして、駆動装置15は、自身の出力軸が水平方向と平行になるように水平部17hに搭載されている。
なお、駆動装置15の電動モータは、例えば、低速回転で大きなトルクを発生することができる扁平な永久磁石型同期モータである。
次に、回転レバー16は、駆動装置15の出力、つまり、電動モータの出力により回転駆動されてクランプアーム4に回転力を伝えるものである(以下、回転レバー16の回転中心となる軸を回転中心軸Xと呼ぶことがある。)。そして、駆動部9は、電動モータの出力により 回転レバー16を回転中心軸Xの周囲を回る方向の一方側に回転駆動することで、クランプアーム4によりワーク2を下型3に固定させる(以下、回転中心軸Xの周囲を回る方向を周方向と呼ぶことがある。)。なお、回転中心軸Xは、例えば、駆動装置15の出力軸と同軸であり、電動モータの回転軸と平行である。
ここで、回転レバー16の回転角を、例えば、次のように定義する。
まず、周方向の一方側を、回転レバー16が図4~図6において反時計側に回転するときに向かう側、つまり、クランプアーム4がワーク2に近づいていく側と定義する。そして、回転角は、回転レバー16が回転中心軸Xの周囲に周方向の一方側に向かうときに、正側に増加するものと定義する。
また、回転レバー16は、回転中心軸Xの方向に関して駆動装置15を両外側から挟み込むように、2つ、配置されている(図3等参照。)。ここで、2つの回転レバー16は、同一形状であり、両方とも側面視で幅広、かつ、長い板状体である。そして、2つの回転レバー16は、両方とも、長手方向の一方の端部において、連結部材10との間に連結構造Bを構成し、他方の端部において、駆動装置15の出力軸に固定されている。なお、駆動装置15の出力軸に固定される他方の端部は、他の部分よりも幅広になっている(図4~図6等参照。)。
次に、連結部材10は、回転レバー16とクランプアーム4とを連結するものである。ここで、連結部材10は、柱状体であり(図3等参照。)、長手方向の一方の端部、他方の端部において、それぞれ上記の連結構造A、Bを構成する。
より具体的には、連結部材10の一方の端部は、スリットが設けられて2つの端部10aに分かれており、スリットに、クランプアーム4の他方の端部が嵌って2つの端部10aに挟まれている(図3等参照。)。
そして、それぞれの端部10aにおいて、クランプアーム4の他方の端部との間に連結構造Aを形成している。ここで、連結構造Aは、例えば、次のような構造である。
すなわち、連結構造Aは、以下の丸穴A1、長孔A2および軸芯棒Arを有する(図4~図7等参照。)。
まず、丸穴A1は、それぞれの端部10aに設けられた円形の穴であり、それぞれの端部10aを回転軸Xの方向に貫通する。
また、長孔A2は、クランプアーム4の他方の端部に設けられ、クランプアーム4の他方の端部を回転軸Xの方向に貫通する。また、長孔A2は、丸穴A1の径Daと同じ幅を有し、さらに、この幅と垂直な方向に径Daよりも長い長さLaを有し、長さ方向の両端が、例えば、丸穴A1と同径の半円である。
さらに、軸芯棒Arは、丸穴A1と同径の円柱状の棒体であり、回転軸Xの方向を指向するように組み付けられ、2つの丸穴A1および長孔A2の両方を貫通する。
これにより、連結部材10とクランプアーム4とは、互いに、相対的に回転可能であり、かつ、長孔A2の長さ方向に相対的に直線移動可能である。
また、連結構造Aにおける長さLaと径Daとの比率、つまり、La/Daは、関係式(1):1.0<La/Da<2.0を満たすように設定され、好ましくは、関係式(2):1.0<La/Da<1.5を満たすように設定され、より好ましくは、関係式(3):1.0<La/Da<1.1を満たすように設定される。
なお、La/Daは、後記する軸支構造C、D間の距離に応じて設定される。すなわち、軸支構造C、D間の距離が小さいほど、La/Daは、大きく設定する必要があり、逆に、軸支構造C、D間の距離が大きいほど、La/Daは、小さく設定することが可能になる。
また、連結部材10の他方の端部は、上記のように、2つの回転レバー16それぞれの一方の端部により挟まれて(図3等参照。)、それぞれの回転レバー16との間に連結構造Bを形成している。ここで、連結構造Bは、例えば、次のような構造である。
すなわち、連結構造Bは、以下の丸穴B1、長孔B2および軸芯棒Brを有する(図1、図2、図4~図6、図8等参照。)。
まず、丸穴B1は、連結部材10の他方の端部に設けられた円形の穴であり、連結部材10の他方の端部を回転軸Xの方向に貫通する。
また、長孔B2は、それぞれの回転レバー16の一方の端部に設けられ、それぞれの端部10aを回転軸Xの方向に貫通する。また、長孔B2は、丸穴B1の径Dbと同じ幅を有し、さらに、この幅と垂直な方向に径Dbよりも長い長さLbを有し、長さ方向の両端が、例えば、丸穴B1と同径の半円である。
さらに、軸芯棒Brは、丸穴B1と同径の円柱状の棒体であり、回転軸Xの方向を指向するように組み付けられ、丸穴B1および2つの長孔B2の両方を貫通する。
これにより、連結部材10と2つの回転レバー16とは、互いに、相対的に回転可能であり、かつ、長孔B2の長さ方向に相対的に直線移動可能である。
また、連結構造Bにおける長さLbと径Dbとの比率、つまり、Lb/Dbは、関係式(4):1.0<Lb/Db<2.0を満たすように設定され、好ましくは、関係式(5):1.0<Lb/Db<1.5を満たすように設定され、より好ましくは、関係式(6):1.0<Lb/Db<1.1を満たすように設定される。
なお、Lb/Dbは、後記する軸支構造Dと軸受構造Eとの間の距離に応じて設定される。すなわち、軸支構造Dと軸受構造Eとの間の距離が小さいほど、Lb/Dbは、大きく設定する必要があり、逆に、軸支構造Dと軸受構造Eとの間の距離が大きいほど、Lb/Dbは、小さく設定することが可能になる。
また、2つの回転レバー16それぞれの一方の端部の両外側には、それぞれ、後記するスライド部16aが固定され(図2、図4~図6等参照)、軸芯棒Brは、両端それぞれがスライド部16aに固定されている。
次に、支持部材11は、連結部材10とクランプアーム4とを回転自在に支持するものであり、2つ、装備されている(図3等参照。)。また、2つの支持部材11は、両方とも幅広、かつ、長い板状体であり、同一形状である。さらに、2つの支持部材11は、クランプアーム4、連結部材10および駆動部9を回転中心軸Xの方向に関して両外側から挟み込むように、組み付けられている。
そして、2つの支持部材11それぞれの一方の端部において、クランプアーム4との間に軸支構造Cを形成してクランプアーム4を回転自在に支持している。ここで、軸支構造Cは、例えば、次のような構造である。
すなわち、クランプアーム4において、中央のV字の底の部分に丸穴が設けられ、また、支持部材11それぞれの一方の端部にも、クランプアーム4の丸穴と同径の丸穴が設けられている。そして、クランプアーム4、支持部材11それぞれの丸穴にブッシュが装着され、1つの軸芯棒Crが(図1、図2、図4~図6等参照。)、これらの丸穴を貫通するように組付けられている。
なお、クランプアーム4の中央とそれぞれの支持部材11の一方の端部との間にはカラー19が配置され(図3等参照。)、軸芯棒Crは、カラー19を回転中心軸Xの方向に貫通している。
以上により、クランプアーム4は支持部材11に対して回転自在になっている。
なお、軸支構造Cにおけるクランプアーム4の軸芯棒Crの周囲の回転の方向に関し、回転レバー16の回転の方向と同様に定義する。具体的には、図4~図6において反時計側に回転するときに一方側に回転する、と定義する。
また、2つの支持部材11それぞれの長手方向の中央付近において、連結部材10との間に軸支構造Dを形成して連結部材10を回転自在に支持している。ここで、軸支構造Dは、例えば、次のような構造である。
すなわち、連結部材10の中央付近に丸穴が設けられ、また、支持部材11それぞれの中央付近にも、連結部材10の丸穴と同径の丸穴が設けられている。そして、連結部材10、支持部材11それぞれの丸穴にブッシュが装着され、1つの軸芯棒Drが(図1、図2、図4~図6等参照。)、これら丸穴を貫通するように組付けられている。
なお、連結部材10の中央付近とそれぞれの支持部材11の中央付近との間にもカラー19が配置され(図3等参照。)、軸芯棒Drは、カラー19を回転中心軸Xの方向に貫通している。また、軸支構造Dは、連結部材10において長手方向に関して連結構造A、Bにより挟まれている(図3~図6等参照。)。
以上により、連結部材10は支持部材11に対して回転自在になっている。
なお、軸支構造Dにおける連結部材10の軸芯棒Drの周囲の回転の方向に関し、回転レバー16の回転の方向と同様に定義する。具体的には、図4~図6において反時計側に回転するときに一方側に回転する、と定義する。
さらに、回転レバー16と支持部材11との間には、回転レバー16と支持部材11との相対回転を支持する軸受構造Eが設けられている。軸受構造Eは、例えば、次のような構造である。
すなわち、それぞれの回転レバー16には、駆動装置15の出力軸と同軸の支軸16bが設けられ、2つの回転レバー16は、それぞれの支軸16bが2つの回転レバー16の外側に突き出るように組み付けられている(図3等参照。)。そして、2つの支持部材11それぞれの他方の端部に丸穴が設けられてブッシュ21が装着され、ブッシュ21によって支軸16bが回転自在に支持されている(図1、図2、図4~図6等参照。)。このため、回転レバー16と支持部材11とは、回転中心軸Xの周囲に互い相対回転することができる。
次に、圧縮バネ12は、回転レバー16と支持部材11との間に組み付けられたコイルスプリングである。
ここで、それぞれの支持部材11には、連結構造Bが存在する付近に、自身の幅方向に長いスリット11aが貫通している(図1、図2、図4~図6等参照。)。なお、支持部材11の幅方向は周方向に略一致している。そして、スリット11aに上記のスライド部16aが幅方向に移動することができるように嵌っている。そして、圧縮バネ12は、支持部材11の幅方向、つまり、周方向を指向するように、スリット11aの壁とスライド部16aとの間に組み付けられている。
また、圧縮バネ12は、回転レバー16の周方向の一方側への回転により、回転中心軸Xの周囲に周方向の一方側へ公転しながら、支持部材11を周方向の一方側に回転させる。すなわち、圧縮バネ12は、スリット11aの幅方向両端の壁の内、一方側の壁とスライド部16aとの間に組み付けられている(図1、図2、図4~図6等参照。)。そして、このような組み付けにより、回転レバー16が周方向の一方側へ回転することにより、スライド部16aは圧縮バネ12を周方向の一方側に押し、さらに、圧縮バネ12は、スリット11aの一方側の壁を一方側に押すことで支持部材11を周方向の一方側に回転させる。
次に、拘束部13は、回転レバー16が周方向の一方側に回転して特定の回転角に到達したときに支持部材11を拘束する。
拘束部13は、例えば、台座17の鉛直部17vであり、支持部材11は、鉛直部17vに突き当たることで、周方向の一方側への回転が規制されて拘束される(図5、図6等参照。)。
また、一方の支持部材11には、次のワーク支持部11bが固定されている。すなわち、ワーク支持部11bは、支持部材11が拘束部13により拘束された状態で、ワーク2を下型3の外側から支持する部位であり(図5、図6等参照。)、より具体的には、アウタパネル2oの内、ほぼ直角に折れ曲がった周縁に外側から突き当たることで、ワーク2を外側から支持する。
なお、支持部材11には、ワーク支持部11bが嵌りながら直線的に移動することができるスライド溝11cが設けられ(図1、図2、図4~図6等参照。)、スライド溝11cの底にはネジ穴が設けられている。また、ワーク支持部11bには、スライド溝11cに嵌った状態でスライド溝11cに平行となる長孔が貫通している。このため、支持部材11とワーク支持部11bとを、ワーク支持部11bの長孔とスライド溝11bのネジ穴とが連通する状態で、例えば、頭部付きのネジを用いて締結することで、相互に固定させることができる。
さらに、ワーク支持部11bの長孔とスライド溝11bのネジ穴とが連通可能な範囲で、ワーク支持部11bをスライド溝11bに嵌めた状態で相対移動させて、支持部材11とワーク支持部11bとを固定することができる。このため、ワーク支持部11bの支持部材11に対する突き出し量を調節することができるので、ワーク2の下型3に対する相対的な位置に応じて、ワーク2をワーク支持部11bにより確実に支持することができる。
ここで、回転レバー16の回転角に関し、さらに、次のように定義する。すなわち、クランプアーム4の当接端4aが、回転中心軸Xの周囲において最もワーク2から離れた角度を回転角0°と定義する(図4等参照。)。さらに、支持部材11が拘束部13により拘束される角度を拘束角θc(>0)とする(図5、図6等参照。)。
また、拘束部13は、回転レバー16が圧縮バネ12を圧縮しながら拘束角θcを超えて一方側に回転するのを許容しつつ、支持部材11を拘束し続ける(図5、図6等参照。)。
すなわち、回転レバー16が拘束角θcに向かって一方側に回転している間、圧縮バネ12は、上記のように、スリット11aの一方側の壁を一方側に押すことで、自身の長さを変えることなく、支持部材11を周方向の一方側に回転させている。なお、回転レバー16が拘束角θcに向かって一方側に回転している間、クランプアーム4、回転レバー16、連結部材10および支持部材11は、互いに相対配置を変えることなく、回転する。
やがて、回転レバー16が拘束角θcに到達すると、支持部材11が拘束部13(鉛直部17v)に拘束されて一方側に回転することができなくなる。この状態で、さらに、回転レバー16を一方側に回転駆動すると、スライド部16aは、圧縮バネ12の他方端を押して圧縮バネ12を圧縮しながら、スリット11a内を一方側に移動していく。つまり、回転レバー16は、拘束角θcに到達した後も、支持部材11の拘束に関わりなく、さらに一方側に回転し続けて圧縮バネ12を圧縮する。
そして、支持部材11が拘束されている状態で回転レバー16が一方側に回転することにより、連結部材10は、軸支構造Dの軸芯棒Drの周囲に他方側に回転し、クランプアーム4は、軸支構造Cの軸芯棒Crの周囲に一方側に回転する。このとき、連結構造Aでは、軸芯棒Arがクランプアーム4に設けた長孔内を他方側に移動し、連結構造Bでは、軸芯棒Brが回転レバー16に設けた長孔内を一方側に移動する。
以上により、クランプ装置1によれば、クランプアーム4は、回転レバー16が回転角0°の位置から拘束角θcの位置に回転するまで、回転中心軸Xの周囲を大きく公転してワーク2の上側に回り込む(図4、図5等参照。)。さらに、クランプアーム4は、回転レバー16が拘束角θcを超えて一方側に回転することにより、軸芯棒Crの周囲を一方側に回転して当接端4aをワーク2に対して上側から押し付ける(図5、図6等参照。)。
〔実施例の効果〕
実施例のクランプ装置1は、ワーク2を下型3の上に載せてヘム加工するときに、ワーク2に対してクランプアーム4を上側から押し付けることにより、ワーク2を下型3に固定する。
また、クランプ装置1は、次の駆動部9、連結部材10、支持部材11および圧縮バネ12を備える。
まず、駆動部9は、電動式であって、次の回転レバー16を有する。すなわち、回転レバー16は、電動モータの出力により回転駆動されてクランプアーム4に回転力を伝えるものである。そして、駆動部9は、回転レバー16を回転中心軸Xの周囲の一方側に回転駆動することにより、クランプアーム4によってワーク2を下型3に固定させる。
次に、連結部材10は、回転レバー16とクランプアーム4とを連結するものであり、支持部材11は、連結部材10とクランプアーム4とを回転自在に支持するものである。また、圧縮バネ12は、回転レバー16と支持部材11との間に組み付けられ、回転レバー16の一方側への回転により、一方側に公転しながら、支持部材11を一方側に公転させる。
これにより、クランプ装置1において、駆動部9として、電動モータの出力を利用する態様を採用することで、エアシリンダを駆動源とすることに起因する問題、例えば、クランプ動作の迅速化に伴うワーク2の傷付けを解消することができる。
また、回転レバー16と支持部材11との間に圧縮バネ12を組み付けることで、クランプアーム4の動作を変化させることができる。
すなわち、支持部材11を拘束しないで回転レバー16を回転させると、回転レバー16は、圧縮バネ12をさほど圧縮することなく、支持部材11を自身の回転に同期するように回転中心軸Xの周囲を回転させる。このため、クランプアーム4は支持部材11に対して位置を変えることなく、回転中心軸Xの周囲を一方側に公転する。
これに対し、支持部材11を拘束して回転レバー16を回転させると、回転レバー16は、圧縮バネ12を圧縮しながら、連結部材10を支持部材12に対して軸芯棒Drの周囲に他方側に回転させる。これに伴い、連結部材10は、クランプアーム4を支持部材12に対して軸芯棒Crの周囲に一方側に回転させる。このため、クランプアーム4は支持部材11に対して、軸芯棒Crの周囲を一方側に回転する。
以上により、支持部材11を拘束しない状態と拘束した状態とで、クランプアーム4の動作を異ならせることができる。すなわち、支持部材11を拘束しない状態で回転レバー16を一方側に回転させると、クランプアーム4は、回転中心軸Xの周囲を一方側に公転する。また、支持部材11を拘束した状態で回転レバー16を一方側に回転させると、クランプアーム4は、軸芯棒Crの周囲を一方側に回転する。
そこで、クランプアーム4の動作に関し、クランプアーム4が回転中心軸Xの周囲を公転する動作を振り込み動作に割り当て、クランプアーム4が軸芯棒Crの周囲を回転する動作をクランプ動作に割り当てることで、振り込み動作とクランプ動作とを分離することができる。また、回転レバー16の回転角に関し、振り込み動作に対応する範囲を大きくとることで、クランプアーム4をロボット6との干渉領域の外へ容易に移動させることができる。
このため、ワーク2に対する加工をより効率化することができるとともに、加工後の品質を高めることができる。
さらに、振り込み動作では、回転レバー16のモーメントが、直線的な力に変換されることなく、圧縮ばね12および支持部材11を経由してクランプアーム4に伝わる。また、クランプ動作でも、回転レバー16のモーメントが、さほど、直線的な力に変換されることなく、連結部材10を経由してクランプアーム4に伝わる。このため、クランプ装置1によれば、駆動装置15における電動モータのトルクを、直線的な力にさほど変換することなく、クランプアーム4に伝えることができる。
また、実施例のクランプ装置1によれば、回転レバー16と支持部材11との間に、回転レバー16と支持部材11との相対回転を支持する軸受構造Eが設けられている。
支持部材11は、拘束部13により拘束されるまでの間、つまり、クランプアーム4の振り込み動作に対応する期間において、圧縮バネ12により押されて変位するため、動作が不安定になる可能性がある。そこで、回転レバー16と支持部材11との間に、上記のような軸受構造Eを設けることで、クランプアーム4の振り込み動作の期間における支持部材11の動作を安定させることができる。
また、実施例のクランプ装置1によれば、連結構造Aにおける長さLaと径Daとの比率、つまり、La/Daは、関係式(1):1.0<La/Da<2.0を満たすように設定され、好ましくは、関係式(2):1.0<La/Da<1.5を満たすように設定され、より好ましくは、関係式(3):1.0<La/Da<1.1を満たすように設定される。
これにより、連結構造Aにおいて、長孔A2に対する軸芯棒Arの係合に伴う摩耗を抑制することができる。
また、実施例のクランプ装置1によれば、連結構造Bにおける長さLbと径Dbとの比率、つまり、Lb/Dbは、関係式(4):1.0<Lb/Db<2.0を満たすように設定され、好ましくは、関係式(5):1.0<Lb/Db<1.5を満たすように設定され、より好ましくは、関係式(6):1.0<Lb/Db<1.1を満たすように設定される。
これにより、連結構造Bにおいて、長孔B2に対する軸芯棒Brの係合に伴う摩耗を抑制することができる。
また、実施例のヘミング装置5は、次のような拘束部13を備える。すなわち、拘束部13は、回転レバー16が一方側に回転して特定の回転角(拘束角θc)に到達したときに支持部材11を拘束し、さらに、回転レバー16が圧縮バネ12を圧縮しながら拘束角θcを超えて一方側に回転するのを許容しつつ、支持部材11を拘束し続ける。
また、拘束部13は、下型3に取り付けられて駆動部9が搭載される台座17の鉛直部17vである。
これにより、支持部材11を確実に拘束することができるとともに、拘束部13として、格別な部位を設ける必要がなくなる。このため、クランプ装置1をヘミング装置5に組み入れるためのコストを抑えることができる。
また、実施例のクランプ装置1は、支持部材11が拘束部13により拘束された状態で、ワーク2に突き当たってワーク2を支持するワーク支持部11bを備える。
これにより、支持部材11が拘束されている間、さらには、クランプ動作の間、ワーク2の位置を安定させることができる。
〔変形例〕
実施例は具体的な一例を開示するものであり、本発明が実施例に限定されないことは言うまでもない。
例えば、実施例のヘミング装置1によれば、拘束部13は、駆動部9が搭載される台座17の鉛直部17vであったが、下型3の側壁を拘束部13として採用してもよい。
1 クランプ装置 2 ワーク 3 下型 4 クランプアーム 9 駆動部 10 連結部材 11 支持部材 12 圧縮バネ 15 駆動装置(電動モータ) 16 回転レバー θc 拘束角(特定の回転角) X 回転中心軸

Claims (7)

  1. ワークを下型の上に載せてヘム加工するときに、前記ワークに対してクランプアームを上側から押し付けることにより、前記ワークを前記下型に固定するクランプ装置において、
    電動モータの出力により回転駆動されて前記クランプアームに回転力を伝える回転レバーを有し、前記回転レバーを回転中心軸の周囲の一方側に回転駆動することにより、前記クランプアームによって前記ワークを前記下型に固定させる電動式の駆動部と、
    前記回転レバーと前記クランプアームとを連結する連結部材と、
    この連結部材と前記クランプアームとを回転自在に支持する支持部材と、
    前記回転レバーと前記支持部材との間に組み付けられ、前記回転レバーの前記一方側への回転により、前記一方側に公転しながら、前記支持部材を前記一方側に公転させる圧縮バネとを備え
    前記回転レバーは、前記支持部材が拘束されて前記一方側への公転が規制された状態で、前記一方側に回転駆動されると、前記圧縮バネを圧縮しつつ、前記連結部材を前記支持部材に対して回転させ、さらに、前記連結部材の回転に伴って、前記クランプアームを前記支持部材に対して回転させることを特徴とするクランプ装置。
  2. 請求項1に記載のクランプ装置において、
    前記回転レバーと前記支持部材との間には、前記回転レバーと前記支持部材との相対回転を支持する軸受構造が設けられていることを特徴とするクランプ装置。
  3. 請求項1に記載のクランプ装置において、
    前記連結部材は、前記クランプアームとの間に連結構造を構成しており、
    この連結構造は、
    前記連結部材および前記クランプアームの一方に設けられた円形の丸穴、
    この丸穴の径と同じ幅、および、この幅と垂直な方向に前記丸穴の径よりも長い長さを有する長孔、
    ならびに、前記丸穴と同径の円柱状の棒体であって前記丸穴および前記長孔の両方に嵌る芯棒を有し、
    1.0<前記長孔の長さ/前記丸穴の径<2.0
    の関係式を満たすことを特徴とするクランプ装置。
  4. 請求項1に記載のクランプ装置において、
    前記連結部材は、前記回転レバーとの間に連結構造を構成しており、
    この連結構造は、
    前記連結部材および前記回転レバーの一方に設けられた円形の丸穴、
    この丸穴の径と同じ幅、および、この幅と垂直な方向に前記丸穴の径よりも長い長さを有する長孔、
    ならびに、前記丸穴と同径の円柱状の棒体であって前記丸穴および前記長孔の両方に嵌る芯棒を有し、
    1.0<前記長孔の長さ/前記丸穴の径<2.0
    の関係式を満たすことを特徴とするクランプ装置。
  5. 請求項1に記載のクランプ装置と、
    前記回転レバーが前記一方側に回転して特定の回転角に到達したときに前記支持部材を拘束し、さらに、前記回転レバーが前記圧縮バネを圧縮しながら前記特定の回転角を超えて前記一方側に回転するのを許容しつつ、前記支持部材を拘束し続ける拘束部とを備えることを特徴とするヘミング装置。
  6. 請求項5に記載のヘミング装置において、
    前記拘束部は、前記下型に取り付けられて前記駆動部が搭載される台座に設けられていることを特徴とするヘミング装置。
  7. 請求項5に記載のヘミング装置において、
    前記クランプ装置は、
    前記支持部材が前記拘束部により拘束された状態で、前記ワークに突き当たって前記ワークを支持するワーク支持部を備えることを特徴とするヘミング装置。
JP2022089268A 2022-05-31 2022-05-31 クランプ装置およびヘミング装置 Active JP7659900B2 (ja)

Priority Applications (1)

Application Number Priority Date Filing Date Title
JP2022089268A JP7659900B2 (ja) 2022-05-31 2022-05-31 クランプ装置およびヘミング装置

Applications Claiming Priority (1)

Application Number Priority Date Filing Date Title
JP2022089268A JP7659900B2 (ja) 2022-05-31 2022-05-31 クランプ装置およびヘミング装置

Publications (2)

Publication Number Publication Date
JP2023176788A JP2023176788A (ja) 2023-12-13
JP7659900B2 true JP7659900B2 (ja) 2025-04-10

Family

ID=89122797

Family Applications (1)

Application Number Title Priority Date Filing Date
JP2022089268A Active JP7659900B2 (ja) 2022-05-31 2022-05-31 クランプ装置およびヘミング装置

Country Status (1)

Country Link
JP (1) JP7659900B2 (ja)

Families Citing this family (1)

* Cited by examiner, † Cited by third party
Publication number Priority date Publication date Assignee Title
CN117900713B (zh) * 2024-03-19 2024-06-07 潍坊亨利达钢结构有限公司 一种集成房屋底座焊接装置

Citations (5)

* Cited by examiner, † Cited by third party
Publication number Priority date Publication date Assignee Title
JP2001105332A (ja) 1999-10-01 2001-04-17 Smc Corp 電動クランプ装置
JP2002160030A (ja) 2000-11-27 2002-06-04 Toyota Auto Body Co Ltd クランプ装置
JP2008030161A (ja) 2006-07-31 2008-02-14 Tdk Corp ワーク位置決め装置
US20110048094A1 (en) 2009-08-26 2011-03-03 Hirotec America, Inc. Horizontally stacked hemming press
JP2013035084A (ja) 2011-08-04 2013-02-21 Tadauchi:Kk クランプ装置

Patent Citations (5)

* Cited by examiner, † Cited by third party
Publication number Priority date Publication date Assignee Title
JP2001105332A (ja) 1999-10-01 2001-04-17 Smc Corp 電動クランプ装置
JP2002160030A (ja) 2000-11-27 2002-06-04 Toyota Auto Body Co Ltd クランプ装置
JP2008030161A (ja) 2006-07-31 2008-02-14 Tdk Corp ワーク位置決め装置
US20110048094A1 (en) 2009-08-26 2011-03-03 Hirotec America, Inc. Horizontally stacked hemming press
JP2013035084A (ja) 2011-08-04 2013-02-21 Tadauchi:Kk クランプ装置

Also Published As

Publication number Publication date
JP2023176788A (ja) 2023-12-13

Similar Documents

Publication Publication Date Title
EP2570203B1 (en) Pipe bending device
KR101522789B1 (ko) 스피닝 가공장치
WO2008022229B1 (en) Container bodymaker
JP7659900B2 (ja) クランプ装置およびヘミング装置
US20110016999A1 (en) Cylinder device
US6990841B2 (en) Method and apparatus for lean spin forming transition portions having various shapes
JPH1128636A (ja) 産業機械の送り装置およびこれを用いた産業機械
JP3987677B2 (ja) 押抜き・型打ち機
EP1800795A2 (en) Workpiece unloader device including a spline shaft
US7131305B2 (en) Method and apparatus for lean spin forming
JP7074628B2 (ja) 遊星減速装置及び電動アクチュエータ
US7168158B2 (en) Stacked core assembly apparatus
US3964525A (en) Mechanism for use in winding apparatus
EP3223976B1 (en) Twisting assembly for a wire for making cages for sparkling wine bottles, and machine for making the same
KR101486654B1 (ko) 회전형 트랜스퍼 피더
KR100388641B1 (ko) 커팅블레이드의 절곡 및 절단장치
WO2014073246A1 (ja) パイプの曲げ加工装置
CN217044006U (zh) 防皱稳定辊
JP7461653B2 (ja) プレス機械
CN221186525U (zh) 机器人末端驱动器及机器人
CN221909540U (zh) 一种新型转头3d线材成型机机头及成型结构
KR100562346B1 (ko) 벤딩장치
KR200241994Y1 (ko) 편심용접기용 용접토치의 구동장치
CN222519866U (zh) 一种用于弹簧机同步接料的机械爪
US20030192359A1 (en) Feeding and curling device for spring making machines

Legal Events

Date Code Title Description
A621 Written request for application examination

Free format text: JAPANESE INTERMEDIATE CODE: A621

Effective date: 20231104

A977 Report on retrieval

Free format text: JAPANESE INTERMEDIATE CODE: A971007

Effective date: 20240903

A131 Notification of reasons for refusal

Free format text: JAPANESE INTERMEDIATE CODE: A131

Effective date: 20241015

A521 Request for written amendment filed

Free format text: JAPANESE INTERMEDIATE CODE: A523

Effective date: 20241129

TRDD Decision of grant or rejection written
A01 Written decision to grant a patent or to grant a registration (utility model)

Free format text: JAPANESE INTERMEDIATE CODE: A01

Effective date: 20250311

A61 First payment of annual fees (during grant procedure)

Free format text: JAPANESE INTERMEDIATE CODE: A61

Effective date: 20250325

R150 Certificate of patent or registration of utility model

Ref document number: 7659900

Country of ref document: JP

Free format text: JAPANESE INTERMEDIATE CODE: R150