JP7653045B2 - 遊技機 - Google Patents

遊技機 Download PDF

Info

Publication number
JP7653045B2
JP7653045B2 JP2024071134A JP2024071134A JP7653045B2 JP 7653045 B2 JP7653045 B2 JP 7653045B2 JP 2024071134 A JP2024071134 A JP 2024071134A JP 2024071134 A JP2024071134 A JP 2024071134A JP 7653045 B2 JP7653045 B2 JP 7653045B2
Authority
JP
Japan
Prior art keywords
game
pattern
special
state
display
Prior art date
Legal status (The legal status is an assumption and is not a legal conclusion. Google has not performed a legal analysis and makes no representation as to the accuracy of the status listed.)
Active
Application number
JP2024071134A
Other languages
English (en)
Other versions
JP2024102150A5 (ja
JP2024102150A (ja
Inventor
倫尚 石川
Current Assignee (The listed assignees may be inaccurate. Google has not performed a legal analysis and makes no representation or warranty as to the accuracy of the list.)
Sammy Corp
Original Assignee
Sammy Corp
Priority date (The priority date is an assumption and is not a legal conclusion. Google has not performed a legal analysis and makes no representation as to the accuracy of the date listed.)
Filing date
Publication date
Application filed by Sammy Corp filed Critical Sammy Corp
Priority to JP2024071134A priority Critical patent/JP7653045B2/ja
Publication of JP2024102150A publication Critical patent/JP2024102150A/ja
Publication of JP2024102150A5 publication Critical patent/JP2024102150A5/ja
Application granted granted Critical
Publication of JP7653045B2 publication Critical patent/JP7653045B2/ja
Active legal-status Critical Current
Anticipated expiration legal-status Critical

Links

Images

Classifications

    • YGENERAL TAGGING OF NEW TECHNOLOGICAL DEVELOPMENTS; GENERAL TAGGING OF CROSS-SECTIONAL TECHNOLOGIES SPANNING OVER SEVERAL SECTIONS OF THE IPC; TECHNICAL SUBJECTS COVERED BY FORMER USPC CROSS-REFERENCE ART COLLECTIONS [XRACs] AND DIGESTS
    • Y02TECHNOLOGIES OR APPLICATIONS FOR MITIGATION OR ADAPTATION AGAINST CLIMATE CHANGE
    • Y02EREDUCTION OF GREENHOUSE GAS [GHG] EMISSIONS, RELATED TO ENERGY GENERATION, TRANSMISSION OR DISTRIBUTION
    • Y02E60/00Enabling technologies; Technologies with a potential or indirect contribution to GHG emissions mitigation
    • Y02E60/10Energy storage using batteries

Landscapes

  • Pinball Game Machines (AREA)

Description

遊技機に関する。
遊技機において、操作可能な操作部材や枠の底部や球皿などを有する遊技機があった。
特開2010-046387号公報 特開2012-210475号公報
操作可能な操作部材や枠の底部や球皿を有していても、遊技場の管理者や遊技者にとっての利便性に向上の余地があった。
遊技機の背面側において、操作する際に接触可能な第1押し下し面と、第1外径部と第1検出対象部を少なくとも有する第1押し下し部と、前記第1検出対象部を検出する第1検出部と、前記第1外径部を包み込むように保持する第1外壁部と、を少なくとも備えた摺動移動可能なRAMクリアボタンと、
遊技機の背面側において、操作する際に接触可能な第2押し下し面と、第2外径部と第2検出対象部を少なくとも有する第2押し下し部と、前記第2検出対象部を検出する第2検出部と、前記第2外径部を包み込むように保持する第2外壁部と、を少なくとも備えた摺動移動可能な所定の操作部材と、を有しており、
前記第1外径部と前記第1外壁部との距離は変化可能であり、前記第1外壁部の中心に前記第1押し下し面の中心が位置している状況においての前記第1外径部と前記第1外壁部との距離と、 前記第2外径部と前記第2外壁部との距離は変化可能であり、前記第2外壁部の中心に前記第2押し下し面の中心が位置している状況においての前記第2外径部と前記第2外壁部との距離とが異なっており、
前記第1押し下し面の表面の形状と前記第2押し下し面の表面の形状は異なり、
前記第1押し下し部の体積と前記第2押し下し部の体積は異なっており、
前記第1押し下し部の短辺の長さと前記第2押し下し部の短辺の長さは異なっている
ことを特徴とする遊技機。
遊技場の管理者や遊技者にとっての利便性の高い遊技機とすることができる。
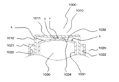
前提とするぱちんこ遊技機の正面図である。 上記ぱちんこ遊技機の枠部材を開放した状態の正面方向の斜視図である。 上記ぱちんこ遊技機の枠部材を開放した状態の背面方向の斜視図である。 前提とするぱちんこ遊技機に取り付けられた遊技盤を示す斜視図である。 前提とするぱちんこ遊技機の機能ブロック図である。 前提とするぱちんこ遊技機の遊技状態の遷移を示す図である。 前提とするぱちんこ遊技機の主制御基板の電源投入処理を示す図である。 上記電源投入処理中の遊技停止状態設定処理を示す図である。 前提とするぱちんこ遊技機の主制御基板の割込み処理を示す図である。 前提とするぱちんこ遊技機の当否抽選テーブルを示す図である。 前提とするぱちんこ遊技機の当り図柄抽選テーブルを示す図である。 前提とするぱちんこ遊技機の低ベース状態中における変動パターン抽選テーブルを示す図である。 前提とするぱちんこ遊技機の高ベース状態中における変動パターン抽選テーブルを示す図である。 前提とするぱちんこ遊技機の限定的な期間に参照される特殊変動パターン抽選テーブルを示す図である。 前提とするぱちんこ遊技機の演出制御基板の電源投入処理を示す図である。 前提とするぱちんこ遊技機の演出制御基板の割込み処理を示す図である。 前提とするぱちんこ遊技機の通常遊技中(低確率/低ベース中)の図柄変動表示(装飾図柄の停止表示中)の遊技演出を表した図である。 前提とするぱちんこ遊技機の大当りとなる期待度が高いリーチ演出が行われている状況の遊技演出を表した図である。 前提とするぱちんこ遊技機において大当り遊技を実行している状態の遊技演出を表した図である。 前提とするぱちんこ遊技機の特定遊技状態中(高確率または低確率/高ベース)である電チューサポート機能の作動中の遊技演出を表した図である。 スロットマシンの筐体外斜視を示す図である。 フロントパネルの裏面を示す図である。 筐体内面を示す図である。 機能ブロックを示す図である。 プログラム開始処理を示すフローチャートである。 電源断処理を示すフローチャートである。 割込み処理を示すフローチャートである。 電源断復帰処理を示すフローチャートである。 遊技進行メインを示すフローチャートである。 設定変更処理を示すフローチャートである。 有利区間クリアカウンタ管理処理を示すフローチャートである。 第1実施形態における図柄配列を示す図である。 第1実施形態における役抽選の結果で表示しうる図柄組合せの一覧を示す図である。 第1実施形態における役抽選の結果で表示しうる図柄組合せの一覧を示す図である。 第1実施形態における役抽選の結果で表示しうる図柄組合せの一覧を示す図である。 第1実施形態における当選役を構成する図柄組合せの一覧を示す図である。 第1実施形態における当選役を構成する図柄組合せの一覧を示す図である。 第1実施形態における当選役を構成する図柄組合せの一覧を示す図である。 第1実施形態における当選役毎の置数を示す図である。 第1実施形態におけるRT遷移図を示す図である。 第1実施形態におけるLモード番号の決定を示すフローチャートである。 第2実施形態におけるハウスランプ内の構造ハウスランプへ貼付されるリールシートとLEDの照射された光の透過を示す図である。 第2実施形態におけるリールシートに模様領域を設けた際に比較を示す図である。 第3実施形態における一の有利区間におけるシナリオ番号、設定値毎のシナリオ選択割合、各シナリオに対応する演出シナリオを示す図である。 第4実施形態における図柄配列を示す図である。 第4実施形態における役抽選の結果で表示しうる図柄組合せの一覧を示す図である。 第4実施形態における当選役を構成する図柄組合せの一覧を示す図である。 第4実施形態における当選役毎の置数を示す図である。 第4実施形態におけるRT遷移図を示す図である。 第4実施形態におけるMB-A遊技の終了タイミングを示すタイミングチャート図である。 本例におけるメダル投入タイミングとリール制御との関係を示す図である。 本例におけるリールユニットとリールユニット上部ビスとの関係を示す図である。 本例におけるリールユニット後面の開口部とリールユニット上部ビスとの関係を示す図である。 本例におけるリールユニット後面の開口部と中央表示基板保護カバーとリールユニット上部ビスとの関係を示す図である。 本例におけるリールユニット上下開口部を有するリールユニットの後方斜視図である。 本例におけるリールユニット全面開口部を有するリールユニットの後方斜視図である。 第5実施形態における演出入力ボタンの動作原理を説明する動作説明断面図その1である。 第5実施形態における演出入力ボタンの動作原理を説明する動作説明断面図その2である。 第5実施形態における演出入力ボタンの不具合説明図その1である。 第5実施形態における演出入力ボタンの不具合説明図その2である。 第5実施形態における演出入力ボタンの光源破壊不具合を防ぐ対策説明図その1である。 第5実施形態における演出入力ボタンの光源とねじの配置を説明する図である。 第5実施形態における演出入力ボタンの光源破壊不具合を防ぐ対策説明図その2ある。 第5実施形態における演出入力ボタンの不具合(偏心移動)を低減する機構を説明する図である。 第5実施形態における演出入力ボタンの光源の照射範囲を説明する図である。 第5実施形態における演出入力ボタンの押し下し機構に不具合が発生したことで発生する光源破壊説明図である。 第6実施形態におけるぱちんこの演出ボタンからの振動伝達を説明する図である。 第6実施形態におけるぱちんこの演出ボタンからの振動伝達を説明する図である。 第6実施形態におけるぱちんこの演出ボタンからの振動伝達を説明する図である。 第6実施形態におけるぱちんこの演出ボタンからの振動伝達を説明する図である。 第6実施形態におけるぱちんこの演出ボタンからの振動伝達を説明する図である。 第6実施形態におけるぱちんこの演出ボタンからの振動伝達変位を説明する図である。 第7実施形態におけるスロットマシンの演出ボタンからの振動伝達を説明する図である。 第7実施形態におけるスロットマシンの演出ボタンからの振動伝達を説明する図である。 第7実施形態におけるスロットマシンの演出ボタンからの振動伝達を説明する図である。 第7実施形態におけるスロットマシンの演出ボタンからの振動伝達を説明する図である。 第7実施形態におけるスロットマシンの演出ボタンからの振動伝達を説明する図である。 第7実施形態におけるスロットマシンの演出ボタンからの振動伝達変位を説明する図である。 第8実施形態におけるセンサ検知片動作を示す断面図(a)(b)とRAMの記憶領域を示す図である。 第8実施形態におけるハイアクティブ判定を採用した際のチャタリングを説明する図である。 第8実施形態におけるローアクティブ判定を採用した際のチャタリングを説明する図である。 下球皿に関する下面図である。 下球皿に関するイメージ図である。 下球皿に関するイメージ図である。 遊技機の背面図である。 RAMクリアボタンとエラー解除ボタンに関するイメージ図である。 RAMクリアボタンとエラー解除ボタンに関するイメージ図である。 遊技機の枠底部に関する側面図である。 払出制御基板ケースの放熱口に関するイメージ図である。 払出制御基板ケースの放熱口に関するイメージ図である。 複数のスピーカに関するイメージ図である。
(前提技術)
以下、本発明の前提とするぱちんこ遊技機(以下「前提技術」)について図面を用いて説明する。前提技術に係るぱちんこ遊技機の代表例として、ぱちんこ遊技機を図1および図3に示すとともに、このぱちんこ遊技機に設けられる遊技盤を図4に示しており、まず、これらの図を参照して、ぱちんこ遊技機の機械構成について説明する。なお、以降の説明においては、便宜上、図2の各矢印で示す方向をそれぞれ、前後方向、左右方向、上下方向と称して説明する。
[ぱちんこ遊技機の機械構成]
始めに、ぱちんこ遊技機Pの正面側の基本構造を説明する。ぱちんこ遊技機Pは、図1および図2に示すように、外郭方形に構成され、遊技施設において固定される外枠P1の開口前面に、外枠P1の開口に合わせたサイズで方形に構成された前枠P2が互いの正面左側縁部に配設された上下のヒンジ機構(上ヒンジ部10、下ヒンジ部20)により横開き開閉および着脱が可能に取り付けられる。
前枠P2には、遊技盤P5とガラス枠P3とが着脱可能にセットされている。ガラス枠P3は方形状であり、前枠P2の前面側に上下のヒンジ機構(上ヒンジ部10、下ヒンジ部20)を利用して横開き開閉および着脱可能に組み付けられて保持される。遊技盤P5は、前枠P2の前面側に着脱可能にセットされ、閉鎖保持されるガラス枠P3のガラスP301を通して遊技盤P5の正面側に設けられた遊技領域P501を遊技者が視認可能に構成されている。また前枠P2およびガラス枠P3は、ぱちんこ遊技機Pの正面右側縁部に設けられた施錠部P30の鍵穴に鍵を挿入し、左右方向のいずれかに回転させることで、回転方向に応じて、外枠P1と前枠P2の施錠が解除または前枠P2とガラス枠P3の施錠が解除される。具体例としては、施錠部P30の鍵穴に鍵を挿入して右方向に回転させると外枠P1と前枠P2の施錠が解除され、施錠部P30の鍵穴に鍵を挿入して左方向に回転させると前枠P2とガラス枠P3の施錠が解除されるようになっている。
ガラス枠P3の下部には、遊技球を貯留する上下の球皿P340(上球皿P341及び下球皿P342)が設けられる。またガラス枠P3には、遊技の展開状況に応じて発光する演出ランプP350や、遊技の展開状況に応じて効果音などの音を出力可能な上スピーカP370が設けられている。ガラス枠P3の下部中央には、所定の演出操作を行うための演出操作手段P380が取り付けられ、前提技術として示す本ぱちんこ遊技機が有する演出操作手段P380は、押下入力式のボタンP381と傾倒操作式のレバーP382とを備えており、ボタンP381は常時遊技者操作を可能とする一方、レバーP382はガラス枠に備えられた可動物(枠可動役物P360)の1つであり、操作手段自体が上方に突出した状態(入力許可状態)に変位した場合に操作入力を可能とする(1の演出操作手段にて、複数の操作が可能となっている)。
前枠P2の右下部には、遊技球の発射操作および発射強度の調整を行うハンドルP204が設けられている。前枠P2の下部には、さらに発射装置ユニットP240を備え、図示を省略するが、上球皿P341に貯留された遊技球を1球ずつ送り出す球送り機構P241(球送りユニットと称する場合がある)、この球送り機構から送り出された遊技球を遊技領域P501へ向けて打ち出す発射機構(ロータリーソレノイドで駆動される打球槌)を有する発射装置P242、球送り機構P241や発射装置P242の作動を同期的に制御する発射制御基板P243などが設けられている。
遊技盤P5(遊技盤ユニット)は、図4に示すように、透明な合成樹脂や木材を用いて矩形の平板状に形成された基材をベースとして構成されている。なお、図1は遊技盤P5を含むぱちんこ遊技機Pを前面側から見た正面図であり、図4は遊技盤ユニットP5の斜視図を示す。図4は遊技盤ユニットに備えられた演出役物P560(「可動演出装置」「演出可動体」「演出可動役物」等とも呼ぶ)が動作している状態を図示している。遊技盤P5の前面には、左下部から右上部にかけて配設された円弧状の外レールP502と、遊技盤の下部中央付近から外レールP502の内側における左下部から左上部にかけて配設された円弧状の内レールP503と、右上部の外レールP502の端部から該盤面の下部までの間に配設されて左向きに開く湾曲形状に形成されたレール飾りP504とを備えており、外レールP502と内レールP503とレール飾りP504とで囲まれた内側に略円形の遊技領域P501が区画形成されている。この遊技領域P501は、略中央に配設される後述のセンター役物P540を基準として、センター役物P540の左側の領域である左側領域P501L(左打ち領域)と、センター役物の右側の領域である右側領域P501R(右打ち領域)とを有している。また、外レールと内レールとにより、発射装置ユニットP240により打ち出された遊技球を遊技領域P501へ案内するための案内通路が形成される。
遊技領域P501には、図示しない多数本の遊技釘P510や風車P511とともに、第1始動入賞口P711(第1始動口)、第2始動入賞口P721(第2始動口)、一般入賞口P731、普図作動口P741(普図作動ゲート装置)、大入賞口P751(アタッカー)、等の各種入球装置(賞球が発生する場合は「入賞装置」と称する)が配設されている。なお、大入賞口は1つとしてもよいし、複数有するよう構成してもよい。また、本明細書において、入球装置の構成上、遊技球が入球装置に入球した後に排出されるもの、入球装置に入球した後にさらに遊技領域P501を流下するもの(ゲートタイプ)に対し、遊技球が内部の検出スイッチで検出されることを「入球」「入賞(特に賞球が発生するもの)」と称し、ゲートタイプの入球口のように下流の遊技領域に流下するものついては、特に「通過」と区別して記載する場合を有する。また、入球装置を入球口、入賞装置を入賞口と称することがある。
また、遊技領域P501の右下には、第1特別図柄表示装置P51、第2特別図柄表示装置P52、普通図柄表示装置P53など、後述の主制御基板にて点灯制御される主制御表示装置P50が集約的に配設されている。遊技領域P501の略中央にはセンター役物P540が配設されており、このセンター役物P540の開口を通して演出表示装置P80の画面が視認可能に設けられている。このセンター役物P540の上部等には、遊技の展開状況に応じた演出動作を行う演出役物P560(可動役物装置)が設けられている。遊技領域P501の下端部には、各種入球装置の入賞口に入球せずに流下した遊技球が通過可能なアウト口P790が設けられている。各種入賞装置の入賞口に入球した遊技球又はアウト口P790に流入した遊技球は、遊技盤P5に前後貫通して形成された貫通孔(図示せず)を通じて遊技盤P5の後面側へ流下し、前枠P2下部の回収流路(遊技済み球通路)に収集され、発射した遊技球の総数を検出するための前枠下部に備えられたアウト球センサP792(発射球数センサ)を通過したのち遊技機外へ排出される。
第1始動入賞装置P710は、第1特別図柄遊技に対応する始動入賞装置として設けられている。この第1始動入賞装置P710には、遊技球が入球可能な第1始動入賞口P711が設けられている。第1始動入賞口P711への遊技球の入球は、第1特別図柄に係る抽選に使用される乱数の取得契機となっており、第1始動入賞口P711への遊技球の入球に基づいて入球直後のタイミングまたは保留期間を経過した後に第1特別図柄に係る抽選が実行される。
第2始動入賞装置P720は、第2特別図柄遊技に対応する始動入賞装置として設けられている。この第2始動入賞装置P720には、遊技球が入球可能な第2始動入賞口P721および後述する普通図柄抽選に当選した場合に第2始動入賞口P721への入球を容易となる状態に切り替える可動体である普通電動役物P770が設けられている。第2始動入賞口P721への遊技球の入球は、第2特別図柄に係る抽選に使用される乱数の契機となっており、第2始動入賞口P721への遊技球の入球に基づいて入球直後のタイミングまたは保留期間を経過した後に第2特別図柄に係る抽選が実行される。第2始動入賞装置P721は、普通電動役物P770の作用により遊技球が第2始動入賞口P721へ入球可能又は入球容易な開状態と、遊技球が第2始動入賞口P721へ入球不能又は入球困難な閉状態とに変化する。つまり、第2始動入賞装置P720は、開状態に変位しなければ遊技球が第2始動入賞口へ入球し難い構造となっており、後述の所定の契機(普通図柄抽選に当選する契機)で開状態となると遊技球の入球容易性が高くなる。なお、普通電動役物P770の構造は様々な態様が知られており、可動体P771が開くことによる入球容易性の変化がなされる構造ではない場合があるため、「開状態」「閉状態」をそれぞれ「入球容易状態(入球容易態様)」「入球困難状態(入球困難態様)」と表記する場合を有する。
一般入賞装置P730は、左打ち領域P501Lに配置された左側一般入賞装置P730Lと、右打ち領域P501Rに配置された右側一般入賞装置P730Rとを有している。本前提技術におけるぱちんこ遊技機Pにおいては、左側一般入賞装置P730Lとして、3つの一般入賞口P731La~P731Lcが1のユニットとして構成されている一方、右側一般入賞装置P730Rは後述する大入賞装置P750の一部として構成されている。一般入賞口P731への遊技球の入球は、他の入賞装置と同じく賞球払出の契機となる。なお、前提とするぱちんこ遊技機の一般入賞口P731の個数や位置はあくまで一例であり、右打ち領域P501Rにのみ配置されるよう構成する等としてもよい。
普図作動ゲート装置P740(普図作動口)は、普通図柄遊技に対応する始動入球口として設けられている。この普図作動ゲート装置P740には、遊技球が通過可能な作動ゲートP741が設けられており、入球した遊技球は遊技盤の遊技領域の下流をさらに流下可能に構成されている。作動ゲートP741への遊技球の通過は、第2始動入賞装置P720を開状態とするか否か、すなわち普通電動役物P770を作動させるか否かを決定するための普通図柄抽選の契機となる。なお、変形例として普通図柄抽選の契機となる機能を前述した一般入賞口P731に備えるように構成することも可能であり、この場合には、普通図柄抽選を実行する機能に加えて、賞球を発生させる機能を1の入賞装置として設けることも可能である(普図作動入賞口)。
大入賞装置P750は、第1特別図柄抽選又は第2特別図柄抽選の抽選結果が大当りや小当りとなった場合に開閉動作する大入賞口P751(特別電動役物P755)を有して構成されており、「アタッカー(装置)」などと呼称する場合を有する。大入賞装置P750は、遊技球が大入賞口P751へ入球可能又は入球容易な開状態(例として特別電動役物が作動P755した状態)と、遊技球が大入賞口P751へ入球不能又は入球困難な閉状態(例として特別電動役物P755が非作動の状態)とに変化する。大当り遊技においては、大入賞口P751の開閉動作を伴う複数回のラウンド遊技(単位遊技)が行われる。なお、特別電動役物P755が作動した状態であっても、一連の作動パターン(「開放パターン」とも呼ぶ)により、大入賞口P751を構成する可動体P756が入球困難な閉態様となる場合を有する。
また、大入賞装置P750には、遊技機の仕様(スペック)によっては、遊技球が通過可能な特定領域P760(「Vゾーン」、「V領域」と呼ばれ、機能によっては「確率変動機能作動領域」、「継続領域」などと呼ぶ)が設けられる場合を有する。この「特定領域」に関する機能として、(ア)大当り遊技中の特定領域に対する通過を契機として大当り遊技の後に確率変動機能(後述)を作動させること、(イ)小当り遊技中の特定領域の通過を契機として役物連続作動装置(特別電動役物を連続的に作動させるためのフラグ)を作動させ、大当り遊技を実行する権利を付与すること、(ウ)大当り遊技中の特定のラウンドにおいて特定領域を通過したか否かに基づいて、後続のラウンドの実行を確定的としたり、実行しないものとしたりすること、などが例として挙げられる。なお、「特定領域」に対し、通過の容易性を変化させるための構造体である開閉部材P761(弁部材)が設けられてもよく、開閉部材P761の作用により流下経路を振り分けられることで、特定領域P760又はそれ以外の非特定領域を通過するように構成してもよい。また、大当り遊技中や小当り遊技中において、特定領域P761の遊技球の通過が有効となる期間と無効となる期間とを有してもよい。
なお、前提とするぱちんこ遊技機Pにおいて、大入賞装置P750は、遊技領域P501における右側領域P501R(右打ち領域)に設けられている。そのため、大当り遊技又は小当り遊技では、遊技領域P501に向けて遊技球を発射する際に、右側領域P501Rを狙って打つ、いわゆる右打ちを行うことで大入賞口P751への入球が容易となっている。
続いて、前提とするぱちんこ遊技機Pの背面側の基本構造を説明する。前枠の背面側には、中央に遊技盤ユニットP5を取り付けるために前後連通する窓口を有した裏セットユニットP4が取り付けられている。裏セットユニットP4には、遊技施設側から供給される多数個の遊技球を貯留する貯留タンクP401、貯留タンクP401からの遊技球を流下させる樋部材P402、樋部材により導かれた遊技球を払い出す賞球払出ユニットP410、賞球払出ユニットP410から払い出された遊技球を上球皿P341又は下球皿P342へ流下させる裏側通路部材P403などが設けられている。また、貯留タンクP401から球皿P340までの遊技球流下経路上には、球抜き機構(球抜き操作レバーP405、操作レバーに連動して遊技球を流路上から排除する流路を形成する弁部材P406)が設けられている。
遊技盤P5の背面側には、ぱちんこ遊技機Pの遊技進行を統括的に制御する主制御基板P40や、主制御基板P40の制御に伴う遊技進行に合わせた演出全般の制御を行う演出制御基板P41、遊技展開に応じた画像表示の制御を行う画像制御基板P42などが取り付けられている。なお、本前提技術のぱちんこ遊技機Pでは、演出制御基板P41および画像制御基板P42は、演出表示装置P80(液晶表示装置)と一体化されたアッセンブリ状態で演出表示ユニットを構成している。これに対して、裏セットユニットP4の背面側には、遊技球の払い出しに関する制御を行う払出制御基板P43や、遊技施設側から受電して各種制御基板や電気・電子部品に電力を供給する電源基板P44(図示せず)などが取り付けられている。なお、これらの制御基板は、不正改造防止のため、カシメ構造及び封印シール構造を有する透明樹脂製の基板ケースに収容されたアッセンブリ状態で遊技盤P5の背面又は裏セットユニットP4の背面の所定位置にそれぞれ配設される。これらの制御基板とぱちんこ遊技機各部の電気・電子部品とがハーネス(コネクタケーブル)を介して相互に接続されて、ぱちんこ遊技機Pにおける遊技の進行や、演出の実行が可能に構成されている。
[機能ブロック]
図5は、前提とするぱちんこ遊技機の機能ブロックを示す。
ぱちんこ遊技機は、遊技機外部から供給される交流電源に基づいて遊技機内で使用する電源を生成する電源基板P44と、遊技の基本動作や遊技の進行を制御する主制御基板P40(主制御CPU)と、賞球の払出しや遊技球の発射を制御する枠制御装置としての払出制御基板P43(払出制御CPU)と、演出的な動作や処理を制御する演出制御基板P41とに機能を分担させた形態で構成される。なお、図中に示す矢印は機能別に、上方の送受信の関係を実線矢印で示し、電気的接続の関係を破線矢印にて示している。
電源基板P44は、基板上に設けられた電源スイッチP47を操作することによって、後述する主制御基板P40、演出制御基板P41、払出制御基板P43、並びにそれらに電気的に接続する各種遊技用装置に対し、動作に必要となる電力を生成して供給する。詳細は後述するが、電源スイッチP47の電源投入操作は、遊技機の設定に係る情報の処理の開始契機となるスイッチ操作であるため、電源スイッチは不正な操作を防止するため開閉カバーに覆われた状態で保護されている。
主制御基板P40は、第1始動入賞口P711(特図1始動口スイッチP712)、第2始動入賞口P721(特図2始動口スイッチP722)、大入賞口P751(大入賞口スイッチP752)、普図作動口P741(普図作動口スイッチP742)や、その他の検出スイッチである一般入賞口P731(左側一般入賞口,右側一般入賞口)、アウト口P790などの各種の遊技進行に係る検出スイッチや、設定キースイッチP49、振動検知センサP72、磁石センサP73などの各種遊技の管理や不正監視に用いられるスイッチやセンサと接続される。主制御基板は、これらのスイッチから各種の遊技状態の発生に係る情報の入力を得て、遊技進行に係る制御内容の決定をするとともに、ソレノイド等で構成され、大当りや小当りの際に大入賞口P751を拡開させるために駆動される特別電動役物駆動手段P70や、普通図柄抽選に当選した場合に普通電動役物P770を入球容易状態とするために駆動される普通電動役物駆動手段P71といった遊技用装置に対して、駆動態様に係る情報の出力を行う。
主制御基板P40に接続するセンサ等は、主制御基板上の入力ポートと呼ばれる端子に接続して、センサ検出に基づく各種遊技状態の発生の有無を主制御基板P40に情報として通知し、特別電動役物駆動手段P70や、普通電動役物駆動手段P71、その他、発射装置P242に対する発射許可信号などを出力ポートと呼ばれる端子から出力された情報を受け取ってそれぞれの装置、デバイスを制御する。
また、主制御基板P40は、第1特別図柄や第2特別図柄の変動表示を行う特別図柄表示装置P51、P52や大当りや小当りの種類(ラウンド数)を報知するラウンド表示灯P54、遊技状態を報知する状態表示灯P55などの各種表示を行う主制御表示装置P50や、遊技機の性能(例えば通常遊技中におけるベース値、すなわち発射総数に対する賞球数の割合)を表示する性能表示装置P59などと接続する。なお、「ベース値」に関して、始動入賞口P711等の入賞を除外して計上するデータなど、他の計上方法も多種存在するが、本件発明にて必要な場合に別途説明を行い、前提とするぱちんこ遊技機の説明では詳細は割愛する。
主制御基板P40は、上記の他に外部情報出力端子P77や試験端子P78等により遊技機外部の装置と電気的に接続可能に構成されており、各々との間で各種制御信号を送受信する。また、主制御基板P40は、遊技機内の他の制御基板である演出制御基板P41、払出制御基板P43とも電気的に接続している。
払出制御基板P43は、主制御基板P40から送信される賞球払出や主制御基板の制御状態を示す信号等に基づいて、払出装置P410による賞球の払出を制御するほか、遊技者によるハンドルP204の操作を受けて発射装置ユニットP240による遊技球の発射に係る制御を行う。払出装置P410は、一例として払出モータP411と球計数センサP412有するものであり、払出モータP411の回転により、遊技球を1球ずつ払出可能に構成される。発射装置(発射装置ユニット)P240は、球皿P340(上球皿P341)に滞留している遊技球を1球ずつ球送りユニットP241によって発射可能位置へ移動させた後、打球槌を遊技球にぶつけることで遊技球を発射させるよう構成されている。なお、払出制御基板P43には、主として遊技機の初期化や、遊技中に発生したエラーの解除に用いられるラムクリアスイッチP48が配設されており、払出制御基板P43と主制御基板P40の接続に使用されるハーネスやコネクタを介して、ラムクリアスイッチP48の操作情報が主制御基板に入力されるようになっている。
演出制御基板P41は、演出表示装置P80、演出可動役物P560の駆動源や位置検出センサ(例えば、駆動モータや、初期位置検出センサ、演出位置検出センサ)、スピーカP83(上スピーカP370、下スピーカ141)、演出入力装置ユニットP380(例えば演出操作手段P81である演出ボタンP381、演出レバーP382、十字キーP383など)、演出ランプP82(「装飾ランプ」「盤ランプ(P550)」「枠ランプ(P350)」とも称する)と電気的に接続されており、各々との間で各種制御信号を送受信する。また、演出制御基板P42と、演出表示装置P80の接続は、演出表示装置P80(例えば液晶表示装置などの画像を表示する装置)の表示制御を行う画像制御基板P42(VDP)などを介して接続するものであってもよい。また、本前提とするぱちんこ遊技機では、スピーカP83を演出制御基板P41にて制御するように構成するものであるが、音声制御用のIC等を備えた音声制御基板を別途設けてスピーカP83を制御するように構成してもよい。
主制御基板P40と演出制御基板P41の間におけるデータの送受信は主制御基板P40から演出制御基板P41への一方向となるよう一方向でのデータ送受信にて行われる。主制御基板P40から演出制御基板P41へのデータ送信の一方向性が保たれるため、演出制御基板P41に含まれる構成から主制御基板P40に含まれる構成へはデータを送信することができず、データ送信の要求もできない。したがって、演出制御基板P41は、主制御基板P40で生成された情報が送信されない限りその情報を参照することはできない。なお、本前提とするぱちんこ遊技機Pにおいては、主制御基板P40と払出制御基板P43の間は、双方向でデータ送受信がなされる。ただし、主制御基板P40と演出制御基板P41の間と同様、主制御基板P40から払出制御基板P43への一方向でのデータ送受信とする構成にしてもよい。
[基本遊技進行]
次に、以上のように構成される前提技術としてのぱちんこ遊技機Pにおける、基本的な遊技進行および遊技方法に関して遊技状態別に説明する。「遊技状態」としては大別して「通常遊技状態」と、通常遊技状態と比して遊技球を獲得することが容易な「特別遊技状態」とがある。「通常遊技状態」は、「特別遊技状態」への移行権利の獲得を目指す状態であり、通常遊技状態の中でも、特別遊技状態への移行権利の獲得に関して遊技者にとって有利度合いが異なる遊技状態が複数設けられており、複数の通常遊技状態の中でも、遊技者にとって比較的特別遊技状態への移行権利が獲得容易な状態(通常遊技状態(低確率/低ベース状態)よりも遊技者にとって有利な状態)に関して「特定遊技状態」と表現する。「特別遊技状態」は、いわゆる「大当り遊技」と「小当り遊技」が該当し、主制御基板P40によって特別電動役物駆動手段P70が駆動され大入賞口P751が開口した状態となり遊技球の獲得が容易となる状態のことを意味している。
[通常遊技状態(低確率/低ベース状態)]
まず、通常遊技状態における遊技方法および遊技の進行に関する説明を行う。なお、ここで記載する通常遊技状態は特定遊技状態を除く「通常遊技状態(低確率/低ベース状態)」(図6参照)に関する説明であり、一般的に遊技者が遊技を開始する状況における遊技状態について説明するものであり、特定遊技状態における遊技方法、遊技の進行、および「低(高)確率」、「低(高)ベース」の用語の意味に関しては後述する。
通常遊技状態(低確率/低ベース状態)における、遊技の方法として、まず、遊技者はハンドルP204を操作して遊技盤P5に設けられた遊技領域P501に向けて遊技球を発射する。前提とするぱちんこ遊技機Pにおいては、通常遊技状態(低確率/低ベース状態)において、遊技者はハンドルP204の操作量を遊技球が遊技領域の左側領域P501L(左打ち領域)に向かって発射されるように操作して遊技を行う。
遊技者によって遊技領域の左側領域P501Lに遊技球が発射されると、発射された遊技球は、遊技領域P501を流下し、図示しない遊技釘P510(「障害釘」、「釘」とも呼ぶ)や、風車P511によって流下方向を変位させながら、「ヘソ」などと呼ばれる遊技盤の遊技領域P501における略中央下位置に配置された第1始動入賞口P711、あるいは左側一般入賞装置の一般入賞口P731Lに入球(入賞)するか、いずれの入賞口にも入球せず、遊技済み遊技球としてアウト口P790へ入球する。第1始動入賞口P711あるいは、一般入賞口P731へ入球すると、主制御基板P40は、払出制御基板P43に対し入賞口毎に定められた賞球数の賞球をさせるための情報(制御コマンド)を出力し、遊技者は賞球払出により新たな遊技球を獲得する。
ここで第1始動入賞口P711の内部には特図1始動口スイッチP712が配置されており、遊技者が遊技領域における左側領域P501Lに遊技球を発射して生じ得る遊技状態(遊技結果)として、第1始動入賞口P711への入球がなされた場合において、主制御基板P40に特図1始動口スイッチP712の遊技球検出情報が入力される。
主制御基板P40は、特図1始動口スイッチP712の遊技球検出情報の入力を受けると、予め定められた賞球数の遊技球の払い出しを行うほか、第1特別図柄の制御に係る抽選を行うための乱数値を取得する。乱数値の取得は、遊技球の検出に基づいて、電気回路上で乱数生成回路の生成する乱数値を取得するもの(ハードラッチ)や、主制御基板P40の制御装置がソフト上の処理にて遊技球の検出情報を確認した際に乱数値を先の乱数生成回路から取得する処理を実行したり、ソフト的に更新されている乱数値を取得したりするもの(ソフトラッチ)などの手法があり、取得する乱数値に応じて使い分けてもよいし、組み合わせて使用することも可能である。なお、一般入賞口に入球した場合には、特別図柄に係る乱数は取得されず、賞球の払い出しのみが行われる。
第1特別図柄の制御に係る抽選は、「特別図柄抽選」であり、「特別図柄抽選」には、「当否抽選」、「当り図柄抽選」、「変動パターン抽選」が含まれる。「当否抽選」は、取得した乱数値を用いた抽選結果が「大当り」であるか「はずれ」であるかを決定する処理である(遊技機の仕様によっては抽選結果に「小当り」を含む)。「当り図柄抽選」(単に「図柄抽選」と呼ぶ場合もある)は、主制御表示装置P50における特別図柄表示装置P51(P52)において当否抽選結果を示す停止表示図柄の表示パターンを決定する処理であり、1の抽選結果(大当り、小当り)に対し、複数の停止表示図柄から1の図柄を決定可能であり、ここで決定された停止表示図柄に応じて、「大当り」、「小当り」における特別遊技の実行態様を異ならしめることを可能としている。「変動パターン抽選」は、特別図柄表示装置P51(P52)において当否抽選の結果を示す停止表示図柄をどのタイミングで表示させるかを決定する処理であり、特別図柄表示装置P51(P52)において特別図柄抽選が実行されたことを示す変動表示がなされる時間(「変動表示時間」、「変動パターン」と呼ぶ)を決定するものである。「当否抽選」、「当り図柄抽選」、「変動パターン抽選」に使用される乱数値は異なるものを使用するのが一般的であり、それぞれ「当否抽選乱数」、「図柄乱数」、「変動パターン乱数」と呼ばれる。なお、特図2始動口スイッチP722の遊技球を検出することに基づいて行われる第2特別図柄の制御に係る抽選もまた、同様の「特別図柄抽選」である。また、「特別図柄抽選」に関する説明は後述する。
通常遊技状態(低確率/低ベース状態)における遊技方法の説明に戻って説明すると、通常遊技状態(低確率/低ベース状態)においては、遊技者は遊技領域の左側領域P501Lに遊技球を発射し、第1始動入賞口P711へ遊技球を入球させ、第1特別図柄に係る抽選(特別図柄抽選)を実行させ、特別図柄表示装置において「大当り」(「小当り」)を示す特別図柄の停止表示図柄が表示されることにより、特別遊技の実行権利の獲得を目指す遊技が行われる。
なお、遊技者が特別図柄抽選を受ける過程において、変動パターン抽選により決定された時間に応じて特別図柄の変動表示がなされる点について上述しているが、前提とするぱちんこ遊技機Pにおいては、この特別図柄の変動表示期間において、新たに始動入賞口(第1始動入賞口P711、第2始動入賞口P721)に入球があった場合には、予め定められた回数の特別図柄抽選の実行権利に対応する乱数値を一時的に記憶する保留機能を備えている。前提とするぱちんこ遊技機Pでは、第1始動入賞口P711の入賞に基づく特別図柄抽選に対応する保留機能として、最大4回の特別図柄抽選を保留することを可能としている。なお、保留機能は特別図柄毎に設定可能であり、本前提技術のぱちんこ遊技機Pでは、第1特別図柄の保留とは別に、第2特別図柄に対する特別図柄抽選の保留機能も、最大4回の特別図柄抽選に使用する乱数値を保留しておくことを可能としている。
このように、通常遊技状態(低確率/低ベース状態)においては、遊技者は、遊技領域の左側領域P501Lに遊技球を発射して、第1特別図柄に係る特別図柄抽選を実行させる。そして、特別図柄抽選において、「大当り」や「小当り」などの特別遊技状態となる抽選結果に当選し、特別遊技状態への移行の権利を獲得したことが特別図柄表示装置に表示されると、ぱちんこ遊技機Pの遊技状態は特別遊技状態へ移行する。
[特別遊技状態]
続いて、特別遊技状態における遊技方法および遊技の進行に関する説明を行う。特別遊技状態には「大当り(遊技)」と、「小当り(遊技)」とが存在するが、ともに特別電動役物P755が作動して、すなわち主制御基板P40から特別電動役物駆動手段P70に対して駆動信号が出力されて大入賞口P751が入球容易状態となる状態であり、その相違点として、「大当り」が複数回の特別電動役物P755を連続して作動させる役物連続作動装置の作動に基づくものであるのに対し、「小当り」が1回の特別電動役物の作動により終了する点が大きな相違点である。その他の相違点としては、役物連続作動装置の作動に基づく特別電動役物の作動(大当り)では、特別電動役物P755の作動に関し、より遊技者に有利な作動態様とすることを可能とする点にあり、具体的には、役物連続作動装置の作動状態(大当り)における大入賞口P751の総開放時間は、30秒まで許容される一方、小当りにおける大入賞口P751の総開放時間は1.8秒までに制限される点がある。以下の特別遊技状態における遊技方法および遊技の進行に関する説明では、大当りを例に説明を行う。
前提技術のぱちんこ遊技機Pにおける特別遊技の遊技進行は、時系列に沿って、「特別遊技開始デモ」(大当りの場合は「大当り開始デモ」、「役連作動開始デモ」などと称し、小当りの場合は「小当り開始デモ」)と呼ばれる遊技者に各種特別遊技を獲得した旨を報知するための演出期間と、「ラウンド(遊技)」(「単位遊技」とも称する)と呼ばれる1回の特別電動役物P755の作動期間と、「特別遊技終了デモ」(大当りの場合は「大当り終了デモ」、「役連作動終了デモ」などと称し、小当りの場合は「小当り終了デモ」)と呼ばれる主に特別遊技中における遊技結果(獲得遊技球数など)および移行先の通常遊技状態(特定遊技状態を含む)の種類に係る報知を行うための期間とによって構成される。
次に上述した各特別遊技の期間における遊技の方法について説明を行う。まず、「特別遊技開始デモ」期間において、前提技術のぱちんこ遊技機Pでは、大入賞口P751が遊技領域の右側領域P501R(右打ち領域)に配置されており、通常遊技状態(低確率/低ベース状態)と同様の左側領域P501Lに遊技球を発射しても大入賞口P751の入球がほとんど期待できないため、特別遊技において大入賞口P751が入球容易状態となるラウンド遊技が開始する前に、遊技者に対して遊技領域の右側領域P501R(右打ち領域)に遊技球を発射することを促す右打ち報知演出を演出表示装置P80やスピーカ(下スピーカP141、上スピーカP370)、演出ランプP82を用いて実行する。遊技者は、右打ち報知演出に従って、ハンドルP204の操作量を増やし遊技球の発射強度を高めるよう調整し、遊技球を遊技領域の右側領域P501R(右打ち領域)に流下するよう発射位置を変更する(右打ちを実行する)。
「ラウンド(遊技)」期間になると、前提技術のぱちんこ遊技機Pでは、主制御基板P40から特別電動役物駆動手段P70に対して出力される駆動信号により大入賞口P751が入球容易状態または入球困難状態となり、特別遊技の実行期間に合わせて大当り(小当り)を獲得したことを祝福するような演出や、特別遊技が終了した後に移行する通常遊技状態が遊技者にとってより有利な特定遊技状態となるかを示唆する演出などの演出を実行する。遊技者は、大入賞口P751に遊技球を入球させて多数の遊技球を得るべく、遊技領域の右側領域P501R(右打ち領域)に遊技球を発射する。
1回の「ラウンド(遊技)」期間は、大当り(小当り)の種類に基づいて定められた大入賞口の開放パターン(特別電動役物の作動態様)が完遂する(開放時間が経過する)か、予め定められた「規定個数」(「カウント」「C」などと表現する場合を有する)の遊技球が入球することによって終了する。そして、実行中の特別遊技状態の種類(大当り、小当りの種類)に応じて、実行すべきラウンド遊技が全て終了したとき「特別遊技終了デモ」の状態へ移行する。
続いて「特別遊技終了デモ」期間となると、前提技術のぱちんこ遊技機Pでは、今回の特別遊技状態の期間において獲得した遊技球数や、後述する特定遊技期間と連続して行われた複数回の特別遊技状態において獲得した(通常遊技状態(低確率/低ベース状態)に移行せずに獲得した)累計の獲得遊技球数を報知する演出を行ったり、特別遊技状態の後に移行する通常遊技状態の種類の報知および移行先の遊技状態における遊技方法に係る報知(前述した右打ち報知演出など)の演出が実行される。遊技者は、実行されている演出より、移行先の通常遊技状態の種類に応じた遊技に備えて、ハンドルの操作を行う。
前提とする多くのぱちんこ遊技機Pにおいては、一部の例外を除いて、特別遊技状態としての大当り遊技が実行されると、通常遊技状態として「特定遊技状態」と呼ばれる遊技者にとって特別遊技状態への移行権利が獲得しやすい状態へ移行し、特定遊技状態と特別遊技状態とを連続して繰り返す、いわゆる「連荘」を楽しむ遊技性となっている。
[特定遊技状態]
続いて、「特定遊技状態」に関する説明を行う。図6に示すように特定遊技状態には、大きく分けて3つの特定遊技状態が存在する。そして、それらの種類を分ける要素として「確率状態」と「ベース状態」とがあり、それらの組み合わせによって特定遊技状態を構成する。
(確率状態)
「確率状態」は、特別図柄抽選における当否抽選において、抽選結果が「大当り」となる確率を変動させる機能である「確率変動機能」(「確変」とも言う)の作動状態に基づき、確率変動機能が作動し、作動していない場合よりも高い確率で特別図柄抽選における当否抽選が「大当り」となる場合について「高確率(状態)」(「確変状態」、「確率変動状態」と表現する場合もある)と表現し、確率変動機能が作動していない状態について「低確率(状態)」と表現する。「高確率(状態)」は、1回の特別図柄抽選に対し大当りとなる確率が高いという点で、通常遊技状態(低確率/低ベース状態)より有利な遊技状態となっている。
(ベース状態)
「ベース状態」は、「ベース」すなわち「所定個数の遊技球を発射した場合に賞球として得られる遊技球の割合(の期待値)」に関する状態であり、一般的には、普通電動役物P770の作動が通常遊技状態(低確率/低ベース状態)よりも容易(有利)となっている状態を「高ベース(状態)」(「電チューサポート(電サポ)状態」とも言う)と呼ぶ。なお、遊技機仕様によっては、「電チューサポート機能」が作動した状態でなくとも、推奨される遊技球の発射位置が切り替わることにより、「所定個数の遊技球を発射した場合に賞球として得られる遊技球の割合」が高まるのであれば「高ベース状態」と表現する場合も有する。「高ベース(状態)」は、特別遊技状態を獲得するまでの期間において、遊技球が賞球として払い出される数が多くなる(払い出されやすくなる)ことにより、遊技球の消費を抑えながら特別遊技状態の獲得を狙うことができる点で遊技者にとって有利となる遊技状態である。
「電チューサポート機能」は、普通電動役物P770の作動が通常遊技状態(低確率/低ベース状態)よりも容易となっている状態であるが、主として3つの機能の組み合わせ(少なくとも1を備える)によって構成される。「電チューサポート機能」を構成する3つの機能とは、「普通図柄確変」、「普通図柄時短」、「(普通電動役物の)開放延長」の3つである。「普通図柄確変」は、「普通図柄抽選」において普通電動役物を作動させる結果となる確率が高い状態を指す。「普通図柄時短」は、主制御表示装置P50における普通図柄表示手段P53において、普通図柄抽選を実行してから普通図柄抽選の結果を表示するまでの時間が短縮される状態のことを指す。「普通電動役物の開放延長」は、普通図柄抽選で当選した当りの種類に対して、普通電動役物P770に係る入賞口に対し遊技球が入球しやすい態様にて普通電動役物を作動させるように変更することを指しており、一例として、普通電動役物を入球容易状態とする総時間を延長して長くすることが該当する。
「普通図柄抽選」は、上述した特別図柄抽選が特別電動役物P755の作動に関する抽選であるのに対し、普通図柄抽選は対象が普通電動役物P770の作動に関する抽選である点、および抽選の実行契機が普図作動ゲート装置P740に対する遊技球の入球である点で相違するが、当否、図柄、変動パターンを抽選により決定する点や保留機能を有する点でほぼ同じである。普通図柄抽選に関する当否、図柄、変動パターンの抽選について特に表現する場合には「普図当否抽選」、「普図図柄抽選」、「普図変動パターン抽選」というように「普図」(または「普通図柄」)を先頭につけて表現する。
「特定遊技状態」の種類を区別する要素として、「確率状態」、「ベース状態」とを説明したが、特定遊技状態を構成する要素として、他に「時短状態」(「変動時間短縮状態」、「変動時間短縮機能」が作動した状態、ともいう)がある。一般的に「時短状態」は特別図柄の1回当りの変動表示時間(変動パターン)が短縮されて、単位時間あたりの特別図柄抽選の実行回数が増加する状態のことを指し、遊技者にとってより単位時間あたりに多くの特別図柄抽選を受けられる点で有利な状態である。「時短状態」(変動時間短縮状態)は、上述した「高確率状態」や「電チューサポート状態」と同時に制御されていることが多く、それのみで特定遊技状態を構成することは少ない。
[特定遊技状態1:低確率/高ベース状態]
「特定遊技状態」に係る説明に戻り、最初に図6に示す特定遊技状態1(低確率/高ベース状態)における遊技の進行及び遊技方法に関する説明を行う。
特定遊技状態1(低確率/高ベース状態)への移行は、図6の(1)、(8)、(12)に示す遊技状態遷移により移行する。図6の(1)、(8)、(12)の遊技状態遷移条件としては、(ア)それぞれの状態で大当り遊技を獲得すること、(イ)所定遊技回数が経過すること(※(8)のみ)などがある。図示はしていないが、特定遊技状態1から大当り遊技を経由して再び特定遊技状態1へ移行する場合も有する。一方で特別遊技状態が終了する条件を満たした場合、図6の(2)、(7)、(11)のように遷移する。これら(2)、(7)、(11)の遊技状態遷移条件としては、(ウ)特定遊技状態1でそれぞれの遊技状態に移行することとなる種類の大当り遊技を獲得すること、(エ)所定遊技回数が経過すること(※(2)のみ)が挙げられる。なお、「遊技回数」とは、一例として「特別図柄抽選の実行回数」のことを指す。
特定遊技状態1(低確率/高ベース状態)へ移行すると、前提とするぱちんこ遊技機Pにおいては、前述した「電チューサポート機能」、「変動時間短縮機能」の双方が作動した状態となる。前提とするぱちんこ遊技機Pの遊技盤P5における各入賞装置の配置構成では、遊技領域の右側領域P501R(右打ち領域)に普図作動ゲート装置P740、および普通電動役物に係る第2始動入賞口P721が配置されており、遊技者は遊技領域の右側領域P501R(右打ち領域)に遊技球を発射する「右打ち」を行うことで容易に普通図柄抽選および特別図柄抽選を受けられる。また、前提とするぱちんこ遊技機Pは、特定遊技状態1(低確率/高ベース状態)において、前述した「時短状態」にも制御されようになっている。
より詳細に遊技の進行に関して説明すると、特定遊技状態1(低確率/高ベース状態)となった場合、遊技者は遊技領域の右側領域P501R(右打ち領域)に遊技球を発射し、普図作動ゲート装置P740への入球(通過)させることを第1の手順として行い、普図作動ゲート装置P740への入球(通過)により、主制御基板P40において普通図柄抽選を受ける。特定遊技状態1(低確率/高ベース状態)における普通図柄抽選は、普図確変機能の作動により高確率(約1/1)で当りとなるため、普図作動ゲート装置P740へ遊技球が1球入球(通過)すると、1回の普通電動役物P770の作動が発生する。普通電動役物P770が作動すると、前提とするぱちんこ遊技機Pでは第2特別図柄に係る特別図柄抽選の契機となる第2始動入賞口P721が入球容易状態となり、遊技者は続く第2の手順として第2始動入賞口P721へ向けて遊技球を発射する。第2始動入賞口P721へ遊技球が入球した場合、検出情報が主制御基板P40に入力され、第2特別図柄に係る特別図柄抽選が実行され、特別遊技(大当り、小当り)の実行権利の獲得に係る抽選が実行される。
特定遊技状態1(低確率/高ベース状態)は、当該状態に移行することとなった遊技状態遷移条件(例えば、大当りの実行であれば実行された大当りの種類、等)によって予め定められた遊技回数(特別図柄抽選を受けた回数)が経過するか、新たに大当り遊技を獲得することによって終了する(なお、大当り遊技後に再び本状態に移行する場合を有する)。小当り遊技の獲得の場合は、特定遊技状態が終了しないものとすることが多いが、遊技機の仕様によっては、小当り遊技の獲得(又は複数回の小当り遊技の獲得、特定の種類の小当り遊技の獲得)によって終了するように設計される場合もある。特定遊技状態1(低確率/高ベース状態)が遊技回数によって終了する場合は、通常遊技状態(低確率/低ベース状態)へ移行する。
[特定遊技状態2:高確率/高ベース状態]
次に図6に示す特定遊技状態2(高確率/高ベース状態)における遊技の進行及び遊技方法に関する説明を行う。
特定遊技状態2(高確率/高ベース状態)への移行は、図6の(3)、(7)、(9)に示す遊技状態遷移により移行する。図6の(3)、(7)、(9)の遊技状態遷移条件としては、(ア)それぞれの状態で大当り遊技を獲得することである。図示はしていないが、特定遊技状態2から大当り遊技を経由して再び特定遊技状態2へ移行する場合も有する。一方で特別遊技状態が終了する条件を満たした場合、図6の(4)、(8)、(10)のように遷移する。これら(4)、(8)、(10)の遊技状態遷移条件としては、(イ)特定遊技状態2でそれぞれの遊技状態に移行することとなる種類の大当り遊技を獲得すること、(ウ)所定遊技回数が経過することが挙げられる。
特定遊技状態2(高確率/高ベース状態)へ移行すると、前提とするぱちんこ遊技機Pにおいては、特定遊技状態1(低確率/高ベース状態)に対し、さらに「確率変動機能」が作動した「高確率(状態)」である点で相違する。特定遊技状態2における遊技の進行および遊技の方法としては、特定遊技状態1と同様であり、遊技者にとっては特別図柄抽選において大当りの当選確率が高い分より早期に大当りを獲得し得る点で相違する。
特定遊技状態2(高確率/高ベース状態)は、当該状態に移行することとなった遊技状態遷移条件(例えば、大当りの実行であれば実行された大当りの種類、等)によって予め定められた遊技回数(特別図柄抽選を受けた回数)が経過するか、新たに大当り遊技を獲得することによって終了する(なお、大当り遊技後に再び本状態に移行する場合を有する)。特定遊技状態2は小当り遊技の獲得の場合は終了しないものとするのが一般的である。特定遊技状態2(高確率/高ベース状態)が遊技回数によって終了する場合は、通常遊技状態(低確率/低ベース状態)や、特定遊技状態1(低確率/高ベース状態)、特定遊技状態3(高確率/低ベース状態)へ移行する。
[特定遊技状態3:高確率/低ベース状態]
続いて図6に示す特定遊技状態3(高確率/低ベース状態)における遊技の進行及び遊技方法に関する説明を行う。
特定遊技状態3(高確率/低ベース状態)への移行は、図6の(5)、(10)、(11)に示す遊技状態遷移により移行する。図6の(5)、(10)、(11)の遊技状態遷移条件としては、(ア)それぞれの状態で大当り遊技を獲得すること、(イ)所定遊技回数が経過すること(※(10)のみ)などがある。図示はしていないが、特定遊技状態3から大当り遊技を経由して再び特定遊技状態3へ移行する場合も有する。一方で特別遊技状態が終了する条件を満たした場合、図6の(6)、(9)、(12)のように遷移する。これら(6)、(9)、(12)の遊技状態遷移条件としては、(ウ)特定遊技状態3でそれぞれの遊技状態に移行することとなる種類の大当り遊技を獲得すること、(エ)所定遊技回数が経過すること(※(6)のみ)が挙げられる。
特定遊技状態3(高確率/低ベース状態)へ移行すると、前提とするぱちんこ遊技機Pにおいては、「確率変動機能」が作動した「高確率(状態)」となり、特定遊技状態1および特定遊技状態2とは異なり「電チューサポート機能」、「変動時間短縮機能」は作動していない状態となる。前提とするぱちんこ遊技機Pの遊技盤P5における各入賞装置の配置構成では、遊技領域の右側領域P501(右打ち領域)に普図作動ゲート装置P740、および普通電動役物に係る第2始動入賞口P721が配置されているが、特定遊技状態3(高確率/低ベース状態)において遊技者が遊技領域の右側領域P501R(右打ち領域)に遊技球を発射する「右打ち」を行ったとしても普通図柄抽選にて当りに当選する確率は低く、右打ちを行う優位性が存在しない。
そのため、遊技者は遊技領域の左側領域P501L(左打ち領域)に遊技球を発射する「左打ち」にて遊技を進めることとなり、高確率状態であるため特別図柄抽選にて大当りとなる確率が高いため早期に大当り遊技が獲得できること以外は、通常遊技状態(低確率/低ベース状態)と同様の遊技方法、遊技進行となる。
特定遊技状態3(高確率/低ベース状態)は、当該状態に移行することとなった遊技状態遷移条件(例えば、大当りの実行であれば実行された大当りの種類、等)によって予め定められた遊技回数(特別図柄抽選を受けた回数)が経過するか、新たに大当り遊技を獲得することによって終了する(なお、大当り遊技後に再び本状態に移行する場合を有する)。特定遊技状態3は小当り遊技の獲得の場合は終了しないものとするのが一般的である。特定遊技状態3(高確率/低ベース状態)が遊技回数によって終了する場合は、通常遊技状態(低確率/低ベース状態)へ移行する。
なお、特定遊技状態3(高確率/低ベース状態)は、前提とするぱちんこ遊技機Pとして記載した図6の盤面配置構成とは異なり、右側領域P501R(右打ち領域)に普通電動役物P770を有しないタイプの第3始動入賞口を配置し、「時短状態」を作動させることにより、短時間に多くの特別図柄抽選が受けられるように構成するなど、遊技盤上の入賞装置の配置構成及び時短状態の制御によっては「右打ち」が推奨される遊技状態となる場合も有する。
以上で説明したように、前提とするぱちんこ遊技機Pでは、複数の遊技状態によって遊技進行が行われるものであるが、前述した全ての遊技状態を必ずしも備える必要はない。そこで、複数の遊技状態の組み合わせ等によって構成される遊技機仕様のうち、前提とするぱちんこ遊技機Pで採用可能な遊技機仕様(「スペック」と称することがある)を以下に例示する。
代表的な遊技機仕様(「スペック」)に関し、特別図柄抽選の確率変動機能の作動に係る遊技機仕様の種類の一例としては、「(次回まで)確変」、「ST(回数切り確変)」、「V確変(「球確」、「アタックラウンドシステム」ともいう)」、「潜伏確変」を採用可能である。この確率変動機能の差による遊技機仕様の違いを、「本遊技機は『○○機(例:ST機)』である」などと表現することがある。また、確率変動機能を有しない遊技機において、小当り遊技中に大入賞口P751内部の特定領域P760を通過することにより、その後役物連続作動装置が作動する(すなわち大当り遊技に移行する)こととなる「小当りV」と呼ばれる遊技機仕様なども存在する。
[(次回まで)確変]
まず始めに「(次回まで)確変」について説明する。「次回まで確変」は、一般的には、ぱちんこ遊技機Pに備わった複数の特定遊技状態の中で、前述した特定遊技状態の内の最も有利とする遊技状態として、「特定遊技状態2(高確率/高ベース状態)が次回の大当り遊技の権利を獲得するまでの間継続することとなるぱちんこ遊技機」についての遊技機仕様を示す。換言すると、「次回まで確変」の遊技機は、次回の大当り遊技の権利を獲得するまでは特定遊技状態2(高確率/高ベース状態)が継続し、図柄変動回数などによっては終了しないよう構成されている。
なお、大当りの種類によっては、特定遊技状態1(低確率/高ベース状態)や特定遊技状態3(高確率/低ベース状態)に制御される場合を有していてもよい。また、「特定遊技状態3(高確率/低ベース状態)が次回の大当り遊技の権利を獲得するまでの間継続するぱちんこ遊技機」においても、確率変動機能が次回大当りまで継続するという意味で「次回まで確変」と呼称する場合もあるが、ベース状態が「低ベース状態」であり、電チューサポート機能に関して通常遊技状態(低確率/低ベース状態)と同様の遊技が求められる場合があるため、このように電チューサポート機能が作動していない次回まで確変であることから「潜伏確変」と切り分けて表現する。
[ST(回数切り確変)]
続いて「ST(回数切り確変)」について説明する。「ST」は、「Special Time」の略語であり、一般的には、「特定遊技状態2(高確率/高ベース状態)が予め定められた回数の特別図柄抽選を行う(予め定められた回数の図柄変動が実行される)か、大当り遊技の権利を獲得するまでの間継続することとなるぱちんこ遊技機」についての遊技機仕様を示す。
なお、大当りの種類によっては、特定遊技状態1(低確率/高ベース状態)や特定遊技状態3(高確率/低ベース状態)に制御される場合を有していてもよい。また、前述した「次回まで確変」と同様に、遊技状態が特定遊技状態3(高確率/低ベース状態)に予め定められた回数の特別図柄抽選を行うか、大当り遊技の権利を獲得するまで制御されることとなる場合について、「潜伏確変(潜伏ST)」と称する状態を有するように構成することも可能である。
また、「ST(回数切り確変)」であっても、遊技状態がSTに制御される期間を、特別図柄抽選の抽選が「10000回行われるまで」とする場合など、高確率状態で実質的に次回までの大当りが保証されているといえる遊技機仕様であれば「次回まで確変」と表現する場合もある。
ここまで述べたように、「次回まで確変」と「ST(回数切り確変)」は、特別図柄抽選の確率変動機能の終期が異なる点で、遊技機仕様としての「確変状態」を区別するものである。一方で以下に説明する「V確変(「球確」「アタックラウンドシステム」)」のように、特定遊技状態における特別図柄抽選の確率変動機能の作動の有無、すなわち確率変動機能の実行開始に関し、特殊な条件を必要することで遊技機仕様(「スペック」)を表現する場合もある。
[V確変]
続いて、「V確変」と呼ばれる遊技機仕様に関して説明する。「V確変」は、遊技状態が特定遊技状態へ移行する前の大当り遊技中において、大入賞口P751内に設けられた「特定領域P750」(「Vゾーン」、「V領域」などと称することがある)に対し、予め定められた条件下(特定の大当りラウンドの実行中など)で遊技球の通過(「V入賞」)が検出された場合に、大当り遊技後に確率変動機能の作動を伴う特定遊技状態(特定遊技状態1や特定遊技状態3)へ移行させる制御を行うぱちんこ遊技機の遊技機仕様を示す。「V確変」に使用する「特定領域」に関し、特に「確率変動機能作動領域」と称する場合もある。
前述したように「V確変」は、確率変動機能の作動有無が大当り遊技中の遊技結果に依存する(遊技球が特定領域P760を通過するか否かに依存する)ことを示す遊技機仕様であり、作動した確率変動機能が、先に説明した「次回まで確変」と同等制御にて終了するか、「ST」と同等の制御にて終了するかの際によって「V確変(V-ループ)」や「V-ST」と異なる遊技機仕様を示す表現が用いられる。
なお、遊技機仕様として「V確変」を採用するぱちんこ遊技機Pにおいては、大当り遊技中においてV入賞しなかった場合においては、大当り遊技後に確率変動機能が作動せず、通常遊技状態や特定遊技状態1(低確率/高ベース状態)に制御される。また、このようにV入賞した場合としなかった場合とで大当り遊技後に確率変動機能の作動する遊技状態となるか否かを切り替えるとともに、同時に電チューサポート機能の作動態様についても変更可能である。一例として「V確変(V-ループ)」機では、V入賞した場合、確率変動機能および電チューサポート機能が次回大当りを獲得するまで継続し、V入賞しなかった場合、確率変動機能は作動せず、電チューサポート機能も特別図柄抽選が100回行われるまでに制限されるようにすることが挙げられる。
[小当りV]
次に、確率変動機能を持たずに大当り獲得に関して遊技者に有利な遊技状態を提供しうる遊技機仕様として「小当りV」と呼ばれる遊技機仕様(スペック)に関して説明する。
「小当りV」は、特別図柄抽選の結果が小当りとなった際に実行される小当り遊技中(特別電動役物の作動中)に、大入賞口P751内部に設けられた「特定領域P760」(「Vゾーン」、「V領域」などと称することがある)を通過した場合に、小当り遊技に続いて役物連続作動装置を作動させる、すなわち大当り遊技を開始する遊技機仕様である。言い換えると、小当り中に特定領域P760を通過させることによって、特別図柄抽選の結果として大当りとなる結果を獲得することなく大当り遊技を獲得することができる遊技機仕様である。
「小当りV」は特別図柄抽選の結果として役物連続作動装置や特別電動役物を作動させる「1種(ぱちんこ)」の遊技性に、役物連続作動装置非作動中の特別電動役物作動中(大入賞口P751の開放中)において特定領域P760を通過した場合に役物連続作動装置を作動させる仕様であり、「1種小当りV」と表す場合もある一方、従来のぱちんこ遊技機におけるいわゆる「2種ぱちんこ」の遊技機仕様に近い遊技性を有していることから「1種2種混合機」などと表現される場合を有する。
一般的に「小当りV」を遊技機仕様として採用するぱちんこ遊技機においては、確変機能(確率変動機能)を有さず、電チューサポート機能の有無によって有利度合いを変更させる。すなわち、電チューサポート機能が作動した場合に入賞しやすくなる普通電動役物P770に係る入賞口を小当りに当選しやすい特別図柄(例えば1/2で小当りに当選する)の変動契機となる始動入賞口で構成することで、電チューサポート機能が作動している状況下では小当りに当選しやすく、小当り遊技中のV入賞で大当りを狙うことを可能とする。このようにすることで、確変機能のように大当りとなる乱数値範囲を増やすのではなく、小当りにより大当りの獲得可能性を増やす遊技性となっている。
[その他の遊技機仕様(スペック)]
以上に記載した、遊技機仕様は代表的なものであり、その他にも特徴的な遊技機仕様がいくつか知られているため、それらに関して以下に簡易的に説明を行う。
(リミッタ)
「リミッタ」は、確率変動機能や電チューサポート機能が作動する特定遊技状態が、大当り遊技の実行を挟んで繰り返し行われる状態(いわゆる「連荘」状態)が発生した場合であって、予め定められた繰り返し回数(連荘回数)に到達した場合に、本来確率変動機能や電チューサポート機能が作動するはずの大当り遊技が実行された場合であっても、確率変動機能あるいは電チューサポート機能の作動を制限する機能である。リミッタ機能として「確率変動機能」を連続回数に基づいて制限する機能を「確変リミッタ」と呼び、「電チューサポート機能」を連続回数に基づいて制限する機能を「時短リミッタ(電サポリミッタ)」と呼ぶ。そして、リミッタ機能を備える遊技機を「リミッタ機」と呼称する。
(転落)
「転落」は、特別図柄抽選の確率変動機能が作動している期間において、特別図柄抽選が行われる度に、確率変動機能を終了させるか否かを決定する「転落抽選」を実行する遊技機仕様を示す。確率変動機能とともに電チューサポート機能が作動している状況において、転落抽選に当選した場合は、確率変動機能の終了に合わせて電チューサポート機能の作動が終了する場合や、確率変動機能のみが終了し電チューサポート機能の作動は継続する場合とがある。
なお、上述した遊技機仕様は複数組み合わせることが可能であり、例えば、「ST」と「転落」を組み合わせた場合には、特定遊技状態2(高確率/高ベース状態)である場合に、(1)転落抽選に当選した、(2)予め定められた回数の特別図柄抽選を行った、(3)大当り遊技の権利を獲得した、のいずれかを充足した場合に、特定遊技状態2(高確率/高ベース状態)が終了する(他の遊技状態に移行する)こととなる。
次に、前提とするぱちんこ遊技機Pにおける遊技の進行を司る主制御基板P40の制御に関する説明を行う。なお、本実施形態に説明する前提とするぱちんこ遊技機Pにおいては、前述した遊技機仕様(スペック)として、「ST(回数切り確変)」を採用しているぱちんこ遊技機を前提として説明を行う。なお、実施形態の説明において、図中の処理ステップを示す「P-s〇〇」の表記は、本文中において「ステップ〇〇」と表記して説明を行う。
[主制御基板の電源投入処理(主制御基板メインループ処理)]
前提とするぱちんこ遊技機Pの主制御基板P40は、ぱちんこ遊技機Pの電源が投入されることにより、最初に電源投入処理(ステップ1000)を実行する。ここで、電源投入処理について図7に沿ってその詳細を説明する。
前提とするぱちんこ遊技機Pの主制御基板P40において電源投入処理が開始されると、主制御基板P40上に設けられた演算装置であるCPUの動作に係る初期設定が行われる(ステップ1002)。初期設定は、この後のCPUの動作に必要な設定を適宜行うものであり、その詳細は割愛する。
CPU初期設定が終了すると、続いて入力ポートの確認処理(ステップ1004)と電源断情報確認/チェックサム処理(ステップ1006)を実行し、これらの処理内容を受けて遊技停止状態設定処理(ステップ1008)に関する処理を行う。
より詳細に説明すると、入力ポート確認処理(ステップ1004)は、ぱちんこ遊技機Pの特別図柄抽選の有利度合い(特に役物連続作動装置の作動確率、すなわち大当り確率)を変更するための「設定値」を変更可能な「設定変更処理」を行う状態であるか否かのフラグ、「設定値」を確認するための「設定確認処理」を行う状態であるか否かのフラグについて、当該処理の後に行われる遊技停止状態設定処理で成立させるか否か(オンにするか否か)を決定するための情報を生成する処理である。前提とするぱちんこ遊技機Pでは、枠開放スイッチP131(前枠が外枠に対して開放していることを検出するスイッチであり、ドア開放スイッチ、ドア開放センサ、枠開放センサと称する場合がある)の検出状況、ラムクリアスイッチP48が遊技者に操作されているかの検出状況、設定キースイッチP49が回転操作されているかの検出状況を示すデータを含むデータを1バイトデータとして生成する。
続く電源断情報確認/チェックサム処理(ステップ1006)では、前回電源を切ったとき、ぱちんこ遊技機Pが正常に電源断を行い、電源断が発生したときの遊技状態に係る制御データを正常に主制御基板P40のCPUの記憶領域に正常に退避、記憶しているかを確認する処理であり、正常なデータでない場合には、エラーとして後述する遊技停止状態設定処理(ステップ1008)にて遊技を停止するようにするフラグを立てる(オンにする)処理である。
「遊技停止状態設定処理」(ステップ1008)は、電源投入処理における処理が終了し、遊技を開始すべくメインループ処理に移行した後、実際に遊技者が遊技できる状況としないためのフラグを設定する処理であり、入力ポートの確認処理(ステップ1004)と電源断情報確認/チェックサム処理(ステップ1006)の処理結果に基づいて、「設定変更状態」、「設定確認状態」、「復帰不可能エラー状態」のいずれかの遊技進行不許可状態へ移行させるフラグを立てる処理である。「遊技停止状態設定処理」の詳細は図8に記載しており、図8の記載に基づいて説明を行う。
遊技停止状態設定処理では、まず枠開放中であるかを、入力ポートの確認処理(ステップ1004)で生成した1バイトデータを基に判断する(ステップ1100)。電源投入時にぱちんこ遊技機Pの前枠P2が外枠P1に対して開放した状態であれば(ステップ1100でYESとなる状況)、1バイトデータの特定のビットが「1」となっている状況であるため、続くステップ1102の処理を省略する。一方で、ぱちんこ遊技機の電源投入時に枠開放中でない場合は、設定変更処理を実行するための必須操作の一部が充足していないとし、入力ポートの確認処理(ステップ1004)で生成した1バイトデータから設定キースイッチの操作情報をオフデータにとなるように演算する。なお、不図示であるが、ステップ1102でYESとなる場合、NOとなる場合のいずれにおいても、1バイトデータ中から枠開放中のビットもオフデータとなるように演算される。
続くステップ1104では、入力ポートの確認処理(ステップ1004)で生成した1バイトデータが「設定変更操作あり」と判断可能な情報となっているか否かを判断する。前提とするぱちんこ遊技機Pでは「設定変更操作あり」と判断される状況は、(1)枠開放スイッチP131がオン(電源投入時に枠開放中)であり、(2)設定キースイッチP49がオンであり(回転操作されている)、(3)ラムクリアスイッチP48がオンである、の3つの状態を必要としている。前述したように1バイトデータの内、枠開放スイッチP131の情報はオフに設定されており、(2)(3)の双方を満たすか否かを本ステップにて判断している。例えば特定の2つのビットデータが「1」である場合に設定変更操作ありと判断する(なお、2つのスイッチがオンであることを示すアクティブデータが必ずしも「1」である必要はなく、いずれか1つのデータが「0」であってもよい)。そして、設定変更操作があったと判断した場合、すなわちステップ1104でYESと判断した場合には、遊技停止状態フラグとして「設定変更中」を示すデータを記憶し、遊技停止状態設定処理を終了する(ステップ1106、ステップ1118)。一方、ステップ1104でNOと判断した場合には続くステップ1108の処理へ移行する。なお、主制御基板P40のラム(RAM=Random Access Memory)に記憶されている設定値情報が異常データである場合(復帰不可能エラー状態からの復帰操作である場合)には、初期設定値として設定値「1」に対応するデータを、設定値を記憶する領域にセットする(ステップ1118)。
次にステップ1108において、遊技停止エラーの発生の判断を行う。遊技停止エラーは、例えばチェックサム異常(ラム異常)や、設定値異常など、遊技の進行を行うことができない状況に陥ったときに、ラムクリアおよび設定値の設定(変更)処理を要する場合のエラーのことを指す。ステップ1108の判断は、電源断情報確認/チェックサム処理(ステップ1006)の処理結果や、前回の電源断処理時に記憶しているエラー情報を基に遊技停止状態として設定すべきか否かを判断する。エラー状態とすべきと判断した場合(ステップ1108でYESと判断した場合)には、遊技停止状態フラグを「復帰不可能エラー状態」として遊技停止状態設定処理を終了し(ステップ1110、ステップ1118)、エラーが発生していないと判断した場合には続くステップ1112の処理へ移行する。
続くステップ1112においては、ラムクリアスイッチP48の操作の有無を判断する。遊技停止状態設定処理において、当該ステップまで進行する場合の状態として、
(ア)設定確認状態へ移行する操作が行われているとき、換言すると、「設定変更操作あり」の判断の内、(1)枠開放スイッチP131がオン(電源投入時に枠開放中)である、(2)設定キースイッチP49がオンである、を充足し、(3)ラムクリアスイッチP48がオンである、を充足していないとき、
(イ)データクリアのためのラムクリア操作が行われたとき、換言すると、(2)設定キースイッチP49がオンである、を充足しておらず、(3)ラムクリアスイッチP48がオンである、を充足しているとき、
(ウ)「設定変更操作」、「設定確認操作」、「ラムクリア操作」などの操作が何ら行われず電源を投入したとき、
のいずれかの状況である。そして、これらの状態において入力ポートの確認処理(ステップ1004)で生成した1バイトデータは、(ア)設定キースイッチP49のオンオフを示すビットデータが「1(オンデータ)」、(イ)ラムクリアスイッチP48の操作検出状態のオンオフを示すビットデータが「1(オンデータ)」、(ウ)1バイトデータが全てオフデータ(例えば全ビット「0」)のいずれかの状況である。
そして、ステップ1112においてラムクリアスイッチP48の操作があったか否かを判断し、ラムクリア操作があった場合(ステップ1112でYESと判断する場合)には、ぱちんこ遊技機は、ラムクリアをしたのち遊技可能状態へ移行させるため、遊技停止状態フラグをクリアする処理を行う(ステップ1114)。一方、ラムクリア操作がなされた状況以外では、現在の1バイトデータをそのまま設定することとなり、この時、遊技停止状態フラグは「設定確認状態」へ移行する操作がなされているときは(ステップ1112でNOと判断する場合)、設定キースイッチP49の操作状況を示すビットデータが「1」となっており、遊技停止状態フラグを示す1バイトデータに「設定確認中」を示すデータとして記憶される(ステップ1118)。また、ラムクリア操作も設定確認状態への移行操作もない場合には、入力ポートの確認処理(ステップ1004)で生成した1バイトデータは、もともと遊技停止状態フラグとして遊技停止なしを示すデータであり、遊技停止なし情報としてセットされる。
「遊技停止状態設定処理」(ステップ1008)にて設定された遊技停止状態フラグについて、何らかの停止状態を示す値が記憶されている場合は、電源投入処理(ステップ1000)における遊技許容状態であるメインループ(ステップ1028~ステップ1036)への移行後に実行される遊技進行制御の主体となる割込み処理(ステップ2000)において、停止状態を示す値が参照され、「基本遊技進行」として記載した遊技の進行ができない状態となるが、これらの制御については後述する割込み処理の説明において記載する。
図7の電源投入処理の説明に戻り、続く処理を説明する。遊技停止状態設定処理(ステップ1008)が終了すると、ラムクリア操作があったか否かを判断する(ステップ1010)。ラムクリア操作は、ぱちんこ遊技機Pの電源投入時にラムクリアスイッチP48が操作されることである。なお、設定キースイッチP49がオフの場合にもオンの場合にも本処理は実行される。ステップ1010においてラムクリア操作ありと判断した場合には、主制御基板P40のラムの記憶領域より、予め定められた部分の記憶領域を初期化する。
続くステップ1014からステップ1020の処理では、電源投入時に主制御基板P40から演出制御基板P41に対して遊技機の状態を認識させるための演出制御コマンド(演出コマンド)をセットする処理を行う。より詳細には、ステップ1014において、前回電源が切断したとき(電源断が発生したとき)において未送信となっていた演出制御コマンドを記憶領域からクリアする処理を行う。そして、ステップ1016において電源投入後に復帰した主制御基板P40の現在の遊技状態に関する情報を演出制御コマンドとして生成し、ステップ1018において遊技停止状態でないと判断した場合には、ステップ1020において、生成した復帰した遊技状態を示す演出制御コマンドを演出制御コマンドの送信データを記憶する領域にセットする。
電源投入時における演出制御コマンドのセットに係る処理が終了すると、大入賞口P751(特別電動役物P755)や普通電動役物P770を電源断発生前の状態に戻すべく、必要なデータ(駆動信号)を特別電動役物駆動手段P70および普通電動役物駆動手段P71に対して出力ポートから出力する。(ステップ1022)
そして、電源投入処理におけるステップ1022までの処理が終了すると、主制御基板P40のCPUに対して、割込み処理時間の発生間隔を設定する処理を行う(ステップ1024)。前提とするぱちんこ遊技機Pでは、後述する割込み処理(図9、ステップ2000)を実行する間隔を4ms(ミリ秒)としている。本処理が終了すると、遊技者が遊技可能な状態であるメインループと呼ばれる循環処理に移行し、電源断が発生するまでメインループ中の循環処理の実行を繰り返す。
(メインループ)
主制御基板のメインループの処理は、図7に示すように、まずステップ1026にて割込み処理の発生を禁止する処理を行い、メインループの処理が完了するまで(ステップ1036にて割込みを許可するまで)割込み処理の実行を制限する。
割込みが禁止されると、続くステップ1028では、ウォッチドッグタイマと呼ばれる主制御基板P40のCPUの暴走(処理がループしてしまったりして、進まなくなってしまう状況など)の発生を監視するための計時情報を記憶している領域をクリア(初期化)する。
そしてステップ1030では、電源断が発生しているか(例えば電源基板P44から電圧が低下したことに基づいて送られる電源断信号が主制御基板P40のCPUの入力ポートに入力されているか)を判断し、電源断が発生している状況であれば、現在の遊技状態を記憶し、電源断情報およびチェックサム情報を記憶して主制御基板P40のCPUとしての処理を停止する電源断処理(ステップ1032)を実行する。電源断が発生していない状況であれば続く処理へ移行する。
ステップ1034では、特別図柄抽選に使用する乱数や、普通図柄抽選に使用する乱数値を更新する処理を行う。なお、これらの乱数値の更新は後述する割込み処理において更新するものもあり、割込み処理においてのみ乱数が更新されることで乱数更新周期が一定になってしまうことを防止するための処理である。なお、割込み処理において、不定期に実行されるような処理があれば、それらの処理に合わせて乱数値を更新するなどの手法を採用することにより、乱数更新周期の一定化を防止することもできるため、メインループ内に乱数更新処理を設けることは必須ではない。
ステップ1036はメインループ中の最後の処理であり、割込みを許可する処理を行う。直後にメインループ中の最初の処理であるステップ1026の割込み禁止に戻ることになるが、割込み許可を行うステップ1036の処理が行われたときに、割込み実行周期(前回割込み処理の発生から4ms経過した状態)を示す入力が主制御基板P40のCPUにあれば、後述する割込み処理が実行されることとなる。
[割込み処理]
続いて主制御基板P40のCPUで行われる割込み処理(「タイマ割込み処理」とも呼ぶ)について図9を参照しながら説明する。前提とするぱちんこ遊技機Pでは、割込み処理(ステップ2000)により遊技の進行に関する大部分が制御されており、遊技機仕様(スペック)によって変更可能に設けられたサブモジュールプログラムを、汎用的に一定の順序で読みだして制御するように構成されている。それらのサブモジュールに関する処理を以下に簡易的に説明する。
(ウォッチドッグタイマクリア)
割込み処理の最初には、ウォッチドッグタイマクリアの処理が設けられている。本処理は、前述した主制御基板P40のCPUが実行するメインループ処理(図7、ステップ1026~ステップ1036)におけるウォッチドッグタイマクリア処理と同じ処理である。(ステップ2002)
(入力ポート確認処理)
入力ポート確認処理は、主制御基板P40のCPUの入力ポートに入力される情報を確認することにより、以降の処理において判断に必要な情報としての入力情報があったか否かを識別可能とする情報を生成する処理である。(ステップ2004)
入力ポートに入力される情報としては、ラムクリアスイッチP48や設定キースイッチP49の操作状況を示す入力信号や、ハンドルP204の操作状況(タッチ有無)を示す入力信号等の人為的な操作に係る入力信号、特図1始動口スイッチP712や大入賞口スイッチP752等の遊技球の検出による遊技結果を示す入力信号、磁気センサP73やドア開放センサP131、振動検知センサP72など不正監視のために設けられたセンサの検出状況を示す入力信号などがある。
入力ポート確認処理では、これらの入力ポートの入力信号を10μs(マイクロ秒)で3回読み込み、全ての読み込みで同一データ(同一ビット)となったデータを今回割込みにおける入力データ(「レベルデータ」という)として主制御基板P40のラムに記憶する。なお、3回読み込んだデータのうち全ての読み込みで同一データとならなかった部分については、前回の割込み処理(4ms前の割込み処理)において確定したデータをレベルデータとして採用することとなり、すなわち今回割込みにおいて正常にデータが読み取れなかった場合は前回割込みで記憶したデータを更新しないこととなる。
そして今回割込みにおける入力データ(レベルデータ)が確定すると、前回割込みにおける入力データとの比較演算を行い、「立ち上がりデータ」(入力データがオフからオンに変わったビットを特定するデータ)を生成し、今回割込みでオン入力に切り替わったスイッチを特定するデータを記憶する。
(乱数更新処理)
乱数更新処理は、特別図柄抽選に係る当否乱数、図柄乱数、変動パターン乱数や、普通図柄抽選の普図当否乱数、普図図柄乱数、普図変動パターン乱数などの各種乱数の内、ソフト的に更新される乱数値であるいわゆるソフト乱数を更新する処理である(ステップ2006)。前提とするぱちんこ遊技機Pでは、特別図柄抽選や普通図柄抽選に使用する乱数は、乱数生成回路にて回路上の更新周期にて乱数を更新するものと、ソフト的な周期で更新されるものを有する仕様としており、それらを組み合わせることで、乱数取得時の各種乱数のランダム性を保つように構成している。
乱数更新処理においては、前述したようにソフト乱数を更新する処理を行うものであるが、更新の方法としては、
(ア)乱数をインクリメント(+1)あるいはデクリメント(-1)して更新し、乱数範囲の上限(又は下限)を超えた場合に下限値(または上限値)とするもの、
(イ)乱数に対して任意の素数を減算(または加算)し、乱数範囲を超える場合に乱数範囲+1(または乱数範囲-1)の値を加算(または減算)するもの、
(ウ)初期値として設定した乱数からインクリメント(またはデクリメント)を繰り返し、1周期の更新が終わった場合に、別途更新している「初期値乱数」を新たな初期値として設定し同様の更新を繰り返すもの(初期値更新型乱数ともいう)、
といった各種の更新方法が例示できる。なお、本実施例に例示したものに限らず更新方法は乱数のランダム性が保てる手法であれば、どのような手法を採用してもよい。
(設定制御処理)
設定制御処理は、主制御基板P40のCPUにおける電源投入処理(図7参照)中で設定した遊技停止フラグが「設定変更中」、または「設定確認中」である場合の処理を行う。(ステップ2008)
設定制御処理では、最初に電源投入処理中にて遊技停止フラグとして格納したデータの設定キー操作中を示すビットデータがオンデータであるか否かを判定し、オンデータでない、すなわちぱちんこ遊技機の電源投入時に設定キーがオン操作されていなかった場合、本処理を抜けるように構成されている。
一方で、遊技停止フラグ中の設定キー操作中を示すビットデータがオンデータである場合には、「設定変更中」、「設定確認中」を終了させるか否かを判定するため、現在の割込み処理における設定キースイッチP49の入力情報(前述した入力ポート確認処理にて生成)を参照し、設定キースイッチP49がオフとなった場合に遊技停止フラグをクリアし、遊技可能な状態とした後、「設定変更状態」、「設定確認状態」のいずれからの復帰であるかに応じて、演出制御基板に演出を復帰(または開始)させるための演出制御コマンドを設定する。
また、電源投入処理(図7参照)において、遊技停止フラグが「設定変更中」である場合、設定キースイッチP49がオフとなるまでの期間において、本割込みタイミングにおける「設定変更スイッチ」の役割を果たすラムクリアスイッチP48(設定値を変更するために操作するスイッチ)の操作状況を確認する。遊技停止フラグが「設定変更中」の時、今回割込みにおいて、設定変更スイッチP48の操作にかかる立ち上がりデータが生成されている場合において、「設定値」を予め定められた変更順序の内の次の設定値となるようデータの変更を行う。例えば、設定が1から6まで順に切り替わるような設定値データを有するぱちんこ遊技機Pであれば、設定変更スイッチ(ラムクリアスイッチP48)の操作に基づく立ち上がりデータがあるたびに、本設定制御処理において設定値を「1」増加させる処理(操作前の設定値が6のときは、次の値として1に変更)を行う。
前提とするぱちんこ遊技機Pでは、設定変更状態や設定確認状態における処理を割込み処理中(図9参照)に設けることによって、設定キースイッチや設定変更スイッチの操作を割込み処理の周期で監視するとともに、後述するLED出力処理にて表示装置に対しての表示データの出力を可能とし、別途割込み処理の設定ができていない電源投入処理中(図7参照)において、周期的な監視のためのプログラムを設定することを省略可能としている。なお、電源投入処理中において、設定変更や設定確認に関するスイッチの監視や表示装置の制御、設定値の更新処理を行うように構成してもよい。
(遊技停止監視処理)
遊技停止監視処理は、主制御基板のCPUがぱちんこ遊技機の電源投入時に実行した電源投入処理(図7参照)中にて生成した遊技停止フラグのデータを読みだして遊技停止中であるか否かを確認する処理である。(ステップ2010)
遊技停止監視処理において、読みだされた遊技停止フラグのデータに何らかの遊技停止情報(遊技停止フラグ)が記憶されていた場合、例えば、遊技停止フラグのデータが0でなくいずれかのビットが「1」である場合は遊技停止状態(遊技停止が必要な状態)と判断し、遊技停止中として、割込み処理中の一部の処理(図9における「タイマ減算処理(ステップ2014)」から「特別電動役物制御処理(ステップ2028)」まで)を省略する。
前提とするぱちんこ遊技機Pでは、遊技停止が必要な状態として、すなわち遊技者が遊技をすることが不可能な状態として、「設定変更中」、「設定確認中」、「復帰不可能エラーの発生中」といった状態が例示できる。
(タイマ減算処理)
タイマ減算処理は、遊技の進行に関する時間の管理に使用されるタイマデータを更新する処理である(ステップ2014)。
タイマデータの更新処理の例として、特別図柄の変動表示が開始された場合に設定される変動表示時間の管理や、大当り遊技中の特別電動役物P755の作動時間(大入賞口P751の開放時間)などの遊技進行を契機としたタイマデータの更新処理や、球詰まりを検出する等のエラー判定のための計時処理、特別図柄表示装置P51、P52などの主制御表示装置P50におけるLEDの点灯パターンを切り替えるための切り替え時間を計時するための処理、外部情報出力端子P77等から外部機器(ホールコンピュータなど)に対する情報の出力を行う期間を計時する処理などが例示できる。
タイマ更新処理で更新されるタイマデータは、主制御基板P40の記憶領域(ラム記憶領域)に、「1バイトタイマ」、「2バイトタイマ」などのタイマデータの種類ごとに分けられて、連続した記憶領域にそれぞれ記憶されている。
タイマ更新処理では、それらの個別のタイマデータの種類を記憶した記憶領域に対し、「1バイトタイマ更新処理」、「2バイトタイマ更新処理」といった処理を行い、各種タイマの時間値を更新する処理を行う。タイマの更新処理は、記憶領域に記憶されているタイマデータをデクリメント(-1)する処理を行う。なお、記憶されているタイマデータが既に「0」である場合には、処理後においても「0」となるように処理される(負の値になった場合に「0」にすることや、「0」の場合にデクリメントをしない、など)。
なお、前提とするぱちんこ遊技機Pでは、1割込みの周期が4msであるため、1バイトタイマのデータである場合には、最大255回の更新(約1秒)で終了する管理対象のみが制御可能となるが、1秒以内でのみ管理される遊技情報がない場合(少ない場合)には、2バイトタイマデータのみで構成し、1バイトタイマ更新処理を有さないように構成することも可能である。また、2バイトタイマでも管理できないような時間値の管理が必要となる場合は、「3バイトタイマ」などより長時間を管理できるタイマデータを持つように構成してもよい。
(有効期間設定処理)
有効期間設定処理は、入球容易態様または入球困難態様に変化可能な入賞口(主として大入賞口P751や普通電動役物P770に係る入賞口が該当)に関し、入球容易態様に制御する期間および有効延長期間において有効期間を設定し、それ以外の期間(入賞口が入球困難態様であり有効延長期間以外のとき)について、無効期間を設定する処理である。(ステップ2016)
前提とするぱちんこ遊技機では、大入賞装置としての大入賞口P751と、普通電動役物P770が備えられている第2始動入賞装置P720である第2始動入賞口P721の入賞を有効期間として設定する処理となる。
なお、有効延長期間は大入賞口P751や普通電動役物P770が入球困難態様へ移行する直前のタイミングで入球した遊技球を有効入賞として扱うために、大入賞口P750(特別電動役物P755)や普通電動役物P770などの電動役物に対して開放制御を実行させる制御期間が経過した後においても有効期間として扱うため、電動役物の構造に応じて適宜設定される一定時間の制御期間である。
また、遊技機仕様によっては特定領域P760(V領域)を有する場合には、特定領域P760に関する遊技球の通過に対する有効延長期間も設定されることがあり、そのような場合には、本処理において特定領域の有効期間の設定も行われる。
(入賞監視処理)
入賞監視処理は、ぱちんこ遊技機における各種入賞口(大入賞口P751、始動口P711、P721、一般入賞口P731)に対する遊技球の入賞を基に、有効入賞であるか否かを判定し、賞球や始動口入球に対する特別図柄抽選の権利の発生(保留の発生)の処理が行われる契機となる情報を生成する処理である。(ステップ2018)
処理内容としては、入力ポート確認処理(ステップ2004)にて生成したデータを基に予め定められた順序で各種入賞口毎に(ア)入賞の有無を検出(イ)有効期間を有する入賞口の場合は有効期間中における入賞であるかの判断、各種入賞口に対する有効入賞が発生した場合には更に、(ウ)演出制御基板P41に送信する各種入賞口毎の入賞情報をしめす演出制御コマンドの設定、(エ)各種入賞口毎の入賞に基づく動作契機の発生回数を記憶するためのカウンタ値(「入賞カウンタ」と呼ぶ)を更新する(言い換えると、各種入賞口の検出に基づく動作の内で未処理の動作の回数を記憶するカウンタ値を更新する)処理を行う。
なお、入賞監視処理においては、各種入賞口に対する入賞の発生のみでなく、アウト球を計数するために設けられたアウト球検出スイッチP792、普通図柄抽選の契機となる作動口スイッチP742や、遊技機仕様によっては特定領域P760(V領域)に対する遊技球の入球および通過についても判定するようになっており、賞球の発生や特別図柄抽選の契機の発生以外にも遊技機の動作(例えば、演出制御基板P41に対して、作動口スイッチP742や特定領域P760を通過した旨の情報を送信する処理)に必要となる遊技球の検出の有無を本処理において行う。
(作動口監視処理)
作動口監視処理は、入力ポート確認処理(ステップ2004)にて生成したデータより、普図作動口スイッチP742の立ち上がりデータが生成されている場合に、普通図柄抽選に係る保留の発生に係る処理を行う。(ステップ2020)
より具体的には、普図作動口スイッチP742の検出があった場合に、普通図柄抽選に係る保留の数を確認して、保留数が上限に満たない場合は、新たな保留として乱数を記憶可能であるため、保留数を格納している記憶領域のデータをインクリメント(+1)して保留数情報を1個増やした後、普図当否乱数、普図図柄乱数、普図変動パターン乱数を乱数生成回路から取得、あるいは現在の対応するソフト乱数を取得して保留として記憶する。
(普通図柄制御処理)
普通図柄制御処理は、普通図柄抽選、普通図柄の変動表示、普通電動役物P770の作動に係る処理を行う(ステップ2022)。これらの処理は、普通図柄ステイタスと呼ばれる普通図柄、普通電動役物の制御状態を示すデータがいずれであるかに応じて、異なるサブモジュール処理に移行して、状態に応じた制御を行う。普通図柄のステイタスとしては、「0:普通図柄待機中」、「1:普通図柄変動中」、「2:普通図柄停止表示中」、「3:普通電動役物作動中」、「4:普通電動役物終了デモ中」があり、それぞれの状態に応じた処理を行う。
《普通図柄変動開始監視制御処理》
普通図柄変動開始監視制御処理は、普通図柄ステイタスが「0:普通図柄待機中」である場合に普通図柄制御処理より呼び出されるサブモジュール処理である。
普通図柄変動開始監視制御処理では、まず、普通図柄抽選に係る保留数が「0」であるか否かを確認する。「0」である場合には、普通図柄の変動権利は発生していないため、普通図柄制御処理を抜ける。一方、普通図柄抽選に係る保留数が「0」でない場合は、普通図柄の変動権利が発生している状態であり、普通図柄の変動開始条件を満たしていると判断して普通図柄の変動の開始に係る処理を実行する。
普通図柄の変動を開始すると判断すると、普通図柄抽選に係る保留数情報を記憶する領域より、保留数情報を-1した後、普図当否乱数、普図図柄乱数、普図変動パターン乱数をそれぞれ呼び出して普図当否抽選、普図図柄抽選、普図変動パターン抽選をそれぞれ行い、抽選結果を主制御基板の記憶領域に格納するとともに、今回使用した乱数情報をクリアし保留数情報の記憶領域を記憶した順番に処理されるようにシフトする処理を行うとともに、普通図柄ステイタスを「1:普通図柄変動中」に更新する。なお、普通図柄抽選に関しては、前述した「ベース状態」(普通図柄の確率変動機能、普通図柄の変動時間短縮機能)の作動状況に応じて異なる抽選テーブルが使用され、高ベース状態では当りとなりやすく、普通図柄の変動表示時間は短いものが決定されやすい傾向にある。
《普通図柄変動中処理》
普通図柄変動中処理は、普通図柄ステイタスが「1:普通図柄変動中」である場合に普通図柄制御処理より呼び出されるサブモジュール処理である。
普通図柄変動中処理では、普通図柄変動開始監視制御処理中にて決定した普通図柄の変動パターンに応じた普通図柄の変動表示時間が経過するまで、すなわち普通図柄の変動表示を管理するタイマ(普通図柄変動表示タイマ)がタイマ更新処理において0となるまで、普通図柄表示装置P53において、普通図柄の変動表示を実行させる処理である。
より具体的には、普通図柄変動表示タイマが0でない場合には、本処理が実行されるたびに最大値が「5」である普図表示切り替えカウンタを更新し、普図表示切り替えカウンタが「5」となるタイミングで、普通図柄表示装置P53を構成するLEDの発光パターンを指定するためのデータを格納する記憶領域に、次の発光パターンに関する情報を記憶する処理を行う。なお、普図表示切り替えカウンタは最大値である「5」となるタイミングで初期値である「0」にリセットされる。すなわち、普通図柄の変動表示は5回の割込み(4ms×5=20ms)間隔で普通図柄表示装置P53の点灯パターンが切り替えられることとなる。なお、切替間隔は適宜設定可能であり、例えば普図表示切り替えカウンタの最大値を25とすれば、25割込みに1回(100msに1回)の間隔で普通図柄表示装置P53の表示パターンが切り替えられる。
普通図柄の変動表示時間が終了する、すなわち普通図柄変動表示タイマが「0」となっている場合、本処理では普図図柄抽選で決定した普通図柄の停止表示図柄の表示パターンが主制御表示装置P50における普通図柄表示装置P53に停止表示されるよう、停止表示態様を示すLED点灯パターンを指定するためのデータを普通図柄表示装置P53のLED点灯パターンを記憶する記憶領域に格納する。そして、普通図柄の図柄固定時間(停止表示図柄を表示する時間)を普通図柄停止表示タイマに記憶するとともに、普通図柄ステイタスを「2:普通図柄停止表示中」に更新する。
《普通図柄停止表示中処理》
普通図柄停止表示中処理は、普通図柄ステイタスが「2:普通図柄停止表示中」である場合に普通図柄制御処理より呼び出されるサブモジュール処理である。
普通図柄停止表示中処理では、普通図柄変動中処理の終了時に図柄固定時間が設定された普通図柄停止表示タイマの値が「0」であるかの確認を行い、「0」となったタイミングにて、次の遊技動作に移るための設定を行う処理が行われる。
普通図柄停止表示タイマが「0」となったとき、今回の普通図柄抽選の結果が「当り」であった場合、当り図柄およびベース状態(普通電動役物の延長機能)の作動状態に応じて、普通電動役物P770の作動パターンを呼び出し、動作パターンを設定や、普通電動役物P770に係る入賞カウンタをクリアする等の設定をするとともに、普通図柄ステイタスを「3:普通電動役物作動中」に更新する。
一方、普通図柄停止表示タイマが「0」となったとき、今回の普通図柄抽選の結果が「はずれ」であった場合には、普通図柄ステイタスを「0:普通図柄待機中」に更新する処理を行う。
《普通電動役物作動中処理》
普通電動役物作動中処理は、普通図柄ステイタスが「3:普通電動役物作動中」である場合に普通図柄制御処理より呼び出されるサブモジュール処理である。
普通電動役物作動中処理では、普通図柄停止表示中処理において設定された普通電動役物P770の動作パターンに基づいて、普通電動役物の開放動作(入球容易態様への変化)および閉鎖動作(入球困難態様への変化)を制御するとともに、普通電動役物の作動終了条件の成立を監視する。普通電動役物P770の作動終了は、(ア)普通電動役物の終了条件として設定された規定数の普通電動役物入賞が発生した場合、(イ)予め設定された動作パターンの動作が終了した場合(普通電動役物の開放動作期間が終了した場合)である。
普通電動役物の作動終了条件が成立すると、普通電動役物の有効延長期間を記憶するタイマ領域に、予め普通電動役物P770の構造に対応して定められた一定時間の延長期間を計時する時間をセットする。そして、普通電動役物の作動終了デモに係る時間値を普通電動役物作動終了デモタイマにセットし、普通図柄ステイタスを「4:普通電動役物終了デモ中」に設定する。
《普通電動役物作動終了デモ処理》
普通電動役物作動終了デモ処理は、普通図柄ステイタスが「4:普通電動役物終了デモ中」である場合に普通図柄制御処理より呼び出されるサブモジュール処理である。
普通電動役物作動終了デモ処理では、普通電動役物作動中処理にて設定した普通電動役物作動終了デモタイマが「0」となるまで待機し、普通電動役物作動終了デモタイマが「0」となった場合に普通図柄ステイタスを「0:普通図柄待機中」に更新する処理を行う。
(始動口監視処理)
始動口監視処理は、入力ポート確認処理(ステップ2004)にて生成したデータより、特図1始動口スイッチP712および特図2始動口スイッチP722の立ち上がりデータが生成されている場合に、特別図柄抽選に係る保留の発生に係る処理を行う。(ステップ2024)
より具体的には、特図1始動口スイッチP712および特図2始動口スイッチP722の検出があった場合に、特別図柄抽選に係る保留の数を確認して、保留数が上限に満たない場合は、新たな保留として乱数を記憶可能であるため、保留数を格納している記憶領域のデータをインクリメント(+1)して保留数情報を1個増やした後、当否乱数、図柄乱数、変動パターン乱数を乱数生成回路から取得、あるいは現在の対応するソフト乱数を取得して保留として記憶する。
なお、前提とするぱちんこ遊技機Pでは、特別図柄として、第1特別図柄(特図1と称することがある)と第2特別図柄(特図2と称することがある)との2種類の特別図柄を設けているため、遊技盤P5に設けられた始動口のそれぞれに対し、対応する特別図柄の保留数および始動口スイッチのデータを呼び出して、始動口毎に保留数の加算、乱数の取得の処理が行われる。
また、処理対象とする始動口が、普通電動役物に係る始動口(電チュー)で構成される場合には、前述した有効期間設定処理にて普通電動役物P770に係る始動口入賞が有効期間内に行われたか否かを判断した上で有効期間である場合には前述した処理を行う。
なお、当否乱数、図柄乱数、変動パターン乱数を記憶する際、取得した乱数情報を事前に予告判定値テーブルを用いて、保留される各種乱数に基づく変動が実行される際の変動内容が事前に推測可能となる情報を生成し、演出制御基板P41に対して演出制御コマンドとして通知する(「事前判定コマンド」、「事前判定情報」、「先読み判定コマンド」と呼ぶ)。事前判定コマンドは、当否乱数、図柄乱数、変動パターン乱数それぞれに対して生成され、演出制御基板P41に送信されると、演出制御基板P41において、後述する「先読み演出」の実行に係る抽選に利用される。
(特別図柄制御処理)
特別図柄制御処理(ステップ2026)は、特別図柄ステイタス(「特図ステイタス」ともいう)と呼ばれる特別図柄を管理するための状態情報と、特別電動役物ステイタス(「特電遊技ステイタス」ともいう)と呼ばれる特別電動役物の作動状態を管理するための状態情報とによって、特別図柄の変動開始の管理(特別図柄変動開始監視制御処理)、特別図柄変動中処理、特別図柄停止図柄表示中処理のいずれかの処理を実行する。
特別図柄ステイタスには、「0:特別図柄変動待機中」、「1:特別図柄変動中」、「2:はずれ図柄停止表示中」、「3:大当り図柄停止表示中」、「4:小当り図柄停止表示中」の状態を有し、特別電動役物ステイタスには、「0:当り待ち中」、「1:特別電動役物作動中」、「2:大入賞口閉鎖中」、「3:大当り終了デモ中」、「4:小当り特電作動中」、「5:小当り閉鎖中」、「6:小当り終了デモ中」の状態を有する。なお、遊技機仕様によっては小当りを有しない場合もあり、その場合には小当りに関連したステイタスデータを持たない。そして、これらのステイタスに基づく制御は後述する。
特別図柄制御処理は、特別図柄を複数有する場合には、予め定められた順序(優先順位)に基づいて処理が行われる。予め定められた順序として、第2特別図柄を優先して制御する処理を行い、第1特別図柄および第2特別図柄の双方の保留が存在する状況下では、第2特別図柄の変動が先に開始される(第2特別図柄が優先して変動する)よう処理される遊技機仕様について、「第2特別図柄(特図2)優先消化制御」と呼び、前提とするぱちんこ遊技機Pの実施形態に係る説明では、このタイプのものに関する処理について例示して説明する。
特別図柄制御処理では、まず、第2特別図柄の制御を行う。第2特別図柄の制御を開始すると、まず第1特別図柄の特別図柄ステイタスと、特別電動役物ステイタスの情報を参照する。特別電動役物ステイタスが大当り遊技中または小当り遊技中を示すデータの場合(特別電動役物ステイタスが「0:当り待ち中」以外のとき)、第1特別図柄が変動中でありの第1特別図柄の特別図柄ステイタスが「0:特別図柄変動待機中」以外の場合には、処理を行うことなく処理を完了する。
第2特別図柄の制御を実行する状況である場合には、第2特別図柄に係る制御のタイマ値を更新する処理が実行される。タイマの更新は、タイマを記憶する記憶領域のデータをデクリメント(-1)する処理にて行われ、デクリメントした結果が負の値となる場合には「0」がセットされる。そして、タイマの更新が終了すると特別図柄2に対応する特別図柄ステイタスに基づいて、後述するサブモジュール処理が呼び出され実行される。なお、割込み処理中にもタイマ減算処理を有しているが、タイマ減算処理にて更新されるタイマに特別図柄制御処理にて更新されるタイマデータは含まれておらず、特別図柄制御処理において特別図柄に係る制御のためのタイマデータを管理している。
《特別図柄変動開始監視制御処理》
特別図柄変動開始監視制御処理は、特別図柄ステイタスが「0:特別図柄変動待機中」である場合に移行するサブモジュール処理である。
特別図柄変動開始監視制御処理では、対象として処理している特別図柄の保留があるか否かを確認し、保留が無ければ処理を終え、保留がある場合には続く処理が実行される。続く処理は、変動を開始する際に行われる特別図柄抽選である。特別図柄抽選は、まず設定値として格納しているデータを読みだして検査し、適切な設定値情報であるか否かを判定する。適切な設定値である場合には、遊技状態等を示す各フラグを記憶した領域のデータを参照して適宜抽選テーブルを選択し、当否抽選および図柄抽選、変動パターン抽選が実行され、抽選結果が記憶領域に格納されたのち、特別図柄ステイタスが「1:特別図柄変動中」に更新される。また、特別図柄抽選によって決定された内容は、演出制御基板P41に演出制御コマンド(当否コマンド、図柄コマンド、変動パターンコマンド)として送信され、特別図柄の変動表示に合わせて実行される変動演出の内容の決定処理(抽選処理)のための情報として利用される。なお、特別図柄抽選に関する詳細は後述する。
《特別図柄変動中処理》
特別図柄変動中処理は、特別図柄ステイタスが「1:特別図柄変動中」である場合に移行するサブモジュール処理である。
特別図柄変動中処理では、変動パターン抽選で決定した特別図柄の変動時間が経過するまで特別図柄の変動表示時間を管理するタイマを監視するとともに、残り変動時間が「0」になるまで、毎割込み更新される特別図柄表示切替タイマ(最大値「24」)により、25割込みごとに特別図柄の変動表示を示すために特別図柄表示装置(第2特別図柄表示装置P52(特図1の制御の時は第1特別図柄表示装置P51))の点灯表示パターンの切り替え処理を行う。
特別図柄の残り変動表示時間が「0」となると、ぱちんこ遊技機Pに接続する外部機器(データカウンタ―やホールコンピュータなど)に対して、特別図柄の変動表示が1回実行されたことを示す外部信号を出力するための情報の設定と、特別図柄の停止表示図柄を固定表示するための図柄固定時間を設定する処理と、当否抽選、図柄抽選の結果決定された停止表示図柄を示す停止表示図柄を特別図柄表示装置P52(P51)に表示させるための点灯パターンデータの設定とを行う。そして、当否抽選結果に応じて特別図柄ステイタスを「2:はずれ図柄停止表示中」、「3:大当り図柄停止表示中」、「4:小当り図柄停止表示中」のいずれかに設定する。
《特別図柄はずれ図柄停止表示中処理》
特別図柄はずれ図柄停止表示中処理は、特別図柄ステイタスが「2:はずれ図柄停止表示中」の場合に移行する処理である。
特別図柄はずれ図柄停止表示中処理では、特別図柄変動中処理において設定した図柄固定時間を管理するタイマの値が「0」となったかを確認し、「0」となった場合に処理対象となっている特別図柄の特別図柄ステイタスを「0:特別図柄変動待機中」に更新するとともに、特別図柄抽選に係る遊技状態(確率変動機能、電チューサポート機能、変動時間短縮機能)の残り遊技回数を更新するとともに終了条件成立に関する確認し、遊技状態移行条件の成立時には遊技状態の移行に係る制御(フラグオフなど)を行う。
《特別図柄大当り図柄停止表示中処理》
特別図柄大当り図柄停止表示中処理は、特別図柄ステイタスが「3:大当り図柄停止表示中」の場合に移行する処理である。
特別図柄大当り図柄停止表示中処理では、特別図柄変動中処理において設定した図柄固定時間を管理するタイマの値が「0」となったかを確認し、「0」となった場合に処理対象となっている特別図柄の特別図柄ステイタスを「0:特別図柄変動待機中」に更新するとともに、特別電動役物ステイタスを「2:大入賞口閉鎖中」に更新する。さらに、特別図柄抽選に係る遊技状態(確率変動機能、電チューサポート機能、変動時間短縮機能)を終了させるために、それぞれの残り回数情報格納領域および作動フラグ格納領域をクリアする処理を実行する。そして、大当り図柄に応じた大当り遊技を実行させるべく、大当り図柄情報より、前回大当り遊技中にデータとして使用していた各種記憶領域の情報を初期化し、大当り遊技中における特別電動役物P755の制御内容データのセットを行う。
特別図柄大当り図柄停止表示中処理では、さらに、演出制御基板P41に対して大当り遊技の演出(大当り開始デモ演出)を実行させるための演出制御コマンドを送信する処理を実行する。また、これらの処理に合わせて、主制御表示装置P50の構成要素の一つである右打ち表示灯P56(遊技領域の右側を狙って遊技球を発射させる右打ち遊技が推奨される遊技状態の時に点灯させるLED)を点灯させるための点灯パターンデータの設定も行われる。
《特別図柄小当り図柄停止表示中処理》
特別図柄小当り図柄停止表示中処理は、特別図柄ステイタスが「4:小当り図柄停止表示中」の場合に移行する処理である。
特別図柄小当り図柄停止表示中処理は、特別図柄大当り図柄停止表示中処理と同様、図柄固定時間の終了とともに、特別電動役物P755の作動に係るデータの設定、右打ち表示灯P56の点灯に係る設定処理を行う。また、本前提技術のぱちんこ遊技機Pでは、小当り遊技の実行時(小当り図柄の停止表示)では、大当り図柄が停止したときとは異なり、特別図柄抽選に係る遊技状態(高確率状態または高ベース状態)を終了させる処理を有さず、特別図柄はずれ図柄停止表示中処理の処理と同様に、それぞれの遊技状態に対して終了条件を満たしたか否かの判定結果を基に遊技状態を制御する。また、これらの処理に合わせて特別電動役物ステイタスを「5:小当り閉鎖中」に更新する。なお、遊技機仕様によっては、変形例として、小当り遊技の実行に際して、大当り図柄停止時と同様に遊技状態(高確率状態または高ベース状態)を強制的に終了させる処理を有する仕様として設計することも可能である。
以上のサブモジュール処理の内いずれかの処理が選択的に実施されると、第2特別図柄の処理に続いて第1特別図柄の処理が行われる。第1特別図柄の処理については第2特別図柄の処理と参照する情報が相違するのみ(例えば、変動開始可能かどうかについて、第1特別図柄の特別図柄ステイタスではなく第2特別図柄の特別図柄ステイタスを参照して判断するなど)でほぼ同じ処理が繰り返されるのみであるため説明を割愛する。
《入球順消化制御、並列制御》
また、前述した特別図柄制御処理の説明においては、「第2特別図柄優先消化制御」に係る処理に基づいて説明したが、本前提とするぱちんこ遊技機と異なる遊技機仕様を採用する場合にあっては、異なる処理にて特別図柄制御処理を進行することも可能である。以下にその代表的なものについて簡単に説明する。
「入球順消化制御」は、第1特別図柄および第2特別図柄のそれぞれに対応する保留情報が発生した順番に1つずつ処理される遊技機仕様である。一方の図柄の変動中に他方の変動表示が行われることは無く、ある遊技状態において第1特別図柄に対応する保留球と第2特別図柄に対応する保留球との双方の保留球の発生が見込まれる場合に採用されることが多い仕様である。
「並列制御(並列消化)」は、前述した「第2特別図柄優先消化制御」や「入球順消化」とは異なり、同時に第1特別図柄と第2特別図柄の双方の変動表示を同時に行うことができるタイプの遊技機仕様である。2つの図柄を同時に消化することができるため、単位時間当たりの特別図柄抽選回数を増加させることが可能となる。なお、1の特別図柄の停止表示に伴い特別電動役物P755が作動する場合(大当り、小当りが実行される場合)、他方の図柄は強制的にはずれとして図柄を停止したり、変動表示の残り時間の減算を一時中断するような仕様が適宜採用される。一例として、1の特別図柄が大当りとなった場合には、他方の特別図柄を強制的にはずれとして停止表示する仕様や、1の特別図柄が大当りや小当りとなった場合には、他方の特別図柄の変動表示を一時中断する仕様を採用可能である。
(特別電動役物制御処理)
特別電動役物制御処理は、特別電動役物ステイタス(特電遊技ステイタスと称することがある)のデータ内容(値)によって、特別電動役物P755の作動に係るサブモジュール処理を実行し、特別電動役物の作動を管理する処理である(ステップ2028)。言い換えると、大当り遊技や小当り遊技を実行するに際して、大当り遊技、小当り遊技状態における各状態の制御を行い、大入賞口P751の開閉に係る制御を行う処理である。
前述したように、特別電動役物ステイタスには、「0:当り待ち中」、「1:特別電動役物作動中」、「2:大入賞口閉鎖中」、「3:大当り終了デモ中」、「4:小当り特電作動中」、「5:小当り閉鎖中」、「6:小当り終了デモ中」の状態を有している。
これら特別電動役物ステイタスのうち、「0:当り待ち中」のステイタス状態である場合には、遊技者の遊技によって未だ大当り遊技または小当り遊技の実行権利の獲得がなされていない状況であるため、特別電動役物制御処理は処理を行うことなく終了する。
そして、特別電動役物ステイタスが、「0:当り待ち中」以外である場合には、ステイタスに応じて後述するそれぞれの処理のいずれかが実行されることとなる。
《特別電動役物作動中処理》
特別電動役物作動中処理は、特別電動役物ステイタスが「1:特別電動役物作動中」または「4:小当り特電作動中」である場合に実行される処理である。本処理は、特別遊技において、いわゆるラウンド遊技(単位遊技)が実行されている状態(大入賞口P751が開放制御され得る状態)の処理である。
特別電動役物作動中処理では、まずラウンド遊技(単位遊技)の終了条件を充足したか否かを判断する処理が行われる。ラウンド遊技の終了条件としては、(ア)作動した特別電動役物に応じた規定個数(「カウント」とも呼ぶ)の入賞数が行われたか、(イ)実行される特別電動役物の作動パターンとしてセットされた開放時間(開放パターン)が終了したか、のいずれかを満たす場合に終了したものとして判断する。これらの条件を満たさない場合は、以後の処理を行うことなく今回の割込み処理における特別電動役物制御処理を終了する。なお、特別電動役物P755の作動パターン(開放パターン)の中には、複数回大入賞口P751を開閉させるパターンを有しており、これらのパターンが実行される場合には、1回のラウンド遊技中で(イ)の判断に使用するタイマが複数回「0」となる一方で、1回のラウンド遊技中の次の作動データがあるか否かを確認した上で、条件(ウ)「今回の単位遊技における次作動パターンデータなし」と判断した場合に上記(イ)を満たしたものと判断することとなる。
一方、ラウンド遊技の終了条件の上記(ア)、(イ)のいずれかを満たした場合には、続く処理として、大入賞口閉鎖時間を特別電動役物の閉鎖時間管理用タイマに記憶するとともに、特別電動役物ステイタスをインクリメントし「2:大入賞口閉鎖中」とする。そして演出制御基板P41に対し演出制御コマンドとしてラウンド遊技が終了したことを通知するためのコマンドデータをセットして終了する。
《大入賞口閉鎖中処理》
大入賞口閉鎖中処理は、特別電動役物ステイタスが「2:大入賞口閉鎖中」または「5:小当り閉鎖中」である場合に実行される処理である。本処理は、特別遊技において、いわゆるラウンド遊技とラウンド遊技との間である「ラウンド間」に制御されている状態の処理である他、大当り遊技や小当り遊技の開始時における初回ラウンドの開始前の状態である「大当り開始デモ(期間)」、「小当り開始デモ(期間)」に制御される状態のとき、あるいは最終ラウンドのラウンド遊技が終了した後に後述する当り終了デモ中処理が実行されることとなるまで待機する期間に制御されている状態のときに係る処理である。
大入賞口閉鎖中処理では、まず、特別電動役物作動中処理にて設定した大入賞口閉鎖時間が経過したか否かを判定し、閉鎖時間管理用タイマが「0」でない、すなわち閉鎖時間が経過していない場合は、今回割込みにおける特別電動役物制御処理を終了する。
大入賞口閉鎖時間が経過した場合、続いて先に作動が終了した特別電動役物P755の作動(ラウンド遊技)が、今回の当り遊技(大当り遊技、小当り遊技)における最終のラウンド遊技であったか否かを判断し、最終ラウンド遊技の終了時と、最終ラウンド以外のラウンド遊技終了時(または当り開始デモ時)とで異なる処理を実行する。なお、最終のラウンド遊技であったか否かを判断は、今回の当り遊技中に作動した特別電動役物P755の作動回数の累計データが、今回の当り遊技における特別電動役物P755の最大作動回数データを超えているか否かに基づいて判断するものであり、当り開始デモ時には特別電動役物P755の作動回数の累計データは「0」である。
大入賞口閉鎖中処理において、最終ラウンド遊技の終了時と判断した場合には、当りの種類(大当り、小当りを開始することとなった特別図柄の種類)に応じて当り終了デモの実行パターン(主として当り終了デモ時間データ)を読みだして設定する。そして、特別電動役物ステイタスをインクリメントし、「3:大当り終了デモ中」または「6:小当り終了デモ中」とし、演出制御基板P41に当り終了デモ演出を実行させるための演出コマンドをセットしてする。さらに、大入賞口P751の有効延長期間を設定するため有効延長期間として定められた時間値データを大入賞口P751の有効延長期間を管理するタイマに格納して終了する。
一方、大入賞口閉鎖中処理において、最終ラウンド遊技以外の終了時(または当り開始デモ時)と判断した場合には、演出制御基板P41に対する演出制御コマンドとして、次回のラウンド遊技が何ラウンド目であるかを識別可能とする情報(Nラウンド開始デモコマンド※Nは整数)と、当り遊技中の推奨発射位置(前提とするぱちんこ遊技機では、遊技盤の右側領域P501R(右打ち領域))を指示するための情報(右打ちコマンド)を送信する。
そして、特別電動役物ステイタスをデクリメントして「1:特別電動役物作動中」または「4:小当り特電作動中」に更新し、ラウンド遊技中の大入賞口P751への遊技球の入賞数をカウントするためのデータ領域のデータを初期化する。そして、ラウンド遊技中の大入賞口P751の一回目の開放(またはラウンド遊技開始直後の閉鎖)に係る時間値を、ラウンド遊技における大入賞口P751(特別電動役物P755)の作動パターンデータをセットし、特別電動役物P755の累計作動回数に関する記憶領域のデータをインクリメントする。
(賞球制御処理)
賞球制御処理は、遊技盤P5に配置された入賞口に対する遊技球の入賞に対して、遊技者に賞球として遊技球を付与するための処理である。処理内容としては、次に示す3つのサブモジュール処理を実行する構成である。(ステップ2030)
《払出データ受信監視処理》
払出データ受信監視処理は、払出制御基板P43から主制御基板P40に対して送信される賞球払出の実行に係る制御コマンドの有無を確認し、送信されたコマンドを受信(記憶)する処理である。主制御基板P0は、払出制御基板P43から送信された情報を2つのレジスタ(記憶領域)に格納している。そして1のレジスタは、ステイタスレジスタと呼ばれ、払出制御基板P43から送信された情報があるか、および送信された情報が正常に送信されたものであるか否かを判断するための情報が格納されている。そして他方のレジスタは、データレジスタと呼ばれ、払出制御基板P43から送信された払出制御に関する制御内容の情報が格納されており、ステイタスレジスタが異常でなければデータレジスタのデータを払出制御情報として記憶領域に記憶する。
《払出コマンド要求処理》
払出コマンド要求処理では、入賞監視処理(ステップ2018)で記憶した、各種入賞口の入賞回数データを記憶する入賞口毎の入賞カウンタデータを確認し、未払出の入賞の有無を確認する。当該確認処理は入賞口毎に予め定められた順序で確認し、1の入賞口に対して入賞カウンタのデータが「0」でないと判断した場合に、該当する入賞口の賞球数に応じて、払出制御基板P43に対して遊技球の払出を実行させるための制御コマンドを送信する処理を行う。この処理によって、複数の入賞口に対する入賞カウンタデータが「0」でない場合であっても、1割込みで払出制御基板P43に対して送信される払出制御コマンドは1つに制限される。
《払出コマンド制御処理》
払出コマンド制御処理では、正常に払出数に関する情報を払出制御基板P43が受信したか否かのチェックが行われ、この処理にて正常にコマンドを受信するか、何らかの異常で通信エラーと判断されることとなる。払出コマンド制御処理にて、コマンドの受信状況が確定する(正常に受信完了したかエラーであるか判断される)までは、払出コマンド要求処理における次の払出制御コマンドの送信は、払出コマンド要求処理および払出コマンド制御処理内でそれぞれオンオフの設定がされるフラグデータにより一時中断される。
(異常検知処理)
異常検知処理は、前提とするぱちんこ遊技機Pにおいて不正検出のために設けられたセンサの情報より異常の発生有無を確認する処理である。(ステップ2032)
より具体的には、振動センサP72、磁気センサP73、電波検知センサP74、枠開放センサP131といったセンサの入力に関し、入力ポート確認処理(ステップ2004)にて生成した入力情報を基に異常の発生している状況であるか否かについて判断する処理である。また、各種センサ以外にも電気的な接続のためのハーネスが抜去されていたり、配線上の短絡(ショート)なども検出対象として有している。
そして、いずれかの判断情報に対し異常データが存在する場合には、対応するエラーフラグをオンとするようにして記憶した後、演出制御基板P41に対する演出制御コマンドとしてエラー情報を通知するコマンドをセットする。
(センサ検出判定処理)
センサ検出判定処理は、入力ポート確認処理(ステップ2004)にて生成したセンサやスイッチの検出データ(レベルデータ)より、センサやスイッチの検出が連続して行われた期間を判断し、処理を行うフラグを成立させる処理である。(ステップ2034)
センサ検出判定処理では、対象のセンサ、スイッチの検出データ情報のレベルデータがオンである場合に、対応するスイッチの連続オン入力期間をカウントするためのデータをインクリメントして更新し、各種処理の実行開始条件を満たしたか否かを判定し、条件が成立した場合に監視対象のスイッチに応じた処理が実行される。監視対象のスイッチがオンデータでなくなった場合、連続入力期間をカウントしているデータを初期化する(「0」に更新する)。
例えば、入賞口に設けられた入賞口検出スイッチにおいて連続的にスイッチがオン状態である旨を検出している場合は、球詰まりが発生していると判断して、エラー状態に制御し、演出制御コマンドとして演出制御基板P41に対しエラー報知を行わせるためのコマンド情報をセットする処理や、外部装置(ホールコンピュータ等)にエラーの発生を報知するための信号データの生成および出力要求を行う。
なお、本処理において検出対象とするスイッチは、ハンドルP204に設けられたタッチセンサスイッチや、不正検出のためのスイッチなどもあり、人為的操作によるものか電気的なノイズによるものかを判別するために一定期間のオンデータの入力が必要なセンサ等についても対象としている。
(遊技状態表示処理)
遊技状態表示処理は、主制御表示装置P50において遊技の進行に関する情報を表示するための点灯データを生成する処理である。なお、表示処理という名称であるものの、主制御表示装置P50に対する表示内容の出力は本処理ではなく後述するLED出力処理にて行っている。(ステップ2036)
前提とするぱちんこ遊技機Pでは、一例としてエラー状態であることを示すエラー表示灯(状態表示灯P55)、特別図柄抽選に係る保留数を表示する特別図柄保留表示灯(特図1保留表示灯P61、特図2保留表示灯P62)、普通図柄抽選に係る保留数を表示する普通図柄保留表示灯P63などの点灯データ(点灯パターン)を生成して、LED出力処理にて出力されるデータとして格納する。
なお、遊技状態表示処理において、点灯制御されるLED表示灯に関し、点滅表示が必要な場合には、対応するLEDに関する表示切り替えカウンタの更新およびカウンタ値と閾値との比較による点灯パターンの切り替え処理が行われる。例えば、前提とするぱちんこ遊技機Pでは、特別図柄抽選の保留数は、最大4つまで保留可能であるものの、2つのLED表示灯で特別図柄保留表示灯が構成(特図1保留表示灯P61、特図2保留表示灯P62のそれぞれに2つずつのLEDを備える)されるため、3以上の保留数がある場合には、少なくとも1のLEDに関して連続的な点灯表示ではなく、点滅表示を行う仕様となっている。
(出力ポート出力処理)
出力ポート出力処理は、主制御基板P40に接続した遊技盤P5上の動作デバイスである電動役物や、払出制御基板P43などに遊技動作に関する信号を送信する設定を行う処理である。(ステップ2038)
より具体的には、普通図柄制御処理中や特別電動役物制御処理中に、普通電動役物ないし特別電動役物の作動パターンが設定されると、出力ポート出力処理中の処理によって、普通電動役物駆動手段P71、特別電動役物駆動手段P72(前提とするぱちんこ遊技機では、ソレノイド)に対し、各電動役物を開放動作(あるいは閉動作)させるための信号データが出力される。
また、払出制御基板P43に対しては、遊技者のハンドル操作に基づく遊技球の発射を許可あるいは禁止するための制御信号(発射許可信号)を出力ポート出力処理にて生成して出力する。発射許可信号は、払出制御基板P43との通信状態や、遊技停止を要するエラーの発生状況に応じて出力内容が設定される。
(演出制御コマンド送信処理)
演出制御コマンド送信処理は、演出制御基板P41に対し演出制御コマンドを出力する処理であり、前提とするぱちんこ遊技機Pでは、演出制御コマンド送信処理においてのみ演出制御コマンドが演出制御基板P41に対して送信される仕様となっている(ステップ2040)。なお、送信する演出制御コマンドの設定に関しては、他の処理中において未送信演出制御コマンドとして所定の記憶領域に設定(セット)されるものとなっている。
前提とするぱちんこ遊技機Pでは、未送信の演出制御コマンドを記憶する領域として、リングバッファと呼ばれる記憶先を循環参照する記憶領域を用いている。リングバッファと呼ばれる記憶領域では、演出制御コマンドの書き込み(セット)と演出制御コマンドの読み込み(送信)とのそれぞれの処理によって更新される、「書き込みポインタ」、「読み込みポインタ」と呼ばれる次回の処理においてコマンドを書き込む記憶領域のアドレスおよびコマンドを読み込む記憶領域のアドレスを算出するための情報を用いて演出制御コマンドの書き込みおよび読み込みを実行する仕様となっている。
また、前提とするぱちんこ遊技機Pでは、演出制御コマンドの構成がコマンドの種類を示すMODEデータと、コマンドの内容を示すEVENTデータの2つのデータにより構成されている。
演出制御コマンド送信処理の具体的な処理内容の説明に戻り説明を行う。演出制御コマンド送信処理では、まず前述した書き込みポインタと読み込みポインタの情報が一致しているか否かを確認し、一致している場合は送信する演出制御コマンドはないと判断して処理を終了する。一方で、書き込みポインタと読み込みポインタのデータが一致しない場合、送信すべき演出制御コマンドが存在すると判断して次の処理へ移行する。
送信すべき演出制御コマンドがあると判断した場合、読み込みポインタのデータから算出される主制御基板P40の記憶領域のアドレスよりMODEデータおよびEVENTデータを呼び出し、それぞれ主制御基板P40のCPUにおけるレジスタに一時格納し、読み出し先のリングバッファにおける演出制御コマンドをクリアした後、読み出しポインタの値を次の処理時に使用する値に更新する。
演出制御コマンドとして、主制御基板P40のレジスタに格納されたMODEデータおよびEVENTデータは、順番に演出制御基板に送信P41されることとなる。まずMODEデータを、演出制御基板P41に対する演出制御コマンドを送信するための出力ポートである演出コマンド出力ポートにセットし、演出制御基板P41に読み取り動作を行わせるためのストローブ信号を出力する。主制御基板P40は、続いてEVENTデータを出力することとなるが、MODEデータを演出制御基板P41が受け取るまでに十分な期間を確保するため26μsの待機時間を挟む処理を行った後、MODEデータ送信時と同様に、EVENTデータの出力ポートへの設定およびストローブ信号の出力を行う。演出制御基板P41は、ストローブ信号を確認すると演出制御コマンド受信割込みを発生させ、主制御基板P40から送信される演出制御コマンドを受信する。
(外部情報出力処理)
外部情報出力処理は、前提とするぱちんこ遊技機Pに接続する外部機器(データカウンターやホールコンピュータ)に対し、外部情報出力端子77より遊技状況に関する情報や、エラー発生などセキュリティに関する情報を信号として出力する処理である(ステップ2042)。外部情報出力端子77より出力される信号は、主制御基板P40の出力ポートにセットされたデータに基づいて出力され、信号出力の契機が発生した場合に一定期間のオン電位であるパルス信号を送信するものや、信号出力が終了する条件を満たすまでオン電位を出力し続けるもの等がある。
外部情報出力処理では、まず、遊技状態に関する信号を生成する。遊技状態に関する信号として、特定遊技状態の種類を識別可能とするために、前提とするぱちんこ遊技機Pでは確率変動機能の作動状態(確率状態)、電チューサポート機能の作動状態(ベース状態)に対応する情報と、特別遊技中(大当りや小当り)であることを示す情報とを参照し、各遊技状態に制御されている場合には、対応するデータが送信されるよう、外部出力データを更新する。なお、ここで例示したものに限らず、遊技機の仕様によっては、変動時間短縮機能の有無を示す情報や、特定の種類の大当りの場合であることを示す情報を基に出力信号を生成する場合があってもよい。
また外部情報出力処理で出力される出力信号として、遊技状態に係る信号のみでなく、予め定めた遊技結果の発生に基づいた情報が出力される。例えば、特別図柄の変動表示が実行され、停止表示されるたびに送信される信号(「図柄固定信号」とも呼ぶ)や、始動口スイッチ(特図1始動口スイッチP712、特図2始動口スイッチ722)や大入賞口スイッチP752など各種入賞口に対する遊技球の入球の検出がなされる度、あるいは、各種入賞口に対する入球に基づく賞球の払い出しが所定個数(例えば10個)に到達する度に、外部出力データにデータがセットされ、外部機器に対して送信される信号などがある。これらの信号は主にパルス信号で構成され、1の信号を128msのオン電位が続くパルス信号で送信するものであるが、複数回の遊技結果が連続して発生した場合には、1回のパルス信号の出力が終わった後、一定期間のオフ電位出力を挟んだ後、再度パルス信号を出力する仕様となっている。
また、外部信号出力処理では、前述した異常検知処理(ステップ2032)で確認した結果としてのエラーフラグを記憶した記憶領域のデータと、セキュリティ報知の必要なエラーの発生有無を確認するための比較データとを演算、比較してセキュリティ信号を出力する必要があると判断した場合は、外部出力データのセキュリティ信号に対応するビットをオンとするよう、出力ポートにセットする出力データを更新する。
(LED出力処理)
LED出力処理は、主制御表示装置P50を構成する複数のLEDに対し、点灯パターンを示すデータを出力して、LEDを発光させ、遊技の進行状況、遊技状態を表示するための処理である。(ステップ2044)
主制御表示装置P50を構成するLEDは、第1特別図柄表示装置P51(LED8個)、第2特別図柄表示装置P52(LED8個)、第1特別図柄保留表示灯P61(LED2個)、第2特別図柄保留表示灯P62(LED2個)、普通図柄表示装置P53(LED2個)、普通図柄保留表示灯P63(LED2個)の他、ラウンド表示灯P54、状態表示灯P55、右打ち表示灯(合計8個のLED)の計32個のLED表示部を有する。
なお、状態表示灯P55とは、複数の遊技状態に関する表示灯を一括であらわしたものであり、詳細には確率変動機能の作動有無を示す特図確変表示灯や、普通図柄の確変機能の作動有無(電チューサポート機能の作動有無)を示す普図確変表示灯、エラー状態を示すエラー表示灯などの表示灯のことを指す。
LED出力処理では、主制御表示装置における表示部の点灯データを割込み処理毎に1バイト分ずつ出力ポートにセットして主制御表示装置P50を点灯するよう構成しており、割込み処理毎に更新されるデジットカウンタという値に基づいて、今回の割込みで点灯させる主制御表示装置P50のLEDを選択し、遊技状況に応じた点灯パターンデータを選択し、表示データとしてセットして各LEDを点灯制御するようになっている。
すなわち、前提とするぱちんこ遊技機Pでは主制御表示装置P50を32個のLEDに対し、少なくとも4回の割込み処理を使って順番に点灯データを出力するダイナミック点灯方式にて主制御表示装置P50を制御している。
また、LED出力処理では、上記の主制御表示装置P50として遊技者が視認すべきLED表示以外に、遊技停止フラグが設定変更状態、設定確認状態、復帰不可能エラー状態である場合にのみ点灯制御されるLED表示の点灯制御も行っている。
なお、前提とするぱちんこ遊技機Pにおいては、遊技停止フラグに何らかの遊技停止状態を示すフラグが格納されている場合、主制御表示装置P50に対する点灯パターンデータの設定は省略されるようになっており、設定変更中、設定確認中、復帰不可能エラー中は主制御表示装置を構成するLEDは全消灯状態となっている。変形例として、遊技停止フラグのセットの際に、各状態に対して設定される固定的な点灯パターンを用いて発光表示を行ってもよく、例えば設定変更中である期間に主制御表示装置P50を構成するLEDを全点灯させるように構成してもよい。
(領域外制御処理)
領域外制御処理は、ぱちんこ遊技機の試験に利用する信号の出力を行う試験信号出力処理(ぱちんこ遊技機の試験に利用する信号の出力を行うための処理)と、性能表示装置の表示に係る制御を行う処理によって構成される(ステップ2046)。「領域外」の意味として、ぱちんこ遊技機の規則に定めるプログラム記憶領域の容量の計算に含まれない記憶領域のプログラムによって実行される処理であることを示す。
試験信号出力処理では、ぱちんこ遊技機Pの試験端子P78から外部の試験用機器に対して出力するための遊技結果や遊技状態に係る情報を出力ポートにセットする処理が行われる。性能表示処理では、遊技状態の確認処理を行い、アウト球の計数、アウト球と賞球の数との比率(ベース)を計算して、表示データとして更新し、性能表示装置P59に対して表示出力を行う処理である。
[特別図柄抽選]
続いて、主制御基板P40のCPUにて実行される特別図柄抽選に関し、図10から図14を用いてその詳細を説明する。「特別図柄抽選」は、主として「当否抽選」、「当り図柄抽選」、「変動パターン抽選」にて構成される。
(当否抽選)
「当否抽選」は、実行される特別図柄抽選の結果に基づき特別電動役物P755を作動させる結果となるか否かを決定する抽選であり、より簡単に説明すれば、特別図柄の抽選結果として、「大当り」、「小当り」、「はずれ」のいずれであるかを決定する抽選である。なお、ぱちんこ遊技機Pの仕様によっては、当否抽選の抽選結果として「小当り」を有しないものも存在する。また、第1特別図柄と第2特別図柄とを有するよう構成した場合、一方の特別図柄に関する当否抽選の抽選結果として「小当り」を有しており、他方の当否抽選の抽選結果として「小当り」を有しないよう構成してもよい。
当否抽選は、始動口(第1始動入賞口P711、第2始動入賞口P721など)に遊技球が入球した際に取得され記憶される乱数のうち、「当否乱数」と呼ばれる乱数値を用いて抽選を行う。前提とするぱちんこ遊技機Pでは、当否乱数の取り得る乱数値の範囲(乱数値範囲)は、「0」から「65535」までの65536通りであり、いわゆる2バイト乱数で構成されている。当否抽選が行われる場合、この乱数値の値と、遊技状態や設定値に応じた当否抽選に使用する抽選テーブル(「当否抽選テーブル」と呼ぶ)との比較により、当否抽選の結果を決定する処理を行う。
図10には、当否抽選に使用する抽選テーブルをいくつか例示している。図10の(A)は設定値「1」かつ低確率状態における当否抽選テーブルを示し、図10(B)は設定値「1」かつ高確率状態における当否抽選テーブルを示す。図10の(C)、(D)は、それぞれ設定値「6」であるときの低確率状態、高確率状態における当否抽選テーブルを示している。
例えば、図10(A)の当否抽選テーブルを使用して当否抽選を実行する状況において、今回の特別図柄抽選における当否乱数が、第1特別図柄(特図1)に対応する乱数であり、乱数値が「1500」であったと仮定し、当否抽選の流れを説明する。
まず、最初の当否抽選結果として大当りの乱数値範囲(「0」から「327」)に属するか否かを判定する。具体的には、今回の当否乱数の乱数値「1500」から、判定対象の大当りの乱数値範囲「328」を減算する処理を行う。このとき、減算結果は「1172」であり、負の値とはならないため、今回の当否乱数は、大当りの乱数値範囲には属さないと判定する。
続く処理として、先の大当り判定の演算後の乱数値「1172」と、当否抽選テーブルの続く当否抽選結果の判定領域として、はずれの乱数値範囲(「328」から「65370」)の比較を行う。より具体的には、当否乱数の一次データ「1172」から、判定対象のはずれの乱数値範囲「65043」を減算する。このとき、演算結果は負の値となるため、当否抽選結果として、「はずれ」の結果に対応した情報が記憶される。
仮に、今回の当否乱数「1500」について、高確率状態において特別図柄抽選が行われた場合には、図10(B)に示す当否抽選テーブルにて抽選されることとなり、最初の大当りの乱数値範囲(「0」から「1639」)に属するか否かを判定する。このときは、当否乱数と乱数値範囲との比較演算(減算)の結果は、負の値となるため、当否抽選結果は「大当り」であると判定される。
前提とするぱちんこ遊技機Pでは、このように、乱数値として取得したデータと、抽選テーブルの抽選結果に応じた乱数値範囲を順次比較していく手法により、抽選結果を判定する手法を採用しており、後述する当り図柄抽選および変動パターン抽選についても同様の抽選方法を採用するものである。なお、抽選方法は、上記した例に限らず、大当りとなる乱数値と一致するか否かを取得した乱数値と直接判定するような手法を採用してもよく、抽選内容ごとに異なる抽選方式を採用するものであってもよい。
(当り図柄抽選)
「当り図柄抽選」は、前述した特別図柄抽選の当否抽選結果を受けて、その後の特別電動役物P755の作動に係る制御内容や、後述する変動パターン抽選の抽選テーブル(図12から図14参照)の切り替えに必要な抽選結果としての特別図柄の停止表示図柄を決定する処理である。
図11には、当否抽選結果が「大当り」である場合に、当り図柄抽選で使用される大当り図柄抽選テーブル(図11(A)参照)や、当否抽選結果が「小当り」である場合に、当り図柄抽選で使用される小当り図柄抽選テーブル(図11(B)参照)や、当否抽選結果が「はずれ」である場合に、当り図柄抽選で使用されるはずれ図柄抽選テーブル(図11(C)参照)が示されている。
当り図柄抽選に使用される、「図柄乱数」は、乱数値範囲を「1000」(「0」から「999」)として構成しており、2バイトデータで表現した場合に、上位1バイトが「0」から「3」、下位1バイトが「0」から「255」で表現されるデータである。
当り図柄抽選を具体例にて説明すると、例えば、当否抽選結果が大当りである場合において、図柄乱数が「400」(上位バイトが「1」、下位バイトが「144」)の時の第1特別図柄に対する当り図柄抽選の場合には、図11(A)に示す上位1バイト「1」の抽選テーブルを用い、下位バイト「128」から「191」に該当する「5R(5ラウンド)確変2」が抽選結果として得られることとなり、特別図柄の変動表示にあたって、停止表示図柄として「5R確変2」図柄が第1特別図柄表示装置P51(第2特別図柄抽選の場合は、第2特別図柄表示装置P52)に停止表示される。
そして、「5R確変2」図柄が第1特別図柄表示装置P51に停止表示された場合、「5R確変2」図柄に対応した大当り遊技が実行されることとなる。このとき、第1特別図柄表示装置に「5R確変2」が停止表示図柄として表示された場合と、「5R確変1」が停止表示図柄として表示された場合とで、5ラウンドの大当り遊技の各ラウンド遊技の内容(大入賞口P751の開放パターンや開放時間など)を停止表示図柄に基づいて異ならせてもよく、また大当り遊技後に移行する特定遊技状態における制御内容を異ならせるよう制御することも可能である。これらの大当り遊技、特定遊技状態における制御の割り当ては、ぱちんこ遊技機Pごとに仕様(スペック)に応じて遊技性を実現するために適宜定められるものであり、その詳細な説明は割愛する。
なお、前提とするぱちんこ遊技機Pでは、図11(A)に示した抽選によって、大当りの種類ごとにまとめた図柄を表示するように記載しているが、例えば先の例において、抽選結果「5R確変2」という、大当りの種類を決定した後、さらに該当する種別の大当りを実行することとなる停止表示図柄を複数のパターンから別の抽選を行って決定するように、大当りの種別の決定、停止表示図柄の決定と2段階で当り図柄抽選が実行されるものであってもよい。
また、前提とするぱちんこ遊技機Pでは、図11(A)に示すように、第1特別図柄と第2特別図柄のそれぞれに関する特別図柄抽選において、当り図柄抽選にて大当り図柄を決定する場合に、決定され得る当り図柄の種類が異なるように構成されている。より具体的には、前提とするぱちんこ遊技機Pでは、第2特別図柄の大当りでは、「10R確変5」ないし「10R確変8」が決定される可能性が増えており、第1特別図柄の当り図柄抽選よりも、ラウンド数の大きな大当りに当選しやすく、特定遊技状態として高確率/高ベース状態へ移行することとなる大当りに当選しやすい仕様となっていると言える。
図11(B)には、小当り図柄抽選テーブルが例示されている。小当り図柄抽選テーブルは、特別図柄抽選の当否抽選の結果が「小当り」である場合に、当り図柄抽選にて参照されるテーブルであり、抽選の手法は、前述した大当り図柄抽選テーブルの時と同様である。
図11(B)に図示した小当り図柄抽選テーブルでは、そのほとんどが「小当り1」図柄に当選するものとなっており、第2特別図柄の当否抽選結果として「小当り」となった場合の一部において「小当り2」が決定され得るようになっている。なお、小当り図柄に関しては1種類であってもよいし、3種類以上の図柄を決定可能に構成してもよい。
前提とするぱちんこ遊技機Pのように、小当り図柄を複数設けることの目的の一例としては、単純に小当り遊技中の大入賞口P751の開放態様を変更することで獲得可能な遊技球数を異ならせたり、例えば小当りVを遊技機仕様(スペック)として採用するぱちんこ遊技機Pにおいて、特定領域にV入賞しやすい小当り遊技とV入賞が困難となる小当り遊技とを切り分けるために小当り図柄を差別化したり、V入賞後の大当り遊技の実行後に移行する特定遊技の種類を切り分けるために小当り図柄を異ならせるなどの態様が実行されることを目的とすることが挙げられる。
図11(C)には、はずれ図柄抽選テーブルが例示されている。はずれ図柄抽選テーブルは、特別図柄抽選の当否抽選の結果が「はずれ」である場合に、当り図柄抽選にて参照されるテーブルであり、抽選の手法は、第1特別図柄に関して前述した大当り図柄抽選テーブルの時と同様であり、第2特別図柄に関しては異なる手法となっている。
より具体的には、図11(C)には、第1特別図柄に対するはずれ図柄抽選テーブルのみが表されており、前提とするぱちんこ遊技機Pでは、はずれ図柄抽選テーブルとして第1特別図柄である場合のみ抽選処理を行い、停止表示図柄として「はずれ1」または「はずれ2」のいずれかを停止表示図柄として決定する。
「はずれ2」図柄は、第1特別図柄のはずれ時において、およそ6.4%の確率で当選するはずれ図柄であり、「はずれ2」が当選している場合、変動パターン抽選において、リーチとなりやすい特殊な抽選テーブル(不図示)を参照して、変動パターン(変動時間)を決定しやすくするよう構成されている。そのため「はずれ2」に関し、「リーチはずれ図柄」などと称する場合もある。
また、前提とするぱちんこ遊技機Pでは、第2特別図柄のはずれ図柄抽選テーブルを有さず、いかなる図柄乱数である場合においても1のはずれ図柄が決定されるようになっており、図柄乱数とテーブルの比較処理自体を省略し、1のはずれ図柄を記憶するよう構成している。なお、必ず1の図柄に当選する抽選テーブルを用いてはずれ図柄に当選するように構成してもよい。
(変動パターン抽選)
「変動パターン抽選」は、特別図柄の抽選結果である停止表示図柄を停止表示するまでの変動表示時間を抽選により決定する処理である。前提とするぱちんこ遊技機Pでは、演出表示装置P80において大当りであるか否か、大当りである場合について大当りの種類は何かに関する演出報知を行うため必要な演出時間として特別図柄抽選において、特別図柄の変動表示時間を後述する変動パターンテーブルを使用して決定する処理を行っている。
図12には、主として通常遊技状態(低確率/低ベース中)、低ベース状態(非電チューサポート状態)、すなわち前提とするぱちんこ遊技機Pにおいて遊技盤の左側領域P501Lに遊技球を発射することが推奨される状態の「低ベース中変動パターン抽選テーブル」を表している。
図12に示される、「ID」は、変動パターン抽選を行った結果として記憶される情報を表しており、「変動パターン」は、同IDが当選した場合に演出表示装置P80にて表示される変動の演出の態様の代表例を示している。「変動時間」は、対象の変動パターン抽選の結果(変動パターンID)における特別図柄の変動表示時間値であり、特別図柄が変動表示してから停止表示されるまでの時間を表している。
図12における「保1変動」から「保4変動」は、特別図柄抽選の実行条件を満たした状況における保留数を示しており、当否抽選結果が「はずれ」であり、対象の特別図柄(ここでは第1特別図柄)の保留球がN個であったとき、「保N変動」の変動パターンテーブルを使用して変動パターン抽選が実行される。すなわち、低ベース状態における第1特別図柄の変動パターン抽選は、保留数に依存して使用する変動パターンテーブルを異ならせるように構成されている。なお、保留がない状態において、始動入賞口へ遊技球が入球した場合は、処理上一旦保留として格納されるため、「保1変動」の変動パターンテーブルを使用して変動パターン抽選が実行される。
一方図12中に示すように第2特別図柄に対応する変動パターン抽選は保留数に非依存であり、いかなる保留数である場合においても共通の抽選テーブルを使用するよう構成されている。なお、不図示ではあるが、図柄抽選の結果「はずれ2(リーチはずれ図柄)」が決定されている場合は、第1特別図柄の変動パターン抽選であっても、保留数に依存しない1の変動パターンテーブル(はずれ2用変動パターンテーブル)を使用して変動パターン抽選を行うよう構成されている。
図12における「10R確変」、「5R確変」、「10R通常」、「5R通常」は、低ベース状態における、大当り時の変動パターン抽選に使用する変動パターンテーブルを示すものであり、当否抽選結果が「大当り」となり、図柄抽選結果がいずれの図柄であるかに応じて適宜変動パターンテーブルを選択して抽選が行われることを表している。図12では、第2特別図柄は低ベース状態における遊技の主体でないために、大当り変動パターンテーブルを大当り図柄に依存しない形で決定するように表現しているが、第2特別図柄の大当りについても、大当りの種別に応じて複数パターン有していてもよい。
ここで、図12を用いて、低ベース状態における変動パターン抽選の具体例を説明する。具体例として、第1特別図柄の抽選であって、変動パターン乱数が「30000」、変動開始時の保留球数が3個である状況(変動開始後は保留数2個となる状況)であって当否抽選結果および当り図柄抽選が「はずれ1」となる状況について説明する。
まず、変動開始時の保留数が「3」であることから「保3変動」の変動パターンテーブルを使用する。抽選処理は前述した当否抽選における抽選処理と同様、変動パターン乱数と、各抽選結果の変動パターンIDに対応する乱数値範囲を比較演算(減算)し、同範囲に乱数が属するか否かを判定する。本処理を行うことによってID「2」の通常変動Bのタイミングで、変動パターン乱数と乱数値範囲との比較演算を繰り返した結果が負の値となり、同IDが変動パターン抽選として決定され、特別図柄の変動表示として7秒の変動表示が行われた後、第1特別図柄表示装置P51にはずれ図柄1が表示されることとなる。
続いて、図13を用いて高ベース状態における変動パターンテーブルについて説明する。高ベース状態における変動パターンテーブルの構成は、図12に示した低ベース状態における変動パターンテーブルと対象的な構成となっており、第2特別図柄に対して保留数依存となるはずれ時の変動パターンテーブル、大当り時の大当り図柄別テーブルを有するように構成されている。なお、図12と図13にて、多くの変動パターンが共通して決定され得るように構成されているが、これは説明を簡略化する目的でもあり、低ベース状態と高ベース状態とで決定される変動パターンの重複はごく少数であったり、全く重複しないように構成することも可能である。
また、高ベース状態における変動パターンテーブルの特徴として、はずれ時の第2特別図柄の「保3変動」および「保4変動」の抽選結果として、前提とするぱちんこ遊技機Pの最短変動時間となる2秒変動(変動パターンID「12」)が決定可能に構成されている。
さらに高ベース状態における変動パターンの特徴点として、第1特別図柄の抽選については、必ず変動パターンID「4」の10秒変動が決定されるよう構成されている。第1特別図柄を10秒の変動で構成する理由として、図11に示した大当り図柄抽選テーブルにて、大当りした場合の遊技者利益が大きい(実行ラウンドが多いことによる獲得出玉期待値が高いこと、特定遊技状態として確率変動状態に移行する大当り図柄が多いこと)ことに起因しており、第2特別図柄に対応する変動表示を優先して数多く実施することで、遊技者により有利な大当りを獲得可能とすることを目的としている。また、第1特別図柄と第2特別図柄の大当り遊技の有利度合いに差がほとんどない場合であっても、第2特別図柄優先消化制御を採用していることに基づいて、第1特別図柄が変動表示されることを避け、有利な状態である特定遊技状態(高ベース状態)が終了するまで、通常遊技状態(低ベース状態)にて成立した保留を保持しやすく、高ベース状態において第2特別図柄の保留を発生するのに使用する遊技球の量に対し、低ベース状態で第1特別図柄の保留を生起させるために多量の遊技球を要することを避ける目的もある。
図14は、限定期間における特殊テーブルを示す図であり、特定の期間において参照される特殊な変動パターンテーブルを表している。図14には、前提とするぱちんこ遊技機Pに備えられる特殊な変動パターンテーブルの一例として、3つの期間の特殊な変動パターンテーブルを包括して記載している。
より具体的には、図14には、大当り後の1変動目から4変動目までの期間(大当り時に存在する4つの保留で大当りとなる、いわゆる「保留連」(保留内連荘)と呼ばれる期間)に参照する「保留内連荘テーブル」(ID「51」、「71」が対象)と、大当り後のn回目からm回目の変動において参照され、55秒となるリーチ変動が選択されやすい高頻度リーチテーブル(ID「52」、「53」、「54」、「72」が対象)と、高ベース状態の最後の変動表示にて参照され、主に後述する「リザルト演出」が実行されることとなる「リザルト変動テーブル」(ID「55」、「73」が対象)が、前提とするぱちんこ遊技機Pに備えられていることが示されている。
このように、限定的な期間に参照される特殊な変動パターンテーブルのことを、「特殊変動パターンテーブル」や「限定頻度(パターンテーブル)」などと称する。
前提とするぱちんこ遊技機Pでは、限定頻度パターンテーブルの参照期間を、大当り遊技(特別電動役物の作動、言い換えると役物連続作動装置の作動)の後の定められた期間において参照可能に構成している。これらの参照期間について、大当りの種類(大当り図柄)によって、参照有無を異ならせたりすることも可能であり、小当り遊技に基づく特別電動役物の作動後の特定の期間において、参照する期間を異ならせるように構成することも可能である。いかなる状況でどのような特殊変動パターンテーブルを参照するかは、ぱちんこ遊技機毎に適宜設定可能なものであり、例示したものに限らず、必要があればその詳細を別途の記載で説明することとする。
次に、前提とするぱちんこ遊技機Pにおける演出動作に係る制御を行う演出制御基板P41の制御に関する説明を行う。なお、演出制御基板P41の動作制御は、遊技機の型式試験上における制約は少なく、主制御基板P40の制御と比較して設計の自由度が高いものであるため、以下の説明で説明される処理のみに制限されるものでなく、処理が行われるタイミングについても適宜変更可能である。
[演出制御基板の電源投入処理~メインループ処理]
前提とするぱちんこ遊技機Pは、遊技機の電源が投入されると演出制御基板P41のCPUにおいて、電源投入処理(ステップ4000)が実行する。ここで、演出制御基板P41の電源投入処理に関し図15に沿ってその詳細を説明する。
前提とするぱちんこ遊技機Pの演出制御基板P41において電源投入処理(ステップ4000)が開始されると、演出制御基板P41上に設けられた演算装置であるCPUの動作に係る初期設定処理が行われる(ステップ4002)。初期設定処理は、この後のCPUの動作に必要な設定を適宜行うものであり、その詳細は割愛するが、前回の電源断が発生した状態で実行されていた演出に関し、主制御基板P40の電源投入処理(図7)と演出制御基板の電源投入処理(図15)の完了には時間差が生じるため、電源復帰後に電断前の演出に復帰してしまうと、主制御基板P40の動作とずれが発生する恐れがあることから、演出制御基板P41の電断復帰時の初期処理では、電断前に実行していた演出が実行されないよう演出情報などを初期化することが多い(「演出制御基板リセット」、「サブリセット」と呼ぶ)。
(演出制御基板のメインループ)
前提とするぱちんこ遊技機Pでは、初期設定処理の後にメインループ処理へ移行する。前提とするぱちんこ遊技機Pでは、演出表示装置P80(画像表示装置)に対して接続する画像制御基板P42において演出画像を描画する周期(フレーム)の時間が、1秒間に30回描画するよう1周期約33ms(30FPS)に設定されるため、そのおよそ半分の周期である16msの周期にてメインループ処理のループを1回行うように構成されている(ステップ4002からステップ4016)。
演出制御基板P41のメインループ処理では、まずCPUの暴走の検出を行うためのウォッチドッグタイマのクリア処理を行う(ステップ4004)。
続いて、演出制御乱数データを更新する処理(ステップ4006)を行い、演出抽選を実行する契機が発生した場合に使用する各種の演出制御乱数を更新する。
次に、入力ポート監視処理を実行する(ステップ4008)。前提とするぱちんこ遊技機Pでは、後述する演出制御基板P41の割込み処理中においても入力ポートの監視を実行する仕様となっているが、メインループ処理における入力ポートの監視処理は、16ms周期の監視となるため、システム上必要な監視対象であるスイッチなどの入力の監視にとどまり、演出可動役物P560の演出制御に必要なセンサ類などの入力の監視は省略される。なお、変形例として、演出上監視すべき対象であるセンサ類に関し、メインループ処理内の入力ポート監視処理にて確認を行ってもよい。
入力ポート監視処理で実行する内容は、主制御基板の入力ポート確認処理と同様、各種センサの入力データより、レベルデータを生成して記憶したり、立ち上がり(立ち下がり)データを記憶する処理が実行される。
続いて、演出制御基板P41は、演出装置制御処理(ステップ4010)を行い、演出表示装置P80(画像表示)以外の演出動作に関する制御を実行する。本処理において制御される演出装置として、ランプP82(「盤ランプ(P550)」「枠ランプ(P350)」)やスピーカP83(上スピーカP370、下スピーカ141)、演出可動役物P560などがあり、これらの演出装置に対して後述する演出制御処理(ステップ4012)などの処理によって実行が決定された演出内容に応じた演出動作命令を各演出装置に送信して演出動作を実行させる。
演出装置制御処理(ステップ4010)における各種演出装置に対する演出動作命令の出力は、演出表示装置P80(画像表示装置)にて表示される演出画像と同期して実行(開始)される必要があるため、演出表示装置P80の制御を行っている画像制御基板P42から演出制御基板P41に対して一定間隔で送信される信号や、強制的に同期を図る信号を受信したこと(前述した入力ポート監視処理での受信)を契機として、演出表示装置P80の演出切り替わりタイミングとの同期を図り、各種演出装置に対して演出動作命令の出力を行う。
なお、演出装置の内、演出可動役物P560の動作制御に関しては、演出可動役物P560の駆動手段に対して、より短い周期での制御が必要となることから、本処理において設定された演出動作命令にて実行されることとなる演出可動役物P560の動作パターンについて、後述する演出制御基板P41の割込み処理中(図16参照)においてもセンサの監視、動作切り替えが実行される。
次に、演出制御基板P41のメインループ処理で実行される演出制御処理(ステップ4012)に関して説明する。演出制御処理は、後述する演出制御コマンド解析処理で主制御基板P40から受信した演出制御コマンドを解析した結果に基づき成立したフラグや受信した演出制御コマンド自体の情報(特別図柄抽選の抽選結果IDなど)、入力ポート監視処理(ステップ4008)、割込み処理(図16)等の他の処理中に成立したフラグを基に、各種演出装置で実行する演出内容を抽選したり選択することで決定する処理である。
演出制御処理は、各フラグ情報やコマンド解析情報を基に実行すべき演出決定の処理を選択し、対応する演出決定のためのサブモジュール処理を呼び出して実行する。ここで決定される演出内容の例として、特別図柄抽選の実行結果に係るコマンド(当否コマンド、図柄コマンド、変動パターンコマンド)を基に1回の特別図柄の変動に対応する変動演出を決定する処理(予告やリーチの内容、停止する装飾図柄の決定などを行う処理)や、保留が発生した際に送信される保留数情報や事前判定情報を基に新たに発生した保留に対し先読み演出(「事前判定演出」とも呼ぶ)を実行するか否かを決定する先読み抽選処理や、特別遊技(大当りや小当り)の実行に際し演出制御コマンドとして送信された情報に基づき特別遊技中の演出内容を決定する特別遊技演出内容決定処理などがある。
また、演出制御処理は、主制御基板P40から送信された演出制御コマンドに対する処理のみでなく、演出制御基板P41でエラーを検出した場合のエラー表示内容の決定処理(主制御基板から送信されたエラー情報に基づくエラー表示内容の決定処理を含む)や、遊技者によって演出操作手段P81である演出ボタンP381、十字キーP383などの入力操作に基づいてスピーカP83から出力される音量の調整や、ランプP82の発光輝度を変更する光量調整、演出内容および演出内容決定傾向のカスタマイズといった演出内容の決定も実行する。
なお、演出制御処理で呼び出されるサブモジュール処理にて行われる各種の演出内容の決定処理については、遊技機毎に固有の仕様を用いられることが多いため、説明を割愛し、発明の対象となるぱちんこ遊技機Pにおいて特徴を有する処理を実行する場合には、発明の対象となるぱちんこ遊技機Pの実施例の説明にてその詳細を説明することとする。
演出制御基板のメインループ処理の説明に戻り、メインループ処理の最後の処理として演出制御コマンド解析処理(ステップ4014)を説明する。
演出制御コマンド解析処理は、主制御基板P40から送信された演出制御コマンドとして記憶されている情報を基に、前述した演出制御処理において演出内容の決定に使用するための演出制御コマンドに対応する情報の記憶や、フラグの設定を行う。本処理は、主制御基板P40から送信されたコマンドに応じて処理内容を決定する必要があり、演出制御コマンドであるMODEデータ、EVENTデータの内容より処理内容を決定して、演出制御コマンドに応じた処理が実行される。
なお演出制御コマンドは、主制御基板P40の割込み処理毎(4ms毎)に1のコマンド(MODEデータとEVENTデータ)が送信される可能性があるため、前提とするぱちんこ遊技機Pでは、演出制御基板P41のメインループ処理の周期(16ms)が経過するまでの間、処理可能な限り演出制御コマンドの解析を繰り返し実行する(ステップ4016)。
[演出制御基板の割込み処理]
次に、演出制御基板P41のCPUにおいて実行される割込み処理に関して説明する。演出制御基板P41における割込み処理は、主制御基板の割込み処理とは異なり、異なる実行契機で開始される複数の割込み処理を有している(図16(A)および(B)を参照)。なお、これらの複数の割込み処理には、優先度が設定されており、より上位の優先度の割込みが発生した場合には、割込み処理の実行中であっても上位の割込み処理を実行するように制御される。本説明においては、代表して演出制御タイマ割込み処理(図16(A))と、演出制御コマンド受信割込み(図16(B))とについて説明を行う。
(演出制御タイマ割込み処理)
演出制御タイマ割込み処理(図16(A))は、演出制御基板P41のCPUにおいて、1ms周期で実行される割込み処理である。
ポート入出力処理(ステップ5002)は、演出制御基板P41の入力ポートより、演出可動役物P560の位置検出のために設けられたセンサや、他のセンサ(演出操作手段P81の入力センサ)の入力からレベルデータ、立ち上がりデータを生成して記憶する処理や、出力ポートより、演出装置制御処理にて設定された動作パターンに従って演出可動役物P560の駆動手段(ソレノイドやステッピングモータなど)に対して駆動信号を出力する処理が実行される。また、出力ポートからデータ出力を行った際には、必要があれば出力回数をカウントするカウンタ(記憶領域)のデータを更新する。
タイマ更新処理(ステップ5004)は、演出動作の切り替えタイミングを計るタイマの減算や加算を行う処理である。各タイマに関し更新処理が終了すると、比較値との比較演算を行い、演出動作の切り替え条件が発生したか否かを判断し、演出制御処理(ステップ4012)において演出内容の決定に必要な情報やフラグを記憶領域に記憶する処理を行う。
センサ監視処理(ステップ5006)は、ポート入出力処理にて生成したセンサの検出データより、演出可動役物P560の演出動作切り替え条件が成立したか否かなど、演出動作の切り替えに係るセンサ検出情報の発生有無を判断し、動作パターンのテーブルを切り替える処理を行ったり、演出制御処理(ステップ4012)にて演出内容を決定するための条件フラグを立てる処理を行う。
演出ボタン監視処理(ステップ5008)は、演出操作手段P81である演出ボタンP381やレバーP382、十字キーP383などの入力に基づく演出の切り替え条件の成立有無を判断する処理である。演出ボタン監視処理では、ポート入出力処理(ステップ5002)において生成された各入力装置の入力状態を示すレベルデータや立ち上がりデータ(前回オフから今回オンへレベルデータが変化したことを示すデータ)より演出操作手段P81に対する操作有無、操作態様を判断する。
例えば、演出操作手段P81に対する入力情報として、立ち上がりデータが生成されている場合には演出操作手段P81に対する遊技者操作があったものとして、対応する演出の実行のためのフラグなどの情報を記憶する。なお、立ち上がりデータのみで入力を判断すると電気的なノイズにより誤検出して演出動作の切り替えが行われる可能性があるため、立ち上がりデータの発生後、複数回のレベルデータ(オンデータ)の入力が連続したことを契機として演出操作手段P81に対する遊技者操作(「単押し(単引き)操作」、「一撃操作」と表現する場合がある)と判断してもよい。
また、オン入力のレベルデータが連続して500回検出された場合、すなわち0.5秒に渡って演出操作手段P81が操作されたと判断した場合、「長押し(長引き)」操作と判断し、特殊な操作として扱うよう構成している。なお、「長押し(長引き)」操作の有無、継続の判断において立ち下がりデータ(前回オンから今回オフへレベルデータが変化したことを示すデータ)が電気的にノイズとして検出される場合があるが、この場合も前述した誤検出防止の対策と同様に立ち下がりデータの検出後、複数回のレベルデータ(オフデータ)の入力を検出したことに基づいて、「長押し(長引き)」操作の入力終了を判断するものとしてもよい。
そして、前提とするぱちんこ遊技機Pでは、実行中の演出内容によっては、演出ボタンP381に対する「長押し」操作の実行により、一定周期毎(例えば0.3秒毎)に1回の演出操作手段P81の「単押し(単引き)」入力操作があったと見做す処理を繰り返して行わせることを可能としており、このように「長押し(長引き)」操作などの特殊な操作を契機として、「単押し」操作が行われたと見做して繰り返し処理が実行されることを「オート連打」操作と呼ぶ。なお、「オート連打」操作は、例示した操作内容に限らず、複数の演出操作手段P81を同時操作するものや、演出ボタンとは異なるスイッチとして設けられたディップスイッチなどのオンオフ操作することで、演出ボタンP381の入力に基づき「オート連打」操作が実行されたと見做す手法を採用することも可能である。
なお、演出操作手段P81に対する入力は、演出の実行状況によって、有効操作として扱う期間(「操作有効期間」)と、無効操作として扱う期間(「操作無効期間」)とが存在する。
マルチタスク処理(ステップ5010)は、演出制御タイマ割込み処理が実行される毎に更新されるタスクカウンタ(値「0」~「15」の間で更新)の値に応じて、今回発生した演出制御タイマ割込み処理中で実行する処理内容を異ならせて行う処理である。タスクカウンタが16ms周期で循環するように構成されており、メインループ処理の1周期とほぼ同期して各カウンタ値における処理が実行されるように構成されている。各タスクにおける処理の一例としては、画像制御基板P42の動作が実行できるか否かを画像制御基板P42から送信される信号(ポート入出力処理にて入力情報を生成)を基に判断し、画像制御基板P42の動作状況を監視する処理が行われる。
画像制御コマンド送信処理(ステップ5012)は、画像制御基板P42のCPUに対して演出制御処理P41にて決定した演出内容に応じた画像表示を実行させるべく、画像制御コマンド(「サブ間コマンド」と呼ぶ場合もある)を画像制御基板P42のCPUに対して送信する処理である。なお、画像制御基板P42と演出制御基板P41は同一の基板で構成してもよいが、本明細書内では便宜的に画像制御基板P42として記載する。
前提とするぱちんこ遊技機Pでは、演出制御基板P41は、画像制御コマンドを表示内容の種類を示す第1コマンドと、表示内容のパターンを指定する第2コマンドとで構成し、画像制御基板P42に送信する構成となっている。
なお、前提とするぱちんこ遊技機Pでは、演出制御タイマ割込み処理にて画像制御コマンドを送信する構成となっているが、演出制御基板P41と画像制御基板P42との間におけるコマンドの送受信に関して、別途割込み処理を設けて送受信を行うように構成することも可能である。
(演出制御コマンド受信割込み)
演出制御コマンド受信割込み(図16(B))は、主制御基板P40の割込み処理(図9)中の演出制御コマンド送信処理(ステップ2040)においてストローブ信号が出力され、当該ストローブ信号を演出制御基板P41が受信した場合に発生させる割込み処理である。
演出制御基板P41は、演出制御コマンド受信割込みを開始すると、主制御基板P40の出力ポートより送信される演出制御コマンド(MODEデータまたはEVENTデータ)を読み取り、一時バッファデータを更新して記憶する(ステップ5502、ステップ5504)。
一時バッファデータの更新が終了すると、1の演出制御コマンド(MODEデータとEVENTデータの組み合わせ)の受信が完了したか否かを判断する(ステップ5506)。なお、主制御基板P40から送信される演出制御コマンドは、1バイトデータのうち、特定のビットが「1」「0」で構成されている。
前述したステップ5504の一時バッファデータ(2バイトデータ記憶領域)の更新に際しては、通常下位の1バイトの記憶領域に今回受信した演出制御コマンドの内容を記憶する処理を行う。このとき、更新前に現在の一時バッファデータの記憶領域の下位1バイトのうち特定のビットの部分がMODEデータであることを示す場合、一時バッファデータの記憶データを上位の1バイト記憶領域にシフトさせて記憶させた後、今回受信したEVENTデータを一時バッファデータの下位の1バイトの記憶領域に記憶する処理が行われる。
そしてステップ5506の演出制御コマンドの受信完了の判断においては、一時バッファデータの下位1バイトのうちの特定のビットがEVENTデータを示すデータであるか否かを判断し、EVENTデータであると判断した場合には、1の演出制御コマンドの受信が完了したもの(ステップ5506YES)として次の処理に進み、MODEデータであると判断した場合(ステップ5506NO)には、主制御基板P40からEVENTデータの送信に基づくストローブ信号を受信するまで、演出制御コマンド受信割込みを抜け、他の処理を行って待機する。
ステップ5506において、演出制御コマンドの受信が完了したと判断した場合、送られた演出制御コマンドが正常なものであったか否かを判断する(ステップ5508)。この処理は、例えば、主制御基板P40から送信され得る演出制御コマンドの一覧データの中に一致するデータが存在するか否かを基に判断される。そして、正常なコマンドであると判断された場合には、演出制御タイマ割込み処理中の演出制御コマンド解析処理にて解析されるように受信した演出制御コマンドを記憶するための記憶領域に記憶し、異常データの場合には一時バッファデータを破棄する。
[基本的な画像表示の演出例]
次に、図17から図20を用いて、前提とするぱちんこ遊技機Pにおける基本的な演出に関して説明を行う。図17は、通常遊技中(低確率/低ベース中)の図柄変動表示(装飾図柄の停止表示中)を表した図であり、図18は大当りとなる期待度が高いリーチ演出が行われている状況を表した図である。図19は、大当り遊技を実行している状態を表した図であり、図20は特定遊技状態中(高確率または低確率/高ベース)である電チューサポート機能の作動中の遊技演出を表した図である。
(通常遊技状態の演出表示例)
《装飾図柄》
図17は、通常遊技中(低確率/低ベース中)の図柄変動表示(装飾図柄の停止表示中)を表した図である。画面の略中央領域に3つの数字が遊技者に対して明瞭に確認できる態様にて表示されている。この3つの図柄は「装飾図柄(P801)」(「装図」とも呼ぶ)と呼ばれており、特別図柄抽選の結果に対応して表示される演出的な表示物であり、特別図柄の変動表示に合わせて変動表示される。なお、図17中では数字のみで表現しているが、各数字にキャラクタ画像などの装飾画像を伴って表示される場合もある。また、各数字に装飾画像を伴って表示するよう構成する場合には、遊技状態によって装飾画像や各数字の表示態様を相違させてもよい。そのように構成することによって、遊技者は現在の遊技状態を判別し易くなる。
装飾図柄P801は、特殊な演出を行っている場合を除いて特別図柄の変動表示1回(特別図柄抽選1回)に対して、1度の演出としての変動表示が行われる。なお、不図示であるが、装飾図柄P801の変動表示が行われる際には、装飾図柄が高速で変動表示(場合によっては透過表示や非表示となる)され、アニメーションや演出効果の画像による「予告」と呼ばれる演出により、大当り遊技の権利獲得の期待感を高める演出を行う。
図17に示す装飾図柄P801は、変動表示が開始されると上下方向(上から下方向)にスクロール表示された後、左図柄(P801a)、右図柄(P801c)、中図柄(P801b)の順に図柄列毎に、演出制御基板P41で決定された停止表示図柄が停止表示される。一般的には、3つの装飾図柄P801が同一の態様(ぞろ目)で停止表示された場合に、大当りであることを演出的に報知するものとなっている。また、1の図柄が変動表示を行う一方で他の図柄が表示されている状態、例えば、最後に停止する図柄(「最終停止図柄」とも呼ぶ)である中図柄P801bが停止する前に左図柄および右図柄が同一の図柄で表示(仮停止表示)されている状態のことを「リーチ」(「リーチ状態」「リーチ態様」)と呼ぶ。
装飾図柄P801の変動表示は、上下方向(上から下方向)にスクロール表示する態様で表示されることが多いが、変動表示の態様は上下方向に限らず、左右方向や奥行きを使って前後(斜め)方向にスクロール表示動作を行うものであってもよいし、スクロールせずにその場で回転動作を行うとともに順番に切り替え表示がされるものであってもよい。
また、装飾図柄P801は1回の特別図柄の変動表示中において、複数回の停止表示を行う場合を有している。この時、複数回の停止表示に際して、特別抽選の結果を示す停止表示は、特別図柄の停止表示図柄が特別図柄表示装置に停止表示されるタイミングと同時期に表示される停止表示であり、それ以外のタイミングにおける停止表示を「仮停止(表示)」という。なお、特別図柄の停止表示と同時期の停止表示ついては、「本停止」と表現する場合がある。
装飾図柄P801の仮停止が行われた際には、最終的な図柄の停止表示(本停止)と区別するため、装飾図柄P801を完全に固定せず、固定したと認められない程度に一時停止させたり、上下あるいは左右などの方向に動作したり、1の回転軸を中心に揺れ動作を行ったりするように構成される。このような状態のことを仮停止の他に「揺れ変動」などと表現する場合がある。
装飾図柄P801が仮停止表示された後は、再び変動表示を繰り返す場合があり、一般的に大当り図柄以外の図柄が仮停止した状態からの再変動を「擬似変動(擬似連)」演出と呼び、大当り図柄の停止後に停止表示される大当り図柄を変更する場合がある再変動を「昇格(変動)」演出と呼ぶ。なお、昇格演出を実行する場合には、停止した大当り図柄よりも不利な大当り図柄には変更しないよう構成したり、ハズレ図柄に変更しないよう構成してもよい。
また、装飾図柄P801の停止表示に際して、通常の変動表示中は表示されておらず、一部の演出を実行する場合にのみ表示される特殊な装飾図柄の一種があり、これを「特殊装図(P804)」(特殊図柄)と呼ぶ。特殊装図は、それぞれの図柄に意味があり、例えば特定の大当りが実行されることを示唆したり、前述した擬似変動演出を行うことを示唆したり、特定のリーチ演出(リーチ態様となった場合に表示される予告演出)が実行されることを示唆するものなどが挙げられる。特殊図柄を用いる場合には、最後に仮停止する装飾図柄(中図柄P801b)として特殊図柄を仮停止させてもよいし、左図柄P801a、中図柄P801b、右図柄P801cのすべてを代用する1つの装飾図柄として特殊図柄を仮停止させてもよい。
《簡易装図(ミニ装図)》
画面右上には、装飾図柄P801と同一の態様にて表示される3つの数字が表示されている。この図柄は「簡易装図(P802)」(「簡易図柄」)や「ミニ装図」とも呼ばれ、前述した「装飾図柄」同様特別図柄の変動表示に合わせて、特別図柄の抽選結果を示す表示物として表示される。
簡易装図P802(ミニ装図)は、「装飾図柄」と異なり、装飾図柄P801が停止表示されない特殊な演出が行われている場合であっても、特別抽選の結果を示す特別図柄が特別図柄表示装置P51、P52に表示されるのに合わせて、特別図柄抽選1回に対して必ず1回の停止表示を行う。
また、簡易装図P802の変動表示は、前述した装飾図柄P801がリーチ態様となった場合に、同一のリーチ態様を形成するように構成してもよいし、特別図柄抽選の結果を報知するという最低限の目的を達成するために、装飾図柄P801とは無関係に特別図柄の変動表示が停止表示状態となるまで一定の表示切り替えを行う、といった簡略的な変動表示とする方法を採用してもよい。
《保留表示領域》
図17の下部領域には、保留表示領域P810が設けられている。保留表示領域P810には、遊技者が獲得した特別図柄抽選の権利として、未行使の権利に対応する保留(乱数値)に対応した保留オブジェクトP811が表示される。図17の例では、特別図柄抽選の権利が3つ保留されている状態を示している。
図17の例では、特別図柄抽選の実行時期が早い保留(すなわち先に発生した保留)であるほど、画面下部の略中央方向に近い位置に表示されるようになっており、保留表示領域P810の最も右側に位置する保留オブジェクトの表示位置を「保1(表示領域)」と呼び、画面左側に向かうにつれて「保2(表示領域)」、「保3(表示領域)」、「保4(表示領域)」と呼ぶ。
また、保留表示領域P810の右側近傍には、保留表示領域P810の保留オブジェクトP811と略同一態様のオブジェクトが一段高い位置に保留オブジェクトP811より大サイズに表示されている。本表示領域は、現在の特別図柄変動表示の開始契機となった乱数値に対応した保留表示を保留表示領域から継続して表示するものであり、「当該変動オブジェクト表示領域(P812)」と称する。また、当該変動オブジェクト表示領域P812に表示されるオブジェクトを「当該変動オブジェクト(P813)」と呼ぶが、「当該保留表示」などと称する場合があり、保留表示領域P810の保留オブジェクトP811と差別化するために「当該」という頭文字をつけている。
なお、当該変動オブジェクト表示領域P812における当該変動オブジェクトP813の表示態様は、保留オブジェクトP811と完全に同一に構成する必要はなく、変動開始に伴いある保留表示が当該変動オブジェクト表示領域P812に移動表示する際に、形状が変化したり、消失(非表示)となったりする場合があってもよい。また、当該変動オブジェクトP813についても、後述する保留変化先読みにおける保留表示と同様に表示態様が変化し得るよう構成してもよい(例えば、変動表示の途中のタイミングでオブジェクトの形状や色が変化する)。
《簡易保留表示》
画面左側の高さ方向略中央位置には、2つの数字が縦方向に並んで表示されている。この2つの数字は、現在の第1特別図柄の保留数および第2特別図柄の保留数を表しており、「簡易保留表示(P814)」と呼ばれる。図17中の例では、第1特別図柄の保留数を上に表示される数値「3」で示しており、第2特別図柄の保留数を下に表示される数値「4」で示している。
(先読み演出)
《保留変化先読み》
また、図17においては、保留表示領域P810における保3表示領域の保留オブジェクトP811が、保2、保1の表示領域における保留オブジェクトP811とは異なる態様で表示されている。前提とするぱちんこ遊技機Pでは、保3の保留オブジェクトP811の表示態様の方が保2の保留オブジェクトP811の表示態様よりも大当りとなる可能性が高くなるよう構成されている。このように、特定の保留に対して、保留オブジェクトP811の表示態様を変化して表示させる演出のことを「保留変化(先読み)」と呼んでいる。
なお、図17に例示した態様のみに限らず、複数種類の変化態様を有し、そのそれぞれに対して大当りとなる可能性(期待度)が異なり得るように構成し、段階的に保留オブジェクトP811の表示態様を変化させていってもよい。
また、「保留変化(先読み)」に限らず、保留として記憶されている乱数値に対して演出の実行対象として決定した場合に、演出の実行対象となった保留に対応した変動表示が開始されるよりも前に、先んじて演出の実行対象となった保留の大当りとなる可能性が高いことを示唆する演出のことを「先読み演出」(「事前判定演出」と称する場合もある)と呼んでいる。
そして、「先読み演出」を実行する場合に、演出の実行対象となった保留として決定された保留のことを、「先読み対象保留」、「トリガ保留」、「犯人保留」などと称する場合があり、先読み対象保留に基づく特別図柄の変動表示のことを「先読み対象変動」、「トリガ変動」、「犯人変動」などと称する。
ここで、「先読み演出」として、前提とするぱちんこ遊技機Pで採用し得る代表的なものをいくつか例示する。
《チャンス目先読み》
「チャンス目先読み」は、先読み対象変動の変動が開始されるまでの装飾図柄P801の変動表示において、予め定められた法則に則った装飾図柄P801の停止表示図柄が停止表示(または仮停止表示)される演出である。チャンス目として予め定められる装飾図柄P801の停止表示態様の法則の一例としては、(ア)装飾図柄の数字部分の色合いが同一の図柄のみの組み合わせによってはずれ図柄が停止表示される場合、(イ)「1」「2」「3」や「5」「4」「3」など、装飾図柄の停止図柄が順番に並ぶ(順目、逆順目)など規則的な停止表示態様で表示される場合、(ウ)「7」などの特別な数字又は「先」などの数字とは異なる図柄が、中図柄の停止表示図柄として停止表示される場合、などが挙げられる。
《演出可動役物先読み》
「演出可動役物先読み」は、遊技盤P5または枠(ガラス枠P3)に設けられた演出可動役物P560または枠可動役物P360(前提とするぱちんこ遊技機P1のレバーP382など)を、先読み対象変動の変動表示が開始されるまでの変動、あるいは先読み対象変動まで跨いで、変動開始から演出動作パターンに従ってにぎやかし動作させる演出である。
《ゾーン移行先読み》
「ゾーン移行先読み」は、先読み対象変動が開始される前の特別図柄の変動表示において、特殊な演出モード(「ゾーン」と呼ばれる)へ移行させ、先読み対象変動となる変動表示までの間、特殊な演出モードに対応した予告演出を実行させるための予告抽選を実行することで、大当りの可能性が高いことを示唆する先読み演出である。例えば、「通常背景を表示→先読み時背景を表示→大当り」となったり、「通常背景を表示→先読み時背景を表示→はずれ図柄が停止して通常背景に戻る」となる。
(リーチ演出の実行時の表示例)
続いて、図18は大当りとなる期待度が高いリーチ演出が行われている状況を表した図である。「リーチ演出」は、前述したように、1の装飾図柄(中図柄P801b)以外の装飾図柄(左図柄P801a、右図柄P801c)が同一態様で表示されている状況であり、あと1つの図柄が同一態様で停止すれば大当りとなることが報知される状態における演出のことを言う。
前提とするぱちんこ遊技機Pでは、多くの場合、リーチ演出を経由して3つの装飾図柄P801が同一の停止表示態様となることで大当りを報知する仕様となっている。
図18の例では、装飾図柄の左図柄P801aと右図柄P801cが「5」で表示されており、変動中の中図柄列の図柄として「4」、「5」、「6」が表示されている状況であり、「4」図柄が激しく振動し、「5」に切り替われば大当りとなる状況を示している。
ここで、図18の例では、装飾図柄の左図柄と右図柄である「5」の表示が、図17の停止表示時の装飾図柄P801よりも小さく表示されており、変動表示中の中図柄列の装飾図柄P801bを停止表示時の装飾図柄P801よりも大きく表示し、強調表示している。この時の左図柄P801a、右図柄P801cに対応する小さく表示された装飾図柄を「退避図柄(P803)」や、「リーチ図柄」などと呼ぶ場合がある。リーチ演出では、図示した例以外にも、装飾図柄の変動表示に伴って表示される予告演出(リーチ演出)のアニメーションの結末がどのような結末になるかによって大当りとなるか否かを報知する場合もあり、すでに仮停止表示された左図柄P801a、右図柄P801cを退避図柄P803小さくして表示する(あるいは非表示とする)ことで、遊技者に注目させたい演出の視認性を高めるようにしている。
また、装飾図柄P801の表示数を3つとしない遊技機なども知られており、同時に複数列のリーチ態様を形成するマルチラインリーチなども存在するが、その詳細に係る説明は割愛する。
リーチ演出の例外として、3つの装飾図柄P801の全てが同一の態様で同期して変動表示される「全回転リーチ」と呼ばれるリーチ演出が存在する。リーチ演出の基準である「1の装飾図柄以外の装飾図柄が同一態様で表示されている状況であり、あと1つの図柄が同一態様で停止すれば大当りとなることが報知される状態」とは状況的に異なるが、全回転リーチもまたリーチ演出として当業者には認識されるものである。
また図18において、画面右下領域には、「演出設定表示領域(P850)」が表示されており、図18の例では演出設定表示として音量設定表示P851が表示されている。
演出設定表示領域P850は、遊技機PのスピーカP83から出力される音量レベルを調整する音量設定機能や、遊技機Pの装飾ランプP82の発光輝度を調整する光量調整機能、さらには、演出モードと呼ばれる発生する予告演出の種類を変更したり、予告演出の発生頻度を変更したりする演出モード変更機能の設定状況および変更状況に係る表示を行う領域である。
演出設定表示領域P850は、常時表示されているものではなく、遊技者が前述した各種演出設定(音量調整機能、光量調整機能、演出モード変更機能)に係る操作を実行した場合において、一時的に表示されるものであり、例えば十字キーP383の左右方向の操作により図18に示す音量調整機能に係る演出設定表示(音量設定表示P851)を表示させることが可能である。図18の状況において、さらに遊技者により十字キーP383の右ボタンが操作された場合には、設定されている音量レベル(図中の黒塗り領域)が増加し、音量設定値が「3」から「4」へと変化するようになっている。
また、前提とするぱちんこ遊技機Pでは、光量調整を行う場合は、十字キーP383の上下方向の操作によって変更操作が行われるように構成され、演出モード変更機能は、演出ボタンの操作に応じて演出モードを予め定められた順序で切り替える例が挙げられる。なお、これらの演出設定に係る操作は、遊技中の演出の実行との関係上異なる操作態様を採用する場合もあり、例示した設定の変更方法以外にも適宜採用可能である。
また、演出設定表示領域P850の表示や、各種演出設定機能の利用に関し、遊技者の演出設定操作を有効とする期間、無効とする期間をそれぞれ設定することが可能であり、特に重要な演出が実行されるときには、演出設定表示領域P850を非表示とし、各種演出設定機能の利用を無効とするよう構成される。
(大当り遊技中の演出表示例)
続いて、図19に基づき、前提とするぱちんこ遊技機Pにおいて大当り遊技を実行している状態における演出の表示態様を説明する。
《大当りの種類を示す演出表示》
図19の画面左下および画面右上には、大当り遊技の実行契機となった装飾図柄P801の表示が行われている。画面左下は、前述したリーチ演出の実行中と同様、変動表示中の装飾図柄よりも小さい表示態様にて1の装飾図柄P801(「大当り装図(P805)」とも呼ぶ)を表示し、画面右上には、特別図柄の変動表示が終了した際に表示した簡易装図P802を引き続き表示している。
前提とするぱちんこ遊技機Pでは、大当りの発生契機となった(大当りの発生時に停止表示した)装飾図柄P801の種類によって、遊技者に実行される大当りの種類や大当り中に獲得できる遊技球数の期待度合や大当り終了後の遊技状態(通常遊技状態)を演出的に示唆している。そのためこのように大当りの実行契機となった装飾図柄(大当り装図P805、簡易図柄P802)を表示させておくことによって、大当り遊技中においても大当りの種類や、獲得が期待される遊技球数を示唆することを可能としている。
また、大当りの種類を示す表示として、図19では「ROUND6」(「ラウンド表示(P820)」と呼ぶ)という文字列の下に、五角形の盾を模したアイコン画像P821が表示されており、アイコンP821の中央に「MAX」という文字が記載されている。図中のアイコンP821では「MAX」の文字列が示唆する大当りであって、前提とするぱちんこ遊技機Pが有する最大ラウンドの大当り遊技が実行されることを示している。このアイコンP821は「大当りアイコン」や「連荘(表示)アイコン」と呼ばれ、特定遊技状態と大当り遊技が繰り返し実行される毎に、累積的に並んで表示が増加し、いわゆる「連荘」状態において何回、どのような種類の大当りを獲得したかを遊技者が理解できるように報知する演出表示である。
なお、図示はしていないが、前提とするぱちんこ遊技機Pでは、大当り開始デモ期間において実行される演出表示の「大当り開始デモ演出」において「〇〇ボーナス!」(最大ラウンド大当りを報知)や「△△チャンス」(最大ラウンドではない大当りを示唆)といった表示を行うことにより、大当りの種類を遊技者に報知する演出を実行する。
また、例えば実行されるラウンド数が少ない「△△チャンス」などの大当りであることが示唆された場合であっても、大当りラウンド中において「エクストラボーナス!+〇ラウンド」として、大当りの実行ラウンドが実は最大ラウンドの大当りであることを報知するといった「大当り昇格演出」を実行することも可能である。
なお、「大当り昇格演出」は、先に報知された大当りの種類よりも遊技者にとって有利となる特定遊技状態へ移行することとなる大当り遊技が実行されていることを示唆する場合にも使用されることがある。例えば、大当り遊技後に確率変動機能が作動しないことを示唆する大当り遊技(「非確変大当り」、「通常大当り」と呼ばれる)の演出から、大当り後に確率変動機能が作動することとなる大当り遊技(「確変大当り」、「特定大当り」と呼ばれる)の演出へと演出表示が切り替わる、というような演出表示が挙げられる。
《大当り遊技の進行状況を示す演出表示》
次に大当り遊技の実行に際して、大当り遊技の進行状況を示す演出表示に関する説明を行う。図19において、大当りの演出表示を示す演出として、画面左上の「ROUND_〇」の文字列表示で実行される「ラウンド表示(P820)」、画面右下において「TOTAL_〇〇pt」の文字列表示で実行される「獲得球数表示(P822)」、画面右側略中央の10個の円形画像オブジェクトで表示される「カウント表示(P825)」などが挙げられる。不図示ではあるが、大当り遊技中はこれらの表示に加えて「ラウンド演出」と呼ばれるアニメーションなどの画像表示が表示される。
《ラウンド表示》
「ラウンド表示(P820)」は、大当り遊技中において、実行中のラウンド遊技(単位遊技)が何ラウンド目かを示す表示である。ラウンド遊技が開始されるタイミングで「ROUND」の右側の数値が更新される。図19の例では、6ラウンド目のラウンド遊技が実行されている状況を示している。
なお、「ラウンド表示(p820)」は、必ずしも実際の大当り遊技中の実行ラウンド数に同期する必要はない。例えば、前述した「小当りV」のスペックでは、小当り遊技中を1ラウンド目としてカウントして、V入賞後に実行される大当り遊技の1ラウンド目を2ラウンド目として扱うようすることがある。また、他の例では、ラウンド遊技における大入賞口P751の開放パターンが、短時間の入球容易状態への移行で終了する場合には、「ラウンド表示」の値を更新せず、大入賞口の開放パターンが長時間の入球容易状態となる場合においてのみ、実質的に実行されたラウンド「実質ラウンド」として扱う場合などがあってもよい。
《獲得球数表示》
「獲得球数表示(P822)」は、実行中の1回の大当り遊技で累積獲得している遊技球数を表示する「大当り獲得球数表示(P823※不図示)」と、特定遊技を挟んで複数回の大当りにおいて累積的に獲得した遊技球数を表示する「累積獲得球数表示(824)」といった種類がある。図19においては、5桁の獲得球数表示である「累積獲得球数表示(P824)」が表示されている例を示している。なお、「大当り獲得球数表示(P823)」と「累積獲得球数表示(P824)」を並列的に同時表示してもよい。
前提とするぱちんこ遊技機Pでは、「獲得球数表示(P822)」について、大当り遊技中における大入賞口P751への入球に基づく累積の賞球払出数を表示するものとしている。しかし、獲得球数表示P822の賞球払出の累積対象として、遊技盤P5の右側領域P501Rに配置された一般入賞口P731や第2始動入賞口P721に対する入球に基づく払出に関して累積して加算してもよい。
また、他の変形例として、「獲得球数表示(P822)」の表示期間は、大当り遊技中だけでなく、特定遊技の実行中に表示してもよいし、「獲得球数表示(P822)」の累積賞球払出数の加算期間についても、大当り遊技中だけでなく、特定遊技中や、小当り遊技中に拡大するよう構成してもよい。
なお、前提とするぱちんこ遊技機Pでは、「獲得球数表示(P822)」の他に、累積した賞球払出数が「2500球」、「5000球」、「10000球」など、区切りとなる払出数を迎えた場合などの特殊な状況においてのみ、遊技者に「獲得球数表示」に加えて強調して報知する「区切り獲得球数表示」演出を実行可能としている(例えば、「GET10000!!」と表示する)。
《カウント表示》
「カウント表示(P825)」は、1回のラウンド遊技において大入賞口P751の閉鎖条件として設定される遊技球数まであと何球入球可能か、または今回のラウンド遊技において何球の遊技球が大入賞口P751に入球したかを表す表示である。前者は、図19において網掛け表示される円形オブジェクトで表示されており、後者は白抜きの円形オブジェクトとして画面右側略中央位置に2列のオブジェクト表示として表示されている。
図19の例では、6ラウンド目の遊技として、大入賞口へ5球入球済みであり(白抜きの円形オブジェクトで表示)、あと5球入球可能であること(網掛けの円形オブジェクトで表示)がカウント表示P825により示されている。カウント表示P825は新たなラウンドが開始されるたびに表示が初期態様にリセットされる。
大当り遊技のラウンド遊技の実行中には、遊技球の流下状況により、大入賞口P751の閉鎖条件を満たすこととなる遊技球に連続して大入賞口P751の閉鎖条件以上の遊技球数となる入賞が発生する場合があり、このような閉鎖条件以上の遊技球数の入賞が発生することを「オーバー入賞」と呼ぶ。
図示はしていないが、「オーバー入賞」が発生した場合に、カウント表示P825のオブジェクト表示等を使って特殊な演出を行ったり、演出ランプP82の特殊な発光やスピーカP83から特殊効果音を発したりして報知してもよい。また、前述した獲得球数表示P822については、「オーバー入賞」となる入賞に基づく賞球払出数を加算対象としてもよいし、加算対象外としてもよい。
《大当り遊技中のその他の演出表示》
次に、図19において演出表示が実行されている、他の演出表示について説明する。
まず、画面左側略中央位置に表示されている2つの数字は、前述した簡易保留表示P814である。
画面左下の装飾図柄(大当り装図P805)の右側に表示されている「Sound_2」という表示は、現在の大当り遊技中に再生している楽曲のタイトルを示す「選択楽曲表示(P854)」である。前提とするぱちんこ遊技機Pでは、大当り遊技中において、1ラウンド目や2ラウンド目の間に演出ボタンP381や十字キーP383を操作することによって、遊技者が任意に再生する楽曲を選択可能とする仕様を有している。選択楽曲表示P854に関し、楽曲が変更可能な状況である場合には、図20に示すように選択楽曲表示P854の近傍に「(上)(下)キーで変更できます」という画像表示を行う。
なお、このような大当り遊技中における演出の選択は、楽曲選択に限らず、ラウンド演出の変更や、大当り遊技後における特定遊技中の演出(演出モード)の選択なども可能とするが(総称して「演出カスタマイズ表示(P853)」と呼ぶ)、それらの詳細な説明は割愛する。
最後に、画面右上の簡易装図P802の下部に表示されている「右打ち」および右側矢印記号は、「打ち分け報知(P830)」(「推奨発射位置報知」などとも呼ばれる)に係る画像表示である。前提とするぱちんこ遊技機Pでは、大当り遊技中は、遊技領域の右側領域P501Rに遊技球を発射することが推奨される遊技状態であるため、「右打ち報知(P832)」(「右打ち」の文字列、および右側矢印記号の表示)が実行されている。
「打ち分け報知」は、大当り遊技中に限らず、特定遊技状態における遊技中や、通常遊技状態における遊技中においても表示される場合を有する。特に、遊技状態が切り替わるような状況(大当りの発生/終了や、特定遊技状態の発生/終了)においては、図19に示す打ち分け報知P830よりも、遊技者が認識しやすいよう大きなサイズの表示を画面中央部などに一時的に表示することで、次の遊技状態での推奨される発射位置を遊技者に報知する演出が実行される。
なお、「打ち分け報知(P830)」において、遊技状態が遷移するタイミングで一時的に大きなサイズで表示されるものを「第1打ち分け報知画像」(「右打ち大表示(P831)」、「左打ち大表示(P833)」)と表現し、大当り遊技中や特定遊技状態中において、遊技状態での推奨発射位置を、遊技状態が続く期間のほぼ全てにおいて表示する表示について「第2打ち分け報知画像」(「右打ち小表示(P832)」、「左打ち小表示(P834)」)と表現する場合がある。
また、「打ち分け報知(P830)」の他の種類の演出として、推奨される発射位置以外の位置に遊技球が発射されている状況を検出した場合、例えば、大当り中に遊技領域の左側領域P501Lに遊技球を発射した場合に、遊技領域の右側領域P501Rに遊技球を発射すべきことを遊技者に対して注意喚起する「左打ち警告報知」(「右打ち注意喚起報知(P835)」)として「右打ちしてください」などのメッセージ表示)を行う。なお、推奨発射位置と遊技者の実発射位置が逆の状況では、「右打ち警告報知」(「左打ち注意喚起報知(P936)」)が実行される。
(特定遊技状態中の演出表示例)
図20は、特定遊技状態中(高確率または低確率/高ベース)である電チューサポート機能の作動中の遊技演出を表した図である。図中には多岐にわたる演出表示がなされているが、前述の説明の中で説明を行ったものに関しての説明は割愛し、これまでに説明がされていない演出表示、および前述の説明と相違点を有する演出表示に関する説明を行う。
まず、これまでに説明がされていない演出表示として、特定遊技状態中の演出表示に関する説明として「演出モード表示(P840)」と「残り遊技回数表示(P841)」に関する説明を行う。
《演出モード表示》
「演出モード表示(P840)」は、現在の演出表示態様の状態を示す表示であり、演出モードと呼ばれる状態情報によって、該当するモードに応じた予告演出が抽選されていることを示す表示である。演出モード表示が相違する場合には、遊技者に視認される予告演出の種類が、一部共通とする予告演出はあるものの、見た目に与える印象が大きく異なるように作られることが一般的である。図20では、「RUSH_MODE」という表示がなされており、前提とするぱちんこ遊技機Pにおける遊技状態が、「ST(回数切り確変)」(高確率/高ベース状態)であることを示す表示を行っている。
なお、「演出モード表示(P840)」は、特定遊技状態における演出モードを報知する以外に、通常遊技状態(低確率/低ベース状態)において表示される場合があってもよいし、1の遊技状態において複数の演出モードを有する場合に、演出モードが切り替わる条件が成立するたびに表示を一時的、または演出モードが終了するまで継続して行うものであってもよい。
《残り遊技回数表示》
「残り遊技回数表示(P841)」は、特定遊技状態が終了するまでの特別図柄の変動表示の回数(特別図柄抽選の回数)や、現在の演出モードが終了するまでの特別図柄の変動表示の回数を表す表示である。図20では、画面中央上部に「残り_56」という表示が実行されており、「ST(回数切り確変)」の遊技状態が、あと56回の特別図柄抽選が実行されるまで行われることを遊技者に報知している。
次に、図20に示す特定遊技状態の演出表示例において、前述した他の遊技状態における演出表示例と相違する表示に関して説明を行う。
《装飾図柄(特定遊技状態)》
図20の画面中央には、装飾図柄P801の変動表示が表示されている。図20の通常遊技状態における演出表示例の装飾図柄P801に比して、図20の特定遊技状態における装飾図柄P801の演出表示例では、装飾図柄P801の表示が小さく表示されている。
前提とするぱちんこ遊技機Pでは、特定遊技状態の演出表示として、画面上部に演出モード表示P840や、残り遊技回数表示P841、さらには大当りアイコン表示P821を行っており、画面下部には選択楽曲表示P854および獲得球数表示P824を行っている。特定遊技状態では、通常遊技状態(低確率/低ベース状態)で表示されないこのような付加的な表示を行うため、通常遊技状態と同等のサイズで装飾図柄P801を表示してしまうと、停止表示の際に一部図柄の表示が各表示の一部と重なってしまい、停止表示図柄の視認性が低下するという問題が発生する恐れがあり、前提とするぱちんこ遊技機Pでは、このような問題が生じにくくなるよう装飾図柄P801の表示を小さく簡略化するものとしている。また、装飾図柄P801を簡略化して表示する例として、サイズを小さくするほか、図柄を示す数字に付帯して表示されるキャラクタ画像などの表示を行わない方法なども採用可能である。
《保留表示領域(特定遊技状態)》
前提とするぱちんこ遊技機Pでは、図20の画面左下に示すように、特定遊技状態の保留表示領域P810における保留オブジェクトP811の表示として、画面手前側から奥行き方向に向かって「保1」から「保4」の保留オブジェクトの表示領域が設けられている。なお、当該変動オブジェクト表示領域P812(及び当該変動オブジェクト表示P813)については「RUSH_MODE」の演出モード状態では表示が省略されている。
図20に示す変動表示が終了し、状態で新たな変動が開始すると、図20の最も下部に位置する保留オブジェクトP811の表示が消失し、奥に並ぶ保留オブジェクトP811の表示が手前に移動するとともに表示が大きくなるよう表示制御される。
また、図示はしないが特定遊技中において表示される演出として重要な演出である、「リザルト表示演出」に関して説明を行う。
《リザルト表示演出》
「リザルト表示演出」は、前提とするぱちんこ遊技機Pでは、主として特定遊技状態(高ベース状態)の最後の変動が実行される際、あるいは特定遊技状態中に生起した保留がなくなる際等、遊技者が「連荘」状態が終了したと認識するタイミングに行われる演出であり、いわゆる「連荘」状態において、何回の大当り遊技を獲得したかという情報や、合計で何発の遊技球を獲得したか(獲得球数表示に相当)を遊技者に報知する演出である。
[第1実施例]
第1実施例のぱちんこ遊技機Pは、上述の前提技術を基本構成とする他、種々の特徴的な構成を有する。以下、前提技術との相違点を中心に説明し、共通点の説明を省略する。第1実施例のぱちんこ遊技機を構成する要素のうち、前提技術で説明した要素と同一または対応する要素には同一の符号を付して説明する。
(筺体(スロットマシン1)の説明)
以下、図面を参照しながら、本発明の実施形態を詳細に説明する。本実施形態に係るスロットマシン1の外観を図21に示す。スロットマシン1は大きく分けてフロントパネル2側とキャビネット3側にそれぞれ必要な部品、基板が取付けられる。スロットマシン1のフロントパネル2とキャビネット3の各々側面側はヒンジ装置と施錠装置によって接合され、フロントパネル2に設けられた施錠装置に錠前キーが差し込まれ、特定方向に回動操作されることにより施錠装置側を開放状態とすることができる。
以下にスロットマシン1のフロントパネル2側の構成要素について解説する。
(フロントパネル2)
フロントパネル2は、意匠が施された板部材で構成され、前側(遊技者側)には表示窓4、操作指示ランプ24、ベット数表示ランプ25、クレジット数表示器26、獲得枚数表示器27、操作パネル11、下部パネル5、上部または両側部演出ランプ等が設けられ、裏側にはメダルセレクタ34(以下、単に「セレクタ」と称する場合がある)、表示装置32、サブ制御基板ユニット42、各種基板等、設定表示LED(以下、設定値表示LED、設定表示器、設定値表示器、設定表示装置、設定値表示装置と称する場合がある)が設けられる。
(表示窓4)
表示窓4は、フロントパネル2を閉鎖した状態で、上下方向に回転自在に設けられている左リール8a、中リール8b、右リール8cの各リールリム部に固定されるリールテープの外周面に印刷された図柄は、前側(遊技者側)から表示窓4を通して視認可能となるように構成されている。そして、リールが停止しているときは、21個(本実施形態では21個であるが、仕様に応じて20個や16個等自由に設計してもよい)の図柄のうち、連続する3つの図柄が視認可能となっている。すなわち、表示窓4には、3[図柄]×3[リール]=合計9つの図柄が停止される。ここで、左リール8a、中リール8b、右リール8cがそれぞれ3つの図柄を停止する停止位置のうち、最も上側の停止位置を上段、中央の停止位置を中段、最も下側の停止位置を下段とする。
(有効ライン)
有効ラインは、左リール8a、中リール8b、右リール8cが停止したときに入賞判定処理(後述する)の対象となる図柄組合せラインである。本実施形態における有効ラインは、表示窓4において、各リールの中段を通過する図柄組合せライン(中段水平ライン)によって構成されている。有効ライン上に停止した図柄組合せが入賞判定処理により、いずれかの役に対応していたと判定されたときは、停止した図柄組合せに応じた処理を行う。一例としては、ベルに対応した図柄組合せが停止したと判定されたときは遊技メダル(以下、メダル、遊技媒体、遊技価値と称する場合がある)の払出処理やクレジットの加算処理が実行され、リプレイに対応した図柄組合せが停止したと判定されたときは自動ベット処理が実行される。
また有効ラインはスロットマシン1によっては上段水平ライン、中段水平ライン、下段水平ライン、右上がりライン、右下がりラインの5ライン分が設定されたり、一直線でない略山形(左リール8a下段、中リール8b上段、右リール8c下段)、略谷型(左リール8a上段、中リール8b下段、右リール8c上段)、略L字型(左リール8a上段、中リール8b下段、右リール8c下段)を含めて6ライン分以上が設定されたり、賭け枚数によって有効ラインが変化するように設定されたり、スロットマシン1の仕様に応じて自由に設計できる。また、有効ライン以外の一直線のラインを無効ラインと称する場合がある。
(操作指示ランプ24)
操作指示ランプ24は、表示窓4の周辺に設けられており、左リール8a、中リール8b、右リール8cが回転しているときに、遊技者に対してストップスイッチ13(後述する)の操作順序を指示するものである。すなわち、左操作指示ランプ24aが点灯したと
きは左ストップスイッチ13aを、中操作指示ランプ24bが点灯したときは中ストップスイッチ13bを、右操作指示ランプ24cが点灯したときは右ストップスイッチ13cを、各々操作すべきであることを示している。
(ベット数表示ランプ25)
ベット数(賭け枚数)表示ランプ25は、操作パネル11上に設けられており、遊技者の操作による賭け枚数を表示する機能を有している。また、1枚ベット数表示ランプ25a(図示せず)、2枚ベット数表示ランプ25b(図示せず)、3枚ベット数表示ランプ25c(図示せず)から構成されている。メダルが1枚賭けられると1枚ベット数表示ランプ25aが点灯し、メダルが累計で2枚賭けられると2枚ベット数表示ランプ25bが点灯し、メダルが累計で3枚賭けられると3枚ベット数表示ランプ25cが点灯するようになっている。また、図示しないが、リプレイに関する図柄組合せが表示された後は、自動ベット処理が実行される際に、当該リプレイが当選した遊技での使用したベット数に対応するベット数表示ランプ25を点灯させるとともに、リプレイランプを点灯するようになっている。なお、ベット数表示ランプ25の点灯タイミングとリプレイランプの点灯タイミングとは同時であってもよいし、いずれかが先に点灯するよう構成してもよい。
(クレジット数表示器26)
クレジット数表示器26は、操作パネル11上に設けられおり、7セグメントとドットポイント(DP)から構成されている主にクレジット数の上位桁を表示するセグメント表示器26a(図示せず)、7セグメントとドットポイント(DP)から構成されている主にクレジット数の下位桁を表示するセグメント表示器26b(図示せず)から構成されている。なお、クレジット数とはスロットマシン1にクレジット(電気的に貯留)されているメダルの枚数を意味する。また、エラーを検知したときのように通常の遊技が進行できないときには当該エラーに関する表示を行ってもよい。
(獲得枚数表示器27)
獲得枚数表示器27は、操作パネル11上に設けられており、7セグメントとドットポイント(DP)から構成されている主に獲得枚数の上位桁を表示するセグメント表示器27a(図示せず)、7セグメントとドットポイント(DP)から構成されている主に獲得枚数の下位桁を表示するセグメント表示器27b(図示せず)から構成されている。なお、獲得枚数とはスロットマシン1において遊技の結果に応じて遊技者へ払い出される(クレジット数表示器26への貯留も含む)メダルの枚数を意味する。また、エラーを検知したときのように通常の遊技が進行できないときには当該エラーに関する表示を行ってもよい。
クレジット数表示器26と獲得枚数表示器27はセグメント表示器26a、26b、27a、27cにより各々の情報を表示するほかに、DPの点灯の有無により、クレジット数に関する情報や獲得枚数に関する情報とは異なる情報を表示することも考えられる。例えば、有利区間(後述する)に滞在していることを示す情報や所定の外部信号が出力されていることを示す情報などをいずれかのセグメント表示器のDPを点灯させることで報知することが挙げられる。また、獲得枚数表示器27の上位桁の表示部と下位桁の表示部を用いて押し順報知を行う性能を有していてもよい。獲得枚数表示器27を用いて押し順報知を行う場合は獲得枚数表示器27のことを指示モニタと称する場合がある。
(操作パネル11)
操作パネル11は、フロントパネル2の略中央部設けられている。操作パネル11は略水平に構成されており、後述するスタートスイッチ12、ストップスイッチ13、メダル投入口17、複数のベットスイッチ(MAXベットスイッチ18、1ベットスイッチ19)、サブスイッチ20、サブ十字キースイッチ21、イジェクトスイッチ22、精算スイッチ(後述する)が設けられている。
(スタートスイッチ12)
スタートスイッチ12(スタートレバーとも称す)は、操作パネル11上に設けられている。レバー形状の操作部からなり、非操作時はスタートスイッチセンサがONとなっており、操作時にスタートスイッチセンサがOFFとなることで、スタートスイッチが操作されたと判定する機構となっている。スタートスイッチ12は、賭け枚数が規定数となると操作が有効となり、操作されたことで内部抽せん処理(後述する)やAT抽選処理(後述する)リール回転処理(後述する)などを開始させる。また、本実施形態においては、入力信号をローアクティブにしているため、非操作時にスタートスイッチセンサがONとなっている場合はスタートスイッチ入力信号がOFFとなり、操作時にスタートスイッチセンサがONからOFFとなった場合はスタートスイッチ入力信号がONとなるよう構成している。これに限られずスタートスイッチセンサのONのときにスタートスイッチ入力信号がONとなるように構成してもよい。
以下、単に「スタートスイッチがON(オン)」、又は「スタートスイッチが操作され」と称した場合は、スタートスイッチセンサがONからOFFとなったことであり、スタートスイッチ入力信号がOFFからONとなったことを表す。
(ストップスイッチ13)
ストップスイッチ13は、操作パネル11上に設けられている。本実施形態の場合、左リール8aには左ストップスイッチ13a、中リール8bには中ストップスイッチ13b、右リール8cには右ストップスイッチ13cがそれぞれ対応している。また、ストップスイッチ13の操作が可能な時にはストップスイッチ13の本体に備えられているランプ、又はその周辺のランプの色を変更させることでストップスイッチ13が有効であることを示唆する。例えば、ストップスイッチ13の操作が可能な時には青色で点灯し、操作が不可能な時には赤色で点灯することが挙げられる。
(メダル投入口17)
メダル投入口17は、操作パネル11上に設けられている。メダルをメダル投入口に投入させるための開口部を有し、規格サイズ以上のメダルの投入を制限する。メダル投入口17は、複数種類のメダルの規格サイズに応じて複数種類製造されているが、操作パネル11に各種メダル投入口17の取り付けを共通で行えるように、各種メダル投入口17の取り付け規格を同一にしている。
遊技媒体の投入に関して、遊技媒体は上記メダルの投入によるものに限定されず、例えばパチンコに用いられる遊技球を投入するもの(所謂パロット)や、磁気カードやフラッシュメモリ等電気的記憶媒体に記憶された遊技媒体数情報を遊技機が読み取り、電気的記憶媒体の遊技媒体数情報を賭け枚数の設定、入賞の払い出しのタイミングで更新保存させるものなどがあり、遊技機ごとに必要に応じて変更され得る。
(ベットスイッチ(MAXベットスイッチ18、1ベットスイッチ19))
ベットスイッチは、操作パネル11上に設けられている。クレジットに貯留メダルがあるときにベットスイッチが操作されると、メダル投入口17にメダルを投入する行為と同等の賭け枚数の設定処理が行われる(賭け枚数設定手段158)。ただし、クレジットに貯留メダルが無い場合にベットスイッチが操作されても無効となる(受け付けない)。また、スロットマシン1毎に設定された最大枚数を賭けることができるMAXベットスイッチ18と、1枚を賭けることができる1ベットスイッチ19で構成されており、1ベットスイッチ19は複数回操作することで最大賭け枚数の範囲内において操作回数と同数の枚数を賭けることが可能に構成されている。また、最大賭け枚数の遊技媒体が賭けられている状態で1ベットスイッチ19が操作されると1枚が賭けられた状態に移行してもよいし、1ベットスイッチ19の操作を無効(1枚が賭けられた状態に移行しない)としてもよい。なお、本実施形態における最大賭け枚数は3枚としている。なお、最大賭け枚数は遊技状態によって相違するよう構成してもよい。
また、上記のベットスイッチの他に、一度の操作において任意に設定されたn(nは正の整数)枚を賭けることが可能なnベットスイッチを設けることも考えられる。また、MAXベットスイッチ18は、現在設定されている賭け枚数が3枚の場合にはMAXベットスイッチが操作されても無効となる(受け付けない)。また、現在のクレジットの貯留メダル数と現在設定されている賭け枚数が3枚未満であり、かつ現在のクレジットの貯留メダル数と現在設定されている賭け枚数の和が3未満となる場合のときは、MAXベットスイッチが操作されても無効となる(受け付けない)、もしくは、賭け枚数として設定可能な枚数が賭け枚数として設定される。
(サブスイッチ20)
サブスイッチ20は、操作パネル11上に設けられている。主に後述する表示装置32に表示される指示画面に従って操作させるスイッチである。また、入力手段としてサブスイッチ20の他、サブ十字キースイッチ21(サブ十字キー上スイッチ、サブ十字キー下スイッチ、サブ十字キー左スイッチ、サブ十字キー右スイッチ)や演出用スイッチ(遊技中に指示を用いて操作させるスイッチ)を設けている。また、サブスイッチ20は後述する携帯端末との連動システムを起動させる契機として機能させることもできる。なお、サブスイッチ20をメニュー表示機能、演出用スイッチを遊技中の操作用として分けているが、共通のスイッチとしてもよい。
(精算スイッチ)
精算スイッチは、操作パネル11上に設けられている。遊技が終了した後に操作されることで、ベットされている遊技媒体数や、クレジットに貯留されている遊技媒体数を遊技者に払い出す(精算する)処理を実行する。なお。本実施形態では、ベットされており、且つクレジットに遊技媒体が貯留されている状況下で精算スイッチが操作されると、ベットされている遊技媒体を先に払い出した後、続けてクレジットに貯留されている遊技媒体を払い出すよう構成されているが、これに限らず、ベットされている遊技媒体数が0のときのみクレジットに貯留されている遊技媒体を払い出す処理を実行してもよい。すなわち、ベットされている状況下で精算スイッチが操作されるとベットされている遊技媒体のみを払い出し、その後、再度精算スイッチが操作されるとクレジットに貯留されている遊技媒体を払い出すよう構成されてもよい。
(下部パネル5)
下部パネル5は、フロントパネル2の下方に設けられている。透明樹脂が2枚合わさって構成され、合わせた樹脂の間にはデザインシートが挟まれ、前記デザインシートはスロットマシン1毎の特色を表す印刷が施される。
(メダル払出口43)
メダル払出口43は、下部パネル5の下方に設けられている。後述するホッパ44(ホッパーとも称す)より払い出されたメダルをスロットマシン1の外(受け皿28)に放出させる為の出口である。また、後述するメダルセレクタ34から排除されたメダルをスロットマシン1の外に放出させる返却口を兼ねている。
(受け皿28)
受け皿28は、下部パネル5の下方に設けられている。前記メダル払出口43から放出されたメダルを受止め、貯蔵できるように略凹構造を有しており、貯蔵したメダルを遊技者が確認できるように遊技者側に突出して設けられている。
また、前記受け皿28はその他の機能としてタバコ用灰皿29と、組合許諾証シール、特許証紙シール、型式シールが貼り付けられた樹脂シートを収容し、遊技者側に表示する開口部を有したシール収容部30も設ける。
(スピーカS)
スピーカSは、フロントパネル2の上方、及び下方に設けられている。サブ制御基板ユニット42とハーネス(図示しない)で繋がれており、前記スピーカSからは演出に合わせた効果音の他、エラーが発生した事を知らせるエラー音や警告音を出力する。
(表示装置32)
表示装置32は、フロントパネル2の上方に設けられている。画像を表示可能な装置であり、液晶ディスプレイ、プラズマディスプレイ、有機ELディスプレイ、プロジェクターなど様々な装置を用いることができる。サブ制御基板ユニット42と電気的に接続され、様々な演出画像のほか、遊技中にストップスイッチ13の押し順や目押し位置を指示する遊技指示画像、エラー発生時のエラー画像等を表示する。また、機種によっては表示装置32を搭載しないスロットマシン1もある。
(ドットディスプレイ、可動役物などのその他演出装置)
ドットディスプレイ、可動役物などのその他演出装置は、表示窓4の周辺、上下パネル部などフロントパネル2の任意の位置に設けられている。サブ制御基板ユニット42と電気的に接続され、様々な演出画像、演出動作のほか、遊技中にストップスイッチ13の押し順や目押し位置を指示する遊技指示画像や動作、エラー発生時のエラー画像の表示や動作を行う。ドットディスプレイ、可動役物などのその他演出装置は、スロットマシン1の機種に合わせて任意に搭載される。また、液晶ディスプレイ、プラズマディスプレイ、有機ELディスプレイ、プロジェクターなど様々な装置をその他演出装置として用いることもできる。特にその他演出装置である液晶を補助的に備えた遊技機においては、表示装置32をメイン表示装置と称し、その他演出装置である液晶をサブ表示装置と称する場合がある。この場合、メイン表示装置の方がサブ表示装置よりも表示領域が大きく構成される。
(メダルセレクタ34)
メダルセレクタ34は、フロントパネル2背面の遊技機内部にあり、かつ、メダル投入口17の下方の流下通路に設けられている。遊技者より投入されたメダルの枚数を流下通路上に設けられたセンサでカウントするメダルカウント機能の他、投入された規格外のメダルを流下通路から外れるようガイドし、スロットマシン1外に排除するメダル排除機能を一般的に設ける。その他、フロントパネル2前面に設けたスイッチが操作されることで、メダルセレクタ34内に詰まったメダルを排除するイジェクト機能や、メダル受付け時以外に投入されたメダルを電気的に駆動される阻止部材で流下通路上から排除するブロッカ機能、メダル流路35に侵入した異物を物理的に検知する異物検知機能を有している。メダル受付け時に投入されたメダルが正常な場合は、下流に位置するホッパ44へ排出する。
メダルセレクタ内の各種センサは、通路センサ、投入センサ1、投入センサ2、シュートセンサから構成されている。通路センサは、メダル投入口から投入されたメダルを最初に検知するセンサであり、投入メダルと排出メダルの数をカウントするために設けられている。投入センサ1、投入センサ2は通路センサ、及びブロッカの下流に位置しており、投入センサ1、投入センサ2を通過するメダルの通過時間を判断して正常通過、又は異常通過を判断するために設けられている。なお、投入センサ2は投入センサ1よりも下流に位置している。シュートセンサは、投入センサ2よりも下流に位置しており、投入メダルと排出メダルの数をカウントするために設けられている。通路センサとシュートセンサは機能が重複しているためどちらか一方のみを設けてもよい。
以下にスロットマシン1における、キャビネット3側の構成要素について解説する。
(キャビネット3)
キャビネット3は方形箱形の一面に開口部を有した形状で構成され、内部にはリールユニット6、ホッパ44、補助タンク46、設定キースイッチ37、リセット/設定スイッチ38(以下、単に「リセットスイッチ」、又は「設定スイッチ」と称する場合がある)、電源装置39、メイン制御基板ユニット41、外部出力端子板47等が設けられる。
(メイン制御基板ユニット41)
メイン制御基板ユニット41は、メイン制御基板ケースベースとメイン制御基板ケースカバーとメイン制御基板100から構成されている。メイン制御基板ケース本体とメイン制御基板ケースカバーでメイン制御基板100を収納しており、カシメによって容易に開閉できないようになっている(封印されている)。メイン制御基板ユニット41はキャビネット3内のメイン制御基板ケースブラケットに固定される。
メイン制御基板100は、メインCPU、メインROM、メインRAM(以下、メインRWMとも称す)の機能が制御されるメインICが配置されている。メインICの制御に基づいて、後述する一般的な遊技(役抽選処理、リール制御処理や払出処理など)が実現される。
(リールユニット6)
リールユニット6は、主に、リール枠体、左リール8a、中リール8b、右リール8cから構成されている。リールユニット6はキャビネット3中央内部のリールベース7に取り付けられ、係止部材(後述する)によって固定される。
リール(左リール8a、中リール8b、右リール8c)は、外周に複数種類の図柄が描かれたリールテープが貼り付けられ、各リールに異なる図柄配列となっている。遊技者によりスタートスイッチ12が操作されると回転を開始し、約80回転/分の速さまで加速を行う(加速処理)。そして、一定速度に到達後、1割込みごとにステッピングモータを1ステップ移動させる定速回転状態を維持した後(定速回転)、遊技者によるストップスイッチ13の操作に応じて、各リールの各操作受付位置で定められた停止位置にリールを定速回転で移動させ、停止図柄位置まで移動させた後はブレーキをかけ(4相励磁をかけ)リールの回転を停止する。
また、各リールにはインデックスが設けられており、各リールのスポーク部に備えられたインデックスセンサがインデックスを検知することで回転中にどの図柄を通過しているかを判断している。なお、本実施形態におけるリールの駆動源であるステッピングモータのステップ数は336ステップとなっており、定速回転中において2割込み処理ごとに回転不良検出カウンタをインクリメントし、回転不良検出カウンタのカウンタ値が180となった場合に回転不良と判断する。回転不良検出カウンタはインデックスを検知したときに0に設定することで、定速回転処理が正常であれば回転不良検出カウンタが180に到達する前に0となるように構成されている。
また、各リールの内部にはバックランプユニットが設けられており、リールが停止した後に停止した図柄を強調するために点灯させたり、リール回転中に図柄の視認性を向上させるために点灯させたりしている。
(ホッパ44)
ホッパ44は、キャビネット3の底板に設けられたレール構造と係合して載置され、レール構造に沿って前後にスライド移動が可能となっている。ホッパ44は、メダルセレクタ34から遊技機内部に導かれたメダルを受け入れ貯留する貯留タンク部と、ホッパモータ駆動手段156によりホッパモータを駆動させ、回転盤を回転させることにより貯留されたメダルを1枚ずつ受け皿28に排出するためにメダルを整列させるメダル整列機構、及びメダルをメダル払出口43を通してメダルを受け皿28に排出するための放出機構を設けたメダル払出部45によって構成されている。
(補助タンク46)
補助タンク46は、メダルを貯留可能に構成されており、貯留タンク部に貯留されたメダルは、貯留タンク部に設けられた下り傾斜となっているレール部を通って補助タンク46に貯留される。補助タンク46は、方形箱形構造となっており、キャビネット3内に設置された状態においては、少なくとも一側面に設けられた貫通孔からキャビネット3に取り付けられた2本の満杯検知電極が補助タンク46内に露出するように設けられ、メダル投入口から投入されたメダルが一定量以上貯留されると2本の満杯検知電極がメダルを介して通電状態となり、ホッパ44、及び補助タンク46が満杯であると判断する。なお、満杯検知電極は2本のみには限定されず、3本設けるなど満杯検知電極の本数を変更してもよい。また、満杯検知の方法は満杯検知電極を使用する方法のみには限定されず、所定の位置に設けたセンサがメダルを検出することで満杯検知を可能に構成してもよい。
(設定キースイッチ37)
設定キースイッチ37は、スロットマシン1の内部に設けられた前面に開閉扉が設けられている設定キースイッチユニットに設けられている。フロントパネル2を開放後、設定キースイッチユニットの開閉扉を開放することでアクセスが可能となる。設定キースイッチ37がオンとなるには、設定キーを差し込み、右方向に回転させる。メダル受付けが可能な状態で設定キースイッチ37がオンとなると現在の設定値を確認でき、電源投入時の電源投入処理で設定キースイッチ37がオンであると判断すると設定変更処理(後述する)を実行する。
(電源装置39)
電源装置39はキャビネット3の正面視左下方に設けられている。方形箱形状に構成されており、外部には電源スイッチ40が設けられており、内部には電圧を生成する電源基板が設けられている。ハーネス(図示しない)を介して回胴装置基板、サブ制御基板ユニット42へそれぞれ個別に接続されており、回胴装置基板から更にハーネスを介してメイン制御基板ユニット41へ接続され、電源を供給している。
電源装置39は、スイッチがオンとなった場合、スロットマシン1の外部より電力を取込んだ後、それぞれ所定の電圧を生成し、メイン制御基板ユニット41、サブ制御基板ユニット42に対し所定の電圧を取込むよう構成されており、スイッチがオフとなった場合、スロットマシン1の外部より電力を取込まないよう構成されている。
(外部出力端子板47)
外部出力端子板47は一般的にスロットマシン1のキャビネット3内部に取付けられており、メイン制御基板ユニット41から出力された遊技の結果に関する信号を予め定められた形式の信号に変換しスロットマシン1の外部に送信する。遊技の結果の内容として投入枚数、払出枚数、ボーナス回数(ビッグボーナス回数、レギュラーボーナス回数)、ドア開放信号等がある。その他の外部に信号を送信するための条件は、AT状態となったとき、特定の図柄組合せが表示されたとき、遊技に関するカウンタの値が所定値となったときなど、メイン制御基板100が制御するあらかじめ定められた情報をもとに設定できる。
(機能ブロック図)
本実施形態が有する図25に記載している機能ブロック図を参照しながら、スロットマシンの電気的な概略構成を説明する。
<主制御基板>
本実施形態のスロットマシン1は、一般的な遊技の流れを司るメイン制御基板100(主制御基板とも称す)から、サブ制御基板1000(副制御基板とも称す)、ドア中継基板(中央表示基板とも称す)、回胴装置基板、リセット/設定スイッチ38、設定キースイッチ等と電気的に接続されていることで、データ通信を可能としている。ただし、主制御基板と副制御基板は双方向通信を不可能とし、主制御基板から副制御基板への一方向通信でデータ通信を可能としている。主制御基板には主制御チップが搭載されている。主制御チップには、主制御CPU,主制御ROM、主制御RAM等がバスによって互いにデータ通信を可能としている。主制御チップの制御により、役抽選(内部抽せんとも称す)、リールの駆動制御(リール制御とも称す)、払出制御等を各種基板へと適宜データ通信を行う。また、副制御基板に対しては、内部抽せんの結果、択役(AT役、AT対象役、押し順役、目押し役、押し順役と目押し役の双方を含む操作手順役とも称す)に当選し、択役の表示に関する情報(押し順、操作タイミング)を主制御手段側で報知する場合に副制御手段側でも報知可能にするために択役情報(択役グループ情報、択役の表示に関する情報)を送信することで、副制御手段側でも択役の表示に関する情報を報知することが可能となる。なお、ATへの移行やAT遊技数の延長や、押し順報知等、ATに関する全ての処理を含んで指示機能に係る(関する)処理と称することもある。なお、押し順役とは、停止させるリールの順序(押し順)によって、停止する図柄組合せや遊技者に付与される遊技メダルが相違する条件装置であり、目押し役とは、停止ボタンの操作を受け付けるタイミングによって、停止する図柄組合せや遊技者に付与される遊技メダルが相違する条件装置である。
<副制御基板>
副制御基板は、副制御チップが搭載されている。副制御チップには、副制御CPU,副制御ROM、副制御RAM等がバスによって互いにデータ通信を可能としている。副制御基板は演出制御基板と双方向通信が可能であり、スピーカS、LEDランプ、サブスイッチ20等に出力する演出を指定したデータを送信する。表示装置32への情報は画像制御基板へデータを送信する。また、副制御基板は電源基板から直接電力が供給される。
<回胴装置基板>
回胴装置基板は、リールモータ、リールセンサ、ドアスイッチ、払出センサ、外部出力端子板47(外部集中端子板とも称す)等と主制御基板との間のデータ通信を行う中継基板である。リールモータはリールの駆動を制御する。リールセンサは、リールが正常な動作を行っているかを判定するセンサであり、突出片(インデックスとも称する)がセンサを通過した際に回胴装置基板へデータ送信を行う。ドアスイッチは、前扉が開放されたか否かを判定するセンサである。払出センサはメダルがホッパから払い出される際に適切に通過しているかを判定するセンサである。外部集中端子板は遊技機外のホールコンピュータへデータを送信するための中継基板である。また、回胴装置基板は電源基板から直接電力が供給される。
<ドア中継基板>
ドア中継基板は、入力される情報として、セレクタ内の各種センサ情報(投入センサ1,投入センサ2、通路センサ、シュートセンサ)、ベットスイッチ情報、ストップスイッチ情報、精算スイッチ情報があり、出力する情報として、ブロッカ情報、クレジット数情報、ベット数情報、リプレイ図柄組合せ表示情報、払出数情報がある。ドア中継基板は、セレクタ、ベットスイッチ、ストップスイッチ、精算スイッチ、クレジット数表示器26、払出数表示器、リプレイランプ、1ベットランプ、2ベットランプ、3ベットランプ、スタートランプ、メダル投入可ランプ、有利区間ランプと電気的に接続されている。
<演出制御基板>
演出制御基板は、サブスイッチ20、サブ十字キースイッチ21、演出用スイッチ、スピーカS、バックランプ、フロントパネル2に設けられているLEDランプ、表示装置32の表示内容を制御する画像制御基板と電気的に接続される。
<画像制御基板>
画像制御基板は、表示装置32に演出内容を具体的に表示するための画像制御ROM、サウンドROM、冷却ファン等が設けられている。
<電源基板>
本実施形態のスロットマシン1は、電源スイッチの操作に基づいて、電源基板から回胴装置基板およびサブ制御基板へと電力を供給する。回胴装置基板に供給された電力は、主制御基板、ドア中継基板へと電力を供給する。そして、供給された電力は各部品へと供給されることで電気的に接続される。サブ制御基板に供給された電力は、演出制御基板へと電力を供給し、そして画像制御基板へと電力を供給する。供給された電力は各部品へと供給されることで電気的に接続される。
遊技機の遊技を制御するメイン基板の制御について解説する。
(メインメモリ)
メインCPU105には内蔵されているROMとRAMとがあり、クリア処理に伴ってクリアされる内蔵RAMについて説明する。RAMの記憶領域としては、打止切換スイッチ60のオン/オフ、自動精算スイッチ62のオン/オフの状態を示すスイッチ状態フラグの記憶領域、設定される1~6の何れかの値を示す設定値情報の記憶領域、複数のRT状態のうち何れのRT状態かを示すRT状態情報の記憶領域、ボーナスなどの特定の条件装置の当選状態を示す特定の条件装置の記憶領域、その他、遊技を進行させるのに必要な情報が記憶される遊技情報の記憶領域、使用されていない未使用の記憶領域、レジスタから退避したデータが格納されるスタックエリアの記憶領域、電源投入時にセットされる仮スタックエリアの記憶領域がある。
(割込み処理)
本実施形態のスロットマシン1では、割込み処理としてノンマスカブル割込みとマスカブル割込みを設ける。ノンマスカブル割込みはメインCPU105の特定の端子(NMI端子)に信号が入力されると発生する割込みであって、マスカブル割込みより優先して実行される。
ノンマスカブル割込みが発生すると電源断のための処理を実行する。マスカブル割込みはノンマスカブル割込みと異なり定期的(2.235ミリ秒)に実行される処理であって、マスカブル割込みが発生すると、操作スイッチの入力のチェックやタイマ計測などの処理を実行する。以下の記載において、特に説明がない割込みはマスカブル割込みを示すこととする。
(RAM初期化処理)
RAMを初期化する契機は設定変更手段112による設定変更処理時、電源断復帰処理時と毎遊技の開始時とがあり、それぞれの場合によって初期化するRAMの記憶領域の初期化する範囲は異なる。
設定変更処理時において、電源断復帰が正常に行えない場合、又は復帰不可能状態の場合はスイッチ状態フラグの記憶領域を除くRAMエリアにデータ0をセット(初期化)する。つまり設定変更前の状態を引き継ぐものはスイッチ状態フラグしかなく、例えばRT状態や、条件装置フラグなどはクリアされ引き継がない。
また、設定変更処理時であって、電源断復帰が正常に行える場合と、又は復帰不可能状態以外の場合のいずれか一方、つまり、正常に設定変更処理を行う場合はスイッチ状態フラグの記憶領域、設定値情報の記憶領域、RT状態情報の記憶領域、特定条件装置の記憶領域が記憶される領域を除くRAMエリアにデータ0をセットする。つまり、設定変更前の遊技状態を維持したまま、設定変更後の設定値で遊技が可能となるようにRT状態、設定値データ、条件装置フラグを引き継ぐ。設定値データは設定変更前の情報を引き継ぎ、その後の設定変更処理において新たな設定値が設定されるため、サブ制御基板1000において、設定変更がされたのかを判定するために用いられる。
さらに、電源断復帰処理時、毎遊技の開始時はRAMエリアの未使用の記憶領域と電源断復帰処理時は電源断復帰時RAM初期化時の最大使用領域を除くスタックエリアの記憶領域にデータ0をセットする。
(電源断復帰、電源投入)
本実施形態のスロットマシン1では、電源スイッチ40のオフ操作や、停電などによりスロットマシン1を稼動させるための動作電圧が維持できなくなるといった電源の供給が断たれる事象が発生するとRAMに記憶されているデータがバックアップ電源により保持される。そして次に電源が投入された時に、メイン制御基板100が、保持されたRAMのデータが正常であるか否かを判定し、正常と判定した場合、つまり電源断時の処理が正常に行われた場合にRAMに記憶されているデータに基づいて電源断前の状態に復帰するように制御する。
そして電源投入時において設定変更を伴うと、電源断前の状態に戻さず、一部の情報のみを保持し、別の状態(初期化)として復帰させる。なお、設定変更時において、一部の情報を保持するようにしたが、全ての情報を保持しないようにしてもよい。
(電源断割込み処理)
本実施形態のスロットマシン1では、電源の供給が断たれる事象が発生したことによりスロットマシン1の動作電圧が低下し、動作電圧が所定電圧まで低下した場合に電源断を検知し、電源断を検知したときに電源断割込み処理を実行する。電圧監視回路110が電源断を検知することで電源断信号がメインCPU105のNMI端子に入力され、ノンマスカブル割込みが発生し、ノンマスカブル割込みにより電源断割込み処理が実行される。
電源断割込み処理では、処理実行時の状態を保持し、電源が再投入された際に電源断前の状態に復帰させるための処理として、出力ポートのクリア、割込みの停止、レジスタに記憶されているデータの退避を行い、割込み状態及びスタックポインタを保存、RAMチェックサムデータの算出及び保存、RAMの書込み禁止、リセット待ち等の処理を行う。なお、ノンマスカブル割込みを使用せずに、定期的に実行される割込み処理の実行毎に電圧監視回路110からの電源断信号が入力されているか判定し、連続する割込み処理で信号を検知したり、一の割込み処理内で2回信号を検知したりすると電源断が発生したと判定して電源断時処理(電源断割込み処理)を実行するようにしてもよい。
(復帰可能エラー処理)
復帰可能エラーとは、セレクタに関するエラー(メダル滞留エラー、メダル逆流エラーメダル通過時間エラー)、ホッパに関するエラー(ホッパエラー、ホッパエンプティエラー)、ドア開放エラー、ハーネス抜けエラー等であり、エラーの要因を取り除いた後にリセットスイッチの操作を受け付けると、電源を再投入しなくても遊技に復帰できる。復帰可能エラー中は、何のエラーが発生している遊技者に報知するために、表示装置32、払出数表示器、各種ランプで発生しているエラーに関する情報を表示する。復帰可能エラー中であっても遊技の進行は停止させることで、不正な操作が行われた場合であっても遊技場の管理者の被害を抑えることができる。復帰可能エラーから復帰する条件は、エラーの要因を取り除いた後にリセットスイッチの操作を受け付けること以外であってもよく、電源を再投入せずに復帰可能なエラーを復帰可能エラーと称している。
(復帰不可能エラー処理)
本実施形態のスロットマシン1では復帰不可能エラーが発生すると割込みを禁止し、出力ポートの出力をクリアするなど遊技の進行を制限すると共に、クレジット数表示器26でエラーの種類に応じた表示をするなど復帰不可能状態であることの報知を行う。
また、復帰可能エラーが設定される場合、リセットスイッチ(図示せず)の操作を受け付けるとエラーを解除するが、一度復帰不可能エラーが設定されると、リセットスイッチの操作受付や、電源を再投入しただけでは復帰不可能エラーは解除されない。この場合は、設定変更処理を行うことで復帰不可能エラーが解除されるよう構成されている。復帰不可能エラー時に電源を再投入したときは、電源投入処理の一部を実行した後、復帰不可能エラー表示を繰返し実行することで以降の遊技処理を実行しないように制御される。
復帰不可能エラーとしては、役抽選時に賭け枚数が規定数以外である場合、設定値エラーチェックにおいて値が正常範囲にない場合、電源断復帰時に電源断処理が正常に行われていないと判定した場合、水晶発振器114の周波数異常が示されるなど乱数異常と判定された場合、入賞判定処理において有効ライン上に当選していない役に対応した図柄組合せが停止されている場合などがある。
(遊技方法、遊技の流れ)
スロットマシン1で遊技を行うために、まずメダル投入口17からメダルを投入するか、予め貯留されているメダルをベット(MAXベットスイッチ18、1ベットスイッチ19)操作されることで予め規定されているメダルの賭け枚数を設定する。なお、本実施形態は規定されている枚数として3枚が設定されている。メダルの賭け枚数を設定することで有効ラインが有効に設定され遊技が可能な状態となる。
メダルの賭け枚数が上限に設定されている状況で新たなメダル投入口からメダルが投入された場合は、クレジットに記憶される遊技メダル(遊技価値)が増加する。クレジットに記憶される最大枚数は50枚を上限としている。賭け枚数の上限(3枚)と貯留分の上限(50枚)を超えるメダルがメダル投入口から投入された場合(54枚目)は、メダルセレクタのブロッカをオフ(メダルの遊技機内への投入を防ぐ状態)にして、受け皿に返却されるようになっている。即ち、賭け枚数が上限でありクレジットの貯留枚数が上限である場合にはブロッカがオフとなるよう構成されている。
メダルが投入されて賭け枚数若しくは貯留可能となる状況としては、賭け枚数(3枚)と貯留分(50枚)の和が53枚未満のときであり、遊技待機中(遊技終了から次遊技の開始までの期間)であることが挙げられる。例えば、リプレイに係る図柄組合せが表示され、自動ベット処理が実行されたあとの遊技待機中でもメダル投入可能の要件を満たす。
次に、スタートスイッチ12の操作を受け付けると、役抽選処理を実行し、役抽選処理の結果として一の役抽選結果(条件装置番号とも称す)を定めた後リールの回転を開始する。リールは表示窓4内を上から下方向へ向かって回転し、リールの回転速度が所定速度(約80回転/分)となるまで加速し、その後、速度を維持して回転する(定速回転)。
次に、ストップスイッチ13(左ストップスイッチ13a、中ストップスイッチ13b、右ストップスイッチ13c)のいずれかのストップスイッチの操作(停止操作)を受け付けると、役抽選結果と停止操作を受け付けたタイミングに応じて操作されたストップスイッチ13に対応するリールが停止する。全てのリールが停止すると各リールの停止受付時に決定した各停止図柄が異常でないか否かを判定し、異常でない場合、停止した図柄組合せが何れの図柄組合せであるかを検索し、検索結果に該当する図柄組合せに応じて、メダルの払い出し(クレジットへの加算を含む)、リプレイの設定(自動ベット処理)、ボーナス状態の設定、ボーナス状態の終了、RT状態の設定、RT状態の終了などの処理を行う。
(フリーズ処理)
遊技の進行を所定期間一時停止状態にして遅延させるフリーズ処理(フリーズ演出とも称す)としては、例えば、遊技媒体の受付け、予めクレジットされた遊技媒体の賭け枚数を定めるためのベットスイッチの操作の受付け、遊技を開始するためのスタートスイッチ12の操作の受付け、又は、リールの停止操作の受付けに関する機能を一時停止状態にすることが挙げられる。なお、フリーズ処理(フリーズ演出)は主制御基板が制御する処理となっている。
フリーズ演出としては、前述した遊技の進行に関わる全ての機能に関して一時停止状態にしてもよいし、一部の機能に関してのみ一時停止状態にしてもよい。
遊技の進行を一時停止状態にする態様としては、遊技者の操作に基づく制御処理(通過センサによる遊技媒体の投入検出処理、ベットスイッチの操作に基づいた賭け枚数設定処理、スタートスイッチ12の操作に基づいたリール回転処理または役抽選処理、リール停止スイッチの操作に基づいたリール停止処理)を行わないことが挙げられる。
フリーズ演出によって遊技の進行を一時停止している期間中に遊技者の操作に基づいた入力信号が発せられたときは、入力信号に基づく制御処理を行わない、入力信号を受付けない、入力信号の送信を所定期間が経過するまで遅延させるなどの処理を行うことで、フリーズ演出を行わない場合と比べ1回の遊技における終了タイミングが遅延することになる。
スタートスイッチ12の操作に基づいて行われるフリーズ演出に関しては、スタートスイッチ12が操作されたときに所定期間はリールの回転を行わずに所定期間の経過後にリールの回転を行う場合や、スタートスイッチ12が操作されたときに所定期間は役抽選とリールの回転を行わずに所定期間の経過後に役抽選とリールの回転を行う場合や、スタートスイッチ12が操作されたときに所定期間は役抽選を行うがリールの回転は行わずに所定期間の経過後にリールの回転を行う場合や、スタートスイッチ12が操作されて役抽選が行われた後に所定期間を設定し所定期間中はリールの回転や停止を行う場合が挙げられる。
ストップスイッチ13の操作に基づいて行われるフリーズ演出に関しては、ストップスイッチ13の操作の受付けに基づいて行うフリーズ演出とストップスイッチ13の操作の結果、特定の図柄がリール上に停止表示されたことに基づいて行うフリーズ演出において、フリーズ演出の制御処理が異なる。
ストップスイッチ13の操作の受付けに基づいて行うフリーズ演出の制御処理は、回転しているリールの停止制御処理を行わないことが挙げられる。これにより所定期間においては、遊技者が回転しているリールを停止できなくなるが、所定期間が経過したことによりストップスイッチ13の操作の受付け処理より後の停止制御処理を行うので、停止受付けからリール停止までのタイミングを遅延させることができる。
ストップスイッチ13の操作の結果、特定の図柄がリール上に停止表示されたことに基づいて行うフリーズ演出の制御処理は、最後のストップスイッチ13以外のストップスイッチ13の操作で特定の図柄がリール上に停止表示されたときは、次に停止するストップスイッチ13の停止制御を行わず、最後のストップスイッチ13の操作で特定の図柄がリール上に停止表示されたときは、次の遊技を開始するベットスイッチの操作に基づいた賭け枚数設定処理、通過センサによる遊技媒体の投入検出処理、または、リプレイが有効ライン上に停止したときに行う自動ベット処理に基づく制御処理を行わないことが挙げられる。
フリーズ演出を行う所定期間は、遊技者の操作に基づく遊技進行制御を一時停止させるが、遊技の進行に関わらない遊技機動作は実行可能である。例えば、ストップスイッチ13の操作に基づく停止制御処理は行わないが、リールの回転態様は任意に設定することができる。
所定期間におけるリールの回転態様として、リールを通常回転とは逆方向に回転すること、リールを所定図柄数回転し特定の図柄組合せを停止すること、複数のリールのうち所定のリールを停止状態にして他のリールを回転状態にすること、リールの回転速度を変化すること、または、遊技者の操作に起因してリールの動作を変化することが挙げられる。
フリーズ演出を行う所定期間は、所定の条件(遊技者の操作、抽選等)によって変化させることができる。ここで、所定の条件とは、遊技者による操作(スタートスイッチ12、ベットスイッチ、ストップスイッチ13、精算スイッチ)に基づく信号の検出や抽選による所定の結果が挙げられる。また、変化させることとは一時停止期間を短くすることや長くすることが挙げられる。
一時停止期間を短くする制御処理として、一時停止期間を強制終了すること、または、一時停止期間よりも短い期間に書き換えることが挙げられる。そして、一時停止期間を長くする制御処理として、一時停止期間の後に他の期間を追加すること、または、一時停止期間よりも長い期間に書き換えることが挙げられる。また、フリーズ演出に基づく一時停止期間は、最大時間が定められたものでなく、遊技者の操作に基づき一定の結果が得られるまで継続してもよい。
フリーズ演出を行う一時停止期間は、ウエイト期間の経過後に設定してもよいし、ウエイト期間を含んで設定してもよい。ウエイト期間を含んだ場合は、ウエイト期間中にフリーズ演出が終了するか否かを判断して、終了する場合は、ウエイト期間後にフリーズ演出期間を設定する態様やフリーズ演出終了後に残りのウエイト期間を再開する態様が挙げられる。または、予めウエイト期間よりも長い期間のフリーズ演出期間を設けることで、このような判断処理を省略することも可能である。
フリーズ演出として、あたかも通常の遊技を進行しているかのような疑似遊技フリーズ演出を行うことが挙げられる。疑似遊技フリーズ演出は、スタートスイッチ12が操作されたことに基づいたスタートスイッチ12受付け処理からリール回転開始処理までの間にフリーズ演出期間を定め、フリーズ演出期間中は、通常の遊技のようにスタートスイッチ12の操作に基づいてリール回転制御を行い、ストップスイッチ13の操作に基づいてリール停止制御を行う。但し、スタートスイッチ12の操作に基づく役抽選処理やストップスイッチ13の操作に基づく入賞判定処理または払出制御処理は行わない。
疑似遊技フリーズ演出では、ストップスイッチ13が操作されたタイミング、特定のリールが回転したタイミング、又は、全てのリールが停止したタイミングで上下に揺動する動きを行ってもよい。これにより、通常の遊技であるか疑似遊技フリーズ演出であるかを示唆することができる。
(設定変更手段112)
設定変更手段112とは、設定変更モードか否かを監視し設定変更モードであるときに1から6の設定値(表示上は1~6の設定値)のうち何れかの設定値を決定する手段であり、設定値ごとに役の当選確率が異なる役抽選テーブルを設けている。何れかの設定値を決定した後は、次に設定変更手段112による設定値の変更が行われるまで、決定した設定値に対応する当選確率の役抽選テーブルを設定し続ける。
設定変更手段112は、スロットマシン1の電源が投入されていない状態において、遊技場の管理者により設定変更に用いる設定キーが回転操作され、設定キースイッチ信号がオンになる回転位置に設定キーを保持された状態でスロットマシン1の電源が投入されると、スロットマシン1の電源投入を契機として設定キースイッチ信号をオンにする。本実施形態において、設定キースイッチ信号のオンとは、立ち上がりのオン(オフ→オンとなること)であり、電源断が発生する前に設定キーがオンとなっていた場合は、電源投入後には立ち上がりのオンは検出されないため、設定変更モードに移行しないよう構成されているが、設定キースイッチ信号のオンをレベルのオンとし、電源断が発生する前にオンとなっていた場合であっても電源の再投入時に設定キーがオンの場合設定変更モードに移行するよう構成してもよい。
設定変更手段112は、設定キースイッチ信号がオンであり、ドア開放信号がオンであり、かつ、設定変更可能フラグがオンであると判定したときは、スロットマシン1の設定値を変更可能な設定変更モードを起動する。
設定変更可能フラグは遊技状態に応じてオンとオフを切り替える。例えば、ボーナス遊技やRT遊技を開始したときや、スタートスイッチ12が操作されてメダル受付が不可能な状態になったときは、設定変更可能フラグをオフにして、ボーナス遊技やRT遊技を終了したときや、メダル受付が可能な状態になったときは、設定変更可能フラグをオンにする。
本実施形態では、ボーナス遊技開始時に設定変更可能フラグをオフにしたが、これに限らずボーナス遊技開始時でも設定変更可能フラグをオンの状態に維持してもよいし、特定のボーナス遊技が開始したときのみ設定変更可能フラグをオンの状態に維持してもよい。
設定変更モードを起動すると、メダルセレクタ34に設けられたブロッカをオフにして、メダル投入による遊技の開始を行うことができないようにする。設定変更モードで変更できる設定値は、「1」、「2」、「3」、「4」、「5」、「6」の6段階あり、設定値が高くなるごとに、遊技者にとって有利な役抽選テーブルを設定する。これにより、設定値の高い方が遊技全体のメダルの賭け枚数に対するメダル払い出し枚数の割合(出率)の高い役抽選テーブルとなるので、遊技者にとって有利な役抽選テーブルとなる。
設定変更モードを起動した後は、現在の設定値を判定する。そこで現在の設定値が正常な範囲内にあると判定すると、その設定値をセットし、現在の設定値が正常な範囲外にあると判定すると、設定値として「1」の値をセットする。
設定変更モードを起動した後は、設定変更モードであることを報知するために、セグメント表示器64やLEDを点灯する。そして、セットした設定値を表示するための設定値表示データをセットして、スロットマシン1のフロントパネル2前面に配置したクレジット数表示器26と、スロットマシン1のフロントパネル2裏面に配置された設定表示LED(図示しない)を点灯して、設定値を表示する。なお設定値データを0~5の6段階としたときは、設定値データが「0」の場合の設定値表示は「1」を表示し、設定値データが「1」の場合の設定値表示は「2」を表示し、設定値データが「2」の場合の設定値表示は「3」を表示し、設定値データが「3」の場合の設定値表示は「4」を表示し、設定値データが「4」の場合の設定値表示は「5」を表示し、設定値データが「5」の場合の設定値表示は「6」を表示する。
設定変更モードを起動した後は、スタートスイッチ12センサ信号がオンであるか否かを判定し続け、スタートスイッチ12が操作されてスタートスイッチ12センサ信号がオンになったと判定したときは、設定値を決定し設定表示LEDに現在の設定値を表示する。一方、スタートスイッチ12センサ信号がオンであると判定していない状態で、設定スイッチ信号がオンになったと判定したときは、設定スイッチ立ち上がりデータをクリアして、現在の設定値が最大設定値(設定値データ「6」)以上であるか否かを判定して、現在の設定値が最大設定値(設定値データ「6」)以上であると判定したときは設定値データをクリア(設定値データを「1」にする)して、現在の設定値が最大設定値未満(設定値「1」~「5」)であると判定したときは現在の設定値にインクリメントする。なお設定値データを0~5の6段階とした場合の設定変更モードの処理としては、現在の設定値が最大設定値(設定値データ「5」)以上であるか否かを判定して、現在の設定値が最大設定値(設定値データ「5」)以上であると判定したときは設定値データをクリア(設定値データを「0」にする)して、現在の設定値が最大設定値未満(設定値「0」~「4」)であると判定したときは現在の設定値にインクリメントするようにすればよい。
その後、セットした設定値データを表示するための設定値表示データを再度セットして、スロットマシン1のフロントパネル2前面に配置したクレジット数表示器26と、スロットマシン1のフロントパネル2裏面に配置した設定表示LEDを点灯して、現在の設定値を表示する。
スタートスイッチ12センサ信号がオンであると判定して設定値を決定したときは、設定キーが回転されることにより設定キースイッチ信号がオフになるか否かを判定し続ける。そして、設定キースイッチ信号がオフであると判定したときは、決定した設定値をメインRAM56に保存して獲得枚数表示器27と設定表示LEDを消灯し、メダルセレクタ34に設けられたブロッカをオンにすることで設定変更モードを終了する。
設定変更モードを起動した後にスタートスイッチ12センサ信号がオンであると判定していない状態で、設定キーが回転され、設定キースイッチ信号がオフになっても設定変更モードを終了せずに設定変更モードを維持する。この状態でスタートスイッチ12信号がオンであると判定したときは、復帰不可能エラー処理を行う。
設定変更モードを起動した後にスタートスイッチ12センサ信号がオンであると判定していない状態で、設定キーが回転され、設定キースイッチ信号がオフになり、この状態で設定スイッチが操作されたときは通常の設定値変更処理を行う。その後スタートスイッチ12信号がオンになる前に設定キーが回転され、設定キースイッチ信号がオンになり、スタートスイッチ12信号がオンになったときは通常の設定変更モード終了処理を行う。
また、ドア開放信号がオフであるときに設定キースイッチ信号がオンであると判定したときは、スロットマシン1の不具合や悪意の第三者による不正が行われている可能性があるため、設定値を決定するときに変更操作後の設定値から設定値を「1」(設定値データが0~5の6段階の場合は「0」)に変更して設定値をセットすることで、遊技者にとって最も不利な役抽選テーブルを設定する。ドア開放信号がオフであるときに設定キースイッチ信号がオンであると判定したときに、復帰不可能エラー処理を行ってもよい。
最も不利な役抽選テーブルは、設定可能な設定値のうちで最も不利な役抽選テーブルが望ましいが、通常では設定されない特殊な設定値としてもよい。そのときの特殊な設定値の役抽選テーブルには、ボーナスの当選確率を0にする等、有利な状態に移行しない(ボーナス遊技状態に移行しない)役抽選テーブルや、払出枚数が通常よりも少ない枚数に設定した役抽選テーブル等が挙げられる。
本実施形態においては、設定変更モードを起動させるために、電源が供給されていない状態で設定キーをオンにする必要があったが、電源断を挟まなくても設定変更モードを起動させてもよい。この場合は、電源がオン、ドア開放信号がオン、リセット/設定スイッチ38がオンである状況下で設定キースイッチがオンとなることが考えられる。この例に限られず、電源がオンであり、ドア開放時にのみ操作可能な所定のスイッチがオンである状況下で設定キースイッチがオンという条件としてもよい。これは、通常遊技場での営業中はスロットマシン1がドア開放状態となることはあまりなく、ドア閉鎖時にスロットマシン1の内部にある設定キースイッチがオンとなることは起こり難いため、ドア閉鎖時に操作不可能なスイッチのオンを条件に加えることで、遊技場の営業中に設定変更モードに偶然移行することや、不正に移行させられることを防ぐ目的がある。
(役抽選手段120)
役抽選手段120とは、乱数を用いて役抽選テーブルから抽選結果として役またはハズレを決定する役抽選を行う手段である。乱数発生器122で生成した乱数を用いて役抽選を行い、役抽選の抽選結果において決定した役に対応するフラグを立てる。
(役の種類)
スロットマシン1に設ける役の種類は、大別して、ボーナス、小役、リプレイがある。
ボーナスは、予め定められた場合に作動する役物を意味している。一般的には、表示窓4の有効ライン上に「7・7・7」や「7・7・バー」の図柄組合せを停止表示させたときに作動する。ボーナスに関する役物の作動により、規定数ごとの入賞に係る図柄組合せの数が変化したり、規定数ごとの入賞に係る図柄組合せの条件装置作動確率が変更されたりする。
<RB>
RBは、レギュラーボーナスの略称であり、第一種特別役物とも称される。RBは、一般的には8回の小役入賞か12回の遊技結果を得ることを終了条件として設定され、RB中は小役の当選確率を通常役抽選テーブルよりも高く設定したRB中役抽選テーブルを用いて役抽選を行う。
<BB>
BBはビッグボーナスの略称であり、第一種特別役物に係る連続作動装置とも称される。BBは、小役入賞に係る285枚を超える遊技メダルの払い出しが終了条件として設定され、BB中は小役(後述する)の当選確率を通常役抽選テーブルよりも高く設定したBB中役抽選テーブルを用いて役抽選を行う。なお、BB中はBB中役抽選テーブルを設けなくてもよい。例えば、後述するRB中役抽選テーブルをBBの終了条件を満たすまで連続作動させるものをBB中役抽選テーブルと称してもよい。
<CB>
CBは、チャレンジボーナスの略称であり、第二種特別役物とも称される。CBには、役抽選の結果に関わらず少なくともすべての小役が当選した状態に設定することができる。また、CB中は、予め定められたリールに関し、通常の停止制御とは異なる停止制御を行う。例えば、左リール8aを190ミリ秒から75ミリ秒以内に停止するように制御することが考えられる。
<CB中のPB≠1の制御>
CBは、上述したように少なくともすべての小役が当選した状態となるため操作手順に応じて表示可能となる図柄組合せが表示できない(取りこぼしとも称す)構成にしてもよい。例えば、CB中は、左リール8aを190ミリ秒から75ミリ秒以内に停止するように制御することで、190ミリ秒以内に停止する場合は任意の操作タイミングで特定の図柄を有効ライン上に表示することができたが、75ミリ秒以内に停止する場合は特定の操作タイミングでは特定の図柄を表示できない場合を有してもよい。
<MB>
MBは、ミドルボーナスの略称であり、第二種特別役物に係る連続作動装置とも称される。MBには、小役入賞に係る153枚を超えるメダルの払い出し、RB当選、又は後述するSBの当選を終了条件として設定される。
<SB>
SBは、シングルボーナスの略称であり、普通役物とも称される。SBには、1回の遊技の結果が得られることが終了条件として設定される。SB中は小役の当選確率を通王役抽選テーブルとりも高く設定したSB中役抽選テーブルを用いて役抽選を行う。
本実施形態におけるBBは、BB中役抽選テーブルを用いて役抽選を行うとしたが、これに限られず、BB中は通常役抽選テーブルと小役の当選確率が同一の確率に設定されているとともにRBの当選確率が上昇したBB一般役抽選テーブルと、小役の当選確率を通常役抽選テーブルよりも高く設定したRB中役抽選テーブルを用いて遊技を行ってもよい。この場合であっても、BBでは、小役入賞に係る285枚のメダルを超える払い出しを終了条件として設定していることに変わりはない。また、これらボーナスに関する制御を司るものを総称して特別遊技制御手段151という。
小役は、当選した小役に基づく図柄組合せが有効ライン上に停止表示され、入賞判定手段140(後述する)により入賞と判定したときに、停止表示した図柄組合せに基づくメダルの払い出しを行う役である。
リプレイは、当選したリプレイに基づく図柄組合せが有効ライン上に停止表示され、入賞判定手段140により入賞と判定したときに、メダルを投入することなく次の遊技を行うことができる役である。
役抽選の抽選結果において、ボーナス、小役、及び、リプレイのいずれの役にも当選しなかったときは、ハズレとなり、後述する入賞処理を行わない。ハズレとなったときは有効ラインにいずれの役にも係らない図柄組合せを停止表示する。
役抽選により抽選が行われる役のうち、BB、RB、及び、MBに関して、当選した遊技で図柄組合せが有効ライン上に停止表示されなかったときは、次遊技以降に当選フラグを持越すことができる(特別役持越手段146)。当選フラグ持越し中は、当選フラグ持越し前の役抽選テーブルを用いて役抽選を行ってもよいし、当選フラグに応じた持越中役抽選テーブルを用いて役抽選を行ってもよい。持越中役抽選テーブルを用いているときに、当選したBB、RB、又はMBに基づく図柄組合せが有効ライン上に停止表示した場合は、役抽選テーブルの移行条件を満たすと判断し、持越中役抽選テーブルから当選フラグに対応する役抽選テーブルに移行する。
(役抽選テーブル)
役抽選テーブルには、複数種類の役に対する当選確率が定められており、遊技状態に応じて複数種類の役抽選テーブルを設けている。例えば、BB中に使用するBB中役抽選テーブルや、MB中に使用するMB中役抽選テーブル等が該当する。
役抽選テーブルには、1種類の図柄組合せが有効ライン上に停止表示可能な単独当選役や、複数の図柄組合せが1または複数の有効ライン上に停止表示可能な重複当選役を役抽選の抽選結果に応じて設定する。
重複当選役として設定している複数の図柄組合せは、全ての図柄組合せを操作態様に応じて一の当選役を停止表示可能に設定してもよいし、一部の図柄組合せを停止表示不可能に設定してもよい。この重複当選した役の内、一部の停止表示不可能な図柄組合せに対応する役のことを制御用役と称することもある。
制御用役の役割としては、複数の役抽選結果として同一の図柄組合せを有効ラインに停止表示可能な場合であっても、重複当選役として設定している制御用役の種類に応じて停止表示する有効ラインを異ならせるように制御することができる役割を担っている。
(当選フラグ制御手段148)
当選フラグ制御手段148とは、役抽選の抽選結果でいずれかの役が当選したときは、当選した役に対応するフラグをオンにする。そして、遊技者によって全てのストップスイッチ13が操作され、当選した役に係る入賞処理を終了するときに当選した役に対応するフラグをオフにする。
また、上述したBB、RB、及び、MBに関しては、当選した遊技でフラグをオンにするが、全てのストップスイッチ13が操作されたときに当選したBB、RB、又はMBの図柄組合せが有効ライン上に停止表示していない場合は、次遊技以降にフラグをオンの状態で持越し、上述した持越中役抽選テーブルを設定し、当選したBB、RB、又はMBの図柄組合せが停止表示して当選役に係る入賞処理を終了したことにより、BB、RB、又はMBに対応するフラグをオフにする。
(RT)
また、役抽選テーブルには、RT役抽選テーブルを設ける。RTとは、役抽選においてリプレイの当選確率が通常役抽選テーブルと比べて異なる遊技状態であり、リプレイタイムの略称である。
RTの具体的な使用例として、通常役抽選テーブルのハズレの領域をリプレイに置換えてリプレイの当選確率を増加するようにしてもよいし、通常役抽選テーブルのリプレイの領域をハズレに置き換えてリプレイの当選確率を減少するようにしてもよい。
さらに、通常役抽選テーブルとリプレイの領域は同一であるが、リプレイの領域内で当選するリプレイの種類を異ならせるようにしてもよい。
スロットマシン1では、複数のRT役抽選テーブルを設けており、それぞれ所定の移行条件を満たすと他のRT状態に移行するように構成している。
RT役抽選テーブルの移行条件は、以下を挙げることができる。
1:特定の図柄組合せ(ボーナスに関する図柄組合せ、RT移行図柄組合せ)が停止表示したとき
2:ボーナスが当選したとき
3:ボーナスのうちBB、RB、又はMBが終了したとき
4:特定の図柄組合せ(RT移行図柄組合せ)が停止表示されてから規定回数の遊技を消化したとき
5:BB、RB、又はMBが終了してから規定回数の遊技を消化したとき
これらのRT役抽選テーブルの移行条件は遊技性に応じて適宜設定できる。
本実施形態では、RTは全部で5つ(非RTとRT1~3、ボーナス作動中:図42参照)である。非RT、RT1、RT2についてはボーナスが持ち越されていない(MBフラグがオフ)状態に滞在可能であり、RT3はボーナスが持ち越されている(MBフラグがオン)状態に滞在可能であり、ボーナス作動中はMBフラグがオンのときでありMBに関する図柄組合せが表示された場合に滞在可能である。以下、非RT、RT1、RT2の状態を非内部中(ボーナス非内部中、2種BB非内部中、又はMB非内部中とも称す)、RT3の状態を内部中(ボーナス内部中、2種BB内部中、又はMB内部中とも称す)、ボーナス作動中の状態をボーナスと記載しているが、これに限らず他の場合を設けても良い。本実施形態では、全回胴停止してから次遊技が開始されるまでの期間でボーナスやRTの状態を変更する処理が記載されているが、これに限らず、遊技中に状態が切り替わるようにしてもよい。つまり、内部中を経由せずに直接ボーナスに移行する場合でもよい。また、1種BBを設けている場合は、前述した内部中をボーナス内部中、BB内部中、又は1種BB内部中とも称する場合があり、前述した非内部中をボーナス非内部中、BB非
内部中、又は1種BB非内部中とも称する場合がある。また、ボーナス内部中の状態は必
ずしもRTを移行させる必要はなく、ボーナスが当選したRT状態を継続してもよい。以下、特に明記のない場合は、ボーナス内部中はRT移行を伴う表現として記載する。
各RT状態は前述した1~5のいずれかの条件を満たすことで移行が可能となっている。
例えば、非RTとRT2状態でパターン図柄01(図42の1、図50)が停止表示されるとRT1へ移行するように制御し、RT1とRT2状態で再遊技05(図42の2、図46)が停止表示されると非RTへ移行するように制御し、RT1状態で再遊技06(図42の3、図46)が停止表示されるとRT2へ移行するように制御し、非RT、RT1、RT2状態で抽選結果がMBであり、かつ、MBに関する図柄組合せが表示されなかったとき(図42の4、図46)はRT3へ移行するように制御し、MBに関する図柄組合せが表示されたとき(図42の5、図46)はボーナス作動中へ移行するように制御し、ボーナス作動中状態で所定の払い出し枚数(ここでは、9枚)を超える払い出しが行われたこと(図42の6)で非RTへ移行するように制御する。
また、1~6の条件だけに限らず、メインメモリに記憶されているMBフラグをオフにすることで非RTへ移行するように制御してもよいし、電源断処理又は設定変更処理時にMBフラグをオフにするようにしてもよいし、これらを組み合わせても良い。
(置数)
役抽選手段120による抽選置数について、図44について説明する。
抽選置数を変更できる条件として、ベット数が異なる場合、設定値を変更した場合、ボーナス遊技中であるときが挙げられる。ベット数が異なるとは、3枚ベット遊技時と2枚ベット遊技時のことを指しており、ベット数に応じて全ての抽選置数を変更可能である。設定値については、遊技機にはホール管理者が営業の方針で定める総メダル払い出し期待値を設定する値であり、主に1~6(設定値表示データの値)の6段階設けられている。ボーナス遊技中とは、ボーナス遊技中に移行することで抽選置数を変更することができる。なお、図44のRT2に記載されている(※)については、MBと再遊技-A条件装置が同時当選しているため、本実施形態では(※)と表記しているが、RT2中でもMBの当選確率に変化はない。RT2中はMBと再遊技-A条件装置が同時当選していると記載しているが、これに限らず入賞に関する条件装置(15~34)いずれかと同時当選するようにしてもよいし、単独当選するようにしても良い。
(リプレイの置数変更)
抽選置数について、上述した1~5の条件を満たした場合にリプレイに関する抽選置数に限り置数を変更することができる。例えば、非RTとRT1のリプレイ確率1/7.3であるのに対し、RT2とRT3のリプレイ確率は1/1.5と設定されている。これにより、リプレイ確率が高い状態で遊技をすることでメダルの減少を抑制し、遊技性に興趣を与えることができる。
(リール制御手段130)
リール制御手段130は、スタートスイッチ12が操作されたときに、停止しているすべて(3つ)のリールの回転を開始するように制御するもの(回転制御手段132)、又はストップスイッチ13が操作されたときに、回転しているすべてのリールを停止(停止制御手段134)するように制御するものである。さらに、役抽選手段120により抽選結果を決定した後、当該遊技の抽選結果に対応した図柄制御番号を参照して、図柄制御番号に対応する停止テーブルを選択するとともに、ストップスイッチ13の操作タイミングに対応するリールの停止位置を決定してステッピングモータ66を駆動制御することにより、その決定した停止位置に各リールを停止制御する。また、リール制御手段130は、前回遊技のリールの回転開始直前から所定時間(本実施形態では4.1秒)経過する前に当該遊技のスタートスイッチ12が操作されたときは、所定時間の経過後にステッピングモータ66の駆動制御を行うことでリールを回転させる。
(加速処理)
加速処理とは、リールの回転が停止している状態から定速回転処理を行うまでに実行する処理である。定速回転処理では1割込み処理毎にステッピングモータを1ステップ移動させる処理を実行するが、リールが停止している状態でいきなり定速回転処理を実行するとトルクが足りないため脱調する可能性が高くなる。このため、徐々にリールを回転するために加速処理が必要となる。なお、本実施形態における加速処理では最初に50回の割込み処理後にステッピングモータを1ステップ移動させ、次に30回の割込み処理後にステッピングモータを1ステップ移動させ、次に10回の割込み処理後にステッピングモータを1ステップ移動させ、次に5回の割込み処理後にステッピングモータを1ステップ移動させ、次に2回の割込み処理後にステッピングモータを1ステップ移動させ、次に1回の割込み処理後にステッピングモータを1ステップ移動させる。その後1割込み処理毎にステッピングモータを1ステップ移動させる定速回転処理に繋げる。
(定速回転、停止制御作動時間)
リール制御手段130は、リールの回転速度を定速に維持するための定速回転処理を行い、ストップスイッチ13が操作されたときに停止図柄位置まで移動させる減速準備処理(すべり制御とも称す)を行い、停止図柄位置まで移動したときに減速制御を行うことにより、リールを予め決定した停止位置に停止させる。本実施形態では、リールが定速で回転する時間は1分間に80回転と定め、ストップスイッチ13の操作から190ミリ秒以内に該リールを停止させる制御を行う。本実施形態では、ストップスイッチ13の操作受付時に表示窓4領域に存在する図柄を含めて4図柄先までを引き込むことが可能である。例えば、第1メインリールに対応する有効ライン上に3番のリプレイ図柄が表示されている場合は、左ストップボタンが停止操作されたときは3番のリプレイ図柄を含み最大で6番のスイカ図柄を停止させることができる。
(すべり制御、蹴飛ばし、引き込み)
すべり制御とは、ストップスイッチ13が操作されたタイミングで停止しないときに、当選役と操作タイミングに基づいた図柄制御番号に予め定められた停止位置までリールを回転させる制御である。すべり制御には、蹴飛ばし制御と引き込み制御があり、蹴飛ばし制御とはストップスイッチ13の停止受付け時に有効ライン上に当選役に基づかない入賞に伴う図柄がある場合は、当選役に関する図柄と異なりメダルの払い出しを必要とするため、有効ライン上に当選役とは異なる図柄が停止させないようにリールを回転させる制御のことをいう。例えば、左リール8aに付されている図柄の停止表示でのみ入賞が確定する役が存在し当該役に非当選のとき、停止受付位置により有効ライン上で停止受付を行ったときは有効ライン上に当該図柄を停止表示させないように制御することをいう。引き込み制御とは、ストップスイッチ13の停止受付時に有効ライン上に当選役に基づいた入賞に伴う図柄がない場合で、当選役に関する図柄を有効ライン上に停止表示させることが可能であるときは当選役に関する図柄を予め定めた停止位置まで回転させる制御のことをいう。例えば、左リール8aに付されている図柄の停止表示でのみ入賞が確定する役が存在し当該役に当選のとき、表示窓4外に該当選役に関する図柄が存在し、停止受付位置から有効ライン上に停止表示させることが可能であるときは、有効ライン上に停止表示させるように制御する。なお。すべり制御中のリールの回転速度は定速回転処理中と同じで、1割込み処理毎にステッピングモータを1ステップ移動させる処理を実行している。
(技術介入を必要としない図柄組合せ)
技術介入を必要としない図柄組合せとは、リールが回転している時に任意のタイミングでストップスイッチ13が操作されても、当選している役の図柄組合せを必ず有効ライン上に停止表示することが可能であることを意味する。例えば、引き込み範囲内に常に当選役に関する図柄が存在する場合は、任意のタイミングでストップスイッチ13を操作しても必ず有効ライン上に当選役に関する図柄を停止表示させることができるので、このような当選役に関する図柄からなる図柄組合せは技術介入を必要としない図柄組合せであるといえる。以下、技術介入を必要としない引込率のことをPB=1と称す。例えば、リプレイとベルについては図柄毎に3コマ間隔で配置されていることから、必ず有効ライン上に引き込むことができる
PB≠1とは、リールが回転している時に適宜のタイミングでストップスイッチ13が操作された時に、当選している役の図柄組合せを必ず有効ライン上に停止制御することが可能となることを意味する。例えば、引き込み範囲内に当選役に関する図柄が存在しない箇所がある場合は、適宜のタイミングでストップスイッチ13を操作しないと有効ライン上に当選役に関する図柄を停止表示させることができないので、このような当選役に関する図柄の引込率はPB≠1であるといえる。つまり、ストップスイッチ13が操作されてから表示窓4内の当該図柄を含めて最大で4図柄より当選役に関する図柄が離れている場合は引き込むことができない。例えば、スイカやチェリーのような3コマ間隔で配置されていない場合は引き込むことができないため、有効ライン上に停止表示させることができない。
(小役優先制御、ボーナス優先制御)
優先制御とは、当該遊技で複数の条件装置フラグがオン状態であるときに、予め定められた条件装置フラグに関する図柄を優先して有効ライン上に停止表示するように制御することであり、主な種類として、小役優先制御、ボーナス優先制御が挙げられる。
小役優先制御とは、特別役持越手段146により、次遊技に持ち越すことが不可能な小役に関する条件装置フラグと次遊技に持ち越すことが可能なボーナスに関する条件装置フラグがオン状態のときに、停止操作タイミングでボーナスに関する図柄と小役に関する図柄の双方を有効ライン上に引き込むことが可能であった場合は、小役に関する図柄を有効ライン上に停止表示するように制御することである。
ボーナス優先制御とは、特別役持越手段146により、次遊技に持ち越すことが不可能な小役に関する条件装置フラグと次遊技に持ち越すことが可能なボーナスに関する条件装置フラグがオン状態のときに、停止操作タイミングでボーナスに関する図柄と小役に関する図柄の双方を有効ライン上に引き込むことが可能であった場合は、ボーナスに関する図柄を有効ライン上に停止表示するように制御することである。例えば、PB=1の小役に関する条件装置フラグとPB≠1のボーナスに関する条件装置フラグがオン状態のときには、停止操作タイミングがボーナスに関する図柄を引き込めるタイミングである場合は、ボーナスに関する図柄組合せを有効ライン上に停止表示するように制御する。
優先制御には、リプレイと小役、リプレイとボーナス、又は、リプレイと小役とボーナスのそれぞれの条件装置フラグが同時にオン状態となったときは、停止優先度の関係として以下のような定義付けを行うことも可能である。
リプレイ > 小役 ≧ ボーナス (小役優先制御)
リプレイ > ボーナス ≧ 小役 (ボーナス優先制御)
本実施形態では、小役優先制御を採用しているため、ボーナス内部中に小役(入賞-A1~C6条件装置)が当選した場合は小役に関する図柄組合せを優先して表示するように制御するが、ボーナス内部中に入賞A1‐条件装置に当選した場合であり、最初に左ストップスイッチ13aをベル又はBARを引き込める位置で停止操作をした場合は、小役とボーナスに関する図柄組合せBARを引き込むように制御することで、正解操作順で操作された場合であっても、操作タイミングに応じてボーナス又は入賞役のいずれかを引き込ませることが可能となるため、飽きさせることなく遊技を進行させることができる。これは、ベルを含む図柄組合せとBARを含む図柄組合せの払い出し枚数が同数であることから、小役に関する優先順位は同列となっているためである。
これに限らず、ボーナスと小役が同時当選した場合でも小役に関する図柄組合せを優先して表示するようにしてもよい。
(停止位置決定テーブル)
停止位置決定テーブルとは、役抽選手段120による役抽選の結果で定まる図柄制御番号に対応して設けられており、ストップスイッチ13の操作タイミングに対応したリールの停止位置を予め定めたものである。停止位置決定テーブルには、BB当選時停止位置決定テーブル、RB当選時停止位置決定テーブル、SB停止位置決定テーブル、小役当選時停止位置決定テーブルやリプレイ当選時停止位置決定テーブルが該当する。
BB当選時停止位置決定テーブルとは、役抽選の結果でBBに当選しBBに関する条件装置フラグのみがオン状態であるとき、又は当該遊技以前に役抽選の結果でBBに当選しBBに関する条件装置フラグをオン状態で持ち越しているときであって、当該遊技で役抽選の結果非当選であるときに、有効ライン上にBBに関する図柄が停止可能な範囲内でストップスイッチ13が操作された場合は、有効ライン上にBBに関する図柄を停止表示させるように予め停止位置が定められている。そして、有効ライン上にBBに関する図柄が停止表示不可能な範囲内でストップスイッチ13が操作された場合は、BBに当選したことを示唆するような図柄を停止させるように予め停止位置が定められている(BBリーチ目)。また、当該遊技以前に役抽選の結果でBBに当選しBBに関する条件装置フラグをオン状態で持ち越しているときに、当該遊技で役抽選の結果が小役又はリプレイ当選であるときは、小役又はリプレイ優先制御により小役又はリプレイを引き込むが、BB非当選時とは異なる小役又はリプレイ引き込み制御を行うことで、BB当選を示唆する停止出目を停止表示することができる。
RB当選時停止位置決定テーブルとは、役抽選の結果でRBに当選しRBに関する条件装置フラグのみがオン状態であるとき、又は当該遊技以前に役抽選の結果でRBに当選しRBに関する条件装置フラグをオン状態で持ち越しているときであって、当該遊技で役抽選の結果非当選であるときに、有効ライン上にRBに関する図柄が停止可能な範囲内でストップスイッチ13が操作された場合は、有効ライン上にRBに関する図柄を停止表示させるように予め停止位置が定められている。そして、有効ライン上にRBに関する図柄が停止表示不可能な範囲内でストップスイッチ13が操作された場合は、RBに当選したことを示唆するような図柄を停止表示させるように予め停止位置が定められている(RBリーチ目)。また、当該遊技以前に役抽選の結果でRBに当選しRBに関する条件装置フラグをオン状態で持ち越しているときに、当該遊技で役抽選の結果が小役又はリプレイ当選であるときは、小役又はリプレイ優先制御により小役又はリプレイを引き込むが、BB非当選時とは異なる小役又はリプレイ引き込み制御を行うことで、RB当選を示唆する停止出目を停止表示することができる。
小役当選時停止位置決定テーブルとは、役抽選の結果で小役に当選したときに用いられ、小役に関する図柄を有効ライン上に停止表示させるように予め停止位置が定められている。また、有効ライン上に小役に関する図柄が停止表示不可能である場合には、小役当選したことを示唆するような停止制御(小役こぼし目)を行う。
リプレイ当選時停止位置決定テーブルとは、役抽選の結果でリプレイに当選したときに用いられ、リプレイに関する図柄を有効ライン上に停止表示させるように予め停止位置が定められている。
(操作順番検出手段138)
操作順番検出手段138とは、メイン制御基板100で管理をし、遊技者が操作する複数のストップスイッチ13のうち、いずれの操作順番で操作されたかを検出するものであり、メイン制御基板100で検出したストップスイッチ13の操作順番をサブ制御基板1000へ送信することでサブは対応する画像又は音声を出力する。具体的には、所定周期の割込み処理において入力ポートをチェックし、入力ポートのチェック時に所定のストップスイッチ13の操作を検出したときは検出結果をメイン制御基板100又はサブ制御基板1000に送信し、メイン制御基板100又はサブ制御基板1000は操作スイッチに関する検出結果の受信した順番により操作順番を検出する。なお、「操作順番」は「押し順」と同義である。
(操作順番制御)
操作順番制御とは、当選役に応じて予め定められており、ストップスイッチ13の操作順番に応じて図柄の停止位置を変更し、設定された有効ラインに停止表示する図柄組合せを異ならせるように制御することである。停止操作順番のパターンとしては、3つのストップスイッチ13に対しての操作順番組合せは6通り(左中右、左右中、中左右、中右左、右左中、右中左)ある。当選役と操作順番に応じて停止表示する図柄組合せが異なるように制御することも可能である。後述するが、重複当選した際に、操作順番に応じて有効ライン上に停止表示する図柄組合せを異ならせることもできる(個数優先制御、枚数優先制御)。また、停止操作順番に応じて遊技媒体の払い出し枚数を異ならせることも可能である。
(小役引込優先制御について)
入賞することでメダルを払い出す小役が単独当選しているときに、小役に関する図柄を引き込める場合は、小役に関する図柄を引き込む制御を行う。小役が重複当選している場合は、当選しているすべての入賞役に対応する図柄組合せを、すべて有効ライン上に停止表示させることが可能である場合はすべての入賞役に対応する図柄組合せを引き込むように制御するが、小役とボーナス役が重複当選しているときは、優先制御で上述した小役かボーナス役のいずれかを優先して停止するようにし、双方が同時に有効ライン上に停止表示しないような制御を行う。
(入賞判定手段140)
入賞判定手段140とは、有効ライン上に役を構成する図柄組合せが停止表示したか否かの判定処理(入賞判定処理とも称す)を実行する手段である。ストップスイッチの操作を受け付けたときに決定した停止図柄が異常であるか否かを判定する手段であり、実際に有効ライン上に停止した図柄組合せで判定しているわけではない。入賞判定手段140により異常ではないと判定した後は、停止表示した図柄組合せに基づいた入賞処理を行い、有効ライン上に役を構成する図柄組合せが停止表示したと判定しなかったときは、ハズレに基づく処理を行う。
入賞処理とは、有効ライン上に停止表示した図柄組合せに基づいて、遊技者に特典を付与する処理である。小役に基づく図柄組合せが停止表示したときの入賞処理としては、停止表示した図柄組合せに基づくメダルの払い出し(払出し手段142)や、停止表示した図柄組合せに基づいて遊技状態を移行する処理であり、リプレイに基づく図柄組合せが停止表示したときの入賞処理としては、リプレイの権利を与えることや、停止表示した図柄組合せに基づいて遊技状態を移行する処理であり、ボーナスに基づく図柄組合せが停止表示したときの入賞処理としては、停止表示した図柄組合せに基づいて遊技状態を移行する処理である。
しかし、これに限らず、入賞判定手段140の結果がハズレとなったときには、ハズレに基づく入賞処理を行い、入賞処理の結果として遊技者に特典を付与しないという処理を行ってもよい。また、ハズレに基づく入賞処理として、ハズレとなったときの操作態様に応じて遊技状態を移行してもよい。例えば、ハズレとなったときに予め定めた操作順番に応じて全てのストップスイッチ13が操作されたときは、フリーズ当選確率が異なる遊技状態に移行することが挙げられる。また、小役の取りこぼしによる見た目上のハズレの場合であっても、払い出しを行わずに、RT状態の移行など遊技状態の移行制御を行うなどの入賞処理を行うこともできる。さらに、ボーナスに基づく入賞処理として停止表示した図柄組合せに基づくメダルの払い出し(払出し手段142)やリプレイの権利を与えることを付加してもよい。
遊技状態を移行する処理とは、移行する遊技状態に応じた役抽選テーブルを設定すること、移行する遊技状態に応じたリール制御を設定すること、移行する遊技状態に応じたフリーズ当選確率を設定すること、又はこれらの組合せである。
入賞判定手段140は、入賞した図柄組合せを判定すると、有効ラインに停止表示された入賞図柄組合せ情報(停止出目情報)、及び、役抽選結果情報をサブ制御基板1000に送信する。一方、サブ制御基板1000はこれらの情報を受信すると、入賞図柄組合せ情報、及び、役抽選結果情報に応じた演出を表示装置32、ランプ、又はスピーカSを用いて出力することができる。
(払出し手段142)
払出し手段142は、入賞判定手段140により小役が入賞したと判定したときに、入賞した小役に応じて予め定められたメダルを払い出す手段である。
入賞判定手段140は、全ての有効ラインにおいて入賞の判定を行い、判定の結果、複数の有効ライン上に、重複当選役に基づく図柄組合せが複数停止表示したときは、停止表示した複数の図柄組合せの各々に対して入賞処理を行う。
例えば、払い出し枚数として2枚と設定した小役と、払い出し枚数として10枚と設定した小役が、複数の有効ラインに停止表示しているときの入賞処理としては、2枚と設定した小役に基づく払い出し枚数と10枚と設定した小役に基づく払い出し枚数とを合算して、12枚の払い出しを行う。
そして、1回の払い出し枚数には上限を設定し、複数の小役に基づく図柄組合せを有効ライン上に停止表示したときに、払い出し枚数の上限値を超えるときは、上限値の枚数を払い出す。
例えば、払い出し枚数の上限値を15枚に設定して、払い出し枚数として12枚と設定した小役と、払い出し枚数として10枚と設定した小役が複数の有効ラインに停止表示しているときの入賞処理としては、12枚と設定した小役と10枚と設定した小役の合算値が上限値を超えるときは、上限値である15枚の払い出しを行う。
本実施形態では、小役に対してのみメダルを払い出すように設定しているが、リプレイに基づく入賞処理として、賭け枚数分のメダルを払い出してもよいし、ボーナスに基づく入賞処理として予め設定している枚数のメダルを払い出してもよい。
(プログラム開始処理フロー)
メイン制御基板100において実行するプログラム開始処理について図25のフローチャートを用いて説明する。
メイン制御基板100は、電源が投入されると、遊技機の動作に関する初期設定を行う。具体的には、割り込みモードのセット、メインCPUの機能設定、電源断復帰データを作成するRAMチェック処理を行う。RAMチェック処理は全RAMのチェックサムが正常か否かを判定し、条件を満たす場合は電源断復帰データが正常と判定し、条件を満たさない場合は電源断復帰データが異常と判定する。
次に、設定キースイッチ信号及びドア開放検知スイッチ信号の状態をチェックし、設定キースイッチ37及びドア開放検知スイッチがオンか否かを判定する。
設定キースイッチ37及びドア開放検知スイッチがオンである場合は、設定変更状態に移行することを示す設定変更可能フラグをオンに設定する。次に、電源断復帰データが正常、又は復帰可能状態か否かを判定する。電源断復帰データが正常、又は復帰可能状態である場合は、次に設定変更が可能な状態か否かを示す設定変更可能フラグがオンか否かを判定する。設定変更可能フラグがオンである場合は図30の設定変更処理へ移行する。又、電源断復帰データが異常又は復帰不可能状態である場合も同様に設定変更処理へ移行する。そして、設定変更処理後は図29の遊技進行メインへ移行する。
設定キースイッチ37及びドア開放検知スイッチがオンでない場合及び、設定変更可能フラグがオフである場合は、RAMチェック処理で作成する電源断復帰データが正常か否かを判定する。電源断復帰データが異常である場合はエラー報知を行いスロットマシン1の遊技の進行を停止する復帰不可能エラー処理へ移行する。一方、電源断復帰データが正常である場合は図28の電源断復帰処理へ移行する。そして、電源断復帰処理後は図29の遊技進行メインへ移行する。なお、電源断復帰処理後は電源断が発生する前の状態から再開されるため遊技進行メインの初めから処理が実行されるとは限らない。
なお、復帰不可能エラー処理では、割込みを禁止し、出力ポートの出力(サブ制御コマンドの出力、ステッピングモータ66への励磁信号の出力など)をクリアする。そして、獲得枚数表示器27においてエラーの表示(報知)を繰返す。
(電源断処理の説明)
メイン制御基板100において実行する電源断処理について図26のフローチャートを用いて説明する。
電源断処理では、出力ポートをクリアし、定期的に実行されている割込みが発生するのを禁止し、電源断時の割込み禁止/許可状態を保存する。次いで、使用レジスタの退避及びスタックポインタを保存する。保存すると電源断処理を行ったことを示す電源断処理済フラグをオンに保存し、全RAMエリアのチェックサムデータを算出し保存する。そしてRAMの書込みを禁止し、リセット待ちとなる。なお、保存されるスタックポインタのアドレス範囲、電源断処理済フラグの有無、全RAMエリアのチェックサムが正常か否かは、電源投入処理時に電源割込手段144による適切な電源割込処理が行われたかの判定をするためにチェックする。
(割込みの説明)
メイン制御基板100において定期的に発生する(例えば2.235ミリ秒毎)割込み処理について図27のフローチャートを用いて説明する。
割込み処理を開始すると、レジスタに記憶されている必要なデータを対比し、電源断検知信号を受信したときは電源断処理を実行し、各種センサ、操作スイッチの入力を判定する入力ポートの読込みを行い、各種タイマ(フリーズ期間計測用タイマ、ウエイト期間計測用タイマなど)の計測を行い、リール駆動制御として、各リールが加速中、定速中、減速開始中、減速中、停止中のいずれの駆動状態に応じた制御および駆動状態の更新を行う。次いで、出力ポートごとに出力するデータ(ステッピングモータ66への励磁信号やホッパの駆動信号など)を作成し出力するポート出力処理を行い、各種異常が発生しているか否かのチェックを行う。各種異常とは、現在の設定値が正常な値か否か、投入・払出センサの動作パターンが正常か否かが挙げられる。次いで、ホールコンピュータなど外部のシステムへ出力するボーナス信号、ART信号、セキュリティ信号などの外部信号、メダル投入信号及びメダル払出信号をセット(オン/オフを制御)する外部信号出力を行う(S304)。
次に制御コマンド送信処理ではセットされたサブ制御コマンドがある場合、サブ制御基板1000へサブ制御コマンドを出力し、各種LEDの点灯に関する制御を行い、ストップスイッチの操作音やメダル投入音などサブ制御基板に送信する報知データ出力し、性能試験に係る信号を出力し、レジスタを復帰させ、割り込み許可フラグをオンに保存することで割込み処理を終了する。
(電源断復帰処理の説明)
メイン制御基板100において実行する電源断復帰処理について図28のフローチャートを用いて説明する。
電源断復帰処理においては、スタックポインタを復帰し、サブ制御基板1000へ送信するサブ制御コマンドに係る出力データを復帰する。その後、設定されている設定値データが正常範囲内か否かを判断する。判断の結果、異常(値が定められた範囲外)の場合は復帰不可能エラー処理に移行する。一方、正常(値が定められた範囲内)の場合は、未使用RAM領域を初期化し、定期的に実行される割込みを起動し、入力ポートを読み込む。その後、電源断処理済みフラグのクリアし、使用レジスタの復帰、電源断時の割込み禁止/許可状態の復帰を行い、電源断復帰処理を終了する。なお、電源断復帰処理を終了すると電源断が発生する前の状態に復帰し、復帰しない場合(設定変更時)は遊技進行メインの制御処理を始めから行う。
上記実施形態では電源断復帰処理内の所定のタイミングで割込みを起動しているが、プログラム開始処理内で割込みを起動してもよい。
(遊技進行メインの説明)
メイン制御基板100において実行する遊技進行メインの制御処理について図29のフローチャートを用いて説明する。
メイン制御基板100は、前回遊技以前に保存されたフリーズ演出番号の値を参照し、保存されているフリーズ演出番号がフリーズ演出を実行すべき番号に対応する場合はフリーズ演出を実行し、保存されているフリーズ演出番号がフリーズ演出を実行すべき番号に対応しない場合はフリーズ演出を実行せずに次の処理に進む。フリーズ演出を実行しないときはフリーズ演出番号を保存しないように構成してもよく、その場合はフリーズ演出番号が保存されているか否かを判定し、保存されていない場合は次の処理に進むよう構成してもよい。
次に、メダル投入口17から遊技メダルが投入されると、ベット数若しくはクレジット数を更新する(遊技メダル投入処理)。次に、遊技が実行可能となるベット数がベットされているかを判定し、ベットされていると判定した場合は、スタートレバーが操作されたか否かを判定し、ベットされていないと判定した場合は、遊技メダルの投入、又はクレジットに貯留されている状態であればベットスイッチの操作受付(クレジットに貯留されている状態の場合)を待つ。遊技が実行可能となるベット数がベットされており、スタートレバーが操作された(スタートスイッチ信号がオンと判定された)場合は、内部抽せん処理を行い、スタートレバーが操作されていない(スタートスイッチ信号がオンと判定されていない)場合は、スタートレバーの操作受付を待つ。
内部抽せん処理では、内部抽せん用乱数を生成して取得した内部抽せん用乱数値を用いて所定の演算処理を実行し、当選役(条件装置番号)を決定する。当選役を決定した後は、各ストップスイッチの停止タイミングに対応した停止制御テーブルを予め作成し、リール回転後のストップスイッチ操作受付を許可した直後にストップスイッチの操作を受け付けても停止制御が実行可能なように準備しておく。
次に、前回遊技でセットされた最小遊技時間(4.1秒に相当)が経過したかチェックする。最小遊技時間が経過したと判定した場合(最小遊技時間タイマの値が0であると判定した場合)は、最小遊技時間を新たにセットし、最小遊技時間が経過したと判定していない場合(最小遊技時間タイマの値が0であると判定していない場合)は、最小遊技時間タイマの値をデクリメントした後最小遊技時間が経過したか否かをチェックする。この最小遊技時間のチェック処理は最小遊技時間が経過したと判定するまで実行され、最小遊技時間の判定処理と最小遊技時間を新たにセットする処理の間に遊技進行メイン処理として他の処理は実行しないよう構成されている。これにより、最小遊技時間が他の処理で延びることがないため遊技者の遊技時間をいち早く可能にできる。即ち、遊技者を待たせることなく遊技を間延びさせることを防止できる。
しかし、これに限らず、最小遊技時間の判定処理と最小遊技時間を新たにセットする処理の間に遊技進行メイン処理として他の処理を実行するよう構成されていてもよい。この場合の他の処理としては、RWMアドレスをクリアする処理や、他のデータをRWMに記憶する処理や、処理時間の短いその他の命令であってもよい。これらの処理は処理時間が極めて短いため最小遊技時間の延長をユーザが体感できないレベルとなっている。最小遊技時間を新たにセットした後はリール回転開始準備処理を実行する。
リール回転開始準備処理では、前回遊技で保存した回胴停止に係るデータを初期化し、今回の遊技で使用する停止テーブルをセットし、全リールの回転開始の出力を要求し、リールの回転開始を示すサブ制御コマンド(リール回転開始コマンド)をセットする。
リール回転開始準備処理が終了した後は、フリーズ演出(例えば、リール回転前のリール演出)に関する処理を実行する。フリーズ演出では、リールを少しだけ動かしたり、リールを逆回転させたりして、主に当選役の期待度を示唆するために実行する。
フリーズ演出が実行されない場合や、フリーズ演出が実行されて当該フリーズ演出の実行が終了した後は、リールを回転させる処理を実行する。リールの回転状態として、加速状態、定速状態、停止準備状態、停止状態の4つの状態があり、リールを回転させるときは加速状態をセットする。加速状態では割込み処理によりステッピングモータを徐々に回転させていく処理を実行する。
前述したように、リールが停止している状態でいきなり定速回転処理を実行するとトルクが足りないため脱調する可能性が高くなる。このため、徐々にリールを回転するために加速処理が必要となる。なお、本実施形態における加速処理では最初に50回の割込み処理後にステッピングモータを1ステップ移動させ、次に30回の割込み処理後にステッピングモータを1ステップ移動させ、次に10回の割込み処理後にステッピングモータを1ステップ移動させ、次に5回の割込み処理後にステッピングモータを1ステップ移動させ、次に2回の割込み処理後にステッピングモータを1ステップ移動させ、次に1回の割込み処理後にステッピングモータを1ステップ移動させる。その後1割込み処理毎にステッピングモータを1ステップ移動させる定速回転処理に繋げる。
定速処理を実行しているときは上述した回転不良検出カウンタの値を割込み処理毎にインクリメントし回転不良を検出している。なお、回転不良検出カウンタの初期値を0としたため割込み処理毎にインクリメントしているが、回転不良検出カウンタの初期値を180とした場合は、割込み処理毎に回転不良検出カウンタの値をデクリメントし、0となったタイミングで回転不良を検出したと判定してもよい。また、定速状態ではストップスイッチの停止受付を許可し、ストップスイッチの操作を待つ。ストップスイッチの停止受付を許可したときはストップスイッチのランプを青色に点灯させストップスイッチが有効であることを遊技者に報知する(ストップスイッチの停止受付を許可していないときは赤色に点灯)。このストップスイッチランプの点灯制御に関しては、メイン制御手段の処理でもよいしサブ制御手段の処理でもよい。また、ストップスイッチのランプの点灯制御として、押し順ナビを実行する場合に、ストップスイッチのランプを点滅させるなどして、遊技者に停止操作すべきストップスイッチを認識し易いよう構成してもよい。
また、リールが回転開始したことを示すコマンドをサブ制御手段に送信し、サブ制御手段が当該コマンドを受信したときは、リールの回転時間を計測するリール回転時間計測タイマをセットしカウントをスタートする。そして、リール回転時間計測タイマの値が所定値に到達(3分相当の時間)した場合は、液晶上に「リールを止めてください」(リール停止警告画像)と表示させ、遊技者にリールの回転を促す。リール回転時間計測タイマはストップスイッチが操作されると(ストップスイッチの操作を受け付けると)初期化し、未だ回転しているリールがあれば再度カウントを実行する。こうして全てのリールが停止するまではリール回転時間計測タイマを更新し続ける。なお、リール停止警告画像は、押し順ナビと同時に表示される場合は押し順ナビよりも前面に表示することで、リール停止警告画像と押し順ナビとの表示領域が重複した場合にも、リール停止警告画像の視認性が担保され、遊技者に対してストップスイッチの操作を明確に促すことができる。また、このときに押し順ナビが見え難くなってどのリールを停止すればわからなくなる虞があるため、サブスイッチが操作されることでリール停止警告画像を消して(若しくはリール停止警告画像を小さく、又は移動して)押し順ナビを認識できるようにしてもよい。
遊技進行メイン処理にてストップスイッチの操作受付を有効にした後は、ストップスイッチが操作されるまでストップスイッチの操作受付の判定処理(リール停止受付チェック処理)を繰り返す。いずれかのストップスイッチが操作されたと判定した場合は、操作されたストップスイッチに対応するリールの停止制御を実行する。このとき操作されたストップスイッチに対応するリールは定速状態から停止準備状態に移行し、定速回転のまま目的の停止位置までリールを回転させる。そして、目的の停止位置に到達したときは停止状態に移行し、4相励磁が全てONとなりブレーキをかける。ここで、目的の停止位置とは、現在通過している図柄番号と停止位置として保存されている図柄番号が一致しているか否かで判断し、一致していると判断した場合は目的の停止位置として4相励磁を全てONにする。また、現在通過している図柄番号とは、上述したインデックスセンサがインデックスを検知した瞬間(インデックス信号の立ち上がり時)に初期図柄番号がセットされそこから割込み処理で1図柄分移動したときに初期図柄番号の次の図柄番号がセットされることで判断している。つまり、リール回転中に所定のリールに対する回転不良が発生し、その後所定のリールに対する停止操作が実行され、回転不良が検出されない場合(例えば、インデックスセンサがインデックスを検知する前に停止する場合)には、現在通過している図柄番号と停止位置として保存されている図柄番号が一致していると判断されることがあり、そのときはリール表示窓上の図柄組合せは、はずれて(不揃いで)停止することがある。しかしこの場合であっても、入賞判定処理では実際に停止した図柄ではなく、停止受付時に保存した図柄番号を用いて入賞判定を実行するため、遊技の結果が抽せん結果と異なる結果になることはないように構成されている。
リール停止受付チェック処理を実行した後は全リールが停止しているかチェックする。全リールが停止している場合は入賞付与処理へ移行し、全リールが停止していない場合は回転中のリールに対応するストップスイッチの停止操作受付待ち処理を実行する。そして、全リールが停止した後は状態表示モニタの表示内容を更新し、有利区間クリアカウンタ管理処理へ移行する。そして、RT状態等の更新を行う遊技終了チェック処理を行い、遊技進行メインの一連の流れを終了する。なお、リールの回転を開始してから停止操作受付までの期間にソフト乱数の更新処理を行ってもよい。
(設定変更処理)
メイン制御基板100において実行される設定変更処理について図30のフローチャートを用いて説明する。
設定変更モードが起動すると、現在の設定値が正常範囲か否かを判定し、正常範囲内であったときは、現在の設定値を取得し、正常範囲外であったときは、設定値として「1」を保存し、設定値「1」を取得する。
設定値を取得した後は、設定値表示データを保存する(S1405)。設定値表示データを保存した後は割込み処理であるダイナミック点灯制御により、5割込みごとに設定値表示データを参照して点灯制御を行う。
その後、スタートスイッチ12がオフからオンになったか否かを判定する。スタートスイッチ12がオフからオンになっていないと判定したときは、設定スイッチがオフからオンになったか否かを判定する。
ここで、設定スイッチがオフからオンになっていないと判定したときは、再度スタートスイッチ12がオフからオンになったか否かを判定し、設定スイッチがオフからオンになったと判定したときは、設定値が最大設定値以上(設定6)か否かを判定する。
設定値が最大値以上でなければ、現在の設定値にインクリメントする処理を行い、設定値が最大値以上であれば、現在の設定値に初期値(0)を保存し、さらにインクリメントする処理を行う。設定値をインクリメントした後は、S1404に戻り、更新した設定値を表示する。
その後、スタートスイッチセンサが検知され、スタートスイッチ12のオフからオンになったと判定したときは、設定値の確定処理を行い、設定キースイッチがオンからオフなったと判定するまで待機し、設定キースイッチがオンからオフになったと判定したときには設定値を保存する。
(有利区間クリアカウンタ管理処理)
遊技進行メイン実行される処理のうち、有利区間の管理に関する有利区間クリアカウンタ管理処理について説明する。
初めに、現在の有利区間クリアカウンタの値を1減算し、減算前の有利区間クリアカウンタの値が0か否かを判定する。減算前の有利区間クリアカウンタの値が0であると判定されたときは、次に有利区間フラグが1であるか否かを判定する。有利区間フラグは遊技状態と対応しており、有利区間フラグが1の場合は有利区間であり、有利区間フラグが0の場合は通常区間である。有利区間フラグが1であると判定されたときは、今回遊技から有利区間に移行することが決定されたことを示しているため、有利区間クリアカウンタに1500保存する。有利区間クリアカウンタに保存する1500は有利区間を実行可能な最大遊技数に対応しており、有利区間を最大でも1500遊技実行すると次の遊技から通常区間がセットされる。これは、のめりこみ防止のためであり、1日中メダルが増え続けるという状態を抑制し、射幸心を著しく煽らないようにしている。なお、有利区間フラグを1にセットするタイミングとしては、スタートスイッチ受付時からリール回転開始までの間にある有利区間移行抽せん処理で実行する。有利区間移行抽せん処理では抽選の対象となる条件装置番号を選出したときに通る処理であり、有利区間移行抽せんに当選すれば有利区間フラグに1をセットし、有利区間移行抽せんに非当選であれば有利区間フラグを0(通常区間)にセットする。本実施形態においては有利区間移行抽せんは通常区間の時のみ実行される処理である。なお、有利区間移行抽せんを有利区間中に実行することも考えられる。この場合は、有利区間移行抽せんに当選すれば有利区間フラグに1をセットするが、有利区間移行抽せんに非当選の場合は現在のフラグを維持する(有利区間フラグが1であれば1、有利区間フラグが0であれば0を維持する)。有利区間フラグを1から0に更新する際は有利区間から通常区間に移行したときのパラメータ初期化処理で更新する。
減算前の有利区間クリアカウンタの値が0であると判定され、有利区間フラグが1でないと判定されたときは、通常区間中であるため有利区間クリアカウンタ管理処理を終了する。
減算前の有利区間クリアカウンタの値が0でないと判定されたときは、有利区間クリアカウンタの値が減算後は0であるか否かを判定する。減算後の有利区間クリアカウンタの値が0でないと判定されたときは、有利区間中(最終遊技以外)であるため、MYカウンタにOUT(当該遊技の払い出し)枚数からIN(当該遊技の賭け)枚数の差をMYカウンタに加算する。なお、加算後のMYカウンタの値が負の値となるときは、初期値(0)を保存する。ここでMYカウンタとは有利区間中において、もっともメダルが減少している状態を起点として増加した値をカウントするものであり、有利区間中にメダルが減少している間は常に0となっている(例えば、MYカウンタ値が0の状態で、3枚賭けで遊技を実行してハズレとなった場合には、カウンタ値は-3となるが、カウンタ値が負の値となった場合には0に補正する)。また、たまたま小役が入賞してMYカウンタが10(10枚小役)となっても、そこから5遊技間(1遊技あたり3枚投入)はずれが続くとMYカウンタの値は0となっている。そして、MYカウンタの値が2400を超える(2400ちょうどの場合は終了しない)と有利区間クリアカウンタが0でなくても有利区間を終了させる処理を実行する。MYカウンタの値が2400を超えるときは、指示機能に係る性能へ影響を与えるパラメータをすべて0に更新する。指示機能に係る性能へ影響を与えるパラメータとは、ATゲーム数やATに関する遊技状態が挙げられる。そして、有利区間フラグを0に更新することで、有利区間ではない通常区間へと移行し、本処理を終了する。MYカウンタの値が2400以下のときは、有利区間を維持したまま本処理を終了する。なお、本実施形態において、有利区間中にリプレイが当選した場合は、MYカウンタの更新処理は実行しないが、MYカウンタが2400を超えているか否かの判断処理は通るようにしている。リプレイの場合、投入枚数と同じ枚数が自動的にベットされるため、OUT-INは常に0となる。しかし、ノイズや不正行為によりMYカウンタの値が本来の処理とは異なるタイミングで更新される可能性があるため、リプレイ時においてもMYカウンタの上限値に到達したか否かを判定している。
また、有利区間の終了契機は1500遊技の経過、又はMY2400を超える以外にも遊技機ごとに任意のタイミングで終了させることができる。例えば、所定役が当選したときの終了抽せんに当選したときや、任意の遊技数(1500遊技未満)を実行したときが該当する。このように任意の終了契機で有利区間を終了するときは、有利区間クリアカウンタ管理処理を実行するより前(全リール停止後に実行するATに係る処理が望ましい)に有利区間クリアカウンタの値に1をセットすることで、有利区間クリアカウンタ管理処理を実行したときに有利区間クリアカウンタの減算前が1であり、有利区間クリアカウンタの減算後が0となり、有利区間クリアカウンタ管理処理にて有利区間を終了させることができる。即ち、有利区間クリアカウンタの値に1をセットした後、カウンタ値を1減算することによって、有利区間クリアカウンタの値が0となって有利区間を終了させることができる。これにより、任意の終了条件を達成したときに別の有利区間終了モジュールを用いなくても同じモジュール内で処理することが可能となる。
また、有利区間クリアカウンタ管理処理での有利区間クリアカウンタ減算処理は、いずれのベット数(遊技機として複数の規定数が設定されている場合)、いずれの遊技状態においても実行するよう構成されている。
(演出)
サブ制御手段1101は、演出制御手段1110等を設けており、演出制御手段1110は上述した表示装置32等を介して演出の出力を制御する。演出制御手段1110は、遊技毎に、スタートスイッチ12の操作を契機に行われる役抽選手段120による役の抽選結果に基づいて、ソフトウェア乱数を用いた抽選によって演出を選択して出力する。また、当選役を契機に、連続演出と呼ばれる複数遊技に跨った関連性のある演出を行う場合もある。
演出制御手段1110は、役抽選手段120による役の抽選結果に基づいて演出内容を選択する。本実施形態では、複数種類の演出内容が予め設けられており、演出制御手段1110は、遊技の開始時等に、役抽選手段120による役の抽選が行われた後、ソフトウェア乱数を用いた抽選によって演出内容を選択する。
また、演出内容は、役抽選の結果だけでなくフリーズ抽選の結果や遊技状態(RT状態、フリーズ状態)等に応じて、それぞれ複数種類が設けられている。具体的には、ボーナス当選時、小役当選時、リプレイ当選時、非当選時等に対応し、それぞれ複数種類の演出内容が設けられている。
演出内容は、遊技の進行に伴って、どのようなタイミングで(スタートスイッチ12の操作時や各ストップスイッチ13の操作時等)、どのような演出を出力するか(ランプをどのように点灯、点滅、又は消灯させるか、スピーカSからどのようなサウンドを出力するか、及び表示装置32にどのような画像を表示させるか等)を定めたものである。
そして、演出制御手段1110は、選択した演出内容に従い、所定のタイミングで演出出力機器から演出を出力するように演出出力制御手段1002が制御する。
また、リールに付されている図柄を見やすくするために図柄の背面からランプを照光する制御を行うBL基板1018a,b,cが設けられている。
(遊技者の操作による演出)
また、演出制御手段1110によって出力される演出の発生を遊技者による操作に応じて行うようにすることも可能である。例えば、メイン制御基板100に操作信号が入力されるスタートスイッチ12、ストップスイッチ13、メダル投入口17、ベットスイッチ(MAXベットスイッチ18、1ベットスイッチ19)、精算スイッチ等の操作信号に応じてメイン制御基板100から送信されるサブ制御コマンドに基づいてサブ制御基板1000の演出制御手段1110により演出を発生させることも考えられるし、サブ制御基板1000に操作信号が入力されるサブスイッチ20、サブ十字キースイッチ21等のサブ入力スイッチ操作手段1008に応じて直接サブ制御基板1000より演出を発生させることも考えられる。
(可動物72)
遊技機には、表示装置32、ランプ、スピーカSによる演出出力の他に可動役物を制御する可動物制御手段1010がある。具体的には、表示装置32の前面にシャッターを配置し、シャッターが稼働することで遊技を盛り上げる役割を担う。他にもランプ又はスピーカSが可動したりすることが挙げられる。
(AT)
ATとは、アシストタイムの略称であり、報知期間とも称し、遊技者が役抽選により当選した役の入賞を容易にする(以下、報知)ための期間である。一般的に、AT中で報知する手段としては、ストップスイッチの操作タイミング、ストップスイッチの操作順番、操作タイミングかつ操作順番が挙げられ、操作手順や操作態様とも称する(以下、操作手順と称す)。報知の対象となるのは、一般的に、当選した役に含まれる複数の図柄組合せのうち、遊技者に有利な結果を与えることが可能な図柄組合せである。例えば、小役では最もメダルの獲得が多い図柄組合せ、リプレイでは現在の役抽選テーブルよりも有利(リプレイの当選確率が高い)となる図柄組合せが入賞可能となることが挙げられる。
(メインでATを管理)
従前、サブ側でATを管理すると不正行為(メインとサブを電気的に接続しているハーネスへの不正アクセスやサブ側の電子部品への不正アクセスなど)が横行していたため、サブ側のセキュリティ性を向上させるために機構による設計工夫が行われていたが、開発コストが膨らんでいた。ATをメイン側で管理することでコストを抑えてセキュリティ性を向上させることができる。
(指示モニタ)
AT中は、押し順役の操作手順に関する情報を報知する際、獲得枚数表示器を用いて操作手順情報を報知することがある。具体的には、押し順役A(左中右正解)の場合は指示モニタに「1」を表示し、押し順役B(左右中正解)の場合は指示モニタに「2」を表示し、押し順役C(中左右正解)の場合は指示モニタに「3」を表示し、押し順役D(中右左正解)の場合は指示モニタに「4」を表示し、押し順役E(右左中正解)の場合は指示モニタに「5」を表示し、押し順役F(右中左正解)の場合は指示モニタに「6」を表示する。
このような構成により、遊技者は指示モニタを確認することで正解の押し順を知ることができる。また、指示モニタはメイン制御基板での制御になるためサブ制御基板を不正改造されたとしても正確に押し順を報知することができる。
また、指示モニタを獲得枚数表示器と兼用する場合は、下位桁に上述した数字(1~6)を表示し、上位桁に識別子として「=」を表示してもよい。この場合は、獲得枚数表示器が獲得枚数を表示しているのか、押し順を表示しているのかを識別子で判断させることができるため、遊技者の認識を妨げないようにできる。
また、指示モニタを専用の表示器として構成する場合は、3桁の7セグメント表示を用いてもよい。3桁にする理由としてはリールの数と対応しているためである。そして、押し順役A(左中右正解)の場合は指示モニタに「123」を表示し、押し順役B(左右中正解)の場合は指示モニタに「132」を表示し、押し順役C(中左右正解)の場合は指示モニタに「213」を表示し、押し順役D(中右左正解)の場合は指示モニタに「312」を表示し、押し順役E(右左中正解)の場合は指示モニタに「231」を表示し、押し順役F(右中左正解)の場合は指示モニタに「321」を表示する。このような構成であれば、指示モニタの押し順が直感的に把握しやすくなり、遊技者が押し順と指示モニタの表示との対応関係を容易に把握することができる。
指示モニタに押し順を表示させるタイミングとしては、有利区間であり、且つスタートスイッチの操作に基づいて実行される内部抽せんによって押し順役が当選した後からストップスイッチが操作可能となるまでの何れかのタイミングとすることが好適である。このような構成であれば、遊技者がストップスイッチを操作する前に押し順を報知できるため、不正解の押し順で停止操作をしてしまうことを抑制することができる。
(択役のグループ化)
上述した不正行為により、AT中でなくても、操作手順情報が不正に取得されないために、択役当選時、メインからサブへ送信する情報を分類することが考えられる。具体的には、非AT中の択役当選時は択役が当選したことを示すグループ情報(演出グループ番号とも称す)を送信し、AT中はグループ情報に加えて操作手順情報を送信する。これにより、サブ側では非AT中はどの操作手順で遊技者に有利な図柄組合せが表示されるか不明であり、AT中は操作手順情報が送信されるため、サブ側の液晶表示装置や操作指示ランプで操作手順を報知することができる。これにより、遊技者は液晶表示装置を確認することで操作手順役を容易に認識することができ、さらに非AT中に操作手順情報を不正に取得されることを抑制することができる。
(通常区間)
通常区間とは、指示機能に係る処理ができない区間である。通常区間で押し順役に当選したときは、どの押し順に当選したかをマスクした情報(演出グループ番号)をサブ制御手段に送信する処理を実行する。また、通常区間で押し順役に当選したときは、押し順(正解押し順と不正解押し順の両方)の報知を指示モニタに表示させない。これにより、通常区間では、メイン制御手段/サブ制御手段ともに押し順役が当選しても押し順を報知しないため、通常区間で押し順役が当選しても常に正解か不正解かはわからないようになっている。
(有利区間)
有利区間とは、指示機能に係る処理を実行可能な区間である。有利区間は、ATによる過剰なメダル獲得を抑制するために有利区間を設けている。通常区間で実行する有利区間移行抽せんに当選すると有利区間に移行することができる。有利区間では、ATへの移行抽選を行うことができるが、先に述べた過剰なメダル獲得を抑制するために、有利区間を一定の条件に基づいて終了し通常区間へ移行させるように設計している。
具体的には、
1)一の有利区間に移行した次遊技から1500ゲームの遊技を消化したとき
2)一の有利区間に移行した次遊技から2400枚以上のメダルを獲得したとき
3)任意の条件を満たしたとき
が挙げられる。これらにより、過剰なメダル獲得を抑制することができる。なお、3)の任意の条件とは、例えば、一のATが終了したとき、特定の図柄組合せが表示されたときなどが挙げられる。
(有利区間ランプ)
有利区間に滞在していることをメイン側で示す情報として、有利区間ランプを設けている。これにより、遊技者は有利区間に滞在しているか否かを確認するときは有利区間ランプの点灯/非点灯で容易に判断することができる。具体的には、クレジット数表示器26のDPが点灯であると有利区間に滞在していることを示しており、クレジット数表示器26のDPが非点灯であると有利区間に滞在していないことを示している。なお、有利区間ランプの点灯タイミングは、全リール停止後や、全リール停止後や、ベットスイッチ操作受付後や、1枚目のメダルを手入れで投入検出時や、2枚目のメダルを手入れで投入後や、3枚目のメダルを手入れで投入後や、スタートスイッチ受付後や、内部抽せんによる択役当選後が挙げられる。また、必ず点灯させる条件として、有利区間に滞在していること、かつ択役の操作手順情報を報知し、当該報知遊技の出玉率(最大の出玉率)が1を超えている場合(増加する場合)が挙げられる。また、仕様上押し順小役が搭載されていないことで出玉率が1を超えないがリプレイ確率の高いRTへのRT移行押し順を報知する場合においても有利区間ランプを点灯させるよう構成されている。これは遊技者にとって有利な状態であることを有利区間ランプで教えるためであり、遊技者が遊技機の仕様がわからないことで損害を被ることを防ぐ目的がある。
なお、上記のような有利区間ランプを必ず点灯させる条件を満たしていない場合には、新たに有利区間に移行した後の有利区間ランプを点灯させるタイミングは任意としても問題ない。
なお、有利区間ランプを一度点灯させた場合は、有利区間が終了するまで点灯を維持し続け、有利区間が終了した遊技の次の遊技のスタートスイッチの操作の受け付けより前(全リール停止後や、ベットスイッチ操作受付後や、1枚目のベットとなる手入れで投入されたメダルの検出時や、2枚目のベットとなる手入れで投入されたメダルの検出時や、3枚目のベットとなる手入れで投入されたメダルの検出時)に有利区間ランプを非点灯にする。このように構成することで、有利区間ランプが点灯していなくても有利区間である場合があり、有利区間ランプが非点灯であっても指示機能に係る処理を実行される期待感を遊技者に与えることができる。これにより、従来は通常区間であれば、有利区間に移行させることを待つだけのゲームになっていたが、本実施形態の遊技機であれば、通常区間でもAT移行抽選等がなされている可能性があるため遊技のモチベーションを維持させることが可能となる。
また、有利区間フラグが1であるときは必ず有利区間であるとは限られない。これは、通常区間(有利区間フラグが0)であり、有利区間移行抽せんに当選して有利区間フラグが1となる遊技においては、有利区間フラグが1であるがまだ有利区間に移行する前であるため遊技状態としては通常区間となっているためである。試験信号として有利区間か通常区間かを送信するための処理を実行する際に、有利区間フラグを参照すると前述したように通常区間であるのに有利区間の信号を送ることになってしまうため、本来の状態とは異なる信号を送信してしまう。この状況を防ぐために、試験信号として有利区間か通常区間かを送信する際は、有利区間クリアカウンタの値を参照する。有利区間クリアカウンタの値が0のときは通常区間であることを示す試験信号を出力するための処理を実行し、有利区間クリアカウンタの値が0でない(有利区間クリアカウンタの値が1~1500)のときは有利区間であることを示す試験信号を出力するための処理を実行する。このように構成することで試験信号を出力するための処理としては、有利区間クリアカウンタの値が0か否かを判断するのみで、状態が正確に特定できるため、プログラム容量の圧迫を解消し、且つプログラム実行速度を向上させることができる。なお、有利区間を任意の終了条件で終了させる場合も前述したとおり、有利区間クリアカウンタの値に1を入れるため、試験信号を出力するための処理では、有利区間が終了する遊技においても有利区間であることを正確に出力することができる。
(指示機能に係る処理)
指示機能に係る処理は、AT移行抽せん、AT上乗せ抽せん、AT終了条件の更新(AT遊技数の加算/減算、AT実行報知回数の加算/減算)などATに関する抽せんのみならず、AT状態の管理に関する処理を含む概念である。この指示機能に係る処理は遊技状態ごとにあらかじめ決められたベット数において実行可能であり、ある遊技状態において複数のベット数が規定数として設定されている場合は何れか1のベット数のときのみ処理を実行するよう構成されている。例えば、ボーナス内部中状態において2枚ベットと3枚ベットが可能な場合は、3枚ベットでの遊技でのみ指示機能に係る処理を実行可能とし、2枚ベットでの遊技では指示機能に係る処理を実行不可能とする。つまり、2枚ベットでの遊技では、AT抽選対象役に当選してもAT抽選を実施しなかったり、遊技の進行に応じてAT遊技数を更新しなかったりする。また、1遊技で終了するSB、又はCBが2枚ベット遊技専用であり、SB、又はCBが終了した後の遊技では2枚ベット、3枚ベットである場合、SB、又はCBでリプレイが当選して自動ベットされる枚数が2枚であればSB、又はCB終了後の遊技で指示機能に係る処理が実行不可能になってしまう(3枚ベットで指示機能に係る処理を実行可能としている)ため、SB、又はCBでリプレイが当選したときに自動投入で投入されるベット数を3枚に設定しておく。このようにすることで、SB、又はCBでリプレイが当選した後の遊技においても指示機能に係る処理が実行可能になるため、遊技者にとって不利な遊技をなくすことができる。なお、上述した通り有利区間に係る処理に関してはベット数に関係なく実行されるよう構成されている。
(状態表示モニタ)
上述した不正行為により遊技機から不正にメダルが獲得されているか、保安通信協会による性能試験を合格した性能とは異なる改造された遊技機により遊技がされているかをホール管理者が容易に確認できるようにメイン制御基板上に状態表示モニタを備えている。状態表示モニタで表示される情報としては、
1)当該遊技機が有する有利区間の性能表示(識別子:7P.若しくは7U.)
2)6000回の遊技における連続役物比率(識別子:6Y.)
3)6000回の遊技における役物比率(識別子:7Y.)
4)総遊技回数のおける連続役物比率(識別子:6A.)
5)総遊技回数における役物比率(識別子:7A.)
が挙げられる。表示するための手段としては、7セグメントを用いている。
1)については、2種類の表示パターンがあり、1つ目は、ボーナス等の役物の作動、およびATにより遊技者が容易にメダルを獲得した枚数の比率を示す情報(「7P」タイプと称す)、2つ目は、通常区間と有利区間との滞在合計遊技数のうち、有利区間に滞在している遊技数の比率を示す情報(「7U」タイプと称す)のいずれか一方の情報が表示される。
2)から3)については、上述した総遊技回数のうち、連続する6000回の任意のタイミング(輪切り算出とも称する)で算出された比率を示す情報である。
5)から6)については、当該遊技機が遊技を行われてから、最終遊技までの連続役物比率および役物比率を示す情報である。
ホール管理者が状態比率モニタを確認する際に、容易に確認してもらうために、表示される順番を設定している。具体的には、1)の識別子⇒1)の比率⇒2)の識別子⇒2)の比率⇒…⇒6)の比率⇒1)の識別子⇒…のように所定間隔で表示を切り替えている。また、表示するモニタの仕様によっては、1)⇒2)⇒…6)⇒1)⇒…のようなことも考えられる。
また、上記の表示内容だけに限らず、ボーナス中の滞在遊技数と非ボーナス中の滞在遊技数の比率を算出
<状態表示モニタの表示内容の例外報知>
状態表示モニタが正常に動作しているかの確認を行うために、1)電源投入後および設定変更処理開始から所定時間(例えば、5秒間)
2)設定変更中および設定確認中
3)RAM異常エラー中
の少なくともいずれか1以上において、例外的に上述した表示内容と異なる内容を表示するようにしてもよい。表示内容は「0-.」、「0-0-.」、「8888.」、高速点滅など通常の状態表示モニタで表示されないパターンが望ましい。
(スロットマシン1と携帯端末との連動システム)
本実施形態におけるスロットマシン1を用いて、遊技者の所有する携帯端末とスロットマシン1とを連動させることでサブ制御基板1000より遊技者特有の演出を出力することや、スロットマシン1内で出力された演出情報を専用のサーバにて管理するといった、スロットマシン1と携帯端末との連動システムを行うことができる。
サブ制御基板1000は、遊技者による遊技の進行に応じて所定の演出情報が出力されたことを管理する演出発生フラグや、特定の遊技回数を満たしたことを管理する遊技回数フラグを設け、スロットマシン1で予め管理される各種フラグ情報が遊技者によって満たされた場合にそのフラグ情報を保持し、これらの情報を遊技者による任意のタイミングにて携帯端末で受信できるように出力し、出力された情報をインターネットに接続が可能な携帯端末で受取ることで専用のサーバと通信して各種のフラグ情報をサーバ上で管理する。
より具体的には、後述する契機をもとに各種フラグ情報の保持を開始し、例えば、所定の条件として「BBに当選する」「10000回の遊技を行う」「当選した小役と矛盾する小役示唆演出を出現させる」等のスロットマシン1を進行する上で発生する演出や遊技情報に応じて各種の発生フラグをサブ制御基板1000が保持し、遊技者によるサブボタン操作を契機に、スロットマシン1内で保持された各種フラグ情報をQRコード(株式会社デンソーウェーブ登録商標)や赤外線を介して外部に出力し、それを遊技者が携帯端末(スマートフォンを含む携帯電話、モバイルPC等のインターネット接続が可能な電子機器)にて受信することで自動的に専用のサーバとの接続がなされ、サーバに予め登録された遊技者の個人情報に基づいて情報が管理される。
遊技者は次回以降に遊技を行う際に、携帯端末によって専用のサーバと接続することで、サーバ上で管理された遊技者個人の情報をパスワードとして携帯端末に発行し、遊技者は次回以降の遊技を始める際に発行されたパスワードをスロットマシン1に入力することで現在までにサーバによって管理された各種フラグ情報をスロットマシン1に反映させる。
サブ制御基板1000は、遊技者によってパスワードが入力されたことを契機に各種のフラグ情報の保持を開始し、各種のフラグ情報が出力されたことを契機に保持されたフラグを消去するように制御する。
また、遊技者によってスロットマシン1にパスワードを入力する際、特定の情報を含んだパスワードを入力することで、例えばキャラクタの服装を遊技者が選択した任意の服装に変更したり、BB中に出力される音源を変更したりすることが可能となる。
また、本実施形態においては、スロットマシン1が各種のフラグを保持する契機として遊技者によるパスワード入力を挙げたが、これに限るものではない。例えば、遊技者が遊技を開始する際にサブボタンを操作することでサブ制御基板1000は一時的に各種フラグを保持するようにし、遊技者が遊技の進行具合によって「特別な演出を見た」等の理由により、発生した各種フラグを管理したい場合、これまでと同様にサブボタンを操作することでスロットマシン1から出力されるQRコード等の情報を携帯端末にて読み取ることでサブ制御基板1000にて保持した各種フラグを消去するような仕様も考えられる。この仕様においては、遊技者が一時的に各種フラグを保持するように設定したもののスロットマシン1から情報を出力しないまま遊技を終えて離席した場合には、各種フラグを次回の電源断処理や設定変更処理が行われるまで保持しておくこともできるし、所定時間遊技が行われなかった場合に自動的に消去するようにすることもできる。
また、スロットマシン1より出力される情報として、上記のものだけではなく、例えば遊技の履歴情報を同時に出力することも可能であり、履歴情報としては、遊技者によるパスワード入力(もしくはサブボタン操作による一時的な各種フラグ保持のオン)から、情報の外部出力が行われる等により各種フラグが消去されるまでの間における「遊技回数」「BB・RB回数」「AT・ART回数」「メダルの差枚数」等の情報はもちろん、「(BB終了から)何遊技でBBに当選したか」や「当選した小役の種類や回数や確率」等の情報まで、スロットマシン1で管理される様々な情報を出力することができる。
その際、スロットマシン1から出力されるQRコードが1データで足りない場合には複数データに分割して出力することも可能であり、また、通信手段は赤外線やQRコードの発行に限らず、有線や無線LANといった実際に様々な分野にて利用される一般的な通信技術を適宜採用することも可能である。
<第1実施形態>
第1実施形態に適用可能な、有利区間移行抽選に当選した遊技状態に応じて、有利区間の終了条件を変動させる構成について、以下に説明する。
初めに、図32には第1実施形態における図柄配列を示した図であり、図33から図35は第1実施形態における役抽選の結果で表示可能となる図柄組合せの一覧を示した図であり、図36から図38は各当選役が構成する図柄組合せの一覧を示した図であり、図39は当選役毎の置数を示す図である。第1実施形態において、図32から図39についての詳細な説明は省略する。
RT状態の移行条件、リプレイの当選確率について、図40を参照して説明する。RT0とは、工場出荷時などのメインRWM初期化後、または1種BB作動中における遊技メダルの払い出しが210枚を超えた場合に設定される状態であり、1種BB当選を契機にRT0からRT1へ移行する。RT1とは、1種BBに当選したことを契機に設定される状態(1種BB内部中と称することがある)であり、1種BBに関する図柄組合せが有効ライン上に表示されたことに基づいてRT1からBB一般中に移行する。
BB一般中とは、1種BB作動中のうちの1の状態であり、1種BBに関する図柄組合せが表示されて1種BB作動中に移行し、1種BB作動中且つRB非当選状態の場合に設定される状態である。BB一般中にてRBに当選したことに基づいて、BB一般中からRB内部中へ移行する(RBに関する図柄組合せが停止表示しなかった場合などに移行する)。RB内部中とは、1種BB作動中且つRB当選状態の場合に設定される状態であり、RBに関する図柄組合せが表示されたことに基づいてRB内部中からRB作動中へ移行する。RB作動中とは、1種BB作動中且つRB作動状態の場合に設定される状態であり、RB作動中に12回の遊技または8回の入賞に基づいてRB作動中からBB一般中へ移行する。
このように、BB作動中に設定され得る状態として、BB一般中、RB内部中、RB作動中との3つの状態を有している。なお、BB作動中においては、上記の条件以外に1種BB作動中における遊技メダルの払い出しが210枚を超えた場合にはRT0へ移行する。
RT0、RT1、RB内部中のリプレイ当選確率の合算は9188/65536に設定しており、当選するリプレイの種類も同一に設定している。BB一般中、RB作動中のリプレイ当選確率の合算は0/65536に設定している。つまり、リプレイは当選しないことを示している。
第1実施形態において、RT0、RT1、BB一般中、RB内部中、RB作動中におけるリプレイの当選確率に記載したが、これに限らず、リプレイの当選確率が各状態で異なるように設計してもよい。例えば、リプレイ当選確率の合算をRT0は9188、RT1は8978、BB一般中は4、RB内部中は9187、RB作動中は0のようにすることも考えられるし、通常リプレイAの当選確率を異ならせるようにしてもよい。
次に、Lモード番号について説明する。Lモード番号とは、主制御基板が制御する所定の記憶領域に保存(記憶)される番号であり、有利区間移行抽選に当選した際のRT状態に応じて保存される値が異なり、保存された値に応じて有利区間滞在中の性能を異ならせることができる。具体的には、RT0滞在中に有利区間移行抽選に当選したときはLモード番号に変動はない(0を維持)。
なお、Lモード番号として0が保存(記憶)されているときは、有利区間の最大滞在ゲーム数を1500ゲームに設定し、非AT期間の最大ゲーム数を1400ゲームに設定することとなる。即ち、非AT期間を1400ゲーム連続して消化すると、AT期間に移行し、その後最大100ゲームのAT期間を実行することができる。
RT1滞在中に有利区間移行抽選に当選したときはLモード番号として1が保存され、Lモード番号に1が保存されているときは、有利区間の最大滞在ゲーム数を1500ゲームに設定し、非AT期間の最大ゲーム数を500ゲームに設定することとなる。即ち、非AT期間を500ゲーム連続して消化すると、AT期間に移行し、その後最大1000ゲームのAT期間を実行することができる。
RB内部中滞在中に有利区間移行抽選に当選したときはLモード番号として2が保存され、Lモード番号に2が保存されているときは、有利区間の最大滞在ゲーム数を1500ゲームに設定し、非AT期間の最大ゲーム数を500ゲームに設定することとなる。Lモード番号に2が保存されているときは、非AT期間を500ゲーム連続して消化すると、通常区間に移行するよう構成されている。
BB一般中、またはRB作動中滞在中に有利区間移行抽選に当選したときはLモード番号として3が保存され、Lモード番号に3が保存されているときは、有利区間の最大滞在ゲーム数を1500ゲームにし、非AT期間の最大ゲーム数を1200ゲームに設定することとなる。即ち、非AT期間を1200ゲーム連続して消化すると、AT期間に移行し、その後最大300ゲームのAT期間を実行することができる。
このように、本例においては、Lモード番号に0、1、3が保存されていると実質天井が設定される、換言すると、非AT期間の最大ゲーム数を消化するとAT期間に移行する。他方、Lモード番号2が設定されていると実質天井が設定されない、換言すると、非AT期間の最大ゲーム数を消化すると通常区間に移行することとなる。
なお、保存されているLモード番号は、(1)有利区間が終了する(通常区間に移行する)タイミングで0をセットし、その後有利区間に移行するタイミングで滞在している遊技状態に応じたLモード番号をセットする、(2)有利区間が終了する(通常区間に移行する)タイミングでは保存されているLモード番号を維持し、その後有利区間に移行するタイミングで滞在している遊技状態に応じたLモード番号をセットする、よう構成してもよい。
次に、有利区間の開始条件と終了条件について説明する。有利区間の開始条件は、RT0、RT1、BB一般中、またはRB内部中における、通常区間中に遊技メダルの払い出しを伴う小役に当選したときに有利区間移行抽選が行われるよう構成されており、RB作動中に当選する小役では有利区間移行抽選が行われない。なお、本実施形態においては、有利区間移行抽選を実施したときには100%で有利区間に移行するようにしているが、あくまで一例であり、100%未満の確率で移行するようにしてもよい。
有利区間の終了条件は、Lモード番号0、Lモード番号1、Lモード番号3が設定されている場合においては、AT期間に移行した後、AT期間中に非AT期間へ移行することが決定し、その後非AT期間に移行したタイミングで有利区間を終了する。また、Lモード番号2が設定されている場合においては、前述したように、非AT期間の最大ゲーム数を消化すると通常区間に移行する(有利区間を終了する)。なお、これらはあくまで一例であり、変更して問題ない。例えば、Lモード番号2が設定されている場合において、非AT期間の最大ゲーム数を消化する前にAT期間に移行し得るよう構成した場合には、当該AT期間の終了条件を充足すると通常区間に移行し得るよう構成してもよい。
次に、非AT期間、AT期間におけるゲーム性とLモード番号の設定の関係性を説明する。遊技者は、非AT期間においては、RT0かRT1で遊技を行い、AT期間への権利を取得した場合に、1種BB図柄組合せを表示させ、AT期間中はBB作動中で遊技を行う。特に、RB内部中はリプレイ確率がBB一般中およびRB作動中よりも高いので、RB内部中でAT期間を消化することが遊技者にとって有利となる。AT期間中は1セット30ゲームのATを実行可能で、1セット目のAT期間が終了するまでに、
(1):AT継続抽選に当選する
(2):30ゲーム消化前にBB作動中を終了させる
のいずれかの条件を満たすことで、2セット目のAT期間の権利を取得できる。
「(1):AT継続抽選に当選する」とは、30ゲーム間の毎遊技の役抽選結果に応じて抽選されるもので、入賞-A1から入賞-B12当選時は1%の確率で、入賞-C1から入賞-C3は5%で、入賞-C4は30%で、入賞‐E1から入賞‐E6は6%で、入賞-Fと入賞‐Gは50%の確率でAT継続抽選に当選する。
「(2):30ゲーム消化前にBB作動中を終了させる」とは、BB作動中の終了条件は210枚の遊技メダルの払い出しが行われることで終了することから、BB一般中、RB内部中およびRB作動中のいずれかに滞在している状況で、30ゲーム消化前に210枚の遊技メダルの払い出しが行われると、AT継続抽選に当選する。
上述したように、有利区間移行抽選に当選した遊技状態(設定されているLモード番号)に応じて、有利区間の性能を変化させることが可能となり、遊技者は適宜遊技方法を選択することができ、遊技性の拡張を図ることができる。本実施形態においては、非AT期間中はRT1で、AT期間中はRB内部中で遊技を行うことが遊技者にとって最適である。即ち、非AT期間中においては、1種BBに当選した場合には、1種BBに関する図柄組合せを停止表示させずにRT1に滞在させて遊技を進行し、AT期間中においては、RBに当選した場合には、RBに関する図柄組合せを停止表示させずにRB内部中に滞在させて遊技を進行することが好適である。
上述したように、AT期間の権利を取得できるタイミング(AT継続抽選に当選し得るタイミング)は、30ゲーム間の役抽選結果に応じた抽選結果、30ゲーム消化前にBB作動中を終了させるかと記載したが、これに限らず、30ゲーム消化時点のAT継続抽選によって決定するようにしてもよい。
上述したように、AT期間の権利を取得するタイミングを説明した。有利区間移行抽選のタイミングがRT1(Lモード番号が1)のときに有利区間に移行すると、非AT期間を最大500ゲーム消化することでAT期間に移行し、RB内部中(Lモード番号2)のときに有利区間に移行すると、非AT期間を最大500ゲーム消化し通常区間に移行する。
ここで、本実施形態の構成において、AT期間中、RB内部中において、AT継続抽選に非当選の場合は、RB内部中において非AT期間かつ通常区間へ移行することとなる。毎ゲーム実行されるAT期間の権利を取得する抽選等に当選しなかった場合における作用の一例としては、RB内部中における通常区間において有利区間移行抽選に当選した場合はLモード番号として2が保存される。その後、BB作動中の終了条件を満たすことでRT0に移行し、1種BBに当選して1種BBに関する図柄組合せを停止表示させないことでRT1に移行し、Lモード番号が2に保存された状況で500ゲーム消化する(RT0とRT1とを合わせて500ゲーム消化する)と、RT1中に通常区間へ移行し、さらに有利区間移行抽選に当選することでLモード番号1が保存され、その後最大500ゲーム消化することでAT期間へと移行する。即ち、遊技者としては、Lモード番号として2が保存されている状態での500ゲームと、通常区間から有利区間に移行するまでの約1ゲームと、Lモード番号として1が保存されている状態での500ゲームとの、約1000ゲームの通常状態(非AT期間)を消化することで、AT期間に移行することとなり、いわゆる天井に到達したと認識することができる。
このように、本実施形態においては、有利区間の最大滞在ゲーム数が1500ゲームに設定されている遊技機において、非AT期間の約1000ゲームとAT期間の約1000ゲームとの合計約2000ゲームの一連の遊技進行を設計することができる。
次に、図41を用いて、本実施形態に係るLモード番号の保存方法の一例について詳述する。なお、同図における処理は主制御基板が実行する処理となっている。
まず、非RT中であるか否かを判定する。非RTである(YES)場合には、Lモード番号を保存せずに本処理を終了する。即ち、Lモード番号は0のまま維持される。また、非RTでない(NO)場合には、RT1中であるか否かを判定する。RT1中である(YES)場合には、Lモード番号として1を保存して本処理を終了する。また、RT1中でない(NO)場合には、前遊技までにRB条件装置が作動したか否か、換言すると、RB内部中であるか否かを判定する。RB内部中である(YES)場合には、Lモード番号として2を保存して本処理を終了する。また、RB内部中でない(NO)場合には、Lモード番号として3を保存して本処理を終了する。
本実施形態において、有利区間移行時の遊技状態に応じて保存されるLモード番号が異なるが、Lモード番号1が保存されている状態を「第2の有利区間」、Lモード番号2が保存されている状態を「第1の有利区間」、Lモード番号3が保存されている状態を「第3の有利区間」、Lモード番号0が保存されている状態を「第4の有利区間」とも称する。
AT期間への移行について、非AT期間をLモード番号に応じたゲーム数を消化することでAT期間へ移行することを説明したが、これに限らず、Lモード番号に応じて、設定値毎、役抽選結果毎にAT期間への移行確率を変更するようにしてもよい。例えば、設定値1のLモード番号2のときのAT期間移行抽選確率は、設定値6のLモード番号2のときのAT期間移行抽選確率よりも低くするようにしてもよいし、Lモード番号0およびLモード番号3のときのAT期間移行抽選確率設定値共通で最もAT期間移行確率が低い状態としてもよいし、設定値毎、役抽選結果毎に変動するようにしてもよいが、Lモード番号1とLモード番号2のときよりかはAT期間移行抽選確率が低いものにするのが望ましい。
<第2実施形態>
第2実施形態に適用可能な、リールユニット(単にリールと称することがある)に関する構成について、以下に詳述する。
第2実施形態のリールユニットは、リール基部とリール基部の周りに巻き付けられるリールシートとから構成されている。
また、リールシートは、非透過領域である銀止め領域、銀止め領域よりも透過性が高い白色領域、白色領域よりも透過率が高い止め無し領域の3領域から構成されている。
図42上部は、リール内のLEDL、LEDC、LEDRが収容されているランプハウス内を示した図であり、図42下部はリールシートが付された状態を表した図である。
図43は、シート貼付面にリールシートが貼付される領域を示し、図柄領域と背景領域があるリールシート表面構造を示している。
図43は各LEDから光が照射された際に透過する領域、反射する領域を示す一般的なリールシート裏面構造を示している。リールシート裏面のうち、背景領域には銀止め領域が、図柄領域には白止め領域が対応している。各LEDからの光がリールシートに向けて照射されるが、銀止め領域に光が照射されると光が全反射するため光は銀止め領域からは透過しない。また、白止め領域に光が照射されると、銀止め領域と異なり全反射はせず、照射された光の輝度が小さくなって白止め領域を通過する。
背景領域には銀止め領域が、図柄領域には白止め領域が対応していることで、各LEDからの照射された光は図柄領域のみを強調して明るくすることが可能となる。しかしながら、一般的なリールシートの場合、各LEDから照射される光の輝度は白止め領域を通過することで弱くなってしまうことがある。
遊技者がリールシートに付されている図柄(絵柄)を視認しやすいように、リールと表示窓との間の空間に、リールを視認しやすくするようにLEDを配置することも考えられる。これにより、リール全体を外部から明るくすることが可能となる。配置するLEDの個数は多ければより明るくなり、例えば、上部と下部の2か所に配置することが考えられる。その際のLEDの配置は表示窓側よりもリール側に近い位置に配置することが望ましい。表示窓側に近い位置に配置することでリールに直接光が照射されると、光が反射し遊技者からは白く見えてしまい、遊技中に特定の図柄を視認しにくくなる恐れがある。
上述したリール構造に変えて、背景領域を白止め領域、図柄領域を銀止め領域に対応させることも考えられる。このようにすることで、リールシートのうち、背景領域が占める割合の方が大きく、図柄領域を覆うように背景領域が配置されているため、リール全体の明るさを高く維持することができる。
しかしながら、背景領域を白止め領域にすることでリール間の区切り部(言い換えると、シート添付面)も白止め領域であるが、シート貼付面となっており、各LEDからの光が届かず、遊技者から見ると暗い線が現れるようになる。これにより、遊技者が、回転するリールを停止させようとリールシートに付された図柄を停止させようとする際に黒線が浮いているため、遊技意欲をなくす虞があることと、開発者のシートに付された図柄デザインの全体のバランスを崩しかねない。
そこで、本実施形態では、図43(a)に記載のように、リールシートにおいて、白止め(図柄)領域と銀止め(背景)領域とは異なる新たな止め無し(模様)領域を設けている。なお、図43(a)、図43(b)、図43(c)は一例にすぎない。
止め無し領域とは、リールシート裏面に、銀止めや白止めをしていない領域のことである。この領域を設けることで、各LEDからの光の照射輝度を白止め領域よりも下げることなく、ハウスランプ外へ光を照射することができる。
図43(b)に記載されている止め無し領域の一部がシール貼付面と重複する位置に配置され、図43(c)に記載されている止め無し図柄はシール貼付面と重複しない位置に配置されている。止め無し領域の一部がシール貼付面と重複している場合、各LEDから照射される光が止め無し領域の一部を透過するが、シール貼付面と重複する箇所には透過しないようになる。このように配置すると、空間内の輝度は高くなるが一部が照射範囲に含まれないため、遊技者から見たときに、止め無し領域の一部が黒く見えてしまうため、遊技者からみたリールの視認性・デザイン性が低下する恐れがある。
よって、図43(c)に記載されているように、止め無し領域はシート貼付面と重複することない領域に配置することで、止め無し領域のすべてが各LEDから照射される光を透過させ、黒線を出現させることないようにすることができる。
これにより、従前の構造による各LEDからの光の輝度を、出来る限り下げることなく遊技者に提供できるようにするとともに、図柄領域と背景領域のみではないデザイン性に優れたリールシートを提供できる効果を与えることができる。
派生案として、遊技機で使用されるデザイン性を鑑みて、模様領域に使用される模様を図柄領域に含むようにしてもよい。図柄領域に配置される模様は、模様領域と同様に止め無し領域としてもよいし、同様に白止め領域としてもよい。図柄領域に配置される模様を止め無し領域とすることで、特定の図柄がより強調されるようになる。このときの特定図柄はリール上に付されている図柄のうち、相対的に大きい図柄(白7など)や遊技者がいわゆる目押しを行う際の指標図柄に用いられるのが望ましい。図柄領域に配置される模様を白止め領域とすることで、模様領域をより強調することができる。
さらに、模様領域の数は指標図柄と指標図柄以外とで異ならせるようにしてもよい。上述したように、指標図柄は相対的に大きい図柄であり、模様領域を配置できる面積が小さい。言い換えると、指標図柄以外は相対的に小さい図柄であり、模様領域を配置できる面積は大きい。指標図柄以外を目押しする際に模様図柄の配置や大きさに応じて遊技者が特定の図柄を目押しする際の参考にすることができる。
さらに、遊技機に備えている液晶演出と各LEDの点灯態様とを連動するようにしてもよい。具体的には、遊技者がストップスイッチの操作を全て操作し、回転しているリールが全て停止したあとに、各LEDを下段から上段にかけて順番に点灯させ、上段のLEDが点灯したあとに、リールに対応する液晶の下部領域から同系統の模様を表示させることが考えられる。このとき、表示される模様の色は、模様領域に映し出される色と同色または類似色が好ましい。また、該演出は、ATや大当たりが期待できる期間(いわゆる前兆)中に行うとより好適である。
さらに、各LEDの配置を図柄領域の垂直方向の位置、模様領域の垂直方向の位置に配置するようにしてもよい。
<第3実施形態>
次に、第3実施形態に適用可能な、有利区間中のシナリオ管理に関する構成について、以下に詳述する。
第3実施形態においては、有利区間に滞在している際の遊技メダル獲得期待値を予め管理することで、遊技者が過剰な遊技メダルを獲得してしまうことを抑制するとともに、遊技者の射幸心を抑えることを目的とする。
第3実施形態において、有利区間移行抽選に当選した場合(通常区間から新たに有利区間に移行することが決定した場合)は、図44に記載されているシナリオ番号1からシナリオ番号6のいずれかが選択されるようになっている。また、一の有利区間の最大滞在可能ゲーム数(連続して滞在可能な最大のゲーム数)は1480としており、基本的には1480ゲーム遊技を行わないと新たなシナリオ番号が選択されないようになっている。
図44に記載されているシナリオ番号とは、有利区間移行抽選に当選したときにメインRWMに記憶される番号であり、シナリオ番号1からシナリオ番号6のいずれかが選択されるよう構成されている。なお、周期とは、37ゲームを1単位としたゲーム数である。各シナリオ番号と各周期に対応した「0」と「1」の値は、「0」は非AT期間を示し、「1」はAT期間を示している。例えば、シナリオ番号「1」が選択された場合は、1周期目は「0」が記憶されているため、1周期目は非AT期間であることを示している(換言すると、1ゲーム目から37ゲーム目までの、37ゲーム間はATを実行しない)。シナリオ番号1が選択された場合、25周期目(889ゲーム目)は「1」が記憶されているため、AT期間であることを示している。
シナリオ番号1が選択されると、1周期目から24周期目までは「0」であるため、非AT期間中であり、遊技メダルが減少する区間となる。本実施形態において、非AT期間中の遊技メダル獲得期待枚数は‐54枚と仮定している。即ち、非AT期間中においては、遊技メダルは減っていくため、1周期あたりで54枚の遊技メダルが減少するよう設計されている。また、25周期目から39周期目までは「1」であるため、AT期間中であり、遊技メダルが増加可能な区間となる。本実施形態において、AT期間中の遊技メダル増加期待枚数は100枚と仮定している。即ち、AT期間中においては、遊技メダルは増えていくため、1周期あたりで100枚の遊技メダルが増加するよう設計されている。なお、遊技メダル獲得期待枚数は、有利区間における全遊技状態の平均値である。なお、同図における数値を、有利区間における所定の遊技状態のみに適用してもよいことを補足しておく。
上記の非AT期間中およびAT期間中の遊技メダル獲得期待枚数を考慮して、有利区間移行抽選に当選し、シナリオ番号1が選択され、有利区間の1480ゲームの遊技を実行した場合の遊技メダル獲得期待枚数は150枚と算出できる。なお、本実施形態においては、一の有利区間で滞在できる最大ゲーム数は1480ゲームと設計しているが、これに限らず、1500ゲームにしてもよい。つまり、シナリオ番号1が選択された場合は、メダル獲得期待枚数が150枚となるため、遊技者はシナリオ番号1が選択された有利区間においては、遊技を行う方が得となる可能性が高い。当該遊技メダル獲得期待枚数においても、有利区間における全遊技状態の平均値であってもよいし、所定の遊技状態の場合のみに適用してもよい(他のシナリオについても同様である)。
同様に、シナリオ番号2からシナリオ番号5における1480ゲームの遊技を実行した場合の遊技メダル獲得期待枚数については、シナリオ番号2の遊技メダル獲得期待枚数は1074枚、シナリオ番号3の遊技メダル獲得期待枚数は612枚、シナリオ番号4の遊技メダル獲得期待枚数は‐1082枚、シナリオ番号5の遊技メダル獲得期待枚数は1536枚となる。
図44に記載のシナリオ番号1からシナリオ番号5のいずれかが選択されると、選択されたシナリオ番号の開始(1ゲーム目)から選択されたシナリオ番号の終了(1480ゲーム目)まで遊技を行うことで遊技メダル獲得期待枚数に近しい遊技メダル(持ちメダル)の増減が起こるようになっている。
しかしながら、AT期間があらかじめ定められていると、本仕様の遊技経験が豊富な(知識のある)遊技者はAT期間がどの周期で発生するかによって、現在のシナリオ番号を特定しやすくなってしまう。特に、シナリオ番号4は遊技メダル獲得期待値がマイナスであるため、シナリオ番号4が選択されていると判別できてしまうと、遊技者は離席する可能性が高くなる。
上記の問題を解決するために、非AT期間およびAT期間が各周期であらかじめ定めていないシナリオ番号6を用意する。シナリオ番号6とは、役抽選の結果に応じてAT期間に当選するか否かを決定するシナリオ番号である。シナリオ番号6を選択される可能性を設けることで、遊技者は遊技メダル獲得期待値がプラスのシナリオ番号かマイナスのシナリオ番号かを見極めにくくすることができる。
本実施形態において、シナリオ番号6は24周期目までは(役抽選の結果に応じた)ランダム抽選によりAT期間に移行するか否かを決定する。具体的には、2周期目でランダム抽選によりAT期間に移行することが決定した場合は、3周期目がAT期間となる。このように、シナリオ6においては、所定の周期に滞在している場合に、当該所定の周期の次回の周期において、AT期間とするか非AT期間とするかを毎ゲームの抽選の結果で決定するよう構成されている。このように構成することによって、AT期間であるか否かによって遊技者に決定されているシナリオを判別されてしまうことを防止することができ、AT期間の到来に期待感を抱きながら遊技を進行することができる。
なお、本実施形態においては、シナリオ番号6が選択された際の遊技メダル獲得期待値は‐700枚と仮定している。また、シナリオ番号6において、AT期間に移行し、その後非AT期間に移行した場合は、現在の有利区間を終了するようにしてもよい(現在の有利区間を終了して、新たにシナリオ番号が決定されることとなる)。
次に、シナリオ番号の選択確率について説明する。図44における「選択確率」は、有利区間移行抽選に当選し、シナリオ番号が選択される割合を設定値毎に異ならせている値を示している。R1が設定値1、R2が設定値2、R5が設定値5、R6が設定値6、となっており、4段階の設定値を有するよう構成した場合を例示している。また、R1、R2、R5、R6の下に記載している数値は、シナリオ番号の選択確率を%で図示しており、例えば、設定値1においては、有利区間に新たに移行したときに、シナリオ番号1:10%、シナリオ番号2:3%、シナリオ番号3:2%、シナリオ番号4:20%、シナリオ番号5:5%、シナリオ番号6:60%の割合で決定されることとなる。
設定値1では、シナリオ番号3の選択割合が最も低く、シナリオ番号6の選択割合が高く、設定値6では、シナリオ番号4の選択割合が最も低く、シナリオ番号1の選択割合が高くなるようにしている。一般的に設定値毎に遊技メダル獲得期待値がマイナスになる設計とプラスになる設計を設けることが多く、本実施形態においては、設定値1、2がマイナス、設定値5,6がプラスの遊技メダル獲得期待値となっている。
図44に記載のシナリオ番号6とは、上述したシナリオ番号1からシナリオ番号5までとは異なり、24周期目までは役抽選結果等に基づいてAT抽選に当選するか否かを決定するシナリオとなっている。シナリオ番号6が用意されている理由としては、上述したシナリオ番号1からシナリオ番号5までのパターンの場合、遊技者が遊技を行う上で、当たらない周期が存在することで、遊技者が該周期に到達した場合に遊技を止める可能性が高くなる。よって、シナリオ番号6を設けることで遊技者は現在のシナリオ番号をより推測する興趣を高めることができる。
シナリオ番号6の遊技メダル獲得期待値はマイナス設計としており、設定値1ほど当選しやすく、設定値6ほど当選しにくい設計としている。本実施形態において、遊技メダル獲得期待値がマイナスであるシナリオ番号6の選択確率が最も高いのは設定値1で、最も低いのが設定値6である。さらに遊技メダル獲得期待値がプラスであるシナリオ番号1の選択確率が最も高いのは設定値6であり、最も低いのは設定値1である。つまり、遊技者が遊技を行う上で、シナリオ番号の変動により、設定値の推察を行いながら、遊技の興趣を高めることができる。
シナリオ番号1から5の開始時(1周期目から3周期目まで)と、終了時(40周期目)は「0」に設計している。これは、一の有利区間に滞在している際に獲得可能な遊技メダルの数が過度にならないようにしているためである。例えば、図示しないが、選択されたシナリオ番号に対応するAT期間が16周期目から40周期目までとした場合、1周期100枚の遊技メダルを獲得できると想定すると、約2400枚の遊技メダルを獲得できることとなる。40周期目を終了したことで、現在の有利区間は終了し、次の有利区間移行抽選に当選した場合、選択されたシナリオ番号に対応するAT期間が1周期目から20周期目までとした場合、1周期100枚の遊技メダルを獲得できると想定すると、約2000枚の遊技メダルを獲得できることとなる。遊技者からすると、連続して、2400枚と2000枚を獲得できる状況となるため、過度に遊技メダルを獲得させ遊技機にのめり込む可能性が高くなる。また、一の有利区間で獲得可能な遊技メダルは最大2400枚であるが、意図的に獲得可能な遊技メダルの最大値を引き上げるものになる恐れがある。
よって、シナリオ番号1から5が選択されたとしても、有利区間を跨いで過度に遊技メダルを連続して獲得できる状況を避けることができる。さらに、シナリオ番号1から5のようにあらかじめAT期間(換言すると、遊技メダル獲得期待枚数)が定まっていることで、過剰な遊技メダルの獲得、過剰な遊技メダルの消費をコントロールすることができ、確率のみに依存しない比較的安定した設計を望める遊技機を提供することができる。即ち、シナリオにおける開始時の周期(1周期目から3周期目まで)と終了時の周期(40周期目)とを非AT期間とすることで、遊技者にとって有利なシナリオ番号が連続して選択された場合においても、過度に遊技メダルを獲得させ遊技機にのめり込むことを防止することができる。
なお、本実施形態において、有利区間移行抽選に当選し、少なくとも該シナリオ番号においてAT期間に移行するまでは有利区間ランプを点灯しないようにすることも考えられるが、シナリオ番号1からシナリオ番号5が選択された場合、1480ゲームを遊技するまでは選択されたシナリオ番号を維持する。換言すれば、有利区間ランプを一度点灯させた(AT期間に移行した)場合は該有利区間が終了するまで有利区間ランプを消灯することはできない。これにより、例えば、シナリオ番号2が選択された有利区間において、有利区間ランプが点灯するタイミングは4周期目の開始タイミングである。このように、特定の周期で有利区間ランプを点灯するように設計すると、シナリオ番号1、シナリオ番号5の選択肢はなくなり、5周期目が非AT期間の場合、(遊技メダル獲得期待値がマイナスの)シナリオ番号4であることを察知されるため、遊技者は離席する可能性が高くなる。
上記を踏まえて、有利区間移行抽選に当選し、いずれかのシナリオ番号が選択された次遊技からは、有利区間ランプを点灯させ、選択されたシナリオ番号が終了するまでは有利区間ランプを点灯し続けることが望ましい。これにより遊技者はいずれのシナリオ番号であるかを特定しにくくなるため、不本意な離席を避けることができる。
次に、図44に記載の演出パターンの選択について説明する。本実施形態において、シナリオ番号1が選択された場合は演出構成1が選択されるようになり、シナリオ番号2が選択された場合は演出構成2が選択されるようになり、シナリオ番号3が選択された場合は演出構成3が選択されるようになり、シナリオ番号4が選択された場合は演出構成4が選択されるようになり、シナリオ番号5が選択された場合は演出構成5が選択されるようになり、シナリオ番号6が選択された場合は演出構成1から演出構成5のうちいずれかが選択されるようになっている。演出構成に記載されている「0」は前兆演出を行わないことを示し、「1」はAT期間に移行することが決定した場合を示す本前兆演出が実行されることを示し、「2」はAT期間には移行しないがAT期間に移行する可能性を示唆するガセ前兆演出が実行されることを示している。即ち、次回の周期において、AT期間となるか否かを煽る演出を実行可能に構成されている。
演出構成6については、上述したように、シナリオ番号6が選択された際に、演出構成1から演出構成5のいずれかが選択されるため、遊技者は演出構成による前兆演出の発生タイミングにより、現在のシナリオ番号がどれであるかを推察しながら遊技を行うことができる遊技機を提供することができる。
以上のように、一の有利区間に移行した際のシナリオ管理と演出構成について、説明したが、その他にも適宜設計を変更するようにしてもよい。
本実施形態においては、シナリオ番号を1から6までと設計しているが、選択可能なシナリオ数を多くしたりしてもよい。
本実施形態において、シナリオ番号の選択割合を設定値に応じて異ならせるように設計しているが、これに限らず、シナリオ番号1,2,3,5は設定値1が最も選択確率が悪く、設定値6が最も選択割合が高いように階段状に選択割合を高くするようにしてもよい。
本実施形態において、シナリオ番号6において、少なくとも1回AT期間に移行し、非AT期間に移行した場合に、現在の有利区間を終了するものとなっているが、これに限らず、25周期目のAT期間に移行するまでは有利区間を終了しないようにしてもよい。例えば、シナリオ番号6の遊技メダル獲得期待値がプラスの場合、遊技者としてはシナリオ番号6に滞在している方が遊技を行いやすい設計なっている。また、シナリオ番号6については、AT期間に移行してから、非AT期間に移行する条件として、ゲーム数管理、継続率抽選の非当選となるまでとも考えられる。
本実施形態において、シナリオ番号6が選択された場合の演出構成は演出構成1から演出構成5のいずれかが選択されるように設計されているが、ランダム抽選により、AT期間に移行することが決定した場合に、現在の演出構成が0の場合は1に書き換えるようにすることで、遊技者は前兆が開始したと認識することができる。また、AT期間に移行することが決定した場合に、現在の演出構成が0の場合から書き換えないようにすることも考えられる。
また、シナリオ番号6において、AT抽選に当選する(次回の周期がAT期間となることが決定する)確率を設定値毎に相違させてもよい。例えば、設定値6は、他の設定値よりもシナリオ番号が選択されやすい一方、シナリオ番号6におけるAT抽選の当選率が他の設定値よりも高くなるよう構成してもよい。
なお、上述した、シナリオ番号の種類の数や、1周期のゲーム数やAT期間の振り分けなどはあくまで一例であり、変更しても何ら問題ないことを補足しておく。
<第4実施形態>
次に、第4実施形態において、MBの終了タイミングおよびCB終了時におけるRT変動に関する遊技性について説明する。
図45には第4実施形態におけるリール配列が記載されている。
図46には第4実施形態における役抽選結果で当選しうる図柄組合せ一覧、図47には第4実施形態における役抽選結果で当選する役構成一覧、図48には第4実施形態における役抽選の置数が記載されている。
第4実施形態において、ボーナスとしてはBBとMBが当選可能となっている。CBは図柄組合せを持たず、MB作動中の遊技開始時にCB遊技が開始し、MB作動中遊技終了時にCB遊技が終了する。
図49には第4実施形態におけるRT遷移図が記載されている。非RTとは、工場出荷時、メインRWM初期化後、またはRT2において50回の遊技の結果が得られたときに移行することで遊技が可能となるRT状態である。後述でも説明するが、第4実施形態において非RTを引き戻しゾーンとも称する。
RT1とは、入賞05、入賞09、再遊技02図柄組合せが表示されたときに移行しうるRT状態である。後述でも説明するが、第4実施形態においてRT1を通常遊技とも称する。
RT2とは、MB終了かつ入賞05、入賞09図柄組合せが非表示の場合に移行しうるRT状態である。後述でも説明するが、第4実施形態においてRT2を第1有利遊技とも称する。
RT3とは、BB終了後に移行しうるRT状態である。後述でも説明するが、第4実施形態においてRT3を第2有利遊技とも称する。
BB内部中とは、BBに当選し、当該遊技でBB図柄組合せが非表示の場合に移行しうるRT状態である。後述でも説明するが、第4実施形態においてBB内部中を内部中遊技とも称する。
BB作動中とは、BB図柄組合せが表示された場合に移行しうるRT状態である。後述でも説明するが、第4実施形態においてBB作動中をBB中遊技とも称する。
各RT状態におけるリプレイ当選確率について説明する。第4実施形態において、規定数は2枚と3枚(BB作動中、MB-B作動中は規定数3枚のみ)が選択できる設計となっており、各RT状態の規定数に応じて、役抽選の抽選テーブルの参照先や遊技メダルの払い出し数が異なるようになっている。
第4実施形態において、MB作動中は、役抽選結果に関わらず全ての小役に関する図柄組合せが表示可能となる遊技である。例えば、MB作動中に、役抽選の結果でハズレの結果が得られたとしても、表示可能となる当選役は全ての小役(入賞‐A条件装置から入賞‐G条件装置)となる。MB作動中に、役抽選の結果で再遊技-B条件装置の結果が得られた場合、表示可能となる当選役は全ての小役(入賞‐A条件装置から入賞‐G条件装置)と再遊技-B条件装置となる。ハズレ時と再遊技‐B条件装置の結果では、表示可能となる図柄組合せのパターンが異なるため、各表示可能な図柄組合せのパターンに応じて、予め定められた停止制御を行うようにしてもよい。具体的には、ハズレ時は特定の図柄組合せを優先して引き込むように制御し、再遊技-B条件装置時は特定の図柄組合せとは異なる所定の図柄組合せを優先して引き込むように制御するようにしてもよい。詳細は後述する。
図50は、MB-A遊技の終了タイミングとRT変動タイミングについて記載している。MB遊技は、MB-Aについては72枚を超える遊技メダルの払い出しでMB遊技を終了するようになっている。一方、MB-A遊技中に作動するCB遊技は当該遊技の結果が得られた後に終了するようになっている。本実施形態において、MB-A遊技において、RT移行図柄組合せが表示されたとしてもRT移行できないようになっているが、MB-A遊技かつCB遊技において、小役に関する特定の図柄組合せが表示され、遊技メダルが払い出されている途中において、MB-A遊技の終了条件となる遊技メダルの払い出しに到達した時点でMB遊技を終了するようにする。しかしながら、CB遊技においては遊技メダルの払い出しをすべて完了しておらず遊技の結果が得られていない状況であることから、CB遊技は継続している。CB遊技が終了するタイミングは遊技メダルの払い出しを終えたのちにCB遊技が終了する。
本実施形態においては、MB-A遊技、規定数3枚において、入賞05に関する図柄組合せが表示されると、12枚の遊技メダルの払い出しを行うように制御するが、12枚のうち10枚目の遊技メダルの払い出しを行った時点でMB-A遊技の終了条件である72枚の遊技メダルの払い出しが行われるため、MB遊技を終了する。即ち、12枚の遊技メダルの払出の途中でMB遊技を終了することとなる。その後、12枚の遊技メダルの払い出しが終了した後に、今回のゲームで表示された図柄組合せはRT移行契機となる図柄組合せか否かを判定する。入賞05はRT1へ移行する図柄組合せであるため、次遊技からはRT1で遊技を行うこととなる。RT1はリプレイ確率が相対的に低い遊技状態であるため、遊技者にとって不利な遊技状態となっている。
また、MB-A遊技、規定数3枚において、入賞06に関する図柄組合せが表示されると、11枚の遊技メダルの払い出しを行うように制御するが、11枚のうち10枚目の遊技メダルの払い出しを行った時点でMB-A遊技の終了条件である72枚の遊技メダルの払い出しが行われたときに、MB遊技を終了する。即ち、11枚の遊技メダルの払出の途中でMB遊技を終了することとなる。その後、11枚の遊技メダルの払い出しが終了した後に、今回のゲームで表示された図柄組合せはRT移行契機となる図柄組合せか否かを判定する。入賞06はRT1へ移行する図柄組合せでないため、MB遊技の終了後も継続してRT2状態に滞在することができる。遊技者からすると、規定数3枚において、BB作動中を除き、RT1よりもリプレイ確率が高いRT状態であるRT2を維持しながら遊技を行うことができるため、遊技者としては遊技メダルの獲得期待値が高い状態で遊技を行うことができることとなる。
第4実施形態において、遊技者が通常遊技を行うゲームフローを説明する。遊技者は通常、RT1において、規定数3枚掛けの遊技で、MB-AまたはBBに当選することに期待を持ちながら遊技を行う。規定数2枚の場合、リプレイ当選確率は高くなるが、BBまたはMB-Aの当選確率が低いため、規定数2枚で遊技を実行することは遊技者にとって不利であり、規定数3枚で遊技を行うことが望ましい。
MB-Aに当選した場合、遊技者は72枚を超える払い出しが行われ得る遊技の前までは、入賞05に関する図柄組合せを表示するように遊技を行う。例えば、入賞05に関する図柄組合せを6回表示することで72枚の払い出しが行われる。上述したが、本実施形態においては、遊技メダルの払い出しの途中であっても、MB遊技は終了可能になっている。
MB-A遊技であり、RT1、規定数3枚で遊技を行う場合、抽選の結果としては、2種類(再遊技‐A条件装置+すべての入賞、すべての入賞)となる。当該2種類の抽選の結果では入賞05または入賞09が表示されるように制御されるため、遊技者が規定数3枚で遊技を行う場合、遊技メダルの払い出しは最大を得る機会があるが、MB-Aの終了条件を充足した後の払い出し終了タイミングで、入賞05または入賞09が表示されることにより、RT1へ移行するため、その後の遊技はリプレイ確率の低いRT1で遊技を進行することとなる。
また、同様に、MB-A遊技において、遊技者は72枚を超える払い出しが行われ得る遊技の前までは、入賞05に関する図柄組合せを表示するように遊技を行う。例えば、入賞05に関する図柄組合せを6回表示することで72枚の払い出しが行われる。次回の遊技において規定数2枚で遊技を行う、即ち、MB-A遊技であり、RT1、規定数2枚で遊技を行う場合には、約1/2で再遊技-Bに当選することとなり、再遊技-Bに当選した場合には入賞06が表示可能となるように構成することで、「入賞06が停止表示されて遊技メダルの払い出しが開始される→遊技メダルの払い出しの途中でMB-Aの終了条件を充足する→RT2が設定される→遊技メダルの払い出しが終了する→入賞06が停止表示するためRT状態は移行しない」のように作用することとなり、MB-Aにおける最終ゲーム(最後の入賞を伴うゲーム)において入賞05が表示されたときよりも1枚遊技メダルの獲得は少ないが、結果としてリプレイ確率の高いRT2に移行することができる。
なお、MBの終了条件を充足したタイミングでは、割込み処理によってRT状態の移行に関する処理が実行されることとなる。
RT1において、再遊技‐Bに当選する確率を高くする方法として、規定数3枚、RT1における再遊技-Bの当選確率を高くすることも可能であるが、規定数を3枚と2枚の2種類のいずれかを選択して遊技を行うようにすることで、同じRT1であっても、抽選テーブルの参照先を異ならせている。即ち、第4実施形態においては、MB遊技、RT1において、MB遊技が終了する可能性のある遊技の直前の遊技において、再遊技‐Bの当選確率の高い2枚掛けで遊技を行うことで、入賞06が表示される(換言すると、入賞05もしくは入賞09が表示されない)割合を高くすることが可能となり、遊技性を高めることが可能となる。規定数2枚時における再遊技‐Bの当選割合は50%(32768/65536)となっている。
また、MB-A遊技、RT2においては、3枚掛けで遊技をおこなったとしても、高確率で再遊技‐Bが当選するため、遊技者は3枚掛けを行うことで入賞05が表示される心配はなく、入賞06が表示され安心して遊技を行うことができる。RT2においては、規定数3枚で遊技を行うと、約80%(52066/65536)でRT2を維持することが可能であり、規定数2枚で遊技を行うと、約50%(32769/65536)でRT2を維持することができることから、RT2においては規定数3枚で遊技を行うことが最も有利となる。また、規定数2枚のときは、同一図柄組合せでも、遊技メダルの配当が少ない割り当てとなっているため、規定数3枚で遊技を行うことが望ましい。
最後にRT3について説明する。RT3はBB遊技を終了したのちに移行可能な遊技状態であり、上述したMB-Aに当選し、規定数を変更することでRT2に移行しやすくなる経路とは異なり、比較的RT2に移行しやすい経路となっている。
以上より、第4実施形態においては、MB遊技の終了タイミングを払い出し枚数のタイミングに応じて終了させることで、その後に表示される図柄組合せによるRT移行が可能な遊技性を提供することができる。これにより、遊技者は遊技が終了する前のタイミングで規定数を変更するか否かの選択をする機会を与えることができる。
上述に加えて、派生案として、規定数3枚掛けで遊技を行う方が有利となる状況と規定数2枚で遊技を行う方が有利となる状況が存在する場合、具体的には、MB-A遊技中において、MB-A遊技が終了となる払い出し枚数の残り枚数に応じて、2枚賭けすべきかおよび3枚掛けすべきかを遊技機側で報知するようにしてもよい。報知としては、LED点灯、セグメント表示、液晶表示、または音声の出力等で行うことが望ましい。報知するタイミングとしては、
1:残り枚数の条件を満たした以降、遊技待機中に報知する。
2:遊技中において、残り枚数の条件を満たす手前の条件に基づいて、役抽選結果が決定されたときから、遊技の結果が得られるまでの間に報知する。
3:残り枚数の条件を満たした以降は常に報知する。
が考えられる。
これにより、遊技者はどのタイミングで報知が行われたとしても、報知に従い規定数を変更すればよく、容易にRT2への移行条件を満たしやすくすることができ、意図しない不利益が発生することなく遊技を進行することができる。
<本例に適用可能なメインスイッチに関する構成>
(各種メインスイッチ)
メイン制御手段で管理するスイッチ(以下、メインスイッチと称する場合がある)として、1ベットスイッチ、MAXベットスイッチ、スタートスイッチ、左ストップスイッチ、中ストップスイッチ、右ストップスイッチ、精算スイッチ、リセットスイッチを設けている。これらメインスイッチが操作されたか否かの情報(ON、OFFに対応するデータ)はRWM内の所定アドレスから始まる記憶領域に記憶される。より具体的には、0xF001番地に入力ポート0レベルデータ、0xF002番地に入力ポート1レベルデータ、0xF003番地に入力ポート2レベルデータ、0xF004番地に入力ポート0立ち下がりデータ、0xF005番地に入力ポート0立ち上がりデータ、0xF006番地に入力ポート1立ち上がりデータ、0xF007番地に入力ポート2立ち上がりデータが記憶されるよう構成されている。
また、本例において、入力ポート0の0ビット目(D0)は設定/リセットスイッチ信号が設定され、1ビット目(D1)は設定キースイッチ信号が設定され、2ビット目(D2)はドアスイッチ信号が設定され、3ビット目(D3)、4ビット目(D4)、5ビット目(D5)は未使用であり、6ビット目(D6)は電源断検知信号が設定され、7ビット目(D7)は満杯検知信号が設定されている。そして、D0、D1、D2、D6、D7ビットのそれぞれにおいて、0となっている場合はOFFを示し、1となっている場合はONを示している。
また、入力ポート1の0ビット目(D0)は右ストップスイッチセンサ信号が設定され、1ビット目(D1)は中ストップスイッチセンサ信号が設定され、2ビット目(D2)は左ストップスイッチセンサ信号が設定され、3ビット目(D3)は3枚投入センサ(MAXベットスイッチセンサ)信号が設定され、4ビット目(D4)は1枚投入スイッチ信号が設定され、5ビット目(D5)は精算スイッチ信号が設定され、6ビット目(D6)はスタートスイッチセンサ信号が設定され、7ビット目(D7)は未使用となっている。そして、D0、D1、D2、D3、D4、D5、D6ビットのそれぞれにおいて、0となっている場合はOFFを示し、1となっている場合はONを示している。
また、入力ポート2の0ビット目(D0)は回胴センサ信号1が設定され、1ビット目(D1)は回胴センサ信号2信号が設定され、2ビット目(D2)は回胴センサ信号3が設定され、3ビット目(D3)は払出センサ2信号が設定され、4ビット目(D4)は払出センサ1信号が設定され、5ビット目(D5)は投入センサ2信号が設定され、6ビット目(D6)は投入センサ1信号が設定され、7ビット目(D7)はセレクタ通路センサ信号が設定されている。そして、D0、D1、D2、D3、D4、D5、D6、D7ビットのそれぞれにおいて、0となっている場合はOFFを示し、1となっている場合はONを示している。
各種メインスイッチが操作されると各種メインスイッチに設けられているセンサが各種メインスイッチの操作を検知し、各種メインスイッチのセンサが各種メインスイッチの操作を検知している場合は対応する入力ポートの対応するビットに1が入るよう構成されている。そして、メイン制御手段の割込み処理毎に入力ポートをチェックし、入力ポートが1に対応する各種メインスイッチに基づいた処理を実行する。
また、各種メインスイッチが操作されると所定の処理を実行する場合があるが、各種メインスイッチには所定の処理が実行可能となる有効期間が設けられている(逆に所定の処理が実行可能でない期間を無効期間と称する)。例えば、スタートスイッチの有効期間は、全てのリールが停止した後に規定数のベットがされている状態(本実施形態において、スタートスイッチ操作待ち状態と称す)であり、スタートスイッチ操作待ち状態でスタートスイッチが操作されたことをスタートスイッチセンサがスタートスイッチの操作を検知したときは、内部抽せん処理や、リール回転処理が実行可能となっている。そして、スタートスイッチ操作待ち状態以外の状態でスタートスイッチが操作されたことをスタートスイッチセンサがスタートスイッチの操作を検知したときは、内部抽せん処理や、リール回転処理が実行されないようになっている。
このように、メインスイッチのセンサがメインスイッチの操作を検知したときに所定の処理(例えば、スタートスイッチの場合は内部抽せん処理やリール回転処理が該当する)を実行する場合、換言すると、有効期間にてメインスイッチが操作された場合を、有効検知と称し、メインスイッチのセンサがメインスイッチの操作を検知したときに所定の処理(例えば、スタートスイッチの場合は内部抽せん処理やリール回転処理が該当する)を実行しない場合、換言すると、無効期間にてメインスイッチが操作された場合を、無効検知と称する。
また、有効期間にてメインスイッチが操作されている状態(ONとなっている状態)を有効検知状態と称し、無効期間にてメインスイッチが操作されている状態(ONとなっている状態)を無効検知状態と称する。
次に、各種メインスイッチの有効期間に関して説明する。MAXベットスイッチの有効期間とは、リールが全て停止しており、クレジットに最大規定数以上(本実施形態においては3以上50以下)貯留されており、且つベット数が最大規定数未満(本実施形態においては0以上3未満)である状態である。
また、スタートスイッチの有効期間とは、ベット数が規定数設定(自動ベット処理でベットされたことを含む)されている状態であり、左ストップスイッチの有効期間とは、左リールが定速回転中(定速状態)の状態であり、中ストップスイッチの有効期間とは、中リールが定速回転中(定速状態)の状態であり、右ストップスイッチの有効期間とは、右リールが定速回転中(定速状態)の状態であり、精算スイッチの有効期間とは、リールが全て停止しており、且つクレジットに1以上貯留されている状態であり、リセットスイッチの有効期間とは、エラーを検知してエラーフラグをセットしている状態である(設定変更モード中も有効期間としてもよい)。
次に、各種メインスイッチが実行する所定の処理を説明する。MAXベットスイッチの有効期間においてMAXベットスイッチセンサがMAXベットスイッチの操作を検知したときのMAXベットスイッチに基づく所定の処理とは3枚ベット処理等であり、スタートスイッチの有効期間においてスタートスイッチセンサがスタートスイッチの操作を検知したときのスタートスイッチに基づく所定の処理とは内部抽せん処理、リール回転処理等であり、左ストップスイッチの有効期間において左ストップスイッチセンサが左ストップスイッチの操作を検知したときの左ストップスイッチに基づく所定の処理とは左リールの停止制御処理等であり、中ストップスイッチの有効期間において中ストップスイッチセンサが中ストップスイッチの操作を検知したときの中ストップスイッチに基づく所定の処理とは中リールの停止制御処理等であり、右ストップスイッチの有効期間において右ストップスイッチセンサが右ストップスイッチの操作を検知したときの右ストップスイッチに基づく所定の処理とは右リールの停止制御処理等であり、精算スイッチの有効期間において精算スイッチセンサが精算スイッチの操作を検知したときの精算スイッチに基づく所定の処理とは精算処理(払出処理)等であり、リセットスイッチの有効期間においてリセットスイッチセンサがリセットスイッチの操作を検知したときのリセットスイッチに基づく所定の処理とはエラー解除処理等である。
各種メインスイッチのうち、複数のメインスイッチが同時に操作された場合においては、当該操作されたメインスイッチに基づいた処理を実行しない場合がある。そのような複数のメインスイッチが同時に操作された(複数のメインスイッチがいずれもONになっている)場合における作用を以下に詳述する。
(MAXベットスイッチが無効検知のときの他のメインスイッチの処理1)
MAXベットスイッチが無効検知となり、その状態が継続しているときに他のメインスイッチが操作された場合の処理を説明する。MAXベットスイッチが無効検知状態のときに、スタートスイッチの有効期間においてスタートスイッチセンサがスタートスイッチの操作を検知したときはスタートスイッチに基づく所定の処理を実行せず、左ストップスイッチの有効期間において左ストップスイッチセンサが左ストップスイッチの操作を検知したときは左ストップスイッチに基づく所定の処理を実行せず、中ストップスイッチの有効期間において中ストップスイッチセンサが中ストップスイッチの操作を検知したときは中ストップスイッチに基づく所定の処理を実行せず、右ストップスイッチの有効期間において右ストップスイッチセンサが右ストップスイッチの操作を検知したときは右ストップスイッチに基づく所定の処理を実行せず、精算スイッチの有効期間において精算スイッチセンサが精算スイッチの操作を検知したときは精算スイッチに基づく所定の処理を実行せず、リセットスイッチの有効期間においてリセットスイッチセンサがリセットスイッチの操作を検知したときはリセットスイッチに基づく所定の処理を実行するよう構成されている。
このように構成されていることで、MAXベットスイッチの故障で遊技者がMAXベットスイッチを操作する/しないに関わらず常にON(MAXベットスイッチセンサのレベルデータが常に1)となってしまった場合は、他のメインスイッチ(リセットスイッチを除く)に基づく所定の処理を実行しないため、MAXベットスイッチが故障していることが察知しやすくなる。また、精算スイッチに基づく所定の処理を実行しないことで、不正行為によりMAXベットスイッチが故障した場合の精算を防ぐことができ、遊技場が不正に利益を搾取されることを防ぐことができる。さらに、リセットスイッチに基づく所定の処理を実行するため、エラーが同時に発生しているときはエラー解除が可能となり、警告音を止めることができるので、遊技場の営業を妨げないことができる。
(MAXベットスイッチが無効検知のときの他のメインスイッチの処理2)
MAXベットスイッチが無効検知となり、その状態が継続しているときに他のメインスイッチが操作された場合の処理を説明する。MAXベットスイッチが無効検知状態のときに、スタートスイッチの有効期間においてスタートスイッチセンサがスタートスイッチの操作を検知したときはスタートスイッチに基づく所定の処理を実行せず、左ストップスイッチの有効期間において左ストップスイッチセンサが左ストップスイッチの操作を検知したときは左ストップスイッチに基づく所定の処理を実行せず、中ストップスイッチの有効期間において中ストップスイッチセンサが中ストップスイッチの操作を検知したときは中ストップスイッチに基づく所定の処理を実行せず、右ストップスイッチの有効期間において右ストップスイッチセンサが右ストップスイッチの操作を検知したときは右ストップスイッチに基づく所定の処理を実行せず、精算スイッチの有効期間において精算スイッチセンサが精算スイッチの操作を検知したときは精算スイッチに基づく所定の処理を実行し、リセットスイッチの有効期間においてリセットスイッチセンサがリセットスイッチの操作を検知したときはリセットスイッチに基づく所定の処理を実行するよう構成されている。
このように構成されていることで、MAXベットスイッチが故障で常にONとなってしまった場合は、他のメインスイッチ(精算スイッチ、リセットスイッチを除く)に基づく所定の処理を実行しないため、MAXベットスイッチが故障していることが察知しやすくなる。また、精算スイッチに基づく所定の処理を実行することで、遊技者が貯留しているメダルを排出することができ、遊技者がいつでも遊技停止できるようにすることができる。さらに、リセットスイッチに基づく所定の処理を実行するため、エラーが同時に発生しているときはエラー解除が可能となり、警告音を止めることができるので、遊技場の営業を妨げないことができる。
(MAXベットスイッチが無効検知のときの他のメインスイッチの処理3)
MAXベットスイッチが無効検知となり、その状態が継続しているときに他のメインスイッチが操作された場合の処理を説明する。MAXベットスイッチが無効検知状態のときに、スタートスイッチの有効期間においてスタートスイッチセンサがスタートスイッチの操作を検知したときはスタートスイッチに基づく所定の処理を実行し、左ストップスイッチの有効期間において左ストップスイッチセンサが左ストップスイッチの操作を検知したときは左ストップスイッチに基づく所定の処理を実行し、中ストップスイッチの有効期間において中ストップスイッチセンサが中ストップスイッチの操作を検知したときは中ストップスイッチに基づく所定の処理を実行し、右ストップスイッチの有効期間において右ストップスイッチセンサが右ストップスイッチの操作を検知したときは右ストップスイッチに基づく所定の処理を実行し、精算スイッチの有効期間において精算スイッチセンサが精算スイッチの操作を検知したときは精算スイッチに基づく所定の処理を実行し、リセットスイッチの有効期間においてリセットスイッチセンサがリセットスイッチの操作を検知したときはリセットスイッチに基づく所定の処理を実行するよう構成されている。
このように構成されていることで、MAXベットスイッチが故障で常にONとなってしまった場合においても、遊技を進行できるため、遊技中のどのタイミングでMAXベットスイッチが故障しても当該遊技を完了させることができる。これにより、遊技開始時に遊技者が使用したベット分の遊技は実行できるため、遊技者と遊技場のトラブルを防ぐことができる。また、精算スイッチに基づく所定の処理を実行することで、遊技者が貯留しているメダルを排出することができ、遊技者がいつでも遊技停止させることができる。さらに、リセットスイッチに基づく所定の処理が実行可能であるため、MAXベットスイッチが故障で常にONとなってしまっており、且つ所定のエラーが同時に発生している場合においても、リセットスイッチの操作によって所定のエラー解除が可能となり、所定のエラーに係る警告音の出力を止めることができるので、遊技場の営業や他の遊技者の遊技を妨げないことができる。
(MAXベットスイッチが無効検知のときの他のメインスイッチの処理4)
MAXベットスイッチが無効検知となり、その状態が継続しているときに他のメインスイッチが操作された場合の処理を説明する。MAXベットスイッチが無効検知状態のときに、スタートスイッチの有効期間においてスタートスイッチセンサがスタートスイッチの操作を検知したときはスタートスイッチに基づく所定の処理を実行せず、左ストップスイッチの有効期間において左ストップスイッチセンサが左ストップスイッチの操作を検知したときは左ストップスイッチに基づく所定の処理を実行し、中ストップスイッチの有効期間において中ストップスイッチセンサが中ストップスイッチの操作を検知したときは中ストップスイッチに基づく所定の処理を実行し、右ストップスイッチの有効期間において右ストップスイッチセンサが右ストップスイッチの操作を検知したときは右ストップスイッチに基づく所定の処理を実行し、精算スイッチの有効期間において精算スイッチセンサが精算スイッチの操作を検知したときは精算スイッチに基づく所定の処理を実行せず、リセットスイッチの有効期間においてリセットスイッチセンサがリセットスイッチの操作を検知したときはリセットスイッチに基づく所定の処理を実行するよう構成されている。
このように構成されていることで、MAXベットスイッチが故障で常にONとなってしまった場合においても、遊技中であれば遊技を進行できる(例えば、リール回転中であれば停止ボタンの操作が有効であるのでリールの回転を停止させることができる)ため、遊技中のどのタイミングでMAXベットスイッチが故障しても当該遊技を完了させることができ、遊技開始時に遊技者が使用したベット分の遊技は実行できるため、遊技者と遊技場のトラブルを防ぐことができる。また、MAXベットスイッチが故障している状態で新たに遊技を開始できないようにしているため、遊技者と遊技場のトラブルを防ぐことができる。また、精算スイッチに基づく所定の処理を実行しないことで、不正行為によりMAXベットスイッチが故障した場合の精算を防ぐことができ、遊技場が不正に利益を搾取されることを防ぐことができる。さらに、リセットスイッチに基づく所定の処理が実行可能であるため、MAXベットスイッチが故障で常にONとなってしまっており、且つ所定のエラーが発生している場合においても、リセットスイッチの操作によって所定のエラー解除が可能となり、所定のエラーに係る警告音の出力を止めることができるので、遊技場の営業や他の遊技者の遊技を妨げないようにすることができる。
(スタートスイッチが無効検知のときの他のメインスイッチの処理1)
スタートスイッチが無効検知となり、その状態が継続しているときに他のメインスイッチが操作された場合の処理を説明する。スタートスイッチが無効検知状態のときに、MAXベットスイッチの有効期間においてMAXベットスイッチセンサがMAXベットスイッチの操作を検知したときはMAXベットスイッチに基づく所定の処理を実行せず、左ストップスイッチの有効期間において左ストップスイッチセンサが左ストップスイッチの操作を検知したときは左ストップスイッチに基づく所定の処理を実行せず、中ストップスイッチの有効期間において中ストップスイッチセンサが中ストップスイッチの操作を検知したときは中ストップスイッチに基づく所定の処理を実行せず、右ストップスイッチの有効期間において右ストップスイッチセンサが右ストップスイッチの操作を検知したときは右ストップスイッチに基づく所定の処理を実行せず、精算スイッチの有効期間において精算スイッチセンサが精算スイッチの操作を検知したときは精算スイッチに基づく所定の処理を実行せず、リセットスイッチの有効期間においてリセットスイッチセンサがリセットスイッチの操作を検知したときはリセットスイッチに基づく所定の処理を実行するよう構成されている。
このように構成されていることで、スタートスイッチが故障で常にONとなってしまった場合は、他のメインスイッチ(リセットスイッチを除く)に基づく所定の処理を実行しないため、スタートスイッチが故障していることが察知しやすくなる。また、精算スイッチに基づく所定の処理を実行しないことで、不正行為によりスタートスイッチが故障した場合の精算を防ぐことができ、遊技場が不正に利益を搾取されることを防ぐことができる。さらに、リセットスイッチに基づく所定の処理が実行可能であるため、スタートスイッチが故障で常にONとなってしまっており、且つ所定のエラーが発生している場合においても、リセットスイッチの操作によって所定のエラー解除が可能となり、所定のエラーに係る警告音の出力を止めることができるので、遊技場の営業や他の遊技者の遊技を妨げないようにすることができる。
(スタートスイッチが無効検知のときの他のメインスイッチの処理2)
スタートスイッチが無効検知となり、その状態が継続しているときに他のメインスイッチが操作された場合の処理を説明する。スタートスイッチが無効検知状態のときに、MAXベットスイッチの有効期間においてMAXベットスイッチセンサがMAXベットスイッチの操作を検知したときはMAXベットスイッチに基づく所定の処理を実行せず、左ストップスイッチの有効期間において左ストップスイッチセンサが左ストップスイッチの操作を検知したときは左ストップスイッチに基づく所定の処理を実行せず、中ストップスイッチの有効期間において中ストップスイッチセンサが中ストップスイッチの操作を検知したときは中ストップスイッチに基づく所定の処理を実行せず、右ストップスイッチの有効期間において右ストップスイッチセンサが右ストップスイッチの操作を検知したときは右ストップスイッチに基づく所定の処理を実行せず、精算スイッチの有効期間において精算スイッチセンサが精算スイッチの操作を検知したときは精算スイッチに基づく所定の処理を実行し、リセットスイッチの有効期間においてリセットスイッチセンサがリセットスイッチの操作を検知したときはリセットスイッチに基づく所定の処理を実行するよう構成されている。
このように構成されていることで、スタートスイッチが故障で常にONとなってしまった場合は、他のメインスイッチ(精算スイッチ、リセットスイッチを除く)に基づく所定の処理を実行しないため、スタートスイッチが故障していることが察知しやすくなる。また、精算スイッチに基づく所定の処理を実行することで、遊技者が貯留しているメダルを排出することができ、遊技者がいつでも遊技停止させることができる。さらに、リセットスイッチに基づく所定の処理が実行可能であるため、スタートスイッチが故障で常にONとなってしまっており、且つ所定のエラーが発生している場合においても、リセットスイッチの操作によって所定のエラー解除が可能となり、所定のエラーに係る警告音の出力を止めることができるので、遊技場の営業や他の遊技者の遊技を妨げないようにすることができる。
(スタートスイッチが無効検知のときの他のメインスイッチの処理3)
スタートスイッチが無効検知となり、その状態が継続しているときに他のメインスイッチが操作された場合の処理を説明する。スタートスイッチが無効検知状態のときに、MAXベットスイッチの有効期間においてMAXベットスイッチセンサがMAXベットスイッチの操作を検知したときはMAXベットスイッチに基づく所定の処理を実行し、左ストップスイッチの有効期間において左ストップスイッチセンサが左ストップスイッチの操作を検知したときは左ストップスイッチに基づく所定の処理を実行し、中ストップスイッチの有効期間において中ストップスイッチセンサが中ストップスイッチの操作を検知したときは中ストップスイッチに基づく所定の処理を実行し、右ストップスイッチの有効期間において右ストップスイッチセンサが右ストップスイッチの操作を検知したときは右ストップスイッチに基づく所定の処理を実行し、精算スイッチの有効期間において精算スイッチセンサが精算スイッチの操作を検知したときは精算スイッチに基づく所定の処理を実行し、リセットスイッチの有効期間においてリセットスイッチセンサがリセットスイッチの操作を検知したときはリセットスイッチに基づく所定の処理を実行するよう構成されている。
このように構成されていることで、スタートスイッチが故障で常にONとなってしまった場合においても、遊技を進行できるため、遊技中のどのタイミングでスタートスイッチが故障しても当該遊技を完了させることができる。これにより、遊技開始時に遊技者が使用したベット分の遊技は実行できるため、遊技者と遊技場のトラブルを防ぐことができる。また、精算スイッチに基づく所定の処理を実行することで、遊技者が貯留しているメダルを排出することができ、遊技者がいつでも遊技停止させることができる。さらに、リセットスイッチに基づく所定の処理が実行可能であるため、スタートスイッチが故障で常にONとなってしまっており、且つ所定のエラーが発生している場合においても、リセットスイッチの操作によって所定のエラー解除が可能となり、所定のエラーに係る警告音の出力を止めることができるので、遊技場の営業や他の遊技者の遊技を妨げないようにすることができる。
(スタートスイッチが無効検知のときの他のメインスイッチの処理4)
スタートスイッチが無効検知となり、その状態が継続しているときに他のメインスイッチが操作された場合の処理を説明する。スタートスイッチが無効検知状態のときに、MAXベットスイッチの有効期間においてMAXベットスイッチセンサがMAXベットスイッチの操作を検知したときはMAXベットスイッチに基づく所定の処理を実行せず、左ストップスイッチの有効期間において左ストップスイッチセンサが左ストップスイッチの操作を検知したときは左ストップスイッチに基づく所定の処理を実行し、中ストップスイッチの有効期間において中ストップスイッチセンサが中ストップスイッチの操作を検知したときは中ストップスイッチに基づく所定の処理を実行し、右ストップスイッチの有効期間において右ストップスイッチセンサが右ストップスイッチの操作を検知したときは右ストップスイッチに基づく所定の処理を実行し、精算スイッチの有効期間において精算スイッチセンサが精算スイッチの操作を検知したときは精算スイッチに基づく所定の処理を実行せず、リセットスイッチの有効期間においてリセットスイッチセンサがリセットスイッチの操作を検知したときはリセットスイッチに基づく所定の処理を実行するよう構成されている。
このように構成されていることで、スタートスイッチが故障で常にONとなってしまった場合においても、遊技中であれば遊技を進行できる(例えば、リール回転中であれば停止ボタンの操作が有効であるのでリールの回転を停止させることができる)ため、遊技中のどのタイミングでスタートスイッチが故障しても当該遊技を完了させることができ、遊技開始時に遊技者が使用したベット分の遊技は実行できるため、遊技者と遊技場のトラブルを防ぐことができる。また、スタートスイッチが故障している状態で新たにベットされないため遊技を開始できにくいようにしているため、遊技者と遊技場のトラブルを防ぐことができる。また、精算スイッチに基づく所定の処理を実行しないことで、不正行為によりMAXベットスイッチが故障した場合の精算を防ぐことができ、遊技場が不正に利益を搾取されることを防ぐことができる。さらに、リセットスイッチに基づく所定の処理が実行可能であるため、スタートスイッチが故障で常にONとなってしまっており、且つ所定のエラーが発生している場合においても、リセットスイッチの操作によって所定のエラー解除が可能となり、所定のエラーに係る警告音の出力を止めることができるので、遊技場の営業や他の遊技者の遊技を妨げないようにすることができる。
(左ストップスイッチが無効検知のときの他のメインスイッチの処理1)
左ストップスイッチが無効検知となり、その状態が継続しているときに他のメインスイッチが操作された場合の処理を説明する。左ストップスイッチが無効検知状態のときに、MAXベットスイッチの有効期間においてMAXベットスイッチセンサがMAXベットスイッチの操作を検知したときはMAXベットスイッチに基づく所定の処理を実行せず、スタートスイッチの有効期間においてスタートスイッチセンサがスタートスイッチの操作を検知したときはスタートスイッチに基づく所定の処理を実行せず、中ストップスイッチの有効期間において中ストップスイッチセンサが中ストップスイッチの操作を検知したときは中ストップスイッチに基づく所定の処理を実行せず、右ストップスイッチの有効期間において右ストップスイッチセンサが右ストップスイッチの操作を検知したときは右ストップスイッチに基づく所定の処理を実行せず、精算スイッチの有効期間において精算スイッチセンサが精算スイッチの操作を検知したときは精算スイッチに基づく所定の処理を実行せず、リセットスイッチの有効期間においてリセットスイッチセンサがリセットスイッチの操作を検知したときはリセットスイッチに基づく所定の処理を実行するよう構成されている。
このように構成されていることで、左ストップスイッチが故障で常にONとなってしまった場合は、他のメインスイッチに基づく所定の処理を実行しないため、左ストップスイッチが故障していることが察知しやすくなる。また、精算スイッチに基づく所定の処理を実行しないことで、不正行為により左ストップスイッチが故障した場合の精算を防ぐことができ、遊技場が不正に利益を搾取されることを防ぐことができる。さらに、リセットスイッチに基づく所定の処理が実行可能であるため、左ストップスイッチが故障で常にONとなってしまっており、且つ所定のエラーが発生している場合においても、リセットスイッチの操作によって所定のエラー解除が可能となり、所定のエラーに係る警告音の出力を止めることができるので、遊技場の営業や他の遊技者の遊技を妨げないようにすることができる。
(左ストップスイッチが無効検知のときの他のメインスイッチの処理2)
左ストップスイッチが無効検知となり、その状態が継続しているときに他のメインスイッチが操作された場合の処理を説明する。左ストップスイッチが無効検知状態のときに、MAXベットスイッチの有効期間においてMAXベットスイッチセンサがMAXベットスイッチの操作を検知したときはMAXベットスイッチに基づく所定の処理を実行せず、スタートスイッチの有効期間においてスタートスイッチセンサがスタートスイッチの操作を検知したときはスタートスイッチに基づく所定の処理を実行せず、中ストップスイッチの有効期間において中ストップスイッチセンサが中ストップスイッチの操作を検知したときは中ストップスイッチに基づく所定の処理を実行せず、右ストップスイッチの有効期間において右ストップスイッチセンサが右ストップスイッチの操作を検知したときは右ストップスイッチに基づく所定の処理を実行せず、精算スイッチの有効期間において精算スイッチセンサが精算スイッチの操作を検知したときは精算スイッチに基づく所定の処理を実行し、リセットスイッチの有効期間においてリセットスイッチセンサがリセットスイッチの操作を検知したときはリセットスイッチに基づく所定の処理を実行するよう構成されている。
このように構成されていることで、左ストップスイッチが故障で常にONとなってしまった場合は、他のメインスイッチに基づく所定の処理を実行しないため、左ストップスイッチが故障していることが察知しやすくなる。また、精算スイッチに基づく所定の処理を実行することで、遊技者が貯留しているメダルを排出することができ、遊技者がいつでも遊技停止できるようにすることができる。さらに、リセットスイッチに基づく所定の処理が実行可能であるため、左ストップスイッチが故障で常にONとなってしまっており、且つ所定のエラーが発生している場合においても、リセットスイッチの操作によって所定のエラー解除が可能となり、所定のエラーに係る警告音の出力を止めることができるので、遊技場の営業や他の遊技者の遊技を妨げないようにすることができる。
(左ストップスイッチが無効検知のときの他のメインスイッチの処理3)
左ストップスイッチが無効検知となり、その状態が継続しているときに他のメインスイッチが操作された場合の処理を説明する。左ストップスイッチが無効検知状態のときに、MAXベットスイッチの有効期間においてMAXベットスイッチセンサがMAXベットスイッチの操作を検知したときはMAXベットスイッチに基づく所定の処理を実行し、スタートスイッチの有効期間においてスタートスイッチセンサがスタートスイッチの操作を検知したときはスタートスイッチに基づく所定の処理を実行し、中ストップスイッチの有効期間において中ストップスイッチセンサが中ストップスイッチの操作を検知したときは中ストップスイッチに基づく所定の処理を実行し、右ストップスイッチの有効期間において右ストップスイッチセンサが右ストップスイッチの操作を検知したときは右ストップスイッチに基づく所定の処理を実行し、精算スイッチの有効期間において精算スイッチセンサが精算スイッチの操作を検知したときは精算スイッチに基づく所定の処理を実行し、リセットスイッチの有効期間においてリセットスイッチセンサがリセットスイッチの操作を検知したときはリセットスイッチに基づく所定の処理を実行するよう構成されている。
このように構成されていることで、左ストップスイッチが故障で常にONとなってしまった場合においても、遊技を進行できるため、遊技中のどのタイミングで左ストップスイッチが故障しても当該遊技を完了させることができる。これにより、遊技開始時に遊技者が使用したベット分の遊技は実行できるため、遊技者と遊技場のトラブルを防ぐことができる。また、精算スイッチに基づく所定の処理を実行することで、遊技者が貯留しているメダルを排出することができ、遊技者がいつでも遊技停止できるようにすることができる。さらに、リセットスイッチに基づく所定の処理が実行可能であるため、左ストップスイッチが故障で常にONとなってしまっており、且つ所定のエラーが発生している場合においても、リセットスイッチの操作によって所定のエラー解除が可能となり、所定のエラーに係る警告音の出力を止めることができるので、遊技場の営業や他の遊技者の遊技を妨げないようにすることができる。
(左ストップスイッチが無効検知のときの他のメインスイッチの処理4)
左ストップスイッチが無効検知となり、その状態が継続しているときに他のメインスイッチが操作された場合の処理を説明する。左ストップスイッチが無効検知状態のときに、MAXベットスイッチの有効期間においてMAXベットスイッチセンサがMAXベットスイッチの操作を検知したときはMAXベットスイッチに基づく所定の処理を実行し、スタートスイッチの有効期間においてスタートスイッチセンサがスタートスイッチの操作を検知したときはスタートスイッチに基づく所定の処理を実行し、中ストップスイッチの有効期間において中ストップスイッチセンサが中ストップスイッチの操作を検知したときは中ストップスイッチに基づく所定の処理を実行せず、右ストップスイッチの有効期間において右ストップスイッチセンサが右ストップスイッチの操作を検知したときは右ストップスイッチに基づく所定の処理を実行せず、精算スイッチの有効期間において精算スイッチセンサが精算スイッチの操作を検知したときは精算スイッチに基づく所定の処理を実行し、リセットスイッチの有効期間においてリセットスイッチセンサがリセットスイッチの操作を検知したときはリセットスイッチに基づく所定の処理を実行するよう構成されている。
このように構成されていることで、左ストップスイッチが故障で常にONとなってしまった場合は、中、右ストップスイッチに基づく所定の処理を実行しないため、左ストップスイッチが故障していることが察知しやすくなる。また、精算スイッチに基づく所定の処理を実行することで、遊技者が貯留しているメダルを排出することができ、遊技者がいつでも遊技停止させることができる。さらに、リセットスイッチに基づく所定の処理が実行可能であるため、左ストップスイッチが故障で常にONとなってしまっており、且つ所定のエラーが発生している場合においても、リセットスイッチの操作によって所定のエラー解除が可能となり、所定のエラーに係る警告音の出力を止めることができるので、遊技場の営業や他の遊技者の遊技を妨げないようにすることができる。
なお、中ストップスイッチが無効検知のときの他のメインスイッチの処理、及び右ストップスイッチが無効検知のときの他のメインスイッチの処理は、上述した左ストップスイッチが無効検知のときの他のメインスイッチの処理1~4と同様となるため、記載を省略する。
(精算スイッチが無効検知のときの他のメインスイッチの処理1)
精算スイッチが無効検知となり、その状態が継続しているときに他のメインスイッチが操作された場合の処理を説明する。精算スイッチが無効検知状態のときに、MAXベットスイッチの有効期間においてMAXベットスイッチセンサがMAXベットスイッチの操作を検知したときはMAXベットスイッチに基づく所定の処理を実行せず、スタートスイッチの有効期間においてスタートスイッチセンサがスタートスイッチの操作を検知したときはスタートスイッチに基づく所定の処理を実行せず、左ストップスイッチの有効期間において左ストップスイッチセンサが左ストップスイッチの操作を検知したときは左ストップスイッチに基づく所定の処理を実行せず、中ストップスイッチの有効期間において中ストップスイッチセンサが中ストップスイッチの操作を検知したときは中ストップスイッチに基づく所定の処理を実行せず、右ストップスイッチの有効期間において右ストップスイッチセンサが右ストップスイッチの操作を検知したときは右ストップスイッチに基づく所定の処理を実行せず、リセットスイッチの有効期間においてリセットスイッチセンサがリセットスイッチの操作を検知したときはリセットスイッチに基づく所定の処理を実行するよう構成されている。
このように構成されていることで、精算スイッチが故障で常にONとなってしまった場合は、他のメインスイッチに基づく所定の処理を実行しないため、精算スイッチが故障していることが察知しやすくなる。また、精算スイッチに基づく所定の処理を実行しないことで、不正行為によってリセットスイッチが操作されたときの精算を防ぐことができ、遊技場が不正に利益を搾取されることを防ぐことができる。さらに、リセットスイッチに基づく所定の処理が実行可能であるため、精算スイッチが故障で常にONとなってしまっており、且つ所定のエラーが発生している場合においても、リセットスイッチの操作によって所定のエラー解除が可能となり、所定のエラーに係る警告音の出力を止めることができるので、遊技場の営業や他の遊技者の遊技を妨げないようにすることができる。
(精算スイッチが無効検知のときの他のメインスイッチの処理2)
精算スイッチが無効検知となり、その状態が継続しているときに他のメインスイッチが操作された場合の処理を説明する。精算スイッチが無効検知状態のときに、MAXベットスイッチの有効期間においてMAXベットスイッチセンサがMAXベットスイッチの操作を検知したときはMAXベットスイッチに基づく所定の処理を実行し、スタートスイッチの有効期間においてスタートスイッチセンサがスタートスイッチの操作を検知したときはスタートスイッチに基づく所定の処理を実行し、左ストップスイッチの有効期間において左ストップスイッチセンサが左ストップスイッチの操作を検知したときは左ストップスイッチに基づく所定の処理を実行し、中ストップスイッチの有効期間において中ストップスイッチセンサが中ストップスイッチの操作を検知したときは中ストップスイッチに基づく所定の処理を実行し、右ストップスイッチの有効期間において右ストップスイッチセンサが右ストップスイッチの操作を検知したときは右ストップスイッチに基づく所定の処理を実行し、リセットスイッチの有効期間においてリセットスイッチセンサがリセットスイッチの操作を検知したときはリセットスイッチに基づく所定の処理を実行するよう構成されている。
このように構成されていることで、精算スイッチが故障で常にONとなってしまった場合においても、遊技を進行できるため、遊技中のどのタイミングで精算スイッチが故障しても当該遊技を完了させることができる。これにより、遊技開始時に遊技者が使用したベット分の遊技は実行できるため、遊技者と遊技場のトラブルを防ぐことができる。さらに、リセットスイッチに基づく所定の処理が実行可能であるため、精算スイッチが故障で常にONとなってしまっており、且つ所定のエラーが発生している場合においても、リセットスイッチの操作によって所定のエラー解除が可能となり、所定のエラーに係る警告音の出力を止めることができるので、遊技場の営業や他の遊技者の遊技を妨げないようにすることができる。
(精算スイッチが無効検知のときの他のメインスイッチの処理3)
精算スイッチが無効検知となり、その状態が継続しているときに他のメインスイッチが操作された場合の処理を説明する。精算スイッチが無効検知状態のときに、MAXベットスイッチの有効期間においてMAXベットスイッチセンサがMAXベットスイッチの操作を検知したときはMAXベットスイッチに基づく所定の処理を実行せず、スタートスイッチの有効期間においてスタートスイッチセンサがスタートスイッチの操作を検知したときはスタートスイッチに基づく所定の処理を実行せず、左ストップスイッチの有効期間において左ストップスイッチセンサが左ストップスイッチの操作を検知したときは左ストップスイッチに基づく所定の処理を実行し、中ストップスイッチの有効期間において中ストップスイッチセンサが中ストップスイッチの操作を検知したときは中ストップスイッチに基づく所定の処理を実行し、右ストップスイッチの有効期間において右ストップスイッチセンサが右ストップスイッチの操作を検知したときは右ストップスイッチに基づく所定の処理を実行し、リセットスイッチの有効期間においてリセットスイッチセンサがリセットスイッチの操作を検知したときはリセットスイッチに基づく所定の処理を実行するよう構成されている。
このように構成されていることで、精算スイッチが故障で常にONとなってしまった場合においても、遊技中であれば遊技を進行できる(例えば、リール回転中であれば停止ボタンの操作が有効であるのでリールの回転を停止させることができる)ため、遊技中のどのタイミングで精算スイッチが故障しても当該遊技を完了させることができ、遊技開始時に遊技者が使用したベット分の遊技は実行できるため、遊技者と遊技場のトラブルを防ぐことができる。また、精算スイッチが故障している状態で新たにベットされないため新たに遊技が開始されにくいようにしているため、遊技者と遊技場のトラブルを防ぐことができる。さらに、リセットスイッチに基づく所定の処理が実行可能であるため、精算スイッチが故障で常にONとなってしまっており、且つ所定のエラーが発生している場合においても、リセットスイッチの操作によって所定のエラー解除が可能となり、所定のエラーに係る警告音の出力を止めることができるので、遊技場の営業や他の遊技者の遊技を妨げないようにすることができる。
(リセットスイッチが無効検知のときの他のメインスイッチの処理1)
リセットスイッチが無効検知となり、その状態が継続しているときに他のメインスイッチが操作された場合の処理を説明する。リセットスイッチが無効検知状態のときに、MAXベットスイッチの有効期間においてMAXベットスイッチセンサがMAXベットスイッチの操作を検知したときはMAXベットスイッチに基づく所定の処理を実行せず、スタートスイッチの有効期間においてスタートスイッチセンサがスタートスイッチの操作を検知したときはスタートスイッチに基づく所定の処理を実行せず、左ストップスイッチの有効期間において左ストップスイッチセンサが左ストップスイッチの操作を検知したときは左ストップスイッチに基づく所定の処理を実行せず、中ストップスイッチの有効期間において中ストップスイッチセンサが中ストップスイッチの操作を検知したときは中ストップスイッチに基づく所定の処理を実行せず、右ストップスイッチの有効期間において右ストップスイッチセンサが右ストップスイッチの操作を検知したときは右ストップスイッチに基づく所定の処理を実行せず、精算スイッチの有効期間において精算スイッチセンサが精算スイッチの操作を検知したときは精算スイッチに基づく所定の処理を実行しないよう構成されている。
このように構成されていることで、リセットスイッチが故障で常にONとなってしまった場合は、他のメインスイッチに基づく所定の処理を実行しないため、リセットスイッチが故障していることが察知しやすくなる。また、精算スイッチに基づく所定の処理を実行しないことで、不正行為によってリセットスイッチが操作されたときの精算を防ぐことができ、遊技場が不正に利益を搾取されることを防ぐことができる。さらに、リセットスイッチが無効検知状態でエラーが発生したときはエラーが解除できなくなるため、不正な手段でエラーを解除させる不正行為を防ぐことができる。
(リセットスイッチが無効検知のときの他のメインスイッチの処理2)
リセットスイッチが無効検知となり、その状態が継続しているときに他のメインスイッチが操作された場合の処理を説明する。リセットスイッチが無効検知状態のときに、MAXベットスイッチの有効期間においてMAXベットスイッチセンサがMAXベットスイッチの操作を検知したときはMAXベットスイッチに基づく所定の処理を実行せず、スタートスイッチの有効期間においてスタートスイッチセンサがスタートスイッチの操作を検知したときはスタートスイッチに基づく所定の処理を実行せず、左ストップスイッチの有効期間において左ストップスイッチセンサが左ストップスイッチの操作を検知したときは左ストップスイッチに基づく所定の処理を実行せず、中ストップスイッチの有効期間において中ストップスイッチセンサが中ストップスイッチの操作を検知したときは中ストップスイッチに基づく所定の処理を実行せず、右ストップスイッチの有効期間において右ストップスイッチセンサが右ストップスイッチの操作を検知したときは右ストップスイッチに基づく所定の処理を実行せず、精算スイッチの有効期間において精算スイッチセンサが精算スイッチの操作を検知したときは精算スイッチに基づく所定の処理を実行するよう構成されている。
このように構成されていることで、リセットスイッチが故障で常にONとなってしまった場合は、他のメインスイッチ(精算スイッチを除く)に基づく所定の処理を実行しないため、リセットスイッチが故障していることが察知しやすくなる。また、精算スイッチに基づく所定の処理を実行することで、遊技者が貯留しているメダルを排出することができ、遊技者がいつでも遊技停止させることができる。さらに、リセットスイッチが無効検知状態でエラーが発生したときはエラーが解除できなくなるため、不正な手段でエラーを解除させる不正行為を防ぐことができる。さらに、リセットスイッチが無効検知状態でエラーが発生したときはエラーが解除できなくなるため、不正な手段でエラーを解除させる不正行為を防ぐことができる。
(リセットスイッチが無効検知のときの他のメインスイッチの処理3)
リセットスイッチが無効検知となり、その状態が継続しているときに他のメインスイッチが操作された場合の処理を説明する。リセットスイッチが無効検知状態のときに、MAXベットスイッチの有効期間においてMAXベットスイッチセンサがMAXベットスイッチの操作を検知したときはMAXベットスイッチに基づく所定の処理を実行し、スタートスイッチの有効期間においてスタートスイッチセンサがスタートスイッチの操作を検知したときはスタートスイッチに基づく所定の処理を実行し、左ストップスイッチの有効期間において左ストップスイッチセンサが左ストップスイッチの操作を検知したときは左ストップスイッチに基づく所定の処理を実行し、中ストップスイッチの有効期間において中ストップスイッチセンサが中ストップスイッチの操作を検知したときは中ストップスイッチに基づく所定の処理を実行し、右ストップスイッチの有効期間において右ストップスイッチセンサが右ストップスイッチの操作を検知したときは右ストップスイッチに基づく所定の処理を実行し、精算スイッチの有効期間において精算スイッチセンサが精算スイッチの操作を検知したときは精算スイッチに基づく所定の処理を実行するよう構成されている。
このように構成されていることで、リセットスイッチが故障で常にONとなってしまった場合においても、遊技を進行できるため、遊技中のどのタイミングでリセットスイッチが故障しても当該遊技を完了させることができる。これにより、遊技開始時に遊技者が使用したベット分の遊技は実行できるため、遊技者と遊技場のトラブルを防ぐことができる。また、精算スイッチに基づく所定の処理を実行することで、遊技者が貯留しているメダルを排出することができ、遊技者がいつでも遊技停止できるようにすることができる。さらに、リセットスイッチが無効検知状態でエラーが発生したときはエラーが解除できなくなるため、不正な手段でエラーを解除させる不正行為を防ぐことができる。
(リセットスイッチが無効検知のときの他のメインスイッチの処理4)
リセットスイッチが無効検知となり、その状態が継続しているときに他のメインスイッチが操作された場合の処理を説明する。リセットスイッチが無効検知状態のときに、MAXベットスイッチの有効期間においてMAXベットスイッチセンサがMAXベットスイッチの操作を検知したときはMAXベットスイッチに基づく所定の処理を実行せず、スタートスイッチの有効期間においてスタートスイッチセンサがスタートスイッチの操作を検知したときはスタートスイッチに基づく所定の処理を実行し、左ストップスイッチの有効期間において左ストップスイッチセンサが左ストップスイッチの操作を検知したときは左ストップスイッチに基づく所定の処理を実行し、中ストップスイッチの有効期間において中ストップスイッチセンサが中ストップスイッチの操作を検知したときは中ストップスイッチに基づく所定の処理を実行し、右ストップスイッチの有効期間において右ストップスイッチセンサが右ストップスイッチの操作を検知したときは右ストップスイッチに基づく所定の処理を実行し、精算スイッチの有効期間において精算スイッチセンサが精算スイッチの操作を検知したときは精算スイッチに基づく所定の処理を実行しないよう構成されている。
このように構成されていることで、リセットスイッチが故障で常にONとなってしまった場合においても、遊技を進行できる(例えば、リール回転中であれば停止ボタンの操作が有効であるのでリールの回転を停止させることができる)ため、遊技中のどのタイミングでリセットスイッチが故障しても当該遊技を完了させることができる。ただし、MAXベットスイッチセンサがMAXベットスイッチの操作を検知しても所定の処理を実行しないため、新たに遊技を開始することは困難になっている。また、精算スイッチに基づく所定の処理を実行しないことで、不正行為によってリセットスイッチが操作されたときの精算を防ぐことができ、遊技場が不正に利益を搾取されることを防ぐことができる。さらに、リセットスイッチが無効検知状態でエラーが発生したときはエラーが解除できなくなるため、不正な手段でエラーを解除させる不正行為を防ぐことができる。
なお、リセットスイッチが無効検知状態でエラーが発生したときに当該エラーが解除できなくなるのは、リセットスイッチ信号の立ち上がり信号に基づいてエラー解除を実行しているためであり、リセットスイッチが無効検知状態の場合は立ち上がり信号がONとならないため、エラーが解除できなくなっている。また、エラー解除を立ち上がり信号ではなく、立ち下がり信号をもとに解除する(OFF→ON→OFFでエラー解除)よう構成した場合は、不正操作によってエラーを解除する際にリセットスイッチをONとOFFにしないといけないため、よりエラー解除が困難な構成とすることができる。
(MAXベットスイッチが有効検知のときの他のメインスイッチの処理)
MAXベットスイッチが有効検知となり、その状態が継続しているときに他のメインスイッチが操作された場合の処理を説明する。なお、MAXベットスイッチが有効検知となった状況で他のメインスイッチのうち操作が有効となり得るものとしては、スタートスイッチ、精算スイッチ、又はリセットスイッチが該当する。MAXベットスイッチが有効検知状態のときに、スタートスイッチの有効期間においてスタートスイッチセンサがスタートスイッチの操作を検知したときはスタートスイッチに基づく所定の処理を実行しないよう構成されている。このような構成と前述したMAXベットスイッチが無効検知のときの他のメインスイッチの処理3とを組み合わせることで、MAXベットスイッチが無効検知状態のときに、スタートスイッチの有効期間においてスタートスイッチセンサがスタートスイッチの操作を検知したときはスタートスイッチに基づく所定の処理を実行し、MAXベットスイッチが有効検知状態のときに、スタートスイッチの有効期間においてスタートスイッチセンサがスタートスイッチの操作を検知したときはスタートスイッチに基づく所定の処理を実行しないという構成となる。
このように構成することで、MAXベットスイッチの不正操作により遊技が進行してしまう不正を防止することができる。つまり、MAXベットスイッチが有効検知した後にスイッチが継続して操作されている状態は不正の可能性が高いとして、遊技の進行を不可能にし、MAXベットスイッチが無効検知した後にスイッチが継続して操作されている状態は不正の可能性が低いとして、遊技の進行を可能にしている。
また、MAXベットスイッチが有効検知状態のときに、精算スイッチの有効期間において精算スイッチセンサが精算スイッチの操作を検知したときは精算スイッチに基づく所定の処理を実行しないよう構成されている。このような構成と前述したMAXベットスイッチが無効検知のときの他のメインスイッチの処理2、又は3とを組み合わせることで、MAXベットスイッチが無効検知状態のときに、精算スイッチの有効期間において精算スイッチセンサが精算スイッチの操作を検知したときは精算スイッチに基づく所定の処理を実行し、MAXベットスイッチが有効検知状態のときに、精算スイッチの有効期間において精算スイッチセンサが精算スイッチの操作を検知したときは精算スイッチに基づく所定の処理を実行しないという構成となる。
このように構成することで、MAXベットスイッチの不正操作により遊技が精算されてしまう不正を防止することができる。つまり、MAXベットスイッチが有効検知した後にスイッチが継続して操作されている状態は不正の可能性が高いとして、遊技の精算を不可能にし、MAXベットスイッチが無効検知した後にスイッチが継続して操作されている状態は不正の可能性が低いとして、遊技の精算を可能にしている。
また、MAXベットスイッチが有効検知状態のときに、リセットスイッチの有効期間においてリセットスイッチセンサがリセットスイッチセンサの操作を検知したときはリセットスイッチに基づく所定の処理を実行しないよう構成されている。このような構成と前述したMAXベットスイッチが無効検知のときの他のメインスイッチの処理1、2、3、又は4とを組み合わせることで、MAXベットスイッチが無効検知状態のときに、リセットスイッチの有効期間においてリセットスイッチセンサがリセットスイッチの操作を検知したときはリセットスイッチに基づく所定の処理を実行し、MAXベットスイッチが有効検知状態のときに、リセットスイッチの有効期間においてリセットスイッチセンサがリセットスイッチの操作を検知したときはリセットスイッチに基づく所定の処理を実行しないという構成となる。
このように構成することで、MAXベットスイッチの不正操作によりエラーが解除されてしまう不正を防止することができる。つまり、MAXベットスイッチが有効検知した後にスイッチが継続して操作されている状態は不正の可能性が高いとして、エラー解除を不可能にし、MAXベットスイッチが無効検知した後にスイッチが継続して操作されている状態は不正の可能性が低いとして、エラー解除を可能にしている。
(スタートスイッチが有効検知のときの他のメインスイッチの処理)
スタートスイッチが有効検知となり、その状態が継続しているときに他のメインスイッチが操作された場合の処理を説明する。なお、スタートスイッチが有効検知となった状況で他のメインスイッチのうち操作が有効となり得るものとしては、ストップスイッチ(左ストップスイッチ、中ストップスイッチ、右ストップスイッチ)、又はリセットスイッチが該当する。スタートスイッチが有効検知状態のときに、ストップスイッチの有効期間においてストップスイッチセンサがストップスイッチの操作を検知したときはストップスイッチに基づく所定の処理を実行しないよう構成されている。このような構成と前述したスタートスイッチが無効検知のときの他のメインスイッチの処理3、又は4とを組み合わせることで、スタートスイッチが無効検知状態のときに、ストップスイッチの有効期間においてストップスイッチセンサがストップスイッチの操作を検知したときはストップスイッチに基づく所定の処理を実行し、スタートスイッチが有効検知状態のときに、ストップスイッチの有効期間においてストップスイッチセンサがストップスイッチの操作を検知したときはストップスイッチに基づく所定の処理を実行しないという構成となる。
このように構成することで、スタートスイッチの不正操作により遊技が進行してしまう不正を防止することができる。つまり、スタートスイッチが有効検知した後にスイッチが継続して操作されている状態は不正の可能性が高いとして、遊技の進行を不可能にし、スタートスイッチが無効検知した後にスイッチが継続して操作されている状態は不正の可能性が低いとして、遊技の進行を可能にしている。
また、スタートスイッチが有効検知状態のときに、リセットスイッチの有効期間においてリセットスイッチセンサがリセットスイッチの操作を検知したときはリセットスイッチに基づく所定の処理を実行しないよう構成されている。このような構成と前述したスタートスイッチが無効検知のときの他のメインスイッチの処理1、2、3、又は4とを組み合わせることで、スタートスイッチが無効検知状態のときに、リセットスイッチの有効期間においてリセットスイッチセンサがリセットスイッチの操作を検知したときはリセットスイッチに基づく所定の処理を実行し、スタートスイッチが有効検知状態のときに、リセットスイッチの有効期間においてリセットスイッチセンサがリセットスイッチの操作を検知したときはリセットスイッチに基づく所定の処理を実行しないという構成となる。
このように構成することで、スタートスイッチの不正操作により遊技が進行してしまう不正を防止することができる。つまり、スタートスイッチが有効検知した後にスイッチが継続して操作されている状態は不正の可能性が高いとして、エラー解除を不可能にし、スタートスイッチが無効検知した後にスイッチが継続して操作されている状態は不正の可能性が低いとして、エラー解除を可能にしている。
また、スタートスイッチが有効検知状態のときに、ストップスイッチの有効期間においてストップスイッチセンサがストップスイッチの操作を検知したときはストップスイッチに基づく所定の処理を実行するよう構成されている。このような構成と前述したスタートスイッチが無効検知のときの他のメインスイッチの処理1、又は2とを組み合わせることで、スタートスイッチが無効検知状態のときに、ストップスイッチの有効期間においてストップスイッチセンサがストップスイッチの操作を検知したときはストップスイッチに基づく所定の処理を実行せず、スタートスイッチが有効検知状態のときに、ストップスイッチの有効期間においてストップスイッチセンサがストップスイッチの操作を検知したときはストップスイッチに基づく所定の処理を実行するという構成となる。
このように構成することで、遊技の進行を停滞させてしまうことでの遊技者への不満を抑え、遊技の進行をスムーズにすることができる。つまり、スタートスイッチが有効検知した後にスイッチが継続して操作されている状態は遊技者が操作したスタートスイッチの操作である可能性が高いとして、遊技を最後まで終了させるために各ストップスイッチの操作を可能にし、スタートスイッチが無効検知した後にスイッチが継続して操作されている状態は遊技者が操作以外の要因(不正、又は故障)によるスタートスイッチの操作である可能性が高いとして、遊技を最後まで終了させないために各ストップスイッチの操作を不可能にしている。
(ストップスイッチが有効検知のときの他のメインスイッチの処理)
ストップスイッチが有効検知となり、その状態が継続しているときに他のメインスイッチが操作された場合の処理を説明する。なお、ストップスイッチが有効検知となった状況で他のメインスイッチのうち操作が有効となり得るものとしては、ストップスイッチ(操作されていないストップスイッチ)、又はリセットスイッチが該当する。全リール回転中の状態において、左ストップスイッチが有効検知状態のときに、中、又は右ストップスイッチの有効期間において中、又は右ストップスイッチセンサが中、又は右ストップスイッチの操作を検知したときは中、又は右ストップスイッチに基づく所定の処理を実行しないよう構成されている。このような構成と前述した左ストップスイッチが無効検知のときの他のメインスイッチの処理3とを組み合わせることで、左ストップスイッチが無効検知状態のときに、中、又は右ストップスイッチの有効期間において中、又は右ストップスイッチセンサが中、又は右ストップスイッチの操作を検知したときは中、又は右ストップスイッチに基づく所定の処理を実行し、左ストップスイッチが有効検知状態のときに、中、又は右ストップスイッチの有効期間において中、又は右ストップスイッチセンサが中、又は右ストップスイッチの操作を検知したときは中、又は右ストップスイッチに基づく所定の処理を実行しないという構成となる。
このように構成することで、左ストップスイッチの不正操作により遊技が進行してしまう不正を防止することができる。つまり、左ストップスイッチが有効検知した後にスイッチが継続して操作されている状態は不正の可能性が高いとして、遊技の進行を不可能にし、左ストップスイッチが無効検知した後にスイッチが継続して操作されている状態は不正の可能性が低いとして、遊技の進行を可能にしている。
また、全リール回転中の状態において、左ストップスイッチが有効検知状態のときに、リセットスイッチの有効期間においてリセットスイッチセンサがリセットスイッチの操作を検知したときはリセットスイッチに基づく所定の処理を実行しないよう構成されている。このような構成と前述した左ストップスイッチが無効検知のときの他のメインスイッチの処理1、2、3、又は4とを組み合わせることで、左ストップスイッチが無効検知状態のときに、リセットスイッチの有効期間においてリセットスイッチセンサがリセットスイッチの操作を検知したときはリセットスイッチに基づく所定の処理を実行し、左ストップスイッチが有効検知状態のときに、リセットスイッチの有効期間においてリセットスイッチセンサがリセットスイッチの操作を検知したときはリセットスイッチに基づく所定の処理を実行しないという構成となる。
このように構成することで、左ストップスイッチの不正操作によりエラーが解除されてしまう不正を防止することができる。つまり、左ストップスイッチが有効検知した後にスイッチが継続して操作されている状態は不正の可能性が高いとして、エラーの解除を不可能にし、左ストップスイッチが無効検知した後にスイッチが継続して操作されている状態は不正の可能性が低いとして、エラーの解除を可能にしている。
また、全リール回転中の状態において、左ストップスイッチが有効検知状態のときに、中、又は右ストップスイッチの有効期間において中、又は右ストップスイッチセンサが中、又は右ストップスイッチの操作を検知したときは中、又は右ストップスイッチに基づく所定の処理を実行するよう構成されている。このような構成と前述した左ストップスイッチが無効検知のときの他のメインスイッチの処理1、2、又は4とを組み合わせることで、左ストップスイッチが無効検知状態のときに、中、又は右ストップスイッチの有効期間において中、又は右ストップスイッチセンサが中、又は右ストップスイッチの操作を検知したときは中、又は右ストップスイッチに基づく所定の処理を実行せず、左ストップスイッチが有効検知状態のときに、中、又は右ストップスイッチの有効期間において中、又は右ストップスイッチセンサが中、又は右ストップスイッチの操作を検知したときは中、又は右ストップスイッチに基づく所定の処理を実行するという構成となる。
このように構成することで、遊技の進行を停滞させてしまうことでの遊技者への不満を抑え、遊技の進行をスムーズにすることができる。つまり、左ストップスイッチが有効検知した後にスイッチが継続して操作されている状態は遊技者が操作した左ストップスイッチの操作である可能性が高いとして、遊技を最後まで終了させるために残りの各ストップスイッチの操作を可能にし、左ストップスイッチが無効検知した後にスイッチが継続して操作されている状態は遊技者が操作以外の要因(不正、又は故障)による左ストップスイッチの操作である可能性が高いとして、遊技を最後まで終了させないために残りの各ストップスイッチの操作を不可能にしている。
(精算スイッチが有効検知のときの他のメインスイッチの処理)
精算スイッチが有効検知となり、その状態が継続しているときに他のメインスイッチが操作された場合の処理を説明する。なお、精算スイッチが有効検知となった状況で他のメインスイッチのうち操作が有効となり得るものとしては、MAXベットスイッチ、又はリセットスイッチが該当する。精算スイッチが有効検知状態のときに、MAXベットスイッチの有効期間においてMAXベットスイッチセンサがMAXベットスイッチの操作を検知したときはMAXベットスイッチに基づく所定の処理を実行しないよう構成されている。このような構成と前述した精算スイッチが無効検知のときの他のメインスイッチの処理2とを組み合わせることで、精算スイッチが無効検知状態のときに、MAXベットスイッチの有効期間においてMAXベットスイッチセンサがMAXベットスイッチの操作を検知したときはMAXベットスイッチに基づく所定の処理を実行し、精算スイッチが有効検知状態のときに、MAXベットスイッチの有効期間においてMAXベットスイッチセンサがMAXベットスイッチの操作を検知したときはMAXベットスイッチに基づく所定の処理を実行しないという構成となる。
このように構成することで、精算スイッチの不正操作により遊技が進行してしまう不正を防止することができる。つまり、精算スイッチが有効検知した後にスイッチが継続して操作されている状態は不正の可能性が高いとして、遊技の進行を不可能にし、精算スイッチが無効検知した後にスイッチが継続して操作されている状態は不正の可能性が低いとして、遊技の進行を可能にしている。なお、精算スイッチの有効検知状態でMAXベットスイッチが操作可能となる状況としては、精算処理としてベットされているときはベット分のみ精算する状況、若しくは精算処理としてベットされているときはベット分を先に精算しその後クレジット分を精算する際のベット分を精算してからクレジット分を精算するまでの間の状況が該当する。
また、精算スイッチが有効検知状態のときに、リセットスイッチの有効期間においてリセットスイッチセンサがリセットスイッチの操作を検知したときはリセットスイッチに基づく所定の処理を実行しないよう構成されている。このような構成と前述した精算スイッチが無効検知のときの他のメインスイッチの処理1、2、又は3とを組み合わせることで、精算スイッチが無効検知状態のときに、リセットスイッチの有効期間においてリセットスイッチセンサがリセットスイッチの操作を検知したときはリセットスイッチに基づく所定の処理を実行し、精算スイッチが有効検知状態のときに、リセットスイッチの有効期間においてリセットスイッチセンサがリセットスイッチの操作を検知したときはリセットスイッチに基づく所定の処理を実行しないという構成となる。
このように構成することで、精算スイッチの不正操作によりエラーが解除されてしまう不正を防止することができる。つまり、精算スイッチが有効検知した後にスイッチが継続して操作されている状態は不正の可能性が高いとして、エラーの解除を不可能にし、精算スイッチが無効検知した後にスイッチが継続して操作されている状態は不正の可能性が低いとして、エラーの解除を可能にしている。
(リセットスイッチが有効検知のときの他のメインスイッチの処理)
リセットスイッチが有効検知となり、その状態が継続しているときに他のメインスイッチが操作された場合の処理を説明する。なお、リセットスイッチが有効検知となった状況で他のメインスイッチのうち操作が有効となり得るものとしては、MAXベットスイッチ、スタートスイッチ、ストップスイッチ又は精算スイッチが該当する。リセットスイッチが有効検知状態のときに、MAXベットスイッチの有効期間においてMAXベットスイッチセンサがMAXベットスイッチの操作を検知したときはMAXベットスイッチに基づく所定の処理を実行しないよう構成されている。このような構成と前述したリセットスイッチが無効検知のときの他のメインスイッチの処理3とを組み合わせることで、リセットスイッチが無効検知状態のときに、MAXベットスイッチの有効期間においてMAXベットスイッチセンサがMAXベットスイッチの操作を検知したときはMAXベットスイッチに基づく所定の処理を実行し、リセットスイッチが有効検知状態のときに、MAXベットスイッチの有効期間においてMAXベットスイッチセンサがMAXベットスイッチの操作を検知したときはMAXベットスイッチに基づく所定の処理を実行しないという構成となる。
このように構成することで、リセットスイッチの不正操作により遊技が進行してしまう不正を防止することができる。つまり、リセットスイッチが有効検知した後にスイッチが継続して操作されている状態は不正の可能性が高いとして、遊技の進行を不可能にし、リセットスイッチが無効検知した後にスイッチが継続して操作されている状態は不正の可能性が低いとして、遊技の進行を可能にしている。
また、リセットスイッチが有効検知状態のときに、スタートスイッチの有効期間においてスタートスイッチセンサがスタートスイッチの操作を検知したときはスタートスイッチに基づく所定の処理を実行しないよう構成されている。このような構成と前述したリセットスイッチが無効検知のときの他のメインスイッチの処理3、又は4とを組み合わせることで、リセットスイッチが無効検知状態のときに、スタートスイッチの有効期間においてスタートスイッチセンサがスタートスイッチの操作を検知したときはスタートスイッチに基づく所定の処理を実行し、リセットスイッチが有効検知状態のときに、スタートスイッチの有効期間においてスタートスイッチセンサがスタートスイッチの操作を検知したときはスタートスイッチに基づく所定の処理を実行しないという構成となる。
このように構成することで、リセットスイッチの不正操作により遊技が進行してしまう不正を防止することができる。つまり、リセットスイッチが有効検知した後にスイッチが継続して操作されている状態は不正の可能性が高いとして、遊技の進行を不可能にし、リセットスイッチが無効検知した後にスイッチが継続して操作されている状態は不正の可能性が低いとして、遊技の進行を可能にしている。
また、リセットスイッチが有効検知状態のときに、ストップスイッチの有効期間においてストップスイッチセンサがストップスイッチの操作を検知したときはストップスイッチに基づく所定の処理を実行しないよう構成されている。このような構成と前述したリセットスイッチが無効検知のときの他のメインスイッチの処理3、又は4とを組み合わせることで、リセットスイッチが無効検知状態のときに、ストップスイッチの有効期間においてストップスイッチセンサがストップスイッチの操作を検知したときはストップスイッチに基づく所定の処理を実行し、リセットスイッチが有効検知状態のときに、ストップスイッチの有効期間においてストップスイッチセンサがストップスイッチの操作を検知したときはストップスイッチに基づく所定の処理を実行しないという構成となる。
このように構成することで、リセットスイッチの不正操作により遊技が進行してしまう不正を防止することができる。つまり、リセットスイッチが有効検知した後にスイッチが継続して操作されている状態は不正の可能性が高いとして、遊技の進行を不可能にし、リセットスイッチが無効検知した後にスイッチが継続して操作されている状態は不正の可能性が低いとして、遊技の進行を可能にしている。
また、リセットスイッチが有効検知状態のときに、精算スイッチの有効期間において精算スイッチセンサが精算スイッチの操作を検知したときは精算スイッチに基づく所定の処理を実行しないよう構成されている。このような構成と前述したリセットスイッチが無効検知のときの他のメインスイッチの処理2、又は3とを組み合わせることで、リセットスイッチが無効検知状態のときに、精算スイッチの有効期間において精算スイッチセンサが精算スイッチの操作を検知したときは精算スイッチに基づく所定の処理を実行し、リセットスイッチが有効検知状態のときに、精算スイッチの有効期間において精算スイッチセンサが精算スイッチの操作を検知したときは精算スイッチに基づく所定の処理を実行しないという構成となる。
このように構成することで、リセットスイッチの不正操作により遊技が精算されてしまう不正を防止することができる。つまり、リセットスイッチが有効検知した後にスイッチが継続して操作されている状態は不正の可能性が高いとして、遊技の精算を不可能にし、リセットスイッチが無効検知した後にスイッチが継続して操作されている状態は不正の可能性が低いとして、遊技の精算を可能にしている。
また、リセットスイッチが有効検知状態のときに、MAXベットスイッチの有効期間においてMAXベットスイッチセンサがMAXベットスイッチの操作を検知したときはMAXベットスイッチに基づく所定の処理を実行するよう構成されている。このような構成と前述したリセットスイッチが無効検知のときの他のメインスイッチの処理1、2、又は4とを組み合わせることで、リセットスイッチが無効検知状態のときに、MAXベットスイッチの有効期間においてMAXベットスイッチセンサがMAXベットスイッチの操作を検知したときはMAXベットスイッチに基づく所定の処理を実行せず、リセットスイッチが有効検知状態のときに、MAXベットスイッチの有効期間においてMAXベットスイッチセンサがMAXベットスイッチの操作を検知したときはMAXベットスイッチに基づく所定の処理を実行するという構成となる。
このように構成することで、遊技の進行を停滞させてしまうことでの遊技者への不満を抑え、遊技の進行をスムーズにすることができる。つまり、リセットスイッチが有効検知した後にスイッチが継続して操作されている状態は正常なリセットスイッチの操作である可能性が高いとして、遊技の進行を可能にし、リセットスイッチが無効検知した後にスイッチが継続して操作されている状態は異常(不正)なリセットスイッチの操作である可能性が高いとして、遊技の進行を不可能にしている。なお、遊技の進行を可能にした場合は、少なくとも当該遊技は終了可能な構成となっており、次の遊技から遊技を禁止にする制御を実行してもよいし、故障ではあるが遊技に支障はないためエラーが発生するまでは遊技の進行が可能となる構成としてもよい(エラーが発生すると解除が困難であるため)。
また、リセットスイッチが有効検知状態のときに、スタートスイッチの有効期間においてスタートスイッチセンサがスタートスイッチの操作を検知したときはスタートスイッチに基づく所定の処理を実行するよう構成されている。このような構成と前述したリセットスイッチが無効検知のときの他のメインスイッチの処理1、又は2とを組み合わせることで、リセットスイッチが無効検知状態のときに、スタートスイッチの有効期間においてスタートスイッチセンサがスタートスイッチの操作を検知したときはスタートスイッチに基づく所定の処理を実行せず、リセットスイッチが有効検知状態のときに、スタートスイッチの有効期間においてスタートスイッチセンサがスタートスイッチの操作を検知したときはスタートスイッチに基づく所定の処理を実行するという構成となる。
このように構成することで、遊技の進行を停滞させてしまうことでの遊技者への不満を抑え、遊技の進行をスムーズにすることができる。つまり、リセットスイッチが有効検知した後にスイッチが継続して操作されている状態は正常なリセットスイッチの操作である可能性が高いとして、遊技の進行を可能にし、リセットスイッチが無効検知した後にスイッチが継続して操作されている状態は異常(不正)なリセットスイッチの操作である可能性が高いとして、遊技の進行を不可能にしている。なお、遊技の進行を可能にした場合は、少なくとも当該遊技は終了可能な構成となっており、次の遊技から遊技を禁止にする制御を実行してもよいし、故障ではあるが遊技に支障はないためエラーが発生するまでは遊技の進行が可能となる構成としてもよい(エラーが発生すると解除が困難であるため)。
また、リセットスイッチが有効検知状態のときに、ストップスイッチの有効期間においてストップスイッチセンサがストップスイッチの操作を検知したときはストップスイッチに基づく所定の処理を実行するよう構成されている。このような構成と前述したリセットスイッチが無効検知のときの他のメインスイッチの処理1、又は2とを組み合わせることで、リセットスイッチが無効検知状態のときに、ストップスイッチの有効期間においてストップスイッチセンサがストップスイッチの操作を検知したときはストップスイッチに基づく所定の処理を実行せず、リセットスイッチが有効検知状態のときに、ストップスイッチの有効期間においてストップスイッチセンサがストップスイッチの操作を検知したときはストップスイッチに基づく所定の処理を実行するという構成となる。
このように構成することで、遊技の進行を停滞させてしまうことでの遊技者への不満を抑え、遊技の進行をスムーズにすることができる。つまり、リセットスイッチが有効検知した後にスイッチが継続して操作されている状態は正常なリセットスイッチの操作である可能性が高いとして、遊技の進行を可能にし、リセットスイッチが無効検知した後にスイッチが継続して操作されている状態は異常(不正)なリセットスイッチの操作である可能性が高いとして、遊技の進行を不可能にしている。なお、遊技の進行を可能にした場合は、少なくとも当該遊技は終了可能な構成となっており、次の遊技から遊技を禁止にする制御を実行してもよいし、故障ではあるが遊技に支障はないためエラーが発生するまでは遊技の進行が可能となる構成としてもよい(エラーが発生すると解除が困難であるため)。
また、リセットスイッチが有効検知状態のときに、精算スイッチの有効期間において精算スイッチセンサが精算スイッチの操作を検知したときは精算スイッチに基づく所定の処理を実行するよう構成されている。このような構成と前述したリセットスイッチが無効検知のときの他のメインスイッチの処理1、又は4とを組み合わせることで、リセットスイッチが無効検知状態のときに、精算スイッチの有効期間において精算スイッチセンサが精算スイッチの操作を検知したときは精算スイッチに基づく所定の処理を実行せず、リセットスイッチが有効検知状態のときに、精算スイッチの有効期間において精算スイッチセンサが精算スイッチの操作を検知したときは精算スイッチに基づく所定の処理を実行するという構成となる。
このように構成することで、遊技の進行を停滞させてしまうことでの遊技者への不満を抑え、遊技の進行をスムーズにすることができる。つまり、リセットスイッチが有効検知した後にスイッチが継続して操作されている状態は正常なリセットスイッチの操作である可能性が高いとして、遊技の精算を可能にし、リセットスイッチが無効検知した後にスイッチが継続して操作されている状態は異常(不正)なリセットスイッチの操作である可能性が高いとして、遊技の精算を不可能にしている。なお、遊技の精算を可能にした場合は、少なくとも当該遊技の精算は実行可能な構成となっており、精算後の遊技から遊技を禁止にする制御を実行してもよいし、故障ではあるが遊技に支障はないためエラーが発生するまでは遊技の進行が可能となる構成としてもよい(エラーが発生すると解除が困難であるため)。
また、上述した各種メインスイッチの処理において、MAXベットスイッチの構成は全て1ベットスイッチに置き換えることが可能である。さらに、リプレイ当選遊技のリプレイ図柄組合せが表示されるとき(より具体的には、第3停止受付後から自動ベット処理が実行されるまでの間)に各種メインスイッチが無効検知した場合は、MAXベットスイッチに基づく所定の処理が実行されない場合であっても自動ベット処理は実行されるよう構成されている。これは、自動ベット処理を停止してしまうと遊技が終了できずに、精算スイッチを有効にしていた場合であっても精算スイッチの有効期間に移行できずに精算処理が実行できなくなってしまうことを防ぐためである。
また、上述した各種メインスイッチの処理において、MAXベットスイッチと1ベットスイッチの両方を備えていてもよいし、MAXベットスイッチのみ備えていてもよい。MAXベットスイッチのみ備えている場合は、1ベットに関する処理をメインスイッチで実行できないが、メダルを手入れで1枚投入させることで実現可能となる。
また、上述した各種メインスイッチの処理において、精算スイッチと1ベットスイッチは兼用のスイッチとしてもよい。この場合、単押しの場合は1ベットスイッチの機能、長押しの場合は精算スイッチの機能をそれぞれ実行する。なお、単押しとは割込み処理ごとに実行する入力ポートチェックにおいて、894ms(割込み処理で精算/1ベットスイッチが400回連続してONに相当)以内に精算/1ベットスイッチが離された(OFFになった)ことであり、長押しとは割込み処理ごとに実行する入力ポートチェックにおいて、894ms(割込み処理で精算/1ベットスイッチが400回連続してONに相当)を超えても精算/1ベットスイッチが操作された(ONを継続していた)ことである。
また、上述した各種メインスイッチの処理において、ベットスイッチの操作に基づく処理は無効としていても、手入れでのメダル投入は可能としてもよい。このように構成することで、各種メインスイッチの操作によってブロッカが操作されなくなるため、遊技者が任意の契機でブロッカを作動させることによるブロッカモータの摩耗を軽減できる。また、手入れで3枚投入(規定数投入)された場合であってもスタートスイッチの操作は無効とすることで、遊技の進行は停止することができる。
また、上述した各種メインスイッチの処理において、ベットスイッチの操作に基づく処理は無効としていても、自動ベット処理は可能としてもよい。このように構成することで、リプレイ図柄組合せが停止するタイミングでの最終停止操作受付からリールが停止するまで(より具体的には、入賞判定処理の前まで)の間に各種メインスイッチのいずれかのスイッチが無効検知となりベットスイッチの操作に基づく所定の処理が実行されない(無効となる)場合であっても、自動ベット処理は実行されるため、自動ベット処理を実行する前にスイッチの状態を判断しなくてもよいためプログラム容量が削減できる。また、自動ベット処理がなされた場合であってもスタートスイッチの操作は無効とすることで、遊技の進行は停止することができる。なお、このような構成の場合に、小役が当選して小役の図柄組合せが停止するタイミングでの最終停止操作受付からリールが停止するまで(より具体的には、入賞判定処理の前まで)の間に各種メインスイッチのいずれかのスイッチが無効検知となりベットスイッチの操作に基づく所定の処理が実行されない(無効となる)場合は、払出処理も実行可能となっている。さらに、このような構成の場合に、所定役(リプレイ、小役、ボーナスなど)当選時の所定役に対応する図柄組合せが停止するタイミングでの最終停止操作受付からリールが停止するまで(より具体的には、入賞判定処理の前まで)の間に各種メインスイッチのいずれかのスイッチが無効検知となった場合は、すべり制御は実行し、その後入賞判定処理の後に遊技の進行を停止する。
また、上述した各種メインスイッチの処理において、ベットスイッチの操作に基づく処理は無効としている場合、自動ベット処理も無効としてもよい。このように構成することで、リプレイ図柄組合せが停止するタイミングでの最終停止操作受付からリールが停止するまで(より具体的には、入賞判定処理の前まで)の間に各種メインスイッチのいずれかのスイッチが無効検知となりベットスイッチの操作に基づく所定の処理が実行されない(無効となる)場合に、自動ベット処理は実行されないため、遊技の進行は停止することができる。これにより、不正によるメインスイッチの操作時には遊技の進行を停止でき、遊技場への被害を抑えることができる。なお、このような構成の場合に、小役が当選して小役の図柄組合せが停止するタイミングでの最終停止操作受付からリールが停止するまで(より具体的には、入賞判定処理の前まで)の間に各種メインスイッチのいずれかのスイッチが無効検知となりベットスイッチの操作に基づく所定の処理が実行されない(無効となる)場合は、払出処理も実行不可能となっている。さらに、このような構成の場合に、所定役(リプレイ、小役、ボーナスなど)当選時の所定役に対応する図柄組合せが停止するタイミングでの最終停止操作受付からリールが停止するまで(より具体的には、入賞判定処理の前まで)の間に各種メインスイッチのいずれかのスイッチが無効検知となった場合は、すべり制御は実行し、その後入賞判定処理の前に遊技の進行を停止する。
また、上述した各種メインスイッチの処理において、各種メインスイッチが有効検知の場合に他のメインスイッチが操作された場合は、1回のみ有効(他のメインスイッチに基づく所定の処理を実行可能)としてもよい。例えば、リセットスイッチが有効検知の場合にスタートスイッチ有効期間においてスタートスイッチセンサがスタートスイッチの操作を検知したときにスタートスイッチに基づく所定の処理を実行可能にするが、当該遊技におけるストップスイッチの操作に基づく所定の処理は実行不可能にする。このように構成することで、スタートスイッチセンサがノイズを拾ったことで、継続的なON状態が極小期間発生したとしても次の操作は1回有効であるため、遊技を進行させることができ、ノイズであれば継続ONが解消されその次の操作(上記例ではストップスイッチ)に基づく所定の処理は実行可能となって遊技の進行が可能となり、ノイズでなければ、継続ON状態が維持されその次の操作(上記例ではストップスイッチ)に基づく所定の処理は実行不可能となって遊技の進行が不可能となる。これにより、ノイズが発生してもスムーズに遊技を進行可能とすることができる。
また、上述した各種メインスイッチの処理において、リセットスイッチが有効となる有効期間は、ドア開放検知状態、且つエラー検知状態(エラー発生中)としてもよい。つまり、ドア開放検知状態、且つエラー検知状態でリセットスイッチがONとなったときはリセットスイッチの有効検知となり、また、ドア閉鎖検知状態、且つエラー検知状態でリセットスイッチがONとなったときはリセットスイッチの無効検知となる。
また、上述した各種メインスイッチの処理において、あるメインスイッチの有効期間であっても、あるメインスイッチと他のメインスイッチとの入力が同時に検知されている状態で、あるメインスイッチの操作受付が無効となる場合には、有効期間であっても所定の処理を実行しない場合がある。例えば、規定数がベットされている状態はスタートスイッチの有効期間であるが、規定数がベットされている状態、且つベットスイッチが無効検知されている状態では、スタートスイッチの操作受付が無効となる場合がある(例えば、MAXベットスイッチが無効検知のときの他のメインスイッチの処理1、2、4)。このような場合であってもベットスイッチが検知されなくなったときはスタートスイッチの操作受付が有効となるため、スタートスイッチの有効期間としている。つまり、「有効期間」とは、如何なる状態においてもメインスイッチの操作が有効である期間を示しているわけではなく、当該メインスイッチ単体の操作が有効である期間として使用している。また、スタートスイッチにおける有効期間の例を上述したが、他のメインスイッチ(MAXベットスイッチ、左ストップスイッチ、中ストップスイッチ、右ストップスイッチ、精算スイッチ、リセットスイッチ)の有効期間においても同様の意図で使用している。
<本例に適用可能なメダルの通過に関する構成>
(メダルセレクタの構造)
メダルセレクタの構造に関して説明する。メダルセレクタはメダル投入口から投入されたメダルを遊技機内(ホッパ内)に導くか、遊技機外(受け皿)に導くかを切り替えるために設けられている。また、メダルセレクタ内には通過したメダルを検知するためのセンサが複数設けられており、メダル投入口から投入されたメダルは上流から通路センサ、投入センサ1、投入センサ2の順に通過するよう構成されている。さらに、通路センサと投入センサ1の間にはブロッカが設けられており、ブロッカがONであると投入されたメダルを遊技機内に導き、ブロッカがOFFであると投入されたメダルを遊技機外に導く。なお、遊技機外にメダルを導く場合は、メダルを貯留できない場合(クレジット貯留上限(50)であり、且つMAXベットされている状態(3))、規格外のメダルが投入された場合(メダルではないものも含む)、遊技中(スタートスイッチの受付から全リールが停止した後の遊技終了処理まで)である場合、エラー中である場合、設定確認中である場合、又は精算中である場合等が該当する。
通路センサがメダルを検知した場合(OFFからONとなった場合)は、投入監視カウンタを1加算する。また、投入監視カウンタの値はブロッカをOFFからONにするときにクリア(0をセット)する。また、投入監視カウンタの値は投入センサ1と投入センサ2の通過時間と通過順序が正常であれば投入センサ2がONからOFFとなったときに1減算する。つまり、通常メダルが投入されて遊技機内に導かれた場合の投入監視カウンタの値は、通路センサ検知時に1加算され投入センサ2検知時に1減算されるため、0となっている。そして、投入監視カウンタの値が0~2の範囲内であれば遊技メダルが正常に通過したとして投入枚数表示LEDを点灯させる処理を実行する。ただしリプレイが当選して自動ベット処理が実行されている場合は、投入枚数表示LEDを点灯させる処理を新たに実行することはなく、クレジット数表示器への加算処理(加算表示処理を含む)を実行する(クレジットが50未満の場合)。なお、投入監視カウンタはブロッカがOFFの状態では加算されていくが、ONになるとクリアされるようになっているため、ブロッカがOFFのときは実質的に機能していない。
投入センサ1がメダルを検知した場合(OFFからONとなった場合)は、投入センサ1がメダルを検知しなくなるまで(ONからOFFとなるまで)の通過時間の計測を開始する。この通過時間が閾値内であれば正常であるが、閾値を超えるとメダル滞留エラーと判断し、メダル滞留エラー処理を実行する。投入センサ1がONとなってから投入センサ1がOFFとなるまでの閾値としてはメダルの通過速度を鑑みて4ms以上200ms以内に設定している。
投入センサ1がメダルを検知した後(OFFからONとなった後からOFFになるまでの間)に投入センサ2がメダルを検知した場合(OFFからONとなった場合)は、投入センサ1がメダルを検知しなくなるまで(ONからOFFとなるまで)の通過時間の計測を開始する。この通過時間(投入センサ2がONとなってから投入センサ1がOFFとなるまでの時間)が閾値内であれば正常であるが、閾値を超えるとメダル滞留エラーと判断し、メダル滞留エラー処理を実行する。投入センサ2がONとなってから投入センサ1がOFFとなるまでの閾値としてはメダルの通過速度を鑑みて2ms以上120ms以内に設定している。
投入センサ1がメダルを検知した後(OFFからONとなった後からOFFになるまでの間)に投入センサ2がメダルを検知した場合(OFFからONとなった場合)は、投入センサ2がメダルを検知しなくなるまで(ONからOFFとなるまで)の通過時間の計測を開始する。この通過時間(投入センサ2がONとなってから投入センサ2がOFFとなるまでの時間)が閾値内であれば正常であるが、閾値を超えるとメダル滞留エラーと判断し、メダル滞留エラー処理を実行する。投入センサ2がONとなってから投入センサ2がOFFとなるまでの閾値としてはメダルの通過速度を鑑みて4ms以上200ms以内に設定している。
投入センサ1がメダルを検知するよりも前(OFFからONになるよりも前)に投入センサ2がメダルを検知した場合(OFFからONとなった場合)は、メダル逆流エラーと判断し、メダル逆流エラー処理を実行する。
投入センサ1と投入センサ2は、メダルが1枚通過する際に両方ともONとなる場合を有するように配置されており(投入センサ1と投入センサ2との距離はメダルの直径よりも短い)、メダルの通過時間に応じてエラー処理を実行可能に構成されている。
メダルがメダル投入口から投入された場合、自由落下によりセレクタ内の通路を通過しホッパに導かれる。メダルが投入されてからホッパに導かれるまでの時間が短すぎると、ブロッカのONが間に合わず、投入したメダルが返却通路に導かれてしまう。また、メダルが投入されてからホッパに導かれるまでの時間が長すぎると、遊技を開始するためのメダル投入時間が必要以上に長くなってしまうため、メダル投入からホッパに導かれるメダルの通過時間を適正な時間に設定する必要がある。なお、メダル投入口からメダルを投入する動作は様々考えられるが、図51に示すようにメダル投入口の上部にメダルをセットし(メダルがセットされた際の初速が0の状態)、人為的な加速度を加えずにメダルを自由落下させる動作を、本実施形態では一般的なメダル投入の動作として記述する。また、メダルを自由落下させた後にセレクタ内の各部に衝突することがあるがこの衝突による減速を含めて自由落下と称している。
ブロッカがOFFからONとなる条件として、1遊技が終了した後が挙げられる。より具体的には、前回遊技において全てのリールが停止され全てのストップスイッチが離されたことによる入賞処理を実行した後であって、前遊技の情報である遊技開始表示LED(スタートランプ)、投入表示LED(1ベットランプ、2ベットランプ、3ベットランプ)、再遊技表示LED(リプレイランプ)に関するRWMの記憶領域を初期化した後に、ブロッカをONにする。
ここで、遊技している遊技場の営業時間内にて最大限の遊技を実行することを、遊技者が目標としている場合等においては、遊技を絶え間なく実行するために、遊技が終了した後にすぐに次の遊技を実行させるための動作を行うことが考えられる。この動作として、クレジットにメダルが貯留されている場合はベットスイッチ(MAXベットスイッチ)を操作した後にスタートスイッチを操作し、クレジットにメダルが貯留されていない場合はメダルをメダル投入口から規定数(本実施形態では3枚)投入した後にスタートスイッチを操作する。そして、この動作を行う時間が短いほど遊技をより多く実行できるため、投入されたメダルがホッパに導かれずに返却通路に導かれてしまうと、次の遊技を実行するまでの時間が長くなってしまい遊技者に操作性の悪さを感じさせるなど、遊技の興趣を低下させる虞がある。
上述した問題を解消するために、メダルが投入可能な状況においては、メダルをメダル投入口から投入した場合にできるだけホッパに導かれるようにすることが好適である。
そこで、本例に係る遊技機においては、複数のリール(本実施形態においては3つのリール)のうち、最後の1つのリールが回転している状況であって最後のリールに対応するストップスイッチの操作が有効である状況下において、当該ストップスイッチが操作されることで、最後のリールに対応するストップスイッチセンサが当該ストップスイッチの操作を検知し、最後のリールを停止させる処理を開始し、その後当該ストップスイッチセンサが当該ストップスイッチの操作を検知しなくなったときに、メダルがメダル投入口から投入されたときは、投入されたメダルがホッパに導かれる(ブロッカをOFFからONにする処理が実行される)ことがあるように構成されている。
これにより、遊技終了後にメダルを投入可能としているとともに、メダルが投入可能となるタイミングが遊技者にわかりやすくなる(最後のストップスイッチを離した瞬間にメダルを投入可能とする)ため、遊技の動作を素早く実行することが可能となる。
以下説明が冗長とならないように、最後のストップスイッチに対応するストップスイッチセンサがOFFとなった瞬間からブロッカをONにするまでの時間を「T1」、メダル投入口からメダルが投入されてから(メダル投入口を正面に見たときにメダルの下弦がメダル投入口の上部と一致している状態(メダル投入口の直上、且つメダルの全体が見えている状態)から)ブロッカに到達するまでの時間を「T2」として説明する。
また、内部抽せん手段による内部抽せんの結果として、はずれ(押し順小役のこぼし目を含む)、1枚役、10枚役、リプレイ、又はボーナスが選択され得る場合においては、いずれの内部抽せんの結果となった場合においても、最後のストップスイッチが離された瞬間にメダル投入された場合にメダルがホッパに導かれるように構成されていてもよい。
この場合は、最後のストップスイッチが離された後に実行される払出処理(メダルを遊技者に付与する処理)、自動ベット処理(リプレイ図柄組合せ表示時の自動ベット処理)、又は表示フリーズ処理(ボーナス図柄組合せを表示した後のフリーズ処理)の処理時間を含めたT1をT2よりも短くする(T1<T2)。
このように構成することで、内部抽せんの結果によらずメダルが投入されたときにホッパに導かれるメダル投入タイミングが同一となり、遊技者の遊技のテンポが阻害されることなく遊技を実行させることができる。
なお、10枚役を有する内部抽せんの結果となった遊技において、最後のストップスイッチが押下され(操作を受け付け)、その後押下を継続した場合においては、「最後のストップスイッチを押下→最後のリールが停止→10枚の遊技メダルを払い出す」のように構成してもよい。即ち、ストップスイッチを離したことによって、停止した図柄組合せに基づく遊技メダルの払出を実行するのではなく、ストップスイッチを押下した(操作を受け付けた)ことによって、停止した図柄組合せに基づく遊技メダルの払出を実行するよう構成してもよく、そのように構成した場合には、ストップスイッチを押下した(操作を受け付けた)瞬間にメダル投入された場合にメダルがホッパに導かれるように構成されていてもよい。
また、内部抽せん手段による内部抽せんの結果として、はずれ(押し順小役のこぼし目を含む)、1枚役、10枚役、リプレイ、又はボーナスが選択され得るよう構成した場合における、はずれ、又は1枚役が選択されたときにおいては、最後のストップスイッチが離された瞬間にメダル投入された場合にメダルがホッパに導かれるように構成されていてもよい。
この場合は最後のストップスイッチが離された後に実行される払出処理(メダルを遊技者に1枚付与する処理)の処理時間を含めた最後のストップスイッチに対応するストップスイッチセンサがOFFとなった瞬間からブロッカをONにするまでの時間であるT1aをT2よりも短くし(T1a<T2)、自動ベット処理(リプレイ図柄組合せ表示時の自動ベット処理)、又は表示フリーズ処理(ボーナス図柄組合せを表示した後のフリーズ処理)の処理時間を含めた最後のストップスイッチに対応するストップスイッチセンサがOFFとなった瞬間からブロッカをONにするまでの時間であるT1bをT2よりも長くする(T1b>T2)。
これは、全ての内部抽せんの結果において最後のストップスイッチが離された瞬間にメダルを投入させたときにホッパに導かれるよう構成されていると、払出枚数が1枚のときと10枚のときであっても同一の時間設計となるため、払出枚数が1枚のときに時間をロスしてしまうことになるためである。このため、払出枚数が1枚とそれよりも処理の短いはずれ(払出なし)の場合にのみ、T1a<T2と構成することで、時間のロスを少なくでき、遊技者の遊技時間を早めることができる。
また、内部抽せん手段による内部抽せんの結果として、はずれ(押し順小役のこぼし目を含む)、1枚役、10枚役、リプレイ、又はボーナスが選択され得る場合において、内部抽せん手段による内部抽せんの結果として、はずれ、又は1枚役の選択確率を、10枚役、リプレイ、又はボーナスの選択確率よりも高く設計する。そして、はずれ、又は1枚役が選択されたときにのみ最後のストップスイッチが離された瞬間にメダル投入された場合にメダルがホッパに導かれるように構成されていてもよい。
これは遊技者が遊技している中で遭遇確率の高い事象(当選確率の高い役)であり、且つ入賞処理の処理時間が短い内部抽せんの結果に対してT1<T2と設計することで、遊技場の営業時間内で鑑みると効率よく遊技回数を実行させることが可能となる。
上述したT1、T2に関する具体例としては、メダル(直径25mm、重さ5g)がメダル投入口から投入されてからセレクタを通過するときの平均速度を約0.6mm/msと設定した場合、メダル投入口に投入されたメダルがホッパに導かれる場合、メダル投入口からブロッカに到達するまでの距離を約60mmに設計し、メダル投入口からブロッカに到達するまでの時間を約90msに設計する。このように設計した場合はT2を90msとしてT1を90ms未満に設計することが望ましいが、これに限られず、セレクタ内の距離やメダルがセレクタ内を通過するときの速度を調整することでT2の設計値が変化し、それに応じてT1の設計値を変更することが考えられる。
また、スタートスイッチセンサがスタートスイッチの操作を検知したことで、スタートスイッチの操作を受け付け、内部抽せんによりはずれ(押し順小役のこぼし目を含む)、1枚役、10枚役、リプレイ、又はボーナスが当選したときは、上述したように最終停止操作に対応するストップスイッチセンサがストップスイッチの操作を検知したことでストップスイッチの操作を受け付け、その後最終停止操作に対応するストップスイッチセンサがストップスイッチの操作を検知しなくなったタイミングでメダル投入口からメダルが投入された場合は当該メダルがブロッカに到達したときのブロッカの状態がONとなっていることを説明したが、スタートスイッチセンサがスタートスイッチの操作を検知したことで、スタートスイッチの操作を受け付け、内部抽せんによりはずれ(押し順小役のこぼし目を含む)、1枚役、10枚役、リプレイ、又はボーナスが当選して、回胴回転開始処理(全リールを回転させる処理)を開始したタイミングでメダル投入口からメダルが投入された場合は当該メダルがブロッカに到達したときのブロッカの状態がOFFとなっているため、当該タイミングでメダルが投入された後に設計上最も早くストップスイッチが操作されても、ブロッカをONにするよりも前にメダルがブロッカに到達し、メダルが遊技機外(受け皿)に導かれるようになっている。
<本例に適用可能なリールユニットに関する構成>
本例に適用可能なリールユニットR008について図52を用いて説明する。リールユニットR008は、主にリール枠R001と左リールR002、中リールR003、右リールR004から構成されており、リール枠R001に対して、左リールR002、中リールR003、右リールR004がリール下部ビスR006を介して固定されている。そしてリールユニットR008を筐体のリール載置部に設置した後、リールユニット下部ビスR005とリールユニット上部ビスR007で上下を固定している。
また、リール枠R001に各リール(左リールR002、中リールR003、右リールR004)を上下で固定するように構成されていてもよく、その場合は、リール下部ビスR006とリールユニット上部ビスR007でリール枠R001に各リールが固定するよう構成されていてもよい。
また、リールユニット上部ビスR007とは別にリール上部ビス(図示しない)を設けて、リール枠R001に各リールを固定する場合は、リール下部ビスR006とリール上部ビス(図示しない)で固定し、リールユニットR008を筐体に固定する場合は、リールユニット下部ビスR005とリールユニット上部ビスR007で固定するよう構成されていてもよい。
正面視で最も右側のリール下部ビスR006は、ドア閉鎖による衝撃が他のリール下部ビスR006よりも伝わりやすくなっているため、右側のリール下部ビスR006が脱落した際にホッパに入り込まないように、右側のリール下部ビスR006がリールユニットR008に固定されている状態で、右側のリール下部ビスR006がホッパから補助タンクに導く流路の直上に配置されるように構成されている。即ち、右側のリール下部ビスR006が何らかの不具合により外れてしまった場合には、右側のリール下部ビスR006がホッパから補助タンクに導く流路に落下することとなる。
これにより、ホッパに右側のリール下部ビスR006が入ることで発生するホッパの故障を抑制でき、また、右側のリール下部ビスR006が脱落した際に補助タンクに流入するため右側のリール下部ビスR006の喪失機会を少なくできる。
また、正面視で最も右側のリールユニット上部ビスR007に関しても、ドア閉鎖による衝撃が他のリールユニット上部ビスR007よりも伝わりやすくなっているため、脱落してしまう可能性が高くなる。このため、右側のリールユニット上部ビスR007が脱落した際にリールユニットR008の内部に入り込まないよう右リールR004の上部とリール枠R001の下部に生じている空間の幅(図52のAに該当)をリールユニット上部ビスR007の長手方向の長さ(図52のBに該当)よりも短くしている(図52のAとBがA<Bとなる関係)。このように構成することで、右側のリールユニット上部ビスR007が脱落した際にリールユニットR008の内部に入り込み難くすることができる。
なお上述した関係は右リールだけに限られず、中リール、左リールにおいても共通であり、リールユニット上部ビスの脱落のし易さはリールユニット上部ビス毎に異なるが、実際にリールユニット上部ビスが脱落した後はいずれのリール、及びリールユニット上部ビスにおいても共通の構成と効果を奏することになる。
これにより、右側のリールユニット上部ビスR007が脱落したときにリールユニットR008の内部に入り込むことを抑制できる。右側のリールユニット上部ビスR007がリールユニットR008の内部に入り込んだ場合は、リールの回転に影響を与えてしまう(右側のリールユニット上部ビスR007によってリールが破損したり、リールの回転動作が阻害される等)ため、即座にリールユニットR008の内部からリールユニット上部ビスR007を取り出す必要があるが、リールユニットR008は筐体に固定されているため、リールユニットR008を筐体から取り外して作業を行わなくてはいけなくなる。このように、右側のリールユニット上部ビスR007がリールユニットR008の内部に入り込んだ場合は、遊技を再開するまでに長時間を必要とするため、本例においては、リールユニット上部ビスR007がリールユニットR008の内部に入り込み難いよう構成されている。
また、リールユニット上部ビスR007の短手方向の長さ(図52のCに該当)を右リールR004の上部とリール枠R001の下部に生じている空間の幅Aよりも長くしてもよく、そのように構成することで、よりリールユニット上部ビスR007がリールユニットR008の内部に入り込み難くなる。
なお、各リールがリールユニットR008に設置されている状態では、リール枠R001の前面部(遊技者に最も近い箇所)よりも各リールの前面部(遊技者に最も近い箇所)の方が前面側に突出しているため、リールユニット上部ビスR007が脱落した際にリールユニット上部ビスR007がリールの上面に接触することになる。そしてリールユニット上部ビスR007がリールの上面に接触した場合は、リールユニット上部ビスR007が跳ね返ってリールユニットR008の内部に入り込んでしまい、リールユニットR008の後方に行く可能性がある。特に逆回転(リールが下から上に向かって回転)しているときにリールユニット上部ビスR007がリールの上面に接触すると、よりリールユニットR008後方に跳ねる可能性が上がってしまう。このような状況を防止するために、上述した構成によれば、リールユニット上部ビスR007がリールユニットR008の内部に入り込み難くなっている。
右側のリールユニット上部ビスR007が脱落した際にリールユニットR008の内部に入り込まないよう右リールR004の上部とリール枠R001の下部に生じている空間の幅(図52のAに該当)をリールユニット上部ビスR007の長手方向の長さ(図52のBに該当)よりも短くしている(図52のAとBがA<Bとなる関係)場合においても、リールユニット上部ビスR007がリールユニットR008の内部に入り込んでしまう可能性がある。この場合においてもリールユニットR008の内部にリールユニット上部ビスR007が入り込んだままリールR002が回転することで、リールR002に傷がついてしまわないように構成されている。
図53は、リールユニットR008を右側面からみた図となっている。リールユニットR008にリールR002が取り付けられている状態であり、リールユニットR008が筐体に固定されている状態であり、且つフロントパネルR013が閉鎖している状態である。
この状態でリールユニット上部ビスR007が脱落してリールユニットR008の内部に入り込んだ場合は、脱落したリールユニット上部ビスR007がリールR002上を転動する。リールユニット後方上部開口R009とリールユニット後方下部開口R010はリールR002の最頂点よりも下方に備えており、且つリールユニット後方上部開口R009とリールユニット後方下部開口R010の開口部の縦方向の長さ(図53のE、Fに該当)がリールユニット上部ビスR007の長手方向の長さ(図53のBに該当)よりも長く構成されているため、リールR002上を転動してきたリールユニット上部ビスR007は、リールユニット後方上部開口R009、又はリールユニット後方下部開口R010からリールユニットR008の外部に排出される(排出されやすいよう構成されている)。これにより、リールユニットR008の内部にリールユニット上部ビスR007が入り込んだままにならないため、リールR002の破損を防ぐことができる。
なお、リールユニット後方上部開口R009とリールユニット後方下部開口R010の長さに関して、横方向の長さにおいてもリールユニット上部ビスR007の長手方向の長さ(図53のBに該当)よりも長く構成されているため、リールユニット上部ビスR007がリールユニット後方上部開口R009とリールユニット後方下部開口R010から容易に排出されるように構成されている。
また、リールユニット後方上部開口R009とリールユニット後方下部開口R010の開口部の大きさは、どちらが大きくてもよく、B<E、及びB<Fが成り立つのであればB<E<F、B<F<E、B<E=Fのいずれでもよい。なお、当該B及びFをリールユニット後方上部開口R009とリールユニット後方下部開口R010の開口部の縦方向の長さとしてもよいし、横方向の長さとしてもよいし、面積としてもよい。
また、リールR002の最前部とフロントパネルR013との最短距離(図53のDに該当)はリールユニット上部ビスR007の長手方向の長さBよりも長く構成されている。これにより、リールユニット上部ビスR007がリールの前方に脱落した場合に、リールR002とフロントパネルR013の間に挟まることなく下方に落下するので、落下の際にリールユニット上部ビスがリールR002を傷つけ難くなる。特にリールR002が回転していると強い力が加わってしまうため、このような場合においてリールユニット上部ビスR007が脱落したとしてもリールユニット上部ビスがリールR002を傷つけ難くなると共に、リールR002の回転を阻害しないよう構成することができる。
また、各リールの最前面部と筐体下部に設置されているホッパの最前面部との関係性は、各リールの最前面部の方がホッパの最前面部よりも前方に突出しているため、リールユニット上部ビスR007が脱落してリールユニットR008の前方を転動し筐体下部の方へ導かれたとしても、ホッパに入り込みにくくなっている。このように構成されていることで、ホッパ内にリールユニット上部ビスR007が入り込むことによるホッパの故障を防ぐことができる。
また、フロントパネルR013の後方には中央表示基板R011が取り付けられている。中央表示基板R011は、メイン制御基板で制御されており、フロントパネルR013の前面に取り付けられている前面側各種メイン制御装置(1ベットランプ、2ベットランプ、3ベットランプ、リプレイランプ、スタートランプ、メダル投入可ランプ、クレジット数表示器、払出数表示器)やフロントパネルR013の後面に取り付けられている後面側メイン制御装置(設定値表示器)の表示を制御している。
中央表示基板R011には、中央表示基板R011を保護する中央表示基板保護カバーR012が取り付けられている。中央表示基板保護カバーR012は透明な樹脂で形成されており、中央表示基板R011の視認性を担保している。
中央表示基板保護カバーR012の上部は、後方に向かって下り傾斜となっている。そして、フロントパネルR013が閉鎖している状態において、リールR002と中央表示基板保護カバーR012の上部との最短距離(図54のGに該当)はリールユニット上部ビスR007の長手方向の長さBよりも長くなっている(B<Gの関係)。
これらの構成により、リールユニット上部ビスR007が脱落して前方に転動した場合、中央表示基板R011を中央表示基板保護カバーR012で保護していることにより、リールユニット上部ビスR007が中央表示基板R011を破損させてしまうことを防ぐことが可能となると共に、中央表示基板保護カバーR012の上部が傾斜していることにより、リールユニット上部ビスR007を下方に導くことが可能となり、リールR002と中央表示基板保護カバーR012の上部との最短距離Gがリールユニット上部ビスR007の長手方向の長さBよりも長くなっていることにより、リールユニット上部ビスR007がリールR002を傷つけることなく筐体下方に導くことが可能となる。
また、リールR002と中央表示基板保護カバーR012の上部との最短距離Gは、リールユニット上部ビスR007の長手方向の長さBよりも短いが(B>Gの関係)、リールR002と中央表示基板保護カバーR012の上部との最短距離Gは、リールユニット上部ビスR007の短手方向の長さCよりも長い(C<Gの関係)ように構成されていてもよい。この場合はリールR002と中央表示基板保護カバーR012の上部との最短距離Gがリールユニット上部ビスR007の長手方向の長さBよりも短いため、挟まる可能性はあるが、リールユニット上部ビスR007の短手方向の長さCよりも長いため、挟まる可能性を抑えることが可能となる。よって、リールユニット上部ビスR007が脱落した際にもリールユニット上部ビスR007がリールR002を傷つけ難くなり、破損を防ぎつつ筐体下方にリールユニット上部ビスR007を導くことが可能となる。
また、リールR002と中央表示基板保護カバーR012の上部との最短距離Gは、リールユニット上部ビスR007の長手方向の長さBよりも短く(B>Gの関係)、リールR002と中央表示基板保護カバーR012の上部との最短距離Gは、リールユニット上部ビスR007の短手方向の長さCよりも短い(C>Gの関係)ように構成されていてもよい。この場合は、リールユニット上部ビスR007が脱落した際にリールユニット上部ビスR007がリールR002と中央表示基板保護カバーR012に挟まって止まるため、リールユニット上部ビスR007を扉閉鎖状態から視認でき、リールユニット上部ビスR007が脱落したことがわかりやすくなり、且つリールユニット上部ビスR007の行方を視認できることでリールユニット上部ビスR007を容易に回収することができる。
また、リールユニット後方上部開口R009とリールユニット後方下部開口R010は、各リールに対応して複数備えてもよい。つまり、左リールの後方にはリールユニット後方上部開口左とリールユニット後方下部開口左が備えられており、中リールの後方にはリールユニット後方上部開口中とリールユニット後方下部開口中が備えられており、右リールの後方にはリールユニット後方上部開口右とリールユニット後方下部開口右が備えられることになる。このような構成とすることで、各リールに対応するリールユニット上部ビスR007の脱落に対応したリールユニット後方上部開口R009とリールユニット後方下部開口R010を設けることになり、何れのリールユニット上部ビスR007が脱落してリールユニットR008の内部後方に入っても、リールユニット後方上部開口R009、又はリールユニット後方下部開口R010からリールユニットR008の外部に排出することができる。
また、リールユニットR008の後方は全面開口となっていてもよい。このような構成であれば、リールユニット上部ビスR007がリールユニットR008の内部後方に転動してもリールユニットR008の後方が閉鎖されていないため、リールユニット上部ビスR007がリールユニットR008の内部に挟まることなく、リールユニットR008の外部に排出される。
<本例に適用可能な指示情報の表示に関する構成>
有利区間において、指示機能に係る処理としてAT抽選が実行され、AT抽選に当選してATが実行可能な遊技状態となった場合に、内部抽せんの結果として第1停止左リール正解、第2停止中リール正解の押し順役(以下、左中右押し順役と称す)が当選したときは、左中右押し順役に対応した押し順を遊技者に報知するための処理を実行する。また、左中右押し順役は正解押し順で操作されると正解図柄組合せ(複数の図柄組合せから構成されていてもよい)が必ず表示され有利な払出(例えば10枚)を遊技者に与えることができ、不正解押し順で操作されると正解図柄組合せ(複数の図柄組合せから構成されていてもよい)が表示されず有利な払出を遊技者に与えることができない(換言すると不正解図柄組合せが表示され不利な払出(例えば1枚)を遊技者に与える、又ははずれ図柄組合せが表示され払出を遊技者に与えない)。
左中右押し順役が当選したときの報知処理として大きく分けて4つの報知手段で報知を実行する。1つ目は指示モニタであり(図21に図示した獲得枚数表示器27にて押し順を表示している)、2つ目は液晶であり(図21に図示した表示装置32)、3つ目はランプであり(図21に図示した左操作指示ランプ24a、中操作指示ランプ24b、及び右操作指示ランプ24c)、4つ目はスピーカである(図21に図示したスピーカS)。
指示モニタに関しては、前述した内容であり、メイン制御手段により7セグメント表示器を用いて押し順を報知する。指示モニタはダイナミック点灯制御を実行しており、デジット1は、貯留枚数表示LED(上位桁)及び比率表示LED(1000位桁)であり、デジット2は、貯留枚数表示LED(下位桁)及び比率表示LED(100位桁)であり、デジット3は、獲得枚数表示LED(上位桁)及び比率表示LED(10位桁)であり、デジット4は、獲得枚数表示LED(下位桁)、比率表示LED(1位桁)及び有利区間表示LEDであり、デジット5は、投入枚数表示LED、遊技開始表示LED、投入表示LED、再遊技表示LED及び設定表示LEDである。本実施形態における指示モニタは獲得枚数表示器と兼用しているため、デジット4のときに表示されるようになっている(「=」を表示する場合はデジット3のときに表示される)。
各デジットは割込み処理毎に点灯を切り替えており、デジット4を点灯させた後次にデジット4を点灯させる場合は5割込み後(11.175ms後)となっている。つまり、毎割込み異なる箇所を点灯させている。なお、高速で点滅させている状態であるため、残像により遊技者には常に点灯しているように見せることができる。
液晶で押し順を報知する場合として、有利区間で左中右押し順役が当選したときの全リールが回転中である状況下では、「123」と画像表示を行い、その後、左ストップスイッチが操作された後は「_23」(_は空白)と画像表示を行い、その後、中ストップスイッチが操作された後は「__3」(_は空白)と画像表示を行う。また、今操作するストップスイッチに対応する情報を強調するために「123」と表示しているときは「1」の表示を「2」、「3」よりも大きく表示することで遊技者にわかりやすく報知している。また、「_23」や「__3」についても同様に、現在操作すべき停止ボタンに対応した画像表示を大きく表示している。また、「123」と画像表示がされている状況にて左ストップスイッチが操作されて、「_23」(_は空白)と画像表示を行う場合には、左停止ボタンに対応する画像表示は、「1」から空白に変化することとなるが、この場合には、「1」の画像を消去する際にエフェクト(例えば、破裂するようなエフェクト)を伴うよう構成してもよい。
また、液晶はサブ制御基板で制御されており、メイン制御基板から送信される左中右押し順役に関する押し順情報コマンドをサブ制御基板が受信したときは、受信割込み処理によりコマンドを取得し、サブ制御基板のメインループ処理のコマンド解析処理により取得したコマンドの解析を行い、コマンド解析の結果押し順コマンドと判別した場合は、画像テーブルから対応する押し順に関する画像データを取得し、液晶を制御する画像制御基板に取得した画像データコマンドを送信することで、画像制御基板が描画処理を実行している。なお、サブ制御基板と画像制御基板は1枚の基板で構成されていてもよいが、この場合であってもサブ制御基板に相当する制御部と画像制御基板に相当する制御部はコマンドを介して情報の伝達を実行している。
ランプに関しては、リールの前面を覆っている中パネルランプやフロントパネル上部の枠ランプが該当する。中パネルランプに関しては、各リールの上、下、又は上下両方に備えられており、有利区間で左中右押し順役が当選したときの全リール回転中である状況下では、左リールに対応する中パネルランプLを点灯させ、その後、左ストップスイッチが操作された後は中リールに対応する中パネルランプCを点灯させ、その後、中ストップスイッチが操作された後は右リールに対応する中パネルランプRを点灯させる。このように今停止操作させるリールを報知することで対応するストップスイッチを停止操作させることができる。なお、中パネルランプの形状や備えられている位置については適宜変更しても問題ないし、点灯態様についても変更可能であり、中パネルランプLが点灯した場合に左リールに対応するランプが点灯していると遊技者が認識できればよい(中パネルランプC、中パネルランプRについても同様)。
また、枠ランプに関しては、筐体左側の枠ランプL、筐体中央上部の枠ランプC、筐体右側の枠ランプRをそれぞれ左ストップスイッチ、中ストップスイッチ、右ストップスイッチに対応させることで中パネルランプと同様に押し順を報知することが可能となる。
また、中パネルランプ、枠ランプは、サブ制御基板で制御されており、メイン制御基板から送信される左中右押し順役に関する押し順情報コマンドをサブ制御基板が受信したときは、受信割込み処理によりコマンドを取得し、サブ制御基板のメインループ処理のコマンド解析処理により取得したコマンドの解析を行い、コマンド解析の結果押し順コマンドと判別した場合は、ランプパターンテーブルから対応する押し順に関するランプ点灯データを取得し、各ランプ基板に取得したランプ点灯データコマンドを送信することで、該当するランプ基板が点灯データに従って点灯制御を実行する。
スピーカに関しては、筐体上部左側の上部スピーカL、筐体上部右側の上部スピーカR、筐体下部の下部スピーカを備えている。左中右正解押し順役が当選した場合は、ストップスイッチの操作が有効となるまでに上部スピーカL、Rから「左だ」という音声を出力させる処理を行う。そして、遊技者によって左ストップスイッチされた後は「中だ」という音声を出力させる処理を行う。そして、遊技者によって中ストップスイッチされた後は「右だ」という音声を出力させる処理を行う。
また、中パネルランプ、枠ランプは、サブ制御基板で制御されており、メイン制御基板から送信される左中右押し順役に関する押し順情報コマンドをサブ制御基板が受信したときは、受信割込み処理によりコマンドを取得し、サブ制御基板のメインループ処理のコマンド解析処理により取得したコマンドの解析を行い、コマンド解析の結果押し順コマンドと判別した場合は、音声テーブルから該当する音声データを取得し、スピーカを制御する音声基板に取得した音声データコマンドを送信することで、スピーカから音声の出力を実行している。
サブ制御基板で実行する割込み処理は1ms毎に実行されており、メイン制御基板の割込み処理の間隔2.235msよりも短い間隔で実行される。また、メイン制御基板からコマンドを受信した場合は、受信割込みを発生させることで優先的にコマンドを取得している。これにより、メイン制御基板からのコマンドを取りこぼすことなく演出の制御が実行できる。
(押し順が不正解であったときの各種報知手段の処理について)
指示モニタに関して、左中右押し順役が当選して指示モニタに押し順を表示している状況下(例えば指示モニタに「=1」と表示)で、中ストップスイッチが最初に停止操作されてしまった場合(正解の押し順とは異なるストップスイッチに対して停止操作してしまった場合)は、指示モニタの表示を継続し、全リールが停止した場合の最後のストップスイッチが受け付けられた後、当該最後のストップスイッチが離されると表示を初期化する(非点灯となる)。その後、不正解図柄組合せが表示されている場合は払出数を意味する「1」を表示する。即ち、左中右押し順役が当選して指示モニタに「=1」と表示している場合に、第1停止となる停止操作として正解である左ストップスイッチが停止操作された場合には、その後指示モニタの表示は「=1」を維持する一方、第1停止となる停止操作として不正解である中ストップスイッチが停止操作された場合にも、その後指示モニタの表示は「=1」を維持する。
液晶に関して、左中右押し順役が当選して液晶に押し順を表示している状況下(例えば液晶に「123」と表示)で、中ストップスイッチが最初に停止されてしまった場合は、その時点で液晶上の全押し順情報を表示させない制御を行う。即ち、左中右押し順役が当選して液晶に「123」と表示している場合に、第1停止となる停止操作として正解である左ストップスイッチが停止操作された場合には、その後液晶の表示は「_23」となる一方、第1停止となる停止操作として不正解である中ストップスイッチが停止操作された場合には、その後液晶の表示(押し順に関する表示)はすべて消去されることとなる。
ランプに関して、左中右押し順役が当選してランプに押し順を表示している状況下(例えば中パネルランプLが点灯、又は枠ランプLが点灯)で、中ストップスイッチが最初に停止されてしまった場合は、その時点で中パネルランプL、又は枠ランプLを点灯しないようにする。即ち、左中右押し順役が当選して中パネルランプLが点灯(又は枠ランプLが点灯)している場合に、第1停止となる停止操作として正解である左ストップスイッチが停止操作された場合には、その後中パネルランプCが点灯(又は枠ランプCが点灯)となる一方、第1停止となる停止操作として不正解である中ストップスイッチが停止操作された場合には、その後中パネルランプ(又は枠ランプC)は点灯されないこととなる。
スピーカに関して、左中右押し順役が当選して音声により押し順を報知した後は、繰り返し報知しないため、その後中ストップスイッチが最初に停止されてしまった場合であっても、新たに音声を出力しない。即ち、左中右押し順役が当選している場合に、第1停止となる停止操作として正解である左ストップスイッチが停止操作された場合には、その後スピーカから「中だ」という音声が出力される一方、第1停止となる停止操作として不正解である中ストップスイッチが停止操作された場合には、その後スピーカから押し順に関する音声が出力されないこととなる。
(スタートスイッチの操作受付に基づく押し順報知タイミング)
スタートスイッチの操作受付に基づいて実行した内部抽せんの結果として左中右押し順が当選し、その後指示モニタに押し順情報を表示するタイミングとしては、回胴回転開始処理(全リールに対する加速処理)の直前に表示処理を実行することが考えられる。このような構成であれば、回胴回転開始処理として加速処理が実行され、その後定速処理が実行され、その後ストップスイッチの操作が有効となるため、遊技者がストップスイッチを操作する前に押し順情報を表示することができる。
また、液晶、ランプ、スピーカで押し順を報知する際は、メイン制御基板からの情報を受信しないと実行できないため、回胴回転開始処理よりも前に報知処理の実行を開始する必要がある。具体的には押し順役が当選した後にメイン制御基板の処理で押し順コマンドのセット処理を実行し、その後、押し順コマンドを送信し、サブ制御基板が押し順コマンドを受信したことに基づいて実行する。
このように押し順報知に関する処理の起点となる、指示モニタでの報知起点であるメイン制御基板の処理としての回胴回転開始処理を実行する方が、各種演出装置(液晶、ランプ、又はスピーカ)での報知起点であるメイン制御基板の処理として押し順コマンドセット処理を実行するよりも処理タイミングが後になっている。しかし、実際にはメイン制御基板で実行する処理の方が、サブ制御基板に押し順コマンドを送信した後のサブ制御基板で実行する処理よりも全体的な処理時間が少ないため、ウエイト期間が経過した後のスタートスイッチの操作であれば指示モニタに押し順を報知する方が液晶、ランプ、及びスピーカで押し順を報知するよりも早く報知できるように構成されている。このように構成することで、最も信頼できるメイン制御基板で管理している押し順情報を先に報知させ、その後サブ制御基板で管理している押し順情報を補足情報として報知させることができるため、遊技者は最も信頼できるメイン制御基板で管理している押し順情報を認識することが容易となり、遊技者の操作により押し順が不正解となる可能性を低くすることができる。
(ウエイト期間が経過した後にスタートスイッチが操作された場合)
次に、ウエイト期間が経過した後にスタートスイッチが操作されて左中右押し順役が当選した状況について詳述する。
有利区間中であって、前回遊技から計測しているウエイト期間が経過した(4.1秒が経過した)後に操作されたスタートスイッチの受付に基づいて実行された内部抽せんの結果として、左中右押し順役が当選した場合、メイン制御基板のメインループ処理により左中右押し順役に対応するコマンドをコマンドバッファに記憶し、メイン制御基板の割込み処理で実行されるコマンド送信処理によりコマンドバッファに記憶されているコマンドを随時送信する。
メイン制御基板のメインループ処理で左中右押し順役に対応するコマンドをコマンドバッファに記憶した後に、ウエイト時間が経過したか否かを判定し(本状況ではウエイト時間が経過済みであるため、経過したと判定する)、その後ウエイト期間が経過したと判定したときは、指示モニタに表示する指示番号をRWMの該当するアドレスに記憶し、メイン制御基板の割込み処理で実行される指示モニタ点灯処理において、指示番号が記憶されるRWMアドレスを取得し、指示モニタを点灯させる。メイン制御基板のメインループ処理で指示モニタに表示する指示番号をRWMの該当するアドレスに記憶した後は、全リールを加速させる処理を実行する。
このような構成により、左中右押し順役に対応するコマンドをコマンドバッファに記憶した後に、指示モニタの点灯制御を実行しても、ウエイト期間が経過している状況(もしくは、ウエイト期間の残りが極めて少ない状況)であれば、指示モニタでの押し順表示を他のサブ制御基板での押し順表示よりも先に報知することができる。
(ウエイト期間が経過する前にスタートスイッチが操作された場合)
次に、ウエイト期間が経過する前にスタートスイッチが操作されて左中右押し順役が当選した状況について詳述する。
有利区間中であって、前回遊技から計測しているウエイト期間が経過する前に操作されたスタートスイッチの受付に基づいて実行された内部抽せんの結果、左中右押し順役が当選した場合、メイン制御基板のメインループ処理により左中右押し順役に対応するコマンドをコマンドバッファに記憶し、メイン制御基板の割込み処理で実行されるコマンド送信処理によりコマンドバッファに記憶されているコマンドを随時送信する。
メイン制御基板のメインループ処理で左中右押し順役に対応するコマンドをコマンドバッファに記憶した後に、ウエイト時間が経過したか否かを判定し(本状況ではウエイト時間が経過前であるため、経過していないと判定する)、その後ウエイト期間が経過するまで判定処理を繰り返し実行し、ウエイト期間が経過したと判定したときは、指示モニタに表示する指示番号をRWMの該当するアドレスに記憶し、メイン制御基板の割込み処理で実行される指示モニタ点灯処理において、指示番号が記憶されるRWMアドレスを取得し、指示モニタを点灯させる。メイン制御基板のメインループ処理で指示モニタに表示する指示番号をRWMの該当するアドレスに記憶した後は、全リールを加速させる処理を実行する。
このような構成により、左中右押し順役に対応するコマンドをコマンドバッファに記憶した後に、指示モニタの点灯制御を実行しても、ウエイト期間が経過する前の状況であれば、指示モニタでの押し順表示よりも前に他のサブ制御基板での押し順表示を先に報知することができる。
これは、指示モニタの表示をなるべく早く報知する方がよいが、早すぎるとスタートスイッチが操作されてからの期待感を損なうため(遊技者はATに関する抽選を行う当選役を期待してスタートレバーを操作したのにすぐにATに関する抽選を行わない(行う可能性の低い)押し順小役の当選がわかってしまうため)、スタートスイッチの操作から一定の期間を経て報知する方が遊技の興趣を向上するのに効果的であることに基づいている。このため回胴回転開始処理(全リールの加速処理)に合わせて指示モニタを表示するように構成しているが、押し順の報知が遅すぎると遊技機が報知する押し順と異なる押し順で遊技者が操作する可能性があるため、ウエイト期間経過前の遊技開始時は押し順の報知が遅くなりすぎないように、サブ制御基板で報知する押し順はウエイト期間の経過によらず一定のタイミングで報知するようにしている。
サブ制御基板での処理として、メイン制御基板から左中右押し順コマンドが送信された場合にサブ制御基板のコマンド受信バッファに記憶される。コマンド受信バッファに左中右押し順コマンドが記憶されると、受信割込み処理が発生し、受信したコマンドを解析し、解析したコマンドを保存する(本例においては左中右押し順コマンドを保存する)。コマンドを受信してからコマンドを保存するまでに約16msを要する。
液晶によって左中右正解画像を表示させる場合は、サブ制御基板における割込み処理で左中右押し順コマンド(加工したコマンドでもよいが本例ではそのまま送信する)を画像制御基板に送信し、画像制御基板が左中右押し順コマンドを受信すると画像制御基板で記憶されている画像データテーブルから左中右押し順コマンドに該当する画像を選択し、描画処理を開始する。本実施形態における描画処理は30fpsで実行されるため、1枚あたりの描画速度は約3.3msとなっている。また、サブ制御基板で保存したデータ(左中右押し順コマンド)を画像制御基板に情報を送信するまでの期間は1msとなっている。
ランプによって左正解報知を実行させる場合は、サブ制御基板で記憶されているランプデータテーブルから左中右押し順コマンドに該当するランプパターンを選択し、該当するランプ基板に送信して点灯制御を実行させる。または、サブ制御基板における割込み処理で左中右押し順コマンドをランプ基板に送信し、ランプ基板が左中右押し順コマンドを受信するとランプ基板で記憶されているランプデータテーブルから左中右押し順コマンドに該当するランプパターンを選択して点灯制御を実行させる。ランプパターンを選択した後にランプを点灯させるまでの時間は約1msとなる。また、サブ制御基板で保存したデータ(ランプパターン、又は左中右押し順コマンド)をランプ基板に送信するまでの期間は1msとなっている。
スピーカによって左正解報知を実行させる場合は、サブ制御基板で記憶されている音声データテーブルから左中右押し順コマンドに該当する音声パターンを選択し、該当するスピーカ基板に送信して音声出力制御を実行させる。または、サブ制御基板における割込み処理で左中右押し順コマンドをスピーカ基板に送信し、スピーカ基板が左中右押し順コマンドを受信するとスピーカ基板で記憶されている音声データテーブルから左中右押し順コマンドに該当する音声パターンを選択して音声出力制御を実行させる。音声パターンを選択した後に音声を出力させるまでの時間は約1msとなる。また、サブ制御基板で保存したデータ(音声パターン、又は左中右押し順コマンド)をスピーカ制御基板に送信するまでの期間は1msとなっている。
上述したサブ制御基板側での処理により、サブ制御基板側での押し順報知順番は、ランプ、スピーカ、液晶の順番となる。ランプとスピーカの報知処理タイミングは略同一であるが、光の速度と音の速度の関係上、遊技者に認識されやすいものとしてランプ、スピーカの順番となることが多い。
このような構成により、遊技者が遊技開始時に注力しやすい、ランプによる報知を最速で実施し、その後スピーカ、液晶とすることで、押し順を理解させやすく構成でき、遊技者の押し順ミスを防ぐことができる。
(ストップスイッチの操作受付に基づく押し順報知タイミング)
スタートスイッチの操作が受け付けられて実行した内部抽せんの結果として左中右押し順役が当選し、指示モニタ、液晶、ランプ、スピーカによって左中右押し順役に関する正解操作態様の情報が報知されている状況下において、正解の第1停止操作(本例においては左ストップスイッチ第1停止)が受け付けられた場合、指示モニタの表示は変化しないが、液晶、ランプ、スピーカによる押し順報知態様は変化する。
スタートスイッチの操作が受け付けられて実行した内部抽せんの結果として左中右押し順役が当選し、指示モニタ、液晶、ランプ、スピーカによって左中右押し順役に関する正解操作態様の情報が報知されている状況下において、正解の第1停止操作(本例においては左ストップスイッチ第1停止)が受け付けられた場合、左ストップスイッチ受付コマンドがメイン制御基板のコマンド送信バッファに記憶される。その後発生するメイン制御基板の割込み処理にて左ストップスイッチ受付コマンドをサブ制御基板に送信する。サブ制御基板が左ストップスイッチ受付コマンドを受信したときは、受信割込み処理を発生させ、受信したコマンドを解析し、解析したコマンドを保存する(本例においては左ストップスイッチ受付コマンドを保存する)。コマンドを受信してからコマンドを保存するまでに約16msを要する。
液晶によって中第2停止画像(「_23」で「2」の画像を強調表示)を表示させる場合は、サブ制御基板における割込み処理で左ストップスイッチ受付コマンド(加工したコマンドでもよいが本例ではそのまま送信する)を画像制御基板に送信し、画像制御基板が左ストップスイッチ受付コマンドを受信すると画像制御基板で記憶されている画像データテーブルから左ストップスイッチ受付コマンドに該当する画像を選択し、描画処理を開始する。本実施形態における描画処理は30fpsで実行されるため、1枚あたりの描画速度は約3.3msとなっている。また、サブ制御基板で保存したデータ(左ストップスイッチ受付コマンド)を画像制御基板に情報を送信するまでの期間は1msとなっている。
ランプによって中第2停止報知(左ランプを消灯して中ランプを点灯する)を実行させる場合は、サブ制御基板で記憶されているランプデータテーブルから左ストップスイッチ受付コマンドに該当するランプパターンを選択し、該当するランプ基板に送信して点灯制御を実行させる。または、サブ制御基板における割込み処理で左ストップスイッチ受付コマンドをランプ基板に送信し、ランプ基板が左ストップスイッチ受付コマンドを受信するとランプ基板で記憶されているランプデータテーブルから左ストップスイッチ受付コマンドに該当するランプパターンを選択して点灯制御を実行させる。ランプパターンを選択した後にランプを点灯させるまでの時間は約1msとなる。また、サブ制御基板で保存したデータ(ランプパターン、又は左ストップスイッチ受付コマンド)をランプ基板に送信するまでの期間は1msとなっている。
スピーカによって中第2停止報知(「中だ」という音声を出力する)を実行させる場合は、サブ制御基板で記憶されている音声データテーブルから左ストップスイッチ受付コマンドに該当する音声パターンを選択し、該当するスピーカ基板に送信して音声出力制御を実行させる。または、サブ制御基板における割込み処理で左ストップスイッチ受付コマンドをスピーカ基板に送信し、スピーカ基板が左ストップスイッチ受付コマンドを受信するとスピーカ基板で記憶されている音声データテーブルから左ストップスイッチ受付コマンドに該当する音声パターンを選択して音声出力制御を実行させる。音声パターンを選択した後に音声を出力させるまでの時間は約1msとなる。また、サブ制御基板で保存したデータ(音声パターン、又は左ストップスイッチ受付コマンド)をスピーカ制御基板に送信するまでの期間は1msとなっている。
上述したサブ制御基板側での処理により、サブ制御基板側での押し順報知順番は、ランプ、スピーカ、液晶の順番となる。ランプとスピーカの報知処理タイミングは略同一であるが、光の速度と音の速度の関係上、遊技者に認識されやすいものとしてランプ、スピーカの順番となるよう構成してもよいし、スピーカ、ランプの順番となるよう構成してもよい。
このような構成により、遊技者が第2停止操作開始時に注力しやすい、ランプによる報知を最速で実施し、その後スピーカ、液晶とすることで、押し順を理解させやすく構成でき、遊技者の押し順ミスを防ぐことができる。なお、本例では、第1停止操作と第2停止操作とにおける液晶、ランプ、スピーカにおける報知に関する構成ついて詳述しているが、これには限定されず、第3停止についても第2停止と同様の構成を適用しても問題ない。
<第5実施形態>
第5施形態において、図1において簡単に説明された演出ボタンP381およびサブスイッチ20など演出に使用されるボタンを総称して演出入力ボタンとし、この演出入力ボタンに関する基本構造について図57演出入力ボタン動作説明図を用いて説明する。
演出入力ボタン1000の基本構成は大きく分けて押し下し部1010、外壁部1020、内部構造部1030の3つの部位で構成されており、その他の構成として演出入力ボタン1000を遊技機Pに固定するための固定部(不図示)、演出入力ボタン全体を振動させる振動発生部(不図示)も存在するが、本実施例での説明は割愛する。
外壁部1020は例えば内部がエンジンシリンダ状の筒構造となっており、内径部2022は押し下し部1010が装着後、スムーズにピストン動作できるよう押し下し部1010の外径寸法より若干大きい内径寸法で構成されている。特に振動発生部を有している場合は押し下し部1010を積極的に振動させるために内径部1022と押し下し部1010とのクリアランスが多めに設定される。
押し下し部1010は例えばエンジンピストンのように内部がくり抜かれた円柱状に構成されており、主として外壁部1020の内径部1022に包まれ組み合わさることよりピストン動作を可能とする外径部1012と遊技者の操作によって押し下される押し下し面1011、操作検出センサによって検出される操作検出部(不図示)によって構成される。
内部構造部1030は主として、押し下し部1010を未操作の位置で付勢保持し、遊技者の押し下し操作によって伸縮するバネ部材(不図示)、遊技者の押し下し操作によって操作検出部が所定の位置に移動したことを検出する操作検出センサ(不図示)、押し下し面1011を照らすため、複数の光源kを有した発光部1034で構成される。
図57の押し下し部分が平面形状である演出入力ボタンの動作説明断面図その1と図58の押し下し面が曲面形状である演出入力ボタンの動作説明断面図その2を元に演出入力ボタン1000の動作説明を行うと、遊技者の操作によって押し下し面1011、1061を押し下すことによって、押し下し部1030、1060は外壁部1020、1070の内径部1022、1072の壁面に沿って移動する。この時の内部構造部1030、1080の発光部1034、1084と押し下し面1011、1061の裏面との距離が接近する。また、遊技者が押し下し面1011、1061への操作をやめると押し下し部1030、1060はバネ部材の反発力を利用して初期位置に付勢保持される。
近年、演出ボタンP381およびサブスイッチ20のサイズが徐々に大型化しており、大きな面積を有する押し下し面1011、1061と複数の光源kを有した演出入力ボタン1000が採用されている。しかし、演出入力ボタン1000のサイズが大型化すると通常サイズの演出入力ボタン1000では発生しなかった不具合が発生する可能性がある。
まず1つ目に考えられる不具合を図59の演出入力ボタン不具合説明図その1を元に説明を行う。通常演出入力ボタン1000の押し下し面1011の裏面下部には押し下し面1011を中心とする押し下し部1010の全体を照らす発光部1034が備わる。また、押し下し部1010のストロークが長い場合においては、押し下し操作を行っていない状況でも発光部の光によって押し下し面を十分に光らせる必要があるため、押し下した際の押し下し面1010と発光部1034との間隔を極力狭める必要がある。しかし、演出入力ボタン1000のサイズが大きくなるにつれて押し下し面1011の面積が大きくなり、強い力で操作された場合、押し下し面1011中心部の湾曲率が大きくなり発光部1034の中心に実装されている光源k(例えばLED)を接触破壊してしまう恐れがある。
次に、2つ目に考えられる不具合を図60の演出入力ボタン不具合説明図その2を元に説明を行う。通常の作用としては、演出入力ボタン1000の押し下し部1060は遊技者の操作により往復運動を行うのだが、特に振動発生装置を搭載した演出入力ボタン1000の場合は、外壁部1070の内径部1072と押し下し部1060の外径部とのクリアランスが大きいため、図60にて示すような偏心移動が発生する恐れがある。この際に外壁部1070の内径部1072破損や発光部1084の周辺に配置された光源kが押し下し面1061の裏と衝突し破壊してしまう恐れがある。なお、偏心移動とは、通常であれば遊技者は押し下し面1061の中央部を押し下すが、連打や押し下し部分が中央部からずれて押し下すことで押し下し部1060が垂直方向でなく斜め方向に移動してしまうことを指す。
上述した偏心移動によって光源kに押し下し部1060の構成部品が衝突し破壊する事象では、動作劣化により外壁部1070の内径部1072における破損が一旦発生すると偏心移動が連続して発生するようになり、さらには押し下し機構の不具合が悪化することで広範囲多数の光源kが接触破壊してしまう可能性がある。
そこで、演出入力ボタン1000の動作不具合の対策として、一つ目は光源kに構成部品が接触する事象をガードする施策、二つ目は複数実装した光源の一部を破壊させることで、発光状態の異常を発生させ早期に演出入力ボタン機構の不具合を認識させる施策が考えられる。なお、図60においては、正面から見て左側に押し下し部1060が移動してしまう場合を例示したが、これには限定されず、右側、奥側、手前側などどのような方向の偏心移動に対しても同図の構成が採用可能である。
図61の対策説明図その1を使用して光源破壊の対策一つ目につき、演出入力ボタン1000における押し下し部1010の押し下し面1011の中央部が遊技者の操作により湾曲を起こし、光源kを破壊してしまうことに対する対策例を説明する。なお、本実施例は一例であり、主要部以外の部品形状、配置は適宜変更可能である。
演出入力ボタン1000は外壁部1020、押し下し部1010、内部構造部1030で構成されるが内部構造部1030の一部を構成する光源部1034の一番押し下し面の裏面に接近する光源kの近傍に光源高さよりねじ頭高さが高いねじnを採用する。こうすることにより、変形した押し下し面1011に光源kに衝突することなくねじ頭に変形した押し下し面1011が衝突する。こうすることで発光部1034を固定しつつ光源kの破壊を防ぐことができる。また、光源kの近傍に配置するねじnの保護メッキをクロームメッキ等の銀色発色のねじnを採用すれば光源kの発光をねじ頭で乱反射させ、より鮮やかな発光態様を表現可能できる。
続いて図62の発光部1100A、1100Bの基板1111に実装された光源k、およびボスbやねじnなど位置決め固定手段の配置例図、図63の押し下し部1060の偏心移動による光源破壊を回避する対策説明図その2を元に光源破壊対策について説明する。なお、本実施例は一例であり、主要部以外の部品形状、配置は適宜変更可能である。また、発光部の基板は厚さが極薄のフィルムタイプを実施例に用いて説明しており、図面上では厚さ方向の表記を割愛している。もちろん従来からあるガラスエポキシ樹脂を本実施発光部の基板に採用しても差し支えない。
発光部1100A、1100Bの基板外形として押し下し面1061と同様の形を有し、光源kの配置位置として主に基板中央部と周縁部に設けられる。また発光部1100A、1100Bの固定方法として、位置決めのボスbとねじnによる固定が用いられる。このとき光源kの近傍にねじn、ボスbを設けるようにする。特には周縁部に配置した光源kの場合は位置決め固定手段を光源kより外周側に配置する。こうすることで遊技者が押し下し面1061の周縁部を押し下したことによる偏心移動によって押し下し部1060の構成部分で光源kが破壊されることを回避する。
また、図64の外壁部1300の内径部構造変形例、および押し下し部1200における外壁部の内径部に接触する外径部の構造変更例を説明する。なお、本実施例では押し下し部1200の外径部1262に設けられた断面が半円形の凸形状レールrと外壁部1300の内径部1372に設けられた断面が半円形の凹形状レールhが篏合する例で説明を行うが、これに限らず同様の効果を発揮する構造を有していればよい
演出入力ボタン1000の変更例として、外壁部1300の内径部1372を平面から見て0時方向、3時方向、6時方向、9時方向には半円形の凹形状レールhが施されており、内径部1372を垂直方向に連続した断面が半月状の凹形状を形成している。また、押し下し部1200の外径部1262を平面から見て0時方向、3時方向、6時方向、9時方向には半円形の凸形状レールrが施されており、外径部1262を垂直方向に連続した断面が半月状の凸リブ形状を形成している。この構成がお互い篏合することによって、偏心移動が発生しにくくなり、たとえ偏心移動が起きても各レール形状が施された0時方向、3時方向、6時方向、9時方向への偏心移動の発生頻度が高くなる。
このような構成にすることで光源kの基板1111を固定するボスb、ねじnの配置位置も0時方向、3時方向、6時方向、9時方向に配置すれば偏心移動による光源kの破壊を少ない構成で効率的に防ぐことが可能となる。なお、本実施例では4つの凹形状レールhと凸形状レールrを採用した例で説明したが、演出入力ボタン1000の大きさ、形状に合わせて適宜設定変更可能である。また、凹形状レールhと凸形状レールrを設けた箇所と重なる位置に発光部固定のボスb、ねじn等位置決め固定手段を配置し、ボスb、ねじnを配置した近傍、もしくは内周側(発光部1100の基板中心部方向)に光源kを実装すれば押し下し部1060の偏心移動による光源破壊を効果的に防ぐことが可能となる。このことより凹形状レールhと凸形状レールrの配置位置、発光部1100の基板固定手段と光源実装位置をそれぞれ位置リンクさせて設定すればコストに好適な演出入力ボタン1000を提供できる。
これまでの説明で発光部1100の基板位置決め固定手段としてボスb、ねじnを例に説明したが、発光部1100の基板1110の形状、基板1110の大きさ、基板1110の取り付け角度、不具合の発生頻度に応じて、ボスbを基板1110のを固定手段として運用し、光源kを保護する部位をボスbへ設計時に選択してもよい。
これまでの説明で演出入力ボタン1000の不具合による光源kの破壊を防ぐ方法を説明したが、演出入力ボタン1000の固有構造、もしくは不具合の程度によっては光源kの破壊を防ぐことができないことも考えられる。そこで図65のLED照射レンジの説明図を元に隣り合う光源kの光照射レンジが互いに重なるようにした実施例を説明する。
図65(A)はそれぞれの光源kによって押し下し面を照らす領域w1と領域w2を実線と一点鎖線にてそれぞれ示している。図で示すとおり隣り合う二つの光源kの光照射レンジは一部重なって光を押し下し面に照射しており、例えば片方の光源が破壊されても、もう一つの光源kによって押し下し面に光を照射することが可能となって発光ムラを目立たなくすることが可能となる。また、図65(B)はそれぞれの連続して並べられる複数の光源kによって押し下し面を照らす領域w3、領域w4、領域w5を実線、一点鎖線、二点
鎖線で示している。このように押し下し面1011を照らす領域を重複させて光らせることで更に光源kの破壊による発光ムラを目立たなくすることが可能となる。図65(B)では3連続で並んでいる光源kで押し下し面1011を照らす領域を3重複させている例を説明しているが、さらに複数の光源kを広域に点在させて配置することで広域を他重複に照らすことでさらなる効果を発揮させることも可能である。
次に、演出入力ボタン1000の動作不具合の対策2つ目として複数実装した光源kの一部を破壊させることで、発光状態の異常を発生させ早期に演出入力ボタン機構の不具合を認識させる方法について説明する。本実施例の演出入力ボタンは図58に記載された演出入力ボタン同様、外壁部、押し下し部、および内部構成部の構成が組み合わさっている。ただし内部構成部の発光部の基板を取りつける固定手段の取り付け位置が異なっており垂直方向に一段落ちた構造となっており、基板もこれに準じた構造となっている。なお、上述した構成と同様の箇所は説明を省略する。
一般的に演出入力ボタン1000の材質はデザインの都合上、一般的な樹脂が使用されておりポリアセタール樹脂のような耐摩耗性、摺動性に適した材質は使用しない。そのため設定された押し下し部1060の作動方向と異なる押し下し方向に著しく大きい応力や、連続する応力を与え続けた場合、演出入力ボタン1000の構造に不具合が生じて偏心移動などの異常な挙動を繰り返すようになり、さらに不具合が進展すると演出入力ボタン1000の摺動部分の噛り付きによる押し下し面1061を操作しても押し下し部1060の不動が発生するほか、操作検出部が正しく操作検出センサの検出部を通過しない等の重大な不具合に発展する可能性がある。
そこで本実施例は、演出入力ボタン1000の機構的な不具合を、光源kの破壊によって早期検知を可能としており、より具体的には、不具合の原因が分からないまま、発光部1094を交換しても短期に光源破壊を繰り返してしまう事象や、演出入力ボタン1000の機構的な不具合によって遊技者に不愉快な印象を与えている遊技機Pを早期発見できる。
図66の演出入力ボタン1000の偏心移動による光源破壊説明図を使用して不具合検出の過程を説明する。発光部1094の基板外形として押し下し面と同様の形を有し、光源の配置位置として主に基板中央部と周縁部に設けられる。また発光部1094の固定方法として、位置決めのボスbとねじnによる固定が用いられるが、光源kが設けられている面より一段低い位置にボスb、ねじnを設ける。こうすることで遊技者が押し下し面の周縁部を押し下したことによる偏心移動によって押し下し部1060の構成部分にて光源kが破壊される。
このような構成にすることで演出入力ボタン1000の機構的な不具合を早期発見可能にさせることができる。また、一の光源kが破壊された場合、周辺の複数光源が発光しなくなる構成にしてもよい。また、光源kの発光パターン、点灯パターンを同一にすることで、点灯しているはずの光源kが点灯していないことなどによって、光源kが破壊されたことを早期に発見容易にする演出を行ってもよい。
さらには、点灯パターンを同一にする発光パターンの出現頻度・実行頻度を最も高く設定してもよい。このようにすることで、遊技場管理者は演出入力ボタン1000の機構不具合を演出入力ボタン1000に触れることなく早期に発見できる。また上述した凸形状レールrと凹形状レールhを採用すれば破損が予想される箇所を限定できるうえ、さらに破損が予想される箇所にあたる光源kを単価が比較的安い物とソケット式の光源交換可能構造を兼用させることで、演出入力ボタン1000の不具合を早期に発見できるだけではなく、発光部1094を容易にリサイクルでき、かつ所轄警察署への変更承認届を行うことなく光源kの交換を行うことができる。
(その1)上述した演出入力ボタンの問題点に関し、解決する構成をまとめると以下のようになる。
遊技者の操作により摺動移動可能とし、遊技者が直接接触可能な押し下し面と、外径部と検出対象部を少なくとも有する押し下し部と、
前記押し下し部の外径部を包み込むように保持する内径部を少なくとも有した外壁部と、
前記外壁部の内部に備えられ、前記押し下し部を所定位置に付勢維持するバネ部材と、
前記押し下し部の内部に光を照射する光源を実装した基板を有する発光部と、
前記検出対象部を検出する検出部と、
を少なくとも備えたボタンユニットであって、
前記押し下し面と発光部は、押し下し動作によって距離が小さくなるよう構成されており、
前記基板は固定手段によって係止されており、
押し下し面に対して押し下し動作を実行し、前記固定手段に接触した際には、押し下し面と前記光源とが接触していないよう構成されている
事を特徴とする。
より詳しくは、
遊技者の操作により摺動移動可能とし、遊技者が直接接触可能な押し下し面と、外径部と検出対象部を少なくとも有する押し下し部と、
前記押し下し部の外径部を包み込むように保持する内径部を少なくとも有した外壁部と、
前記外壁部の内部に備えられ、前記押し下し部を所定位置に付勢維持するバネ部材と、
前記押し下し部の内部に光を照射する光源を実装した基板を有する発光部と、
前記検出対象部を検出する検出部と、
を少なくとも備えたボタンユニットであって、
前記押し下し面と発光部は、押し下し動作によって距離が小さくなるよう構成されており、
前記遊技者によって操作される押し下し面に大きな応力が作用することで、押し下し面の中央部分が変形した際、発光部を構成する部位の中で一番最初に押し下し面の裏側と接触するのは前記光源より高さ方向が大きい前記基板の固定手段である
ことを特徴とする。
効果としては、押し下し面が変形しての光源と接触しない構成なため光源の破壊を防ぐことが可能である。
(その2)上述した演出入力ボタンの問題点に関し、解決する構成をまとめると以下のようになる。
遊技者の操作により摺動移動可能とし、遊技者が直接接触可能な押し下し面と、外径部と検出対象部を少なくとも有する押し下し部と、
前記押し下し部の外径部を包み込むように保持する内径部を少なくとも有した外壁部と、
前記外壁部の内部に備えられ、前記押し下し部を所定位置に付勢維持するバネ部材と、前記押し下し部の内部に光を照射する光源を実装した基板を有する発光部と前記検出対象部を検出する検出部
を少なくとも備えたボタンユニットであって、
前記押し下し面と発光部は押し下し動作によってお互いの間隔が狭くなるよう構成されており、
前記基板は位置決め部を有しており、
押し下し面に対して押し下し動作を実行し、前記位置決め部に接触した際には、押し下し面と前記光源とが接触していないよう構成されている
より詳しくは
遊技者の操作により摺動移動可能とし、遊技者が直接接触可能な押し下し面と、外径部と検出対象部を少なくとも有する押し下し部と、
前記押し下し部の外径部を包み込むように保持する内径部を少なくとも有した外壁部と、
前記外壁部の内部に備えられ、前記押し下し部を所定位置に付勢維持するバネ部材と、前記押し下し部の内部に光を照射する光源を実装した基板を有する発光部と前記検出対象部を検出する検出部
を少なくとも備えたボタンユニットであって、
前記押し下し面と発光部は押し下し動作によってお互いの間隔が狭くなるよう構成されており、前記遊技者によって操作される押し下し面に過剰な応力が作用することで、押し下し面の中央部分が変形した際、発光部を構成する部位の中で一番最初に押し下し面の裏側と接触するのは前記光源より高さ方向が大きい前記基板の位置決め手段である
ことを特徴とする。
効果としては、押し下し面が変形しての光源と接触しない構成なため光源の破壊を防ぐことが可能である。
(その3)上述した演出入力ボタンの問題点に関し、解決する構成をまとめると以下のようになる。
遊技者の操作により摺動移動可能とし、遊技者が直接接触可能な押し下し面と、外径部と検出対象部を少なくとも有する押し下し部と、
前記押し下し部の外径部を包み込むように保持する内径部を少なくとも有した外壁部と、前記外壁部の内部に備えられ、前記押し下し部を所定位置に付勢維持するバネ部材と、前記押し下し部の内部に光を照射する光源を実装した基板を有する発光部と前記検出対象部を検出する検出部
を少なくとも備えたボタンユニットであって、
前記発光部の基板周縁部には複数の光源が実装され、実装された複数の光源を結んだ仮想線のさらに外側となる部分に前記光源より高さ方向が大きい前記基板の固定手段が設けられ、
前記基板は固定手段によって係止されており、
押し下し面に対して押し下し動作を実行し、前記固定手段に接触した際には、押し下し面裏面と前記光源とが接触していないよう構成されている
ことを特徴とする。
効果としては、押し下し部が偏心移動を起こしてしまった場合、押し下し部と発光部の光源とが接触をすることを防ぐため、光源より外周側に基板固定手段を置くことで光源の破損を防ぐことが可能となる。
(その4)上述した演出入力ボタンの問題点に関し、解決する構成をまとめると以下のようになる。
遊技者の操作により摺動移動可能とし、遊技者が直接接触可能な押し下し面と、外径部と検出対象部を少なくとも有する押し下し部と、
前記押し下し部の外径部を包み込むように保持する内径部を少なくとも有した外壁部と、前記外壁部の内部に備えられ、前記押し下し部を所定位置に付勢維持するバネ部材と、前記押し下し部の内部に光を照射する光源を実装した基板を有する発光部と前記検出対象部を検出する検出部
を少なくとも備えたボタンユニットであって、
前記基板は位置決め部を有しており、
押し下し面に対して押し下し動作を実行し、前記位置決め部に接触した際には、押し下し面と前記光源とが接触していないよう構成されている。
より詳しくは、
遊技者の操作により摺動移動可能とし、遊技者が直接接触可能な押し下し面と、外径部と検出対象部を少なくとも有する押し下し部と、
前記押し下し部の外径部を包み込むように保持する内径部を少なくとも有した外壁部と、前記外壁部の内部に備えられ、前記押し下し部を所定位置に付勢維持するバネ部材と、前記押し下し部の内部に光を照射する光源を実装した基板を有する発光部と前記検出対象部を検出する検出部
を少なくとも備えたボタンユニットであって、
前記基板は位置決め部を有しており、 前記発光部の基板周縁部には複数の光源が実装され、実装された複数の光源を結んだ仮想線のさらに外側となる部分に前記光源より高さ方向が大きい前記基板の位置決め手段が設けられる
ことを特徴とする。
効果としては、押し下し部が偏心移動を起こしてしまった場合、押し下し部と発光部の光源とが接触をすることを防ぐため、光源より外周側に固定手段を置くことで光源の破損を防ぐことが可能となる。
(その5)上述した演出入力ボタンの問題点に関し、解決する構成をまとめると以下のようになる。
遊技者の操作により摺動移動可能とし、遊技者が直接接触可能な押し下し面と、外径部と検出対象部を少なくとも有する押し下し部と、
前記押し下し部の外径部を包み込むように保持する内径部を少なくとも有した外壁部と、前記外壁部の内部に備えられ、前記押し下し部を所定位置に付勢維持するバネ部材と、前記押し下し部の内部に光を照射する光源を実装した基板を有する発光部と前記検出対象部を検出する検出部
を少なくとも備えたボタンユニットであって、
前記基板は固定手段によって係止されており、
押し下し面に対して押し下し動作を実行し、前記光源に接触した際には、押し下し面裏面と前記固定手段とが接触していないよう構成されている。
より詳しくは、
遊技者の操作により摺動移動可能とし、遊技者が直接接触可能な押し下し面と、外径部と検出対象部を少なくとも有する押し下し部と、
前記押し下し部の外径部を包み込むように保持する内径部を少なくとも有した外壁部と、前記外壁部の内部に備えられ、前記押し下し部を所定位置に付勢維持するバネ部材と、前記押し下し部の内部に光を照射する光源を実装した基板を有する発光部と前記検出対象部を検出する検出部
を少なくとも備えたボタンユニットであって、
前記発光部の基板には複数の光源が実装され、前記押し下し面裏面と前記基板の固定手段配置位置との距離は前記複数の光源の配置位置と前記押し下し面裏面との距離より離れた位置に設定される
ことを特徴とする。
効果としては、押し下し部が偏心移動を起こしてしまった場合、押し下し部と発光部の光源とが接触し、光源が発光しなくなることで演出入力ボタンの機構面の不具合を明視化できる。
(その6)上述した演出入力ボタンの問題点に関し、解決する構成をまとめると以下のようになる。
遊技者の操作により摺動移動可能とし、遊技者が直接接触可能な押し下し面と、外径部と検出対象部を少なくとも有する押し下し部と、
前記押し下し部の外径部を包み込むように保持する内径部を少なくとも有した外壁部と、前記外壁部の内部に備えられ、前記押し下し部を所定位置に付勢維持するバネ部材と、前記押し下し部の内部に光を照射する光源を実装した基板を有する発光部と前記検出対象部を検出する検出部
を少なくとも備えたボタンユニットであって、
前記発光部の基板には複数の光源が実装されており、前記複数の光源によって実施される発光パターンを複数種類有しており、
所定の遊技時間で実行される前記発光パターンにおいて、前記複数の光源が同一の発光パターンで実行される割合が最も高いことを特徴とする。
効果としては、光源の破壊することによって不具合が発生した場合、隣り合う光源と発光パターンが同一の時は容易に発見することができる。そこで隣り合う光源と同一の発光パターンを多く行うようにすれば早期に光源の不具合を発見できる。
(その7)上述した演出入力ボタンの問題点に関し、解決する構成をまとめると以下のようになる。
遊技者の操作により摺動移動可能とし、遊技者が直接接触可能な押し下し面と、外径部と検出対象部を少なくとも有する押し下し部と、
前記押し下し部の外径部を包み込むように保持する内径部を少なくとも有した外壁部と、
前記外壁部の内部に備えられ、前記押し下し部を所定位置に付勢維持するバネ部材と、前記押し下し部の内部に光を照射する光源を実装した基板を有する発光部と前記検出対象部を検出する検出部
を少なくとも備えたボタンユニットであって、
前記発光部の基板には複数の光源が実装されており、前記複数の光源の光照射範囲が隣り合う光源と必ず重複するように実装されることを特徴とする。
効果としては、光源の破壊することによって不具合が発生した場合、不具合が発生した光源と隣り合う光源の光照射範囲を重複させることで、全点灯した際、光照射箇所の一部が暗くなることを軽減することができる。
<第6実施形態>
次に、ぱちんこ遊技機における演出ボタンに備えている振動装置から発する振動の伝達機構について説明する。
ぱちんこ遊技機において、ボタン演出を実行可能な構成を以下に詳述する。ここで、ぱちんこ遊技機におけるボタン演出とは、図柄変動中の所定のタイミングにおいて、遊技者に対して演出ボタンの操作を促す操作促進画像を表示し、操作促進画像の表示中であるボタン有効期間にて演出ボタンに対する所定の操作(0.3秒以内のオン→オフとなる単発押し操作、0.3秒以上のオン→オフとなる長押し操作、0.3秒以内のオン→オフを複数回行う連打操作、など)を実行することで、操作後演出(キャラクタのセリフの内容や文字の色で当該図柄変動の大当り期待度を示唆する演出など)が実行される一連の演出をボタン演出と称している。なお、ボタン有効期間にて演出ボタンに対する所定の操作が実行されずに、ボタン有効期間が終了した場合には、操作後演出を実行しないようにしてもよいし、当該ボタン有効期間の終了タイミングにて操作後演出を実行するよう構成してもよい。また、操作促進画像を表示していない期間においてもボタン有効期間とするよう構成してもよい(操作促進画像を表示しないボタン演出を実行してもよい)。
ここで、本例にて詳述する所定のボタン演出は、操作促進画像の表示中(または、ボタン有効期間)にて、演出ボタンが振動して、遊技者に演出ボタンの操作が有効であることを報知する演出態様となっている。なお、当該所定のボタン演出を、本実施例では演出Aと称することとする。
なお、本実施例においては、演出ボタンの操作を受け付けても、演出ボタンの振動は一定時間継続する。また、振動の大きさは、振動の変位の大きさ(変位の幅)、振動の速度、振動の変位の加速度などによって決定されることとなるが、本実施例においては、異なる部材間でどの程度振動の変位の大きさが伝達するかについてのみに言及することとする。なお、変位の大きさとは、例えば、演出Aが実行され、演出ボタンが上下に振動する場合における、最も上に位置している状態と最も下に位置している状態との幅である。なお、振動の方向は上下には限定されず、いずれかの直線方向における最大の幅を変位の大きさとすればよい。
本実施形態では、演出A実行時においては演出ボタンが振動し、演出ボタンの振動の変位は1cmとなっている。
ぱちんこ遊技機で遊技する場合、遊技者はハンドルに触れた状態で遊技することとなるが、演出ボタンの振動の変位が減衰されずにハンドルに伝達してしまうと、遊技者の発射強度の操作に影響がでて、意図しない発射強度にて遊技球が発射されてしまい、思わぬ損失を被る可能性が生じてしまう。
図67は演出ボタンと遊技者が操作を行うハンドルをつなぐ部品が一つの部品(フロント部材)で接続されている。
さらに、ぱちんこ遊技機を正面からみて、演出ボタンからハンドルまでの直線状において、フロント部材の演出ボタンが接続されている場所とハンドルが接続されている場所との間には略直角及び略湾曲の何れの形状も含まれておらず、直線状に振動が伝達し得る。
演出Aが選択及び実施された場合、まず演出ボタンが振動する。この時の演出ボタンの変位は前述したように1cmとなる。
その後、演出ボタンから演出ボタンとは異なる部材であるフロント部材へ振動が伝達することとなり、異なる部品間で振動が伝達するため、振動が減衰し、フロント部材での振動の変位は0.9cmになる。
その後、フロント部材からフロント部材とは異なる部材であるハンドルへ振動が伝達することとなり、異なる部品間で振動が伝達するため、振動が減衰し、ハンドルでの振動の変位は0.8cmになる。
このように、演出ボタンでの振動が演出ボタンからハンドルまでに1つの部品しか介さない場合においては、大きい振動が伝達してしまう。そこで、本例においては、演出ボタンに生じる振動がハンドルに伝達し難い遊技機の構成を以下に詳述する。
図68は演出ボタンと遊技者が操作を行うハンドルをつなぐ部品が複数の部品(上皿、上部材、下部材)で接続されており、上部材と下部材とはビスにて接続されている。
ぱちんこ遊技機を正面からみて、演出ボタンからハンドルまでの直線状において、上皿、上部材及び下部材は略直角及び略湾曲の何れの形状も含んでいない。
演出Aが選択及び実施された場合、まず演出ボタンが振動する。この時の演出ボタンの変位は1cmになる。
その後、演出ボタンから演出ボタンとは異なる部材である上皿へ振動が伝達することとなり、異なる部品間で振動が伝達するため、振動が減衰し、上皿での振動の変位は0.9cmになる。
その後、上皿から上皿とは異なる部材である上部材へ振動が伝達することとなり、異なる部品間で振動が伝達するため、振動が減衰し、上部材での振動の変位は0.7cmになる。
その後、上部材から上部材とは異なる部材である下部材へ振動が伝達することとなり、異なる部品間で振動が伝達し、更に、上部材と下部材がビスで接続されているため、振動が減衰し、下部材での振動の変位は0.3cmになる。ここで、同図における上部材と下部材のように、2つの異なる部材がビスで接続される場合には、ビスによっても振動が減衰されるため、2つの異なる部材が接合されている場合よりも振動を減衰させることができる。なお、同図における上皿と上部材などのように、2つの異なる部材の接続方法について言及していない場合には、直線状の接合部にて接合されていることとする。
その後、下部材から下部材とは異なる部材であるハンドルへ振動が伝達することとなり、異なる部品間で振動が伝達するため、振動が減衰し、ハンドルでの振動の変位は0.2cmになる。
このように、演出ボタンからハンドルまでに複数の部品を介している場合においては、演出ボタンからハンドルまでに1つの部品しか介さない場合よりも、ハンドルに伝達される振動の変位を小さくすることができる。
ハンドルに伝達される振動が小さければ、遊技者の発射操作に影響が出にくく、ボタン演出が実行されたことにより、ハンドルの強弱が変更されてしまう事態が生じ難い遊技機を創出することができる。
図69は演出ボタンと遊技者が操作を行うハンドルをつなぐ部品が複数の部品(上皿、上部材、下部材)で接続されており、上部材と下部材とははめ込み式にて接続されている。はめ込み式とは、同図における点線の円内に記載したように、一方向に力を加えても2つの異なる部材の接合が解除されないように、接合した少なくとも一部分がはめ込み式になっていることである。
ぱちんこ遊技機を正面からみて、演出ボタンからハンドルまでの直線状において、上皿、上部材及び下部材は略直角及び略湾曲の何れの形状も含んでいない。
演出Aが選択及び実施された場合、まず演出ボタンが振動する。この時の演出ボタンの変位は1cmになる。
その後、演出ボタンから演出ボタンとは異なる部材である上皿へ振動が伝達することとなり、異なる部品間で振動が伝達するため、振動が減衰し、上皿での振動の変位は0.9cmになる。
その後、上皿から上皿とは異なる部材である上部材へ振動が伝達することとなり、異なる部品間で振動が伝達するため、振動が減衰し、上部材での振動の変位は0.7cmになる。
その後、上部材から上部材とは異なる部材である下部材へ振動が伝達することとなり、異なる部品間で振動が伝達し、更に、上部材と下部材がはめ込み式で接続されているため、振動が減衰し、下部材での振動の変位は0.2cmになる。ここで、同図における上部材と下部材のように、2つの異なる部材がはめ込み式で接続される場合には、図69のような直線状の接合部と比較してはめ込み式の接合部によって更に振動が減衰されるため、2つの異なる部材が接合されている場合(接合部が直線上の場合)よりも振動を減衰させることができる。
その後、下部材から下部材とは異なる部材であるハンドルへ振動が伝達することとなり、異なる部品間で振動が伝達するため、振動が減衰し、ハンドルでの振動の変位は0.1cmになる。
このように、演出ボタンからハンドルまでに複数の部品を介している場合においては、演出ボタンからハンドルまでに1つの部品しか介さない場合よりも、ハンドルに伝達される振動の変位を小さくすることができる。
ハンドルに伝達される振動が小さければ、遊技者の発射操作に影響が出にくく、ボタン演出が実行されたことにより、ハンドルの強弱が変更されてしまう事態が生じ難い遊技機を創出することができる。
図70は演出ボタンと遊技者が操作を行うハンドルをつなぐ部品が複数の部品(上皿、上部材、下部材)で接続されており、上部材と下部材とはビスにて接続されている。
ぱちんこ遊技機を正面からみて、演出ボタンからハンドルまでの直線状において、上皿及び上部材は略直角及び略湾曲の何れの形状も含んでおらず、下部材は略直角の形状を含んでいる。
演出Aが選択及び実施された場合、まず演出ボタンが振動する。この時の演出ボタンの変位は1cmになる。
その後、演出ボタンから演出ボタンとは異なる部材である上皿へ振動が伝達することとなり、異なる部品間で振動が伝達するため、振動が減衰し、上皿での振動の変位は0.9cmになる。
その後、上皿から上皿とは異なる部材である上部材へ振動が伝達することとなり、異なる部品間で振動が伝達するため、振動が減衰し、上部材での振動の変位は0.7cmになる。
その後、上部材から上部材とは異なる部材である下部材へ振動が伝達することとなり、異なる部品間で振動が伝達し、更に、上部材と下部材がビスで接続されているため、振動が減衰し、下部材での振動の変位は0.3cmになる。ここで、同図における上部材と下部材のように、2つの異なる部材がビスで接続される場合には、ビスによっても振動が減衰されるため、2つの異なる部材が接合されている場合よりも振動を減衰させることができる。
その後、下部材から下部材とは異なる部材であるハンドルへ振動が伝達することとなり、異なる部品間で振動が伝達し、更に、下部材は略直角の形状を含んでいるため、下部材を振動が伝達していく場合に、直線状に伝達することができず、直線状に伝達することができる場合よりも、振動がより減衰し、ハンドルでの振動の変位は0.15cmになる。
このように、演出ボタンからハンドルまでに複数の部品を介している場合においては、演出ボタンからハンドルまでに1つの部品しか介さない場合よりも、ハンドルに伝達される振動の変位を小さくすることができる。
ハンドルに伝達される振動が小さければ、遊技者の発射操作に影響が出にくく、ボタン演出が実行されたことにより、ハンドルの強弱が変更されてしまう事態が生じ難い遊技機を創出することができる。
図71は演出ボタンと遊技者が操作を行うハンドルをつなぐ部品が複数の部品(上皿、上部材、下部材)で接続されており、上部材と下部材とはビスにて接続されている。
ぱちんこ遊技機を正面からみて、演出ボタンからハンドルまでの直線状において、上皿及び上部材は略直角及び略湾曲の何れの形状も含んでおらず、下部材は略湾曲の形状を含んでいる。
演出Aが選択及び実施された場合、まず演出ボタンが振動する。この時の演出ボタンの変位は1cmになる。
その後、演出ボタンから演出ボタンとは異なる部材である上皿へ振動が伝達することとなり、異なる部品間で振動が伝達するため、振動が減衰し、上皿での振動の変位は0.9cmになる。
その後、上皿から上皿とは異なる部材である上部材へ振動が伝達することとなり、異なる部品間で振動が伝達するため、振動が減衰し、上部材での振動の変位は0.7cmになる。
その後、上部材から上部材とは異なる部材である下部材へ振動が伝達することとなり、異なる部品間で振動が伝達し、更に、上部材と下部材がビスで接続されているため、振動が減衰し、下部材での振動の変位は0.3cmになる。ここで、同図における上部材と下部材のように、2つの異なる部材がビスで接続される場合には、ビスによっても振動が減衰されるため、2つの異なる部材が接合されている場合よりも振動を減衰させることができる。
その後、下部材から下部材とは異なる部材であるハンドルへ振動が伝達することとなり、異なる部品間で振動が伝達し、更に、下部材は略湾曲の形状を含んでいるため、略湾曲の形状を含んでいない場合よりも、振動がより減衰し、ハンドルでの振動の変位は0.12cmになる。
このように、演出ボタンからハンドルまでに複数の部品を介している場合においては、演出ボタンからハンドルまでに1つの部品しか介さない場合よりも、ハンドルに伝達される振動の変位を小さくすることができる。
ハンドルに伝達される振動が小さければ、遊技者の発射操作に影響が出にくく、ボタン演出が実行されたことにより、ハンドルの強弱が変更されてしまう事態が生じ難い遊技機を創出することができる。
なお、振動を減衰させる(振動の変位を減衰させる)その他の構成は、不図示であるが、演出ボタンと遊技者が操作を行うハンドルとの間に材質が違う部品(金属など)を備えている場合、さらに振動は減衰する。一例としては、演出ボタンが振動し、演出ボタンからプラスチック、プラスチック、プラスチックの部品でハンドルまで接続されている場合より、演出ボタンからプラスチック、金属、プラスチックの部品でハンドルまで接続されているほうが、ハンドルに伝わる振動は弱い。即ち、異なる複数の部品のうちの1または複数の部品が金属などの異なる材質によって形成されていることによって、ハンドルに伝わる振動を更に減衰させることができる。更に、演出ボタンとハンドルとの間の1又は複数の部品を金属にすることによって、電磁波を防ぐこともでき、各種基板に対する電磁波の影響を軽減することができる。
演出により、演出ボタンを振動させる演出時にハンドルに振動が伝達し、ハンドルの強弱がぶれてしまうと、打ち出す球にブレが生じてしまい、遊技者に不利益を与えてしまう。
演出ボタンを振動させる装置に振動吸収装置を装着させることもできるが、コストも高く、構造も大きくなってしまう可能性がある。
本願では演出ボタンの構造も肥大化せず、ハンドルにも振動が伝達しにくく、遊技者に不利益を与えずに最大限の演出を行う発明になっている。
図72は前述した、振動の変位の伝達を減衰させることができる構成を1または複数採用した場合の、振動の変位の値をまとめた表である。振動の変位の値は図示するようになっており、振動の変位の伝達を減衰させる方法としては、以下の構成が考えられ、それらを所望する遊技機の形状やデザインやコストなどを考慮して、適宜組み合わせてもよい。
<振動の変位を減衰する構成>
(1)接合部分の形状:ビス止め、はめ込み
(2)演出ボタンからハンドルまでの部品の数を増加する
(3)部材の形状:一部略直角、一部略湾曲
(4)金属などの材質の部材を使用する
<第7実施形態>
次に、スロットマシンにおける演出ボタンに備えている振動装置から発する振動の伝達機構について説明する。
第6実施形態においては、ボタン演出として演出ボタンの振動を伴う演出Aを実行可能なぱちんこ遊技機の構成について詳述したが、当該構成は回胴式遊技機にも適用可能である。ここで、回胴式遊技機におけるボタン演出とは、リール回転中やリール停止時の所定のタイミングにおいて、遊技者に対して演出ボタンの操作を促す操作促進画像を表示し、操作促進画像の表示中であるボタン有効期間にて演出ボタンに対する所定の操作(0.3秒以内のオン→オフとなる単発押し操作、0.3秒以上のオン→オフとなる長押し操作、0.3秒以内のオン→オフを複数回行う連打操作、など)を実行することで、操作後演出(キャラクタのセリフの内容や文字の色で、ボーナスに当選していること、ATが実行されること及びARTが実行されることなどの期待度を示唆する演出など)が実行される一連の演出をボタン演出と称している。なお、ボタン有効期間にて演出ボタンに対する所定の操作が実行されずに、ボタン有効期間が終了した場合(例えば、停止ボタンの操作、ベットボタンの操作、またはスタートレバーの操作が受け付けられた場合)には、操作後演出を実行しないようにしてもよいし、当該ボタン有効期間の終了タイミングにて操作後演出を実行するよう構成してもよい。また、操作促進画像を表示していない期間においてもボタン有効期間とするよう構成してもよい(操作促進画像を表示しないボタン演出を実行してもよい)。
ここで、本例にて詳述する所定のボタン演出は、操作促進画像の表示中(または、ボタン有効期間)にて、演出ボタンが振動して、遊技者に演出ボタンの操作が有効であることを報知する演出態様となっている。なお、当該所定のボタン演出を、本実施例では演出Aと称することとする。
なお、本実施例においては、演出ボタンの操作を受け付けても、演出ボタンの振動は一定時間継続する。また、振動の大きさは、振動の変位の大きさ(変位の幅)、振動の速度、振動の変位の加速度などによって決定されることとなるが、本実施例においては、異なる部材間でどの程度振動の変位の大きさが伝達するかについてのみに言及することとする。なお、変位の大きさとは、例えば、演出Aが実行され、演出ボタンが上下に振動する場合における、最も上に位置している状態と最も下に位置している状態との幅である。なお、振動の方向は上下には限定されず、いずれかの直線方向における最大の幅を変位の大きさとすればよい。
本実施形態では、演出A実行時においては演出ボタンが振動し、演出ボタンの振動の変位は1cmとなっている。
回胴式遊技機で遊技する場合、遊技者は停止ボタンを操作してリールに対する停止操作を行う。また、リールの停止位置は停止ボタンの操作が受け付けられたタイミングによって相違し得るため、演出ボタンの振動の変位が減衰されずに停止ボタンに伝達してしまうと、遊技者の停止操作に影響がでて、意図しないタイミングで停止ボタンの操作が受け付けられてしまい、思わぬ損失を被る可能性が生じてしまう。なお、以下に例示する構成における停止ボタンはいずれの停止ボタンとしてもよいが、一例として左停止ボタンにおける構成を例示することとする。
図73は演出ボタンと遊技者が操作を行う停止ボタンをつなぐ部品が一つの部品(フロントマスク)で接続されている。
さらに、回胴式遊技機を正面からみて、演出ボタンから停止ボタンまでの直線状において、フロントマスクの演出ボタンが接続されている場所と停止ボタンが接続されている場所との間には略直角及び略湾曲の何れの形状も含まれておらず、直線状に振動が伝達し得る。
演出Aが選択及び実施された場合、まず演出ボタンが振動する。この時の演出ボタンの変位は前述したように1cmとなる。
その後、演出ボタンから演出ボタンとは異なる部材であるフロントマスクへ振動が伝達することとなり、異なる部品間で振動が伝達するため、振動が減衰し、フロントマスクでの振動の変位は0.9cmになる。
その後、フロントマスクからフロントマスクとは異なる部材である停止ボタンへ振動が伝達することとなり、異なる部品間で振動が伝達するため、振動が減衰し、停止ボタンでの振動の変位は0.8cmになる。
このように、演出ボタンでの振動が演出ボタンから停止ボタンまでに1つの部品しか介さない場合においては、大きい振動が伝達してしまう。そこで、本例においては、演出ボタンに生じる振動が停止ボタンに伝達し難い遊技機の構成を以下に詳述する。
図74は演出ボタンと遊技者が操作を行う停止ボタンをつなぐ部品が複数の部品(コントロールパネル、フロントマスク中、停止ボタンユニット)で接続されており、コントロールパネルとフロントマスク中とはビスにて接続されている。
回胴式遊技機を正面からみて、演出ボタンから停止ボタンまでの直線状において、コントロールパネル、フロントマスク中及び停止ボタンユニットは略直角及び略湾曲の何れの形状も含んでいない。
演出Aが選択及び実施された場合、まず演出ボタンが振動する。この時の演出ボタンの変位は1cmになる。
その後、演出ボタンから演出ボタンとは異なる部材であるコントロールパネルへ振動が伝達することとなり、異なる部品間で振動が伝達するため、振動が減衰し、コントロールパネルでの振動の変位は0.9cmになる。
その後、コントロールパネルからコントロールパネルとは異なる部材であるフロントマスク中へ振動が伝達することとなり、異なる部品間で振動が伝達し、更に、コントロールパネルとフロントマスク中とがビスで接続されているため、振動が減衰し、フロントマスク中での振動の変位は0.7cmになる。ここで、同図におけるフロントマスク中と停止ボタンユニットのように、2つの異なる部材がビスで接続される場合には、ビスによっても振動が減衰されるため、2つの異なる部材が接合されている場合よりも振動を減衰させることができる。なお、2つの異なる部材の接続方法について言及していない場合には、直線状の接合部にて接合されていることとする。
その後、フロントマスク中からフロントマスク中とは異なる部材である停止ボタンユニットへ振動が伝達することとなり、異なる部品間で振動が伝達するため、振動が減衰し、停止ボタンユニットでの振動の変位は0.6cmになる。
その後、停止ボタンユニットから停止ボタンユニットとは異なる部材である停止ボタンへ振動が伝達することとなり、異なる部品間で振動が伝達するため、振動が減衰し、停止ボタンでの振動の変位は0.5cmになる。
このように、演出ボタンから停止ボタンまでに複数の部品を介している場合においては、演出ボタンから停止ボタンまでに1つの部品しか介さない場合よりも、停止ボタンに伝達される振動の変位を小さくすることができる。
停止ボタンに伝達される振動が小さければ、遊技者の停止操作に影響が出にくく、ボタン演出が実行されたことにより、停止ボタンの停止操作を受け付けるタイミングがずれてしまう事態が生じ難い遊技機を創出することができる。
図75は演出ボタンと遊技者が操作を行う停止ボタンをつなぐ部品が複数の部品(コントロールパネル、フロントマスク中、停止ボタンユニット)で接続されており、コントロールパネルとフロントマスク中とははめ込み式にて接続されている。はめ込み式とは、同図における点線の円内に記載したように、一方向に力を加えても2つの異なる部材の接合が解除されないように、接合した少なくとも一部分がはめ込み式になっていることである。
回胴式遊技機を正面からみて、演出ボタンから停止ボタンまでの直線状において、コントロールパネル、フロントマスク中及び停止ボタンユニットは略直角及び略湾曲の何れの形状も含んでいない。
演出Aが選択及び実施された場合、まず演出ボタンが振動する。この時の演出ボタンの変位は1cmになる。
その後、演出ボタンから演出ボタンとは異なる部材であるコントロールパネルへ振動が伝達することとなり、異なる部品間で振動が伝達するため、振動が減衰し、コントロールパネルでの振動の変位は0.9cmになる。
その後、コントロールパネルからコントロールパネルとは異なる部材であるフロントマスク中へ振動が伝達することとなり、異なる部品間で振動が伝達し、更に、コントロールパネルとフロントマスク中がはめ込み式で接続されているため、振動が減衰し、フロントマスク中での振動の変位は0.65cmになる。ここで、同図におけるコントロールパネルとフロントマスク中のように、2つの異なる部材がはめ込み式で接続される場合には、直線状の接合部と比較してはめ込み式の接合部によって更に振動が減衰されるため、2つの異なる部材が接合されている場合(接合部が直線上の場合)よりも振動を減衰させることができる。
その後、フロントマスク中からフロントマスク中とは異なる部材である停止ボタンユニットへ振動が伝達することとなり、異なる部品間で振動が伝達するため、振動が減衰し、停止ボタンユニットでの振動の変位は0.55cmになる。
その後、停止ボタンユニットから停止ボタンユニットとは異なる部材である停止ボタンへ振動が伝達することとなり、異なる部品間で振動が伝達するため、振動が減衰し、停止ボタンでの振動の変位は0.45cmになる。
このように、演出ボタンから停止ボタンまでに複数の部品を介している場合においては、演出ボタンから停止ボタンまでに1つの部品しか介さない場合よりも、停止ボタンに伝達される振動の変位を小さくすることができる。
停止ボタンに伝達される振動が小さければ、遊技者の停止操作に影響が出にくく、ボタン演出が実行されたことにより、停止ボタンの停止操作を受け付けるタイミングがずれてしまう事態が生じ難い遊技機を創出することができる。
図76は演出ボタンと遊技者が操作を行う停止ボタンをつなぐ部品が複数の部品(コントロールパネル、フロントマスク中、停止ボタンユニット)で接続されており、コントロールパネルとフロントマスク中とはビスにて接続されている。
回胴式遊技機を正面からみて、演出ボタンから停止ボタンまでの直線状において、コントロールパネル及びフロントマスク中は略直角及び略湾曲の何れの形状も含んでおらず、停止ボタンユニットは略直角の形状を含んでいる。
演出Aが選択及び実施された場合、まず演出ボタンが振動する。この時の演出ボタンの変位は1cmになる。
その後、演出ボタンから演出ボタンとは異なる部材であるコントロールパネルへ振動が伝達することとなり、異なる部品間で振動が伝達するため、振動が減衰し、コントロールパネルでの振動の変位は0.9cmになる。
その後、コントロールパネルからコントロールパネルとは異なる部材であるフロントマスク中へ振動が伝達することとなり、異なる部品間で振動が伝達し、更に、コントロールパネルとフロントマスク中とがビスで接続されているため、振動が減衰し、フロントマスク中での振動の変位は0.7cmになる。ここで、同図におけるフロントマスク中と停止ボタンユニットのように、2つの異なる部材がビスで接続される場合には、ビスによっても振動が減衰されるため、2つの異なる部材が接合されている場合よりも振動を減衰させることができる。なお、2つの異なる部材の接続方法について言及していない場合には、直線状の接合部にて接合されていることとする。
その後、フロントマスク中からフロントマスク中とは異なる部材である停止ボタンユニットへ振動が伝達することとなり、異なる部品間で振動が伝達し、更に、フロントマスク中は略直角の形状を含んでいるため、フロントマスク中を振動が伝達していく場合に、直線状に伝達することができず、直線状に伝達することができる場合よりも、振動がより減衰し、停止ボタンユニットでの振動の変位は0.5cmになる。
その後、停止ボタンユニットから停止ボタンユニットとは異なる部材である停止ボタンへ振動が伝達することとなり、異なる部品間で振動が伝達するため、振動が減衰し、停止ボタンでの振動の変位は0.4cmになる。
このように、演出ボタンから停止ボタンまでに複数の部品を介している場合においては、演出ボタンから停止ボタンまでに1つの部品しか介さない場合よりも、停止ボタンに伝達される振動の変位を小さくすることができる。
停止ボタンに伝達される振動が小さければ、遊技者の停止操作に影響が出にくく、ボタン演出が実行されたことにより、停止ボタンの停止操作を受け付けるタイミングがずれてしまう事態が生じ難い遊技機を創出することができる。
図77は演出ボタンと遊技者が操作を行う停止ボタンをつなぐ部品が複数の部品(コントロールパネル、フロントマスク中、停止ボタンユニット)で接続されており、コントロールパネルとフロントマスク中とはビスにて接続されている。
回胴式遊技機を正面からみて、演出ボタンから停止ボタンまでの直線状において、コントロールパネル及びフロントマスク中は略直角及び略湾曲の何れの形状も含んでおらず、停止ボタンユニットは略湾曲の形状を含んでいる。
演出Aが選択及び実施された場合、まず演出ボタンが振動する。この時の演出ボタンの変位は1cmになる。
その後、演出ボタンから演出ボタンとは異なる部材であるコントロールパネルへ振動が伝達することとなり、異なる部品間で振動が伝達するため、振動が減衰し、コントロールパネルでの振動の変位は0.9cmになる。
その後、コントロールパネルからコントロールパネルとは異なる部材であるフロントマスク中へ振動が伝達することとなり、異なる部品間で振動が伝達し、更に、コントロールパネルとフロントマスク中とがビスで接続されているため、振動が減衰し、フロントマスク中での振動の変位は0.7cmになる。ここで、同図におけるフロントマスク中と停止ボタンユニットのように、2つの異なる部材がビスで接続される場合には、ビスによっても振動が減衰されるため、2つの異なる部材が接合されている場合よりも振動を減衰させることができる。なお、2つの異なる部材の接続方法について言及していない場合には、直線状の接合部にて接合されていることとする。
その後、フロントマスク中からフロントマスク中とは異なる部材である停止ボタンユニットへ振動が伝達することとなり、異なる部品間で振動が伝達し、更に、フロントマスク中は略湾曲の形状を含んでいるため、直線状に伝達することができる場合よりも、振動がより減衰し、停止ボタンユニットでの振動の変位は0.48cmになる。
その後、停止ボタンユニットから停止ボタンユニットとは異なる部材である停止ボタンへ振動が伝達することとなり、異なる部品間で振動が伝達するため、振動が減衰し、停止ボタンでの振動の変位は0.38cmになる。
このように、演出ボタンから停止ボタンまでに複数の部品を介している場合においては、演出ボタンから停止ボタンまでに1つの部品しか介さない場合よりも、停止ボタンに伝達される振動の変位を小さくすることができる。
停止ボタンに伝達される振動が小さければ、遊技者の停止操作に影響が出にくく、ボタン演出が実行されたことにより、停止ボタンの停止操作を受け付けるタイミングがずれてしまう事態が生じ難い遊技機を創出することができる。
なお、振動を減衰させる(振動の変位を減衰させる)その他の構成は、不図示であるが、演出ボタンと遊技者が操作を行う停止ボタンとの間に材質が違う部品(金属など)を備えている場合、さらに振動は減衰する。一例としては、演出ボタンが振動し、演出ボタンからプラスチック、プラスチック、プラスチックの部品で停止ボタンまで接続されている場合より、演出ボタンからプラスチック、金属、プラスチックの部品で停止ボタンまで接続されているほうが、停止ボタンに伝わる振動は弱い。即ち、異なる複数の部品のうちの1または複数の部品が金属などの異なる材質によって形成されていることによって、ハンドルに伝わる振動を更に減衰させることができる。更に、演出ボタンとハンドルとの間の1又は複数の部品を金属にすることによって、電磁波を防ぐこともでき、各種基板に対する電磁波の影響を軽減することができる。
演出により、演出ボタンを振動させる演出時に停止ボタンに振動が伝達し、停止ボタンの押下タイミングがぶれてしまうと、回胴の停止する位置にずれが生じてしまい、遊技者に不利益を与えてしまう。
演出ボタンを振動させる装置に振動吸収装置を装着させることもできるが、コストも高く、構造も大きくなってしまう可能性がある。
本願では演出ボタンの構造も肥大化せず、停止ボタンにも振動が伝達しにくく、遊技者に不利益を与えずに最大限の演出を行う発明になっている。
図78は前述した、振動の変位の伝達を減衰させることができる構成を1または複数採用した場合の、振動の変位の値をまとめた表である。振動の変位の値は図示するようになっており、振動の変位の伝達を減衰させる方法としては、以下の構成が考えられ、それらを所望する遊技機の形状やデザインやコストなどを考慮して、適宜組み合わせてもよい。
<振動の変位を減衰する構成>
(1)接合部分の形状:ビス止め、はめ込み
(2)演出ボタンから停止ボタンまでの部品の数を増加する
(3)部材の形状:一部略直角、一部略湾曲
(4)金属などの材質の部材を使用する
<第6,7実施形態における付記>
各部材の組付けの際に振動を吸収するために、ゴムワッシャ等の緩衝材を用いることで伝達される振動を抑制する技術があった(特開2016-29853号)。緩衝材を多く設ける程、各部材への耐久性などの影響は少なくなる。しかしながら、本来遊技機には必要のない部材を新たに設けることで、遊技機開発コストが高くなる傾向にあった。
本発明は、緩衝材などの新たな部材を設けることなく、遊技機を構成する部材に基づいて振動の伝達を抑制することで、遊技機開発コストを削減することができ、効率よく振動の伝達を抑制することが可能となる。
<第8実施形態>
次に、遊技機において用いられる遊技の結果に影響する入力装置が操作されたときの論理レベルの判定をローアクティブ判定で行っていることについて、以下、スロットマシンのスタートスイッチを入力装置の一例として説明する。
スロットマシンにおいて、スタートスイッチが操作されることで実行される代表的な機能について説明する。第一に、役の決定を行う(内部抽せんを行う)。役に応じて表示可能となる図柄組合せの種類が決定され、遊技メダルや再遊技、ボーナス遊技の獲得権利が与えられるなど、スタートスイッチは遊技の結果に影響を及ぼすこととなる。第二に、設定変更装置が作動中において(設定変更モード中において)、スタートスイッチの操作を行うことで、設定値を確定させることが可能である。より具体的には、設定変更モード中において、設定スイッチを操作することで設定値の候補を選択し、スタートスイッチを操作することで選択中の設定値が確定されることとなる。なお、設定値とは、遊技者が遊技を複数回行うこと、当該遊技における遊技メダルの投入枚数から遊技メダルの払出枚数のメダル獲得期待値が概ね定まる設計となっている。例えば、設定値1においてメダル獲得期待値がマイナス(つまり、減少)の設計となり、設定値6においては、プラス(つまり、増加)の設計となっている遊技機が一般的である。
上述したように、スタートスイッチは、遊技の結果に影響を及ぼす入力装置であり、遊技機にとって重要度の高い入力装置である。
ここで、本実施形態に記載のハイアクティブ判定、ローアクティブ判定、チャタリングについて説明する。
ハイアクティブ判定とは正論理とも称され、電圧レベルが高い状態を1、電圧レベルが低い状態を0に対応つけており、ローアクティブ判定とは負論理とも称され、電圧レベルが低い状態を1、電圧レベルが高い状態を0に対応付ける方式のことを言う。ハイアクティブ判定を用いる方が直感的には分かりやすい。
チャタリングとはノイズとも称し、機械式スイッチを操作した際に、離れていた接点を接触させる瞬間に、接触、非接触が短時間に高速でオンとオフを繰り返す事象である。本実施形態においては、スタートスイッチの機構において、機械式スイッチを操作することで、機構内部の検知片がセンサ光を通過する際に、瞬間的に、接触、非接触を高速で繰り返すことで発生しうる。
ここで、スタートスイッチが入力されたか否かを検知するための機構について、簡単に説明する。スタートスイッチが操作されて役の決定がなされる場合には、センサの光の受光または遮光の状態変化が発生し(図79(a)(b))、センサの状態変化が一定して発生していると判定するために、電圧レベルが判定閾値(本実施形態において、ハイアクティブ判定においては60を超える、ローアクティブ判定においては40を下回る)を跨ぐことでスタートスイッチが操作されたと判定し、RAMの特定領域にスタートスイッチが操作されたことを示すデータを記憶する(図79(c))。一般的なセンサ検知に構造は、検知片がセンサ入光部からのセンサ光を遮光することでスタートスイッチがオンされたと検知する。
ここで、検知片がセンサ受光部の受光状態を変化させ始めるときに、チャタリングが発生する可能性がある。チャタリングが発生したときに想定される問題点として挙げられるのは、スタートスイッチの操作により、役の決定を行う場合に、一律した抽選結果が得られない可能性がある。遊技機を販売する上で役の出現に偏りが発生する仕組みは販売できない定めとなっているし、遊技者にとっても安心して遊技ができないことになってしまう。また、チャタリングの発生により、役の出現頻度が不定となる恐れがある。
本例においては、チャタリングによる誤検出の頻度を低くするために、スタートスイッチの検知に用いる論理レベル判定としてローアクティブ判定を採用している。
図80及び図81にハイアクティブ判定を採用した場合と、ローアクティブ判定を採用した場合との比較図を記載する。
図80に記載されているハイアクティブ判定を採用した場合には、センサ受光部が遮光状態になることで電圧レベルが上がっていくよう構成されている。センサ受光部が遮光状態になることで、電圧レベルが閾値として設定している60を超えることにより、スタートスイッチが入力されたと判定する。ここで、閾値の60に設定しているが設計によって適宜電圧レベルの閾値を変更してもよい。電圧レベルが変化する際に、機械設計上、チャタリングが発生する可能性があり、特に、受光状態から遮光状態に変化する際にチャタリングの振幅が大きくなりやすく、判定閾値を超える回数が多くなる傾向にある。チャタリングの影響で閾値が意図せず複数回跨ぐようになると、役の決定のタイミングが不定になる可能性が増してしまう。具体的には、ハイアクティブ判定の判定閾値である60を超えたことに基づいて、役決定手段により一の役を決定することになるが、チャタリングの発生により判定閾値を超える条件を複数回満たす場合に、役決定が複数回行われ遊技者がスタートスイッチを操作し検知片がセンサを通過したタイミングの役決定と明確には異なる結果が生成される可能性があり、一律の抽選結果を提供できない恐れがある。
一方、図81に記載されているローアクティブ判定を採用した場合には、センサ受光部が受光状態になることで電圧レベルが下がっていくよう構成されている。センサ受光部が受光状態になることで電圧レベルが閾値として設定している40未満となることにより、スタートスイッチが入力されたと判定する。ここで、閾値の40に設定しているが設計によって適宜電圧レベルの閾値を変更してもよい。電圧レベルが変化する際に、機械設計上、チャタリングが発生する可能性があるが、遮光状態から受光状態に変化する際においては、チャタリングの振幅がハイアクティブ判定時よりも小さくなりやすく、判定閾値を下回る回数が少なくなる傾向にある。
以上より、役の決定など、遊技の結果に影響を及ぼす入力装置(例えば、上述したスタートスイッチ)は、ローアクティブ判定を採用する方が、安定した結果を導き出すことが可能となるため、本例においてはローアクティブ判定を採用している。
上述では、スロットマシンのスタートスイッチを例に挙げて説明したが、これに限らず、エラーに関する入力装置や、設定キースイッチなどにおいても、ローアクティブ判定を採用するようにしてもよい。また、ぱちんこ遊技機においてはRWMクリアスイッチ等、遊技の結果に影響を及ぼす入力装置で採用することが望ましい。即ち、スロットマシンにおいても、ぱちんこ遊技機においても、遊技の結果に影響を及ぼす入力装置にローアクティブ判定を採用することが可能である。
<第8実施形態における付記>
チャタリングが発生した際にフィルタリング処理の一例として、正常な記憶パターンでない場合は、データを破棄するか前データをコピーする技術があった(特開2011-62317号)。先行技術には、正論理(ハイアクティブ判定)に関する記載はあるが、ローアクティブを採用する場合のメリットについての記載まではない。本実施形態において、負論理(ローアクティブ判定)を採用する入力装置は、遊技の進行に影響を与える入力装置に採用することで、チャタリングによる影響を少なくするとともに、役抽選等の遊技に影響を与える結果のブレを減らすことができる。
<<下球皿裏面の構造>>
本例に係るぱちんこ遊技機は前述したように下球皿P342を有しているが、下球皿P342の裏側の構造として本例に適用可能な構成を以下に詳述する。なお、下球皿P342の裏側とは、遊技者から見て下側となっている。また、下球皿P342の裏側の面を下球皿裏面と称する。
まず、図82は、遊技者から見て下側から遊技機を見た下面図である。下球皿P342の裏側は、下球皿裏面URを有しており、下球皿裏面URには、下球皿P342に貯留された遊技球を下方に排出可能な開状態と、下球皿に貯留された遊技球を下方に排出不可能な閉状態と、を採り得る排出シャッターSTが設けられている。
なお、下球皿P342の裏側が1つの面で構成されている場合には、当該1つの面が下球皿裏面URであり、下球皿P342の裏側が複数の面で構成されている場合や、屈折したり湾曲したりしている場合においては、下球皿P342の裏側全体を下球皿裏面URと称してもよいし、排出シャッターSTが設けられている面を下球皿裏面URと称してもよい。
また、下球皿裏面URには、固定された状態でビスの頭部が下球皿裏面URよりも窪んだ位置(低い位置)となっている窪みビスBS1と、固定された状態でビスの頭部が下球皿裏面URよりも突起した位置(高い位置)となっている突起ビスBS2と、下球皿裏面URから突起している突起部DPと、を有している。なお、窪みビスBS1と突起ビスBS2と突起部DPとは同一の面に設けられていてもよいし、異なる面に設けられてもよい。また、これらすべてを有している必要はなく、いずれか1以上を有していれば本例の構成に適用可能である。
なお、同図においては、窪みビスBS1と突起ビスBS2のようにビスが固定されている構成を例示したが、これには限定されず、ビスの他に螺子やボルトなどの螺合部材によって取り付ける場合のほか、着脱可能なリベット、例えば、プッシュリベットなどの部材を用いるよう構成してもよい。
また、本例にて前述した構成や後述する構成は、どのように組み合わせても問題ないし、複数の構成を組み合わせることも可能であることを補足しておく。
次に、図83は、本例に適用可能な下球皿裏面URの拡大図である。なお、同図における窪みビスBS1と突起部DPと排出シャッターSTとの位置関係はあくまで一例であり、図82にて例示した位置関係と同様の構成としてもよいし、図82にて例示した位置関係とは異なる構成としてもよい。
同図においては、下球皿P342に遊技球が貯留されており、下球皿P342の下方には遊技球が貯留された箱(ドル箱と称することがある)が載置されている。同図に示すように、ドル箱には一杯に遊技球が貯留されている(ドル箱の開口面よりも上方まで遊技球が貯留されている)。
<AAについて>
同図左下段に図示するように、突起部DPの高さであるAA(下球皿裏面URからの突起部DPの高さ)は、遊技球の直径であるbの半分以下の高さとなっている(AA≦b/2)。このように構成することにより、一杯になったドル箱を空のドル箱と交換する場合において、一杯になったドル箱を引きずった場合にも、遊技球が突起部DPに引っかかり難くすることができ、遊技球が突起部DPに引っかかることによってこぼれる事象が発生しにくくなるよう構成することができる。なお、前述した突起ビスBS2についても、突起部DPと同様に、突起ビスBS2の高さが遊技球の直径であるbの半分以下の高さとなっている。
なお、上述した構成は、ドル箱一杯に遊技球が貯留された状況において、遊技球がくぼみや突起によってこぼれてしまう事態を防止する構成であるため、遊技球の直径であるbの半分よりも高い突起ビスBS2が存在しなければよい。即ち、下球皿裏面URに突起ビスBS2が設けられていない構成であっても上述した構成と同様の効果を創出することができ、そのような場合にも、(AA≦b/2)が成り立っていると称する。
<ABについて>
同図右下段に図示するように、窪みビスBS1の深さであるAB(下球皿裏面URからの窪みビスBS1までの深さ)は、遊技球の直径であるbの半分以下の高さとなっている(AB≦b/2)。このように構成することにより、一杯になったドル箱を空のドル箱と交換する場合において、一杯になったドル箱を引きずった場合にも、遊技球が窪みビスBS1が固定されている窪みに引っかかり難くすることができ、遊技球が窪みビスBS1が固定されている窪みに引っかかることによってこぼれる事象が発生しにくくなるよう構成することができる。なお、同図においては、ABを下球皿裏面URから窪みビスBS1の頭部の最下部までの長さとしているが、ABを下球皿裏面URから窪みビスBS1の頭部の最上部(頭部の頂点)までの長さとしてもよい。なお、窪みビスBS1について、突起ビスBS2と同様に、下球皿裏面URに窪みビスBS1が設けられていない場合にも上述した構成と同様の効果を創出することができ、そのような場合にも、(AB≦b/2)が成り立っていると称する。
<ACについて>
同図上段に図示するように、排出シャッターSTの深さであるAC(下球皿裏面URから排出シャッターSTまでの深さ)は、遊技球の直径であるb以上の深さとなっている(AC≧b)。このように構成することにより、一杯になったドル箱を空のドル箱と交換する場合において、一杯になったドル箱を引きずった場合にも、遊技球全体が排出シャッターSTのくぼみに引っかかることによって、他の遊技球を押し出し難くなり、他の遊技球を押し出してこぼれてしまうような事象が発生しにくくなるよう構成することができる。また、ドル箱が一杯である場合にも排出シャッターSTの開閉を行い易いよう構成することができる。
次に、図84は、本例に適用可能な下球皿裏面URの拡大図である。同図の構成は図83とは異なる構成であり、排出シャッターSTの深さであるAD(下球皿裏面URから排出シャッターSTまでの深さ)が、遊技球の直径であるbの半分以下の深さとなっている(AD≦b/2)。このように構成することにより、一杯になったドル箱を空のドル箱と交換する場合において、一杯になったドル箱を引きずった場合にも、遊技球が排出シャッターSTのくぼみに引っかかることによってこぼれ難くなり、遊技球が排出シャッターSTのくぼみに引っかかることによってこぼれる事象が発生しにくくなるよう構成することができる。また、ドル箱が一杯である場合にも排出シャッターSTの開閉を行い易いよう構成することができる。
図83や図84にて示したように、下球皿裏面URにおけるくぼみや突起の長さ(深さ又は高さ)を遊技球の半分以下となるよう構成することにより、ドル箱に貯留されている遊技球が引っかかり難くなり、ドル箱に貯留されている遊技球をこぼれ難くすることができる。また、下球皿裏面URにおけるくぼみや突起の長さ(深さ又は高さ)を遊技球の直径以上となるよう構成することにより、ドル箱に貯留されている遊技球が引っかかった場合にも、他の遊技球を押し出し難く構成することができ、ドル箱に貯留されている遊技球全体をこぼれ難くすることができる。
なお、下球皿裏面URの構成について詳述したが、下球皿を有していない遊技機にも上記構成は適用可能である。一例としては、遊技球が遊技機外に排出されない遊技機(封入式遊技機と称することがある)における、遊技機下側の部材(上述した下球皿が設けられている位置近傍に設けられた部材)の裏側(下側)の形状として上記構成を適用してもよい。そのように構成することにより、遊技機下側のスペースを広くすることができ、遊技者の所有物を置くなどスペースを有効活用することができる。
なお、上述した下球皿裏面URの構成に関する構成は、本例のいずれの構成と組合せても何ら問題ないことを補足しておく。
<<遊技機背面の構造>>
本例に係るぱちんこ遊技機に適用可能な遊技機背面に設けられたボタンの構成について以下に詳述する。
図85に示すように、電源投入時に押下するとRAMクリアが実行され得るRAMクリアボタンRBと、所定のエラー発生時にエラーを解除するためのエラー解除ボタンEBとを有している。なお、エラー解除ボタンEBはあくまで一例であり、遊技機背面に設けられたRAMクリアボタンRB以外のボタンであればよい(以下において同様である)。また、遊技機背面を前扉背面と置き換えて回胴式遊技機として構成してもよい。
次に、図86は、本例に適用可能な、RAMクリアボタンRBとエラー解除ボタンEBの拡大図である。RAMクリアボタンRBとエラー解除ボタンEBとのいずれにおいても、初期位置を図示している。
<RAMクリアボタン>
まず、RAMクリアボタンRBについて詳述する。RAMクリアボタンRBは、RAMクリアボタン操作面RBSを押下することによってRAMクリアボタン枠部RBW内を摺動し、ボタンの操作(オン)を検出可能に構成されている。また、押下されたRAMクリアボタンRBは付勢力によって初期位置に戻るよう構成されている。
BAは、RAMクリアボタンRBの初期位置における(突出した部分の)高さである。また、BBは、RAMクリアボタン操作面RBSの長辺の長さである。また、BCは、RAMクリアボタンRBとRAMクリアボタン枠部RBWの側面との距離(当該距離をあそびと称することがある)である。
<エラー解除ボタン>
次に、エラー解除ボタンEBについて詳述する。エラー解除ボタンEBは、エラー解除ボタン操作面EBSを押下することによってエラー解除ボタン枠部EBW内を摺動し、ボタンの操作(オン)を検出可能に構成されている。また、押下されたエラー解除ボタンEBは付勢力によって初期位置に戻るよう構成されている。
BDは、エラー解除ボタンEBの初期位置における(突出した部分の)高さである。また、BEは、エラー解除ボタン操作面EBSの長辺の長さである。また、Bは、エラー解除ボタンEBとエラー解除ボタン枠部EBWの側面との距離(当該距離をあそびと称することがある)である。
ここで、本例における、RAMクリアボタンとエラー解除ボタンとの関係としては、以下のように構成されている。
(1)BAとBDとの長さが異なる
(2)BBとBFとの長さが異なる
(3)BCとBGとの長さが異なる
遊技場の管理者がRAMクリアの実行を所望し、遊技機前面側から遊技機背面側に手を伸ばしてRAMクリアボタンを操作する場合においては、RAMクリアボタンを視認できず、遊技機背面側に手をまわしてRAMクリアボタンを操作するため、手で触れた際にRAMクリアボタンであるか否かを判別し易いことが望ましい。そこで、本例に係るぱちんこ遊技機は、上記のように遊技機背面側の操作部材(例えば、エラー解除ボタン)とRAMクリアボタンとの形状を相違させることにより、他のボタンと間違えずにRAMクリアボタンを操作することができる。
なお、BAよりもBDの方が短いよう構成してもよいし、BAよりもBDの方が長いよう構成してもよい。また、BBよりもBFの方が短いよう構成してもよいし、BBよりもBFの方が長いよう構成してもよい。また、BCよりもBGの方が短いよう構成してもよいし、BCよりもBGの方が長いよう構成してもよい。
次に、図87を用いてボタンのストロークについて詳述する。BHはRAMクリアボタンのストロークである。ここで、ストロークとは、ボタンが初期位置の状態から押下され、ボタンの押下を遊技機が検出した場合における、初期位置から押下を検出した位置(オフからオンとなった位置)までの距離である。また、BJはエラー解除ボタンのストロークである。
同図においてはストロークとして初期位置から押下を検出した位置(オフからオンとなった位置)までの距離を比較したが、これには限定されず、ボタンが初期位置の状態から押下され、これ以上押下できない状態となった場合の、初期位置からの移動距離を比較してもよい。
ここで、本例における、RAMクリアボタンとエラー解除ボタンとの関係としては、以下のように構成されている。
(1)BHとBJとの長さが異なる
このように、RAMクリアボタンと遊技機背面側の他のボタン(例えば、エラー解除ボタン)とのストロークを異ならせることにより、遊技場の管理者は、RAMクリアボタンを視認できない状態においても、RAMクリアボタンを操作したということを把握することができ、RAMクリアをスムーズに行うことができる。
なお、BHよりもBJの方が短いよう構成してもよいし、BHよりもBJの方が長いよう構成してもよい。
また、RAMクリアボタンと遊技機背面側の他のボタン(例えば、エラー解除ボタン)との相違点としては、以下のように構成してもよい。
(1)RAMクリアボタン操作面RBSとエラー解除ボタン操作面EBSとの形状が異なる
(2)RAMクリアボタン操作面RBSとエラー解除ボタン操作面EBSとの表面積が異なる
(3)RAMクリアボタン操作面RBSとエラー解除ボタン操作面EBSとの短辺の長さが異なる
(4)RAMクリアボタンRBとエラー解除ボタンEBとの材質が異なる
(5)RAMクリアボタンRBとエラー解除ボタンEBとの体積が異なる
なお、RAMクリアボタンと遊技機背面側の他のボタンとを比較した場合について上述したが、これには限定されず、遊技機前面側の他のボタンとRAMクリアボタンとの比較をした場合に上記構成が適用されるよう設計してもよい。一例としては、遊技機前面側に設けられた副制御基板にて制御されるサブ入力ボタンとRAMクリアボタンについて上記構成を適用してもよい。そのように構成することにより、遊技機に設けられた他のボタンすべてとRAMクリアボタンの形状が相違することにより、RAMクリアボタンの形状を記憶しやすくすることができる。
なお、上述したRAMクリアボタンの形状に関する構成は、回胴式遊技機にも適用可能である。一例としては、前扉の裏側(前扉閉鎖時における筐体内部側)に設けられたリセットスイッチ(設定変更モードにて操作する場合があるスイッチ)と、他のボタン(例えば、停止ボタン、サブ入力ボタン、マックスベットボタンなど)との比較として上述した形状が異なる構成を適用してもよい。なお、リセットスイッチは前扉の裏側に設けていなくともよい。
なお、上述したRAMクリアボタンの形状に関する構成は、本例のいずれの構成と組合せても何ら問題ないことを補足しておく。
<<底部の構造>>
次に、本例に係るぱちんこ遊技機における底部の構成について以下に詳述する。
図88は、ぱちんこ遊技機の遊技者から見て右側の側面図である。同図においてはぱちんこ遊技機の下側のみを図示している。本例に係るぱちんこ遊技機は、底部TBが背面側(遊技者から見て後方)に突出した形状となっている。なお、底部TBは木材で構成されている。また、遊技機背面側に設置された払出制御基板P43は透明樹脂製の払出制御基板ケースHCに収容されており、払出制御基板ケースHCの下側には、放熱口HNが設けられている。払出制御基板P43が発した熱は放熱口HNから外部に放出されるように構成されており、払出制御基板ケースHCに放熱口HNを設けることにより、払出制御基板ケースHC内に熱がこもることで払出制御基板P43が不具合を起こす事態を防止することができる。
また、同図矢印にて図示するように、放熱口HNの鉛直下方には底部TBは位置していないよう構成されている。図示するように、放熱口HNは払出制御基板ケースHCの下側の面に設けられており、払出制御基板P43が発した熱は放熱口HNから放熱口HNの下方向に放出されることとなる。ここで、放熱口HNの鉛直下方に底部TBが位置していないよう構成することにより、木材で構成されている底部TBが放熱口HNから放出された熱によって傷みにくく(損傷しにくく)することができる。
次に、図89は、払出制御基板ケースHCの放熱口HNに関する拡大図である。図示するように、放熱口HNは長方形になっており、短辺の長さCAは遊技球の直径bよりも短くなっている。このように構成することにより、遊技球が放熱口HNから払出制御基板ケースHCに侵入してしまうことを防ぐことができ、遊技球が衝突することによって払出制御基板P43が損傷してしまうことを防止することができる。
なお、放熱口HNは図示するように複数設けられているが、払出制御基板ケースHCの下側に設けられた複数の放熱口HNの短辺の長さのうち最も短い短辺の長さをCAとしている。即ち、複数の放熱口HNのいずれにおいても、遊技球が通過できないように構成されている。
次に、図90は、底部TBの上面に遊技球が跳ね返る様子を図示したイメージ図である。遊技場にて遊技機が稼働する際には、遊技機背面側において遊技球が存在しているため、遊技機背面に向かって落下してくる可能性がある。一例としては、アウト口などから排出された遊技球や遊技者に対する賞球に使用される遊技球が、遊技機背面側を移動しており、遊技球を移動させる装置が破損した場合などには遊技球が遊技機背面に向かって落下する場合がある。
同図においては、上述した場合など、遊技機外から遊技機背面側の底部TBに向かって遊技球が落下し、底部TBの上面に衝突する場合を例示している。なお、本例は、底部TBにおける側面や角に衝突する場合ではなく、底部TB上面に衝突する場合を例示していることを補足しておく。
本例に係るぱちんこ遊技機は、前述したように遊技機背面に払出制御基板ケースHCが設けられており、払出制御基板ケースHCは遊技機の背面側(遊技者から見て後方)に突出している。また、前述したように、放熱口HNの鉛直下方には底部TBは位置しておらず、換言すると、払出制御基板ケースHCは底部TBよりも遊技機の背面側(遊技者から見て後方)に突出している。
また、図示するように、底部TBの上面に向かって落下してきた遊技球は、底部TBの上面に衝突して跳ね返った後、背面部HBに衝突するよう構成されている。換言すると、底部TBの上面に向かって落下してきた遊技球は、底部TBの上面に衝突して跳ね返った後、払出制御基板ケースHCに直接衝突しないように構成されており、払出制御基板ケースHCに衝突しないか、背面部HBに衝突した後で払出制御基板ケースHCに衝突するよう構成されている。即ち、本例に係るぱちんこ遊技機は上記構成を充足するように、底部TBと背面部HBと払出制御基板ケースHCとが設計されている。
なお、図示している遊技球の軌跡よりも、上側から落下してきた場合には、遊技球は払出制御基板ケースHCに衝突して底部TBに到達しないこととなる。
このように構成することにより、遊技の進行に影響を及ぼす払出制御基板P43を収容している払出制御基板ケースHCが遊技球の衝突により損傷する事態を防止することができる。
なお、上述した底部TBの構成に関しては、本例のいずれの構成と組合せても何ら問題ないことを補足しておく。
<スピーカに関する構成>
本例に係るぱちんこ遊技機に適用可能なスピーカに関する構成である。同図上段には上面図であり、同図下段は正面図である。同図に示すぱちんこ遊技機においては、スピーカとして、上スピーカP370を左側と右側に2つと下スピーカP141を左側と右側に2つ有している。また、上面図に示すように、下スピーカP141は遊技機正面方向(遊技者方向)に向いており、下スピーカP141から出力されるサウンドも遊技機正面方向(遊技者方向)に出力されることとなる。他方、上スピーカP370は、遊技機正面方向よりも外側に向いており(遊技者方向に向いておらず)、上スピーカP370から出力されるサウンドも遊技機正面方向よりも外側(遊技者方向からずれた方向)に出力される。
また、上スピーカP370と下スピーカP141とは、同一のサウンドを同時に出力することが可能であり、異なるサウンドを同時に出力することも可能に構成されている。一例としては、所定のエラーとして始動口入賞異常を検出した場合には、上スピーカP370から始動口入賞異常に対応する効果音として「ビービービー」と繰り返し出力され、下スピーカP141から「入賞異常です」との音声が繰り返し出力される。このように構成することで、遊技者方向に向いている下スピーカP141からは、どのような状況であるかを遊技者が認識し易いように音声を出力し、遊技者方向に向いていない上スピーカP370からは、エラーの発生に対応した経験が豊富な管理者が聞き取り易い(他のサウンドと判別し易い)効果音を出力するよう構成することで、遊技者に適したサウンドと管理者に適したサウンドとを適切且つ同時に出力することができる。
なお、上述したスピーカの構成に関しては、本例のいずれの構成と組合せても何ら問題ないことを補足しておく。
以上、発明を実施するための形態に記載した技術内容は適宜組み合わせることは差し支えない。
P :ぱちんこ遊技機、
P1 :外枠、
P2 :前枠、
P3 :ガラス枠、
P4 :裏セットユニット、
P5 :遊技盤、
P40 :主制御基板、
P41 :演出制御基板、
P42 :画像制御基板、
P43 :払出制御基板、
P44 :電源基板、
P47 :電源スイッチ、
P48 :ラムクリアスイッチ、
P49 :設定キースイッチ、
P50 :主制御表示装置、
P51 :第1特別図柄表示装置、
P52 :第2特別図柄表示装置、
P80 :演出表示装置、
P81 :演出操作手段(P380:演出操作ユニット、P381:演出ボタン、P382:レバー、P383:十字キー)、
P82 :演出ランプ(P350:枠ランプ、P550:盤ランプ)、
P83 :スピーカ(P141幕板スピーカ,P371上スピーカ)
P560 :演出役物、
P710 :第1始動入賞装置、
P720 :第2始動入賞装置、
P730 :一般入賞装置、
P740 :普図作動ゲート装置、
P750 :大入賞口装置
P755 :特別電動役物、
P770 :普通電動役物
1 :スロットマシン
2 :フロントパネル
3 :キャビネット
4 :表示窓
5 :下部パネル
6 :リールユニット
7 :リールベース
8a :左リール
8b :中リール
8c :右リール
11 :操作パネル
12 :スタートスイッチ
13a :左ストップスイッチ
13b :中ストップスイッチ
13c :右ストップスイッチ
17 :メダル投入口
18 :MAXベットスイッチ19 :1ベットスイッチ
20 :サブスイッチ
21 :サブ十字キースイッチ
22 :イジェクトスイッチ
24a :左操作指示ランプ
24b :中操作指示ランプ
24c :右操作指示ランプ
25 :ベット数表示ランプ
26 :クレジット数表示器
27 :獲得枚数表示器
28 :受け皿
29 :タバコ用灰皿
30 :シール収容部
32 :表示装置
34 :メダルセレクタ
35 :メダル流路
37 :設定キースイッチ
38 :設定スイッチ
39 :電源装置
40 :電源スイッチ
41 :メイン制御基板ユニット
42 :サブ制御基板ユニット
43 :メダル払出口
44 :ホッパ
45 :メダル払出部
46 :補助タンク
47 :外部出力端子板
48 :ドア開放検知スイッチ
52 :メインROM
53 :サブROM
56 :メインRAM
57 :サブRAM
60 :打止切換スイッチ
62 :自動精算スイッチ
64 :7セグメント表示器
66 :ステッピングモータ
72 :可動物
100 :メイン制御基板
105 :メインCPU
110 :電圧監視回路
112 :設定変更手段
114 :水晶発振器
120 :役抽選手段
122 :乱数発生器
124 :乱数抽出手段
126 :乱数生成手段
128 :乱数判定手段
130 :リール制御手段
132 :回転制御手段
134 :停止制御手段138 :操作順番検出手段
140 :入賞判定手段
142 :払出し手段
144 :電源割込手段
146 :特別役持越手段
148 :当選フラグ制御手段
151 :特別遊技制御手段
156 :ホッパモータ駆動手段
158 :賭け枚数設定手段
1000 :サブ制御基板
1002 :演出出力制御手段
1004 :権利制御手段
1005 :サブCPU
1006 :報知出力制御手段
1008 :サブ入力スイッチ操作手段
1010 :可動物制御手段
1014 :画像制御基板
1018 :BL基板
1101 :サブ制御手段
1110 :演出制御手段
1120 :遊技状態報知手段
1130 :AT抽選手段
1140 :AT管理手段
1150 :AT遊技回数カウント手段
1160 :報知手段
1170 :抽選手段
1180 :AT報知手段
S :スピーカ
UR :下球皿裏面
ST :排出シャッター
BS1 :窪みビス
BS2 :突起ビス
DP :突起部
RB :RAMクリアボタン
RBS :RAMクリアボタン操作面
RBW :RAMクリアボタン枠部
EB :エラー解除ボタン
EBS :エラー解除ボタン操作面
EBW :エラー解除ボタン枠部
TB :底部
HN :放熱口
P370 :上スピーカ
P141 :下スピーカ

Claims (1)

  1. 遊技機の背面側において、操作する際に接触可能な第1押し下し面と、第1外径部と第1検出対象部を少なくとも有する第1押し下し部と、前記第1検出対象部を検出する第1検出部と、前記第1外径部を包み込むように保持する第1外壁部と、を少なくとも備えた摺動移動可能なRAMクリアボタンと、
    遊技機の背面側において、操作する際に接触可能な第2押し下し面と、第2外径部と第2検出対象部を少なくとも有する第2押し下し部と、前記第2検出対象部を検出する第2検出部と、前記第2外径部を包み込むように保持する第2外壁部と、を少なくとも備えた摺動移動可能な所定の操作部材と、を有しており、
    前記第1外径部と前記第1外壁部との距離は変化可能であり、前記第1外壁部の中心に前記第1押し下し面の中心が位置している状況においての前記第1外径部と前記第1外壁部との距離と、 前記第2外径部と前記第2外壁部との距離は変化可能であり、前記第2外壁部の中心に前記第2押し下し面の中心が位置している状況においての前記第2外径部と前記第2外壁部との距離とが異なっており、
    前記第1押し下し面の表面の形状と前記第2押し下し面の表面の形状は異なり、
    前記第1押し下し部の体積と前記第2押し下し部の体積は異なっており、
    前記第1押し下し部の短辺の長さと前記第2押し下し部の短辺の長さは異なっている
    ことを特徴とする遊技機。
JP2024071134A 2019-07-31 2024-04-25 遊技機 Active JP7653045B2 (ja)

Priority Applications (1)

Application Number Priority Date Filing Date Title
JP2024071134A JP7653045B2 (ja) 2019-07-31 2024-04-25 遊技機

Applications Claiming Priority (2)

Application Number Priority Date Filing Date Title
JP2019140388A JP2021023308A (ja) 2019-07-31 2019-07-31 遊技機
JP2024071134A JP7653045B2 (ja) 2019-07-31 2024-04-25 遊技機

Related Parent Applications (1)

Application Number Title Priority Date Filing Date
JP2019140388A Division JP2021023308A (ja) 2019-07-31 2019-07-31 遊技機

Publications (3)

Publication Number Publication Date
JP2024102150A JP2024102150A (ja) 2024-07-30
JP2024102150A5 JP2024102150A5 (ja) 2024-08-20
JP7653045B2 true JP7653045B2 (ja) 2025-03-28

Family

ID=74662209

Family Applications (3)

Application Number Title Priority Date Filing Date
JP2019140388A Pending JP2021023308A (ja) 2019-07-31 2019-07-31 遊技機
JP2023092564A Active JP7440813B2 (ja) 2019-07-31 2023-06-05 遊技機
JP2024071134A Active JP7653045B2 (ja) 2019-07-31 2024-04-25 遊技機

Family Applications Before (2)

Application Number Title Priority Date Filing Date
JP2019140388A Pending JP2021023308A (ja) 2019-07-31 2019-07-31 遊技機
JP2023092564A Active JP7440813B2 (ja) 2019-07-31 2023-06-05 遊技機

Country Status (1)

Country Link
JP (3) JP2021023308A (ja)

Citations (4)

* Cited by examiner, † Cited by third party
Publication number Priority date Publication date Assignee Title
JP2001149633A (ja) 1999-11-30 2001-06-05 Aruze Corp 遊技機
JP2004174132A (ja) 2002-11-29 2004-06-24 Sanyo Product Co Ltd 遊技機
JP2005304963A (ja) 2004-04-23 2005-11-04 Omron Corp 遊技機
JP2011224307A (ja) 2010-03-31 2011-11-10 Okumura Yu-Ki Co Ltd パチンコ機

Family Cites Families (15)

* Cited by examiner, † Cited by third party
Publication number Priority date Publication date Assignee Title
JPH1121037A (ja) * 1997-07-08 1999-01-26 Toshiba Corp エレベータの制御装置
JP2003010380A (ja) * 2001-06-27 2003-01-14 Sankyo Kk スロットマシン
JP2003019312A (ja) * 2002-05-27 2003-01-21 Taiyo Elec Co Ltd 弾球遊技機
JP2005168761A (ja) * 2003-12-10 2005-06-30 Aruze Corp 遊技機
JP4326397B2 (ja) * 2004-05-14 2009-09-02 株式会社ソフィア 遊技機
JP2009072436A (ja) * 2007-09-21 2009-04-09 Sammy Corp 遊技機
JP4822364B2 (ja) * 2007-12-13 2011-11-24 株式会社Mrd 遊技機の操作部の構造
JP5456728B2 (ja) * 2011-07-08 2014-04-02 株式会社大都技研 遊技台
JP2017217462A (ja) * 2016-06-03 2017-12-14 株式会社三共 遊技機
JP6433464B2 (ja) * 2016-07-20 2018-12-05 株式会社三共 遊技機
JP6513071B2 (ja) * 2016-12-28 2019-05-15 株式会社大一商会 遊技機
JP6933024B2 (ja) * 2017-07-12 2021-09-08 株式会社三洋物産 遊技機
JP6582031B2 (ja) * 2017-10-06 2019-09-25 京楽産業.株式会社 遊技機
JP7144136B2 (ja) * 2017-10-25 2022-09-29 株式会社藤商事 遊技機
JP7156880B2 (ja) * 2018-09-21 2022-10-19 株式会社三共 スロットマシン

Patent Citations (4)

* Cited by examiner, † Cited by third party
Publication number Priority date Publication date Assignee Title
JP2001149633A (ja) 1999-11-30 2001-06-05 Aruze Corp 遊技機
JP2004174132A (ja) 2002-11-29 2004-06-24 Sanyo Product Co Ltd 遊技機
JP2005304963A (ja) 2004-04-23 2005-11-04 Omron Corp 遊技機
JP2011224307A (ja) 2010-03-31 2011-11-10 Okumura Yu-Ki Co Ltd パチンコ機

Also Published As

Publication number Publication date
JP2023101827A (ja) 2023-07-21
JP2021023308A (ja) 2021-02-22
JP7440813B2 (ja) 2024-02-29
JP2024102150A (ja) 2024-07-30

Similar Documents

Publication Publication Date Title
JP7451026B2 (ja) 遊技機
JP7667518B2 (ja) 遊技機
JP7340750B2 (ja) 遊技機
JP7640913B2 (ja) 遊技機
JP7640912B2 (ja) 遊技機
JP7340749B2 (ja) 遊技機
JP7340752B2 (ja) 遊技機
JP7397285B2 (ja) 遊技機
JP7295391B2 (ja) 遊技機
JP7295389B2 (ja) 遊技機
JP7653045B2 (ja) 遊技機
JP7653044B2 (ja) 遊技機
JP7653043B2 (ja) 遊技機
JP7640916B2 (ja) 遊技機
JP7640914B2 (ja) 遊技機
JP7640915B2 (ja) 遊技機
JP7340751B2 (ja) 遊技機
JP7349617B2 (ja) 遊技機
JP7406062B2 (ja) 遊技機
JP7410368B2 (ja) 遊技機
JP7406063B2 (ja) 遊技機
JP7436782B2 (ja) 遊技機
JP7295390B2 (ja) 遊技機
JP7295392B2 (ja) 遊技機
JP7239817B2 (ja) 遊技機

Legal Events

Date Code Title Description
A621 Written request for application examination

Free format text: JAPANESE INTERMEDIATE CODE: A621

Effective date: 20240507

A521 Request for written amendment filed

Free format text: JAPANESE INTERMEDIATE CODE: A523

Effective date: 20240809

A977 Report on retrieval

Free format text: JAPANESE INTERMEDIATE CODE: A971007

Effective date: 20250122

TRDD Decision of grant or rejection written
A01 Written decision to grant a patent or to grant a registration (utility model)

Free format text: JAPANESE INTERMEDIATE CODE: A01

Effective date: 20250212

A61 First payment of annual fees (during grant procedure)

Free format text: JAPANESE INTERMEDIATE CODE: A61

Effective date: 20250225

R150 Certificate of patent or registration of utility model

Ref document number: 7653045

Country of ref document: JP

Free format text: JAPANESE INTERMEDIATE CODE: R150