JP7645895B2 - 発泡製品分注システム、バルブ部材、および製品容器 - Google Patents

発泡製品分注システム、バルブ部材、および製品容器 Download PDF

Info

Publication number
JP7645895B2
JP7645895B2 JP2022551787A JP2022551787A JP7645895B2 JP 7645895 B2 JP7645895 B2 JP 7645895B2 JP 2022551787 A JP2022551787 A JP 2022551787A JP 2022551787 A JP2022551787 A JP 2022551787A JP 7645895 B2 JP7645895 B2 JP 7645895B2
Authority
JP
Japan
Prior art keywords
product
container
cpu
closure member
product dispensing
Prior art date
Legal status (The legal status is an assumption and is not a legal conclusion. Google has not performed a legal analysis and makes no representation as to the accuracy of the status listed.)
Active
Application number
JP2022551787A
Other languages
English (en)
Other versions
JP2023516012A (ja
Inventor
イニケル,クインテイン
ロベルト レネ マッサ,マルク
マテウス アードリアーン ポエッツ,ロベルト
ベークマン,クーン
Current Assignee (The listed assignees may be inaccurate. Google has not performed a legal analysis and makes no representation or warranty as to the accuracy of the list.)
FrieslandCampina Nederland BV
Original Assignee
FrieslandCampina Nederland BV
Priority date (The priority date is an assumption and is not a legal conclusion. Google has not performed a legal analysis and makes no representation as to the accuracy of the date listed.)
Filing date
Publication date
Application filed by FrieslandCampina Nederland BV filed Critical FrieslandCampina Nederland BV
Publication of JP2023516012A publication Critical patent/JP2023516012A/ja
Application granted granted Critical
Publication of JP7645895B2 publication Critical patent/JP7645895B2/ja
Active legal-status Critical Current
Anticipated expiration legal-status Critical

Links

Images

Classifications

    • AHUMAN NECESSITIES
    • A23FOODS OR FOODSTUFFS; TREATMENT THEREOF, NOT COVERED BY OTHER CLASSES
    • A23GCOCOA; COCOA PRODUCTS, e.g. CHOCOLATE; SUBSTITUTES FOR COCOA OR COCOA PRODUCTS; CONFECTIONERY; CHEWING GUM; ICE-CREAM; PREPARATION THEREOF
    • A23G9/00Frozen sweets, e.g. ice confectionery, ice-cream; Mixtures therefor
    • A23G9/04Production of frozen sweets, e.g. ice-cream
    • A23G9/22Details, component parts or accessories of apparatus insofar as not peculiar to a single one of the preceding groups
    • A23G9/28Details, component parts or accessories of apparatus insofar as not peculiar to a single one of the preceding groups for portioning or dispensing
    • AHUMAN NECESSITIES
    • A23FOODS OR FOODSTUFFS; TREATMENT THEREOF, NOT COVERED BY OTHER CLASSES
    • A23PSHAPING OR WORKING OF FOODSTUFFS, NOT FULLY COVERED BY A SINGLE OTHER SUBCLASS
    • A23P30/00Shaping or working of foodstuffs characterised by the process or apparatus
    • A23P30/40Foaming or whipping
    • AHUMAN NECESSITIES
    • A47FURNITURE; DOMESTIC ARTICLES OR APPLIANCES; COFFEE MILLS; SPICE MILLS; SUCTION CLEANERS IN GENERAL
    • A47JKITCHEN EQUIPMENT; COFFEE MILLS; SPICE MILLS; APPARATUS FOR MAKING BEVERAGES
    • A47J31/00Apparatus for making beverages
    • A47J31/44Parts or details or accessories of beverage-making apparatus
    • A47J31/4485Nozzles dispensing heated and foamed milk, i.e. milk is sucked from a milk container, heated and foamed inside the device, and subsequently dispensed from the nozzle
    • BPERFORMING OPERATIONS; TRANSPORTING
    • B01PHYSICAL OR CHEMICAL PROCESSES OR APPARATUS IN GENERAL
    • B01FMIXING, e.g. DISSOLVING, EMULSIFYING OR DISPERSING
    • B01F23/00Mixing according to the phases to be mixed, e.g. dispersing or emulsifying
    • B01F23/20Mixing gases with liquids
    • B01F23/23Mixing gases with liquids by introducing gases into liquid media, e.g. for producing aerated liquids
    • B01F23/235Mixing gases with liquids by introducing gases into liquid media, e.g. for producing aerated liquids for making foam
    • BPERFORMING OPERATIONS; TRANSPORTING
    • B01PHYSICAL OR CHEMICAL PROCESSES OR APPARATUS IN GENERAL
    • B01FMIXING, e.g. DISSOLVING, EMULSIFYING OR DISPERSING
    • B01F25/00Flow mixers; Mixers for falling materials, e.g. solid particles
    • B01F25/30Injector mixers
    • B01F25/31Injector mixers in conduits or tubes through which the main component flows
    • B01F25/314Injector mixers in conduits or tubes through which the main component flows wherein additional components are introduced at the circumference of the conduit
    • BPERFORMING OPERATIONS; TRANSPORTING
    • B01PHYSICAL OR CHEMICAL PROCESSES OR APPARATUS IN GENERAL
    • B01FMIXING, e.g. DISSOLVING, EMULSIFYING OR DISPERSING
    • B01F33/00Other mixers; Mixing plants; Combinations of mixers
    • B01F33/50Movable or transportable mixing devices or plants
    • B01F33/501Movable mixing devices, i.e. readily shifted or displaced from one place to another, e.g. portable during use
    • B01F33/5014Movable mixing devices, i.e. readily shifted or displaced from one place to another, e.g. portable during use movable by human force, e.g. kitchen or table devices
    • BPERFORMING OPERATIONS; TRANSPORTING
    • B01PHYSICAL OR CHEMICAL PROCESSES OR APPARATUS IN GENERAL
    • B01FMIXING, e.g. DISSOLVING, EMULSIFYING OR DISPERSING
    • B01F35/00Accessories for mixers; Auxiliary operations or auxiliary devices; Parts or details of general application
    • B01F35/20Measuring; Control or regulation
    • B01F35/22Control or regulation
    • B01F35/221Control or regulation of operational parameters, e.g. level of material in the mixer, temperature or pressure
    • B01F35/2213Pressure
    • BPERFORMING OPERATIONS; TRANSPORTING
    • B01PHYSICAL OR CHEMICAL PROCESSES OR APPARATUS IN GENERAL
    • B01FMIXING, e.g. DISSOLVING, EMULSIFYING OR DISPERSING
    • B01F35/00Accessories for mixers; Auxiliary operations or auxiliary devices; Parts or details of general application
    • B01F35/40Mounting or supporting mixing devices or receptacles; Clamping or holding arrangements therefor
    • B01F35/42Clamping or holding arrangements for mounting receptacles on mixing devices
    • BPERFORMING OPERATIONS; TRANSPORTING
    • B01PHYSICAL OR CHEMICAL PROCESSES OR APPARATUS IN GENERAL
    • B01FMIXING, e.g. DISSOLVING, EMULSIFYING OR DISPERSING
    • B01F35/00Accessories for mixers; Auxiliary operations or auxiliary devices; Parts or details of general application
    • B01F35/45Closures or doors specially adapted for mixing receptacles; Operating mechanisms therefor
    • B01F35/451Closures or doors specially adapted for mixing receptacles; Operating mechanisms therefor by rotating them about an axis parallel to the plane of the opening
    • BPERFORMING OPERATIONS; TRANSPORTING
    • B01PHYSICAL OR CHEMICAL PROCESSES OR APPARATUS IN GENERAL
    • B01FMIXING, e.g. DISSOLVING, EMULSIFYING OR DISPERSING
    • B01F35/00Accessories for mixers; Auxiliary operations or auxiliary devices; Parts or details of general application
    • B01F35/71Feed mechanisms
    • B01F35/717Feed mechanisms characterised by the means for feeding the components to the mixer
    • B01F35/71745Feed mechanisms characterised by the means for feeding the components to the mixer using pneumatic pressure, overpressure, gas or air pressure in a closed receptacle or circuit system
    • BPERFORMING OPERATIONS; TRANSPORTING
    • B01PHYSICAL OR CHEMICAL PROCESSES OR APPARATUS IN GENERAL
    • B01FMIXING, e.g. DISSOLVING, EMULSIFYING OR DISPERSING
    • B01F35/00Accessories for mixers; Auxiliary operations or auxiliary devices; Parts or details of general application
    • B01F35/71Feed mechanisms
    • B01F35/717Feed mechanisms characterised by the means for feeding the components to the mixer
    • B01F35/71805Feed mechanisms characterised by the means for feeding the components to the mixer using valves, gates, orifices or openings
    • BPERFORMING OPERATIONS; TRANSPORTING
    • B01PHYSICAL OR CHEMICAL PROCESSES OR APPARATUS IN GENERAL
    • B01FMIXING, e.g. DISSOLVING, EMULSIFYING OR DISPERSING
    • B01F35/00Accessories for mixers; Auxiliary operations or auxiliary devices; Parts or details of general application
    • B01F35/75Discharge mechanisms
    • B01F35/754Discharge mechanisms characterised by the means for discharging the components from the mixer
    • B01F35/7547Discharge mechanisms characterised by the means for discharging the components from the mixer using valves, gates, orifices or openings
    • BPERFORMING OPERATIONS; TRANSPORTING
    • B01PHYSICAL OR CHEMICAL PROCESSES OR APPARATUS IN GENERAL
    • B01FMIXING, e.g. DISSOLVING, EMULSIFYING OR DISPERSING
    • B01F2101/00Mixing characterised by the nature of the mixed materials or by the application field
    • B01F2101/06Mixing of food ingredients
    • B01F2101/07Mixing ingredients into milk or cream, e.g. aerating

Landscapes

  • Chemical & Material Sciences (AREA)
  • Chemical Kinetics & Catalysis (AREA)
  • Engineering & Computer Science (AREA)
  • Food Science & Technology (AREA)
  • Life Sciences & Earth Sciences (AREA)
  • Polymers & Plastics (AREA)
  • Containers And Packaging Bodies Having A Special Means To Remove Contents (AREA)
  • Apparatus For Making Beverages (AREA)
  • Confectionery (AREA)
  • Formation And Processing Of Food Products (AREA)
  • Food-Manufacturing Devices (AREA)

Description

本発明は、例えば、ミルク製品、ミルク、発泡体、クリームもしくは含気デザート、または異なる製品である製品を分注する方法およびシステムに関する。
このようなシステムは、様々なバリエーションで実際に知られている。例えば、スプレー・クリームをエアゾール噴霧器に含有することが知られている。このエアゾール噴霧器は、クリームをスプレーするために手動で操作可能である。例えば、欧州特許出願EP 1 061 006A1(特許文献1)を参照されたい。スプレー・クリームは、非常に使い勝手が良いが、通常、ホイップ・クリームよりも質が悪い。スプレー・クリームは、ホイップ・クリームよりも安定性が低い場合があり、通常、スプレー・クリームの最初の堅さは、ホイップ・クリームのそれよりも少なく、さらにホイップ・クリームの堅さよりも時間の経過とともにはるかに急速に減少する。これの原因の1つは、スプレー・クリームの脂肪の安定化ネットワークがないことである。ホイップ・クリームを作るときに、ホイッピング中、発泡体の安定性に寄与する、一緒に連結された(相互に連結された)脂肪球のネットワーク(部分合体とも呼ばれる)が形成される。スプレー・クリーム用に使用されるクリームは、通常、部分合体に対する感度が下げられて、エアゾール噴霧器を振ることおよび/または温度変動(これはエアゾール噴霧器の詰まりにつながる)によってスプレーする前に粒子合体が発生しないようにされている。スプレー・クリームの安定性がより悪いことの別の原因は、例えば、クリームを泡立てるために酸化窒素を使用することである。酸化窒素の使用は、酸化窒素のクリームにおける溶解性が高く、缶内の圧力が許容範囲内であれば、十分なガスを缶内に保存できることから、望ましい場合が多い。ここでは、製品中に溶解したガスは、スプレー時に放出され、含気量の多い発泡体がもたらされる。また、酸化窒素の溶解可能性が高いことにより、ガスが発泡製品から比較的急速に拡散でき、安定性の低下につながる。
既知のスプレー・クリームの第2の欠点は、スプレー中(密閉された使い捨て容器から連続した注入量を伴う)に、スプレー・クリームの品質が一定でないことである。最初にスプレーされたクリームのガス含有量は、最終的にスプレーされたクリームのガス含有量よりも高い場合がある。これは、スプレー中に酸化窒素の圧力が低下するためである。
自動ホイップ・クリーム・マシン自体は実際に知られており、クリームをホイップするための静的ミキサまたは動的ミキサを備える。スプレー・クリームに勝るホイップ・クリームの利点は、製品の品質が異なることにある(含気が少なく、硬さが高く、および時間が経過したときの硬さの保持がより優れている)。しかしながら、一般に、既知のホイップ・クリーム・マシンは、発泡製品を準備するために(スプレー・クリーム・システムと比較して)長い時間を必要とし、あまり使い勝手が良くなく(少なくとも操作が難しい)、比較的あまり衛生的でなく、したがって、頻繁なクリーニングを必要とする。
本発明の一態様は、特に、発泡製品を分注する方法およびシステムに関する。
オランダ特許NL1024433(特許文献2)は、単分散発泡体を得る方法であって、最初に比較的粗い予備発泡体が生成され、その後、予備発泡体は膜を通される、方法を説明している。オランダ特許NL1024438(特許文献3)は、例えば、膜状のビーム分割器を介して、異なる蒸気ビームが製品の中に吐出される異なる方法を説明している。
PCT/NL2009/050097(WO2009/110794)(特許文献4)は、革新的な製品分注システムを開示しており、このシステムは、ガスが精密ろ過デバイスを介して製品に供給される方法を実施するように構成されており、また、精密ろ過デバイスの下流の製品は、混合処理を受けるか、および/または制御された減圧を受ける。この既知のシステムは、分注する製品が入ったホルダと、ホルダから来る製品を排出するための製品排出手段とを備え、製品排出手段は、製品の排出中に製品にガスを供給するための液体供給源に接続可能である精密ろ過デバイスを備え、製品排出手段には、ガスが提供された製品に混合処理および/または減圧処理を行うために、上記の精密ろ過デバイスの下流に配置されている加工デバイスがさらに設けられていることを特徴としている。対応する操作デバイスは、カバーによってシール可能な空洞を備え得、その中に、ホルダは取り外し可能に設置可能である。好ましくは、空洞は、空洞から圧力チャンバを形成するために、カバーによって周囲から密閉シール可能である。例えば、ホルダが空の場合、ホルダは、操作デバイスから取り外されて、例えば、廃棄またはリサイクルできる。その後、製品の分注を継続する目的で、新しい(完全な)ホルダを操作デバイスと協働させるための位置におくことができる。さらに、一態様によれば、ホルダの圧力チャンバ内に、分注する製品が入った可撓性バッグを備えると有利である。
欧州特許出願公開第1061006号明細書 蘭国特許発明第1024433号明細書 蘭国特許発明第1024438号明細書 国際公開第2009/110794号
本発明は、特に、信頼性が高くかつ使い勝手が良いやり方で、発泡製品を効率的で衛生的に分注する改良された製品分注システムを提供することを目的としている。特に、本発明の目的は、適切に制御されたやり方で、また、好ましくは衛生的なやり方で、(例えばホルダが保持するほぼすべての製品がシステムによって泡立てられてホルダが実質的に空になったときに)製品ホルダの取り付けおよび任意選択の取り外し/取り換えを素早く実施できるシステムおよび方法を提供することである。また、操作および正確なプロセス制御を可能にするための信頼性の高い手段を提供することを目的としている。さらに、比較的経済的なやり方で作れる交換可能な製品容器を有し、信頼性の高い衛生的な操作を依然として提供できるシステムを提供することを目的としている。
さらに、本発明は、比較的長い操作期間中に、様々な状況(例えば、周囲温度および/または周囲湿度および/または分注場所の変化)下で比較的一定の製品品質を提供する、高信頼性となり得る製品分注システムを提供することを目的としている。
また、本発明は、多数の場所で実装可能なシステムであって、エンドユーザの場所への比較的大量の(泡立てられる)製品の輸送を、経済的なやり方で効率的に実施することができる、システムを提供することを目的としている。
これらの目的のうちの1つまたは複数は、独立請求項のうちのいずれかの特徴によって達成される。
本発明の1つまたは複数の他の態様と組み合わせられ得る本発明の第1の態様は、発泡製品分注システムを提供する。このシステムは、交換可能な製品容器を受容するように構成された製品分注マシンと、マシン内での設置後、製品分注マシンと協働するように構成された製品容器とを含み、製品容器は、発泡性製品、好ましくは、食品、例えば、クリームを含有しており、製品容器は、製品を受け取るための製品入口および製品を排出するための製品出口を有する泡立てデバイスを含む製品加工ユニットを備え、加工ユニットは、製品にガスを供給するためのガス供給源に接続可能であり、本システムは、容器を受容するための容器受容空間を囲む、密閉シール可能な壁構造を含み、壁構造には、断熱性の閉鎖部材によって閉じることが可能な(および、例えばシール可能)な製品流出口ポートが含まれている。
このような構成は、容器受容空間(の所望の状態)と比べて比較的温かいおよび/または湿気があり得る環境空気との接触、例えば、その侵入に対する保護を向上させることができる。したがって、製品が十分に冷却されていない、および/または湿気のある空気が分注されていない製品に接触するなど、衛生的に望ましくない状況をよりよく防止することができる。また、システム、特に、その冷却サブシステムは、したがって、エネルギー効率がより良くなり得る。
このような交換可能な製品容器は、様々な方法で実現できることが理解されるであろう。その様々な方法のうちの少なくともいくつかについて、本説明でさらに詳しく説明する。例えば、製品容器は、交換可能な可撓性バッグを備え得るか、および/または製品容器は、交換可能な圧力チャンバまたはカプセルを備え得るか、あるいは製品容器は、分注マシンの中に固定することもできる。これらのオプションの組み合わせも可能である。例えば、交換可能なカプセルには、交換可能な可撓性バッグがその中に設けられていてもよく、交換可能な可撓性バッグは、交換可能なカプセルから交換することができる。
製品容器またはその部品は、再利用に適している場合も、適さない場合もある(再利用に適さない場合は、そのような容器の廃棄可能性に関連付けられ得る。その容器は、例えば、製品が輸送される製品パッケージの一部である)。例えば、このようなカプセルは、再利用に適している場合も、適さない場合もあり、また、そのような可撓性バッグは、再利用に適している場合も、適さない場合もある。
交換可能なカプセルまたは圧力チャンバは、例えば、可撓性バッグがその中にない状態で、製品が入ったプラスチック(例えば、PET)容器(例えば、ボトル)の形で実現できる。
また、交換可能な製品容器が存在しても、交換不可能な別の製品容器の存在は除外されないことが理解されるであろう。例えば、圧力チャンバまたはカプセルは、交換不可能であってもよい、すなわち、分注マシン内に実質的に固定されていてもよい(したがって、例えば、その一部であり得る)。カプセルは、交換可能な製品容器(例えば、可撓性バッグを備える)を保持するように構成されている。
閉鎖部材は、第1の位置と第2の位置との間で可動であり得、第1の位置では、断熱性の閉鎖部材は、製品流出口ポートからの発泡製品のフローの通路を提供し、第2の位置では、断熱性の閉鎖部材は、製品流出口ポートを閉じ、閉鎖部材は、好ましくは、閉鎖部材が第1の位置にあるときに、製品流出口ポートの反対側に位置する製品分注通路を含み、閉鎖部材の第2の位置では、第1の位置と比較して、製品分注通路は、製品流出口ポートから少し離れて配置されている。
このような構成は、(第1の位置では)製品を分注することができ、また、製品を分注していないときに断熱性を高めることができることを可能にし、したがって、製品が分注されていないときに環境空気への曝露をさらに低減することが可能になる。
特に、製品流出口ポートが断熱性の閉鎖部材によって閉じられているときに、壁構造と閉鎖部材との間にシールを設けることができる。
このようなシールは、環境空気からの追加の断熱および/または環境空気に対する保護を提供することができる。
閉鎖部材は、製品分注マシンから手動で取り外し可能であり、かつ、その後、その中で手動で取り換え可能であり、好ましくは、閉鎖部材は、閉鎖部材を製品分注マシンから取り外す間に、閉鎖部材を手動で取り扱うためのハンドリング構造を備える。
このような取り外し可能性や交換可能性により、ユーザが閉鎖部材をクリーニングし、および/または取り換えることが容易になり得、衛生状態が向上される。
製品分注マシンは、特に、閉鎖部材の手動の取り換えの後、閉鎖部材を使用して、製品流出口ポートを自動的に開閉するように構成され得る。
このようにして、特に、自動化により、使い易さおよび衛生状態が向上され得る。
製品分注マシンは、例えば、対応するセンサを使用して、取り換えられた閉鎖部材を検出するように構成され得、好ましくは、閉鎖部材は、製品分注マシンによって(例えば、センサによって)検出されるように構成されている、対応する検出可能部分(例えば、磁石)を含む。
このような構成は、閉鎖部材が取り換えられたことにマシンがすぐに応答して、例えば、上記の閉鎖部材と(再)係合する、および/または、閉鎖部材の(適切または不適切な)取り換えに関してユーザにフィードバックを提供することを可能にする。
閉鎖部材は、少なくとも製品流出口ポートが閉鎖部材によって閉じられているときに、製品流出口ポートから出てくる製品のドリップを受けて保持するためのドリップ保持構造を備え得、好ましくは、ドリップ保持構造は、製品流出口ポートが閉鎖部材によって閉じられているときに、製品流出口ポートの下および/または上に少なくとも部分的に配置される。
このようなドリップ保持構造は、クリーニングが難しい場合がある、および/またはあまり冷却されないもしくは冷却されない場合がある部品または領域に、製品の滴が到達可能であることを防止するのに役立ち得る。したがって、衛生状態が向上され得る。
製品分注マシンは、閉鎖部材を作動させるための閉鎖部材アクチュエータを備え得る。
このようにして、閉鎖部材は、マシンによって作動され得る。具体的には、複数の位置間で動かされ得る。
閉鎖部材アクチュエータは、閉鎖部材と係合および係合解除するように構成され得、好ましくは、システムは、例えば、閉鎖部材を閉鎖部材アクチュエータから係合解除するために、その所定の位置において閉鎖部材の動きを遮断するための遮断要素を備える。
このような構成は、閉鎖部材と係合することによって(マシンは閉鎖部材を制御することができる)、かつ、閉鎖部材から係合解除することによって(マシンは閉鎖部材の制御を解放することができ、これにより、続いてユーザが閉鎖部材を制御することができる)、マシンとマシンのオペレータ(ユーザ)との間で、閉鎖部材の(機械的)制御を効果的に相互に伝達できるようにすることを可能にする。
閉鎖部材アクチュエータは、閉鎖部材と磁気的に係合するように構成され得、好ましくは、閉鎖部材は、閉鎖部材アクチュエータによって係合されるように構成されている、磁気的に係合可能な要素、例えば磁石を備える。
このような磁気構成は、マシンによる閉鎖部材の優れた作動だけでなく、優れた係合可能性および係合解除可能性を提供することが確認されている。
閉鎖部材アクチュエータは、閉鎖部材と係合するように構成されている、実質的に直線的に可動であるアクチュエータ部材を備え得る。このようにして、閉鎖部材は、比較的小さな空間内でアクチュエータによって適切に動かすことができる。
本発明の1つまたは複数の他の態様と組み合わせられ得る本発明の第2の態様は、発泡製品分注システムを提供する。このシステムは、交換可能な製品容器を受容するように構成された製品分注マシンと、マシン内での設置後、製品分注マシンと協働するように構成された製品容器とを含み、製品容器は、発泡性製品、好ましくは、食品、例えば、クリームを含有しており、製品容器は、製品を受け取るための製品入口および製品を排出するための製品出口を有する泡立てデバイスを含む製品加工ユニットを備え、加工ユニットは、製品にガスを供給するためのガス供給源に接続可能であり、製品加工ユニットは、バルブ部材によって閉じることが可能である、泡立てデバイスの上流の製品フィードスルー・チャネルを含み、製品加工ユニットは、泡立てデバイスの上流の流体フィードスルー・チャネルを含み、上記のバルブ部材は、製品加工ユニットの上記の流体フィードスルー・チャネルと分注マシンの流体供給源との間に流体連結を提供するために構成されており、バルブ部材において、好ましくは、バルブ部材と対応するバルブ座部との間の界面において、製品フィードスルー・チャネルがバルブ部材によって閉じられているときに、製品フィードスルー・チャネルを遮断する第1のシールされた閉鎖を提供するように構成されている、遠位に配置された第1のシール構造、および/またはバルブ部材の遠位端から遠く離れ、バルブ部材の遠位セクションと近位セクションとの間の場所に第2のシールされた閉鎖を提供するように構成された第2のシール構造、および/またはバルブ部材の近位セクションにまたはその近くに配置されている第3のシール構造のうちの少なくとも1つ、好ましくは2つ、より好ましくはすべてを備える。
1つまたは複数のこのようなシール構造は、バルブ部材および/または製品加工ユニットの性能を向上させ得る。具体的には、バルブ部材における、具体的には、バルブ部材と製品加工ユニットの対応するバルブ座部とが機械的に接触する1つまたは複数の領域における流体の漏れを低減させる。
シール構造のうちの少なくとも1つは、圧縮可能なシール構造であり得る。
このような圧縮性は、優れたシール性能を可能にしながら、バルブ部材の可動性も可能にすることができる。
シール構造のうちの少なくとも1つは、製品フィードスルー・チャネルに向かってバルブ部材および対応するバルブ座部に沿って延在する領域における流体圧力の上昇の影響下で、対応するシール圧力を増加させるように構成され得る。
このようにして、流体圧力の上昇に応じてシール性能を必要に応じて大幅に向上することができる一方で、特に、上記の流体圧力があまり上昇しないまたは上昇しないときに、バルブ部材の(より大きな)可動性を提供できる。
上記のシール構造のうちの少なくとも1つは、バルブ部材の中心軸に対して横方向に突出する弾性的に圧縮可能な構造であり得、上記の圧縮可能な構造は、対応するシール受容構造によって圧縮され、受容構造は、バルブ部材が閉状態にあるときに比べてバルブ部材が開状態にあるときに、シール構造をより多く圧縮するように寸法決めされている。
このような構成は、閉状態に比べてバルブ部材が開状態のときに、シール構造をより圧縮することを可能にし、閉状態は、デフォルト(より一般的な)状態であり得、開状態は、シール構造のシール性能より(さらに)重要な状態であり得る。したがって、特に、シール材料のクリープによる経時的なシール性能の劣化を防止する、少なくとも低減することができる。
受容構造は、好ましくは、バルブ部材のバルブ座部の一部を形成する。
好ましくは、受容構造は、受容構造の少なくとも2つの異なる直径を提供する実質的に円錐台状の構造を含み、好ましくは、少なくとも2つの異なる直径のうちの小さい方は、バルブ部材が開状態のときのシール構造の位置に対応し、好ましくは、少なくとも2つの異なる直径のうちの大きい方は、バルブ部材が閉状態のときのシール構造の位置に対応し、好ましくは、実質的に円錐台状の構造の主軸は、バルブ部材の中心軸と実質的に一致する。
シール構造のうちの少なくとも1つは、特に、バルブ部材と、例えば、バルブ座部との間にリップ・シールを形成するためのリップ・シール構造を備え得る。
このようなリップ・シールは、シールにおける流体圧力の上昇に応じて、よりきついシールを提供できる。
本開示はまた、上記の発泡製品分注システムの製品容器用のバルブ部材も提供する。バルブ部材は、容器の製品加工ユニットの流体フィードスルー・チャネルと分注マシンの流体供給源との間に流体連結を提供するために構成されており、バルブ部材は、好ましくは、第1の、第2の、および/または第3のシール構造を備える。
本開示はまた、上記の発泡製品分注システム用の製品容器も提供する。製品容器は、上記のバルブ部材を備える。
本発明の1つまたは複数の他の態様と組み合わせられ得る本発明の第3の態様は、発泡製品分注システム、例えば、上記された態様のいずれかに記載のシステムを提供する。本システムは、交換可能な製品容器を受容するように構成された製品分注マシンと、マシン内での設置後、製品分注マシンと協働するように構成された製品容器とを含み、製品容器は、発泡性製品、好ましくは、食品、例えば、クリームを含有しており、製品容器は、製品を受け取るための製品入口および製品を排出するための製品出口を有する泡立てデバイスを含む製品加工ユニットを備え、加工ユニットは、製品にガスを供給するためのガス供給源に接続可能であり、製品分注マシンは、設置された製品容器を、製品を加工ユニットに供給するための少なくとも2つの(相互に異なる)動作圧力に加圧するために構成されており、分注マシンは、好ましくは、所望の容器動作圧力を選択するためのユーザ操作可能なコントローラを含み、より好ましくは、上記のガス供給源は、動作中に、設定された製品容器動作圧力とは実質的に独立している所定のガス流量を提供するために構成されている。
このようにして、より高い動作圧力を選択することによって、分注される製品の製品対空気比を高くすることができる。すなわち、分注される製品において、空気量に対してより多くの製品を分注することができる。製品対空気比は、分注される発泡製品の硬さに関連付けられ得る。したがって、例えば、ユーザは、製品超過を修正できる。
本発明の1つまたは複数の他の態様と組み合わせられ得る本発明の第4の態様は、発泡製品分注システム、例えば、上記された態様のいずれかに記載のシステムを提供する。本システムは、交換可能な製品容器を受容するように構成された製品分注マシンと、マシン内での設置後、製品分注マシンと協働するように構成された製品容器とを含み、製品容器は、発泡性製品、好ましくは、食品、例えば、クリームを含有しており、製品容器は、製品を受け取るための製品入口および製品を排出するための製品出口を有する泡立てデバイスを含む製品加工ユニットを備え、加工ユニットは、製品にガスを供給するためのガス供給源に接続可能であり、ガス供給源は、動作中にチョーク・フローを達成するためのガス制限部を含む、チョーク・フロー・ガス供給源であり、フロー狭窄部は、製品分注マシンの(可動式)流体インジェクタ・コネクタ、具体的には、流体インジェクタの遠位部、および製品加工ユニットのうちの1つに配置されている。
このようにして、フロー狭窄部と泡立てデバイス(の一部)との間のガスのデッド・ボリュームを減少させることができ、これにより、例えば、製品の分注の開始前後で、泡立てデバイスにおいてより急速に流体圧力を上昇させることができる。
ガス供給源は、フロー狭窄部の上流にガス・バッファ・ボリュームを提供するように、特に、加圧されたガス・バッファを提供するために構成され得、ガス・バッファ・ボリュームは、具体的には、システムのガス加圧ポンプとフロー狭窄部との間に位置しており、好ましくは、バッファ・ボリュームの最小ボリュームは、0.5リットルである。
このようなガス・バッファ・ボリュームは、フロー狭窄部におけるより急速な初期加圧を提供できる。
ガス供給源は、フロー狭窄部の上流に配置され、かつガス供給源内のガスを冷却および/または乾燥するように構成された凝縮物ブロックを含み得る。凝縮物ブロックは、凝縮物ブロックから凝縮物を流し出すためのドレン・バルブを備え、ドレン・バルブは、製品容器および/またはマシンの受容空間に流体接続されている。受容空間は、製品容器を受容するために構成されている。
このようにして、製品容器から凝縮物ブロックを通ってドレン・バルブを通って大気中に空気を流し出すことができる。
本発明の1つまたは複数の他の態様と組み合わせられ得る本発明の第5の態様は、発泡製品分注システム、例えば、上記された態様のいずれかに記載のシステムを提供する。本システムは、交換可能な製品容器を受容するように構成された製品分注マシンと、マシン内での設置後、加圧されるように、製品分注マシンと協働するように構成された製品容器と、を含み、製品容器は、発泡性製品、好ましくは、食品、例えば、クリームを含有しており、製品容器は、製品を受け取るための製品入口および製品を排出するための製品出口を有する泡立てデバイスを含む製品加工ユニットを備え、加工ユニットは、製品にガスを供給するための流体供給源に接続可能であり、本システムは、製品容器を交換可能に受容するように構成された交換可能なカプセルをさらに含み、マシンは、製品容器を含有しているカプセルを交換可能に受容するように構成されており、カプセルは、加圧されるように製品分注マシンと協働するように構成されており、製品分注マシンは、マシンに対するカプセルの位置および/または向きに応じて、カプセルの加圧を可能にするように構成されている。
このような構成は、カプセルがマシンに対して所望どおりに、具体的には、安全に位置決めおよび/または方向付けられていないときに、カプセルが加圧される(または、このような加圧の試みが行われる)のを防止するのに役立ち得る。このようにして、安全でない加圧による事故などの使用上の問題をより望ましく回避できる。
製品分注マシンは、マシンに対するカプセルの位置および/または向きに応じて、解放位置から保持位置に可動である保持部材を備え得、解放位置において、カプセルは、マシンから解放可能であり、保持位置において、カプセルは、マシン内に保持される。
このような保持部材は、カプセルの位置および/または向きの適切さに関するヒントをユーザに提供することによって、カプセルの適切な設置を促進できる。
製品分注マシンは、保持部材がその保持位置にあるときに、開位置から閉位置に可動であるドアを備え得、その解放位置において、保持部材は、開位置から閉位置へのドアの動きを実質的に遮断し、好ましくは、本マシンは、ドアが閉位置にあることを検出するように構成されている。
したがって、ドアは、保持部材がその保持位置にあるときは、実質的に閉じることが不可能であり得、これは、カプセルの不適切な設置が原因であり得る。ドアが閉じていることをマシンが検知することによって、したがって、マシンによるカプセルの加圧は、マシン内へのカプセルの適切な設置を少なくとも間接的に必要条件とし得る。
カプセルは、マシンに対するカプセルの位置および/または向きに応じて、保持部材をその保持位置にすることができるように保持部材と協働するように構成されたハンドルを備え得る。
このような構成は、使い勝手が良く、かつ堅牢であり得ることが確認されている。
1つまたは複数の他の態様と任意選択で組み合わせられ得る別の態様によれば、発泡製品分注システムが提供される。本システムは、
- 交換可能な製品容器を受容し、かつ、例えば、製品容器を加圧するように構成された製品分注マシンと、
- マシン内での設置後、製品分注マシンと協働するように構成された製品容器と、
を含み、製品容器は、発泡性製品を含有し、製品容器は、製品を受け取るための製品入口および製品を排出するための製品出口を有する泡立てデバイスを含む製品加工ユニット(CPU:Product Processing Unit)を備え、加工ユニットは、(好ましくは、製品排出中に)製品にガスを供給するための流体(具体的には、ガス)供給源に接続可能であり、製品加工ユニットは、好ましくは、ガスが提供された製品に混合処理および/または減圧処理を行うための、上記の泡立てデバイスの下流に配置された加工デバイスを備え、
製品加工ユニットは、バルブ部材によって閉じることが可能である、泡立てデバイスの上流の製品フィードスルー・チャネルを含み、
製品加工ユニット(CPU)は、泡立てデバイスの上流の流体フィードスルー・チャネルを含み、上記のバルブ部材は、製品加工ユニットの上記の流体フィードスルー・チャネルと分注マシンの流体供給源との間に流体連結を提供するために構成されている。
このようにして、特に使い勝手が良いシステムを提供でき、また、高品質の発泡製品を信頼性の高い衛生的な方法で分注することができる。さらに、システムは、コンパクトで、堅牢、かつ経済的な設計にすることができる。具体的には、精密ろ過デバイスへの製品フローを制御するためのCPUのバルブ部材(製品容器の一部である)は、流体供給源(接続)も提供するように構成されているため、コンパクトな構成と信頼性の高い構造を可能にする。具体的には、製品容器を製品分注マシンの中に取り付けると、CPUのバルブ部材を、対応するマシンの構成要素、具体的には、マシンのバルブ部材アクチュエータと協働させ得る。この結合により、流体供給源にも自動的に接続され得る。このような取り付け後、バルブ部材は、(対応するマシンの制御状態に応じて)製品フローと流体フローとの両方を制御できるようになる。例えば、容器を取り付けた後(CPUのバルブ部材は、マシンのアクチュエータ構成要素に接続されているか、または連通するようになる)、システムは、分注が望ましくないとき、および/またはシステムの対応する操作デバイスによって制御されていないときに、製品が分注されないように、有利に構成することができる。また、交換可能な製品容器(製品加工ユニットを一体的に含む)を実装することによって衛生的な使用を提供することができ、製品分注マシン自体の部品が製品に接触することで発生する衛生上の問題が回避される。製品容器およびそのCPUは、実質的にリサイクル可能であることが好ましい。
さらなる実施形態によれば、分注マシンには、バルブ部材を製品フィードスルー状態と製品フロー遮断状態との間で動かすために、設置された製品容器のバルブ部材と協働するように構成されたバルブ・アクチュエータが含まれている。
さらに、バルブ部材には、製品容器がマシン内で動作位置にあるときに、分注マシンの流体インジェクタに接続するように配置された流体通路が含まれていることが好ましい。このようにして、バルブ部材自体が、内部流体通路を経由する分配マシンからCPUへの流体連結の少なくとも一部を画定する、または含めることができる。
バルブ部材が製品フィードスルー状態と製品フロー遮断状態との間で少なくとも回転可能である場合に、さらなる信頼性の高い動作を達成できる。
好ましい実施形態によれば、バルブ部材の流体通路は、バルブ部材の回転軸と一致するまたは平行である。
このようにして、マシンの流体インジェクタをバルブ部材と比較的簡単に結合することができ、物理的な結合および良好な流体フロー接続の両方が可能になる。
乾燥しているまたは乾燥された流体を、設置された製品容器の製品加工ユニットの流体フィードスルー・チャネルに供給するように分注マシンが構成されている場合に、良好な発泡製品分注結果が達成されている。
さらなる実施形態によれば、分注マシンは、設置された製品容器の製品加工ユニットの流体フィードスルー・チャネルに空気を供給するように構成されている。この場合、好ましくは、分注マシンには、空気から水を除去するためのエア・ドライヤが含まれており、これにより、製品分注結果が向上される。
有利には、分注マシンは、好ましくは、ホルダ(H)内の製品の温度が10℃よりも低い、特に、5℃よりも低いように、上記のホルダを冷却するように設計されている。例えば、上記のエア・ドライヤは、分注マシンの冷却システムに埋め込まれても、またはその一部を形成してもよく、様々な機能が組み合わされる。
さらなる実施形態によれば、製品容器は、例えば、少なくとも約2バールの圧力まで加圧されるように構成された、実質的に円筒形またはバケツ形状のカプセルであり得る。例えば、容器(または「カプセル」)の外側壁は、スチール、アルミニウム、もしくは硬質プラスチック(例えば、繊維強化プラスチック)、またはこのような材料の組み合わせで作ることができる。
非制限的であるが好ましい実施形態によれば、カプセルの長さは、約20~40cmの範囲にあり得、カプセルの外径は、約10~30cmの範囲である。
また、好ましくは、カプセルは、初期使用前に、少なくとも4リットルまたは少なくとも4kgの製品を含有し、したがって、比較的長い動作時間(容器を新しいものと交換する必要となる前)から比較的大量の製品が利用可能となる。
好ましい実施形態では、製品分注マシンには、製品容器を受容するための容器受容空間が含まれる。製品容器は、対応する製品受容空間から交換可能であり、(当該空間の中への)容器設置の方向は、好ましくは、実質的に水平方向である。これは、比較的重い容器を設置する(および置き換える)場合に特に有利である。分注マシンには、容器を(上記の設置方向に沿って)容器受容空間の中へ入れる、および容器受容空間から出すためにガイドするための容器ガイドが含まれていることが好ましい。
さらなる実施形態によれば、製品加工ユニットは、ホルダの外側壁を通って延在し、具体的には、ホルダの上部壁および下部壁から離間されている。
好ましくは、ホルダは、排出される発泡性製品で満たされた可撓性バッグを含む内部空間を画定する。例えば、ホルダには、ホルダの内部空間を加圧するために、製品分注マシンから、具体的には、マシン内へのホルダの設置後に、流体流入口に接続する対応する流体流出口から、流体を受け取るための流体流入口が含まれ得る。
好ましくは、泡立てデバイスには、流体供給源に関連付けられるガス供給空間を製品入口に関連付けられる発泡チャネルから分離する、ガス透過性孔を有する精密ろ過壁(例えば、管状壁)を備える。
例えば、製品フロー方向で測定された発泡チャネルの長さが最大10cmの場合に、良好な結果が達成される。
上記の長さは最大5cmであってもよく、より具体的には、約0.5~5cmの範囲内、例えば、約2cmまたは約3cmである。
好ましくは、泡立てデバイスには、0.1~10ミクロンの範囲の孔径、具体的には、少なくとも0.1ミクロン~2ミクロン未満の孔径、より具体的には、少なくとも0.2ミクロン~1.5ミクロン未満の孔径を有するガス透過性孔を有するろ過壁を備える。本開示の範囲内では、記載されているもの以外の孔径が可能であることが理解されるであろう。例えば、非制限的な実施形態では、孔径は、実質的に5~10ミクロンの範囲であり得る。また、様々な異なる孔径および/または孔径範囲が、任意の単一のろ過壁に存在していてもよい。
例えば、泡立てデバイスには、製品の供給用の製品入口、ガスの供給用のガス流入口、およびガスが提供された製品の排出用の出口を備えるハウジングを備え得る。上記のガス流入口は、精密ろ過壁によって、上記の製品入口および出口から分離されたガス受容空間内で終端する。
好ましい実施形態によれば、製品分注マシンには、加工ユニットの泡立てデバイスに、超大気圧下でガスを供給するためのガス供給源を備えるか、またはそれと接続可能である。
また、製品分注マシンには、好ましくは、ユーザ・インターフェースまたはマシンの操作デバイスを介してユーザ操作可能である制御ユニットを備えることが好ましい。制御ユニットは、加工ユニットへの流体フローおよび製品フローを制御するために構成されている。制御ユニットは、好ましくは、製品排出を開始する場合に、製品フローの前に流体フローを開始する(それにより、泡立てデバイスの詰まりを防止する)ように構成されている。
好ましい実施形態によれば、製品加工ユニットは、特に、均質な発泡体を形成するために、製品にガス泡を導入するように設計されている。
好ましい実施形態によれば、上記の流体は、ガスまたはガス混合物(例えば、窒素、または空気)である。
好ましい実施形態によれば、ホルダ内にある製品は、例えば、クリームである食品である。
さらに、追加の有利な態様によれば、製品加工ユニットには、初期使用の前に、例えば、容器がマシン内で初めて使用される(例えば、加圧される)前に、製品加工ユニットと製品容器との間の製品フロー経路を密閉シールし、かつ、例えば、シールの特定の加圧時に、製品容器の使用中に、製品容器から泡立てデバイスへの製品のフローのための通路を提供するように構成された気密で調整可能なシールが含まれ得る。
調整可能な気密シールは、例えば、バルブ部材、バネ式一方向バルブ、もしくはリターン・バルブによって、所定の(制御/開放)圧力で自動的に切断もしくは破裂する切断可能もしくは引裂可能なシール部材によって、または所定の制御圧力の影響下でシール位置からフロー経路解放位置に動くシール・キャップによってなど、様々な方法で具現化することができる。気密で調整可能なシールは、泡立てユニットの上流に位置していることが好ましいが、これは必須ではない。
調整可能なシールは、例えば、加圧された製品容器内の開放圧力の影響下で、気密の製品フロー遮断状態から製品フロー開放状態に調整可能であり得、開放圧力は超大気圧である。
さらに、一実施形態によれば、製品容器の壁には、可撓性および/または弾性の部分を含めることができ、容器の内部ボリュームが変化または増加することを可能にする。
さらに、本発明の一態様は、発泡製品分注システム、例えば、上記の態様によるシステムを提供する。本システムは、
- 交換可能な製品容器を受容するように構成された製品分注マシンと、
- マシン内での設置後、製品分注マシンと協働するように構成された製品容器と、
を含み、製品容器は、発泡性製品を含有し、
製品容器は、容器から製品を受け取るための製品入口および製品を排出するための製品出口を有する泡立てデバイスを含む製品加工ユニットを備え、加工ユニットは、製品排出中に、製品にガスを供給するための流体供給源に接続可能であり、製品加工ユニットは、ガスが提供された製品に混合処理および/または減圧処理を行うための、上記の泡立てデバイスの下流に配置された加工デバイスがさらに設けられており、
製品容器は、例えば、少なくとも2バールの圧力まで加圧されるように構成された、実質的に円筒形またはバケツ形状のカプセルであり、
カプセルの長さは、約20~40cmの範囲にあり、カプセルの外径は、約10~30cmの範囲にあり、
製品分注マシンには、製品容器を受容するための容器受容空間が含まれる。製品容器は、対応する製品受容空間から交換可能であり、容器設置の方向は、好ましくは、実質的に水平方向である。
このようにして、使い勝手が良く、簡単に取り付けられる発泡製品分注システムを提供することができる。カプセルは比較的大きいため、初期使用時に比較的大量の製品を分注マシンに装填することができる。また、容器の取り扱いは1人で達成することができる。前述のように、ユーザを支援するために、分注マシンには、容器を(上記の設置方向に沿って)容器受容空間の中へ入れる、および容器受容空間から出すためにガイドするための容器ガイドが含まれていることが好ましい。
上記の態様のいずれかと任意選択で組み合わせられ得る、本発明の別の態様によれば、発泡製品分注システムが提供される。本システムは、
- 交換可能な製品容器を受容するように構成された製品分注マシンと、
- マシン内での設置後、製品分注マシンと協働するように構成された製品容器と、
を含み、製品容器は、発泡性製品、好ましくは、食品、例えば、クリームを含有しており、製品容器は、製品を受け取るための製品入口および製品を排出するための製品出口を有する泡立てデバイスを含む製品加工ユニットを備え、加工ユニットは、製品にガスを供給するためのガス供給源に接続可能であり、
本システムは、ガス供給源がチョーク・フロー・ガス供給源を提供するように構成されている。
このようにして、特に、特定の動作期間中に泡立てデバイスが経験し得る任意の変化とは実質的に独立して、動作中、泡立てデバイスへの一定のガス流量を達成することができる。例えば、泡立てデバイスに、製品の中にガスを注入するための小さな孔が含まれている場合、チョーク・フロー・ガス供給源を適用すると、孔の詰まりを抑制し、および/または、孔の詰まりが発生した場合での泡立てデバイスの正常かつ信頼性の高い機能をもたらすことが可能である。
さらに、本発明によるシステムの一部であるように明らかに構成されている、製品容器が提供される。製品容器は、発泡性製品を含有し、製品容器は、製品を受け取るための製品入口および製品を排出するための製品出口を有する泡立てデバイスを含む製品加工ユニットを備え、加工ユニットは、製品排出中に、製品にガスを供給するための流体供給源に接続可能であり、製品加工ユニットは、ガスが提供された製品に混合処理および/または減圧処理を行うための、上記の泡立てデバイスの下流に配置された加工デバイスがさらに設けられており、
製品加工ユニットは、バルブ部材によって閉じることが可能である、泡立てデバイスの上流の製品フィードスルー・チャネルを含み、
製品加工ユニットは、泡立てデバイスの上流の流体フィードスルー・チャネルを含み、上記のバルブ部材は、製品加工ユニットの上記の流体フィードスルー・チャネルと分注マシンの流体供給源との間に流体連結を提供するために構成されている。
したがって、上記の利点も達成することができる。好ましい実施形態では、容器は、圧力ベッセルを提供するように構成されており、容器の壁は、例えば、スチール、またはそのような圧力ベッセルの提供に適した別の硬質材料で作られている。
さらに、本発明の一態様は、発泡製品を分注するための革新的な方法を提供する。本方法は、
- 製品分注マシン内で交換可能な製品容器を受容することであって、製品容器は、発泡性製品、好ましくは、食品、例えば、クリームを含有しており、製品容器には、泡立てデバイスと、バルブ部材によって閉じることが可能な製品フィードスルー・チャネルとを備える、受容することと、
- 製品容器から製品を排出することと、
- バルブ部材を製品フロー遮断状態から製品フィードスルー状態に動かすことと、
- 特に、均質な発泡体を形成するために、バルブ部材の流体通路を介して、かつ泡立てデバイスを介して、ガス、例えば、窒素ガスまたは空気、好ましくは、乾燥した空気を、好ましくは、超大気圧で(例えば、製品排出前および/または排出中に)製品に供給して、製品の中にガス泡を導入することと、
任意選択で、ガスが供給された製品の圧力を下げることと、
を含む。
このようにして、製品フローを制御するために、さらにガスを供給するためにバルブ部材が使用されることにより、コンパクトで衛生的で信頼性の高い製品分注(および発泡)方法が可能になる。
上記の態様のいずれかと任意選択で組み合わせられ得る、本発明の別の態様によれば、発泡製品分注システムが提供される。本システムは、
- 交換可能な製品容器を受容するように構成された製品分注マシンと、
- マシン内での設置後、製品分注マシンと協働するように構成された製品容器と、
を含み、製品容器は、発泡性製品、好ましくは、食品、例えば、クリームを含有しており、製品容器は、製品を受け取るための製品入口および製品を排出するための製品出口を有する泡立てデバイスを含む製品加工ユニットを備え、加工ユニットは、製品にガスを供給するための流体供給源に接続可能であり、
製品分注マシンには、製品容器を受容するための容器受容空間が含まれる。製品容器は、対応する製品受容空間から交換可能であり、容器設置の方向は、好ましくは、実質的に水平方向であり、
分注マシンは、好ましくは、製品加工ユニット内に含まれている容器内の製品の温度が10℃よりも低い、特に、5℃よりも低いように、容器受容空間内への設置後に、上記の製品容器を冷却するように構成されている。
好ましくは、分注マシンには、冷却液が入った少なくとも1つの冷却ダクトが含まれており、冷却ダクトは、好ましくは、例えば、容器受容空間の周りのらせん状経路に沿って延在して、容器受容空間の少なくとも一部を囲む。
好ましくは、容器受容空間は、その空間を囲む壁構造によって画定される。壁構造には、好ましくは、設置された製品容器の加工ユニットの下にある、閉じることが可能な発泡製品通路が含まれている。好ましくは、壁構造に上記の冷却ダクトが含まれているかまたは設けられている。
好ましい実施形態によれば、本システムには、容器受容空間の壁構造の閉じることが可能な製品通路を閉じるための閉じ部材が含まれ、閉じ部材は、特に、一方で、システムの環境と、もう一方で、容器受容空間との間の熱伝達を制限するように構成されており、
閉じ部材は、好ましくは、アクチュエータによって開状態に向かって可動であり、容器受容空間の壁構造の製品通路を介した発泡製品の排出を可能にする。
閉じ部材のさらなる利点は、容器受容空間の中への水蒸気フローも制限することができる点である。これは、システムが比較的湿度の高い環境(例えば、熱帯地方)で使用される場合に特に有利である。
上記の態様のいずれかと任意選択で組み合わせられ得る、本発明の別の態様によれば、発泡製品分注システムが提供される。本システムは、
交換可能な製品容器を受容するように構成された製品分注マシンと、
- マシン内での設置後、製品分注マシンと協働するように構成された製品容器と、
を含み、製品容器は、発泡性製品、例えば、食品、例えば、クリームを含有している製品保持空間を有しており、
製品容器は、製品を受け取るための製品入口および製品を排出するための製品出口を有する泡立てデバイスを含む製品加工ユニットを備え、加工ユニットは、製品にガスを供給するための流体供給源に接続可能であり、
製品加工ユニットには、製品容器の初期使用前に、製品加工ユニットと製品容器の製品保持空間との間の製品フロー経路を密閉シールし、かつ、製品容器の使用中に、製品容器から泡立てデバイスへの製品のフローのための通路を提供するように構成された気密シールが含まれている。
好ましくは、気密シールは、容器の製品保持空間の製品排出開口部に隣接して、またはそこにおいて、またはその中に位置している。また、好ましくは、気密シールは、シールの上流の開放圧力、例えば、製品容器の製品保持空間内の圧力の影響下でフロー遮断状態から製品フロー解放状態に調整可能であり、開放圧力は超大気圧である。
さらに、好ましくは、製品容器の壁には、可撓性および/または弾性の部分が含まれ、容器の内部ボリュームが変化または増加することを可能にする。
上記の態様のいずれかと任意選択で組み合わせられ得る、本発明の別の態様によれば、発泡製品分注システムが提供される。本システムは、
- 交換可能な製品容器を受容するように構成された製品分注マシンと、
- マシンの加圧チャンバ内での設置後、製品分注マシンと協働するように構成された製品容器と、
を含み、製品容器は、発泡性製品、好ましくは、食品、例えば、クリームを含有しており、製品容器は、製品を受け取るための製品入口および製品を排出するための製品出口を有する泡立てデバイスを含む製品加工ユニットを備え、加工ユニットは、製品にガスを供給するための流体供給源に接続可能であり、
加圧チャンバは、壁構造によって画定され、壁構造には、製品加工ユニットを受容し、かつ製品加工ユニットの外面と気密に係合するためのCPU受容ポートが含まれ、製品加工ユニットは、特に、ポートから製品排出領域に向かって突出している。
好ましくは、製品加工ユニットの外面とCPU受容ポートとの気密係合は、加圧チャンバの加圧に耐えられるように構成されている。
また、好ましくは、製品加工ユニットとマシンのCPU受容ポートとの係合は解放可能であり、特に、製品容器の取り換えを可能にする。
本システムは、好ましくは、製品加工ユニットと受容ポートとの係合に関するフィードバックをユーザに提供するように構成されている。CPU受容ポートおよび製品加工ユニットは、好ましくは、このような係合の際に、音および/または触覚フィードバック信号(例えば、クリック)を共同で生成するように構成されている。
上記の態様のいずれかと任意選択で組み合わせられ得る、本発明の別の態様によれば、発泡製品分注システムが提供される。本システムは、
- 交換可能な製品容器を受容するように構成された製品分注マシンと、
- マシン内での設置後、製品分注マシンと協働するように構成された製品容器と、
を含み、製品容器は、発泡性製品、好ましくは、食品、例えば、クリームを含有しており、製品容器は、製品を受け取るための製品入口および製品を排出するための製品出口を有する泡立てデバイスを含む製品加工ユニットを備え、加工ユニットは、製品にガスを供給するための流体供給源に接続可能であり、
製品加工ユニットには、製品加工ユニットの下流の製品排出領域を環境からシールするように構成された気密シール・キャップを備え、下流の領域には、システムの製品排出ノズルが含まれている。
上記の態様のいずれかと任意選択で組み合わせられ得る、本発明の別の態様によれば、発泡製品分注システムが提供される。本システムは、
- 交換可能な製品容器を受容するように構成された製品分注マシンと、
- マシン内での設置後、製品分注マシンと協働するように構成された製品容器と、
を含み、製品容器は、発泡性製品、
好ましくは、食品、例えば、クリームを含有しており、製品容器は、製品を受け取るための製品入口および製品を排出するための製品出口を有する泡立てデバイスを含む製品加工ユニットを備え、加工ユニットは、製品にガスを供給するための流体供給源に接続可能であり、
使用中に、製品加工ユニットは、本システムの加圧された空間の外側に延在し、加圧された空間の境界には、製品加工ユニットを交換可能に受容するためのCPU開口部が含まれており、
本システムには、壁構造が含まれており、壁構造には、製品加工ユニットを受容するためのCPU受容ポートが含まれており、
製品加工ユニットの形状は、壁構造に対して製品加工ユニットを位置決めするために、CPU受容ポートの形状と実質的に嵌合するように構成されており、
製品加工ユニットの形状およびCPU受容ポートの対応する形状は、好ましくは、ポート内に加工ユニットを受容する方向に実質的に対応する軸の周りで回転非対称である。
好ましくは、製品加工ユニットの形状と、CPU開口部の形状とのうちの少なくとも1つはテーパ形状になっている。
上記の態様のいずれかと任意選択で組み合わせられ得る、本発明の別の態様によれば、発泡製品分注システムが提供される。本システムは、
- 交換可能な製品容器を受容するように構成された製品分注マシンと、
- マシン内での設置後、加圧されるように、製品分注マシンと協働するように構成された製品容器と、
を含み、製品容器は、発泡性製品、好ましくは、食品、例えば、クリームを含有しており、製品容器は、製品を受け取るための製品入口および製品を排出するための製品出口を有する泡立てデバイスを含む製品加工ユニットを備え、加工ユニットは、製品にガスを供給するための流体供給源に接続可能であり、
本システムは、製品容器を交換可能に受容するように構成された交換可能なカプセルをさらに含み、マシンは、製品容器を含有しているカプセルを交換可能に受容するように構成されている。
好ましい実施形態では、カプセルは、加圧されるように製品分注マシンと協働するように構成されている。
さらに、好ましくは、カプセルは、好ましくは、製品容器を交換するためにカプセルの内部空間へのアクセスを提供するための取り外し可能な蓋を備え、蓋は、好ましくは、蓋が組み立てられた閉位置にあるときに、カプセルの残りの部分と協働してそれらの間に気密接続を形成するように構成されている。
製品容器は、好ましくは、製品を含有する可撓性バッグを備える。また、好ましくは、カプセルは硬質カプセルである。カプセルは、例えば(しかし、次に限定されないが)、円筒形および/またはバケツ形状など、様々な形状を有することができる。
上記の態様のいずれかと任意選択で組み合わせられ得る、本発明の別の態様によれば、本発明によるシステムの一部であるように明らかに構成されている、製品容器が提供される。製品容器は、発泡性製品を含有し、製品容器は、製品を受け取るための製品入口および製品を排出するための製品出口を有する泡立てデバイスを含む製品加工ユニットを備え、加工ユニットは、製品にガスを供給するための流体供給源に接続可能であり、製品加工ユニットは、好ましくは、ガスが提供された製品に混合処理および/または減圧処理を行うための、上記の泡立てデバイスの下流に配置された加工デバイスを備える。
さらなる実施形態によれば、泡立てデバイスは、疎水性および/または疎油性材料、例えば、PTFE(ポリテトラフルオロエチレン)および/またはヘキサフルオロプロピレンを含む、少なくとも1つの精密ろ過壁を有する。
さらなる実施形態によれば、製品加工ユニットには、製品容器の初期使用前に、製品加工ユニットと製品容器の製品保持空間との間の製品フロー経路を密閉シールし、かつ、製品容器の使用中に、製品容器から泡立てデバイスへの製品のフローのための通路を提供するように構成された気密シールが含まれている。
さらなる実施形態によれば、気密に相互に係合するために、製品加工ユニットは、加圧チャンバの壁構造の受容ポートと協働するように構成されている。
さらなる実施形態によれば、製品加工ユニットには、製品加工ユニットの下流の製品排出領域を環境からシールするように構成された気密シール・キャップを備え、下流の領域には、容器の製品排出ノズルが含まれている。
さらなる実施形態によれば、容器には壁構造が含まれており、壁構造には、製品加工ユニットを受容するためのCPU受容ポートが含まれている。製品加工ユニットの形状は、容器の壁構造に対して製品加工ユニットを位置決めするために、CPU受容ポートの形状と実質的に嵌合するように構成されている。
さらなる実施形態によれば、製品容器は、製品を含有する可撓性バッグを備え、可撓性バッグは、バッグの内部ボリュームを変更できるように、少なくとも部分的に可撓性である。
上記の態様のいずれかと任意選択で組み合わせられ得る、本発明の別の態様によれば、発泡製品分注システムが提供される。本システムは、
- 交換可能な製品容器を受容するように構成された製品分注マシンと、
- マシン内での設置後、製品分注マシンと協働するように構成された製品容器と、
を含み、製品容器は、発泡性製品、好ましくは、食品、例えば、クリームを含有しており、製品容器は、製品を受け取るための製品入口および製品を排出するための製品出口を有する泡立てデバイスを含む製品加工ユニットを備え、加工ユニットは、製品にガスを供給するための流体供給源に接続可能であり、
泡立てデバイスには、流体供給源に関連付けられるガス供給空間を製品入口に関連付けられる発泡チャネルから分離する、ガス透過性孔を有する精密ろ過壁(例えば、管状壁)を備え、
精密ろ過壁には、疎水性および/または疎油性材料、例えば、PTFE(ポリテトラフルオロエチレン)および/またはヘキサフルオロプロピレンが含まれている。
例えば、精密ろ過壁は、疎水性材料で作ることも、または特定量の疎水性材料を含有することも可能である。さらにまたはあるいは、精密ろ過壁には、疎水性および/または疎油性材料を含むまたはそれらからなるコーティングが含まれていてもよい。例えば、このようなコーティングは、プラズマ・コーティング、蒸着、化学蒸着、浸漬コーティングなどのうちの1つまたは複数など、様々な方法で塗布できる。さらに、本発明の上記の態様のいずれかによるシステムの一部であるように明らかに構成されている、製品容器が提供される。製品容器は、発泡性製品を含有し、製品容器は、製品を受け取るための製品入口および製品を排出するための製品出口を有する泡立てデバイスを含む製品加工ユニットを備え、加工ユニットは、製品排出中に、製品にガスを供給するための流体供給源に接続可能であり、
泡立てデバイスには、流体供給源に関連付けられるガス供給空間を製品入口に関連付けられる発泡チャネルから分離する、ガス透過性孔を有する精密ろ過壁(例えば、管状壁)を備え、
精密ろ過壁は、精密ろ過壁の詰まりを防止するように構成されており、
精密ろ過壁には、疎水性および/または疎油性材料、例えば、PTFE(ポリテトラフルオロエチレン)および/またはヘキサフルオロプロピレンが含まれている。
このようにして、システムのさらに信頼性が高く、耐久性のある動作を達成できることが確認されており、疎水性および/または疎油性材料の適用により、精密ろ過壁の孔が詰まる可能性を低くすることができる。
上記の態様のいずれかと任意選択で組み合わせられ得る、本発明の別の態様によれば、滅菌された発泡性製品を含有する気密シールされた製品容器を製造する方法が提供され、製品容器は、滅菌された泡立てデバイスと、流体通路を有する滅菌されたバルブ部材と、シール解除後にガス供給源に接続するための滅菌され、シールされた流体入口と、シール解除後に発泡製品を排出するための滅菌され、シールされた排出チャネルと、を含み、本方法は、
- 発泡性製品を含有する製品容器を設けることであって、製品容器は、泡立てデバイス、流体通路を有するバルブ部材、ガス供給源に接続するための流体入口、および発泡製品を排出するための排出チャネルを含むアセンブリに気密に接続されている、設けることと、
- 流体入口および排出チャネルに取り外し可能な気密シールを提供して、上記の流体入口および上記の排出チャネルを周囲空気から気密にシールすることと、
- 発泡性製品、アセンブリ、およびシールを備える製品容器を滅菌する、例えば、放射線照射するおよび/または加熱することと、
を含む。
本発明の一例による例示的な発泡製品分注システムの斜視図を概略的に示す図である。 図1のシステムの製品容器の斜視図である。 製品容器の装填解除/装填中の図1のシステムの一部の概略垂直断面図である。 図3Aに類似し、システムのさらなる構成要素の図である。 一実施形態による例示的な発泡製品分注システムの斜視図である。 図1~図3のシステムの製品容器のCPUの部分的に開放された、上下逆の斜視図であり、精密ろ過要素は、2つのそれぞれの発泡チャンバから分解されて示されている、斜視図である。 2つの発泡チャンバの中心線に沿って取られた、図4に示すCPUの第1の垂直断面の斜視図である。 製品流出チャネル口に沿って図5の断面に平行に取られた、図4に示すCPUの第2の垂直断面の斜視図である。 バルブの中心軸と一致する、図5および図6の断面に直角に取られた、図4に示すCPUの第3の垂直断面の斜視図である。 バルブは閉状態にある、図1~図7の実施形態のCPUのバルブ・セクションの長手方向断面の図である。 バルブは閉状態にある、さらなる実施形態によるCPUのバルブ・セクションの断面の図である。 バルブは開状態にある、図8aと同様の図である。 バルブは閉状態にある、さらなる実施形態によるCPUのバルブ・セクションの断面の図である。 バルブは開状態にある、図8cと同様の図である。 さらなる実施形態によるバルブ部材のシール要素の斜視断面図である。 図8eのシール要素の斜視図である。 製品分注マシンがバルブを開状態に動かした、図8に類似している断面の図である。 図1~図9のシステムの流路の図である。 異なるCPUバルブ部材状態の概略図である。 異なるCPUバルブ部材状態の概略図である。 異なるCPUバルブ部材状態の概略図である。 異なるCPUバルブ部材状態の概略図である。 シール手段を備える、CPUのさらなる実施形態の断面図である。 バルブ部材を含むCPUの構成要素の分解斜視図である。 図13に示すCPUの構成要素の分解図である。 CPU構成要素の組み立て状態の図である。 2つの異なる視線方向からの、図12に示すCPUの斜視図である。 2つの異なる視線方向からの、図12に示すCPUの斜視図である。 図12のCPUのシールの斜視図をより詳細に示す図である。 CPU内の製品流路および流体流路の斜視図である。 CPU内の製品流路および流体流路の斜視図である。 CPU内の製品流路および流体流路の斜視図である。 製品容器の加圧およびCPUへの流体供給のためのシステムの概略図である。 CPU形状とCPU受容ポートの対応する嵌合形状のトップダウン断面図を概略的に示す図である。 図18aのXVIII-XVIII線の横断面図である。 冷却チャネルおよび可動式閉鎖部材を備える容器受容空間のさらなる実施形態の図3Bの、XIX-XIX線の断面図であり、異なる図において、閉鎖部材および対応するアクチュエータが異なる位置に示されている。 冷却チャネルおよび可動式閉鎖部材を備える容器受容空間のさらなる実施形態の図3Bの、XIX-XIX線の断面図であり、異なる図において、閉鎖部材および対応するアクチュエータが異なる位置に示されている。 冷却チャネルおよび可動式閉鎖部材を備える容器受容空間のさらなる実施形態の図3Bの、XIX-XIX線の断面図であり、異なる図において、閉鎖部材および対応するアクチュエータが異なる位置に示されている。 閉鎖部材および対応するアクチュエータのさらなる実施形態の図3Bの、XIX-XIX線の断面図であり、異なる図において、閉鎖部材およびアクチュエータが異なる位置に示されている。 閉鎖部材および対応するアクチュエータのさらなる実施形態の図3Bの、XIX-XIX線の断面図であり、異なる図において、閉鎖部材およびアクチュエータが異なる位置に示されている。 閉鎖部材および対応するアクチュエータのさらなる実施形態の図3Bの、XIX-XIX線の断面図であり、異なる図において、閉鎖部材およびアクチュエータが異なる位置に示されている。 CPUおよびCPU保持ラッチの斜視図である。 CPUおよびCPU保持ラッチの斜視図である。 CPUおよびCPU保持ラッチの斜視図である。 追加の有利な実施形態によるCPUのシール手段の断面図である。
本発明の非限定的な例について、添付の図面を参照して以下に説明する。
本出願では、対応する機能または類似する特徴は、対応するまたは類似する参照記号によって示される。
図1~図21は、発泡製品を分注するためのシステムの非限定的な例を示している。
図1に示すように、例示的な実施形態では、発泡製品分注システムには、ハウジングB1を含む製品分注マシンBが含まれている。例えば、ハウジングB1(すなわち、その外部壁)には、開口部B2を含めることができる。開口部B2は、プラットフォームB3へのアクセスを提供する。開口部B2およびプラットフォームB3は、例えば、コップやグラスである発泡製品を受容する入れ物Rを受容するために構成されている。好ましくは、開口部/アクセスは可動式のドアD1(図3Bに破線で示す)によって閉じることが可能である。
例示的なシステムには、製品加工ユニットCPU(図2を参照)を備える交換可能な製品容器Hがさらに含まれている。CPUは、いくつかの位置に位置することができる。有利な本例では、製品加工ユニットCPUは、容器から半径方向外向きに突出している。具体的には、ホルダHの外側壁を通って延在し、具体的には、ホルダHの上部壁TWおよび下部壁BWから離間されている。さらに、図面からわかるように、この実施形態では、CPUは、製品容器Hの上部近くに位置している。
製品容器Hは、例えば、少なくとも2バールの圧力まで加圧されるように構成されている、例えば、硬質(例えば、金属またはスチールまたは硬質プラスチック)の外側壁を有する実質的に円筒形またはバケツ形状のカプセルであり得る。カプセルの好ましい長さL(本例では上部壁TWと下部壁BWとの間で測定)は、約20~40cmの範囲にあり、カプセルの外径X(すなわち、上部と下部との間に延在する円筒形壁の直径)は、約10~30cmの範囲にある。また、カプセルHには、初期使用の前に、少なくとも4リットルまたは少なくとも4kgの製品が含有されていることが好ましい。カプセルHの最大重量(初期の充填状態の場合)は、例えば、20kgまたは25kgであり得る。あるいは、カプセルHには、4リットル未満、例えば、2リットル未満、例えば、約1.5リットル未満の製品が含有されている。
さらに、図面からわかるように、カプセル/容器Hには、ユーザが簡単にカプセルを持ち上げて保持できるようにする、例えば、ハンドルHVであるグリップ要素が含まれていることが好ましい。この例では、グリップ要素は、容器Hの上部壁TWから突出している。上部壁は、容器Hをマシン内に設置した後、分注マシンの前面に向かって前方を向いている。
図3Aに示すように、分注マシンBは、好ましくは、容器Hを受容するための容器受容空間Hs(例えば、対応する壁構造121によって画定されているか、またはその中に位置している)を含む。分注マシンには、好ましくは、(矢印a71によって示す設置方向に沿った)マシンの容器受容空間Hsへの容器Hの出し入れをガイドするための容器ガイドG(破線で示す)が含まれている。好ましくは、マシンのハウジングB1内の容器受容空間は、ハウジングの環境からシールされるまたは閉じることができ、特に、装填後の製品容器の温度制御を改善できる。例えば、ハウジングB1、および/または前述の壁構造121には、容器受容空間Hsへのアクセスを制御するための、例えば、ドアである可動式のカバーD2が含まれていてもよい。
矢印a71によって示されているように、容器Hは、例えば、空になった容器を充填された容器と交換するために、好ましくは、容器受容空間Hsから水平に取り外し可能である。上記の容器ガイドGは、容器Hをマシンの中へ最終位置に向かって安定的に動かし、使用済み容器を取り外す際に、オペレータを支援できる。
マシンは、容器Hを容器受容空間Hsに設置することによって、マシンBの1つまたは複数のコネクタが容器Hのそれぞれのコネクタに接続されるように構成され得る。例えば、容器を設置することによって、マシンBの加圧流体出力コネクタFOが(容器の内部を加圧するために)容器Hの液体入力コネクタHiに自動的に接続され得る。さらなる例として、このような設置によって、以下により詳細に説明するように、マシンBの流体インジェクタ・コネクタFIcが、容器Hの製品加工ユニットCPUの流体インジェクタ・ソケットFIsに接続され得る。
マシンから容器Hを取り外すことによって、容器HのそれぞれのコネクタからマシンBの1つまたは複数のコネクタを切り離すことができる。マシンBおよび/または容器Hには、当業者によって認識されるように、容器受容空間Hsからの容器Hの偶発的および/または不正な取り外しを防ぐために、容器Hを容器受容空間Hs内に固定するための手段が含まれ得る。
容器H、具体的には、その製品保持空間(内部空間、リザーバ)には、様々な種類の製品を充填できる。
製品は、具体的には、食品、例えば、人の消費に安全な製品を含む。製品は、例えば、ミルク、クリーム、スプレー・クリーム、カプチーノ・ミルク、またはデザート(例えば、ムース形成製品)、またはジュースのうちの1つまたは複数を含む。製品は、例えば、クリームであるミルク製品を含んでもよい。代替実施形態によれば、発泡性製品は、例えば、コンディショナおよび/または化粧品、および/またはクリーナ、および/または、例えば、ボディケア製品、ヘアケア剤などを含む。
有利なエラボレーションによれば、容器Hにある製品Pは、均一に発泡性製品であり、具体的には、食品、ミルク、クリーム、カプチーノ・ミルク、スプレー・クリーム、(フルーツ)ジュース/飲料、アルコール入り飲料または飲料ベース(例えば、ビールまたはワイン)、乳製品飲料もしくは乳製品ベースの飲料(例えば、乳清飲料またはパーミエイトベースの飲料)、(ミルク)シェイク、チョコレート飲料、(飲料)ヨーグルト、ソース、アイスクリームもしくはデザート、ジュース、より具体的には、ミルク製品である。製品Pは、例えば、クリームであってもよい。製品Pは、任意選択で、例えば、推進剤または発泡剤(例えば、少なくとも部分的に製品内に溶解した状態にある)、具体的には、空気、N2、N2O、および/またはCO2のうちの1つまたは複数で構成されている推進剤を含有できる。このような推進剤または発泡剤は、特に食料技術に関して安全である。推進剤または発泡剤は、例えば、特定の超大気圧に内部空間4を保持できる。好ましくは、製品Pは発泡剤を含有しない。
図3Bでは、容器Hの一例がより詳細に示されており、容器H内の可撓性バッグFBに保持されたある数量の製品Pが含有されている。マシンBの操作中、容器Hは、(矢印a21によって示すように)マシンによって流体入力Hiを通って送られるガス(例えば、空気)によって、分注マシンによって加圧され、容器Hの内部が超大気圧に加圧される。その結果として、矢印a22によって示すように、可撓性製品バッグFBに圧力がもたらされる。圧力によって(場合によっては重力との組み合わせで)、可撓性バッグFBから、下流の製品加工ユニットCPUの中へ製品Pが(矢印a23によって示すように)流れる。つまり、製品加工ユニットCPUのバルブまたはシールが、対応する製品加工空間(以下で説明する)への製品フロー接続を提供する動作状態になる場合、対応する出口を介して発泡製品が排出される(矢印a25によって示す)。
可撓性バッグFB自体には、様々な構成および形状を有することができる。例えば、バッグは、1つもしくは複数のプラスチックもしくはプラスチック物質の1つもしくは複数の可撓性層、および/または紙もしくは紙物質の1つもしくは複数の可撓性層、および/または金属もしくは金属物質(例えば、アルミニウム)の1つもしくは複数の可撓性層で作ることができる。可撓性バッグは、全体的に可撓性であり得るが、これは必須ではない。例えば、製品排出中に内側に折り畳める単数または複数の折り畳み可能なバッグ側面が含まれ得る。具体的には、可撓性バッグFBは、バッグFBからの製品の排出中に、バッグのボリュームが減少することを可能にするように構成されている。
さらなる実施形態では、製品加工ユニットCPUと可撓性バッグFBとは互いに(アセンブリに)一体に接合されている。例えば、製品加工ユニットCPUの上部壁または上部セクションは、1つの部品で作ることも、または可撓性バッグに溶接もしくは接着することも、または別のやり方でバッグFBに接合することもできる。製品加工ユニットCPUとバッグFBとのアセンブリは、容器Hの外側部分SW(シェル)によって取り外し可能に保持される。例えば、図2を参照するに、容器の上部壁TWは、カバー壁TWが図示する閉位置にある(例えば、側壁SWの上部に位置している)ときに、容器Hの内部を(ガスタイトに)密閉シールできる、取り外し可能なカバーであり得る。上部壁TWは、残りの容器部品SWから取り外すことができ、容器H内に位置する可撓性バッグFBへのアクセスが可能になる。次に、好ましくは、可撓性バッグFBおよびその加工ユニットCPUは、(例えば、使用後、例えば、バッグが空のときに)容器から取り外すことができ、可撓性バッグおよび対応する加工ユニットCPUを含有している新しい製品と取り換えることができる。新しい充填済み可撓性バッグFBおよびCPUが容器シェル内に正しく位置決めされた後、再度上部壁TWを取り付けて、再度容器を密閉シールできる(容器内部および対応する可撓性バッグFBを加圧することを可能にする)。この実施形態では、具体的には、容器Hの外部SWが、可撓性バッグ(およびそのCPU)をマシンB内の所望の操作位置に取り付けて保持するためのバッグ位置決め構造として機能し得る。容器シェル(すなわち、容器の外側壁SW)自体は、硬質材料で作ることができる。単一の容器シェルSWを使用して、その後、多数の取り換え可能な可撓性バッグ-CPUアセンブリとともに動作することができる。これはまた、輸送および保管に関する利点につながる。これは、比較的多数の可撓性製品容器バッグFBを比較的小さな輸送対保管空間で輸送および/または保管できるからである(一方、多数の硬質の外側容器シェルの輸送は、より多くの空間が必要になる場合がある)。
一実施形態では、容器Hの外部壁TW、SWがバッグ加圧チャンバとして機能する、(上記の例のように)可撓性バッグFBを含む容器Hは、全体的にマシンBから取り外し可能である。
代替実施形態では、例えば、蓋/カバー壁TWを取り外すことによって容器Hが開けられ、バッグの交換中に容器の外側部分SWをマシンB内に残したままにするときは、可撓性バッグ-CPU-アセンブリのみをマシンBから取り外すことができる。このような実施形態では、可撓性バッグ-CPU-アセンブリ自体を、マシンBの加圧チャンバ内に設置される「交換可能な製品容器」と呼ぶことができる。本発明のさらに別の実施形態では、製品容器自体は、完全または少なくとも部分的に可撓性の外側壁を有することができる。製品容器は、操作中にマシンBの専用の加圧チャンバ内に設置される。
図3Bは、例えば、乾燥周囲空気である乾燥空気を供給するための任意選択のエア・ドライヤADを含むマシンBをさらに示している。
エア・ドライヤADは、マシンBの冷却システムCS(例えば、製品容器Hも冷却するように構成されている冷却システムCS)に組み込まれていても、またはその一部を形成していてもよい。作動中、乾燥空気は、好ましくは、流体インジェクタFIによってエア・ドライヤADから受け取られる。流体インジェクタFIは、流体インジェクタ・コネクタFIcを介して製品加工ユニットCPUの中に乾燥空気を供給するように構成されている(矢印a24によって示す)。
非常に有利な実施形態によれば、流体インジェクタ・コネクタFIcは、好ましくは、分注マシンのバルブ・アクチュエータVA(図3Bを参照)と統合されているか、またはその一部を形成している。バルブ・アクチュエータVAは、流体インジェクタ・コネクタFIcの作動(例えば、回転作動)によって、製品加工ユニットCPUのバルブ部材50(図7~図10を参照)を作動させるように構成されている。対応するバルブ・アクチュエータは、様々な方法で構成することができ、かつ、サーボ・モータ、電気モータ、電磁アクチュエータ、または他の駆動手段を含み得る。
図3Bをさらに参照するに(図10も参照)、製品加工ユニットCPUは、製品Pと乾燥空気とを、それらが製品加工ユニットCPUに供給される際に混合するように構成されており、その結果、矢印a25によって示すように、製品加工ユニットCPUから発泡製品が排出される。CPUの製品排出チャネルは、例えば、製品成形歯など(それ自体は既知である)のアレイを有する、例えば、製品成形ノズルNZを介して終端できる。使用中、例えば、グラスまたはコップである入れ物Rを、排出された発泡製品を受け取るために、製品加工ユニットCPUの近く(例えば、下)に-対応するプラットフォームB3上に-交換可能に設置することができる。
マシンBには、例えば、流体フロー手段(例えば、ポンプ、サーボ、モータなど)の作動および作動停止を制御することによって、加工ユニットCPUへの流体フローおよび製品フローを制御するために構成されている制御ユニットCUを備えてもよい。さらに、制御ユニットCUは、対応するバルブ・アクチュエータVAを介してCPUバルブ部材50の位置を制御するために構成され得る。好ましくは、製品の排出を開始する場合、制御ユニットは、製品フローの前に流体フローを開始するように構成されている。制御ユニットは、好ましくは、例えば、タッチ・ディスプレイ、制御ノブ、スイッチなどを介して、マシンBのユーザ・インターフェースまたは操作デバイス(図示せず)を介して、少なくとも部分的にユーザによって操作可能である。
図3Cは、他の実施形態のうちの1つまたは複数と組み合わせることができる一実施形態による例示的な発泡製品分注システムの斜視図を示している。図3Cでは、ハウジングB1に、例えば、開位置(図示)と閉位置との間で軸X1の周りを回転可能であるフロント・ドアであるドアD2を備える製品分注マシンBが示されている。閉位置では、ドアD2は、分注マシンBの前部を実質的に形成し得る。ドアD2は、例えば、マシンBのユーザ・インターフェースの要素を提供し得る。図3Cでは、ドアD2は開位置に示されており、交換可能なカプセルSW(図2を参照)の上部壁TWが露出している。上部壁TWは、上部壁TWおよび/またはカプセルSWを扱うためのハンドルHVを含む。このようなカプセルSWは、好ましくは、その中に製品容器FBを交換可能に受容し、かつマシンBによって加圧されて、したがって、挿入された製品容器FBを加圧するように構成されている。
上部壁TW(例えば、蓋)および/またはカプセルSWには、好ましくは、例えば、バヨネット閉じ部材である、例えば、それぞれの閉じ部材である、複数の(例えば、6つの)閉じ部材を備える。このようにして、ユーザは、カプセルSWに対して上部壁TWを開閉することが可能にされ得る。特に、上部壁TWとカプセルSWとの間に実質的に耐圧性に優れたシールが形成されるように、閉じることが可能にされ得る。例えば、上部壁のTWを閉じるには、ユーザは、カプセルに対して上部壁TWを、例えば、約15度で、実質的に軸X3周りを回転させ得、これにより、上記の相互の閉じ部材を互いに対して係合させる。
製品分注マシンBは、好ましくは、マシンBに対するカプセルSWの位置および/または向きに応じて、カプセルSWの加圧を可能にするように構成されている。マシンBは、好ましくは、マシンBに対して望ましくない(例えば、安全でない)位置および/または向きを有している間に、カプセルSWが加圧されるのを防止する。
カプセルSW(例えば、上部壁TW)のそのような安全でない位置および/または向きは、例えば、カプセルSWに対する上部壁TWのユーザによる回転が不完全であること、例えば、上記で説明したように、15度のターゲット回転に関して不完全であることからもたらされ得る。
図3Cに示す実施形態では、この位置および/または向きに依存する加圧の有効化は、以下で説明する組み合わせの特徴によって実現されるが、代替実施形態にはこれらの特徴のうちの1つまたは複数がない場合もあることが理解されるであろう。
図3Cは、マシンBが保持部材RBを含むことを示している。保持部材RBは、解放位置(図3Cに示す)から保持位置(図示せず)に、特に、保持部材RBを軸X2周りに矢印aRBの方向に回転させることによって動くことができる。保持位置では、保持部材は、カプセルSW(の上部壁TW)のハンドルHVと実質的に位置合わせされ得る。図3Cは、カプセルSWとその上部壁TWとが、適切で望ましい動作位置にあることを示している。図3Cに示すシステムでは、カプセルSW、特に、ハンドルHVが間違って、すなわち、適切でなく設置される(例えば、位置および/または向き)と、保持部材RBは、その保持位置になる、少なくとも完全になることが(特に、ハンドルHVによって)遮断される。例えば、図3Cに示す位置および向きと比較すると、カプセルSW(ハンドルHVを含む)は、X3軸に沿って平行移動するおよび/またはX3軸周りに回転されて、望ましくない位置および/または向きになり、これにより、前述のように保持部材RBの少なくとも部分的な遮断がもたらされる。図3Cを引き続き参照するに、このシナリオでは、カプセルSWは、X3軸に沿ってマシンBから平行移動して出る場合があるが、例えば、マシンBの対応する構成(例えば、寸法決定)によって、マシンBのさらに奥へは平行移動しないことが理解されるであろう。
図3Cは、保持部材RBを、実質的に保持バーRBの形で示しているが、多くの代替形状が可能であることが理解されるであろう。このような代替手段の1つとして(図示せず)、保持部材RBは、例えば、ドアD2に類似したフロント・ドアであるドアとしてまたはその一部として形成されてもよい。
図3Cに示すように、保持部材RBが保持位置にないとき、例えば、解放位置にあるとき、保持部材RBは、ドアD2がその閉位置に動くことを実質的に遮断し得る。マシンBは、好ましくは、ドアD2が閉位置にあることを検出し、かつドアD2が閉位置にあることが検出された場合にのみカプセルSWの加圧を可能にするように構成されている。このようにして、例えば、マシンBは、マシンBに対する位置および/または向き、特に、望ましいおよび/または安全な位置ならびに向きに依存してカプセルSWの加圧を可能にするように構成することができる。
このため、図3Cを参照するに、例えば、システムの動作状態から開始し、マシンBによって、カプセルの安全でない加圧を防ぐことを助けながら、カプセルSWを交換するために、次のステップを実施できる:ユーザがドアD2を開き(X1軸周りにドアD2を回転させて)、保持部材RBを露出させる;ユーザは保持部材RBをその保持位置から解放位置に(軸X2周りに、図3Cの矢印aRBとは反対方向に)動かす;このように露出したハンドルHVを使用して、ユーザは、特に、軸X3に沿って(場合によっては、その周りで)、マシンBに対してカプセルSWを平行移動(および、場合によっては回転)させる;ハンドルHVを使用して、ユーザはカプセルSWを開いて、製品容器FBの交換を可能にする(例えば、空の容器を満たされた容器で置き換える)。その後、カプセルSWは再度閉じられる;ユーザはカプセルSWをマシンB内に取り換える;ユーザは保持部材RBをその保持位置に戻す;ユーザはドアD2を閉じる;マシンBは、ドアが閉じていることを検出する;マシンは、検出に応答して、カプセルSWの加圧を開始する。マシンBは、加圧を開始する前にさらに点検を行うように有利に構成されていてもよく、これにより、加圧は、上記の検出に応答して必ずしも(単に直接)開始されるとは限らない場合があることが理解されるであろう。例えば、マシンBは、閉鎖部材123の測定されたクリーニング時間間隔であるかチェックするように構成され得る。別の例として、加圧の開始は、カプセルSWの現在の圧力が対応するターゲット圧力を下回っていることを検出することを(さらなる)条件とすることができる。
したがって、カプセルSWの設置が適切でない代替ケースでは、ドアD2を閉じることができないため、マシンは続けてカプセルSWを加圧しようとしないことが明らかであろう。
いくつかの実施形態では、例えば、カプセルSWの上部壁TWのみがマシンBから取り外し可能(またはマシンBに対して少なくとも開放可能)である一方、カプセルSWの他の部分はマシンBに実質的に固定されていてもよいことが理解されるであろう。
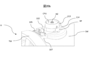
図4~図9は、システムの製品加工ユニットCPUをより詳細に示したものである(図12~図14A、図14Bも参照)。CPUは、前述の製品容器Hの一部であり、可撓性バッグの内部に接続されて、(図3Bにあるように)そこから製品を受け取る。図10は、CPUをより概略的に示しており、製品排出中の製品フローおよび流体(ガス)フローも示している。
ユニットCPUは、矢印a23によって示すように、製品フィードスルー・チャネルPFCの中への製品Pのフローを受け取るように構成されている。製品フィードスルー・チャネルPFCは、好ましくは、バルブ部材50によって閉じることが可能である。図8は、バルブ部材50が閉状態で、製品フィードスルー・チャネルPFCを通過するフローを遮断している様子を示している。図9には、任意選択のバルブ部材50の開位置を示している。図4~図7には、バルブ部材50を図示しない。
加工ユニットCPUはさらに、例えば、流体インジェクタ・コネクタFIcを介して流体インジェクタFIから流体フィードスルー・チャネルFFCの中への、例えば、乾燥空気である流体を受け取るように構成されている。有利には、バルブ部材50には、流体インジェクタ・コネクタFIcに接続するための流体インジェクタ・ソケットFIsと、(矢印a31によって示すように)流体インジェクタ・ソケットFIsと流体フィードスルー・チャネルFFCとの間の流体連結を提供するための流体通路51が含まれている。この例では、流体通路51は、バルブ部材50を通って横方向に延在しているボアまたはスルーホールである(必要に応じて、1つまたは複数のこのような流体通路51を備えてもよい)。
図4~図7は、例えば、精密ろ過デバイス15である泡立てデバイス15を備える製品加工ユニットCPUを(上下逆の部分的に開放された斜視図で)示している。精密ろ過デバイス15のハウジング15hは、CPUの一体部分であってもよく、また、バルブ部材50の下流にある製品フィードスルー・チャネルPFCに接続された製品入口15iと、流体通路51の下流にある流体フィードスルー・チャネルFFCに接続されたガス流入口8とを備え得る。精密ろ過デバイス15はさらに、例えば、管状壁である、ガス透過性孔を有する少なくとも1つのろ過壁15a(この例では2つ)を含み、この壁は、ガス流入口8に関連付けられる対応するガス供給空間15dを発泡チャネル15bから分離する。好ましくは、発泡チャネル15bの、製品フロー方向で測定した長さは、約2cmまたは3cmである。好ましくは、ろ過壁15aのガス透過性孔の孔径は、0.2~1.5ミクロンである。
例えば、孔径が約0.2ミクロンの場合に良好な結果が達成できることが観察されている。一実施形態によれば、個々の孔のサイズは、0.1ミクロン未満~20ミクロン以上など、特定の範囲内で変わることがある。あるいはまたはさらに、5ミクロン~10ミクロンの範囲の孔径は、優れた発泡特性を提供することができる。
いくつかの実施形態では、必ずしもすべての実施形態ではないが、精密ろ過壁、具体的には、精密ろ過壁の製品に面している側に、疎水性および/または疎油性材料(例えば、PTFEおよび/またはヘキサフルオロプロピレン)が含まれていて、製品が孔に入ったり付着したりすることで精密ろ過壁の詰まりを防止または低減する場合に、良好な結果が達成されている。
本図面では、精密ろ過デバイス15は、2つの管状ろ過壁15aを備えており、各々、ハウジング15h内の対応するガス供給空間15dと発泡チャネル15bとを提供している。管状ろ過壁15aは、図4にハウジングから分解された状態で示されており、図5には図示されていない。管状ろ過壁15aの各々は、好ましくは、近位ガス注入口(流体フィードスルー・チャネルに接続)を有し、好ましくは、この例にあるように、遠位端で閉じられている。CPUは、上記の流体フィードスルー・チャネルFFCが(図10にあるように)管状ろ過要素15aの各々の中で終端して、管15aの内部15dにガス(例えば、乾燥空気)を供給して製品と混合させるように設計されていることがわかる。ろ過壁15a、ガス供給空間15d、および発泡チャネル15bの数および寸法は、材料特性、必要な流量、および/または他の変数に応じて、一般知識に従って実装し得る。
好ましい実施形態では、システムには、動作中に加工ユニットCPUに実質的に一定の流量でガスを供給するためのチョーク・ガス供給源(例えば、流体インジェクタFIに、および/またはその上流に)が含まれている。特に、以下で説明するように(図17を参照)、チョーク・ガス供給源には、フロー狭窄部89が含まれ得る。比較的高いガス圧(例えば、5バールよりも高い圧力)がフロー狭窄部の上流に印加される。この構成では、一定のガス流量(特に、質量流量)をフロー狭窄部の下流で得られる。具体的には、動作中、狭窄部89におけるガスの結果として得られるチョーク・フロー出口速度は、音波条件またはほぼ音波条件、すなわち、マッハ数1またはほぼマッハ数1であり得る。チョーク・ガス供給源を適用することによって、下流の泡立てデバイスの(例えば、上記の精密ろ過デバイス)の構成要素の詰まりを防止または低減することができ、また、そのような詰まりが発生しても、そのような詰まりによる悪影響を効率的に抑制することができる。例えば、チョーク・ガス供給源は、泡立てデバイス内に、1.5~4.9バールの範囲、好ましくは、2.7~3.8バールの範囲の、結果として得られるガス圧を生成するように構成され得る。特定の動作期間(具体的には、比較的大量の製品を発泡および排出する期間)中、泡立てデバイス内の結果として得られるガス圧は、例えば、ろ過壁の詰まりによる抵抗の増加によって、上記の圧力範囲内で徐々に上昇し得る。
図6、図7、図10はさらに、ガスが提供された製品の混合処理および/または減圧処理を行うための、精密ろ過デバイス15の下流に配置された加工デバイス7を備える製品加工ユニットCPUを示している。加工デバイス7は、好ましくは、大気圧に近いかまたは大気圧である圧力へと、制御された減圧をもたらすように構成されている。好ましくは、加工デバイス7は、加工ユニットCPUの他の流体経路と少なくとも比較して、例えば、少なくとも1つの発泡チャネル15bと比較して、例えば、少なくとも約20cmまたは少なくとも30cmで長く、ならびに/または細くおよび/もしくは湾曲したラビリンス・タイプの流体経路を備える。加工デバイス7の下流では、加工ユニットCPUには、例えば、ノズルNZを介して、矢印a25の方向に沿って、ガスが提供された製品を排出するための排出チャネル/開口部DCが含まれている。
本CPUには、バルブ部材50を受容するためのソケット/座部SVが含まれている。バルブ部材50自体には、流体インジェクタ/アクチュエータ部材FLcを受容するためのソケットFIsが含まれている(図8~図9を参照)。
図8は、CPUの本バルブ部材50に流体通路51と流体インジェクタ・ソケットFIsとが含まれていることを示している。図面からわかるように、バルブ部材50の流体通路51は、バルブ部材50の回転軸と一致する(また、好ましい例では、平行である)。
バルブ部材50は、マシンの流体インジェクタ・コネクタFIc(図9に示す)によってこの閉状態に保持され得る。この状態では、製品フィードスルー・チャネルPFCを通過するフローは、バルブ部材50によって遮断される。具体的には、バルブ部材50のシール要素s1が、バルブ部材50とそのバルブ座部との間にシールされた閉鎖を提供する(例えば、製品フィードスルー・チャネルPFCの壁を提供する)ように構成されている。本実施形態では、同じシール要素s1はまた、製品フィードスルー・チャネルPFCと近くの流体フィードスルー・チャネルFFCとの間にシールされた閉鎖を提供するように構成されている(そして、バルブ部材が開バルブ状態に動かされていても、このシールを提供したままである。図9を参照)。1つの組み合わせられたシール要素s1の代わりに、別々のシール要素を使用してもよいことが理解されるであろう。シール要素s1に関するさらなる有利なエラボレーションは、この説明の他の部分に提供されている。例えば、図8a~図8fを参照されたい。
好ましくは、流体フィードスルー・チャネルFFCは、バルブ部材50がまだ閉位置にあるときに、流体インジェクタFIcによって注入された流体(例えば、乾燥空気)のフィードスルーのためにすでに開いている。これにより、製品フローの前に流体フローを開始できる。これは、図8の矢印a52によって示されている。
図9では、流体供給チャネルFSCを有する、マシンの流体インジェクタ・コネクタFIcが、バルブ部材50の流体インジェクタ・ソケットFIs内に受容されていることが示されている。また、流体インジェクタ・コネクタFIcはバルブ部材と係合し、バルブ部材50をそのバルブ座部から開バルブ状態に動かしている。具体的には、この運動には、バルブ部材の回転および平行移動の両方(例えば、らせん状の運動、バルブ部材のねじり)が伴い得る。なお、流体インジェクタ・コネクタFIcは、好ましくは、バルブ部材を(図8の)閉位置に保持するときの初期状態でもバルブ部材と係合している。
バルブ部材50がその開状態に動かされていると、製品フィードスルー・チャネルPFCが開き、矢印a53によって示すように、CPUの精密ろ過デバイスに向かう(容器バッグからの)製品フローを可能にする。
好ましくは、流体インジェクタ・ソケットFIs(特に流体通路51)と流体インジェクタ・コネクタFIcとの間にガスタイトなシールされた閉鎖を提供するために、さらなるシール要素s2がある。したがって、インジェクタFIcは、流体(例えば、乾燥空気)を、CPUの流体フィードスルー・チャネルFFCの中に、流体供給チャネルFSCを介してバルブ部材の流体通路51を通って注入することができる(矢印a51および矢印a52を参照)。
CPUのバルブ部材50と流体インジェクタ・コネクタ(アクチュエータ要素)FIcとは、様々な方法で達成可能なバルブ作動を可能にするために、互いに解放可能に係合するように構成されている。例えば、これらの要素は、クリック接続もしくはクランプ接続を介して、バヨネット型ロックを介して、または異なる方法で相互作用することができる。好ましくは、マシンの中に容器を設置する際にある程度の遊びを可能にするために、等速クランプを達成することができる。
図10の矢印a32によって示すように、バルブ部材50は、製品フィードスルー・チャネルPFCを通るフローを可能にするために、開状態に動かされ得る。図10はまた、前述のように、バルブ部材50が開状態または閉状態のいずれであっても、(矢印a31に沿った)流体注入が好ましくは可能であることを示している。
例示的な実施形態のさらなるエラボレーションでは、図11a~図11dは、流体通路51および流体インジェクタ・ソケットFIsを含むバルブ部材50、製品フィードスルー・チャネルPFC、および流体フィードスルー・チャネルFFCの概略的な断面図を示している。図11b~図11dには、流体インジェクタ・コネクタも示されている。図11a~図11dには、システムの異なる状態に関する異なる構成が示されている。図11a~図11dでは、構成要素間にシールされた閉鎖を提供するためのシール要素は、点で概略的に示されている。当業者は、関連するシステム変数に応じて、一般知識に従って適切なシール要素を適用できるであろう。2つの構成要素間のシールされた接続の場合、シール要素はどちらか一方または両方の構成要素に固定できる。
図11aでは、バルブ部材50は閉状態で示されており、製品フィードスルー・チャネルPFCを通過するフローを遮断しながら、流体通路51を通じて、流体インジェクタ・ソケットFIsと流体フィードスルー・チャネルとの流体接続を提供している。
図11bでは、流体インジェクタ・コネクタFIcが流体インジェクタ・ソケットFIs内に受容されていることが示されている。流体インジェクタ・コネクタFIcは、例えば、流体インジェクタ・ソケットFIsのシール要素によってシールされて、矢印a41によって示すように、バルブ部材50の流体通路51を通じて、流体インジェクタ・コネクタFIc、特に、流体供給チャネルFSCと、製品加工ユニットCPUの流体フィードスルー・チャネルFFCとの間にシールされた流体接続を提供する。
図11cでは、好ましくは、バルブ・アクチュエータVA(図11では図示せず)によって流体インジェクタ・コネクタFIcを作動させることによって作動されるバルブ部材50が示されている。作動は、好ましくは、実質的にらせん状(ねじり)作動である。バルブ部材50は、流体インジェクタ・コネクタFIcからの回転作動力を受け取るように構成されている。結果として、バルブ部材50は回転軸周りに回転し、同時に、回転軸に沿って直線的に平行移動する。回転軸は、バルブ部材50の中心軸および流体インジェクタ・コネクタFIcの中心軸と実質的に位置合わせされ得る。製品加工ユニットCPUは、バルブ部材50の実質的にらせん状の運動(すなわち、組み合わされた回転運動と直線運動)を可能にするように構成することができる。
つまり、バルブ部材50および製品加工ユニットCPUは、バルブ部材50の実質的な回転作動によって、バルブ部材50の実質的にらせん状の運動がもたらされるように構成することができる。らせん状の運動には直線運動成分が含まれている。矢印a44は、直線運動成分の方向を示している。図11dでは、上記のように作動された後の開状態にあるバルブ部材50が示されている。バルブ部材50の開状態は、矢印a43の方向に沿って製品フィード・チャネルPFCを通過する製品Pのフローを可能にする。一方で、流体通路51を通じた流体供給チャネルFSCと流体フィードスルー・チャネルFFCとの流体接続は、作動中も維持され、また、矢印a42によって示すように、図11dにあるように、バルブ部材50が開状態にある間も依然として維持される。
前述のように、バルブ部材50は開状態と閉状態との間を実質的に回転され得る。開状態と閉状態との間のバルブ部材50の回転角度は、20度より大きくなることがあり、好ましくは、45~180度の範囲(例えば90度)である。
バルブ部材50の状態は、逆方向の作動を含め、上記の手順を逆に行うことで、開状態から閉状態に変更できることが理解されるであろう。開放手順および閉鎖手順の両方は、好ましくは、例えば、プログラムされた一定量の製品の分注に応じて、マシンBの制御ユニットCUによって自動的に制御される。
製品バルブ部材50は、取り換え可能な製品容器の一部であるため、分注マシン自体(製品による)の汚染を防止できる。分注マシンのバルブ・アクチュエータは、取り付けられている製品容器HのCPUに接続するだけで、製品フローを制御し、また、ガス(例えば、乾燥空気)をCPUの中に注入して、対応する精密ろ過デバイスを介して製品を発泡することができる。さらに、分注マシンは、容器をマシンの中に装填した後に、製品ホルダの内容物/内部を自動的に加圧して、可撓性バッグを一定の圧力で維持することができるため、製品の分注工程を素早く開始することができる。製品容器が空になる場合、または取り換えるかもしくは廃棄する必要がある場合、製品容器をマシンから取り外すことができ、製品バルブ部材50は、マシン・アクチュエータから解放され、好ましくは、その閉バルブ状態にとどまって、汚染のさらなる可能性を防止する。
さらに、並列に動作する2つの管状ろ過壁15aを有する精密ろ過デバイスを提供することによって、比較的高いスループットで、優れた、制御された食品製品の発泡を、コンパクトな手段を使用して達成することができる。特に、このようにして、比較的長い管状ろ過壁の適用を防止することができるため、チャネル詰まりの可能性が比較的低く、発泡プロセスをより正確に制御することができる。
この説明の他の場所で示唆したように、バルブ部材50の/における1つまたは複数のシール要素(すなわち、「シール構造」または「シール部材」)s1は、バルブ部材50とそのバルブ座部SVとの間にシールされた閉鎖を提供する(例えば、製品フィードスルー・チャネルPFCの壁を提供する)ように構成され得る。外側シール要素s1は、例えば、バルブ部材50の硬質(非弾性)内側部分50Aに回転固定方式で固定されている。内側シール要素s2についても同じことがいえる。図8eに示すように、外側シール要素s1および内側シール要素s2は、1つまたは複数のシール・ブリッジSBによって接続され得る。このブリッジによって、シール要素s1およびs2は、互いに対しておよび/またはバルブ部材50の別の部分に対して、適切な位置に少なくとも部分的に保持され得る。
図8e~図8fに示すように、1つまたは複数の流体通路51の1つまたは複数の位置において、外側シール要素s1は、好ましくは、上記のシール要素を通る対応する通路51sを提供する。図8eは、1つのそのような通路51sを示し、図8fは、別のそのような通路51s’を示している。
例えば、シール要素s1は、製品フィードスルー・チャネルPFCと近くの流体フィードスルー・チャネルFFCとの間にシールされた閉鎖または分離を提供するように構成され得る。この点については、図8a~図8fに、以下で説明するさらに有利なエラボレーションを示す。
図示するように、バルブ部材50と対応するバルブ座部SVとの間の界面にシール構造を実質的に設けることができる。このシール構造は、好ましくは、第1のシール構造s1a、第2のシール構造s1b、および第3のシール構造s1cのうちの少なくとも1つ、好ましくは2つ、より好ましくはすべてを提供する。上記のシール構造s1a、s1b、およびs1cのうちの1つまたは複数のシール構造を、あるいは、別々に(例えば、互いに別におよび/またはより一般的なシール要素s1とは別に)設けることができることが理解されるであろう。いくつかのシール構造s1a、s1b、s1cを1つの部品で作ることができる。すなわち、バルブ部材50の内側部分50Aを取り囲む/その上に適用される単一のシール要素s1に統合することができる。
第1のシール構造s1aは、バルブ部材50の遠位に配置され、バルブ部材50が閉状態(図8aおよび図8cを参照)にあるときに、製品フィードスルー・チャネルPFCを遮断する第1のシールされた閉鎖を提供するように構成されている。バルブ部材50がその開位置(図8bおよび図8dを参照)に動かされると、第1のシール構造s1aは座部SVから取り外される。
図8cおよび図8dでは、シール構造s1の部分がバルブ座部SVの部分と重なって描画されている。例えば、図8aおよび図8bに示すように、シール構造s1のこのような部分は、実際には、特に、バルブ座部SVによって圧縮および/または変形されていることが理解されるであろう。したがって、実際には、このような部分は、好ましくは重ならない。
図8a~図8fでは、図示する第1のシール構造s1a、第2のシール構造s1b、および第3のシール構造s1cの各々は、バルブ部材50の主軸X50周りを実質的に円状におよび/または円周方向に延在していることもまた理解されるであろう。このようなシール構造のうちの1つまたは複数は、例えば、凸状の実質的に円環状の外側表面を有する、実質的にリング状になっていてもよい。シール構造は、好ましくは、互いに対して同心であり、例えば、それぞれの中心が主軸X50にある。
図8aは、第1のシール構造s1aがバルブ座部SVによって少なくとも部分的に圧縮され、それにより、第1のシールされた閉鎖を提供する方法を示している。図8bおよび図8dは、第1のシール構造s1aがバルブ座部SVから少し離れており、それにより、製品フィードスルー・チャネルPFCを開く(したがって、シールされた閉鎖は提供しない)方法を示している。
第2のシール構造s1bは、バルブ部材50の遠位端から遠く離れ、バルブ部材50の遠位セクションと近位セクションとの間の場所に第2のシールされた閉鎖を提供するように構成されている。
第2のシール構造s1bは、少なくとも製品フィードスルー・チャネルPFCがバルブ部材50によって閉じられていないときに、製品フィードスルー・チャネルPFCと製品フィードスルー・チャネルPFCの外側の領域との間に配置され得る。
第2のシール構造s1bおよび対応する受容構造SVb(図8a~図8bを参照)は、互いに対して、特に、少なくとも第1の相対位置と第2の相対位置との間の、例えばバルブ座部SVに対するバルブ部材50の運動に沿って、動くことができる。
第2のシール構造s1bおよび/または上記の受容構造SVbは、第2のシール構造s1bが、第1の相対位置におけるのと比較して第2の相対位置において、特に受容構造SVbによってより圧縮されるように寸法を決定することができる。
上記の第2の相対位置は、好ましくは、特に、例えば、バルブ座部SVに対するバルブ部材50の開位置に相当する。この開位置では、製品フィードスルー・チャネルPFCはバルブ部材50によって閉じられていない。
上記の第1の相対位置は、好ましくは、特に、例えば、バルブ座部SVに対するバルブ部材50を閉位置に相当する。この閉位置では、製品フィードスルー・チャネルPFCはバルブ部材50によって閉じられている。
図示するように、上記の受容構造SVbは、バルブ座部SVの一部を形成し得る。あるいは、例えば、受容構造は、バルブ部材50の一部を形成してもよく(また、それに沿って可動であってもよく)、第2のシール構造s1bは、バルブ座部SVに(例えば、実質的に固定されて)接続されている。
第2のシール構造s1bが、その第1の相対位置と比較してその第2の相対位置においてより圧縮されることを達成するために、対応する受容構造SVbは、例えば、受容構造SVbの少なくとも2つの異なる直径da、dbを提供する実質的に円錐台状の構造(円錐台状のシール表面)を提供することによって、テーパ状の内側表面を提供し得る。図8a~図8dにそのような直径が示されている。例えば、上記の直径の平均と比較すると、上記の直径間の差は、比較的小さいことが可能であるが、それでも存在し、機能する。図面では、直径daが直径dbよりも大きい。図8aはさらに、円錐台状の構造が上部夾角α(例えば、0.5度よりも大きく20度よりも小さい、好ましくは、10度よりも小さい角度α)を定義し得る方法を示している。さらに、したがって、実質的に円錐台状の構造の主軸が、好ましくは、バルブ部材50の中心軸X50と実質的に一致することがわかる。
図示するように、少なくとも2つの異なる直径da、dbのうちの小さい方の直径dbの位置は、好ましくは、バルブ部材50が開状態(図8b、図8dを参照)のときのシール構造s1bの位置に対応する。好ましくは、少なくとも2つの異なる直径da、dbのうちの大きい方の直径daの位置は、バルブ部材50が閉状態(図8a、図8cを参照)のときのシール構造s1bの位置に対応する。
したがって、バルブ部材50をその閉位置(図8a、図8c)からその開位置(図8b、図8d)に動かすと、これにより、シール構造s1bは受容構造SVbによってより圧縮される。その後、バルブ部材50をその開位置からその閉位置に動かすと、これにより、シール構造s1bはあまり圧縮されなくなる(または圧縮されずに緩められる)。閉位置は、バルブ部材50のデフォルト位置であり得るため、すなわち、使用中はバルブ部材50が開位置よりも閉位置になることが多いため、上記の構成は、シール構造s1bのクリープを低減または防止するのに役立つことができ、これにより、シール構造s1bの耐久性および/または信頼性が、そのシール性能に関して向上する。
バルブ部材の閉状態と比べて開状態においてあまり圧縮されないというシール構造s1bの機能性自体は、例えば、受容構造SVbの上記の構成のバリエーションによって、様々な方法で実現され得ることが理解されるであろう。
第3のシール構造s1cは、バルブ部材50の近くにまたは近位セクションに配置され、流体フィードスルー・チャネルFFCと流体フィードスルー・チャネルFFCの外側の領域との間にシールされた閉鎖を提供するように構成され得る。第3のシール構造s1cは、好ましくは、流体フィードスルー・チャネルFFCの外側の領域と比べて流体フィードスルー・チャネルFFC内の流体圧力が増加することに応じて、好ましくは、その影響下で、対応するシールされた閉鎖を締め付けるように構成されている。
このようにして、流体フィードスルー・チャネルFFCが加圧されていない、またはあまり加圧されていないときに、バルブ座部SVに対する第3のシール構造s1cの動きが実質的に抑止されずに、流体フィードスルー・チャネルが加圧されるときに、対応するシールされた閉鎖が十分に締まることができる(すなわち、使用中に加圧された空気が漏れないようにする)。したがって、バルブ部材50はその開位置と閉位置の間で(例えば、軸X50に沿って)動くことができ、流体フィードスルー・チャネルFFCからの漏れを防止できる。
第3のシール構造s1cは、好ましくは、第3のシール構造s1cにおける流体圧力差の影響下で、実質的に変形可能である。
第3のシール構造s1cは、好ましくは、特に、バルブ部材50とバルブ座部SVとの間にリップ・シールを形成するためのリップ・シール構造s1cLを備える。
リップ・シール構造s1cLは、好ましくは、例えば、図8c~図8dにおける断面で見ると、主軸X50に対して実質的に角度βで延在する。角度βは、好ましくは1°~90°であり、より好ましくは10°~70°であり、より好ましくは20°~50°であり、例えば約30°である。リップ・シール構造s1cLは、好ましくは、主軸X50から少なくとも部分的に半径方向外向きに延在する。リップ・シール構造s1cLは、好ましくは、シール要素s1の主要部分からバルブ部材50の遠位端に向かって少なくとも部分的に延在する。
図8a~図8bは、リップ・シール要素s1cLの一例を示し、図8c~図8dは別のそのような例を示している。これらの例から、流体フィードスルー・チャネルFFC内の、特に、流体フィードスルー・チャネルFFCから第3のシール構造s1cの他の側の領域に対して増加する圧力が、第3のシール構造s1cの位置でバルブ座部SVに(より)しっかりと押し付けられるようにリップ・シール構造s1cLを変形および/または圧縮できることがわかる。
このような変形能、具体的には、このようなリップ・シール構造s1cLは、流体フィードスルー・チャネルFFCの外側の領域と比べて流体フィードスルー・チャネルFFC内の流体圧力が増加することに応じて、第3のシールされた閉鎖を締め付けることを有利に提供することができる。
バルブ部材50における様々なシール構造s1a、s1b、s1cのうちの1つまたは複数は、特に、同時にバルブ部材50の開閉動作を許可しながら、バルブ部材50がバルブ座部SVに対して実質的にセンタリングされているか、および/または実質的にセンタリングされたままであることを追加的に提供し得る。
シール構造s1a、s1b、s1cは、互いに離れた場所に配置されることが好ましいため、例えば、バルブ部材50(特に、シール要素s1の外側面)とバルブ座部SVとの間など、これらの間に1つまたは複数の中間空間が提供され得る。例えば(図8a~図8dを参照)、シール構造s1aとシール構造s1bとの間に、少なくともバルブ部材50がその開位置にあるときに、製品フィードスルー・チャネルPFCの一部を形成する中間空間PFCiが提供される。別の例として、シール構造s1bとシール構造s1cとの間には、流体フィードスルー・チャネルFFCおよび/または流体通路51の一部を形成し、流体通路51と流体フィードスルー・チャネルFFCとを含む流体経路の一部を少なくとも提供する別の中間空間FFCiが提供される。上記の中間空間FFCiは、好ましくは、バルブ部材50が開位置または閉位置にあるかどうかに実質的に関係なく、開いたまま、かつ流体通路51および流体フィードスルー・チャネルFFCに流体接続されたままである。また、バルブ部材50およびバルブ座部SV、具体的に、シール構造s1bおよびs1cは、好ましくは、バルブ部材50が開位置または閉位置にあるかどうかに関係なく、上記の中間空間FFCiが実質的に液密にシールされたままであるように構成されており、特に、シール構造s1cは、(大気)環境への加圧空気の漏れを防止する。
図16a~図16cは、(図12に示す)好ましい例示的な実施形態によるCPU内の製品フロー経路および流体フロー経路の斜視図を示している。図16cは、図16a~図16bに対して上下逆の図である。いくつかの対応するCPU要素が、図示するフロー経路に対してどこに位置決めされているのかを示すために、参照記号を追加している。これらの図では、製品フロー経路は薄いグレーでシェーディングされ、流体フロー経路は濃いグレーでシェーディングされている。フロー方向は矢印で示されている。破線矢印p1~p7は、後続の製品フロー経路の方向を示し、実線矢印g1~g4は後続の流体フロー経路の方向を示す。なお、これらの図では、製品フロー経路には、ガスが提供された製品のフロー経路、すなわち、泡立てデバイス15の下流のフロー経路が含まれている。また、図16a~図16cのすべてにすべての矢印が示されているわけではないことにも留意されたい。
矢印p1では、製品が、製品容器からCPUの製品フィードスルー・チャネルPFCの中に流れ込む。矢印p2では、バルブ部材50が開状態のときに、製品はバルブ部材50を過ぎて流れる。矢印p3では、製品は泡立てデバイス15を通って流れ、そこで製品にガスが提供される。矢印p4では、ガスが提供された製品は、減圧および/または混合のために加工デバイス7に入る。矢印p5では、ガスが提供された製品は、加工デバイス7の下流セクションに入る。矢印p6では、ガスが提供された製品は、矢印p7の方向に沿って排出されるように排出チャネルDCに向かって流れる。
矢印g1では、ガスが、バルブ部材50の流体通路を通ってCPUに入り、矢印g2に沿って流体フィードスルー・チャネルFFCの中に流れ込み、矢印g3に沿って進み続ける。矢印g4では、ガスは、泡立てデバイス15の2つの精密ろ過壁15aに近づき、その後、壁15aを通過して、製品の流れに入り込み、ガスが提供された製品の一部として進み続ける。
食品の安全性のために、容器に入れられる特定の製品によっては、例えば、輸送時や取り扱い時の使用前にCPUおよび/または製品容器内の製品が汚染されないようにすることが有益な場合がある。特に、これらの時に、製品と周囲空気との接触を防止する必要がある場合がある。また、CPUの内部空間を周囲空気から封止して、例えば、衛生上の問題に関連してこれらの空間に凝縮物が形成されることを防止する必要がある場合もある。これに鑑みて、CPUは、周囲空気がCPUに入るおよび/または製品に接触するのを遮断するためのシール手段を備える場合がある。
特に、他の実施形態から独立して実施され得る実施形態では、CPUの下流セクションに、気密シール・キャップを設けることができる。特に、製品加工ユニットCPUには、初期使用前に、環境から製品加工ユニットCPUの下流製品排出領域128をシールするように構成された気密シール・キャップ71を設けることができる。例えば、下流排出ノズルNZが、シールされた下流製品排出領域128内に位置していてもよい(図12を参照)。
シール・キャップは様々な方法で構成することができる。図12、図15a、および図15bに示すように、シール・キャップには、例えば、第1のセクション71と、例えば(フィルム)ヒンジ73を介して第1のセクションに連結される任意選択の第2のセクション74とが含まれ得、好ましくは、少なくとも一方または両方のセクションに、グリップ要素、例えばハンドル72を備える。上記の任意選択のヒンジ73は、例えばシール・キャップの一体型(ワンピースの)可撓性セクションであり得る。
一例では、第1のキャップ・セクション71は、下流領域128を封止するように構成されており、また、CPUの反対側の縁と協働して、対応する気密シールを形成できる。
さらに、一例では、第2のキャップ・セクション74は、CPUの第2の外部開口部を封止するように構成され得る。第2の開口部は、ガス供給源FIsのガス供給開口部である(図12参照)。
シール・キャップは、分注マシンの中に製品容器が挿入された時点またはその前後で、ユーザが取り外すように構成され得る。最初に、ハンドルを引いてヒンジ周りに第1のセクションを回転させ、CPUから第1のセクションを解放する。次に、シール・キャップをさらに引いて、第2のセクションをCPUから解放する。
一例では、単一のキャップに、CPUの2つの異なる外部開口部をシールするために両方のセクション71、74が含まれている。あるいは、キャップ・セクション71、74は、別々のキャップ・セクション(相互に直接連結されていない)にすることもできる。
他の実施形態から独立して実施することもできるが、組み合わされてもよい別の実施形態では、CPUは、CPU、特に、製品容器Hの内部の製品含有空間の近くまたは隣接している、上記の製品フィードスルー・チャネルPFCの入口間の界面に、気密(例えば、圧力制御される)シール61、62を備えてもよい。一例では、閉状態では、シールは、全体的に製品含有空間の内容物、すなわち、例えば、製品と直接接触しており、製品がCPUに入り込むことを防止し、また、特に、例えば、CPUからの空気またはガスが、容器Hの内部空間に保持されている製品に入り込むことを防止する。
図12、図15b、および図15cに示すように、一例では、シールは、リング61とキャップ62とを含む圧力制御されるシールである。(図12および図15bに示すように)閉状態では、リングおよびキャップは、気密シールを形成し、(図15cに示すように)開状態では、矢印a61によって示すように、リングとキャップとの間に製品フロー用の通路が提供される。圧力制御されるシールの場所は、ユーザがアクセスしにくい場合があるため、また、シールの衛生的な操作が望ましいため、圧力制御されるシールは、好ましくは、製品容器が加圧されたときに製品容器の内容物によってもたらされる圧力の下で開くように構成されている。したがって、圧力制御されるシールの開放は、製品容器の加圧を制御することによって制御される。リングおよびキャップは、好ましくは、所定の超大気開放圧または開放圧力範囲でキャップがリングから剥離するように構成される。剥離したキャップが製品フィードスルー・チャネルPFCへの製品フローを遮断するのを防止するために、CPUは、圧力制御されるシールと製品フィードスルー・チャネルPFCの入口との間にリブ63を備える場合があり、これにより、キャップは、リングから剥離した後にリブ上におかれ、矢印a62によって示すように、製品はキャップの周囲と下に流れることができる。あるいは、例えば、キャップ自体にリブを備えてもよい。
その上流製品入口にあるCPUの気密シールは、様々な方法で構成することができる。図21は、図12に示す例とは異なる代替手段を示している。シール61、62は、(固定された)リング部分61から解放するために、シール・キャップ62(具体的には対応する外側セクション62s)を(製品容器からの加圧によって)半径方向に圧縮することができ、これにより、CPUへの対応する製品フロー経路が開かれるようにさらに構成されている。例えば、キャップ62の弾性のあるまたは曲げ可能なネック部分62sは、容器が加圧されたときに、製品容器の内容物によってもたらされる開放圧力の下で、矢印a64によって示す、反対側の(固定された)リング61から離れて、半径方向内向きに押すことができる(これにより、キャップ62の外径が小さくなり、キャップを周囲の保持リング61から緩めるまたは締め付け解除できる)。具体的には、図21からわかるように、キャップ62のネック部分62sの円周外側とリング部分61の反対側の内側とは、製品圧力受容スリット62qを囲むことができ、シール・キャップを半径方向に圧縮するための加圧された製品の侵入を可能にする。したがって、リング61からのキャップ62の圧力によって誘発される解放がさらに容易になる。
様々な実施形態では、前述のように、システムには(製品ホルダを加圧するための)加圧チャンバが含まれている。加圧チャンバは、マシンBの一部であっても、取り外し可能な製品容器Hの一部であってもよい。例えば、前述のように、取り外し可能な容器Hの外部壁TW、SWは、バッグ加圧チャンバとして機能し得る。あるいは、1つまたは複数のそのような壁をマシンBに統合してもよい。
これらの実施形態の各々では、CPU(およびその対応する製品ホルダ、例えば、その可撓性製品バッグFB)は、好ましくは、交換可能である。使用中、CPUは、チャンバのCPU開口部(図3Bおよび図20bにあるように、製品排出領域に向かって、容器の壁構造SWを介して(例えば、専用CPU受容ポートRPを介して)突出する、具体的には製品加工ユニットCPU)を介して、対応する加圧チャンバ(例えば、図3A、図3Bを参照)の外側に、例えば、部分的または実質的に延在し得る。具体的には、加圧チャンバは、容器の外部壁面構造SWによって画定することができる。壁構造SWには、製品加工ユニットCPUを受容し、位置決めするためのCPU受容ポートRPが含まれている(図18b、図20a、図20bを参照)。
CPUは、好ましくは、CPU開口部にCPUが受容されたときに、加圧チャンバ(すなわち、そのCPU受容ポートRP)と協働して、それらの間に気密シールを形成するように構成されている。このようなシールは様々な方法で達成できる。例えば、CPUのリング要素91がCPUチャンバとの気密シールを形成してもよいし、および/または、他のシール手段(図示せず)をCPUと対応するポートRPとの間に、それらの間のシール接触またはシール係合のために設ける、および/またはそれらに統合することができる。したがって、加圧チャンバは、所望の動作圧力まで加圧することができ、加圧された空間からの加圧ガスの漏れを防止することができる。
好ましくは、使い易さを向上させ、かつシステムの不具合動作を防止するために、システムは、CPUと加圧チャンバとの間の気密シールの形成に関して、その形成時に、フィードバックをユーザに提供するように構成することができる。例えば、CPUは、CPU受容ポートRPと協働して、音および/または触覚フィードバック信号(例えばクリック)を生成するように構成され得る。
ポートRPのCPU開口部を介してCPUを正確に設置できるようにするために(例えば、図18a~図18bに示すように、CPUの流体供給開口部SVを分注マシンの流体供給コネクタ50に整列させるために)、CPUの外部形状111は、ポートRPのCPU受容開口部の形状112と実質的に嵌合するように構成され得る(図20bも参照)。したがって、それぞれの形状によって、ポートRPのCPU開口部内またはそれを通じた設置の際のCPUの位置合わせおよび/またはセンタリングがもたらされ得る。好ましくは、図18a~図18bに示すように、それぞれの形状は、CPUの挿入方向に実質的に相当する軸の周りを回転非対称になっている。この方向は、両方の図に矢印a110によって示しており、図18aでは、矢印は図面の奥を指している。回転非対称は、様々な方法で提供され得る。例えば、図18a~図18bに示すように、それ以外の点では実質的に軸対称の形状の側面上のCPUの1つまたは複数の(ここでは、1つの)突起113によって提供され得る。CPU受容ポートRPは、CPUの突起113を受容して係合するための嵌合形状(例えば、アパーチャ、ノッチ)114を有することができる。このような非対称により、不適切な挿入、特に、上記の軸周りの所望の向きに対してCPUが回転される挿入の抵抗を提供する。
好ましくは、位置合わせおよび/またはセンタリングを含む正確な設置を容易にするために、CPUおよび/またはCPU受容ポートRPは、テーパ形状を有することができる。例えば、図18bに示すように、CPUの形状は、加圧された空間に近位である幅の広い部分(図18bの上部部分)から、加圧された空間の遠位である幅の狭い部分(図18bの下部部分)までテーパできる。結果として、CPUは、挿入中に、CPU受容ポート内で自動的にセンタリングされるため、操作が容易になると同時に不正確な設置が防止されるという利益がもたらされる。
好ましくは、CPU設置をさらに容易にするために、また、動作中にCPUが適切な位置にロックされたままであることを確実にするために、図20a~図20cに示すように、システム(具体的には、容器/カプセルH)に、分離可能なCPU保持ラッチ(クリップ)102を設けることができる。図20aは、CPU位置決めポートRP(図20bを参照)を介してCPUを容器壁SWに接続するために、対応する可撓性バッグFBおよびCPU保持ラッチ102に接続されているCPUの斜視図を示している。図20bは類似した図を示しているが、可撓性バッグFBが入った空間をシールするために、製品容器Hの蓋TWが取り付けられている。図20cはCPU保持ラッチ自体を示している。
この例では、CPUには、CPUの外側に2つのL字型突起101が含まれている(突起101は互いに外方に向いている)。図20a~図20cに1つのそのような突起を示し、図15a~図15bに別の突起を示している。これらの突起101は、CPU保持ラッチ102と、外部容器シェルの蓋TWおよびCPU受容ポートRPと協働するように構成され得る。具体的には、CPU受容ポートRPのCPU開口部を通じてCPUを挿入した後、L字型突起101の第2の面101bとポートRPとの間にアーム103を位置決めして、CPUを適切な位置にしっかりと係止することができる。ラッチ102には、ラッチを適切な位置にロックする(図20bを参照)ために、例えば、組み立て後にチャンバの蓋TWによってバネ付勢できるバネ要素105が含まれ得る。また、ラッチ102には、手動グリップを強化するためのハンドル104なども含まれ得る。
図20bは、外部容器壁SWに、ラッチ102の設置を補助するためのガイド/支持要素107が含まれ得ることを示している。また、図20bは、外部容器のCPU位置決めポート/位置決め構造RPも示している。位置決め構造RPは、具体的には、容器に対してCPUを正しく位置付けるために、CPUの外側を実質的に囲むために構成されている。
上記の例のいずれとも組み合わせ得る、図19a~図19cに概略的に示す実施形態では、容器受容空間Hs内に、CPUを含む製品容器(図19a~図19cには容器は図示していない)が受容されている間にそれを冷却するために、該容器受容空間Hsの内部を冷却するように上記の冷却システムCSを構成することができる。受容空間Hsの壁121構造に、例えば、冷却システムCSの1つまたは複数の冷却ダクト/チャネル122を含めるまたは設けることができる。少なくとも動作中、冷却チャネル122には、好ましくは、冷却システムによって循環される冷却液が入っている。
各冷却チャネル122は、様々な方法で構成することができ、また、様々な経路/方向に沿って延在することができる。例えば、1つまたは複数の冷却チャネル122は、(図19a~図19cにあるように)容器受容空間の中心線と平行に延在することができる。好ましくは、製品容器受容空間Hs全体を実質的に冷却するためには、上記の冷却チャネル122は、容器受容空間Hsの周りの曲がりくねったおよび/またはスパイラル/らせん状の経路に沿って延在することができる。
容器受容空間Hsを囲む壁/壁構造121は、特定の冷却されたCPU囲みセクション(例えば、拡張部)125を有し得る。このセクション125は、CPUの外側および対応するノズルNZを包囲する(特に、容器受容空間内に容器を設置した後。CPU囲みセクション125はまた、図3Bの破線のボックス内にも概略的に描画されている)。
好ましくは、壁構造121の冷却されたCPU囲みセクション125には、閉鎖部材123によって閉じることが可能な製品流出口136がある。マシンの壁構造121の閉鎖可能な製品流出口136は、好ましくは、容器を設置した後にCPUの製品流出口の近く/付近に位置している。
例えば、システムには、冷却されたCPU囲みセクション125の製品流出口136を閉じる/覆うために、(マシン内に設置した後)CPUの近く(例えば、その下)に可動式の閉鎖部材123を含むことができる。例えば、モータ124を設けて、閉鎖部材123を開位置に(例えば、矢印a120の方向に)に動かして、製品排出中に、CPUからの(流出口136を介する)製品フローの下方への通路を提供し、また、(流出口136を閉じるために)製品排出後に部材123を反対方向に動かすことができる。これにより、周囲空気から受容空間Hs内に設置されたCPU(および製品容器H)への熱(および水蒸気)交換を防止または大幅に低減することができる。
したがって、発泡製品分注システムには、容器Hを受容するための容器受容空間Hsを囲む、密閉シール可能な壁構造121が含まれ得る。壁構造121には、閉鎖部材123によって閉鎖可能(およびシール可能)な製品流出口ポート136が含まれている。
閉鎖部材123は、好ましくは、断熱性を有し、例えば、少なくとも部分的に断熱材料から作られているか、および/または閉鎖部材123を通る熱の伝導を大幅に低減するように構成されている。例えば、閉鎖部材123は、その中に、あるボリュームの空気または熱伝導率の低い別の流体を保持するように構成され得る。閉鎖部材123内の空気または他の流体の循環は、例えば、発泡体または空気もしくは他の流体が中に保持される発泡体状の構造によって抑止され得る。閉鎖部材123には、例えば、セル発泡材料を含めることができる。一例では、部材123の熱伝導率は、(大気圧および20℃において)、1W/m/Kよりも小さくすることができ、好ましくは0.1W/m/Kよりも小さくすることができる。カバー部材123が断熱性を有するようにするためには、多くのバリエーションおよび代替手段が可能であることが理解されるであろう。
図19a~図19cは、様々な位置にある閉鎖部材123の例を示している。図19d~図19fは、様々な位置にある閉鎖部材223の別の例を示している。その他の違いとして、閉鎖部材123は、製品流出口ポート136の下に配置されるのに対し、閉鎖部材223は、製品流出口ポート236の上(すなわち、上方)に配置される。閉鎖部材223が製品流出口ポート236の上方(かつCPUの下)に配置されている利点は、閉鎖部材223をCPUのより近くに配置できることおよび/またはCPUの周りの冷却する空間を比較的小さくすることができることであり、これにより、分注動作後に、上記の空間を比較的急速に再冷却することが可能になる。
図19a~図19fに示すように、閉鎖部材123は、第1の位置(図19bおよび図19dを参照)と第2の位置(図19aおよび図19eを参照)との間で可動である。第1の位置では、閉鎖部材123は、製品流出口ポート136からの発泡製品のフローの通路を提供する。第2の位置では、閉鎖部材123は、製品流出口ポート136を閉じる。
閉鎖部材123は、好ましくは、製品分注通路123a自体を備える。通路123aは、閉鎖部材123が第1の位置にあるときに、製品流出口ポート136の反対側に位置する。好ましくは、閉鎖部材の第2の位置では、第1の位置と比較して、製品分注通路123aは、製品流出口ポート136から少し離れて配置されている。
このような通路123aは、分注中の断熱を向上させることができる。具体的には、このような経路123aは、冷却された空間Hsの曝露を比較的少なくすることができ、同時に製品の分注も可能にする。
閉鎖部材123と壁構造121との間に流れる空気(このような空気の流れは熱および/または湿気の伝達に関連付けられている)を制限、好ましくは防止するために、特に、製品流出口ポート136が断熱性の閉鎖部材123によって閉じられているときに、シール125s(図19a~図19cを参照)が、好ましくは、壁構造121と閉鎖部材123との間に設けられる。シール125sは、好ましくは、ゴム、シリコーンなどの弾性材料で作られている。
特に有利なエラボレーションでは、閉鎖部材123は、製品分注マシンBから手動で取り外し可能であり、かつ、その後、手動で取り換え可能である。このようにして、閉鎖部材123の簡単な遠隔でのクリーニングを可能にすることができる。したがって、閉鎖部材123は、具体的には、マシンBの外部でクリーニング可能になる。閉鎖部材123は、具体的には、マシンのドアD2が開いたときに、取り外し可能かつ取り換え可能になり得る(例えば、図19eと比較して図19fを参照)。
この点について、図示した例では、閉鎖部材123は、マシンBから切り離すことができるが、「マシンBから取り外し可能である」とは、必ずしもマシンBから切り離し可能であることも意味するものと解釈されるべきではない。例えば、図示していない代替実施形態では、閉鎖部材123は、例えば、ひもまたはチェーンなどである対応する可撓性の連結構造によって、マシンBに少なくとも物理的に連結されたままであり得る。
好ましくは、製品分注マシンBは、特に、閉鎖部材123を手動で取り換えた後、閉鎖部材123の対応する動きによって、製品流出口ポート136を自動的に開閉するように構成されている。このようにして、使い易さおよび/または衛生状態を促進することができる。そのため、ユーザ(オペレータ)は、閉鎖部材123を取り換えるだけで済む場合がある(例えば、取り換えられた閉鎖部材123を接続したり、そうでなければ取り扱ったりする必要もない)。
さらに説明するように、このために、マシンBには、交換後に閉鎖部材123と(再)係合するための閉鎖部材アクチュエータ124が含まれていてもよい。
図19fに示すように、例えば、閉鎖部材223は、閉鎖部材223を製品分注マシンBから取り外す間に閉鎖部材223を手動で取り扱うためのハンドリング構造223fを備え得る。図示するように、このようなハンドリング構造は、縁部、隆起部、凹部、溝などの形をしていてよく、ユーザが、自分の手M(例えば、1本または複数本の指)を使用して、閉鎖部材223に取り外し力を(例えば、矢印221の方向に)もたらすことを可能にする。このようなハンドリング構造223fは、使い易さの向上および衛生状態の向上を提供することができる。これは、ユーザに閉鎖部材223の他の部分および/またはシステム全体ではなく、ハンドリング構造223fのみに手を触れさせる、したがって、特に、分注中に排出された製品が接触する部分にはユーザが触らないようにすることができるからである。
図19fでは、手Mの表示は、縮尺の限定的な表示と解釈されるべきではないことは理解されるであろう。
製品分注マシンBは、好ましくは、例えば、対応するセンサ124a(図19a~図19cを参照)を使用して、取り換えられた閉鎖部材123を検出するように構成されており、好ましくは、閉鎖部材123は、製品分注マシンBによって(例えば、センサ124sによって)検出されるように構成されている、対応する検出可能部分123n(例えば、磁石123n)を含む。このような構成では、閉鎖部材123の取り換えに、例えば、当該閉鎖部材123と(再)係合しようとすることによって、マシンBが応答できるようになる。あるいはまたはさらに、マシンは、例えば、適切な取り換えまたは不適切な取り換えを示す、閉鎖部材123の取り換えに関するフィードバックをユーザに提供し、場合によっては、不適切な取り換えが検出されたときには修正措置を講じるようユーザに促す場合がある。
閉鎖部材123は、少なくとも製品流出口ポート136が閉鎖部材123によって閉じられているときに(図19aおよび図19eを参照)、製品流出口ポート136から出てくる製品のドリップを受けて保持するためのドリップ保持構造123dを備え得る。好ましくは、ドリップ保持構造123dは、少なくとも製品流出口ポート136が閉鎖部材123によって閉じられているときに、製品流出口ポート136と位置合わせして(例えば、その下またはその上に)少なくとも部分的に配置されている。このようなドリップ保持構造123dは、特に、製品の滴が、クリーニングすることが難しい領域および/またはあまり冷却されないもしくは冷却されない領域に到達することを抑止することによって、衛生状態を向上できる。ドリップ受容構造123dに保持されているドリップは取り除くことができる。すなわち、前述のように、閉鎖部材123がマシンから取り外されたときに、構造123dをクリーニングできる。
前述のように、製品分注マシンBは、好ましくは、閉鎖部材123を作動させるための閉鎖部材アクチュエータ124を備える。したがって、閉鎖部材123は、例えば、閉鎖部材123が製品流出口ポート136を閉じる位置(図19aおよび図19eを参照)(例えば、第2の位置)と、少なくとも1つの他の位置との間で作動され得る。好ましくは、少なくとも1つの他の位置は、例えば、閉鎖部材123(例えば、その通路123a)が、発泡製品を分注するために製品流出口ポート136から発泡製品のフローを許可する位置(例えば、第1の位置)を含む。このような閉鎖部材アクチュエータ124は、閉鎖部材123の1つまたは複数の位置がマシンBによって制御可能であることを可能にし得る。
閉鎖部材アクチュエータ124は、好ましくは、閉鎖部材123と係合および係合解除するために(例えば、閉鎖部材123をマシンB内で取り換えた後に該閉鎖部材と再係合するために)構成されている。このような係合および係合解除は、マシンBとユーザとの間で閉鎖部材の(機械的な)制御を効果的に伝達することを可能にする。
上記の係合解除に関しては、好ましくは、システムは、例えば、閉鎖部材123を閉鎖部材アクチュエータ124から係合解除するために、その所定の位置において閉鎖部材123の動きを遮断するための遮断要素124bを備える。具体的には、閉鎖部材アクチュエータ124は、遮断要素124bと(例えば、それに対して)閉鎖部材123を係合して、閉鎖部材123を閉鎖部材アクチュエータ124から係合解除するように構成され得る。
このような構成は、アクチュエータ124による閉鎖部材123の制御された係合解除のための効果的な手段を提供できる。図19cおよび図19fは、閉鎖部材アクチュエータ124のアクチュエータ部材124a(好ましくは、実質的に直線的に可動であるアクチュエータ部材124a)が、このような遮断要素124bを超えて引っ込められて、その結果、閉鎖部材123がアクチュエータ124から遮断要素124bによって係合解除されている様子を示している。このように係合解除された閉鎖部材123は、手動で取り外されて、その後、前述のように取り換えられ得る。その後、取り換えられた閉鎖部材123は、アクチュエータ124によって、例えば、アクチュエータ部材124aが閉鎖部材123に向かって動くことによって再結合され得る。したがって、閉鎖部材123は、(例えば、係合解除後に、ユーザが閉鎖部材123を作動させていない場合)事前の取り外しおよび取り換えなく、再係合されることも可能であることが理解されるであろう。
閉鎖部材アクチュエータ124は、磁気的に閉鎖部材123と係合するように構成され得る。好ましくは、閉鎖部材123は、閉鎖部材アクチュエータ124によって係合されるように構成されている、磁気的に係合可能な要素123m(例えば、磁石123m)を備える。このような磁気構成は、閉鎖部材123がアクチュエータ124によって係合されるとアクチュエータ124と閉鎖部材123との間に優れた接続を提供でき、同時に、閉鎖部材123のよく制御された係合および係合解除を可能にすることが確認されている。
図17は、製品容器の加圧およびCPUへの流体供給のための複合システムの概略図を示している。この複合システムは、他の実施形態のいずれとも独立して実施することも、組み合わせて実施することもできる好ましい実施形態に関する。代替実施形態では、例えば、製品容器の加圧と、CPUへの流体供給のために別々のシステムが構成されていてもよい。
図17に示す例示的なシステムでは、チョーク・ガス供給源が実装される。チョーク・ガス供給源には、対応するフロー狭窄部89が含まれている。特に、図面からわかるように、周囲空気は空気フィルタ81を介して圧縮器82に入る。制御可能な3方バルブ83が、圧縮器下流の加圧された空気を、システムが加圧モードにある容器受容空間Hsか、またはシステムが分注モードにあるCPUのいずれかに向けて送る。3方バルブ83は、好ましくは、少なくとも加圧モードと分注モードとの間で電子コントローラCTRによって調整可能である。図17は、分注モードにある3方バルブ83を概略的に示している。この例示的な実施形態では、加圧モードと分注モードは相互に排他的であるが、代替実施形態では、同時に発生してもよい。
加圧モードでは、圧力センサ84が容器内の圧力を測定し、代表的な圧力信号をコントローラ(図示せず)にフィードバックして、圧縮器82を調節することによって圧力を調節する。超過圧力の場合に、例えば、圧力センサ84、コントローラCTR、および/または圧縮器82が故障した場合に、容器を減圧するために、安全バルブ85を備える。
分注モードでは、加圧された空気が、分注システムの冷却された空間CSp内に位置決めされたパッシブ凝縮物ブロック87に入る。凝縮物ブロック87は、加圧された空気をパッシブ冷却および乾燥するように構成されており、かつ、空気を冷却することによって精製される凝縮物を流し出すためのドレン・バルブ88を備える。ドレン・バルブ88は、分注モードで閉じ、それ以外の場合は開くように構成されている。
図17に示すように、ドレン・バルブ88は、容器受容空間Hsに流体接続され得る。このようにして、製品容器Hsから凝縮物ブロック87を通ってドレン・バルブ88を通って大気中に空気を流し出すことができる。
凝縮物ブロック87の下流では、加圧された空気は、オリフィス89を通ってCPUの中に入る。オリフィスは、フロー狭窄部89(ガス制限部とも呼ばれる)を提供し、これにより、オリフィスの上流に十分に高い圧力で空気が供給されると、いわゆるチョーク・フロー状態が発生する。このようなチョーク・フロー状態では、狭窄部内のガスの流速は、狭窄部内のガス中の音速に実質的に相当する。有利には、結果として、オリフィスの下流の空気フローは、圧力制御されるのではなく、実質的にフロー制御されることが可能である。具体的には、CPUの精密ろ過壁15aを通る実質的に安定した空気フローを、これらの壁15aの詰まりのレベルに実質的に関係なく提供することができる。通常、詰まりはフロー抵抗を増大させる。
フロー狭窄部89は、好ましくは、製品分注マシンBの(可動式)流体インジェクタ・コネクタFIc、具体的には、流体インジェクタFIcの遠位部、および製品加工ユニット(CPU)のうちの1つに配置されている。このような配置は、フロー狭窄部89が精密ろ過壁15aの近くに配置され、これによって、特に、フロー狭窄部89と壁15aとの間のいわゆるデッド・ボリュームを減少させることで、上記の壁15aでの圧力上昇の遅延を減らすことを可能にする。
図17をさらに参照するに、フロー狭窄部89の上流に、空気などの加圧されたガスを保持できる、あるボリュームのガス・バッファ・ボリューム89bを設けることができる。このようなバッファ・ボリューム89bは、特に、フロー狭窄部89におけるより急速な初期ガス加圧を可能にすることができ、これにより、精密ろ過壁15aでの圧力上昇の遅延をさらに減らすことができる(フロー狭窄部89の配置による、前述したような低減に加えてまたは代えて)。0.5リットルであるバッファ・ボリューム89bの最小ボリューム(例えば、最大2リットルのボリューム)が、特に良好な結果をもたらす可能性があることが確認されている。
バッファ・ボリューム89bは、例えば、カプセルSWのヘッド空間または容器受容空間Hsに配置され得る(例えば、それによって形成され得る)。あるいはまたはさらに、バッファ・ボリューム89bは、システム内の衝撃を制限または防止するために、マシンB内に(どこにでも)、特に、圧縮器82のすぐ下流に配置することができる。
凝縮物ブロック87の上流にかつ3方バルブ83の下流に、圧縮器が大きすぎる場合に余分な空気を排気するためのバイパス・オリフィス86を設けることができる。
製品分注マシンBは、好ましくは、設置された製品容器H(例えば、容器受容空間Hsに設置されている)を、製品を加工ユニットCPUに供給するための少なくとも2つの(相互に異なる)動作圧力に加圧するために構成されている。このようにして、分注された製品のクリーム対空気比をユーザが制御できる。具体的には、動作圧力が高いほど、クリーム対空気比が高くなる(すなわち、空気量に対してクリーム量が多くなる)。
そのために、図17に示すように、分注マシンBには、好ましくは、所望の容器動作圧力を選択するためのユーザ操作可能なコントローラCTRが含まれている。具体的には、上記のコントローラCTRは、マシンBのユーザ・インターフェースINに接続されているか、またはユーザ・インターフェースの一部を形成し得る。
図示するように、このようなコントローラCTRは、圧縮器82および/または3方バルブ83を制御するコントローラと組み合わされてもよい。上記のコントローラCTRは、好ましくは、例えば、感知された圧力を、所定のまたはユーザが設定したターゲット圧力と比較するために、圧力センサ84からの入力を受信する。
製品にガスを供給するためのガス供給源(前述しており、かつ図17に示している)は、好ましくは、動作中に、設定された製品容器動作圧力とは実質的に独立している所定のガス流量を提供するために構成されている。
本発明は、上記の例示的な実施形態に限定されないことは、自明のことである。添付の特許請求の範囲に記載されている本発明の枠組み内で様々な修正が可能である。
したがって、製品には、例えば、食用タンパク質もしくは非食用タンパク質、タンパク質混合物、またはタンパク質溶液が含まれ得る。食用タンパク質溶液には、例えば、乳タンパク質、ホエイ・タンパク質、およびカゼイン、卵白タンパク質、イースト分離物、大豆タンパク質、ヘモグロビン、植物タンパク質分離物、食肉タンパク質、コラーゲン、ゼラチンなどが含まれ得る。
製品は、例えば、均一にまたは不均一に発泡され得る。
製品は、食品、または化粧品、クリーナ、および/または異なる種類の製品であり得る。
製品にはさらに、例えば、増粘剤、着色料、香味料などの様々な物質が入っていてもよい。
例えば、代替のバルブ動作モードを採用してもよいし、システムの機能性能に実質的な影響を与えることなく、様々な空間軌跡に沿って流体経路を配置してもよい。
さらに、製品分注マシンは、様々な方法で製品容器を加圧するように構成することができる。一例では、マシンには、容器を加圧するための1つまたは複数のポンプもしくはポンプ手段を含めることができる。さらにまたはその上、マシンは、製品容器を加圧するために、1つまたは複数の専用の高圧リザーバ(例えば、高圧(例えば、100バールよりも高い圧力)のガスで充填された1つまたは複数のガス・シリンダ)を含めるように、または、外部の高圧ガス供給源に接続されるように構成することもできる。
さらに、前述のように、製品容器自体は、様々な方法で構成することができる。例えば、必須ではない加圧チャンバが含まれていてもよい(例えば、分注マシンB自体に、製品容器を受容するための加圧チャンバが含まれていてもよい)。また、説明した実施形態からわかるように、製品容器は、特に、新しい(部品)と交換されるために、分注マシンから部分的または全体的に取り外し可能であり得る。
さらに、様々な実施形態では、泡立てデバイス15には、(発泡のために)製品にガスを供給するための精密ろ過デバイスが少なくとも1つ含まれている。このようにして、優れた発泡結果が得られる。しかしながら、システム(具体的には、CPU)には、製品発泡を提供するための1つまたは複数の他の泡立て要素、例えば、1つまたは複数のフィルタ要素、製品にガスを注入するための1つまたは複数のガス・インジェクタ・デバイス、1つまたは複数の撹拌デバイス、製品フロー中に乱流を誘発するための1つまたは複数の乱流誘発器、1つまたはこのような要素の組み合わせ、および/または様々な方法においてをさらにまたはあるいは含めることができる。
さらに、上記からわかるように、取り換え可能な製品容器H自体は、様々な方法で構成することができる。製品を保持するための内部空間を囲む単一の容器壁によって提供することができる。また、内部製品ホルダ(例えば、可撓性バッグまたは少なくとも1つの可撓性壁を有する製品ホルダ)を受容するための内部空間を囲む外部(例えば、硬質)壁によって提供することもできる。製品容器自体は、加圧されるように構成することができる。さらに、製品容器は、分注マシンB内に製品(例えば、製品ホルダ)を位置決めするために、動作中に、取り外し可能なカプセルとして機能することができる。
さらに、上記の実施形態では、マシンB自体に、特に、容器受容空間Hsを冷却するための冷却システムCSが含まれている。さらなるまたは代替の実施形態では、製品容器自体(例えば、前述のカプセルSW)が、容器を冷却するための冷却手段を備える。一例として、容器の外側壁SWには、その壁を通る冷却媒体を循環させるための1つまたは複数の冷却ダクトを含めることができる。このような冷却ダクトには、例えば、動作中、(対応する、相互作用する冷却媒体ポートを介して)マシンBの冷却システムによって冷却媒体が供給され得る。別の実施形態では、冷却システムは、置き換え可能な容器自体に統合することもできる。さらに別の実施形態では、容器壁SWには、容器から熱を除去するためのペルチェ要素が1つまたは複数含まれていてもよく、このような要素の電源を、容器および/または分注マシンBに統合することができる(後者の場合は、ペルチェ要素の冷却パワーをマシンBから容器に伝達するためにマシンBと容器SWと間に専用の電気接点を実装できる)。
さらに、CPUは、好ましくは、初期使用の前に、CPUの内部(具体的には、その内部製品ダクトおよび1つまたは複数の加工空間、ならびにその内部ガス・ダクト)が、対応する製品容器Hの環境から、気密に密閉シールされるように構成されている。これは、CPU構造(すなわち、その外側壁セクション、例えば、図12を参照)によって、かつ初期使用の前に、製品入力/出力開口部だけでなくガス注入開口部(例えば、図12を再び参照)をシールするガス・タイト・シール手段を適用することによって達成することができる。例えば、CPUのメインの外側壁構造は、多数の異なるCPUセクション、特に、製品流入口部分を含む上部セクションおよびガス注入部分を含む少なくともさらなるセクション(セクションは、例えば、プラスチック射出成形および/または他の製造ステップを介して作られる、例えば、プラスチックCPUセクションである)から組み立てることができる。密閉シールされた外側CPU面(前述したように、例えば、後で専用のシール手段を介してシールすることができる製品入力/排出開口部およびガス注入開口部は除く)を提供するように、このようなCPUセクションを互いに結合することができる。
さらに、一態様によれば、製品容器Hは、必ずしも遊離する(交換可能な)容器である必要はない。一実施形態によれば、マシン/電化製品に統合することもできる。
さらに、製品容器Hは、使い捨ての容器にすることができる。
さらに、一実施形態によれば、容器は、ボトルまたはボトル型の容器にすることができる。
例えば、交換可能な製品容器は、当業者には理解されるように、容器内のバッグ(BIC:Bag In Container)、または箱内のバッグ(BIB:Bag In Box)、またはボトル容器内のボトル(BIB:Bottle In Bottle container)にすることができる。

Claims (17)

  1. 交換可能な製品容器(H)を受容するように構成された製品分注マシン(B)と、
    前記製品分注マシン(B)内での設置後、前記製品分注マシン(B)と協働するように構成された製品容器(H)と、
    を含む発泡製品分注システムであって、 前記製品容器(H)は、発泡性製品(P)が充填され、
    前記製品容器(H)は、製品(P)を受け取るための製品入口(15i)および製品(P)を排出するための製品出口(15u)を有する泡立てデバイス(15)を含む製品加工ユニット(CPU)を備え、前記製品加工ユニット(CPU)は、前記製品(P)にガスを供給するためのガス供給源に接続可能であり、
    前記発泡製品分注システムは、前記製品容器(H)を受容するための容器受容空間(Hs)を囲む、密閉シール可能な壁構造(121)を含み、前記壁構造(121)は、断熱性の閉鎖部材(123)によって閉じることが可能な製品流出口ポート(136)を含み、
    前記閉鎖部材(123)は、第1の位置と第2の位置との間で可動であり、前記第1の位置では、前記断熱性の閉鎖部材(123)は、前記製品流出口ポート(136)からの発泡製品のフローの通路を提供し、前記第2の位置では、前記断熱性の閉鎖部材(123)は、前記製品流出口ポート(136)を閉じ、前記閉鎖部材は、前記閉鎖部材(123)が前記第1の位置にあるときに、前記製品流出口ポート(136)の向かい側に位置する製品分注通路(123a)を含み、前記閉鎖部材の第2の位置では、前記第1の位置と比較して、前記製品分注通路(123a)は、前記製品流出口ポート(136)から距離を置いて配置されている、発泡製品分注システム。
  2. 前記発泡性製品(P)は、食品である、請求項1に記載の発泡製品分注システム。
  3. 前記閉鎖部材(123)は、前記製品分注マシン(B)から手動で取り外し可能であり、かつ、その後、その中で手動で取り換え可能であり
    前記製品分注マシン(B)は、記閉鎖部材(123)の手動の取り換えの後、前記閉鎖部材(123)を使用して、前記製品流出口ポート(136)を自動的に開閉するように構成されている、請求項1または2に記載の発泡製品分注システム。
  4. 前記閉鎖部材(123)は、少なくとも前記製品流出口ポート(136)が前記閉鎖部材(123)によって閉じられているときに、前記製品流出口ポート(136)から出てくる製品のドリップを受けて保持するためのドリップ保持構造(123d)を備え、請求項1から3のいずれか一項に記載の発泡製品分注システム。
  5. 前記製品分注マシン(B)は、前記閉鎖部材(123)を作動させるための閉鎖部材アクチュエータ(124)を備え、前記閉鎖部材アクチュエータ(124)は、前記閉鎖部材(123)と係合および係合解除するように構成されている、請求項1から4のいずれか一項に記載の発泡製品分注システム。
  6. 前記閉鎖部材アクチュエータ(124)は、前記閉鎖部材(123)と磁気的に係合するように構成されている、請求項5に記載の発泡製品分注システム。
  7. 求項1から6のいずれか一項に記載の発泡製品分注システムであって、
    記製品加工ユニット(CPU)は、バルブ部材(50)によって閉じることが可能である、前記泡立てデバイス(15)の上流の製品フィードスルー・チャネル(PFC)を含み、
    前記製品加工ユニット(CPU)は、前記泡立てデバイス(15)の上流の流体フィードスルー・チャネル(FFC)を含み、
    前記バルブ部材(50)は、前記製品加工ユニット(CPU)の前記流体フィードスルー・チャネル(FFC)と前記製品分注マシン(B)の流体供給源との間に流体連結を提供するために構成されており、
    前記バルブ部材(50)は、
    前記製品フィードスルー・チャネル(PFC)が前記バルブ部材(50)によって閉じられているときに、前記製品フィードスルー・チャネル(PFC)を遮断する第1のシールされた閉鎖を提供するように構成されている、遠位に配置された第1のシール構造(s1a)、および/または
    前記バルブ部材(50)の遠位端から遠く離れ、前記バルブ部材(50)の遠位セクションと近位セクションとの間の場所に第2のシールされた閉鎖を提供するように構成された第2のシール構造(s1b)、および/または
    前記バルブ部材(50)の近位セクションにまたはその近くに配置されている第3のシール構造(s1c)、
    のうちの少なくとも1つ備える、発泡製品分注システム。
  8. 前記シール構造のうちの少なくとも1つ(s1b)は、前記バルブ部材(50)の中心軸(X50)に対して横方向に突出する弾性的に圧縮可能な構造であり、前記圧縮可能な構造は、対応するシール受容構造(SVb)によって圧縮され、請求項7に記載の発泡製品分注システム。
  9. 前記シール構造のうちの少なくとも1つ(s1c)は、ップ・シールを形成するためのリップ・シール構造(s1cL)を備える、請求項7または8に記載の発泡製品分注システム。
  10. 請求項7から9のいずれか一項に記載の発泡製品分注システムの製品容器(H)用のバルブ部材(50)であって、前記製品容器(H)の製品加工ユニット(CPU)の流体フィードスルー・チャネル(FFC)と前記製品分注マシン(B)の流体供給源との間に流体連結を提供するために構成されている、バルブ部材(50)。
  11. 請求項7から9のいずれか一項に記載の発泡製品分注システム用の製品容器(H)であって、請求項10に記載のバルブ部材(50)を備える、製品容器(H)。
  12. 求項1から11のいずれか一項に記載の発泡製品分注システムであって、
    記製品分注マシン(B)は、設置された製品容器(H)を、製品を前記製品加工ユニット(CPU)に供給するための少なくとも2つの(相互に異なる)動作圧力に加圧するために構成されてる、発泡製品分注システム。
  13. 求項1から12のいずれか一項に記載の発泡製品分注システムであって、
    記ガス供給源は、動作中にチョーク・フローを達成するためのガス制限部(89)を含む
    チョーク・フロー・ガス供給源であり、前記ガス制限部であるフロー狭窄部(89)は、
    前記製品分注マシン(B)の(可動式)流体インジェクタ・コネクタ(FIc)および
    前記製品加工ユニット(CPU)、
    のうちの1つに配置されている、発泡製品分注システム。
  14. 前記ガス供給源は、前記フロー狭窄部(89)の上流にガス・バッファ・ボリューム(89b)を提供するように構成される、請求項13に記載の発泡製品分注システム。
  15. 求項1から14のいずれか一項に記載の発泡製品分注システムであって、
    記製品容器を交換可能に受容するように構成された交換可能なカプセル(SW)をさらに含み、
    記製品分注マシン(B)は、前記製品容器を含有している前記カプセル(SW)を交換可能に受容するように構成されており、前記カプセル(SW)は、加圧されるように前記製品分注マシン(B)と協働するように構成されており、
    前記製品分注マシン(B)は、前記製品分注マシン(B)に対する前記カプセル(SW)の位置および/または向きに応じて、前記カプセル(SW)の加圧を可能にするように構成されている、発泡製品分注システム。
  16. 前記製品分注マシン(B)は、前記製品分注マシン(B)に対する前記カプセル(SW)の前記位置および/または向きに応じて、解放位置から保持位置に可動である保持部材(RB)を備え、前記解放位置において、前記カプセル(SW)は、前記製品分注マシン(B)から解放可能であり、前記保持位置において、前記カプセル(SW)は、前記製品分注マシン(B)内に保持される、請求項15に記載の発泡製品分注システム。
  17. 前記製品分注マシン(B)は、前記保持部材(RB)が前記保持位置にあるときに、開位置から閉位置に可動であるドア(D2)を備え、前記解放位置において、前記保持部材(RB)は、前記開位置から前記閉位置への前記ドア(D2)の動きを実質的に遮断る、請求項16に記載の発泡製品分注システム。
JP2022551787A 2020-02-28 2021-02-26 発泡製品分注システム、バルブ部材、および製品容器 Active JP7645895B2 (ja)

Applications Claiming Priority (3)

Application Number Priority Date Filing Date Title
EP20160193 2020-02-28
EP20160193.7 2020-02-28
PCT/NL2021/050127 WO2021172989A1 (en) 2020-02-28 2021-02-26 A foamed product dispensing system, valve member, and product container

Publications (2)

Publication Number Publication Date
JP2023516012A JP2023516012A (ja) 2023-04-17
JP7645895B2 true JP7645895B2 (ja) 2025-03-14

Family

ID=69743002

Family Applications (1)

Application Number Title Priority Date Filing Date
JP2022551787A Active JP7645895B2 (ja) 2020-02-28 2021-02-26 発泡製品分注システム、バルブ部材、および製品容器

Country Status (6)

Country Link
US (1) US12274288B2 (ja)
EP (1) EP4110070A1 (ja)
JP (1) JP7645895B2 (ja)
KR (1) KR20220164472A (ja)
CN (1) CN115175569B (ja)
WO (1) WO2021172989A1 (ja)

Families Citing this family (1)

* Cited by examiner, † Cited by third party
Publication number Priority date Publication date Assignee Title
EP4498877A1 (en) * 2022-03-28 2025-02-05 FrieslandCampina Nederland B.V. A foamed product dispensing system, product container, and product dispensing method

Citations (3)

* Cited by examiner, † Cited by third party
Publication number Priority date Publication date Assignee Title
JP2015536708A (ja) 2012-10-29 2015-12-24 フリースランド ブランズ ベー.フェー. 使い捨てアセンブリ、泡立て食品生産物調製システムおよび方法
US20170273500A1 (en) 2014-09-19 2017-09-28 Frieslandcampina Nederland B.V. An eductor suitable for use in an assembly for preparing a liquid product, an assembly for preparing a liquid product and a system for preparing a liquid product
JP2018500889A (ja) 2014-12-04 2018-01-18 バイオエネルギー イタリア エス.アール.エル. 食用クリームを加工するための装置およびプロセス

Family Cites Families (22)

* Cited by examiner, † Cited by third party
Publication number Priority date Publication date Assignee Title
USRE23830E (en) * 1954-05-18 Dispensing mechanism with time
US1196510A (en) * 1915-09-13 1916-08-29 William E Blattau Bottle-closure.
US1862870A (en) * 1930-11-12 1932-06-14 James A Tiscornia Paste dispensing tube
US2099289A (en) * 1936-02-22 1937-11-16 Anderson Raymond Harvey Delivery or extrusion nozzle device
US3918616A (en) * 1974-04-30 1975-11-11 Harry Goldsmith Dispenser nozzle cover
US5464120A (en) * 1994-05-27 1995-11-07 Flurry International, Inc. Method and apparatus for frozen dessert dispensing
NL1012351C2 (nl) 1999-06-16 2000-12-19 Friesland Brands Bv Spuitbussysteem voor spuitroom.
TW432926U (en) * 2000-07-21 2001-05-01 Huang Shiue Fen Ice-cream blender
NL1024433C2 (nl) 2003-10-02 2005-04-05 Friesland Brands Bv Werkwijze voor het verkrijgen van een monodispers schuim alsmede product verkrijgbaar door een dergelijke werkwijze.
NL1024438C2 (nl) 2003-10-02 2005-04-05 Friesland Brands Bv Werkwijze en inrichting voor het vormen van gasbellen in een vloeibaar product.
US7261131B2 (en) * 2004-03-16 2007-08-28 Fluid Management, Inc. Articulated nozzle closure for fluid dispensers
EP1656863B1 (en) * 2004-11-11 2011-03-02 Nestec S.A. Self-cleaning mixing head for producing a milk-based mixture and beverage production machines comprising such a mixing head
ITBO20060816A1 (it) * 2006-11-30 2008-06-01 Ali Spa Macchina per la produzione sia di gelati, sia di frullati di gelato (shake).
US8360278B2 (en) * 2007-12-05 2013-01-29 Freeze King Pressure vessel, system and/or method for dispensing a comestible mixture
EP2070587B1 (en) * 2007-12-11 2013-05-29 Electrolux Home Products Corporation N.V. Refrigerator comprising a beverage dispenser, and method for dispensing a refrigerated beverage
NL2001349C2 (nl) * 2008-03-04 2009-09-07 Friesland Brands Bv Werkwijze en systeem om een product af te geven.
ITBS20110151A1 (it) * 2011-10-28 2013-04-29 Capitani Srl Macchina per la produzione e l'erogazione di una bevanda
US9565868B2 (en) * 2012-04-16 2017-02-14 Conopco, Inc. Apparatus and method for dispensing frozen confections
EP3017702B1 (en) * 2014-11-06 2017-12-13 ALI S.p.A. - CARPIGIANI GROUP Machine for making variegated ice cream or ice cream shake
EP3245877B1 (en) * 2016-05-18 2020-09-16 H. C. Duke & Son , Llc Integrated motor drive system for soft serve dispenser
US11019832B2 (en) * 2018-10-03 2021-06-01 Lingyu Dong Replaceable freezer cylinder of yogurt or ice cream machine
US12295400B2 (en) * 2019-03-29 2025-05-13 Frieslandcampina Nederland B.V. Foamed product dispensing system, and product container

Patent Citations (3)

* Cited by examiner, † Cited by third party
Publication number Priority date Publication date Assignee Title
JP2015536708A (ja) 2012-10-29 2015-12-24 フリースランド ブランズ ベー.フェー. 使い捨てアセンブリ、泡立て食品生産物調製システムおよび方法
US20170273500A1 (en) 2014-09-19 2017-09-28 Frieslandcampina Nederland B.V. An eductor suitable for use in an assembly for preparing a liquid product, an assembly for preparing a liquid product and a system for preparing a liquid product
JP2018500889A (ja) 2014-12-04 2018-01-18 バイオエネルギー イタリア エス.アール.エル. 食用クリームを加工するための装置およびプロセス

Also Published As

Publication number Publication date
US20230033650A1 (en) 2023-02-02
US12274288B2 (en) 2025-04-15
WO2021172989A1 (en) 2021-09-02
CN115175569A (zh) 2022-10-11
KR20220164472A (ko) 2022-12-13
CN115175569B (zh) 2024-09-06
JP2023516012A (ja) 2023-04-17
EP4110070A1 (en) 2023-01-04

Similar Documents

Publication Publication Date Title
JP7651469B2 (ja) 発泡生産物の分配システム、および生産物容器
DK3047735T3 (en) PROCEDURE AND SYSTEM FOR DISPENSING A PRODUCT
EP2268173B1 (en) Method and system for dispensing a product
CN108137220A (zh) 用于饮料的胶囊
BRPI1015962B1 (pt) equipamento de bocal de mistura, embalagem, dispositivo de dispensar e método de produzir uma bebida
CZ2005641A3 (cs) Zarízení pro cerpání kapaliny z obalu
US20240115080A1 (en) Foamed product dispensing system, product container, and product dispensing machine
JP2023505225A (ja) 飲料調製マシン用の流体処理デバイス
JP7645895B2 (ja) 発泡製品分注システム、バルブ部材、および製品容器
US12383094B2 (en) Product container including a product discharge device and method of use
KR102916214B1 (ko) 거품형 제품 디스펜싱 시스템 및 제품 용기
JP2023547906A (ja) 流動性食品を分注するための分注アセンブリ
CN118613195A (zh) 发泡产品分配系统、产品容器和产品分配方法

Legal Events

Date Code Title Description
A621 Written request for application examination

Free format text: JAPANESE INTERMEDIATE CODE: A621

Effective date: 20240131

A977 Report on retrieval

Free format text: JAPANESE INTERMEDIATE CODE: A971007

Effective date: 20240911

A131 Notification of reasons for refusal

Free format text: JAPANESE INTERMEDIATE CODE: A131

Effective date: 20241001

A521 Request for written amendment filed

Free format text: JAPANESE INTERMEDIATE CODE: A523

Effective date: 20241227

TRDD Decision of grant or rejection written
A01 Written decision to grant a patent or to grant a registration (utility model)

Free format text: JAPANESE INTERMEDIATE CODE: A01

Effective date: 20250225

A61 First payment of annual fees (during grant procedure)

Free format text: JAPANESE INTERMEDIATE CODE: A61

Effective date: 20250304

R150 Certificate of patent or registration of utility model

Ref document number: 7645895

Country of ref document: JP

Free format text: JAPANESE INTERMEDIATE CODE: R150