JP7620105B2 - 発光針を製造するための方法 - Google Patents

発光針を製造するための方法 Download PDF

Info

Publication number
JP7620105B2
JP7620105B2 JP2023534921A JP2023534921A JP7620105B2 JP 7620105 B2 JP7620105 B2 JP 7620105B2 JP 2023534921 A JP2023534921 A JP 2023534921A JP 2023534921 A JP2023534921 A JP 2023534921A JP 7620105 B2 JP7620105 B2 JP 7620105B2
Authority
JP
Japan
Prior art keywords
light
optical material
material layer
refractive index
layer
Prior art date
Legal status (The legal status is an assumption and is not a legal conclusion. Google has not performed a legal analysis and makes no representation as to the accuracy of the status listed.)
Active
Application number
JP2023534921A
Other languages
English (en)
Other versions
JPWO2022122199A5 (ja
JP2023553427A (ja
Inventor
トルトラ,ピエルパスクヮーレ
ブラッテル,セドリック
ゲルネ,シリル
Original Assignee
ザ・スウォッチ・グループ・リサーチ・アンド・ディベロップメント・リミテッド
Priority date (The priority date is an assumption and is not a legal conclusion. Google has not performed a legal analysis and makes no representation as to the accuracy of the date listed.)
Filing date
Publication date
Application filed by ザ・スウォッチ・グループ・リサーチ・アンド・ディベロップメント・リミテッド filed Critical ザ・スウォッチ・グループ・リサーチ・アンド・ディベロップメント・リミテッド
Publication of JP2023553427A publication Critical patent/JP2023553427A/ja
Publication of JPWO2022122199A5 publication Critical patent/JPWO2022122199A5/ja
Application granted granted Critical
Publication of JP7620105B2 publication Critical patent/JP7620105B2/ja
Active legal-status Critical Current
Anticipated expiration legal-status Critical

Links

Images

Classifications

    • GPHYSICS
    • G04HOROLOGY
    • G04BMECHANICALLY-DRIVEN CLOCKS OR WATCHES; MECHANICAL PARTS OF CLOCKS OR WATCHES IN GENERAL; TIME PIECES USING THE POSITION OF THE SUN, MOON OR STARS
    • G04B19/00Indicating the time by visual means
    • G04B19/04Hands; Discs with a single mark or the like
    • G04B19/042Construction and manufacture of the hands; arrangements for increasing reading accuracy
    • GPHYSICS
    • G04HOROLOGY
    • G04BMECHANICALLY-DRIVEN CLOCKS OR WATCHES; MECHANICAL PARTS OF CLOCKS OR WATCHES IN GENERAL; TIME PIECES USING THE POSITION OF THE SUN, MOON OR STARS
    • G04B19/00Indicating the time by visual means
    • G04B19/30Illumination of dials or hands
    • G04B19/32Illumination of dials or hands by luminescent substances
    • GPHYSICS
    • G04HOROLOGY
    • G04BMECHANICALLY-DRIVEN CLOCKS OR WATCHES; MECHANICAL PARTS OF CLOCKS OR WATCHES IN GENERAL; TIME PIECES USING THE POSITION OF THE SUN, MOON OR STARS
    • G04B45/00Time pieces of which the indicating means or cases provoke special effects, e.g. aesthetic effects
    • G04B45/0007Light-, colour-, line-, or spot-effects caused by parts or pictures moved by the clockwork

Landscapes

  • Physics & Mathematics (AREA)
  • General Physics & Mathematics (AREA)
  • Engineering & Computer Science (AREA)
  • Manufacturing & Machinery (AREA)
  • Illuminated Signs And Luminous Advertising (AREA)
  • Light Guides In General And Applications Therefor (AREA)
  • Details Of Measuring Devices (AREA)
  • Led Device Packages (AREA)

Description

本発明は、発光針の分野に関し、より詳細には、発光針の製造に関する。
時計ムーブメント用の針を作製するにはいくつかの方法がある。
それにも関わらず、これらの方法は発光針の製造には適していない。なぜなら、発光針は、光を少量しか返さなかったり、光の大部分を一点に集中させたりすることがあまりにも多く、必ずしも出願人によって求められる効果ではないからである。
実際、一部の製造方法では、光が発光針の1つの面でしか抽出されなかったり、または内側に反射されたりするため、発光針の輝度は低くなる。
本発明は、時計ムーブメント用の、好ましくは腕時計用の少なくとも1つの発光針を製造するための方法のおかげで、前述した欠点のすべてまたは一部を解決することを目的としており、前記製造方法は少なくとも1つ、
少なくとも1つの支持体を準備することであって、前記少なくとも1つの支持体は少なくとも1つの光ガイドを備えており、前記少なくとも1つの光ガイドは少なくとも1つの出射面を備えており、光を導くように構成されている、準備することと、
前記少なくとも1つの出射面を構造化することとを含んでいる。
この構成のおかげで、配光を有する時計ムーブメント用の発光針を製造することが可能である。
1つの実施形態によれば、前記少なくとも1つの構造化は、研磨によって、アブレーションによって、サンドブラストによって、スタンピングおよび/または光での構築によって実行される。
この構成のおかげで、前記少なくとも1つの出射面を増やすことによって、光を分配することが可能である。
1つの実施形態によれば、少なくとも1つの支持体の前記少なくとも1つの準備は、少なくとも1つの第1の光学物質層の堆積を含んでおり、前記少なくとも1つの第1の光学物質層は、第1の屈折率を有している。
1つの実施形態によれば、前記少なくとも1つの第1の光学物質層の前記堆積は、熱処理ステップを含んでいる。
これら前述した構成のうちの何れかのおかげで、反射層を有する発光針を製造することが可能である。
1つの実施形態によれば、少なくとも1つの支持体の前記少なくとも1つの準備は、少なくとも1つの発光物質層の少なくとも1つの堆積を含んでいる。
この構成のおかげで、発光針を製造することが可能である。
1つの実施形態によれば、少なくとも1つの支持体の前記少なくとも1つの準備は、少なくとも1つの第2の光学物質層の堆積を含んでおり、前記少なくとも1つの第2の光学物質層は、第2の屈折率を有している。
1つの実施形態によれば、前記第1の屈折率は、前記第2の屈折率よりも低い。
この構成のおかげで、光を前記少なくとも1つの出射面に向かって屈折させることが可能である。
本発明は、少なくとも1つ、
支持体であって、前記少なくとも1つの支持体は、針を形成するように構成されている、支持体と、
光ガイドであって、前記少なくとも1つの光ガイドは、前記少なくとも1つの光ガイドから光を抽出するために、粗く構成された少なくとも1つの出射面を備えている、光ガイドと、を備えている少なくとも1つの発光針によって、前述した欠点のすべてまたは一部を解決することを目的としている。
この構成のおかげで、前記少なくとも1つの出射面から、最大の光を抽出できる少なくとも1つの発光針を有することが可能である。
1つの実施形態によれば、前記少なくとも1つの光ガイドは、第1の屈折率を有している少なくとも1つの第1の光学物質層と、第2の屈折率を有している少なくとも1つの第2の光学物質層とを備えており、前記第1の屈折率は、前記第2の屈折率よりも低い。
この構成のおかげで、前記少なくとも1つの出射面に向かって光を導くことが可能である。
本発明は、決して限定するものではない例として与えられる添付の図面を使用して、以下に、より詳細に説明される。
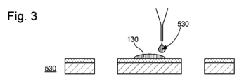
図1は、1つの実施形態による、少なくとも1つの支持体110の準備510後の、少なくとも1つの第1の光学物質層120の堆積520を示す図である。 図2は、1つの実施形態による熱処理ステップ525を示す図である。 図3は、1つの実施形態による少なくとも1つの発光物質層130の堆積530を示す図である。 図4は、1つの実施形態による少なくとも1つの第2の光学物質層140の堆積540を示す図である。 図5は、1つの実施形態による少なくとも1つの第2の光学物質層140の形成550を示す図である。 図6は、1つの実施形態による前記少なくとも1つの出射面190を構築するステップ560を示す図である。 図7は、少なくとも1つの発光針100の切欠き570を示す図である。 図8は、1つの実施形態による動作中の前記少なくとも1つの発光針100を示す図である。
いくつかのタイプの発光針が市販されている。それにも関わらず、出願人は、新世代の発光針を提案する。
実際、出願人は、図8に見られるように、針を形成するように構成された少なくとも1つの支持体110と、少なくとも1つの光ガイド150から光910を抽出するために、粗く構成された少なくとも1つの出射面190を備えている前記少なくとも1つの光ガイド150とを備えている、少なくとも1つの発光針100を提案する。
前記少なくとも1つの発光針100は、時計ムーブメントにおいて、好ましくは腕時計のために使用されることを意図されており、出願人の製造方法500のおかげで取得され得る。この目的のために、前記製造方法は、図1に示すように、少なくとも1つの支持体110、好ましくは金属板110の少なくとも1つの準備510を含んでいる。
前記少なくとも1つの支持体110は、堆積520中に、少なくとも1つの第1の光学物質層120、好ましくは、第1の屈折率を有する少なくとも1つの光学絶縁層を受け取り、その後決定された温度521における熱処理525を経て、光が前記金属板110によって吸収されることを防止することを可能にする。前記少なくとも1つの第1の光学物質層120の前記堆積520の前に、前記金属板110または前記少なくとも1つの支持体110は、洗浄されるか、または洗浄後、前記少なくとも1つの第1の光学物質層120の接着を促進するためにプラズマ処理が適用され得る。この場合、前記少なくとも1つの第1の光学物質層120は、たとえば、POLYRISETM社によって商品化されている樹脂であってもよく、前記少なくとも1つの支持体110の表面を光学的に分離して、光の吸収をできるだけ少なくすることが目的とされている。この光学的分離は、1.60、特に1.45、好ましくは1.35を超えることがない前記第1の屈折率のおかげで可能となる。
前記少なくとも1つの第1の光学物質層120は、たとえば印刷またはスプレーによって堆積され得る。なぜなら、スプレーは、前記少なくとも1つの第1の光学物質層120を有用な部分上に選択的に堆積させ、無駄を回避することを可能にするからである。
前述したように、前記少なくとも1つの第1の光学物質層120は、前記少なくとも1つの第1の光学物質層120の溶媒が蒸発できるように、たとえば窒素下で300℃で1時間、前記熱処理525を受け、これは図2で確認することができる。
図3に示すように、少なくとも1つの発光物質層130の少なくとも1つの堆積530は、前記少なくとも1つの支持体110上、好ましくは前記少なくとも1つの第1の光学物質層120上で実行され得る。前記少なくとも1つの発光物質層130は、好ましくは蛍光顔料と、重合による取り付けを可能にする接着剤とを含み、前記少なくとも1つの発光物質層130が、たとえば、530nm未満の波長範囲を有する光源によって照明されるときに、前記少なくとも1つの発光針100を照明するように意図されている。
実際、蛍光顔料は、二次蛍光の光源となる可能性がある。腕時計では、蛍光顔料は、たとえば青色または紫外光の光源によって遠隔から励起することができる。スクリーン印刷またはデジタル印刷などの他の技法が、前記少なくとも1つの発光物質層130の前記少なくとも1つの堆積530に使用できることに留意されたい。
その後、たとえばMICRORESIST TECHNOLOGYTM社のORMOCLEAR(登録商標)10樹脂タイプの第2の光学物質140の少なくとも一層の接着を促進するために、数分間のUVプラズマ処理が行われるが、これは、ロッドコーティングによって、またはたとえば、図4に示されるように、スプレッドコーティングと言い換えることができるドクターブレードタイプの堆積540によって行われる。
さらに図4を参照して示すように、前記少なくとも1つの第2の光学物質層140が、ブレードによって押されて、存在する可能性のある様々なキャビティを充填できることが観察できる。
前記少なくとも1つの第2の光学物質層140は、前記少なくとも1つの発光物質層130によって放射される蛍光を導くために、前記第1の屈折率よりも大きな第2の屈折率を有していることに留意されたい。
図5に見られるように、前記少なくとも1つの第2の光学物質層140は、真空551下における紫外光552の照射によって固定され得る。あるいは、紫外光下での照射前に空気を追い出すために、プラスチックフィルムをラミネートすることも可能であり得る。
実際、前記少なくとも1つの第2の光学物質層140の下面は、前記少なくとも1つの発光物質層130との光学的接触を確立するために、光源900の反対側に蛍光物質の1つまたは複数の堆積物を含んでおり、前述したように、少なくとも1つの発光物質層130は、接着剤に含有された蛍光顔料で形成することができる。あるいは、蛍光物質を、導光層に埋め込んでもよい。
動作中、光源900は、前記少なくとも1つの発光物質層130によって再び放射される波長よりも短い波長を有する、前記少なくとも1つの発光物質層130を照明する。前記少なくとも1つの発光物質層130は、特に、前記少なくとも1つの第2の光学物質層140において、この入射光を吸収し、再び放射910する。前記少なくとも1つの第1の光学物質層120の存在により、前記少なくとも1つの第2の光学物質層140内を伝播する蛍光の内部全反射が可能になり、したがって、前記少なくとも1つの支持体110内での漸進的な吸収が回避される。
前記少なくとも1つの支持体110と前記少なくとも1つの第2の光学物質層140との間の屈折率の差は、0.5から0.9、好ましくは0.55から0.8、より好ましくは0.6から0.75の範囲内に含まれており、蛍光の結合を最大化するために、臨界角の値、したがって、前記少なくとも1つの第2の光学物質層140の開口数を増加させることが可能となる。前記少なくとも1つの第1の光学物質層120の存在により、ひとたび光が結合された後は、前記少なくとも1つの第2の光学物質層140における無損失の透過が可能になり、前記少なくとも1つの第1の光学物質層120の屈折率が、結合される光の量に影響を与えることに留意されたい。前記少なくとも1つの第1の光学物質層120は、2μmから15μm、好ましくは3μmから12μm、さらにより好ましくは5μmから10μmの範囲内の厚さを有することができる。前記少なくとも1つの第2の光学物質層140における多数の全反射は、光束が外側に伝達される前記少なくとも1つの発光針100の一端に到達するまで続く。
最後に、図6に概略的に示される、前記少なくとも1つの出射面190を構造化するステップ560は、前記少なくとも1つの出射面190を、および/または、たとえば、再屈折して光の大部分が一点に集中することになる全体的にまたは部分的に逃げる光910を、増加させるために、研磨565によって、アブレーション565によって、サンドブラスト565によって、スタンピング565および/または光での構築565によって実行され得る。実際、表面構造は、つまり前記少なくとも1つの第2の光学物質層140の前記少なくとも1つの出射面190上に、粗さを誘発するために局所的に剥離され得る前記少なくとも1つの第2の光学物質層140の物質のために設けられ得、これによって、第2の光学物質層140からの光910の抽出が容易になる。
それに加えて、樹脂の堆積によって作製することができる光拡散領域を、前記少なくとも1つの発光針100に追加して、発光針100は、光束の漏れを容易にするために、および、前記先端に装飾パターンを得るために、前記少なくとも1つの支持体110を越えて延在させる、すなわち、前記少なくとも1つの支持体110から突出させる。図示されていない実施形態によれば、前記少なくとも1つの発光針100の先端だけでなく、前記少なくとも1つの発光針100の縁部、および場合によっては頭部も、前記少なくとも1つの出射面190を構成する。
前記少なくとも1つの発光針100を切断するステップ570は、たとえばレーザ571によって実行されることが好ましい。なぜなら、レーザ571は、前記少なくとも1つの第1の光学物質層120と、少なくとも1つの第2の光学物質層140とから構成される、前記少なくとも1つの光ガイド150を溶融し、前記少なくとも1つの光ガイド150の内側に向かって光910を反射させることを可能にする、図7の研磨された表面状態を生成することができるためである。
図8の例では、前記少なくとも1つの発光針100の輪郭を照明するために、前記少なくとも1つの出射面190は、前記少なくとも1つの発光針100の周面に対応する。実際、前記少なくとも1つの発光物質層130が、330nmと560nmとの間に含まれる波長を有する前記光源900に曝されると、前記少なくとも1つの発光物質層130は、前記少なくとも1つの光ガイド150の前記少なくとも1つの出射面190を介して抽出される前記光910を生成する。もちろん、たとえば、回転軸の近くまたは回転軸から離れた場所など、検討中の製品に適した場所に光源LEDを配置し、前記光源900の光束を、適切な場所に移動させて、前記少なくとも1つの発光針100の蛍光物質を励起させることを可能にする光カプラを追加することも可能である。したがって、従来技術とは異なり、前記光源900は、前記少なくとも1つの発光針100上に配置されない。

Claims (7)

  1. 時計ムーブメント用の、なくとも1つの発光針(100)の製造方法(500)であって、前記製造方法(500)は
    前記発光針(100)を支持する少なくとも1つの支持体(110)を準備すること(510)と、
    少なくとも1つの出射面(190)を備えており、光(910)を導くように構成されている光ガイド(150)を、この少なくとも1つの支持体(110)上に形成することとを含み、この形成ステップは、以下のサブステップ、すなわち、
    第1の屈折率を有しており、前記光が前記支持体(110)によって吸収されることを防止することができる、少なくとも1つの第1の光学物質層(120)の、前記支持体(110)上の堆積(520)と、
    少なくとも1つの発光物質層(130)の、少なくとも1つの前記第1の光学物質層(120)上の堆積(530)と、
    少なくとも1つの第2の光学物質層(140)の堆積(540)であって、少なくとも1つの前記第2の光学物質層(140)は、第2の屈折率を有している、堆積(540)と、
    少なくとも1つの前記光ガイド(150)から前記光(910)を抽出するために、この出射面(190)が粗くなるように、少なくとも1つの前記出射面(190)を構すること(560)とを含んでいる、製造方法(500)。
  2. 少なくとも1つの前記構(560)は、研磨(565)によって、アブレーション(565)によって、サンドブラスト(565)によって、スタンピング(565)および/または光での構築(565)によって実行される、請求項1に記載の製造方法(500)。
  3. 少なくとも1つの前記第1の光学物質層(120)の前記堆積(520)は、熱処理ステップ(525)を含んでいる、請求項1に記載の製造方法(500)。
  4. 少なくとも1つの前記発光物質層(130)の少なくとも1つの前記堆積(530)は、発光顔料(130)を含んでいる、請求項1から請求項3のいずれか一項に記載の製造方法(500)。
  5. 前記第1の屈折率は、前記第2の屈折率よりも低い、請求項1に記載の製造方法(500)。
  6. 時計ムーブメント用の発光針(100)であって
    前記発光針を支持する支持体(110)と、
    光ガイド(150)であって、少なくとも1つの前記光ガイド(150)は、少なくとも、
    第1の屈折率を有しており、光が前記支持体(110)によって吸収されるのを防止することができる、第1の光学物質層(120)と、
    少なくとも1つの前記第1の光学物質層(120)上の発光物質層(130)と、
    第2の屈折率を有しており、少なくとも1つの前記光ガイド(150)から前記光(910)を抽出するために、粗く構成されている出射面(190)を備えた第2の光学物質層(140)とを備えている、光ガイド(150)とを備えている、発光針(100)。
  7. 前記第1の屈折率は、前記第2の屈折率よりも低い、請求項6に記載の発光針(100)。
JP2023534921A 2020-12-11 2021-09-02 発光針を製造するための方法 Active JP7620105B2 (ja)

Applications Claiming Priority (3)

Application Number Priority Date Filing Date Title
EP20213515.8 2020-12-11
EP20213515 2020-12-11
PCT/EP2021/074292 WO2022122199A1 (fr) 2020-12-11 2021-09-02 Procédé de fabrication d'aiguilles luminescentes

Publications (3)

Publication Number Publication Date
JP2023553427A JP2023553427A (ja) 2023-12-21
JPWO2022122199A5 JPWO2022122199A5 (ja) 2024-10-24
JP7620105B2 true JP7620105B2 (ja) 2025-01-22

Family

ID=73834343

Family Applications (1)

Application Number Title Priority Date Filing Date
JP2023534921A Active JP7620105B2 (ja) 2020-12-11 2021-09-02 発光針を製造するための方法

Country Status (5)

Country Link
US (1) US12468260B2 (ja)
EP (1) EP4260145B1 (ja)
JP (1) JP7620105B2 (ja)
CN (1) CN116601568A (ja)
WO (1) WO2022122199A1 (ja)

Families Citing this family (1)

* Cited by examiner, † Cited by third party
Publication number Priority date Publication date Assignee Title
EP4478131A1 (fr) 2023-06-12 2024-12-18 The Swatch Group Research and Development Ltd Procédé de fabrication d'aiguilles lumineuses par réplication de micro-structures

Citations (4)

* Cited by examiner, † Cited by third party
Publication number Priority date Publication date Assignee Title
JP2007278736A (ja) 2006-04-03 2007-10-25 Jeco Co Ltd 表示装置
JP2015225079A (ja) 2014-05-27 2015-12-14 ザ・スウォッチ・グループ・リサーチ・アンド・ディベロップメント・リミテッド 携帯時計または測定器のような携帯物のための発光表示針のセット
JP2018197724A (ja) 2017-05-24 2018-12-13 株式会社デンソー 車両用表示装置
EP3502792A1 (fr) 2017-12-19 2019-06-26 The Swatch Group Research and Development Ltd Aiguille electroluminescente, et ensemble a jeu d'aiguilles electroluminescentes

Family Cites Families (9)

* Cited by examiner, † Cited by third party
Publication number Priority date Publication date Assignee Title
GB421809A (en) 1933-04-01 1935-01-01 Richard Oldham Improvements in fuel injection pumps
FR2673527B1 (fr) 1991-03-07 1997-04-11 Proteor Sa Corset formant siege pour handicape physique, notamment pour enfant.
JPH1026670A (ja) * 1996-07-12 1998-01-27 Casio Comput Co Ltd 発光装置及び発光装置を備えた時計
FR2757939B3 (fr) 1996-12-30 1999-01-08 Gemplus Sca Gabarit pour le controle geometrique de cartes a memoire
JPH1195698A (ja) * 1997-09-19 1999-04-09 Casio Comput Co Ltd 発光装置、時計、電子機器、発光装置の製造方法
DE50214107D1 (de) * 2001-11-12 2010-01-28 Eterna Ag Uhrenfabrik Anzeigevorrichtung für eine armbanduhr
JP4481564B2 (ja) * 2001-12-13 2010-06-16 アスラブ・エス アー 特に時計の発光針およびそれを備えた表示装置
GB2421809A (en) * 2004-12-29 2006-07-05 Stanley Kuo Electric Power Supply Mechanism on Spinning Indicators such as hands for timepieces.
CH706262A2 (de) * 2012-03-21 2013-09-30 Dr Daniel Rytz Zeiger für Uhren oder Messgeräte mit Wellenleitern und Auskopplerstrukturen.

Patent Citations (4)

* Cited by examiner, † Cited by third party
Publication number Priority date Publication date Assignee Title
JP2007278736A (ja) 2006-04-03 2007-10-25 Jeco Co Ltd 表示装置
JP2015225079A (ja) 2014-05-27 2015-12-14 ザ・スウォッチ・グループ・リサーチ・アンド・ディベロップメント・リミテッド 携帯時計または測定器のような携帯物のための発光表示針のセット
JP2018197724A (ja) 2017-05-24 2018-12-13 株式会社デンソー 車両用表示装置
EP3502792A1 (fr) 2017-12-19 2019-06-26 The Swatch Group Research and Development Ltd Aiguille electroluminescente, et ensemble a jeu d'aiguilles electroluminescentes

Also Published As

Publication number Publication date
CN116601568A (zh) 2023-08-15
EP4260145A1 (fr) 2023-10-18
WO2022122199A1 (fr) 2022-06-16
US20230418226A1 (en) 2023-12-28
EP4260145B1 (fr) 2024-10-30
US12468260B2 (en) 2025-11-11
JP2023553427A (ja) 2023-12-21

Similar Documents

Publication Publication Date Title
CN101320104B (zh) 光学元件及制造方法、形成光学元件的复制基板及制造方法
JP5905895B2 (ja) 照明付きガラス−セラミック物品
US9383496B2 (en) Edge lit lighting assembly with spectrum adjuster
JP6313333B2 (ja) 微細構造化ファセット近位面を有するマルチスポットレーザプローブ
JP7620105B2 (ja) 発光針を製造するための方法
CN108885284B (zh) 光学体以及发光装置
JP2012517620A (ja) レーザ反射型マスク及びその製造方法
KR20020065893A (ko) 구형 패턴을 가지는 유기발광 다이오드
KR20100110389A (ko) 광학 소자 및 그 제조 방법
JP7152459B2 (ja) アナログ表示デバイスのための移動表示器
JP5081443B2 (ja) 光学素子およびその製造方法、ならびに光学素子作製用複製基板およびその製造方法
US20080198469A1 (en) Optical window member
TW201418803A (zh) 導光板結構及其導光板製造方法
JP2014068019A (ja) レーザ反射型マスクの製造方法
JP2005055796A (ja) 反射防止部材を設けた光コネクタ及びその形成方法
TWI854017B (zh) 減少鐳射散斑的反射漫射器和包括該漫射器的反射發光輪
KR101391003B1 (ko) 레이저 반사형 마스크 제조방법
US20070070648A1 (en) Light guide panel for a back light unit, and method of manufacturing the light guide panel
WO2020085288A1 (ja) 原盤、原盤の製造方法及び転写物の製造方法
CH718150A2 (fr) Procédé de fabrication d'aiguilles luminescentes.
JP3762620B2 (ja) 回転楕円体基盤表面への薄膜の形成方法
JP7771255B2 (ja) 微細構造を介した光結合を用いた発光時計表示
JP2003004990A (ja) 光導波路の形成方法
JPWO2002021572A1 (ja) 薄膜の製造方法、及びその薄膜を有する電球
CN118648108A (zh) 半导体器件和用于转移半导体器件的方法

Legal Events

Date Code Title Description
A521 Request for written amendment filed

Free format text: JAPANESE INTERMEDIATE CODE: A523

Effective date: 20230608

A621 Written request for application examination

Free format text: JAPANESE INTERMEDIATE CODE: A621

Effective date: 20230608

A977 Report on retrieval

Free format text: JAPANESE INTERMEDIATE CODE: A971007

Effective date: 20240625

A131 Notification of reasons for refusal

Free format text: JAPANESE INTERMEDIATE CODE: A131

Effective date: 20240716

A524 Written submission of copy of amendment under article 19 pct

Free format text: JAPANESE INTERMEDIATE CODE: A524

Effective date: 20241016

TRDD Decision of grant or rejection written
A01 Written decision to grant a patent or to grant a registration (utility model)

Free format text: JAPANESE INTERMEDIATE CODE: A01

Effective date: 20250107

A61 First payment of annual fees (during grant procedure)

Free format text: JAPANESE INTERMEDIATE CODE: A61

Effective date: 20250109

R150 Certificate of patent or registration of utility model

Ref document number: 7620105

Country of ref document: JP

Free format text: JAPANESE INTERMEDIATE CODE: R150