JP7593733B2 - 静止誘導機器用ギャップ付鉄心 - Google Patents

静止誘導機器用ギャップ付鉄心 Download PDF

Info

Publication number
JP7593733B2
JP7593733B2 JP2018230808A JP2018230808A JP7593733B2 JP 7593733 B2 JP7593733 B2 JP 7593733B2 JP 2018230808 A JP2018230808 A JP 2018230808A JP 2018230808 A JP2018230808 A JP 2018230808A JP 7593733 B2 JP7593733 B2 JP 7593733B2
Authority
JP
Japan
Prior art keywords
leg
gap
legs
upper yoke
yoke portion
Prior art date
Legal status (The legal status is an assumption and is not a legal conclusion. Google has not performed a legal analysis and makes no representation as to the accuracy of the status listed.)
Active
Application number
JP2018230808A
Other languages
English (en)
Other versions
JP2020096008A (ja
Inventor
英二 霜村
洋輔 高井
博 後藤
Current Assignee (The listed assignees may be inaccurate. Google has not performed a legal analysis and makes no representation or warranty as to the accuracy of the list.)
Toshiba Industrial Products and Systems Corp
Original Assignee
Toshiba Industrial Products and Systems Corp
Priority date (The priority date is an assumption and is not a legal conclusion. Google has not performed a legal analysis and makes no representation as to the accuracy of the date listed.)
Filing date
Publication date
Application filed by Toshiba Industrial Products and Systems Corp filed Critical Toshiba Industrial Products and Systems Corp
Priority to JP2018230808A priority Critical patent/JP7593733B2/ja
Publication of JP2020096008A publication Critical patent/JP2020096008A/ja
Application granted granted Critical
Publication of JP7593733B2 publication Critical patent/JP7593733B2/ja
Active legal-status Critical Current
Anticipated expiration legal-status Critical

Links

Images

Landscapes

  • Manufacturing Cores, Coils, And Magnets (AREA)

Description

本発明の実施形態は、静止誘導機器用ギャップ付鉄心に関する。
静止誘導機器、例えば半導体電力変換装置に用いられる三相用の変圧器の鉄心においては、各相の巻線が夫々巻装される3本の脚部と、それらを上下に繋ぐように設けられる上下部の継鉄部とを備えて構成される。これら各脚部及び継鉄部は、電磁鋼板を複数枚積層して構成される。また、各脚部の上端部と、上部継鉄部の下面との間には、ギャップが設けられ、そのギャップ部分に非磁性材からなる絶縁物が配置されることにより、磁気飽和特性の改善等が図られるようになっている。
特開平6-283351号公報
上記のようなギャップ付の変圧器においては、ギャップ部分を挟んで、鉄心の脚部の上端部と上部継鉄部との間で拡がるように空間に漏れる漏れ磁束が生ずる。ところが、その漏れ磁束の拡がりは、3本の脚部のうち、中央部の脚部において、左右の脚部よりも大きくなるといった分布のばらつきがある。そのような漏れ磁束の分布のばらつきにより、各相のコイルインピーダンスが変るため、変圧器の特性変動をきたす虞がある。この場合、ギャップの位置を脚部のより下方にずらせることも考えられるが、ギャップが巻線の内側に隠れると製造工程が複雑になる、鉄心の自重等によりギャップの幅が均一化できなくなる、漏れ磁束によって巻線や他の構造部材の局部加熱等の影響を与える等の不具合があり、ギャップは脚部の上部に設けることが好ましい。
そこで、脚部の上端部にギャップを設けたものにあって、各相における漏れ磁束の分布のばらつきを抑えることができる静止誘導機器用ギャップ付鉄心を提供する。
実施形態に係る静止誘導機器用ギャップ付鉄心は、巻線が巻装される複数本の脚部と、それら複数本の脚部が接合される上部及び下部の継鉄部とを備えると共に、前記各脚部の上端部と前記上部継鉄部との突合せ接合部分にギャップが設けられ、前記各脚部の上端部の側面は、前記ギャップに向けて幅狭となる傾斜面状に構成されている
第1の実施形態を示すもので、変圧器の構成を概略的に示す斜視図 変圧器の上部を示す正面図 各種寸法の庇部における励磁電流の変動率を調べた試験結果を示す図 庇部の脚部側面からの長さ寸法Sを説明するための上部継鉄部の右端部の正面図(a)、平面図(b)、上部継鉄部を取除いた平面図(c) 庇部の各種寸法a~dを説明するための上部継鉄部の右端部の正面図(a)及び平面図(b) 第2の実施形態を示すもので、変圧器の構成を概略的に示す正面図 第3の実施形態を示すもので、変圧器の構成を概略的に示す正面図 第4の実施形態を示すもので、変圧器の構成を概略的に示す正面図 1つの脚部の上端部分の斜視図 第5の実施形態を示すもので、変圧器の構成を概略的に示す斜視図 変圧器の側面図 1つの脚部の平面図 第6の実施形態を示すもので、変圧器の構成を概略的に示す斜視図 変圧器の正面図 上部部分の側面図
以下、例えばパワーエレクトロニクス用の三相用変圧器に適用したいくつかの実施形態について、図面を参照しながら説明する。尚、複数の実施形態間で、同一部分には同一符号を付して、繰り返しの説明を省略する。
(1)第1の実施形態
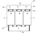
第1の実施形態について、図1から図5を参照して説明する。図1は、本実施形態の静止誘導機器としての三相用の変圧器1の要部構成を概略的に示している。この変圧器1は、本実施形態に係るギャップ付鉄心2(以下単に「鉄心2」という)に、3個の巻線3を装着して構成される。
前記鉄心2は、図で左右方向に延びる上部継鉄部4及び下部継鉄部5を備えると共に、それら継鉄部4、5間を上下に繋ぐ3本の脚部6を備えている。これら継鉄部4、5及び各脚部6は、例えばケイ素鋼板からなる電磁鋼板を、図で前後方向(厚み方向)に複数枚積層して構成される。それら継鉄部4、5と各脚部6とが突合せ接合されることにより、鉄心2全体が構成される。尚、下部継鉄部5と3個の脚部6とを一体に設ける、つまり、E字状の電磁鋼板を積層する構成としても良い。また、前記電磁鋼板としては、例えば方向性電磁鋼板が用いられる。
このとき、前記各脚部6は、図4(c)に一部示すように、上面から見てほぼ八角形をなすように、前後左右の縁部がいわゆる面取りされた形態に構成されている。具体的には、図4(c)に一部示すように、前後方向(積層方向)にほぼ等分の厚みの3つの部分からなり、そのうち中央部においては、同等の幅寸法の電磁鋼板が積層されている。厚み方向の前部においては、前方に向けて段階的に幅狭になる形態で電磁鋼板が積層され、後部においては、後方に向けて段階的に幅狭になる形態で電磁鋼板が積層されている。
前記巻線3は、詳しく図示はしないが、低圧側である内周側巻線3aと、高圧側である外周側巻線3bを有して構成されている。図1に示すように、三相分(3個)の巻線3が、前記各脚部6の外周に巻装されている。この場合、前記各脚部6の前後左右の縁部がいわゆる面取りされた形態とされることにより、各脚部6の外形が円形に近い形態となり、巻線3を巻装した際の巻線3の内周面と脚部6との間の隙間が小さくなるよう構成されている。
さて、本実施形態の鉄心2においては、図1、図2に示すように、前記各脚部6の上端部と前記上部継鉄部4の下面との突合せ接合部分に、ギャップ7が形成されている。このギャップ7は、前記巻線3の上端部から露呈した上方部に位置している。図示はしないが、このギャップ7部分には、例えば所定厚みの絶縁紙等の非磁性材料からなる絶縁物が挿入されている。そして、前記上部継鉄部4の両端部には、両端に位置する前記脚部6よりも側方にはみ出す庇部8、8が一体に設けられている。
本実施形態では、前記庇部8、8は、上部継鉄部4と同じ断面、即ち同じ厚み及び高さ寸法で、図で左右両側に延長するように設けられている。このとき、図4、図5は、右側の庇部8を代表させて示しており、庇部8の、脚部延長6の側面からの突出長さ寸法Sは、平面視で少なくとも前記内周側巻線3aに掛かる程度に延び、これと共に、平面視で少なくとも前記外周側巻線3bの外周縁部を越えない程度に延びている。左側の庇部8も、右側と左右対称的に設けられている。
次に、上記構成の作用・効果について、図3~図5も参照して述べる。上記構成の変圧器1においては、鉄心2の各脚部6の上端部と上部継鉄部4との間にギャップ7が設けられているので、そのギャップ7部分を挟んで、脚部6の上端部と上部継鉄部4との間で拡がるように空間に漏れる漏れ磁束が生ずる。この場合、3本の脚部6間で、漏れ磁束の分布のばらつきが生じていると、巻線3に鎖交する磁束が相違することにより、各相のコイルインピーダンスが変り、変圧器1の特性変動をきたす虞がある。
ところが、本実施形態では、上部継鉄部4の両端部に、両端に位置する脚部6よりも側方にはみ出す庇部8を設ける構成とした。これにより、左右両端に位置する脚部6、6と、中央部に位置する脚部6とが、ギャップ7を挟んで上部継鉄部4と向き合う形態、つまり上部継鉄部4との位置関係や形状を、全ての脚部6で同等とすることができる。その結果、ギャップ7部分で空間に拡がる漏れ磁束が生ずる事情があっても、漏れ磁束の分布状態.つまり脚部6と上部継鉄部4との間で空間を渡る形態は、各脚部6つまり各相において均等となり、漏れ磁束の分布のばらつきに起因した不具合の発生を未然に防止することができる。
また、本発明者らは、庇部8を設けるに際し、脚部6の側面からどの程度の長さ側方延ばすようにすれば、励磁電流の変動が抑えられるかを調べる試験を行った。その試験結果を、図3に示す。ここでは、庇部8の脚部6側面からの延長長さ寸法をSとし、図5にも示すように、長さSの値が、-10mm、0mm、a(40)mm、b(85)mm、c(130)mm、d(175)mmの、6つの試料について、励磁電流の最大変動率を調べた。図3の試験結果は、横軸を脚部6の側面からの距離(mm)とし、縦軸を励磁電流の最大変動率として示している。
この結果から、寸法Sの値が-10mm、0mmの場合、即ち、庇部8を設けない場合には、励磁電流の最大変動率は比較的大きいものとなっていた。これに対し、aの脚部6側面から40mm程度、即ち平面視で内周側巻線3aに掛かる程度の長さの庇部8では、励磁電流の最大変動率を比較的小さくすることができた。同様に、b、cについても同等の試験結果が得られた。更に、平面視で外周側巻線3bの外周端部を越えるまで長くしたdについても、効果としてはそれより短いものとさほど変わらないものとなった。
このように本実施形態の鉄心2によれば、脚部6の上端部にギャップ7を設けたものにあって、上部継鉄4部の両端部に庇部8を設けたので、各相における漏れ磁束の分布のばらつきを抑えることができるという優れた効果を得ることができる。特に本実施形態では、庇部8の長さを、平面視で少なくとも内周側巻線3aに掛かる程度としたので、ギャップ7における漏れ磁束の分布状態を均等化するに十分な効果を得ることができる。更に本実施形態では、庇部8の長さを、外周側巻線3bを越えない程度とすることにより、庇部8を徒に大型化することなく、十分な効果を得ることができる。
(2)第2の実施形態
図6は、第2の実施形態に係る変圧器11を示している。この変圧器11の鉄心12は、やはり積層鉄心からなり、上部継鉄部14及び下部継鉄部15を備えると共に、それら継鉄部14、15間を上下に繋ぐ3本の脚部16を備えている。このとき、各脚部16の上部には、前記上部継鉄部14に脚部16の上端部の一部16aが接合された状態で、その下方にギャップ17が設けられている。尚、上部継鉄部14の両端部は、庇部が設けられておらず、平面視にて、脚部16の側面にほぼ一致している。
この第2の実施形態においては、ギャップ17の位置が、上部継鉄部14の下面の真下でなく、それよりやや下方となる。そのため、脚部16の途中にギャップ17が存在する形態となり、漏れ磁束が流れる際の上部継鉄部14までの高さ方向の距離が遠くなる。この結果、全ての脚部16において、漏れ磁束は、ギャップ17を挟んだ両側間で空間を膨らんで流れるように分布し、漏れ磁束の分布は各脚部で均等となる。従って、本実施例によっても、脚部16の上端部にギャップ17を設けたものにあって、各相における漏れ磁束の分布のばらつきを抑えることができるという効果を得ることができる。
(3)第3の実施形態
図7は、第3の実施形態に係る変圧器21を示している。この変圧器21の鉄心22は、やはり積層鉄心からなり、上部継鉄部24及び下部継鉄部25を備えると共に、それら継鉄部24、25間を上下に繋ぐ3本の脚部26を備えている。各脚部26の上端面と上部継鉄部24の下面との間に、ギャップ27が設けられている。このとき本実施形態では、各脚部26のうち、ギャップ27の下部に位置する一部分26aに関しては、圧延方向を上下方向とした方向性電磁鋼板が用いられている。そして、鉄心22のそれ以外の部分では、無方向性の電磁鋼板が用いられている。尚、上部継鉄部24の両端部は、庇部が設けられておらず、平面視にて、脚部26の側面にほぼ一致している。
この第3の実施形態においては、脚部26のうちギャップ27の下部の一部分26aでは、上下方向に磁束が流れやすくなり、空間に拡がる方向に漏れ磁束が発生しにくくなる。従って、本実施形態によれば、漏れ磁束の発生自体を抑制することができ、脚部26の上端部にギャップ27を設けたものにあって、各相における漏れ磁束の分布のばらつきを抑えることができるという効果を得ることができる。
(4)第4の実施形態
図8及び図9は、第4の実施形態を示している。図8に示すように、本実施形態に係る変圧器31の鉄心32は、やはり積層鉄心からなり、上部継鉄部34及び下部継鉄部35を備えると共に、それら継鉄部34、35間を上下に繋ぐ3本の脚部36を備えている。各脚部36の上端面と上部継鉄部34の下面との間に、ギャップ37が設けられている。このとき、図9にも示すように、各脚部36の上端部の側面は、ギャップ37に向けて幅狭となる傾斜面36aとされている。尚、上部継鉄部34の両端部は、庇部が設けられておらず、平面視にて、脚部36の側面にほぼ一致している。
この第4の実施形態においては、脚部36の上端部の側面が傾斜面36aとされていることにより、傾斜面36aと上部継鉄部34の下面との間の距離が短くなり、空間に拡がる方向に漏れ磁束が発生しにくくなる。従って、本実施形態によれば、漏れ磁束の発生自体、つまり側方空間への膨らみを抑制することができ、脚部36の上端部にギャップ37を設けたものにあって、各相における漏れ磁束の分布のばらつきを抑えることができるという効果を得ることができる。
(5)第5の実施形態
次に、図10~図12を参照して、第5の実施形態について述べる。図10及び図11は、第5の実施形態に係る変圧器41の全体構成を概略的に示している。この変圧器41の鉄心42は、やはり積層鉄心からなり、上部継鉄部44及び下部継鉄部45を備えると共に、それら継鉄部44、45間を上下に繋ぐ3本の脚部46を備えている。各脚部46の上端面と、上部継鉄部44の下面との間には、ギャップ47が設けられる。このとき、図12に示すように、前記各脚部46は、第1の実施形態で説明したと同様に、上面から見てほぼ八角形をなすように、前後左右の縁部がいわゆる面取りされた形態に構成されている。
そして、本実施形態では、図10及び図11に示すように、前記上部継鉄部44は、前後方向(積層方向)にほぼ等分の厚みの3つの部分からなり、そのうち前部及び後部については、同等の幅寸法(高さ寸法)の電磁鋼板が積層されており、そのうち中央部44aにおいては、それらよりも大きい幅寸法(高さ方向の寸法)の電磁鋼板が積層されている。これにて、上部継鉄部44は、厚み方向の中央部が、前部、後部に比べて断面積が大きくなる形状に構成されている。尚、図11に示すように、下部継鉄部45についても、上部継鉄部44と対称的に、中央部45aが下方に凸となる形態に構成されている。
この第5の実施形態においては、各脚部46は、厚み方向中央部の磁気抵抗が、前部及び後部の磁気抵抗よりも小さくなり、厚み方向中央部で磁束が流れやすくなり、前後部において相対的に磁束が流れにくくなる。また、上部継鉄部44においても、厚み方向中央部44aの磁気抵抗が、前部及び後部の磁気抵抗よりも小さくなり、厚み方向中央部44aで磁束が流れやすくなり、前後部において相対的に磁束が流れにくくなる。これによって、ギャップ47部分における空間に拡がる方向に漏れ磁束が発生しにくくなる。
本実施形態によれば、鉄心42の厚み方向中央部で磁束が流れやすくなり、厚み方向前後部において相対的に磁束が流れにくくなることにより、漏れ磁束の発生自体を抑制することができる。この結果、各相における漏れ磁束の分布のばらつきを抑えることができるという効果を得ることができる。
(6)第6の実施形態、その他の実施形態
図11~図13は、第6の実施形態を示すものであり、上記第5の実施形態と異なる構成について以下に述べる。この第6の実施形態に係る変圧器51の鉄心52は、やはり積層鉄心からなり、上部継鉄部54及び下部継鉄部55を備えると共に、それら継鉄部54、55間を上下に繋ぐ3本の脚部56を備えている。各脚部56の上端面と、上部継鉄部54の下面との間には、後述のようにギャップ57が設けられる。
このとき、各脚部56は、前後方向(積層方向)にほぼ等分の厚みの3つの部分からなり、そのうち前部及び後部において、上面から見てほぼ八角形をなすように、前後左右の縁部がいわゆる面取りされた形態に構成されている。そして、図13に示すように、各脚部56の3つの部分のうち中央部は、高さ寸法が他よりやや小さい電磁鋼板が積層され、これにより、各脚部56の上端部には、厚み方向の中央部に、凹溝部56aが形成されている。
これに対し、上部継鉄部54の下面部は、厚み方向中央部が、前部及び後部よりも高さ方向に長い(下向きに長い)電磁鋼板が積層されて構成されていることにより、前記凹溝部56aに噛合うような、下方に凸状とされた凸部54aが設けられている。これにより、各脚部56の上端面と、上部継鉄部54の下面部との間に形成されるギャップ57は、側面から見て凹凸状とされている。更に、上部継鉄部54の両端部には、庇部58が一体に設けられている。下部継鉄部55については、下面がフラットな形態とされている。
このような第6の実施形態によれば、上部継鉄部54の両端部に庇部58を設けたことにより、各相における漏れ磁束の分布のばらつきを抑えることができる。そして、上記第5の実施形態と同様に、鉄心52全体として、厚み方向中央部で磁束が流れやすくなり、前後部において相対的に磁束が流れにくくなる。これによって、ギャップ57部分における空間に拡がる方向に漏れ磁束が発生しにくくなる。この結果、本実施形態によれば、脚部56の上端部にギャップ57を設けたものにあって、各相における漏れ磁束の分布のばらつきを抑える効果をより高いものとすることができる。これに加えて、上部継鉄部54を、高さ方向に大きくすることなく、中央部の断面積を大きくすることが可能となる。
尚、上記第6の実施形態では、上部継鉄部54に、庇部58を設けるように構成したが、庇部58がなくとも、各相における漏れ磁束の分布のばらつきを抑える効果を得ることができる。また、上記各実施形態では、静止誘導機器としての三相の変圧器に適用するようにしたが、静止誘導機器として4相以上の変圧器に適用することも可能である。リアクトルに適用することも可能である。その他、継鉄部と脚部との接合構造などについても、様々な変形が可能である。
以上説明した実施形態は、例として提示したものであり、発明の範囲を限定することは意図していない。これら新規な実施形態は、その他の様々な形態で実施されることが可能であり、発明の要旨を逸脱しない範囲で、種々の省略、置き換え、変更を行うことができる。これら実施形態やその変形は、発明の範囲や要旨に含まれるとともに、特許請求の範囲に記載された発明とその均等の範囲に含まれる。
図面中、1、11、21、31、41、51は変圧器(静止誘導機器)、2、12、22、32、42、52は鉄心(ギャップ付鉄心)、3は巻線、4、14、24、34、44、54は上部継鉄部、5、15、25、35、45、55は下部継鉄部、6、16、26、36、46、56は脚部、7、17、27、37、47、57はギャップ、8、58は庇部を示す。

Claims (2)

  1. 巻線が巻装される複数本の脚部と、
    それら複数本の脚部が接合される上部及び下部の継鉄部とを備えると共に、
    前記各脚部の上端部と前記上部継鉄部との突合せ接合部分にギャップが設けられ、
    前記各脚部の上端部の側面は、前記ギャップに向けて幅狭となる傾斜面状に構成されている静止誘導機器用ギャップ付鉄心。
  2. 巻線が巻装される複数本の脚部と、
    それら複数本の脚部が接合される上部及び下部の継鉄部とを備えると共に、
    前記各脚部の上端部と前記上部継鉄部との突合せ接合部分にギャップが設けられ、
    前記脚部のうち少なくとも両端に位置する脚部は、側面のうち厚み方向の前部において、前方に向けて幅狭になる形状とされ、側面のうち厚み方向の後部において、後方に向けて幅狭になる形状とされ、
    前記上部継鉄部は、厚み方向の中央部が、前部、後部に比べて断面積が大きくなる形状に構成されており、
    前記各脚部の上端部は、厚み方向の中央部が凹溝状に構成されると共に、前記上部継鉄部の下面部は、厚み方向の中央部が凸状に構成され、
    それらの間に前記ギャップが設けられる静止誘導機器用ギャップ付鉄心。
JP2018230808A 2018-12-10 2018-12-10 静止誘導機器用ギャップ付鉄心 Active JP7593733B2 (ja)

Priority Applications (1)

Application Number Priority Date Filing Date Title
JP2018230808A JP7593733B2 (ja) 2018-12-10 2018-12-10 静止誘導機器用ギャップ付鉄心

Applications Claiming Priority (1)

Application Number Priority Date Filing Date Title
JP2018230808A JP7593733B2 (ja) 2018-12-10 2018-12-10 静止誘導機器用ギャップ付鉄心

Publications (2)

Publication Number Publication Date
JP2020096008A JP2020096008A (ja) 2020-06-18
JP7593733B2 true JP7593733B2 (ja) 2024-12-03

Family

ID=71084111

Family Applications (1)

Application Number Title Priority Date Filing Date
JP2018230808A Active JP7593733B2 (ja) 2018-12-10 2018-12-10 静止誘導機器用ギャップ付鉄心

Country Status (1)

Country Link
JP (1) JP7593733B2 (ja)

Citations (1)

* Cited by examiner, † Cited by third party
Publication number Priority date Publication date Assignee Title
JP2000269046A (ja) 1999-03-17 2000-09-29 Chugoku Electric Power Co Inc:The ギャップ付き鉄心を有する多重変圧器

Family Cites Families (10)

* Cited by examiner, † Cited by third party
Publication number Priority date Publication date Assignee Title
JPS5633138Y2 (ja) * 1976-09-09 1981-08-06
JPS60125719U (ja) * 1984-01-31 1985-08-24 日新電機株式会社 分路リアクトル
JPH0311870Y2 (ja) * 1985-05-08 1991-03-20
JPS6262510A (ja) * 1985-09-13 1987-03-19 Toshiba Corp ギヤツプ付鉄心形リアクトル
JPS63160218A (ja) * 1986-12-23 1988-07-04 Toshiba Corp 変圧器用ギヤツプ付き積鉄心
JPH06283351A (ja) * 1993-03-29 1994-10-07 Toshiba Corp 静止電気機器用ギャップ入鉄心
JPH09153416A (ja) * 1995-11-30 1997-06-10 Toshiba Corp ギャップ付鉄心形リアクトル
JPH1050531A (ja) * 1996-07-29 1998-02-20 Toshiba Corp ギャップ付鉄心
JP2000348954A (ja) * 1999-06-09 2000-12-15 Tamura Seisakusho Co Ltd チョークコイル
KR101197234B1 (ko) * 2011-04-08 2012-11-02 주식회사 아모그린텍 비정질 금속 코어와, 이를 이용한 유도장치 및 그 제조방법

Patent Citations (1)

* Cited by examiner, † Cited by third party
Publication number Priority date Publication date Assignee Title
JP2000269046A (ja) 1999-03-17 2000-09-29 Chugoku Electric Power Co Inc:The ギャップ付き鉄心を有する多重変圧器

Also Published As

Publication number Publication date
JP2020096008A (ja) 2020-06-18

Similar Documents

Publication Publication Date Title
US9105393B2 (en) Amorphous core transformer
US10410778B2 (en) Magnetic circuit component
US20160314884A1 (en) Transformer core
US10068695B2 (en) Transformer
CN105895328B (zh) 三相五柱式铁芯和静止电磁设备
JP2020096100A (ja) 静止誘導機器用鉄心及び静止誘導機器
KR101838115B1 (ko) 자성 부품
JP2019149517A (ja) 電磁機器
JP2012023090A (ja) リアクトル
JP6184768B2 (ja) 静止電磁機器用巻鉄心及び三相変圧器及び三相リアクトル
JP5010055B1 (ja) 変圧器
JP6158579B2 (ja) 静止誘導電器
JP2020501365A (ja) 半ハイブリッド変圧器コア
JP2009259971A (ja) コイル部品、及びリアクトル
JP7593733B2 (ja) 静止誘導機器用ギャップ付鉄心
JP6977369B2 (ja) 変圧器の鉄心支持構造
JP4922191B2 (ja) インダクタンス素子
US9941043B2 (en) Core for an electrical induction device
JP5787635B2 (ja) 静止誘導器及びその製造方法
JP2009111316A (ja) リアクタ
JP2010225901A (ja) リアクトル
JP2020115518A (ja) 静止誘導機器
JP7356852B2 (ja) 静止誘導電器用鉄心
JP2010192742A (ja) リアクトル
JP2019067993A (ja) 静止誘導機器

Legal Events

Date Code Title Description
A621 Written request for application examination

Free format text: JAPANESE INTERMEDIATE CODE: A621

Effective date: 20211001

A977 Report on retrieval

Free format text: JAPANESE INTERMEDIATE CODE: A971007

Effective date: 20220713

A131 Notification of reasons for refusal

Free format text: JAPANESE INTERMEDIATE CODE: A131

Effective date: 20220830

A521 Request for written amendment filed

Free format text: JAPANESE INTERMEDIATE CODE: A523

Effective date: 20221025

A02 Decision of refusal

Free format text: JAPANESE INTERMEDIATE CODE: A02

Effective date: 20230228

A521 Request for written amendment filed

Free format text: JAPANESE INTERMEDIATE CODE: A523

Effective date: 20230511

A911 Transfer to examiner for re-examination before appeal (zenchi)

Free format text: JAPANESE INTERMEDIATE CODE: A911

Effective date: 20230519

A912 Re-examination (zenchi) completed and case transferred to appeal board

Free format text: JAPANESE INTERMEDIATE CODE: A912

Effective date: 20230707

A521 Request for written amendment filed

Free format text: JAPANESE INTERMEDIATE CODE: A523

Effective date: 20240603

A521 Request for written amendment filed

Free format text: JAPANESE INTERMEDIATE CODE: A523

Effective date: 20240909

A61 First payment of annual fees (during grant procedure)

Free format text: JAPANESE INTERMEDIATE CODE: A61

Effective date: 20241121

R150 Certificate of patent or registration of utility model

Ref document number: 7593733

Country of ref document: JP

Free format text: JAPANESE INTERMEDIATE CODE: R150