JP7586843B2 - 車載赤外線投光器、車両用周辺検知装置、車両用灯具 - Google Patents

車載赤外線投光器、車両用周辺検知装置、車両用灯具 Download PDF

Info

Publication number
JP7586843B2
JP7586843B2 JP2021574607A JP2021574607A JP7586843B2 JP 7586843 B2 JP7586843 B2 JP 7586843B2 JP 2021574607 A JP2021574607 A JP 2021574607A JP 2021574607 A JP2021574607 A JP 2021574607A JP 7586843 B2 JP7586843 B2 JP 7586843B2
Authority
JP
Japan
Prior art keywords
floodlight
housing
vehicle
infrared
infrared light
Prior art date
Legal status (The legal status is an assumption and is not a legal conclusion. Google has not performed a legal analysis and makes no representation as to the accuracy of the status listed.)
Active
Application number
JP2021574607A
Other languages
English (en)
Other versions
JPWO2021153233A1 (ja
Inventor
富晴 平野
悠行 今井
成彦 風岡
Current Assignee (The listed assignees may be inaccurate. Google has not performed a legal analysis and makes no representation or warranty as to the accuracy of the list.)
Koito Manufacturing Co Ltd
Original Assignee
Koito Manufacturing Co Ltd
Priority date (The priority date is an assumption and is not a legal conclusion. Google has not performed a legal analysis and makes no representation as to the accuracy of the date listed.)
Filing date
Publication date
Application filed by Koito Manufacturing Co Ltd filed Critical Koito Manufacturing Co Ltd
Publication of JPWO2021153233A1 publication Critical patent/JPWO2021153233A1/ja
Application granted granted Critical
Publication of JP7586843B2 publication Critical patent/JP7586843B2/ja
Active legal-status Critical Current
Anticipated expiration legal-status Critical

Links

Images

Classifications

    • BPERFORMING OPERATIONS; TRANSPORTING
    • B60VEHICLES IN GENERAL
    • B60RVEHICLES, VEHICLE FITTINGS, OR VEHICLE PARTS, NOT OTHERWISE PROVIDED FOR
    • B60R1/00Optical viewing arrangements; Real-time viewing arrangements for drivers or passengers using optical image capturing systems, e.g. cameras or video systems specially adapted for use in or on vehicles
    • B60R1/02Rear-view mirror arrangements
    • B60R1/06Rear-view mirror arrangements mounted on vehicle exterior
    • BPERFORMING OPERATIONS; TRANSPORTING
    • B60VEHICLES IN GENERAL
    • B60RVEHICLES, VEHICLE FITTINGS, OR VEHICLE PARTS, NOT OTHERWISE PROVIDED FOR
    • B60R1/00Optical viewing arrangements; Real-time viewing arrangements for drivers or passengers using optical image capturing systems, e.g. cameras or video systems specially adapted for use in or on vehicles
    • B60R1/12Mirror assemblies combined with other articles, e.g. clocks
    • FMECHANICAL ENGINEERING; LIGHTING; HEATING; WEAPONS; BLASTING
    • F21LIGHTING
    • F21SNON-PORTABLE LIGHTING DEVICES; SYSTEMS THEREOF; VEHICLE LIGHTING DEVICES SPECIALLY ADAPTED FOR VEHICLE EXTERIORS
    • F21S45/00Arrangements within vehicle lighting devices specially adapted for vehicle exteriors, for purposes other than emission or distribution of light
    • F21S45/10Protection of lighting devices
    • FMECHANICAL ENGINEERING; LIGHTING; HEATING; WEAPONS; BLASTING
    • F21LIGHTING
    • F21SNON-PORTABLE LIGHTING DEVICES; SYSTEMS THEREOF; VEHICLE LIGHTING DEVICES SPECIALLY ADAPTED FOR VEHICLE EXTERIORS
    • F21S45/00Arrangements within vehicle lighting devices specially adapted for vehicle exteriors, for purposes other than emission or distribution of light
    • F21S45/40Cooling of lighting devices
    • F21S45/47Passive cooling, e.g. using fins, thermal conductive elements or openings

Landscapes

  • Engineering & Computer Science (AREA)
  • Multimedia (AREA)
  • Mechanical Engineering (AREA)
  • General Engineering & Computer Science (AREA)
  • Arrangement Of Elements, Cooling, Sealing, Or The Like Of Lighting Devices (AREA)
  • Lighting Device Outwards From Vehicle And Optical Signal (AREA)
  • Fastening Of Light Sources Or Lamp Holders (AREA)
  • Rear-View Mirror Devices That Are Mounted On The Exterior Of The Vehicle (AREA)
  • Non-Portable Lighting Devices Or Systems Thereof (AREA)

Description

本発明は、車載赤外線投光器、車両用周辺検知装置、車両用灯具に関する。
従来、赤外線をスポット状に車両前方側(前輪の接地面付近)に照射する赤外線発光装置と、赤外線照射域を撮影するカメラとが装着された自動車用アウトサイドミラーが知られている。撮影された画像は、とくに夜間において前輪付近の死角をドライバーが確認するために利用される(例えば、特許文献1参照。)。
特開2004-231128号公報
ところで、広域を照らすことのできる赤外線投光器は、自動運転や運転支援に関わる様々な場面、なかでも夜間の自動駐車や駐車支援において、車両周囲で広範囲に人や障害物を検知するうえで、有用である。しかしながら、そのような赤外線投光器は、照射域の広さに応じてサイズも大きくなりがちであり、たとえばサイドミラーのような限られた収納スペースには収まらないかもしれない。
本発明のある態様はこうした状況に鑑みてなされたものであり、その例示的な目的のひとつは、コンパクトでありながら広域を照らす車載赤外線投光器を提供することにある。
上述の赤外線発光装置は、外部電源や制御装置に配線で接続されることになる。発光装置の筐体や他の周辺構造物に金属部分や尖った部分がある場合には、こうした部分が外部接続用の配線と接触することによって、配線が損傷を受けるかもしれない。
本発明のある態様はこうした状況に鑑みてなされたものであり、その例示的な目的のひとつは、発光装置を外部に接続するコードを保護することにある。
赤外線発光装置が装着されたハウジング内には、たとえば雨天時など、外から水が入り込むことがある。赤外線発光装置の配置によっては、ハウジング内に浸入した水が、赤外線発光装置のそばを流れたり、あるいは赤外線発光装置のまわりに滞留したりするかもしれない。もし、赤外線発光装置がたやすく水に晒されるとしたら、装置内部へと水が浸透するリスクは高まりうる。
本発明のある態様はこうした状況に鑑みてなされたものであり、その例示的な目的のひとつは、車載赤外線投光器内に水が浸入する可能性を減らすことにある。
本発明のある態様は、車両側方の路面を前後にわたり赤外線で照らす車載赤外線投光器に関する。車載赤外線投光器は、車両に設けられるハウジングに装着可能な投光器筐体であって、その一部が赤外線透過性を有するアウターレンズで形成され、ハウジングに装着されたときアウターレンズがハウジングの開口部に配置される投光器筐体と、投光器筐体の内部に配置され、アウターレンズの第1領域を通じて車両の前方斜め下向きに赤外線を照射する第1赤外発光素子と、投光器筐体の内部に配置され、アウターレンズの第2領域を通じて車両の後方斜め下向きに赤外線を照射する第2赤外発光素子と、を備える。アウターレンズの第2領域は、アウターレンズの第1領域よりも車両後方に位置し、第2赤外発光素子は、第1赤外発光素子よりも車両前方に配置される。
この態様によると、コンパクトでありながら広域を照らす車載赤外線投光器を提供することができる。車載赤外線投光器は、比較的小型の投光器筐体に第1赤外発光素子と第2赤外発光素子を収めるとともに、車両の側方を前後にわたり広く照らすことができる。
第1赤外発光素子は、アウターレンズの第1領域に赤外線を入射させる第1姿勢で配置され、第2赤外発光素子は、アウターレンズの第2領域に赤外線を入射させる第1姿勢とは異なる第2姿勢で配置されてもよい。このようにすれば、第1赤外発光素子と第2赤外発光素子をそれぞれ異なる適切な姿勢で配置することができる。これら赤外発光素子が同じ姿勢に制約される場合に比べて、各赤外発光素子の姿勢を設計上の自由度に加えることができ、よりコンパクトな赤外線投光器を設計しやすくなることが期待される。
アウターレンズの第2領域の内面は、第2領域の後縁部から前縁部に向けて下方に傾斜していてもよい。このようにすれば、第2赤外発光素子から後方斜め下向きに赤外線が発せられるとき、第2領域の内面を第2赤外発光素子と対向させて配置することができる。これにより、第2領域の内面は、第2赤外発光素子の光軸と直交し、またはそれに近い角度で配置され、第2赤外発光素子からアウターレンズの第2領域への入射角を小さくすることができる。アウターレンズの第2領域の内面に入射する赤外線の反射が抑制され、赤外線投光器は、より多くの赤外線をアウターレンズの第2領域を通じて出射することができる。
アウターレンズは、投光器筐体がハウジングに装着されたときハウジングの開口部から外側に張り出して配置されるように形状が定められており、第2赤外発光素子は、ハウジングの開口部の前縁よりも下方に配置されてもよい。このようにすれば、第2赤外発光素子がハウジングの開口部の前縁より上方にある場合に比べて、第2赤外発光素子から赤外線が後方斜め下向きに発せられるとき開口部の後縁で遮蔽されにくい。赤外線投光器は、後方に向けてより遠くまで赤外線を照射することが可能になる。
車載赤外線投光器は、第1赤外発光素子および第2赤外発光素子を搭載したフレキシブルプリント基板をさらに備えてもよい。このようにすれば、フレキシブルプリント基板の柔軟性を利用して、第1赤外発光素子と第2赤外発光素子がそれぞれの設置姿勢をとるようにプリント基板を湾曲させた状態で、投光器筐体内に省スペースに収めることができる。
第1赤外発光素子と第2赤外発光素子が、互いに左右にずれて配置されてもよい。このようにすれば、一方の発光素子から発せられる赤外線を遮らないように他方の発光素子を配置することが容易になる。
車載赤外線投光器は、第1インナーレンズおよび第2インナーレンズを有するインナーレンズ部材をさらに備えてもよい。第1インナーレンズは、第1赤外発光素子とアウターレンズの第1領域の間に配置され、第2インナーレンズは、第2赤外発光素子とアウターレンズの第2領域の間に配置され、第1インナーレンズと第2インナーレンズが左右に並んで配置され、一体成形されていてもよい。このようにすれば、第1インナーレンズと第2インナーレンズをそれぞれ、第1赤外発光素子と第2赤外発光素子からの赤外線の配光制御に利用できる。また、2つのインナーレンズを別部品として用意する場合に比べて、省スペースに設置でき、取付作業もしやすくなる。
投光器筐体は、第1赤外発光素子および第2赤外発光素子を支持するとともにアウターレンズと気密に結合されて投光器筐体を形成する放熱部材を備えてもよい。放熱部材は、投光器筐体の外部と通気する空気穴を有してもよい。この空気穴は、投光器筐体の外部から内部への水分の侵入を抑制するのに有効である。
車載赤外線投光器は、第1赤外発光素子と第2赤外発光素子のうち少なくとも一方を搭載した配線基板と、配線基板を外部に接続するためのコードと、コード保持部と、をさらに備えてもよい。投光器筐体は、配線基板を支持する金属製の放熱部材と、樹脂材料で形成されたガスケットと、をさらに備え、放熱部材とアウターレンズがガスケットを挟み込むように結合され、配線基板を収容していてもよい。コード保持部は、放熱部材の一部として投光器筐体の外側に設けられ、ガスケットで被覆されていてもよい。
この態様によると、金属製の放熱部材の一部であるコード保持部がガスケットで被覆されている。コードがコード保持部に保持されるとき金属部分に直接あたらず、コードは傷つけられにくい。よって、車載赤外線投光器内の配線基板を外部に接続するコードを保護することができる。
放熱部材は、放熱フィンとコード通し穴とを有し、コード保持部がコード通し穴に対して放熱フィンとは反対側に形成され、コードは、コード通し穴から投光器筐体の外に引き出され、コード保持部へと配索されてもよい。このようにすれば、コード通し穴から引き出されたコードが放熱フィンとは反対側にあるコード保持部へと配索されるので、コードと放熱フィンとの接触を避けられる。よって、コードをより効果的に保護することができる。
コード保持部は、コード通し穴からのコードの引き出し方向とは反対方向に放熱部材から突出し、コードは、コード通し穴とコード保持部の間で湾曲部を形成するように配索され、コード通し穴から湾曲部にかけてコードにブッシングが装着されていてもよい。このようにすれば、ブッシングの湾曲がもとのまっすぐな状態に戻ろうとする弾性的な復元力が、コード保持部に保持されたコードをブッシング側に引き上げるように働く。コード保持部にコードをより確実に保持することができる。また、コードおよびブッシングを湾曲させることによって、コードを投光器筐体の近くにコンパクトにまとめることができ、周囲の他部品や構造物にコードが干渉するおそれも減る。
車載赤外線投光器は、樹脂材料で形成され、アウターレンズの外周に装着されたプロテクタをさらに備えてもよい。コードは、コード保持部でガスケットとプロテクタに挟まれて保持されてもよい。このようにすれば、コード保持部にコードをより確実に保持することができる。
配線基板は、フレキシブルプリント基板であってもよい。このようにすれば、フレキシブルプリント基板の柔軟性を利用して、赤外発光素子の位置および姿勢の自由度を高めながら、省スペースに収めることができる。
放熱部材は、投光器筐体の外部と通気する空気穴を有してもよい。この空気穴は、投光器筐体の外部から内部への水分の侵入を抑制するのに役立つ。
車載赤外線投光器は、樹脂材料で形成され、ハウジングの開口部の縁とアウターレンズの外周部との間に介装されるプロテクタをさらに備えてもよい。ハウジング内においてアウターレンズの外周部には、プロテクタで縁取られた凹部が形成されてもよい。プロテクタは、凹部を凹部の外側領域に接続する排水路を有してもよい。
この態様によると、プロテクタに排水路が設けられているので、プロテクタで縁取られた凹部に溜まりうる水をこの排水路を通じて凹部の外に逃がすことができる。したがって、投光器筐体内への浸水のリスクを低減することができる。
排水路は、プロテクタの表面に形成された溝であってもよい。
凹部は、ハウジングの下部に位置してもよい。
ハウジングは、車両のサイドミラーのハウジングであってもよい。
本発明のある態様の車載赤外線投光器は、車両に設けられるハウジングに装着可能な投光器筐体であって、その一部が赤外線透過性を有するアウターレンズで形成され、ハウジングに装着されたときアウターレンズがハウジングの開口部に配置される投光器筐体と、投光器筐体の内部に配置され、アウターレンズの第1領域を通じて投光器筐体に対して第1側を照らす第1赤外発光素子と、投光器筐体の内部に配置され、アウターレンズの第2領域を通じて投光器筐体に対して第1側とは反対の第2側を照らす第2赤外発光素子と、を備える。アウターレンズの第2領域は、アウターレンズの第1領域よりも第2側に位置し、第2赤外発光素子は、第1赤外発光素子よりも第1側に配置される。
この態様によると、コンパクトでありながら広域を照らす車載赤外線投光器を提供することができる。車載赤外線投光器は、比較的小型の投光器筐体に第1赤外発光素子と第2赤外発光素子を収めるとともに、投光器筐体に対して第1側から第2側にわたって赤外線を広域に照射することができる。
本発明のある態様の車載赤外線投光器は、赤外発光素子を搭載した配線基板と、配線基板を外部に接続するためのコードと、配線基板を支持する金属製の放熱部材と、赤外線透過性を有するアウターレンズと、樹脂材料で形成されたガスケットと、を備え、放熱部材とアウターレンズがガスケットを挟み込むように結合され、配線基板を収容する投光器筐体と、放熱部材の一部として投光器筐体の外側に設けられ、ガスケットで被覆されているコード保持部と、を備える。
放熱部材は、放熱フィンとコード通し穴とを有し、コード保持部がコード通し穴に対して放熱フィンとは反対側に形成され、コードは、コード通し穴から投光器筐体の外に引き出され、コード保持部へと配索されてもよい。
コード保持部は、コード通し穴からのコードの引き出し方向とは反対方向に放熱部材から突出し、コードは、コード通し穴とコード保持部の間で湾曲部を形成するように配索され、コード通し穴から湾曲部にかけてコードにブッシングが装着されていてもよい。
車載赤外線投光器は、樹脂材料で形成され、アウターレンズの外周に装着されたプロテクタをさらに備えてもよい。
配線基板は、フレキシブルプリント基板であってもよい。
放熱部材は、投光器筐体の外部と通気する空気穴を有してもよい。
車載赤外線投光器は、車両のサイドミラーに取付可能であってもよい。
本発明のある態様の車載赤外線投光器は、車両に設けられるハウジングに装着可能な投光器筐体であって、その一部が赤外線透過性を有するアウターレンズで形成され、ハウジングに装着されたときアウターレンズがハウジングの開口部に配置される投光器筐体と、樹脂材料で形成され、ハウジングの開口部の縁とアウターレンズの外周部との間に介装されるプロテクタと、を備える。ハウジング内においてアウターレンズの外周部には、プロテクタで縁取られた凹部が形成され、プロテクタは、凹部を凹部の外側領域に接続する排水路を有する。
排水路は、プロテクタの表面に形成された溝であってもよい。
凹部は、ハウジングの下部に位置してもよい。
ハウジングは、車両のサイドミラーのハウジングであってもよい。
本発明の別の態様は、車両用周辺検知装置に関する。車両用周辺検知装置は、上記のいずれかの態様の車載赤外線投光器と、車載赤外線投光器によって赤外線で照明される車両周辺の場所を撮影するように車両に設置され、少なくとも赤外線に感度を有するカメラと、を備えてもよい。
本発明の別の態様は、車両用灯具に関する。車両用灯具は、発光素子を搭載した配線基板と、配線基板を外部に接続するためのコードと、配線基板を支持する金属製の放熱部材と、アウターレンズと、樹脂材料で形成されたガスケットと、を備え、放熱部材とアウターレンズがガスケットを挟み込むように結合され、配線基板を収容する筐体と、放熱部材の一部として筐体の外側に設けられ、ガスケットに被覆されているコード保持部と、を備える。
この態様によると、金属製の放熱部材の一部であるコード保持部がガスケットで被覆されている。コードがコード保持部に保持されるとき金属部分に直接あたらず、コードは傷つけられにくい。よって、車両用灯具内の配線基板を外部に接続するコードを保護することができる。
本発明のある態様によれば、コンパクトでありながら広域を照らす車載赤外線投光器を提供することができる。本発明のある態様によれば、発光装置を外部に接続するコードを保護することができる。本発明のある態様によれば、車載赤外線投光器内に水が浸入する可能性を減らすことができる。
実施の形態に係る自動車用サイドミラーを前側から見たときの概略正面図である。 実施の形態に係る車載赤外線投光器の赤外線照射エリアを示す模式図である。 実施の形態に係る車載赤外線投光器を示す斜視図である。 図3に示される車載赤外線投光器の分解斜視図である。 実施の形態に係り、赤外発光素子を搭載した配線基板の展開図である。 実施の形態に係り、配線基板と放熱部材の組み立て状態を示す概略斜視図である。 図1に示される車載赤外線投光器のB-B線断面を概略的に示す図である。 図1に示される車載赤外線投光器のC-C線断面を概略的に示す図である。 図9(a)および図9(b)は、比較例に係るアウターレンズの形状を示す模式図である。 比較例に係る発光素子の配置を示す図である。 図11(a)および図11(b)は、実施の形態に係り、配線基板42、放熱部材30およびコード60の組み立て状態を示す概略斜視図である。 図12(a)および図12(b)はそれぞれ、図11(a)および図11(b)に示される組立体にインナーレンズ部材50を組み付けた状態を示す概略斜視図である。 実施の形態に係る車載赤外線投光器を前側から見たときの概略正面図である。 図13に示される車載赤外線投光器のD-D線断面を模式的に示す図である。 実施の形態に係る車載赤外線投光器の一部を上側から見たときの概略上面図である。 図14に示される車載赤外線投光器のE-E線断面を模式的に示す図である。 変形例に係る車載赤外線投光器の赤外線照射エリアを示す模式図である。
以下、本発明を好適な実施の形態をもとに図面を参照しながら説明する。実施の形態は、発明を限定するものではなく例示であって、実施の形態に記述されるすべての特徴やその組み合わせは、必ずしも発明の本質的なものであるとは限らない。各図面に示される同一または同等の構成要素、部材、処理には、同一の符号を付するものとし、適宜重複した説明は省略する。また、各図に示す各部の縮尺や形状は、説明を容易にするために便宜的に設定されており、特に言及がない限り限定的に解釈されるものではない。また、本明細書または請求項中に用いられる「第1」、「第2」等の用語は、いかなる順序や重要度を表すものでもなく、ある構成と他の構成とを区別するためのものである。また、各図面において実施の形態を説明する上で重要ではない部材の一部は省略して表示する。
図1は、実施の形態に係る自動車用サイドミラーを前側から見たときの概略正面図である。図示されるサイドミラー100は、車両を前から見て左側のサイドミラーである。よって、図1において左方が車幅方向外側にあたり、右方が車幅方向内側にあたる。なお右側のサイドミラーも同様の構成を有するので、重ねて説明しない。
サイドミラー100は、車両の前部ドアに取り付けられるベース101と、ベース101に取り付けられミラーを保持するハウジング102とを備える。ハウジング102は、上側カバー103と下側カバー104を備える。ハウジング102は通例、サイドミラー100の展開位置と格納位置を切り替えられるように回動可能にベース101に取り付けられている。図1には展開位置が示される。なおミラーはハウジング102の後方に装着されるので、図1には示されない。
サイドミラー100には、車載赤外線投光器10およびカメラ110が内蔵される。車載赤外線投光器10は、赤外線として、例えば近赤外線を利用する。カメラ110は、車載赤外線投光器10による赤外線照射エリアを撮影するようにサイドミラー100に設置される。カメラ110は、少なくとも、車載赤外線投光器10が照射する赤外線に感度を有する。カメラ110は、赤外線カメラであってもよい。カメラ110は、可視光と赤外線の両方で撮影可能であってもよい。
車載赤外線投光器10とカメラ110は、ハウジング102の下側カバー104に装着され、サイドミラー100の底部に設置される。車載赤外線投光器10とカメラ110は、上側カバー103と下側カバー104に挟まれる比較的狭いスペースに配置され、ハウジング102に収納される。これらは、サイドミラー100の車幅方向中央部で左右に隣り合って配置され、車載赤外線投光器10がカメラ110に対し車幅方向外側にあるが、これは一例であり、限定されない。
ハウジング102の下側カバー104には、開口部105と撮影窓106がある。この開口部105には、車載赤外線投光器10が装着されたとき車載赤外線投光器10のアウターレンズ20が配置される。車載赤外線投光器10はアウターレンズ20を通じて赤外線を出射する。カメラ110は、撮影窓106を通じて撮影する。
また、サイドミラー100には、サイドターンランプ120も設けられている。サイドターンランプ120は、車載赤外線投光器10およびカメラ110よりも外側に配置されている。
車両用周辺検知装置130が、車載赤外線投光器10とカメラ110を含んで構成される。なお、車両用周辺検知装置130は、車室内に配置された演算処理装置を備えてもよく、カメラ110で撮影した画像がこの演算処理装置に入力されてもよい。演算処理装置は、画像処理により車両周辺の人や物体など障害物に関する情報を生成してもよい。車両用周辺検知装置130は、車室内に配置されたディスプレイなど表示装置を備えてもよく、カメラ110で撮影した画像が表示装置に表示されてもよい。
図2は、実施の形態に係る車載赤外線投光器の赤外線照射エリアを示す模式図である。2つの赤外線投光器10L、10Rが車両140の側方の路面を前後にわたり赤外線で照らす。左サイドミラー100Lに搭載される赤外線投光器10Lは、車両140の左側に隣接の照射エリア150Lに赤外線を照射し、右サイドミラー100Rに搭載される赤外線投光器10Rは、車両140の右側に隣接の照射エリア150Rに赤外線を照射する。赤外線投光器10L、10Rは、主として車両周囲の路面を赤外線で照らすように配置されているので、照射エリア150L、150Rの全域または大部分は路面上にある。ただし、路面とともに車体の一部が赤外線投光器10L、10Rで照らされてもよく、照射エリア150L、150Rには車両140の一部が含まれてもよい。
照射エリア150L、150Rは、前後方向に長く、たとえば、車両140のおよそ全長におよぶ。照射エリア150L、150Rの後端部は前端部に比べて赤外線投光器10L、10Rから遠くなる。そのため、照射エリア全域を目標の照度で照らすうえで、赤外線投光器10L、10Rには、とくに後方に向けて、より遠くまで多くの光を配光することが求められる。なお、照射エリア150L、150Rは、車幅方向には車両140から数m(たとえば1~2m)の範囲に広がっていてもよい。
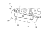
図3は、実施の形態に係る車載赤外線投光器を示す斜視図である。図4は、図3に示される車載赤外線投光器の分解斜視図である。
図3に示されるように、車載赤外線投光器10は、アウターレンズ20と放熱部材30を含んで構成される投光器筐体12を備える。図4には、投光器筐体12の内部に配置される車載赤外線投光器10の構成部品も示される。車載赤外線投光器10は、第1赤外発光素子40aおよび第2赤外発光素子40bを搭載した配線基板42と、配光制御のためのインナーレンズ部材50と、配線基板42を外部に接続するためのコード60とを備える。
アウターレンズ20は、たとえばアクリル樹脂、またはポリカーボネート樹脂など、赤外線透過性を有する樹脂材料で形成される。レンズの材料は、とくに限定されず、その他の合成樹脂材料、ガラス等、赤外線透過性を有する適宜の材料で形成されてもよい。アウターレンズ20は、投光器筐体12の内部の目隠しのために、たとえばグレーまたは黒色など有色であってもよい。
この実施の形態では、アウターレンズ20は、アウターレンズ20の外周部に固着されたシール脚22を有する。シール脚22は、アウターレンズ20を放熱部材30に結合するために用いられる。シール脚22には、アウターレンズ20を補強する役割もある。アウターレンズ20を投光器筐体12の底板、放熱部材30を投光器筐体12の上板とみなすとき、シール脚22は、投光器筐体12の側壁に相当し、アウターレンズ20の全周に設けられている。
シール脚22は、一例として、赤外線不透過材料で形成される。シール脚22に赤外線透過性を必須としないことにより、強度に優れる材料を選定しやすくなる。アウターレンズ20とシール脚22が異なる合成樹脂材料で形成される場合、アウターレンズ20とシール脚22からなる単一部品が二色成形により製造されてもよい。なお、異種材料を用いることなく十分な強度が保証される場合には、アウターレンズ20はシール脚22を含めて赤外線透過性材料で形成されてもよい。
アウターレンズ20と放熱部材30は、ガスケット24を挟み込むように結合され、投光器筐体12の内部の気密性が保持される。ガスケット24は、アウターレンズ20のシール脚22の上縁に装着され、アウターレンズ20と放熱部材30との結合部全周にわたって設けられる。たとえば固定ねじ26を用いて放熱部材30がシール脚22に固定され、ガスケット24がシール脚22と放熱部材30の外周部との間に挟み込まれる。こうして、ガスケット24も投光器筐体12の一部をなす。ガスケット24は、たとえばEPDM(エチレンプロピレンジエンゴム)で形成されるが、防水性をもつ他の軟質樹脂材料で形成されてもよい。
また、アウターレンズ20には、プロテクタ28が装着される。プロテクタ28は、アウターレンズ20の外周部を全周にわたって被覆する。投光器筐体12がハウジング102に装着されたとき、プロテクタ28は、ハウジング102の開口部105の縁とアウターレンズ20の外周部との間に介装される。プロテクタ28は、たとえばEPDM(エチレンプロピレンジエンゴム)で形成されるが、防水性をもつ他の軟質樹脂材料で形成されてもよい。ハウジング102とアウターレンズ20の間に形成されうる隙間がプロテクタ28によって埋められるので、このような隙間を原因として車両の走行中に発生しうる風切り音を軽減することができる。また、この隙間からの水分や塵などの侵入を抑えられる。
放熱部材30は、配線基板42を支持し、配線基板42上の第1赤外発光素子40aおよび第2赤外発光素子40bと熱接触している。放熱部材30の内面形状は、配線基板42が放熱部材30に取り付けられたとき第1赤外発光素子40aが第1姿勢をとり第2赤外発光素子40bが第2姿勢をとるように、定められている。後述するが、第1姿勢と第2姿勢は、互いに異なる。一方、放熱部材30の外面には、複数の放熱フィン31が形成されている。放熱部材30は、アルミニウムまたはアルミニウム合金などの金属材料、またはそのほかの高熱伝導材料で形成されている。赤外発光素子40a、40bの発光により生じる熱は、放熱部材30を通じて周囲に発散することができ、赤外発光素子40a、40bおよびその周囲の構成要素が過剰に加熱されることは防止される。
放熱部材30には、コード通し穴32と空気穴33が設けられている。空気穴33から投光器筐体12内に水分が直接侵入するのを避けるために、空気穴33には防水通気性のフィルム34が貼り付けられている。この実施の形態では、複数の放熱フィン31に対して一方側にコード通し穴32が設けられ、他方側に空気穴33が設けられている。コード通し穴32が放熱部材30の前部に位置し、空気穴33が放熱部材30の後部に位置する。複数の放熱フィン31がコード通し穴32と空気穴33との間で車幅方向に延びている。ただし、このような配置は一例にすぎず、これに限定されない。
仮に、空気穴33が無かったとすると、車載赤外線投光器10の使用環境や赤外発光素子40a、40bの点消灯に伴う温度変化によって、投光器筐体12の気密性により内部圧が外気圧から少なくとも一時的に乖離しうる。外気圧より内部圧が低い状況では、たとえば、アウターレンズ20とガスケット24の間や、放熱部材30とガスケット24の間などに存在しうるわずかな隙間を通じて空気が投光器筐体12に流入するかもしれない。このとき、空気流入とともに周囲の水分が投光器筐体12内に引き込まれることも想定されるが、そうした事態は望まれない。
この実施の形態では、空気穴33によって投光器筐体12が外部と通気するので、内外の差圧は容易に緩和される。したがって、空気穴33は、投光器筐体12の外部から内部への水分の侵入を抑制するのに役立つ。
第1赤外発光素子40aは、前方照射用に設けられ、第2赤外発光素子40bは、後方照射用に設けられている。図4では、第2赤外発光素子40bは配線基板42の裏側に位置することになり直接見えないが、理解の容易のために破線で示す。赤外発光素子40a、40bは、この実施の形態では、赤外線LEDであるが、とくに限定されず、他の半導体発光素子またはそのほか任意の発光素子でもよい。赤外発光素子40a、40bは、たとえば800~1000nm(なかでも、たとえば920~960nm)の範囲内の波長を含む近赤外線を発する。
なお、この実施の形態では、第1赤外発光素子40aは単一の赤外線LEDであるが、一群の赤外線LEDまたは発光素子であってもよい。第2赤外発光素子40bについても同様である。また、必要とされる場合、車載赤外線投光器10には、第1赤外発光素子40aおよび第2赤外発光素子40bとは別の方向に赤外線を照射するために、第3赤外発光素子が設けられてもよい。
配線基板42は、フレキシブルプリント基板であり、図4には、放熱部材30に取り付けるために配線基板42を湾曲させた状態で示される。赤外発光素子40a、40bおよびコネクタ43は、フレキシブルプリント基板の同じ面に実装されている。コネクタ43にコード60が接続され、赤外発光素子40a、40bへの電気接続が提供される。
配線基板42の実装面とは反対側の面には、第1支持プレート44aと第2支持プレート44bが接着されている。第1支持プレート44aが第1赤外発光素子40aの裏側にあり、第2支持プレート44bが第2赤外発光素子40bの裏側にある。これら支持プレート44a、44bは、金属製であり、放熱部材30と同種または異種の材料で形成されてもよい。支持プレート44a、44bは、放熱部材30の表面と面接触し、赤外発光素子40a、40bから放熱部材30に熱を逃がす伝熱部材として働く。支持プレート44a、44bは、配線基板42を補強し、放熱部材30に取り付けたときの赤外発光素子40a、40bの姿勢を安定化することにも役立つ。
なお、赤外発光素子40a、40bを一枚の配線基板42に実装することに代えて、変形例として、第1赤外発光素子40aを有する第1配線基板と、第2赤外発光素子40bを有する第2配線基板が設けられてもよい。この場合、配線基板は、フレキシブル基板でもよいし、あるいはリジッドな基板でもよい。
インナーレンズ部材50は、放熱部材30に取り付けられ、アウターレンズ20と配線基板42の間に配置される。インナーレンズ部材50は、第1赤外発光素子40aからの赤外線を制御するための第1インナーレンズ52aと、第2赤外発光素子40bからの赤外線を制御するための第2インナーレンズ52bとを有する。
また、インナーレンズ部材50には、第1インナーレンズ52aを放熱部材30に取り付けるための第1レンズ取付部54aと、第2インナーレンズ52bを放熱部材30に取り付けるための第2レンズ取付部54bが設けられている。第1レンズ取付部54aと第2レンズ取付部54bが放熱部材30に取り付けられたとき、第1インナーレンズ52aが第1赤外発光素子40aに対し位置決めされるとともに、第2インナーレンズ52bが第2赤外発光素子40bに対し位置決めされる。
インナーレンズ部材50は、第1インナーレンズ52a、第2インナーレンズ52b、第1レンズ取付部54aおよび第2レンズ取付部54bが一体成形された単一の光学部材である。インナーレンズ部材50も、アウターレンズ20と同様に、赤外線透過性を有する樹脂材料またはその他の赤外線透過材料で形成される。インナーレンズ部材50は、無色透明でもよい。なお、所望の配光制御がアウターレンズ20によって提供される場合には、インナーレンズ部材50は省略されてもよい。
投光器筐体12内に配置されるコード60の一端は、上述のように、配線基板42上のコネクタ43に接続される。コード60は、コード通し穴32から投光器筐体12の外に引き出される。コード通し穴32での気密性を保持するために、コード60にはブッシング61が装着され、コード通し穴32とコード60の隙間はブッシング61で封じられている。コード60の他端に設けられたコネクタ62には、別のワイヤーハーネスが接続可能であり、このワイヤーハーネスを介して、車載赤外線投光器10は、車載バッテリーなどの外部電源に接続されることができる。
コード保持部70が、放熱部材30の一部として投光器筐体12の外側に設けられている。コード保持部70は、一例として、爪状のコードクランプとして形成され、コード通し穴32の近くに配置されている。ガスケット24には、コード保持部70を被覆する被覆部24aが形成されている。金属製の放熱部材30の一部であるコード保持部70がガスケット24の一部分で被覆されるので、コード60がコード保持部70に保持されるとき金属部分に直接あたらず、コード60は傷つけられにくい。コード保持部70によってコード60は保護される。
図5は、実施の形態に係り、赤外発光素子を搭載した配線基板(フレキシブルプリント基板)の展開図である。図示されるように、配線基板42は、略U字状の形状を有する。このU字形状を構成する二本の縦辺のうち一方にコネクタ43と第1赤外発光素子40aが配置される。コネクタ43はこの縦辺の上端部に設けられ、第1赤外発光素子40aは同じ縦辺の下端部に設けられる。U字形状の他方の縦辺の上端部に第2赤外発光素子40bが配置されている。
上述のように、フレキシブルプリント基板の実装面とは反対側の面において第1赤外発光素子40aの裏側には第1支持プレート44aが貼り付けられ、第1赤外発光素子40aが支持される。第2赤外発光素子40bの裏側には第2支持プレート44bが貼り付けられ、第2赤外発光素子40bが支持される。第2支持プレート44bは、第1支持プレート44aとは異なり、U字形状の縦辺の全長にわたって延在する。なお、第1支持プレート44aと第2支持プレート44bは裏面に接着され基板上の回路パターンから絶縁されているので、第1赤外発光素子40aおよび第2赤外発光素子40bへの電気接続には関与しない。
第1支持プレート44aには、2つの位置決め穴80a、80bが第1赤外発光素子40aの近傍に形成されている。そのうち一方の位置決め穴80bは、第1支持プレート44aの外周輪郭とつながっている。これら2つの位置決め穴80a、80bは、第1インナーレンズ52aを第1赤外発光素子40aに対し位置決めするために用いられる。また、第2支持プレート44bには、2つの位置決め穴81a、81bが第2赤外発光素子40bの近傍に形成されている。これら2つの位置決め穴81a、81bは、第2インナーレンズ52bを第2赤外発光素子40bに対し位置決めするために用いられる。
また、配線基板42には、第1可撓部45aと第2可撓部45bが設けられている。第1可撓部45aは、U字形状のコネクタ43側の縦辺にあたり、コネクタ43から第1赤外発光素子40aに向けて延びている。第1可撓部45aには第1支持プレート44aが設けられていないので、第1可撓部45aは湾曲可能である。第2可撓部45bは、U字形状の横辺にあたる。第2可撓部45bには、第1支持プレート44aと第2支持プレート44bが設けられていないので、第2可撓部45bは湾曲可能である。
図6は、実施の形態に係り、配線基板42と放熱部材30の組み立て状態を示す概略斜視図である。放熱部材30には第1傾斜面35aと第2傾斜面35bが設けられ、配線基板42の第1支持プレート44aが第1傾斜面35aに取り付けられ、第2支持プレート44bが第2傾斜面35bに取り付けられる。こうして、第1赤外発光素子40aは、第1支持プレート44aを介して第1傾斜面35aによって支持され、第2赤外発光素子40bは、第2支持プレート44bを介して第2傾斜面35bによって支持される。第1可撓部45aと第2可撓部45bを湾曲させることによって、第1赤外発光素子40aと第2赤外発光素子40bがそれぞれの設置姿勢をとるように配線基板42を放熱部材30に取り付けることができる。
仮に、2つの発光素子が別個の基板に搭載される場合には、基板ごとにコネクタが必要となりうる。しかし、この実施の形態では、第1赤外発光素子40aと第2赤外発光素子40bがともに配線基板42上にあり電気接続されるので、1つのコネクタ43でよい。配線基板42を投光器筐体12内に省スペースに収めることができる。
なお図6ではコネクタ43とコード60の図示は省略されているが、コネクタ43は、コード通し穴32に隣接した場所に配置されることになる。
図7は、図1に示される車載赤外線投光器のB-B線断面を概略的に示す図である。図8は、図1に示される車載赤外線投光器のC-C線断面を概略的に示す図である。図7には、第2赤外発光素子40bの位置での鉛直面による断面が示され、図8には、第1赤外発光素子40aの位置での鉛直面による断面が示されている。第1赤外発光素子40aと第2赤外発光素子40bの前後方向(図においては左右方向)の位置関係を理解しやすくするために、図7には、第1赤外発光素子40aを破線で示す。
図7および図8に示されるように、アウターレンズ20は、第1領域20aと第2領域20bを有する。第1領域20aと第2領域20bはともに、赤外線透過性材料で形成された部分である。第1領域20aと第2領域20bは、前後に隣接しており、第2領域20bが第1領域20aよりも後方に位置する。
第1赤外発光素子40aは、アウターレンズ20の第1領域20aを通じて前方斜め下向きに赤外線IR1を照射する。第2赤外発光素子40bは、アウターレンズ20の第2領域20bを通じて後方斜め下向きに赤外線IR2を照射する。第2赤外発光素子40bは、第1赤外発光素子40aよりも前方に配置される。第2赤外発光素子40bがアウターレンズ20の第1領域20aの上方に位置し、第1赤外発光素子40aがアウターレンズ20の第2領域20bの上方に位置する。
第1赤外発光素子40aと第2赤外発光素子40bは異なる姿勢で配置される。第1赤外発光素子40aは、アウターレンズ20の第1領域20aに赤外線IR1を入射させる第1姿勢で配置され、第2赤外発光素子40bは、アウターレンズ20の第2領域20bに赤外線IR2を入射させる第2姿勢で配置される。すなわち、第1赤外発光素子40aは、アウターレンズ20の第1領域20aに対向する第1傾斜姿勢で配置され、第2赤外発光素子40bは、アウターレンズ20の第2領域20bに対向する第2傾斜姿勢で配置される。
第1インナーレンズ52aは、第1赤外発光素子40aとアウターレンズ20の第1領域20aの間に配置されている。第1インナーレンズ52aは、第1赤外発光素子40aからの入射赤外線に所望の制御を施して、アウターレンズ20の第1領域20aに向かう出射赤外線を得るように光学的に設計されている。第2インナーレンズ52bは、第2赤外発光素子40bとアウターレンズ20の第2領域20bの間に配置されている。第2インナーレンズ52bは、第2赤外発光素子40bからの入射赤外線に所望の制御を施して、アウターレンズ20の第2領域20bに向かう出射赤外線を得るように光学的に設計されている。
アウターレンズ20は、投光器筐体12がハウジング102に装着されたときハウジング102の開口部105から外側に張り出して配置されるように形状が定められている。とくに、アウターレンズ20の第1領域20aが、開口部105から外側に向かって膨らむように成形されている。アウターレンズ20の第2領域20bは、下側カバー104の後部と略同一平面をなし、これらは水平面と略平行である。上述のように、投光器筐体12は、ハウジング102の上側カバー103と下側カバー104に挟まれたスペースに収められている。
このようなアウターレンズ20の弓形状に張り出した形状を利用して、第2赤外発光素子40bは、ハウジング102の開口部105の前縁105aよりも下方に配置される。このようにすれば、第2赤外発光素子40bが開口部105の前縁105aより上方にある場合に比べて、第2赤外発光素子40bから赤外線IR2が後方斜め下向きに発せられるとき開口部105の後縁105bで遮蔽されにくい。そのため、車載赤外線投光器10は、後方に向けてより遠くまで赤外線IR2を照射することが可能になる。
第1赤外発光素子40aは、第1支持プレート44aを介して放熱部材30の第1傾斜面35aの直上に位置するのに対し、第2赤外発光素子40bは、第2支持プレート44b上に位置するが、放熱部材30の第2傾斜面35bの直上には位置しない。第2傾斜面35bからアウターレンズ20の第1領域20aに向かって第2支持プレート44bが延長されていることによって、より下方に第2赤外発光素子40bを配置することができる。
アウターレンズ20の第1領域20aの内面21aには、赤外線IR1を拡散させるための光学ステップが形成されている。光学ステップは、たとえばシリンドリカル形状を有するが、鋸歯状またはその他の凹凸形状を有してもよい。
一方、アウターレンズ20の第2領域20bの内面21bは、第2領域20bの後縁部から前縁部に向けて下方に傾斜している。アウターレンズ20は、第2領域20bの肉厚(すなわち第2領域20bの内面21bから外面21cへの厚み)が第2領域20bの後縁部から前縁部に向けて徐々に減少するように形状が定められている。
第2領域20bの内面21bには、第2領域20bを出射する赤外線IR2を左右方向に拡散させるための光学ステップが形成されている。光学ステップは、たとえばシリンドリカル形状を有する。複数のシリンドリカルステップが、前後方向に沿って延在し、左右方向(図7において紙面奥行き方向)に並んで配置される。したがって、図7に示されるように、第2領域20bの内面21bは、前後方向については滑らかな傾斜面となる。光学的に望まれる場合には、光学ステップは、他の方向に沿って延在してもよく、鋸歯状またはその他の凹凸形状を有してもよい。また、第2領域20bの内面21bには光学ステップが設けられていなくてもよい。
第2領域20bの外面21cは、投光器筐体12がハウジング102に装着されたとき水平面に実質的に平行となる平坦面となっている。第2領域20bの外面21cには、鋸歯状またはその他の凹凸形状をもついわゆる光学ステップは無く、すっきりとした見映えを車載赤外線投光器10にもたらすことができる。
第2赤外発光素子40bから後方斜め下向きに赤外線IR2が発せられるとき、第2領域20bの内面21bを第2赤外発光素子40bと対向させて配置することができる。これにより、第2領域20bの内面21bは、第2赤外発光素子40bの光軸と直交し、またはそれに近い角度で配置され、第2赤外発光素子40bからアウターレンズ20の第2領域20bへの入射角を小さくすることができる。アウターレンズ20の第2領域20bの内面21bに入射する赤外線の反射が抑制され、車載赤外線投光器10は、より多くの赤外線をアウターレンズ20の第2領域20bを通じて出射することができる。
図9(a)および図9(b)は、比較例に係るアウターレンズの形状を示す模式図である。図9(a)には、アウターレンズ20の外面にステップ38を設けた場合が示され、図9(b)には、アウターレンズ20の内面にステップ39を設けた場合が示される。原理的には、これらのようにアウターレンズ表面にステップを設けることによって、赤外光源37からアウターレンズ20に入射する赤外線の内面反射を抑えつつ、狙いの方向に赤外線を出射させることは可能である。しかし、図9(a)に示されるアウターレンズ外面のステップ38は、意匠面に凹凸をもたらすことになるから、投光器の見映えを損なう。また、図9(b)に示されるように、シール脚22が設けられているために、アウターレンズ内面にはステップ39を設ける十分なスペースが無い。
以上に述べた構成により、車載赤外線投光器10は、第1赤外発光素子40aと第2赤外発光素子40bの点灯により、アウターレンズ20を通じて赤外線IR1、IR2を出射し、その結果、たとえば図2に示される照射エリア150L、150Rを照らすことができる。
したがって、実施の形態によれば、車載赤外線投光器10は、比較的小型の投光器筐体12に第1赤外発光素子40aと第2赤外発光素子40bを収めるとともに、車両の側方を前後にわたり広く照らすことができる。コンパクトでありながら広域を照らす車載赤外線投光器10を提供することができる。
図10は、比較例に係る発光素子の配置を示す図である。もし、2つの赤外発光素子40a、40bを前後入れ替えて配置したとすると、図示されるように、これら赤外発光素子40a、40bは、アウターレンズ20に接近させて配置せざるを得ない。そうすると、赤外発光素子40a、40bとアウターレンズ20の間にインナーレンズ52a、52bを配置する十分なスペースを確保することが難しくなる。一点鎖線で示すように、アウターレンズ20を赤外発光素子40a、40bから遠ざければインナーレンズ52a、52bのためのスペースをとることができるが、これは赤外線投光器のサイズを大きくしたことにほかならない。
さらに、2つの赤外発光素子40a、40bが、たとえば一枚の平面基板上で隣接する等、同じ姿勢で配置されたと仮定すると、このままでは2つの赤外発光素子40a、40bからの赤外線照射方向は同じ向きになる。照射方向を異ならせるためには、少なくとも一方の発光素子からの赤外線を方向転換させなければならない。しかし、そのための光学素子を配置するために追加のスペースが必要となりうる。
実施の形態によれば、第1赤外発光素子40aと第2赤外発光素子40bをそれぞれ異なる適切な姿勢で配置することができる。これら赤外発光素子40a、40bが同じ姿勢に制約される場合に比べて、各赤外発光素子40a、40bの姿勢を設計上の自由度に加えることができ、よりコンパクトな車載赤外線投光器10を設計しやすくなることが期待される。より具体的には、第1赤外発光素子40aが前方斜め下向きに赤外線IR1を照射する第1姿勢で配置され、第2赤外発光素子40bが後方斜め下向きに赤外線IR2を照射する第2姿勢で配置される。このようにして、コンパクトな車載赤外線投光器10で、前後に広がる照射エリア150L、150Rを照らすことができる。
さらに、実施の形態では、図4ないし図8から理解されるように、第1赤外発光素子40aと第2赤外発光素子40bは、互いに左右にずれて配置されている。このようにすれば、一方の発光素子から発せられる赤外線を遮らないように他方の発光素子を配置することが容易になる。
赤外発光素子40a、40bの配置に対応して、第1インナーレンズ52aと第2インナーレンズ52bが左右に並んで配置されている。このようにすれば、前後方向において同じ位置に2つのインナーレンズ52a、52bを配置できる。また、2つのインナーレンズ52a、52bを別部品として用意する場合に比べて、省スペースに設置でき、取付作業もしやすくなる。
図11(a)および図11(b)は、実施の形態に係り、配線基板42、放熱部材30およびコード60の組み立て状態を示す概略斜視図である。図11(a)には、この組立体を第1赤外発光素子40aの光軸方向から見た図を示し、図11(b)には、この組立体を第2赤外発光素子40bの光軸方向から見た図を示す。また、図12(a)および図12(b)はそれぞれ、図11(a)および図11(b)に示される組立体にインナーレンズ部材50を組み付けた状態を示す概略斜視図である。
図11(a)および図12(a)を参照すると、配線基板42の位置決め穴80a、80bにはそれぞれ、インナーレンズ部材50に形成された位置決め凸部82a、82bが係合し、それにより、第1インナーレンズ52aを第1赤外発光素子40aに対し位置決めすることができる。また、位置決め穴80bと位置決め凸部82bは、放熱部材30の第1傾斜面35a上に隣接配置されるとともに互いに組み合わされて共締め部を形成し、この共締め部が共締めねじ83で放熱部材30に固定される。このようにすれば、第1インナーレンズ52aと第1支持プレート44aをそれぞれ専用の固定ねじで個別に放熱部材30に固定する場合に比べて、省スペースでの固定が可能になる。
図11(b)および図12(b)を参照すると、配線基板42の位置決め穴81a、81bにはそれぞれ、インナーレンズ部材50に形成された位置決め凸部84a、84bが係合し、それにより、第2インナーレンズ52bを第2赤外発光素子40bに対し位置決めすることができる。さらに、インナーレンズ部材50には凸状部85が形成され、第2支持プレート44bには凹状部86が形成されている。凸状部85と凹状部86は、放熱部材30の第2傾斜面35b上に隣接配置されるとともに互いに組み合わされて共締め部を形成し、この共締め部が共締めねじ87で放熱部材30に固定される。このようにすれば、第2インナーレンズ52bと第2支持プレート44bをそれぞれ専用の固定ねじで個別に放熱部材30に固定する場合に比べて、省スペースでの固定が可能になる。
図13は、実施の形態に係る車載赤外線投光器を前側から見たときの概略正面図である。図14は、図13に示される車載赤外線投光器のD-D線断面を模式的に示す図である。図14においては、理解を容易にするために、コード60が通る経路を破線で示す。
図14に示されるように、投光器筐体12内に配置されるコード60の一端にはコネクタ63が設けられ、このコネクタ63が配線基板42上のコネクタ43に接続されている。コード60は、上述のように、放熱部材30に設けられたコード通し穴32から投光器筐体12の外に引き出される。コード60にはブッシング61が装着され、コード通し穴32とコード60の隙間はブッシング61で封じられている。ブッシング61は、たとえばEPDM(エチレンプロピレンジエンゴム)などのゴム材料で形成されるが、防水性をもつ他の合成樹脂材料で形成されてもよい。
コード通し穴32から投光器筐体12の外に引き出されたコード60は、コード保持部70へと配索される。コード保持部70は、コード通し穴32に対して放熱フィン31とは反対側に形成されている。この実施の形態では、コード保持部70がコード通し穴32に対して放熱部材30の前側に位置し、放熱フィン31がコード通し穴32に対して放熱部材30の後側に位置する。このようにして、コード通し穴32から引き出されたコード60は、放熱フィン31とは反対側でコード保持部70へと配索される。放熱フィン31の先端は金属製で鋭いが、そうした部位とコード60との接触を避けることができる。
コード保持部70は、コード通し穴32からのコード60の引き出し方向とは反対方向に放熱部材30から突出している。コード60は、コード通し穴32を下から上に通り抜けるように投光器筐体12の中から外へと引き出されているのに対し、コード保持部70は、放熱部材30から下方に向けて突き出している。コード60は、コード通し穴32とコード保持部70の間で湾曲部65を形成するように配索され、ブッシング61は、コード通し穴32から湾曲部65にかけてコード60に装着されている。コード60およびブッシング61を湾曲させることによって、コード60を投光器筐体12の近くにコンパクトにまとめることができる。コード60が周囲の他部品や構造物に干渉する可能性を減らすことができる。
また、ブッシング61の湾曲がもとのまっすぐな状態に戻ろうとする弾性的な復元力(図14に矢印66で示す)が、コード保持部70に保持されたコード60をブッシング61側に引き上げるように働く。このようにして、コード保持部70にコード60をより確実に保持することができる。
コード保持部70は、上述のように、ガスケット24の一部である被覆部24aで被覆されている。コード保持部70は金属製の放熱部材30の一部であるが、コード60がコード保持部70に保持されるときコード保持部70の金属面に直接触れない。そのため、コード60がコード保持部70によって傷つけられる可能性はほとんどない。また、コード60がコード保持部70によって保持されることにより、車両の走行中に生じうる振動によるコード60のばたつきも抑制される。
さらに、コード60は、コード保持部70でガスケット24(すなわち被覆部24a)とプロテクタ28に挟まれて保持されている。ガスケット24と同様に、プロテクタ28も軟質樹脂材料で形成されている。このようにして、コード保持部70にコード60をより確実に保持することができる。
図13に示されるように、車載赤外線投光器10には、コード押さえ部72も設けられている。コード押さえ部72は、アウターレンズ20の一部として投光器筐体12の外側に設けられている。より詳しくは、コード押さえ部72は、アウターレンズ20のシール脚22の一部であり、シール脚22から放熱部材30側へと延びている。コード保持部70とコード押さえ部72は、車載赤外線投光器10の前側中央部で左右に隣接して配置されている。コード保持部70を通り抜けたコード60は、コード押さえ部72によって投光器筐体12の近傍に押さえられ、上方へと湾曲して延び、他端のコネクタ62に至る。コード保持部70と同様に、コード押さえ部72も、コード60を投光器筐体12の近くに保持することに役立つ。
図15は、実施の形態に係る車載赤外線投光器の一部を上側から見たときの概略上面図である。図15には、図1に示されるハウジング102の内部において車載赤外線投光器10を上から見たときの車載赤外線投光器10の後部が示される。図16は、図15に示される車載赤外線投光器のE-E線断面を模式的に示す図である。
プロテクタ28は、上述のように、ハウジング102の開口部105の縁とアウターレンズ20の外周部との間に介装される。ハウジング102内においてアウターレンズ20の外周部には、プロテクタ28で縁取られた凹部90が形成される。この実施の形態では、アウターレンズ20にシール脚22が設けられているので、凹部90はプロテクタ28とシール脚22によって定められてもよい。
凹部90は投光器筐体12の外側にあるので、ハウジング102内に水が入り込んだとき、水が溜まりうる。この実施の形態では、車載赤外線投光器10が下側カバー104(図1)に装着され、凹部90がハウジング102の下部(たとえば底部)に位置するので、凹部90には、ハウジング102内に浸入した水が流れ込みやすい。
プロテクタ28は、凹部90を凹部90の外側領域91に接続する排水路92を有する。この実施の形態では、排水路92は、プロテクタ28の表面に形成された溝である。プロテクタ28は、上述のように、たとえばEPDM(エチレンプロピレンジエンゴム)などのソリッドゴムで形成されるため、排水路92は、プロテクタ28と一体成形される。排水路92の形状は溝に限定されず、排水路92は、プロテクタ28に形成された水抜き用のその他の切り欠き、または貫通穴であってもよい。
なお、車載赤外線投光器10が傾斜した姿勢でハウジング102に装着され、凹部90も傾斜している場合には、排水路92は、水の流下方向に沿ってプロテクタ28に設けられてもよい。たとえば、排水路92は、凹部90のうち最下部またはその近傍を外側領域91に接続するように、プロテクタ28に形成されてもよい。
投光器筐体12は、防水構造を有する。すなわち、上述のように、投光器筐体12を構成するアウターレンズ20と放熱部材30は、ガスケット24を挟み込むように結合され、放熱部材30の空気穴33には防水通気性のフィルム34が貼り付けられている。たとえ凹部90に水が溜まったとしても、凹部90は投光器筐体12の外にある。したがって、防水構造が有効に機能する限り、凹部90から投光器筐体12の中に水が浸入することはない。
しかしながら、たとえば車載赤外線投光器10の長期の使用により、防水構造の劣化が進み防水性能が低下した場合には、投光器筐体12の外から中に水が浸入するおそれがある。投光器筐体12のまわりに多量の水が溜まっているほど、水が浸入するリスクも高まる。
実施の形態によれば、プロテクタ28に排水路92が設けられているので、凹部90に水が流入したとしても、図16の矢印93で示されるように、ハウジング102内において凹部90から凹部90の外側領域91へと排水路92を通じて水を逃がすことができる。よって、ハウジング102内に水が浸入しても、凹部90に水は溜まりにくく、車載赤外線投光器10内に水が浸入するリスクを低減することができる。
本発明は、上述した実施の形態及び変形例に限定されるものではなく、実施の形態及び変形例を組み合わせたり、当業者の知識に基づいて各種の設計変更などのさらなる変形を加えることも可能であり、そのような組み合わせられ、もしくはさらなる変形が加えられた実施の形態や変形例も本発明の範囲に含まれる。上述した実施の形態や変形例、及び上述した実施の形態や変形例と以下の変形との組合せによって生じる新たな実施の形態は、組み合わされる実施の形態、変形例及びさらなる変形それぞれの効果をあわせもつ。
上述の実施の形態では、車載赤外線投光器10は、車両の側方の路面を前後にわたり赤外線で照らすように構成されているが、本発明は、これに限定されない。図17は、変形例に係る車載赤外線投光器の赤外線照射エリアを示す模式図である。図示されるように、車両140の前部に搭載される赤外線投光器10Fが車両140の前方の路面上で左右に広がる照射エリア150Fに赤外線を照射してもよい。この場合、第1赤外発光素子は、アウターレンズの第1領域を通じて投光器筐体に対して左側(または右側)を照らすように配置され、第2赤外発光素子は、アウターレンズの第2領域を通じて投光器筐体に対して右側(または左側)を照らすように配置されてもよい。同様に、車両140の後部に搭載される赤外線投光器10Bが車両140の後方の路面上で左右に広がる照射エリア150Bに赤外線を照射してもよい。これらの赤外線投光器10F、10Bを上述の赤外線投光器10L、10Rと併用すれば、車両140の全周囲を赤外線で照らすこともできる。
一般化すれば、車載赤外線投光器は、投光器筐体の内部に配置され、アウターレンズの第1領域を通じて投光器筐体に対して第1側を照らす第1赤外発光素子と、投光器筐体の内部に配置され、アウターレンズの第2領域を通じて投光器筐体に対して第1側とは反対の第2側を照らす第2赤外発光素子と、を備えてもよい。アウターレンズの第2領域は、アウターレンズの第1領域よりも第2側に位置し、第2赤外発光素子は、第1赤外発光素子よりも第1側に配置されてもよい。
上述の実施の形態では、車載赤外線投光器10およびカメラ110がドアミラーに搭載される場合を例として説明しているが、車載赤外線投光器10およびカメラ110は、フェンダーミラー、バックミラー、または車両のその他の部位に搭載されてもよい。また、上述の実施の形態では、車載赤外線投光器10とカメラ110は、同じハウジング102に取り付けられているが、これに限定されず、車載赤外線投光器10とカメラ110は、互いに別のハウジング、または車両の別の部位に取り付けられてもよい。たとえば、車載赤外線投光器10とカメラ110は、サイドターンランプ120、車両用前照灯、またはその他の車両用灯具に組み込まれてもよい。
本発明は、車載赤外線投光器10に限定されない。たとえば、投光器10は、赤外線発光素子に代えて(または赤外線発光素子とともに)、可視光の発光素子を搭載し、車両用灯具として利用されてもよい。例えば、実施の形態に係るコード保持部70は、そうした車両用灯具にも同様に適用可能である。車両用灯具内の配線基板を外部に接続するコード60を保護することができる。
実施の形態にもとづき、具体的な語句を用いて本発明を説明したが、実施の形態は、本発明の原理、応用の一側面を示しているにすぎず、実施の形態には、請求の範囲に規定された本発明の思想を逸脱しない範囲において、多くの変形例や配置の変更が認められる。
本発明は、車載赤外線投光器、車両用周辺検知装置、車両用灯具に利用できる。
10 車載赤外線投光器、 12 投光器筐体、 20 アウターレンズ、 20a 第1領域、 20b 第2領域、 24 ガスケット、 28 プロテクタ、 30 放熱部材、 31 放熱フィン、 32 コード通し穴、 33 空気穴、 40a 第1赤外発光素子、 40b 第2赤外発光素子、 42 配線基板、 50 インナーレンズ部材、 52a 第1インナーレンズ、 52b 第2インナーレンズ、 60 コード、 61 ブッシング、 65 湾曲部、 70 コード保持部、 90 凹部、 91 外側領域、 92 排水路、 100 サイドミラー、 102 ハウジング、 105 開口部、 110 カメラ、 130 車両用周辺検知装置、 140 車両。

Claims (23)

  1. 車両側方の路面を前後にわたり赤外線で照らす車載赤外線投光器であって、
    車両に設けられるハウジングに装着可能な投光器筐体であって、その一部が赤外線透過性を有するアウターレンズで形成され、前記ハウジングに装着されたとき前記アウターレンズが前記ハウジングの開口部に配置される投光器筐体と、
    前記投光器筐体の内部に配置され、前記アウターレンズの第1領域を通じて車両の前方斜め下向きに赤外線を照射する第1赤外発光素子と、
    前記投光器筐体の内部に配置され、前記アウターレンズの第2領域を通じて車両の後方斜め下向きに赤外線を照射する第2赤外発光素子と、を備え、
    前記アウターレンズの第2領域は、前記アウターレンズの第1領域よりも車両後方に位置し、
    前記第2赤外発光素子は、前記第1赤外発光素子よりも車両前方に配置されることを特徴とする車載赤外線投光器。
  2. 前記第1赤外発光素子は、前記アウターレンズの第1領域に赤外線を入射させる第1姿勢で配置され、
    前記第2赤外発光素子は、前記アウターレンズの第2領域に赤外線を入射させる前記第1姿勢とは異なる第2姿勢で配置されることを特徴とする請求項1に記載の車載赤外線投光器。
  3. 前記アウターレンズの第2領域の内面は、前記第2領域の後縁部から前縁部に向けて下方に傾斜していることを特徴とする請求項1または2に記載の車載赤外線投光器。
  4. 前記アウターレンズは、前記投光器筐体が前記ハウジングに装着されたとき前記ハウジングの開口部から外側に張り出して配置されるように形状が定められており、
    前記第2赤外発光素子は、前記ハウジングの開口部の前縁よりも下方に配置されることを特徴とする請求項1から3のいずれかに記載の車載赤外線投光器。
  5. 前記第1赤外発光素子および前記第2赤外発光素子を搭載したフレキシブルプリント基板をさらに備えることを特徴とする請求項1から4のいずれかに記載の車載赤外線投光器。
  6. 前記第1赤外発光素子と前記第2赤外発光素子が、互いに左右にずれて配置されることを特徴とする請求項1から5のいずれかに記載の車載赤外線投光器。
  7. 第1インナーレンズおよび第2インナーレンズを有するインナーレンズ部材をさらに備え、
    前記第1インナーレンズは、前記第1赤外発光素子と前記アウターレンズの第1領域の間に配置され、前記第2インナーレンズは、前記第2赤外発光素子と前記アウターレンズの第2領域の間に配置され、
    前記第1インナーレンズと前記第2インナーレンズが左右に並んで配置され、一体成形されていることを特徴とする請求項6に記載の車載赤外線投光器。
  8. 前記投光器筐体は、前記第1赤外発光素子および前記第2赤外発光素子を支持するとともに前記アウターレンズと気密に結合されて前記投光器筐体を形成する放熱部材を備え、
    前記放熱部材は、前記投光器筐体の外部と通気する空気穴を有することを特徴とする請求項1から7のいずれかに記載の車載赤外線投光器。
  9. 前記第1赤外発光素子と前記第2赤外発光素子のうち少なくとも一方を搭載した配線基板と、
    前記配線基板を外部に接続するためのコードと、
    コード保持部と、をさらに備え、
    前記投光器筐体は、前記配線基板を支持する金属製の放熱部材と、樹脂材料で形成されたガスケットと、をさらに備え、前記放熱部材と前記アウターレンズが前記ガスケットを挟み込むように結合され、前記配線基板を収容しており、
    前記コード保持部は、前記放熱部材の一部として前記投光器筐体の外側に設けられ、前記ガスケットで被覆されていることを特徴とする請求項1から8のいずれかに記載の車載赤外線投光器。
  10. 前記放熱部材は、放熱フィンとコード通し穴とを有し、前記コード保持部が前記コード通し穴に対して前記放熱フィンとは反対側に形成され、
    前記コードは、前記コード通し穴から前記投光器筐体の外に引き出され、前記コード保持部へと配索されることを特徴とする請求項9に記載の車載赤外線投光器。
  11. 前記コード保持部は、前記コード通し穴からの前記コードの引き出し方向とは反対方向に前記放熱部材から突出し、
    前記コードは、前記コード通し穴と前記コード保持部の間で湾曲部を形成するように配索され、前記コード通し穴から前記湾曲部にかけて前記コードにブッシングが装着されていることを特徴とする請求項10に記載の車載赤外線投光器。
  12. 樹脂材料で形成され、前記アウターレンズの外周に装着されたプロテクタをさらに備え、
    前記コードは、前記コード保持部で前記ガスケットと前記プロテクタに挟まれて保持されることを特徴とする請求項9から11のいずれかに記載の車載赤外線投光器。
  13. 前記配線基板は、フレキシブルプリント基板であることを特徴とする請求項9から12のいずれかに記載の車載赤外線投光器。
  14. 前記放熱部材は、前記投光器筐体の外部と通気する空気穴を有することを特徴とする請求項9から13のいずれかに記載の車載赤外線投光器。
  15. 樹脂材料で形成され、前記ハウジングの開口部の縁と前記アウターレンズの外周部との間に介装されるプロテクタをさらに備え、
    前記ハウジング内において前記アウターレンズの外周部には、前記プロテクタで縁取られた凹部が形成され、
    前記プロテクタは、前記凹部を前記凹部の外側領域に接続する排水路を有することを特徴とする請求項1から14のいずれかに記載の車載赤外線投光器。
  16. 前記排水路は、前記プロテクタの表面に形成された溝であることを特徴とする請求項15に記載の車載赤外線投光器。
  17. 前記凹部は、前記ハウジングの下部に位置することを特徴とする請求項15または16に記載の車載赤外線投光器。
  18. 前記ハウジングは、前記車両のサイドミラーのハウジングであることを特徴とする請求項1から17のいずれかに記載の車載赤外線投光器。
  19. 車両に設けられるハウジングに装着可能な投光器筐体であって、その一部が赤外線透過性を有するアウターレンズで形成され、前記ハウジングに装着されたとき前記アウターレンズが前記ハウジングの開口部に配置される投光器筐体と、
    前記投光器筐体の内部に配置され、前記アウターレンズの第1領域を通じて前記投光器筐体に対して第1側を照らす第1赤外発光素子と、
    前記投光器筐体の内部に配置され、前記アウターレンズの第2領域を通じて前記投光器筐体に対して前記第1側とは反対の第2側を照らす第2赤外発光素子と、を備え、
    前記アウターレンズの第2領域は、前記アウターレンズの第1領域よりも前記第2側に位置し、
    前記第2赤外発光素子は、前記第1赤外発光素子よりも前記第1側に配置されることを特徴とする車載赤外線投光器。
  20. 赤外発光素子を搭載した配線基板と、
    前記配線基板を外部に接続するためのコードと、
    前記配線基板を支持する金属製の放熱部材と、赤外線透過性を有するアウターレンズと、樹脂材料で形成されたガスケットと、を備え、前記放熱部材と前記アウターレンズが前記ガスケットを挟み込むように結合され、前記配線基板を収容する投光器筐体と、
    前記放熱部材の一部として前記投光器筐体の外側に設けられ、前記ガスケットで被覆されているコード保持部と、を備えることを特徴とする車載赤外線投光器。
  21. 車両に設けられるハウジングに装着可能な投光器筐体であって、その一部が赤外線透過性を有するアウターレンズで形成され、前記ハウジングに装着されたとき前記アウターレンズが前記ハウジングの開口部に配置される投光器筐体と、
    樹脂材料で形成され、前記ハウジングの開口部の縁と前記アウターレンズの外周部との間に介装されるプロテクタと、を備え、
    前記ハウジング内において前記アウターレンズの外周部には、前記プロテクタで縁取られた凹部が形成され、
    前記プロテクタは、前記凹部を前記凹部の外側領域に接続する排水路を有することを特徴とする車載赤外線投光器。
  22. 請求項1から21のいずれかに記載の車載赤外線投光器と、
    前記車載赤外線投光器によって赤外線で照明される前記車両周辺の場所を撮影するように前記車両に設置され、少なくとも前記赤外線に感度を有するカメラと、を備えることを特徴とする車両用周辺検知装置。
  23. 発光素子を搭載した配線基板と、
    前記配線基板を外部に接続するためのコードと、
    前記配線基板を支持する金属製の放熱部材と、アウターレンズと、樹脂材料で形成されたガスケットと、を備え、前記放熱部材と前記アウターレンズが前記ガスケットを挟み込むように結合され、前記配線基板を収容する筐体と、
    前記放熱部材の一部として前記筐体の外側に設けられ、前記ガスケットに被覆されているコード保持部と、を備えることを特徴とする車両用灯具。
JP2021574607A 2020-01-30 2021-01-13 車載赤外線投光器、車両用周辺検知装置、車両用灯具 Active JP7586843B2 (ja)

Applications Claiming Priority (7)

Application Number Priority Date Filing Date Title
JP2020013950 2020-01-30
JP2020013951 2020-01-30
JP2020013950 2020-01-30
JP2020013949 2020-01-30
JP2020013949 2020-01-30
JP2020013951 2020-01-30
PCT/JP2021/000856 WO2021153233A1 (ja) 2020-01-30 2021-01-13 車載赤外線投光器、車両用周辺検知装置、車両用灯具

Publications (2)

Publication Number Publication Date
JPWO2021153233A1 JPWO2021153233A1 (ja) 2021-08-05
JP7586843B2 true JP7586843B2 (ja) 2024-11-19

Family

ID=77078180

Family Applications (1)

Application Number Title Priority Date Filing Date
JP2021574607A Active JP7586843B2 (ja) 2020-01-30 2021-01-13 車載赤外線投光器、車両用周辺検知装置、車両用灯具

Country Status (3)

Country Link
JP (1) JP7586843B2 (ja)
CN (1) CN115087564B (ja)
WO (1) WO2021153233A1 (ja)

Citations (6)

* Cited by examiner, † Cited by third party
Publication number Priority date Publication date Assignee Title
JP2003165403A (ja) 2001-11-30 2003-06-10 Tokai Rika Co Ltd 障害物検出装置
JP2004231128A (ja) 2003-01-31 2004-08-19 Ichikoh Ind Ltd 自動車用アウトサイドミラー
JP2005313808A (ja) 2004-04-30 2005-11-10 Stanley Electric Co Ltd 監視カメラ付きバックミラー
JP2008186793A (ja) 2007-01-31 2008-08-14 Ichikoh Ind Ltd 赤外線発光led及び車両用赤外線投光装置
WO2011058875A1 (ja) 2009-11-16 2011-05-19 富士通テン株式会社 車載照明装置、画像処理装置及び画像表示システム
US20170349087A1 (en) 2016-06-06 2017-12-07 Coplus Inc. Led fog lamp

Family Cites Families (6)

* Cited by examiner, † Cited by third party
Publication number Priority date Publication date Assignee Title
JP2003267140A (ja) * 2002-03-20 2003-09-25 Murakami Corp カメラ内蔵型バックミラー装置
DE102007016294B4 (de) * 2006-04-11 2009-04-02 Koito Manufacturing Co., Ltd. Fahrzeugleuchte
JP2009184410A (ja) * 2008-02-04 2009-08-20 Koito Mfg Co Ltd 車両用照明灯具
CN101959716B (zh) * 2008-03-03 2014-08-13 株式会社藤仓 后视镜装置
US8894257B2 (en) * 2012-05-17 2014-11-25 Osram Sylvania Inc. Headlamp featuring both low-beam and high-beam outputs and devoid of moving parts
CN111867886B (zh) * 2018-03-07 2024-03-15 株式会社小糸制作所 车辆用灯具及车辆用灯具系统

Patent Citations (6)

* Cited by examiner, † Cited by third party
Publication number Priority date Publication date Assignee Title
JP2003165403A (ja) 2001-11-30 2003-06-10 Tokai Rika Co Ltd 障害物検出装置
JP2004231128A (ja) 2003-01-31 2004-08-19 Ichikoh Ind Ltd 自動車用アウトサイドミラー
JP2005313808A (ja) 2004-04-30 2005-11-10 Stanley Electric Co Ltd 監視カメラ付きバックミラー
JP2008186793A (ja) 2007-01-31 2008-08-14 Ichikoh Ind Ltd 赤外線発光led及び車両用赤外線投光装置
WO2011058875A1 (ja) 2009-11-16 2011-05-19 富士通テン株式会社 車載照明装置、画像処理装置及び画像表示システム
US20170349087A1 (en) 2016-06-06 2017-12-07 Coplus Inc. Led fog lamp

Also Published As

Publication number Publication date
WO2021153233A1 (ja) 2021-08-05
CN115087564A (zh) 2022-09-20
JPWO2021153233A1 (ja) 2021-08-05
CN115087564B (zh) 2025-11-21

Similar Documents

Publication Publication Date Title
US7609961B2 (en) Vehicle camera
JP6922706B2 (ja) センサー搭載構造
US20100129070A1 (en) Rear view camera mounting on a vehicle
KR101277299B1 (ko) 차량용 사이드 미러의 통합 램프 장치
EP1442934A1 (en) Outside mirror for vehicle
JP2014216730A (ja) 車両用室内灯ユニット
US9688332B2 (en) Headlamp assembly for a saddle-type vehicle
US20220345601A1 (en) Imaging device
US20100302793A1 (en) Turn lamp unit
KR100874037B1 (ko) 적외선 감시 카메라
JP2013216290A (ja) ハイマウントストップランプ
KR20150065169A (ko) 자동차용 후방 카메라
JP4218611B2 (ja) 車両用灯具、車両用灯具付き車両用アウトサイドミラー装置
JP4109974B2 (ja) 車両用アウタミラー装置
US20240422410A1 (en) Light source unit and vehicle
JP7586843B2 (ja) 車載赤外線投光器、車両用周辺検知装置、車両用灯具
US12247714B2 (en) Light emitting apparatus, light source unit, and mobile body
JP4285092B2 (ja) カメラユニット付きアウターミラー
JP7108853B2 (ja) 光源ユニット及び車両
US9302724B2 (en) Headlamp assembly for a saddle-type vehicle
JP7731234B2 (ja) 車両用外装部品
JP4122991B2 (ja) 自動車用アウトサイドミラー
JP2023007063A (ja) 撮像装置
JP2021138349A (ja) 車両用光照射装置
WO2025243980A1 (ja) 車両用カメラ機構

Legal Events

Date Code Title Description
A621 Written request for application examination

Free format text: JAPANESE INTERMEDIATE CODE: A621

Effective date: 20231017

A131 Notification of reasons for refusal

Free format text: JAPANESE INTERMEDIATE CODE: A131

Effective date: 20240528

TRDD Decision of grant or rejection written
A01 Written decision to grant a patent or to grant a registration (utility model)

Free format text: JAPANESE INTERMEDIATE CODE: A01

Effective date: 20241022

A61 First payment of annual fees (during grant procedure)

Free format text: JAPANESE INTERMEDIATE CODE: A61

Effective date: 20241107

R150 Certificate of patent or registration of utility model

Ref document number: 7586843

Country of ref document: JP

Free format text: JAPANESE INTERMEDIATE CODE: R150