JP7561511B2 - 電気化学素子の金属支持体、電気化学素子、電気化学モジュール、電気化学装置、エネルギーシステム、固体酸化物形燃料電池、および固体酸化物形電解セル - Google Patents
電気化学素子の金属支持体、電気化学素子、電気化学モジュール、電気化学装置、エネルギーシステム、固体酸化物形燃料電池、および固体酸化物形電解セル Download PDFInfo
- Publication number
- JP7561511B2 JP7561511B2 JP2020058882A JP2020058882A JP7561511B2 JP 7561511 B2 JP7561511 B2 JP 7561511B2 JP 2020058882 A JP2020058882 A JP 2020058882A JP 2020058882 A JP2020058882 A JP 2020058882A JP 7561511 B2 JP7561511 B2 JP 7561511B2
- Authority
- JP
- Japan
- Prior art keywords
- electrochemical
- electrode layer
- metal support
- electrochemical element
- layer
- Prior art date
- Legal status (The legal status is an assumption and is not a legal conclusion. Google has not performed a legal analysis and makes no representation as to the accuracy of the status listed.)
- Active
Links
Images
Classifications
-
- Y—GENERAL TAGGING OF NEW TECHNOLOGICAL DEVELOPMENTS; GENERAL TAGGING OF CROSS-SECTIONAL TECHNOLOGIES SPANNING OVER SEVERAL SECTIONS OF THE IPC; TECHNICAL SUBJECTS COVERED BY FORMER USPC CROSS-REFERENCE ART COLLECTIONS [XRACs] AND DIGESTS
- Y02—TECHNOLOGIES OR APPLICATIONS FOR MITIGATION OR ADAPTATION AGAINST CLIMATE CHANGE
- Y02E—REDUCTION OF GREENHOUSE GAS [GHG] EMISSIONS, RELATED TO ENERGY GENERATION, TRANSMISSION OR DISTRIBUTION
- Y02E60/00—Enabling technologies; Technologies with a potential or indirect contribution to GHG emissions mitigation
- Y02E60/30—Hydrogen technology
- Y02E60/36—Hydrogen production from non-carbon containing sources, e.g. by water electrolysis
-
- Y—GENERAL TAGGING OF NEW TECHNOLOGICAL DEVELOPMENTS; GENERAL TAGGING OF CROSS-SECTIONAL TECHNOLOGIES SPANNING OVER SEVERAL SECTIONS OF THE IPC; TECHNICAL SUBJECTS COVERED BY FORMER USPC CROSS-REFERENCE ART COLLECTIONS [XRACs] AND DIGESTS
- Y02—TECHNOLOGIES OR APPLICATIONS FOR MITIGATION OR ADAPTATION AGAINST CLIMATE CHANGE
- Y02E—REDUCTION OF GREENHOUSE GAS [GHG] EMISSIONS, RELATED TO ENERGY GENERATION, TRANSMISSION OR DISTRIBUTION
- Y02E60/00—Enabling technologies; Technologies with a potential or indirect contribution to GHG emissions mitigation
- Y02E60/30—Hydrogen technology
- Y02E60/50—Fuel cells
-
- Y—GENERAL TAGGING OF NEW TECHNOLOGICAL DEVELOPMENTS; GENERAL TAGGING OF CROSS-SECTIONAL TECHNOLOGIES SPANNING OVER SEVERAL SECTIONS OF THE IPC; TECHNICAL SUBJECTS COVERED BY FORMER USPC CROSS-REFERENCE ART COLLECTIONS [XRACs] AND DIGESTS
- Y02—TECHNOLOGIES OR APPLICATIONS FOR MITIGATION OR ADAPTATION AGAINST CLIMATE CHANGE
- Y02P—CLIMATE CHANGE MITIGATION TECHNOLOGIES IN THE PRODUCTION OR PROCESSING OF GOODS
- Y02P70/00—Climate change mitigation technologies in the production process for final industrial or consumer products
- Y02P70/50—Manufacturing or production processes characterised by the final manufactured product
Landscapes
- Electrolytic Production Of Non-Metals, Compounds, Apparatuses Therefor (AREA)
- Fuel Cell (AREA)
Description
上記目的を達成するための電気化学素子の金属支持体の特徴構成は、
前記金属支持体は全体として板状であり、
前記金属支持体は、電極層が設けられる面を表側面として、前記表側面から裏側面へ貫通する複数の貫通空間を有し、
前記貫通空間の前記表側面の開口部である表側開口部の面積が7.8×10 -3 mm 2 以上1.3×10 -1 mm 2 未満であり、
前記表側開口部の間隔が0.15mm以上0.9mm以下であり、
前記貫通空間の少なくとも前記表側開口部が多孔質セラミック材により塞がれ、
前記貫通空間の全体に多孔質セラミック材が充填されている点にある。
加えて、前記表側開口部の間隔が0.15mm以上0.9mm以下であるから、金属支持体の表側面への電極層の形成が容易になり、また、金属支持体の強度を向上できるので好ましい。
上記目的を達成するための電気化学素子の金属支持体の特徴構成は、
前記金属支持体は全体として板状であり、
前記金属支持体は、電極層が設けられる面を表側面として、前記表側面から裏側面へ貫通する複数の貫通空間を有し、
前記貫通空間の前記表側面の開口部である表側開口部の直径が0.1mm以上0.4mm以下であり、
前記表側開口部の間隔が0.15mm以上0.9mm以下であり、
前記貫通空間の少なくとも前記表側開口部が多孔質セラミック材により塞がれ、
前記貫通空間の全体に多孔質セラミック材が充填されている点にある。
加えて、前記表側開口部の間隔が0.15mm以上0.9mm以下であるから、金属支持体の表側面への電極層の形成が容易になり、また、金属支持体の強度を向上できるので好ましい。
前記表側開口部の直径を前記金属支持体の厚さで除した値であるアスペクト比が1.4以下であってもよい。
本発明に係る金属支持体の別の特徴構成は、前記表側面において前記貫通空間が形成されている領域を孔領域とし、前記孔領域における前記表側開口部の占める割合である開口率が22%以下である点にある。
本発明に係る金属支持体の別の特徴構成は、材料がFe-Cr系合金である点にある。
本発明に係る金属支持体の別の特徴構成は、前記表側面の少なくとも一部が金属酸化物膜で覆われている点にある。
上述の金属支持体の前記表側面に、少なくとも電極層と電解質層と対極電極層とが設けられた電気化学素子は、十分な性能を確保しつつ、量産時の加工性とコストを改善したものとなり好適である。
〔構成8〕
本発明に係る電気化学モジュールの特徴構成は、上述の電気化学素子が複数集合した状態で配置される点にある。
本発明に係る電気化学装置の特徴構成は、上述の電気化学素子若しくは上述の電気化学モジュールと、前記電気化学素子若しくは前記電気化学モジュールに還元性成分を含有するガスを流通する燃料変換器、或いは前記電気化学素子若しくは前記電気化学モジュールで生成する還元性成分を含有するガスを変換する燃料変換器と、を少なくとも有する点にある。
〔構成10〕
本発明に係る電気化学装置の特徴構成は、上述の電気化学素子若しくは上述の電気化学モジュールと、前記電気化学素子若しくは前記電気化学モジュールから電力を取り出す、或いは前記電気化学素子若しくは前記電気化学モジュールに電力を流通する電力変換器とを少なくとも有する点にある。
なお、例えば、電力変換器としてインバータを用いる場合、耐久性・信頼性および性能に優れた電気化学素子もしくは電気化学モジュールから得られる電気出力を、インバータによって昇圧したり、直流を交流に変換したりすることができるため、電気化学素子もしくは電気化学モジュールで得られる電気出力を利用しやすくなるので好ましい。
本発明に係るエネルギーシステムの特徴構成は、上述の電気化学装置と、前記電気化学装置から排出される熱を再利用する排熱利用部を有する点にある。
本発明に係る固体酸化物形燃料電池の特徴構成は、上述の電気化学素子を備え、前記電気化学素子で発電反応を生じさせる点にある。
本発明に係る固体酸化物形電解セルの特徴構成は、上述の電気化学素子を備え、前記電気化学素子で電解反応を生じさせる点にある。
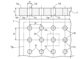
以下、図1を参照しながら、本実施形態に係る電気化学素子Eおよび固体酸化物形燃料電池(Solid Oxide Fuel Cell:SOFC)について説明する。電気化学素子Eは、例えば、水素を含む燃料ガスと空気の供給を受けて発電する固体酸化物形燃料電池の構成要素として用いられる。なお以下、層の位置関係などを表す際、例えば電解質層4から見て対極電極層6の側を「上」または「上側」、電極層2の側を「下」または「下側」という場合がある。また、金属基板1における電極層2が形成されている側の面を「表側」、反対側の面を「裏側」という場合がある。
電気化学素子Eは、図1に示される通り、金属基板1(金属支持体)と、金属基板1の上に形成された電極層2と、電極層2の上に形成された中間層3と、中間層3の上に形成された電解質層4とを有する。そして電気化学素子Eは、更に、電解質層4の上に形成された反応防止層5と、反応防止層5の上に形成された対極電極層6とを有する。つまり対極電極層6は電解質層4の上に形成され、反応防止層5は電解質層4と対極電極層6との間に形成されている。電極層2は多孔質であり、電解質層4は緻密である。
金属基板1は、電極層2、中間層3および電解質層4等を支持して電気化学素子Eの強度を保つ。つまり金属基板1は、電気化学素子Eを支持する支持体としての役割を担う。
金属酸化物層1fは種々の手法により形成されうるが、金属基板1の表面を酸化させて金属酸化物とする手法が好適に利用される。また、金属基板1の表面に、金属酸化物層1fをスプレーコーティング法(溶射法やエアロゾルデポジション法、エアロゾルガスデポジッション法、パウダージェットデポジッション法、パーティクルジェットデポジション法、コールドスプレー法などの方法)、スパッタリング法やPLD法等のPVD法、CVD法などにより形成しても良いし、メッキと酸化処理によって形成しても良い。更に、金属酸化物層1fは導電性の高いスピネル相などを含んでも良い。
本実施形態では、図1に示すように、金属基板1の貫通空間1cの少なくとも表側開口部1dが多孔質セラミック材9により塞がれている。これにより、金属基板1の表側面1aが平滑な面になり、電極層2の形成が容易になる。本実施形態では、金属基板1の貫通空間1cの全体に多孔質セラミック材9が充填されている。
以下、金属基板1および貫通空間1cの構造の例について図5を参照しながら説明する。なお金属酸化物層1fについては図示を省略する。金属基板1は、厚さTの板状の部材であり、すなわち全体として板状である。金属基板1は、表側面1aから裏側面1bへ貫通する複数の貫通空間1cを有する。貫通空間1cは、断面が円形の孔である。なお貫通空間1cの断面形状は、円形や略円形の他、矩形や三角形、多角形なども可能であり、金属板貫通空間1cが形成できれば、金属基板1としての機能を保てる範囲で種々の形状とすることができる。この孔(貫通空間1c)は、レーザー加工、パンチング加工またはエッチング加工によって、金属基板1に形成されている。この孔の中心軸は、金属基板1に対して直交している。なお孔(貫通空間1c)の中心軸は、金属基板1に対して傾斜していてもよい。
電極層2は、図1に示すように、金属基板1の表側の面であって貫通空間1cが設けられた領域より大きな領域に、薄層の状態で設けることができる。薄層とする場合は、その厚さを、例えば、1μm~100μm程度、好ましくは、5μm~50μmとすることができる。このような厚さにすると、高価な電極層材料の使用量を低減してコストダウンを図りつつ、十分な電極性能を確保することが可能となる。貫通空間1cが設けられた領域の全体が、電極層2に覆われている。つまり、貫通空間1cは金属基板1における電極層2が形成された領域の内側に形成されている。換言すれば、全ての貫通空間1cが電極層2に面して設けられている。
すなわち電極層2は、多孔質な層として形成される。電極層2は、例えば、その緻密度が30%以上80%未満となるように形成される。細孔のサイズは、電気化学反応を行う際に円滑な反応が進行するのに適したサイズを適宜選ぶことができる。なお緻密度とは、層を構成する材料の空間に占める割合であって、(1-空孔率)と表すことができ、また、相対密度と同等である。
中間層3(挿入層)は、図1に示すように、電極層2を覆った状態で、電極層2の上に薄層の状態で形成することができる。薄層とする場合は、その厚さを、例えば、1μm~100μm程度、好ましくは2μm~50μm程度、より好ましくは4μm~25μm程度とすることができる。このような厚さにすると、高価な中間層材料の使用量を低減してコストダウンを図りつつ、十分な性能を確保することが可能となる。中間層3の材料としては、例えば、YSZ(イットリア安定化ジルコニア)、SSZ(スカンジウム安定化ジルコニア)やGDC(ガドリウム・ドープ・セリア)、YDC(イットリウム・ドープ・セリア)、SDC(サマリウム・ドープ・セリア)等を用いることができる。特にセリア系のセラミックスが好適に用いられる。
電解質層4は、図1に示すように、電極層2および中間層3を覆った状態で、中間層3の上に薄層の状態で形成される。また、厚さが10μm以下の薄膜の状態で形成することもできる。なお、厚さが1μm以上であると強度が高くなり好ましい。詳しくは電解質層4は、図1に示すように、中間層3の上と金属基板1の上とにわたって(跨って)設けられる。このように構成し、電解質層4を金属基板1に接合することで、電気化学素子全体として堅牢性に優れたものとすることができる。
反応防止層5は、電解質層4の上に薄層の状態で形成することができる。薄層とする場合は、その厚さを、例えば、1μm~100μm程度、好ましくは2μm~50μm程度、より好ましくは3μm~15μm程度とすることができる。このような厚さにすると、高価な反応防止層材料の使用量を低減してコストダウンを図りつつ、十分な性能を確保することが可能となる。反応防止層5の材料としては、電解質層4の成分と対極電極層6の成分との間の反応を防止できる材料であれば良い。例えばセリア系材料等が用いられる。また反応防止層5の材料として、Sm、GdおよびYからなる群から選ばれる元素のうち少なくとも1つを含有する材料が好適に用いられる。なお、Sm、GdおよびYからなる群から選ばれる元素のうち少なくとも1つを含有し、これら元素の含有率の合計が1.0質量%以上10質量%以下であるとよい。反応防止層5を電解質層4と対極電極層6との間に導入することにより、対極電極層6の構成材料と電解質層4の構成材料との反応が効果的に抑制され、電気化学素子Eの性能の長期安定性を向上できる。反応防止層5の形成は、1100℃以下の処理温度で形成できる方法を適宜用いて行うと、金属基板1の損傷を抑制し、また、金属基板1と電極層2との元素相互拡散を抑制でき、性能・耐久性に優れた電気化学素子Eを実現できるので好ましい。例えば、低温焼成法(例えば1100℃を越える高温域での焼成処理をしない低温域での焼成処理を用いる湿式法)、スプレーコーティング法(溶射法やエアロゾルデポジション法、エアロゾルガスデポジッション法、パウダージェットデポジッション法、パーティクルジェットデポジション法、コールドスプレー法などの方法)、PVD法(スパッタリング法、パルスレーザーデポジション法など)、CVD法などを適宜用いて行うことができる。特に、低温焼成法やスプレーコーティング法などを用いると低コストな素子が実現できるので好ましい。更に、低温焼成法を用いると、原材料のハンドリングが容易になるので更に好ましい。
対極電極層6は、電解質層4もしくは反応防止層5の上に薄層の状態で形成することができる。薄層とする場合は、その厚さを、例えば、1μm~100μm程度、好ましくは、5μm~50μmとすることができる。このような厚さにすると、高価な対極電極層材料の使用量を低減してコストダウンを図りつつ、十分な電極性能を確保することが可能となる。対極電極層6の材料としては、例えば、LSCF、LSM等の複合酸化物、セリア系酸化物およびこれらの混合物を用いることができる。特に対極電極層6が、La、Sr、Sm、Mn、CoおよびFeからなる群から選ばれる2種類以上の元素を含有するペロブスカイト型酸化物を含むことが好ましい。以上の材料を用いて構成される対極電極層6は、カソードとして機能する。
以上のように電気化学素子Eを構成することで、電気化学素子を燃料電池(電気化学発電セル)として機能させる場合には、電気化学素子Eを固体酸化物形燃料電池の発電セルとして用いることができる。例えば、金属基板1の裏側の面から貫通空間1cを通じて水素を含む燃料ガスを電極層2へ流通し、電極層2の対極となる対極電極層6へ空気を流通し、例えば、500℃以上900℃以下の温度で作動させる。そうすると、対極電極層6において空気に含まれる酸素O2が電子e-と反応して酸素イオンO2-が生成される。その酸素イオンO2-が電解質層4を通って電極層2へ移動する。電極層2においては、供給された燃料ガスに含まれる水素H2が酸素イオンO2-と反応し、水H2Oと電子e-が生成される。
電解質層4に水素イオンを伝導する電解質材料を用いた場合には、電極層2において流通された燃料ガスに含まれる水素H2が電子e-を放出して水素イオンH+が生成される。その水素イオンH+が電解質層4を通って対極電極層6へ移動する。対極電極層6において空気に含まれる酸素O2と水素イオンH+、電子e-が反応し水H2Oが生成される。
以上の反応により、電極層2と対極電極層6との間に起電力が発生する。この場合、電極層2はSOFCの燃料極(アノード)として機能し、対極電極層6は空気極(カソード)として機能する。
次に、電気化学素子Eの製造方法について説明する。
貫通空間閉塞ステップでは、金属基板1の貫通空間1cに多孔質セラミック材9が充填され、表側開口部10dが多孔質セラミック材9により閉塞される。貫通空間閉塞ステップは例えば次のようにして行われる。まず材料となるセラミックを含有するペースト等を、金属基板1の表側面1aへ滴下あるいは塗布する。続いてブレードやスキージ等により金属基板1の表側面1aのペースト等を拭き取る。以上の滴下・塗布、拭き取りにより、貫通空間1cの内部にペースト等が入り込む。最後に金属基板1を熱処理して、ペースト等に含まれるバインダーを焼き飛ばす。
電極層形成ステップでは、金属基板1の表側の面の貫通空間1cが設けられた領域より広い領域に電極層2が薄膜の状態で形成される。金属基板1の貫通孔はレーザー加工等によって設けることができる。電極層2の形成は、上述したように、低温焼成法(1100℃以下の低温域での焼成処理を行う湿式法)、スプレーコーティング法(溶射法やエアロゾルデポジション法、エアロゾルガスデポジッション法、パウダージェットデポジッション法、パーティクルジェットデポジション法、コールドスプレー法などの方法)、PVD法(スパッタリング法、パルスレーザーデポジション法など)、CVD法などの方法を用いることができる。いずれの方法を用いる場合であっても、金属基板1の劣化を抑制するため、1100℃以下の温度で行うことが望ましい。
まず電極層2の材料粉末と溶媒とを混合して材料ペーストを作成し、表側開口部10dが多孔質セラミック材9により閉塞された金属基板1の表側の面に塗布する。そして電極層2を圧縮成形し(電極層平滑化工程)、1100℃以下で焼成する(電極層焼成工程)。電極層2の圧縮成形は、例えば、CIP(Cold Isostatic Pressing 、冷間静水圧加圧)成形、ロール加圧成形、RIP(Rubber Isostatic Pressing)成形などにより行うことができる。また、電極層の焼成は、800℃以上1100℃以下の温度で行うと好適である。また、電極層平滑化工程と電極層焼成工程の順序を入れ替えることもできる。
なお、中間層3を有する電気化学素子を形成する場合では、電極層平滑化工程や電極層焼成工程を省いたり、電極層平滑化工程や電極層焼成工程を後述する中間層平滑化工程や中間層焼成工程に含めることもできる。
上述した電極層形成ステップにおける焼成工程時に、金属基板1の表面に金属酸化物層1f(拡散抑制層)が形成される。なお、上記焼成工程に、焼成雰囲気を酸素分圧が低い雰囲気条件とする焼成工程が含まれていると元素の相互拡散抑制効果が高く、抵抗値の低い良質な金属酸化物層1f(拡散抑制層)が形成されるので好ましい。電極層形成ステップを、焼成を行わないコーティング方法とする場合を含め、別途の拡散抑制層形成ステップを含めても良い。いずれにおいても、金属基板1の損傷を抑制可能な1100℃以下の処理温度で実施することが望ましい。また、後述する中間層形成ステップにおける焼成工程時に、金属支持体1の表面に金属酸化物層1f(拡散抑制層)が形成されても良い。
中間層形成ステップでは、電極層2を覆う形態で、電極層2の上に中間層3が薄層の状態で形成される。中間層3の形成は、上述したように、低温焼成法(1100℃以下の低温域での焼成処理を行う湿式法)、スプレーコーティング法(溶射法やエアロゾルデポジション法、エアロゾルガスデポジッション法、パウダージェットデポジッション法、パーティクルジェットデポジション法、コールドスプレー法などの方法)、PVD法(スパッタリング法、パルスレーザーデポジション法など)、CVD法などの方法を用いることができる。いずれの方法を用いる場合であっても、金属基板1の劣化を抑制するため、1100℃以下の温度で行うことが望ましい。
まず中間層3の材料粉末と溶媒(分散媒)とを混合して材料ペーストを作成し、電極層2及び金属基板1の上に塗布する。そして中間層3を圧縮成形し(中間層平滑化工程)、1100℃以下で焼成する(中間層焼成工程)。中間層3の圧延は、例えば、CIP(Cold Isostatic Pressing 、冷間静水圧加圧)成形、ロール加圧成形、RIP(Rubber Isostatic Pressing)成形などにより行うことができる。また、中間層3の焼成は、800℃以上1100℃以下の温度で行うと好適である。このような温度であると、金属支持体1の損傷・劣化を抑制しつつ、強度の高い中間層3を形成できるためである。また、中間層3の焼成を1050℃以下で行うとより好ましく、1000℃以下で行うと更に好ましい。これは、中間層3の焼成温度を低下させる程に、金属支持体1の損傷・劣化をより抑制しつつ、電気化学素子Eを形成できるからである。また、中間層平滑化工程と中間層焼成工程の順序を入れ替えることもできる。
なお、中間層平滑化工程は、ラップ成形やレベリング処理、表面の切削・研磨処理などを施すことによって行うことでもできる。
電解質層形成ステップでは、電極層2および中間層3を覆った状態で、電解質層4が中間層3の上に薄層の状態で形成される。また、厚さが10μm以下の薄膜の状態で形成されても良い。電解質層4の形成は、上述したように、低温焼成法(1100℃以下の低温域での焼成処理を行う湿式法)、スプレーコーティング法(溶射法やエアロゾルデポジション法、エアロゾルガスデポジッション法、パウダージェットデポジッション法、パーティクルジェットデポジション法、コールドスプレー法などの方法)、PVD法(スパッタリング法、パルスレーザーデポジション法など)、CVD法などの方法を用いることができる。いずれの方法を用いる場合であっても、金属基板1の劣化を抑制するため、1100℃以下の温度で行うことが望ましい。
反応防止層形成ステップでは、反応防止層5が電解質層4の上に薄層の状態で形成される。反応防止層5の形成は、上述したように、低温焼成法(1100℃以下の低温域での焼成処理を行う湿式法)、スプレーコーティング法(溶射法やエアロゾルデポジション法、エアロゾルガスデポジッション法、パウダージェットデポジッション法、パーティクルジェットデポジション法、コールドスプレー法などの方法)、PVD法(スパッタリング法、パルスレーザーデポジション法など)、CVD法などの方法を用いることができる。いずれの方法を用いる場合であっても、金属基板1の劣化を抑制するため、1100℃以下の温度で行うことが望ましい。なお反応防止層5の上側の面を平坦にするために、例えば反応防止層5の形成後にレベリング処理や表面を切削・研磨処理を施したり、湿式形成後焼成前に、プレス加工を施してもよい。
対極電極層形成ステップでは、対極電極層6が反応防止層5の上に薄層の状態で形成される。対極電極層6の形成は、上述したように、低温焼成法(1100℃以下の低温域での焼成処理を行う湿式法)、スプレーコーティング法(溶射法やエアロゾルデポジション法、エアロゾルガスデポジッション法、パウダージェットデポジッション法、パーティクルジェットデポジション法、コールドスプレー法などの方法)、PVD法(スパッタリング法、パルスレーザーデポジション法など)、CVD法などの方法を用いることができる。いずれの方法を用いる場合であっても、金属基板1の劣化を抑制するため、1100℃以下の温度で行うことが望ましい。
厚さ0.3mm、直径25mmの円形の金属板(金属基板1)の全領域に対して、パンチング加工により貫通空間1cを複数設けて、金属基板1を作製した。貫通空間1cは、直交格子の格子点に設けた。表側開口部1dの直径は0.3mm、ピッチPは0.6mmである。表側開口部1dの面積は、7.07×10-2mm2である。金属板の厚さに対する表側開口部1dの直径の比であるアスペクト比は1であり、開口率は19.6%である。
厚さ0.3mm、直径25mmの円形の金属板(金属基板1)の全領域に対して、パンチング加工により貫通空間1cを複数設けて、金属基板1を作製した。貫通空間1cは、60°千鳥型(正三角形の頂点に各貫通空間1cの中心を配置)となるように設けた。表側開口部1dの直径は0.5mm、ピッチPは1mmである。表側開口部1dの面積は、1.96×10-1mm2である。金属板の厚さに対する表側開口部1dの直径の比であるアスペクト比は1.7であり、開口率は22.7%である。
図2・図3を用いて、第2実施形態に係る電気化学素子E、電気化学モジュールM、電気化学装置YおよびエネルギーシステムZについて説明する。
エネルギーシステムZは、電気化学装置Yと、電気化学装置Yから排出される熱を再利用する排熱利用部としての熱交換器53とを有する。
電気化学装置Yは、電気化学モジュールMと、燃料供給モジュールと、電気化学モジュールMから電力を取り出す出力部としてのインバータ(電力変換器の一例)38とを有する。燃料供給モジュールは、脱硫器31、気化器33、改質器34からなり、電気化学モジュールMに対して還元性成分を含有する燃料ガスを供給する燃料供給部とを有する。なお、この場合、改質器34が燃料変換器となる。
複数の電気化学素子Eは互いに電気的に接続された状態で並列して配置され、電気化学素子Eの一方の端部(下端部)がガスマニホールド17に固定されている。電気化学素子Eは、ガスマニホールド17を通じて供給される改質ガスと、ブロア35から供給された空気とを電気化学反応させて発電する。
図4に、電気化学モジュールMの他の実施形態を示す。第3実施形態に係る電気化学モジュールMは、上述の電気化学素子Eを、セル間接続部材71を間に挟んで積層することで、電気化学モジュールMを構成する。
(1)上記の実施形態では、電気化学素子E又は電気化学モジュールMを固体酸化物形燃料電池に用いたが、電気化学素子E又は電気化学モジュールMは、固体酸化物形電解セルや、固体酸化物を利用した酸素センサ等に利用することもできる。
図7中の熱交換器90を、燃料変換器91で起きる反応によって生ずる反応熱と水とを熱交換させ気化する排熱利用部として動作させるとともに、図7中の熱交換器92を、電気化学素子Eによって生ずる排熱と水蒸気および二酸化炭素とを熱交換させ予熱する排熱利用部として動作させる構成とすることにより、エネルギー効率を高めることができる。
また、電力変換器93は、電気化学素子Eに電力を流通する。これにより、上記のように電気化学素子Eは、電解セルとして作用する。よって、上記構成によれば、電気エネルギーを燃料等の化学的エネルギーに変換する効率を向上できる電気化学素子E等を提供することができる。
1a :表側面
1b :裏側面
1c :貫通空間
1d :表側開口部
1e :裏側開口部
1f :金属酸化物層
1g :孔領域
1h :単位領域
2 :電極層
3 :緩衝層
4 :電解質層
5 :反応防止層
6 :対極電極層
7 :U字部材
9 :多孔質セラミック材
E :電気化学素子
M :電気化学モジュール
Y :電気化学装置
Z :エネルギーシステム
Claims (13)
- 電気化学素子の金属支持体であって、
前記金属支持体は全体として板状であり、
前記金属支持体は、電極層が設けられる面を表側面として、前記表側面から裏側面へ貫通する複数の貫通空間を有し、
前記貫通空間の前記表側面の開口部である表側開口部の面積が7.8×10 -3 mm 2 以上1.3×10 -1 mm 2 未満であり、
前記表側開口部の間隔が0.15mm以上0.9mm以下であり、
前記貫通空間の少なくとも前記表側開口部が多孔質セラミック材により塞がれ、
前記貫通空間の全体に多孔質セラミック材が充填されている金属支持体。 - 電気化学素子の金属支持体であって、
前記金属支持体は全体として板状であり、
前記金属支持体は、電極層が設けられる面を表側面として、前記表側面から裏側面へ貫通する複数の貫通空間を有し、
前記貫通空間の前記表側面の開口部である表側開口部の直径が0.1mm以上0.4mm以下であり、
前記表側開口部の間隔が0.15mm以上0.9mm以下であり、
前記貫通空間の少なくとも前記表側開口部が多孔質セラミック材により塞がれ、
前記貫通空間の全体に多孔質セラミック材が充填されている金属支持体。 - 前記表側開口部の直径を前記金属支持体の厚さで除した値であるアスペクト比が1.4以下である請求項1又は2に記載の金属支持体。
- 前記表側面において前記貫通空間が形成されている領域を孔領域とし、前記孔領域における前記表側開口部の占める割合である開口率が22%以下である請求項1から3のいずれか1項に記載の金属支持体。
- 材料がFe-Cr系合金である請求項1から4のいずれか1項に記載の金属支持体。
- 前記表側面の少なくとも一部が金属酸化物膜で覆われている請求項1から5のいずれか1項に記載の金属支持体。
- 請求項1から6のいずれか1項に記載の金属支持体の前記表側面に、少なくとも電極層と電解質層と対極電極層とが設けられた電気化学素子。
- 請求項7に記載の電気化学素子が複数集合した状態で配置される電気化学モジュール。
- 請求項7に記載の電気化学素子若しくは請求項8に記載の電気化学モジュールと、前記電気化学素子若しくは前記電気化学モジュールに還元性成分を含有するガスを流通する燃料変換器、或いは前記電気化学素子若しくは前記電気化学モジュールで生成する還元性成分を含有するガスを変換する燃料変換器と、を少なくとも有する電気化学装置。
- 請求項7に記載の電気化学素子若しくは請求項8に記載の電気化学モジュールと、前記電気化学素子若しくは前記電気化学モジュールから電力を取り出す、或いは前記電気化学素子若しくは前記電気化学モジュールに電力を流通する電力変換器を少なくとも有する電気化学装置。
- 請求項9又は10に記載の電気化学装置と、前記電気化学装置から排出される熱を再利用する排熱利用部を有するエネルギーシステム。
- 請求項7に記載の電気化学素子を備え、前記電気化学素子で発電反応を生じさせる固体酸化物形燃料電池。
- 請求項7に記載の電気化学素子を備え、前記電気化学素子で電解反応を生じさせる固体酸化物形電解セル。
Priority Applications (1)
| Application Number | Priority Date | Filing Date | Title |
|---|---|---|---|
| JP2020058882A JP7561511B2 (ja) | 2020-03-27 | 2020-03-27 | 電気化学素子の金属支持体、電気化学素子、電気化学モジュール、電気化学装置、エネルギーシステム、固体酸化物形燃料電池、および固体酸化物形電解セル |
Applications Claiming Priority (1)
| Application Number | Priority Date | Filing Date | Title |
|---|---|---|---|
| JP2020058882A JP7561511B2 (ja) | 2020-03-27 | 2020-03-27 | 電気化学素子の金属支持体、電気化学素子、電気化学モジュール、電気化学装置、エネルギーシステム、固体酸化物形燃料電池、および固体酸化物形電解セル |
Publications (2)
| Publication Number | Publication Date |
|---|---|
| JP2021158026A JP2021158026A (ja) | 2021-10-07 |
| JP7561511B2 true JP7561511B2 (ja) | 2024-10-04 |
Family
ID=77918714
Family Applications (1)
| Application Number | Title | Priority Date | Filing Date |
|---|---|---|---|
| JP2020058882A Active JP7561511B2 (ja) | 2020-03-27 | 2020-03-27 | 電気化学素子の金属支持体、電気化学素子、電気化学モジュール、電気化学装置、エネルギーシステム、固体酸化物形燃料電池、および固体酸化物形電解セル |
Country Status (1)
| Country | Link |
|---|---|
| JP (1) | JP7561511B2 (ja) |
Families Citing this family (3)
| Publication number | Priority date | Publication date | Assignee | Title |
|---|---|---|---|---|
| JP2023104490A (ja) * | 2022-01-18 | 2023-07-28 | 大阪瓦斯株式会社 | 電場印加触媒反応エレメント、電場印加触媒反応モジュール、電場印加触媒反応装置 |
| JP7576206B2 (ja) * | 2022-03-14 | 2024-10-30 | 日本碍子株式会社 | 電気化学セル |
| CN115020735B (zh) * | 2022-05-11 | 2024-05-07 | 南方科技大学 | 一种固体氧化物燃料电池及其制备方法和电堆 |
Citations (4)
| Publication number | Priority date | Publication date | Assignee | Title |
|---|---|---|---|---|
| JP2004127635A (ja) | 2002-10-01 | 2004-04-22 | Nissan Motor Co Ltd | 固体酸化物形燃料電池用セル板及びその製造方法 |
| WO2016043328A1 (ja) | 2014-09-19 | 2016-03-24 | 大阪瓦斯株式会社 | 電気化学素子、固体酸化物形燃料電池セル、およびこれらの製造方法 |
| JP2016533017A (ja) | 2013-09-04 | 2016-10-20 | シーリーズ インテレクチュアル プロパティ カンパニー リミティド | 金属支持固体酸化物燃料電池 |
| WO2019189914A1 (ja) | 2018-03-30 | 2019-10-03 | 大阪瓦斯株式会社 | 金属板の製造方法、金属板、電気化学素子、電気化学モジュール、電気化学装置、エネルギーシステム、固体酸化物形燃料電池、および固体酸化物形電解セル |
-
2020
- 2020-03-27 JP JP2020058882A patent/JP7561511B2/ja active Active
Patent Citations (4)
| Publication number | Priority date | Publication date | Assignee | Title |
|---|---|---|---|---|
| JP2004127635A (ja) | 2002-10-01 | 2004-04-22 | Nissan Motor Co Ltd | 固体酸化物形燃料電池用セル板及びその製造方法 |
| JP2016533017A (ja) | 2013-09-04 | 2016-10-20 | シーリーズ インテレクチュアル プロパティ カンパニー リミティド | 金属支持固体酸化物燃料電池 |
| WO2016043328A1 (ja) | 2014-09-19 | 2016-03-24 | 大阪瓦斯株式会社 | 電気化学素子、固体酸化物形燃料電池セル、およびこれらの製造方法 |
| WO2019189914A1 (ja) | 2018-03-30 | 2019-10-03 | 大阪瓦斯株式会社 | 金属板の製造方法、金属板、電気化学素子、電気化学モジュール、電気化学装置、エネルギーシステム、固体酸化物形燃料電池、および固体酸化物形電解セル |
Also Published As
| Publication number | Publication date |
|---|---|
| JP2021158026A (ja) | 2021-10-07 |
Similar Documents
| Publication | Publication Date | Title |
|---|---|---|
| JP7444683B2 (ja) | 金属支持体、電気化学素子、電気化学モジュール、電気化学装置、エネルギーシステム、固体酸化物形燃料電池、固体酸化物形電解セル、および金属支持体の製造方法 | |
| JP7470037B2 (ja) | 電気化学素子の金属支持体、電気化学素子、電気化学モジュール、電気化学装置、エネルギーシステム、固体酸化物形燃料電池、固体酸化物形電解セルおよび金属支持体の製造方法 | |
| JP7624861B2 (ja) | 電気化学素子、電気化学モジュール、電気化学装置、エネルギーシステム、固体酸化物形燃料電池、固体酸化物形電解セル | |
| JP7470038B2 (ja) | 電気化学素子の金属支持体、電気化学素子、電気化学モジュール、電気化学装置、エネルギーシステム、固体酸化物形燃料電池、固体酸化物形電解セルおよび金属支持体の製造方法 | |
| JP7202061B2 (ja) | 電気化学素子、電気化学モジュール、電気化学装置、エネルギーシステム、および固体酸化物形燃料電池 | |
| US20240274837A1 (en) | Method for Manufacturing Metal Plate | |
| JP7561511B2 (ja) | 電気化学素子の金属支持体、電気化学素子、電気化学モジュール、電気化学装置、エネルギーシステム、固体酸化物形燃料電池、および固体酸化物形電解セル | |
| US20210119224A1 (en) | Metal Plate, Electrochemical Element, Electrochemical Module, Electrochemical Device, Energy System, Solid Oxide Fuel Cell, and Method for Manufacturing Metal Plate | |
| JP7202060B2 (ja) | 電気化学素子、電気化学モジュール、電気化学装置、エネルギーシステム、および固体酸化物形燃料電池 | |
| WO2024190131A1 (ja) | 電気化学素子の製造方法、電気化学素子、電気化学モジュール、固体酸化物形燃料電池、固体酸化物形電解セル、電気化学装置およびエネルギーシステム | |
| US11749824B2 (en) | Metal plate, electrochemical element, electrochemical module, electrochemical device, energy system, solid oxide fuel cell, and method for manufacturing metal plate | |
| JP2023148146A (ja) | 金属支持型電気化学素子の製造方法、金属支持型電気化学素子、固体酸化物形燃料電池、固体酸化物形電解セル、電気化学モジュール、電気化学装置及びエネルギーシステム | |
| JP2023148149A (ja) | 電極層形成方法、電極層、電気化学素子、電気化学モジュール、固体酸化物形燃料電池、固体酸化物形電解セル、電気化学装置及びエネルギーシステム | |
| JP2024129616A (ja) | 電気化学素子、電気化学モジュール、固体酸化物形燃料電池、固体酸化物形電解セル、電気化学装置、エネルギーシステム及び電気化学素子の製造方法 |
Legal Events
| Date | Code | Title | Description |
|---|---|---|---|
| A621 | Written request for application examination |
Free format text: JAPANESE INTERMEDIATE CODE: A621 Effective date: 20221213 |
|
| A977 | Report on retrieval |
Free format text: JAPANESE INTERMEDIATE CODE: A971007 Effective date: 20230726 |
|
| A131 | Notification of reasons for refusal |
Free format text: JAPANESE INTERMEDIATE CODE: A131 Effective date: 20230801 |
|
| A521 | Request for written amendment filed |
Free format text: JAPANESE INTERMEDIATE CODE: A523 Effective date: 20231002 |
|
| A131 | Notification of reasons for refusal |
Free format text: JAPANESE INTERMEDIATE CODE: A131 Effective date: 20231220 |
|
| A521 | Request for written amendment filed |
Free format text: JAPANESE INTERMEDIATE CODE: A523 Effective date: 20240219 |
|
| A131 | Notification of reasons for refusal |
Free format text: JAPANESE INTERMEDIATE CODE: A131 Effective date: 20240528 |
|
| A521 | Request for written amendment filed |
Free format text: JAPANESE INTERMEDIATE CODE: A523 Effective date: 20240729 |
|
| TRDD | Decision of grant or rejection written | ||
| A01 | Written decision to grant a patent or to grant a registration (utility model) |
Free format text: JAPANESE INTERMEDIATE CODE: A01 Effective date: 20240827 |
|
| A61 | First payment of annual fees (during grant procedure) |
Free format text: JAPANESE INTERMEDIATE CODE: A61 Effective date: 20240924 |
|
| R150 | Certificate of patent or registration of utility model |
Ref document number: 7561511 Country of ref document: JP Free format text: JAPANESE INTERMEDIATE CODE: R150 |

