JP7532101B2 - 現像装置 - Google Patents

現像装置 Download PDF

Info

Publication number
JP7532101B2
JP7532101B2 JP2020102663A JP2020102663A JP7532101B2 JP 7532101 B2 JP7532101 B2 JP 7532101B2 JP 2020102663 A JP2020102663 A JP 2020102663A JP 2020102663 A JP2020102663 A JP 2020102663A JP 7532101 B2 JP7532101 B2 JP 7532101B2
Authority
JP
Japan
Prior art keywords
rotation axis
developing
opening
rotation
viewed
Prior art date
Legal status (The legal status is an assumption and is not a legal conclusion. Google has not performed a legal analysis and makes no representation as to the accuracy of the status listed.)
Active
Application number
JP2020102663A
Other languages
English (en)
Other versions
JP2021196490A (ja
Inventor
成実 鴨志田
陽介 樫出
翔平 勝箭
Current Assignee (The listed assignees may be inaccurate. Google has not performed a legal analysis and makes no representation or warranty as to the accuracy of the list.)
Canon Inc
Original Assignee
Canon Inc
Priority date (The priority date is an assumption and is not a legal conclusion. Google has not performed a legal analysis and makes no representation as to the accuracy of the date listed.)
Filing date
Publication date
Application filed by Canon Inc filed Critical Canon Inc
Priority to JP2020102663A priority Critical patent/JP7532101B2/ja
Priority to US17/338,800 priority patent/US11392057B2/en
Publication of JP2021196490A publication Critical patent/JP2021196490A/ja
Application granted granted Critical
Publication of JP7532101B2 publication Critical patent/JP7532101B2/ja
Active legal-status Critical Current
Anticipated expiration legal-status Critical

Links

Images

Classifications

    • GPHYSICS
    • G03PHOTOGRAPHY; CINEMATOGRAPHY; ANALOGOUS TECHNIQUES USING WAVES OTHER THAN OPTICAL WAVES; ELECTROGRAPHY; HOLOGRAPHY
    • G03GELECTROGRAPHY; ELECTROPHOTOGRAPHY; MAGNETOGRAPHY
    • G03G15/00Apparatus for electrographic processes using a charge pattern
    • G03G15/06Apparatus for electrographic processes using a charge pattern for developing
    • G03G15/08Apparatus for electrographic processes using a charge pattern for developing using a solid developer, e.g. powder developer
    • G03G15/0822Arrangements for preparing, mixing, supplying or dispensing developer
    • G03G15/0865Arrangements for supplying new developer
    • GPHYSICS
    • G03PHOTOGRAPHY; CINEMATOGRAPHY; ANALOGOUS TECHNIQUES USING WAVES OTHER THAN OPTICAL WAVES; ELECTROGRAPHY; HOLOGRAPHY
    • G03GELECTROGRAPHY; ELECTROPHOTOGRAPHY; MAGNETOGRAPHY
    • G03G15/00Apparatus for electrographic processes using a charge pattern
    • G03G15/06Apparatus for electrographic processes using a charge pattern for developing
    • G03G15/08Apparatus for electrographic processes using a charge pattern for developing using a solid developer, e.g. powder developer
    • G03G15/0822Arrangements for preparing, mixing, supplying or dispensing developer
    • G03G15/0877Arrangements for metering and dispensing developer from a developer cartridge into the development unit
    • G03G15/0881Sealing of developer cartridges
    • GPHYSICS
    • G03PHOTOGRAPHY; CINEMATOGRAPHY; ANALOGOUS TECHNIQUES USING WAVES OTHER THAN OPTICAL WAVES; ELECTROGRAPHY; HOLOGRAPHY
    • G03GELECTROGRAPHY; ELECTROPHOTOGRAPHY; MAGNETOGRAPHY
    • G03G15/00Apparatus for electrographic processes using a charge pattern
    • G03G15/06Apparatus for electrographic processes using a charge pattern for developing
    • G03G15/08Apparatus for electrographic processes using a charge pattern for developing using a solid developer, e.g. powder developer
    • G03G15/0822Arrangements for preparing, mixing, supplying or dispensing developer
    • G03G15/0877Arrangements for metering and dispensing developer from a developer cartridge into the development unit
    • G03G15/0881Sealing of developer cartridges
    • G03G15/0882Sealing of developer cartridges by a peelable sealing film
    • GPHYSICS
    • G03PHOTOGRAPHY; CINEMATOGRAPHY; ANALOGOUS TECHNIQUES USING WAVES OTHER THAN OPTICAL WAVES; ELECTROGRAPHY; HOLOGRAPHY
    • G03GELECTROGRAPHY; ELECTROPHOTOGRAPHY; MAGNETOGRAPHY
    • G03G15/00Apparatus for electrographic processes using a charge pattern
    • G03G15/06Apparatus for electrographic processes using a charge pattern for developing
    • G03G15/08Apparatus for electrographic processes using a charge pattern for developing using a solid developer, e.g. powder developer
    • G03G15/0822Arrangements for preparing, mixing, supplying or dispensing developer
    • G03G15/0887Arrangements for conveying and conditioning developer in the developing unit, e.g. agitating, removing impurities or humidity
    • G03G15/0889Arrangements for conveying and conditioning developer in the developing unit, e.g. agitating, removing impurities or humidity for agitation or stirring
    • GPHYSICS
    • G03PHOTOGRAPHY; CINEMATOGRAPHY; ANALOGOUS TECHNIQUES USING WAVES OTHER THAN OPTICAL WAVES; ELECTROGRAPHY; HOLOGRAPHY
    • G03GELECTROGRAPHY; ELECTROPHOTOGRAPHY; MAGNETOGRAPHY
    • G03G15/00Apparatus for electrographic processes using a charge pattern
    • G03G15/06Apparatus for electrographic processes using a charge pattern for developing
    • G03G15/08Apparatus for electrographic processes using a charge pattern for developing using a solid developer, e.g. powder developer
    • G03G15/0822Arrangements for preparing, mixing, supplying or dispensing developer
    • G03G15/0887Arrangements for conveying and conditioning developer in the developing unit, e.g. agitating, removing impurities or humidity
    • G03G15/0891Arrangements for conveying and conditioning developer in the developing unit, e.g. agitating, removing impurities or humidity for conveying or circulating developer, e.g. augers
    • GPHYSICS
    • G03PHOTOGRAPHY; CINEMATOGRAPHY; ANALOGOUS TECHNIQUES USING WAVES OTHER THAN OPTICAL WAVES; ELECTROGRAPHY; HOLOGRAPHY
    • G03GELECTROGRAPHY; ELECTROPHOTOGRAPHY; MAGNETOGRAPHY
    • G03G15/00Apparatus for electrographic processes using a charge pattern
    • G03G15/06Apparatus for electrographic processes using a charge pattern for developing
    • G03G15/08Apparatus for electrographic processes using a charge pattern for developing using a solid developer, e.g. powder developer
    • G03G15/0894Reconditioning of the developer unit, i.e. reusing or recycling parts of the unit, e.g. resealing of the unit before refilling with toner
    • GPHYSICS
    • G03PHOTOGRAPHY; CINEMATOGRAPHY; ANALOGOUS TECHNIQUES USING WAVES OTHER THAN OPTICAL WAVES; ELECTROGRAPHY; HOLOGRAPHY
    • G03GELECTROGRAPHY; ELECTROPHOTOGRAPHY; MAGNETOGRAPHY
    • G03G2215/00Apparatus for electrophotographic processes
    • G03G2215/06Developing structures, details
    • G03G2215/066Toner cartridge or other attachable and detachable container for supplying developer material to replace the used material
    • G03G2215/0687Toner cartridge or other attachable and detachable container for supplying developer material to replace the used material using a peelable sealing film
    • GPHYSICS
    • G03PHOTOGRAPHY; CINEMATOGRAPHY; ANALOGOUS TECHNIQUES USING WAVES OTHER THAN OPTICAL WAVES; ELECTROGRAPHY; HOLOGRAPHY
    • G03GELECTROGRAPHY; ELECTROPHOTOGRAPHY; MAGNETOGRAPHY
    • G03G2215/00Apparatus for electrophotographic processes
    • G03G2215/08Details of powder developing device not concerning the development directly
    • G03G2215/0802Arrangements for agitating or circulating developer material
    • G03G2215/085Stirring member in developer container

Landscapes

  • Physics & Mathematics (AREA)
  • General Physics & Mathematics (AREA)
  • Dry Development In Electrophotography (AREA)

Description

本発明は、電子写真画像形成装置に用いられる現像装置に関するものである。
電子写真画像形成方式を用いた画像形成装置では、現像剤は一般的に現像剤収容容器に蓄えられ逐次現像装置に供給される。ここで、現像剤収容容器から現像装置への現像剤の搬送には、可撓性の撹拌シートを含む回転可能な撹拌部材を用いることが一般的である。
撹拌部材は現像剤収容容器の内部で支持されており、可撓性の撹拌シートは、撹拌部材の回転に伴って、現像剤収容容器の枠体と当接して撓んだ状態と、枠体から離れて撓みが解放された状態と、を繰り返しながら使用する場合がある。特に小型化された現像剤収容容器においては、撓んだ状態と解放された状態との差が大きいことにより、撹拌シートの疲労が大きくなる場合がある。これに対し、撹拌シートと当接して解放音の発生を防止するリブを設ける構成などが知られている(例えば特許文献1)。
特開2015-129812号公報
本発明は従来の技術を更に発展させたものであり、本発明の目的とするところは、より小型かつ大容量化された現像装置においても、撹拌シートの疲労を抑制することができる現像装置を提供することである。
上記目的を達成するために、本発明における現像装置は、
画像形成装置で用いられる現像装置であって、
第一開口と第二開口とを有する現像容器と、
前記第一開口を塞ぐように前記現像容器に接合され、前記現像容器とともに現像剤の収容空間を形成する部材と、
可撓性を有するシート部材を有し、回転軸線を中心に回転可能に前記現像容器に支持された搬送部材であって、前記回転軸線の方向に見たときに前記回転軸線が前記第一開口と前記第二開口との間にある搬送部材と、
前記回転軸線の方向に見たときに前記第二開口に対して前記搬送部材と反対側に設けられ、前記現像容器に回転可能に支持された現像ローラと、
備え
前記部材は、
記回転軸の方向に見たときに、
前記現像ローラと前記回転軸線が整列する第1方向において前記現像容器と整列するように前記現像容器に接合されており、
記シート部材が自然長であった場合に前記シート部材が回転する際に前記シート部材の先端が通過する回転軌跡の外側において前記現像ローラから離れる方向に前記収容空間を拡張している隅部と、
前記隅部の内面から前記現像ローラに近づく方向に前記回転軌跡の内側まで突出し、回転する前記シート部材と当接可能な当接部と、
を有することを特徴とする。
以上説明したように、本発明によれば、より小型かつ大容量化された現像装置においても、撹拌シートの疲労を抑制することができる現像装置を提供することができる。
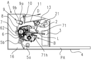
現像ユニットの主断面図 画像形成装置の装置本体及びカートリッジの断面図 カートリッジの断面図 カートリッジの構成を説明する斜視図 カートリッジの構成を説明する斜視図 カートリッジの装着を説明するための画像形成装置のガイド部の断面図 カートリッジの位置決めを説明するための画像形成装置の断面図 カートリッジが装置本体から駆動力を受ける構成を説明する斜視図 現像ユニットの構成を説明する斜視図 現像ユニットの主断面図 現像ユニットの主断面図 現像ユニットの主断面図 現像ユニットの主断面図
以下に図面を参照して、この発明を実施するための形態を、実施例に基づいて例示的に詳しく説明する。ただし、この実施の形態に記載されている構成部品の寸法、材質、形状それらの相対配置などは、発明が適用される装置の構成や各種条件により適宜変更されるべきものである。すなわち、この発明の範囲を以下の実施の形態に限定する趣旨のものではない。
<実施例1>
以下、本発明の実施の形態を図面に基づいて詳細に説明する。
なお、電子写真感光体ドラムの回転軸線方向を長手方向とする。また、長手方向において、画像形成装置本体から電子写真感光ドラムが駆動力を受ける側を駆動側とし、その反対側を非駆動側とする。
図2および図3を用いて全体構成および画像形成プロセスについて説明する。図2は、本発明の一実施の形態である電子写真画像形成装置の装置本体(電子写真画像形成装置本体、画像形成装置本体)A及びプロセスカートリッジ(以下、カートリッジBと記載する)の断面図である。図3は、カートリッジBの断面図である。ここで、装置本体Aとは、電子写真画像形成装置からカートリッジBを除いた部分である。
<電子写真画像形成装置全体構成>
図2に示す電子写真画像形成装置(画像形成装置)は、カートリッジBを装置本体Aに着脱自在とした電子写真技術を利用したレーザビームプリンタである。カートリッジBが装置本体Aに装着されたとき、カートリッジBの像担持体としての電子写真感光体ドラム62に潜像を形成するための露光装置3(レーザスキャナユニット)が配置される。また、カートリッジBの下側に画像形成の対象である記録用紙、プラスチックシート等の記録媒体(以下、シート材PAと記載する)を収納したシートトレイ4が配置されている。電子写真感光体ドラム62は、電子写真画像形成用に用いられる感光体(電子写真感光体)である。
更に、装置本体Aには、シート材PAの搬送方向Dに沿って、ピックアップローラ5a、給送ローラ対5b、転写ガイド6、転写ローラ7、搬送ガイド8、定着装置9、排出ローラ対10、排出トレイ11等が順次配置されている。なお、定着装置9は、加熱ローラ9a及び加圧ローラ9bにより構成されている。
<画像形成プロセス>
次に、画像形成プロセスの概略を説明する。プリントスタート信号に基づいて、電子写真感光体ドラム(以下、感光体ドラム62あるいは、単にドラム62と記載する)は矢印
R方向に所定の周速度(プロセススピード)をもって回転駆動される。バイアス電圧が印加された帯電ローラ(帯電部材)66は、ドラム62の外周面に接触し、ドラム62の外周面を一様均一に帯電する(図3参照)。
露光装置3は、画像情報に応じたレーザー光Lを出力する。そのレーザー光LはカートリッジBのクリーニング枠体71に設けられたレーザー開口71hを通り、ドラム62の外周面を走査露光する。これにより、ドラム62の外周面には画像情報に対応した静電潜像が形成される。
一方、図3に示すように、現像装置としての現像ユニット20において、トナー室29内のトナーTは、搬送部材(撹拌部材)43の回転によって撹拌、搬送され、トナー供給室28に送り出される。トナーTは、マグネットローラ34(固定磁石)の磁力により、現像ローラ32の表面に担持される。現像ローラ32は、ドラム62に形成された潜像を現像するために、現像剤(トナーT)をその表面に担持する現像剤担持体である。トナーTは、現像ブレード42によって摩擦帯電されつつ、現像剤担持体としての現像ローラ32周面上での層厚が規制される。
そのトナーTは、静電潜像に応じてドラム62へ供給され、潜像を現像する。これにより、潜像はトナー像として可視像化される。ドラム62はその表面に潜像や、トナーで形成される像(トナー像、現像剤像)を担持する像担持体である。また、図2に示すように、レーザー光Lの出力タイミングとあわせて、ピックアップローラ5a、給送ローラ対5bによって、装置本体Aの下部に収納されたシート材PAがシートトレイ4から送り出される。そして、そのシート材PAが転写ガイド6を経由して、ドラム62と転写ローラ7との間の転写位置へ搬送される。この転写位置において、トナー像はドラム62からシート材PAに順次転写されていく。
トナー像が転写されたシート材PAは、ドラム62から分離されて搬送ガイド8に沿って定着装置9に搬送される。そしてシート材PAは、定着装置9を構成する加熱ローラ9aと加圧ローラ9bとのニップ部を通過する。このニップ部で加圧・加熱定着処理が行われてトナー像はシート材PAに定着される。トナー像の定着処理を受けたシート材PAは、排出ローラ対10まで搬送され、排出トレイ11に排出される。
一方、図3に示すように、転写後のドラム62は、クリーニング部材77により外周面上の残留トナーが除去されて、再び、画像形成プロセスに使用される。ドラム62から除去されたトナーはクリーニングユニット60の廃トナー室71bに貯蔵される。クリーニングユニット60は感光体ドラム62を有する感光体ドラムユニットである。
上記において、帯電ローラ66、現像ローラ32、転写ローラ7、クリーニング部材77がドラム62に作用するプロセス手段である。
<カートリッジ全体の構成>
次にカートリッジBの全体構成について図3、図4、図5を用いて説明する。図3はカートリッジBの断面図、図4、図5は、カートリッジBの構成を説明する斜視図である。なお本実施例においては各部品を結合する際のビスに関しては省略して説明する。
カートリッジBは、クリーニングユニット(感光体保持ユニット、ドラム保持ユニット、像担持体保持ユニット、第1ユニット)60と、現像ユニット(現像剤担持体保持ユニット、第2ユニット)20を有する。
図3に示すように、クリーニングユニット60は、ドラム62と、帯電ローラ66と、
クリーニング部材77と、これらを支持するクリーニング枠体71を有する。ドラム62は、駆動側において、駆動側に設けられた駆動側ドラムフランジ63がドラム軸受73の穴部73aにより回転可能に支持される(図4参照)。広義には、ドラム軸受73とクリーニング枠体71を総称してクリーニング枠体と呼ぶこともできる。
非駆動側において、図5に示すように、クリーニング枠体71に設けられた穴部71cに圧入されたドラム軸78によって、非駆動側ドラムフランジの穴部(不図示)を回転可能に支持される構成となっている。各ドラムフランジは軸受部によって回転可能に支持される被軸受部である。
図3に示すように、クリーニングユニット60において、帯電ローラ66、クリーニング部材77は、それぞれドラム62の外周面に接触して配置される。
クリーニング部材77は、弾性材料としてのゴムで形成されたブレード状の弾性部材であるゴムブレード77aと、ゴムブレードを支持する支持部材77bと、を有する。ゴムブレード77aは、ドラム62の回転方向に対してカウンター方向にドラム62に当接している。即ち、ゴムブレード77aは、その先端部がドラム62の回転方向Rの上流側を向くようにドラム62に当接している。クリーニング部材77によってドラム62の表面から除去された廃トナーは、クリーニング枠体71とクリーニング部材77によって形成された廃トナー室71bに溜められる。
また、図3に示すように、クリーニング枠体71から廃トナーが漏れることを防止するためのスクイシート65が、ドラム62に当接するようにクリーニング枠体71の縁部に設けられている。
帯電ローラ66は、クリーニング枠体71の長手方向における両端部において、帯電ローラ軸受67を介し、クリーニングユニット60に回転可能に取り付けられている。なお、クリーニング枠体71の長手方向(カートリッジBの長手方向)は、ドラム62の回転軸線が延びる方向(軸線方向)と略平行である。そのため以下、特に断りなく単に長手方向あるいは単に軸線方向といった場合には、ドラム62の軸線方向を意図する。
帯電ローラ66は、帯電ローラ軸受67が付勢部材68によりドラム62に向けて加圧されることでドラム62に圧接されている。帯電ローラ66は、ドラム62の回転に従動回転する。
図3に示すように、現像ユニット20は、現像ローラ32と、現像ローラ32を支持する現像容器600と、現像ブレード42等を有する。現像ローラ32は、両端に設けられた軸受部材26(図4)、27(図5)により回転可能に現像容器600に取り付けられている。
また、現像ローラ32内にはマグネットローラ34が設けられている。現像ユニット20において、現像ローラ32上のトナー層を規制するための現像ブレード42が配置されている。図4、図5に示すように、現像ローラ32には間隔保持部材38が現像ローラ32の両端部に取り付けられており、間隔保持部材38とドラム62が当接することで、現像ローラ32はドラム62と微少隙間をもって保持される。また、図3に示すように、現像ユニット20からトナーが漏れることを防止するための吹き出し防止シート33が、現像ローラ32に当接するように現像容器600の縁部に設けられている。更に、現像容器600とフタ部材601によって形成されたトナー室29には、搬送部材43が設けられている。搬送部材43は、トナー室29に収容されたトナーを撹拌すると共に、トナー供給室28へトナーを搬送する。
図4、図5に示すように、カートリッジBはクリーニングユニット60と現像ユニット20を合体して構成される。現像ユニット20とクリーニングユニット60の結合の際には、まずクリーニング枠体71の駆動側の第1吊り穴71iに対する軸受部材26の現像第1支持ボス26aの中心と、非駆動側の第2吊り穴71jに対する軸受部材27の現像第2支持ボス27aの中心を合わせる。具体的には、現像ユニット20を矢印G方向に移動させることで、第1吊り穴71i、第2吊り穴71jに現像第1支持ボス26a、現像第2支持ボス27aが嵌合する。これにより、クリーニングユニット60に対して現像ユニット20が移動可能に連結される。より詳細にいうと、クリーニングユニット60に対して現像ユニット20が回転移動可能(回動可能)に連結される。即ち、ドラム62に対して現像ローラ32が接離可能な状態で連結される。この後、ドラム軸受73をクリーニングユニット60に組み付けることによってカートリッジBを構成する。
本実施例においては非駆動側付勢部材46L(図5)、駆動側付勢部材46R(図4)は圧縮バネで形成されている。これらバネの付勢力により、駆動側付勢部材46Lと非駆動側付勢部材46Rが、現像ユニット20をクリーニングユニット60に付勢させることで現像ローラ32をドラム62の方向へ確実に押し付けるよう構成する。さらに、現像ローラ32の両端部に取り付けられた間隔保持部材38を備えている。即ち、ドラム62と現像ローラ32が間隔保持部材38を介して所定の接触圧で接触することで、現像ローラ32はドラム62から所定の間隔をもって保持され、それぞれの相対位置が決まる。
<カートリッジ装着>
次にカートリッジBの装着について、図6(a)、図6(b)、図7(a)、図7(b)を用いて具体的に説明する。図6(a)はカートリッジBの装着を説明するための画像形成装置Aの駆動側ガイド部の断面図であり、図6(b)はカートリッジBの装着を説明するための画像形成装置Aの非駆動側ガイド部の断面図である。図7(a)はカートリッジBの位置決めを説明するための画像形成装置Aの駆動側断面図である。図7(b)はカートリッジBの位置決めを説明するための画像形成装置Aの非駆動側断面図である。
カートリッジBの装着の説明をする。図6(a)、図6(b)に示すように、第1駆動側板15は、ガイドとしてのガイドレール上15gとガイドレール15hとを有しており、非駆動側板16はガイドレール上16dとガイドレール16eとを有している。また、カートリッジBの駆動側に設けられたドラム軸受73は、被回転止め部73cを有している。なおカートリッジBの装着方向は、ドラム62(図3)の軸線と実質的に直交する方向(矢印C)である。
またクリーニング枠体71は長手方向において非駆動側に第1位置決め部としての被位置決め部71dと、第2位置決め部としての被回転止め部71fとを有している。カートリッジBを装置本体Aのカートリッジ挿入口17から装着すると、カートリッジBの駆動側がカートリッジBの被回転止め部73cとが装置本体Aのガイドレール15hにガイドされる。カートリッジBの非駆動側はカートリッジBの被位置決め部71dと被回転止め部71fとが装置本体Aのガイドレール16dとガイドレール16eにガイドされる。これによって、カートリッジBは装置本体Aに装着される。
次に、開閉扉13を閉じる状態を説明する。図6(a)、図6(b)、図7(a)、図7(b)に示すように、第1駆動側板15は、位置決めとしての位置決め部上15aと位置決め部下15bと回転止め部15cを有しており、非駆動側板16は、位置決め部16aと回転止め部上16cを有している。ドラム軸受73は、被位置決め部上(第1の被位置決め部、第1の突起、第1の張出部)73dと被位置決め部下(第2の被位置決め部、第2の突起、第2の張出部)73fとを有している。
また、カートリッジ押圧部材1、2は、開閉扉13の軸方向両端に回転可能に取り付けられている。カートリッジ押圧バネ19、21は、それぞれ画像形成装置Aに設けられた前板の長手方向において両端に取り付けられている。ドラム軸受73は付勢力受け部としての被押圧部73eを有し、クリーニング枠体71は非駆動側にて被押圧部71oを有す(図3参照)。開閉扉13を閉じることにより、カートリッジBの被押圧部73e、71oが、装置本体Aのカートリッジ押圧バネ19、21によって付勢されたカートリッジ押圧部材1、2によって押圧される(図7参照)。
これによって、駆動側においては、カートリッジBの被位置決め部上73dと被位置決め部下73fと回転止め部73cとがそれぞれ装置本体Aの位置決め部上15aと位置決め部下15bと回転止め部15cとに固定される。この結果、カートリッジBやドラム62が駆動側で位置決めされる。また、非駆動側において、カートリッジBの被位置決め部71dと被回転止め部71fとがそれぞれ装置本体Aの位置決め部16aと回転止め部16cとに固定される。これによって非駆動側にてカートリッジBやドラム62が位置決めされる。
これまで、装置本体Aに対して、カートリッジBの位置を決める構成の一例として記載したが、位置決めとしての手段を限定する趣旨の記載ではない。カートリッジBの駆動側の被位置決め部73d、被回転止め部73f、及び、非駆動側の被位置決め部71d,被回転止め部71fに直接作用して、位置決め部それぞれを固定する構成でも良い。
次に、カートリッジBが装置本体Aから駆動力を受ける構成について、図8(a)、図8(b)、図8(c)、図8(d)を用いて説明する。図8(a)は、装置本体Aの駆動部の構成を示す図で、図8(b)は、カートリッジBの駆動部の構成を示す図である。図8(c)は、装置本体AとカートリッジBの駆動部が係合する前の状態を示す図である。図8(d)は、装置本体Aの電源が入って、装置本体AとカートリッジBの駆動部が係合した状態を示す図である。
図8(a)に示すように、装置本体Aには、装置本体Aの駆動源(不図示)から駆動力を受けて、カートリッジBに駆動力を伝達する駆動伝達部材81が設けられている。また、図8(b)に示すように、カートリッジBには、駆動伝達部材81と係合して駆動力を受けるために、駆動側ドラムフランジ63に駆動受動部63bを設けている。ここで、開閉扉13を閉じて、装置本体Aの電源を入れると、駆動伝達部材81は、図8(c)の矢印E方向に移動する。そして、図8(d)のように、駆動伝達部材81の駆動伝達部81bと、駆動側ドラムフランジ63の駆動受動部63bとが係合し、駆動側ドラムフランジ63を介して、ドラム62が回動する。また、駆動伝達部材81の外周部には歯車形状81gが設けられている。さらに、カートリッジBの現像ローラ32の端部には現像ローラギア90が結合されている。そして、図8(d)に示した駆動側ドラムフランジ63の駆動受動部63bが係合した状態のとき、駆動伝達部材81に設けられた歯車形状81gと現像ローラギア90も噛合うように配置される。即ち、駆動伝達部材81によって、駆動側ドラムフランジを介してドラム62が回動すると同時に、現像ローラギア90を介して現像ローラ62も回動する。
<現像ユニット20の構成>
図9を用いて、現像ユニット20の構成について、さらに詳細に説明する。図9は現像ユニット20の構成を説明する斜視図である。
図9に示すように、現像容器600は、第一開口600aにおいて、第一底部材であるフタ部材601と溶着などの接合手段によって一体に接合されて形成される。また、搬送
部材43は軸部材43a及びシート部材としての搬送シート部材43bから成る。搬送シート部材43bは、可撓性を有する部材で形成されており、スナップフィットや、熱カシメ、両面テープなどの固定手段で軸部材43aに固定される。軸部材43aは外部から駆動入力するための駆動開口43a1及び円筒状の被支持部(不図示)を備える。この搬送部材43は現像容器600及びフタ部材601を接合するときに、現像容器600内部に組み込まれ、現像容器600に対して回転可能に支持される。また、フタ部材601は、搬送部材43から見て現像ローラ32と反対側に設けられている。これにより、フタ部材601を小型な第二底部材602に変更するだけで現像ユニット20の容積を変更することができる(図11参照)。これにより、生産ロットごとに異なる容積の現像容器600を生産する場合に、組立工程の変更を容易にすることができる。なおここで搬送部材43の回転軸A1を中心として、搬送部材43の回転時に搬送シート部材43bが自然状態(自然長)にある場合に、シート先端部43b1が通る円を、搬送部材43の回転軌跡43rとする(図1参照)。
軸部材43aの駆動側端部には、現像容器600と対向するように駆動開口43a1が設けられている。現像容器600には駆動開口43a1と対向するように孔部600n(図9参照)が設けられている。搬送ギア93は現像容器600の長手外側から孔部600nに挿入され、現像容器600の内部で駆動開口43a1と係合する。搬送ギア93と搬送現像ローラギア90は第1アイドラギア91及び第2アイドラギア92によって駆動連結されている。ゆえに、駆動伝達部材81による現像ローラギア90の駆動に伴って搬送ギア93が回転し、搬送ギア93の回転に伴って搬送部材43が回転する。一方、搬送ギア93と現像容器600の間には搬送シール部材94が縮設されている。搬送シール部材94はウレタンフォームのようなクッション性や密着性に富んだ材質が選択される。搬送シール部材94は搬送ギア93及び現像容器600に密着するため、現像容器600内部のトナーが孔部600nを通じて外部へ漏れ出すことを防ぐ。
<現像枠体の説明>
次に、図1、10、11を用いて現像ユニット20の構成についてさらに詳細に説明する。図1は現像容器600を含む現像ユニット20の主断面図である。図1に示すように、現像ユニット20は、現像容器600とフタ部材601によって形成される収容空間にトナーTを収容している。図10は搬送部材43の支持構成を説明する断面図である。図11は現像ユニット20の駆動側端部を長手方向非駆動側から見た部分断面図である。
図1に示すように現像容器600は、現像剤封止壁600bによって現像部600cと現像剤収容部600dに区分けされる。現像剤収容部600dは前述の搬送部材43を含み、現像剤封止壁600b、上壁600e、第一開口600a、下壁600gから構成される。また、現像剤封止壁600bには、現像剤収容部600dと現像部600cを連通する第二開口600hが設けられている。搬送部材43によって搬送されたトナーTは、この第二開口600hを通って現像部600cへと搬送される。ここで、現像剤封止壁600bのうち、第二開口600hよりも下方にある部位を下方封止壁600b1、第二開口600hよりも上方にある部位を上方封止壁600b2とする。
一方、現像部600cには、現像ローラ32や現像ブレード42、現像ブレード裏シール600j、現像ローラ下シート602が設けられている。これらの構成によって、現像ローラ32の回転に伴って現像部600cに搬送されたトナーTが一定の層厚みにて現像ローラ32に担持されるとともに、現像部600cからトナーTが漏出しないようになっている。また、第二開口600hと現像ローラ32の間には、下方封止壁600bから連続的に形成される傾斜部600kが設けられている。このうち現像ブレード裏シール600jや傾斜部600kは現像容器600に設けられ、現像ブレード42や現像ローラ下シート602は現像容器600に直接固定されている(不図示)。
一方、フタ部材601は現像容器600に対して、現像容器600の第一開口600aにおいて固定されている。このフタ部材601は上壁601a、第一傾斜面601b、第二傾斜面601c、凹状の円弧壁601d(円弧面)から構成されている。このうち第一傾斜面601bおよび第二傾斜面601cは水平面に対して、トナーTが自重で落下することができる角度(安息角)よりも大きい(安息角以上)角度になっている。円弧壁601dは、現像容器600の底面である下壁600gとつながっている。フタ部材601にはさらに、上壁601aから第一傾斜面601b、第二傾斜面601cにまたがって、搬送シート部材43bと当接可能な当接部としてのリブ601fが設けられている。ここでリブ601fは、第一傾斜面601b、第二傾斜面601cにまたがって回転軸に垂直な面上を延びるように設けられており、長手方向において間隔を空けて複数設けられている(リブ601f1~リブ601f3、図9参照)。
次に、上述した各構成要素と搬送部材43の回転軌跡43rの関係について説明する。図1に示すように、現像部600cのうち、傾斜部600kの一部が回転軌跡43rに含まれる。傾斜部600kは、搬送部材43の回転中心A1に対向し、第二開口600hの下端縁から搬送部材43の回転方向Sの上流側から下流側へ向かうに従って、搬送部材43の回転中心A1(回転軸)からの距離が徐々に離れて遠くなるように形成された傾斜面となっている。またフタ部材601には、上壁601aおよび第一傾斜面601b、第二傾斜面601cにより形成される空間のうち、回転軌跡43rに含まれず、回転軌跡43rの外側にトナーの収容空間を拡張する領域(隅部601gとする)が存在する。そして隅部601gに設けられるリブ601fは、回転軌跡43rの内側に侵入するように突出したリブ形状になっている。さらにリブ601fは、回転方向Sの上流側から下流側へ向かうに従って、回転中心A1からの距離が徐々に遠くなるように形成されている。
以上説明した構成によれば、まず、傾斜部600kが回転中心A1に対向し、回転方向Sに沿って回転中心A1からの距離が遠くなるように設けられている。そのため、搬送シート部材43bが傾斜部600kに当接しながら搬送シート部材43bのたわみが解放されるようになる(図10も参照)。これにより、傾斜部600k上のトナーTを現像ローラ32の方向へ搬送することができるため、現像部600c内のトナーTを効率的に使用することができる。また、搬送シート部材43bのたわみが徐々に解放されることで、搬送シート部材43bがたわんだ状態から解放される時に生じる音(解放音)を低減することができる。
次に、フタ部材601には、回転軌跡43rに含まれない隅部601gが設けられているため、回転軌跡43rの外側にもトナーTを収容することができる。これにより、より大容量の現像ユニット20を提供することができる。
加えて、隅部601gには、回転軌跡43rの内側に侵入するリブ601fが設けられている。そのため、搬送部材43は、先端部43b1が現像部600cに到達するときを除いて、常に先端部43b1が現像容器600乃至フタ部材601に当接しながら回転する(図11も参照)。これにより、搬送シート部材43bがたわんだ状態から解放される機会を減らし、解放音を低減することができる。また、搬送シート部材43bがたわんだ状態と解放された状態を繰り返すことによる疲労破壊を抑制することができる。
そして、リブ601fは回転方向Sに従って回転中心A1からの距離が徐々に遠くなるように形成されているため、搬送シート部材43bが上壁600eからリブ601fを通過する際に、搬送シート部材43bのたわみが増減することなく緩やかに減り続ける。これにより、搬送シート部材43bが解放する機会を低減し、解放音の発生や疲労破壊をさらに抑制することができる。なおリブ601fは、隅部601gを構成する収容空間の内
面のうち、安息角以上の角度を有する領域に設けられており、安息角に満たない円弧壁601dには存在していない。そのため、搬送シート部材43bが円弧壁601dに接触して、円弧壁601d上のトナーTを搬送することができる。
<その他の実施例>
図12に示すように、搬送部材43に第二シート部材43cを設け、この第二シート部材43cを熱溶着等の手段によって、現像剤封止壁600bに固定しても良い。この際、カートリッジBの使用を開始した時に、搬送部材43の回転に伴って第二シート部材43cが現像剤封止壁600bから剥離され、第二開口600hを開放するような固定力に設定する。これにより、カートリッジBの未使用時に現像剤封止壁600bと第二シート部材43cによって現像剤収容部600dと現像部600cを隔離して、物流や保管時におけるトナーTの漏出を防止することができる。
また、図13に示すように、フタ部材601を、搬送部材43の回転軸に垂直な面上を延び、搬送シート部材43bと当接可能な当接部であるリブ603fを有する第二底部材603に変更する。この第二底部材は、トナーの収容空間を形成する内面が搬送部材43の回転軌跡の内側に位置するように形成されており、現像ユニット20に収容可能なトナーTの量を変更することもできる。このときリブ603fは、回転方向Sの上流側から下流側へ向かうに従って、回転中心A1からの距離が徐々に遠くなるように形成されているため、搬送シート部材43bが解放する機会を低減することができる。
以上示したように本実施例によれば、底部材のみの変更によって現像剤を収容する容積が変更可能な現像装置において、搬送シート部材43bの疲労を抑制することができる。更に、本実施例によれば、搬送シート部材43bの解放音を低減することができる。また、現像部600c内のトナーTを効率的に使用することができる。
43…搬送部材、43a…軸部材、43b…シート部材、600…現像枠体、601…フタ部材

Claims (12)

  1. 画像形成装置で用いられる現像装置であって、
    第一開口と第二開口とを有する現像容器と、
    前記第一開口を塞ぐように前記現像容器に接合され、前記現像容器とともに現像剤の収容空間を形成する部材と、
    可撓性を有するシート部材を有し、回転軸線を中心に回転可能に前記現像容器に支持された搬送部材であって、前記回転軸線の方向に見たときに前記回転軸線が前記第一開口と前記第二開口との間にある搬送部材と、
    前記回転軸線の方向に見たときに前記第二開口に対して前記搬送部材と反対側に設けられ、前記現像容器に回転可能に支持された現像ローラと、
    備え
    前記部材は、
    記回転軸の方向に見たときに、
    前記現像ローラと前記回転軸線が整列する第1方向において前記現像容器と整列するように前記現像容器に接合されており、
    記シート部材が自然長であった場合に前記シート部材が回転する際に前記シート部材の先端が通過する回転軌跡の外側において前記現像ローラから離れる方向に前記収容空間を拡張している隅部と、
    前記隅部の内面から前記現像ローラに近づく方向に前記回転軌跡の内側まで突出し、回転する前記シート部材と当接可能な当接部と、
    を有することを特徴とする現像装置。
  2. 前記隅部は、前記回転軸の方向に見たときに、前記収容空間を形成する内面のうち前記当接部が設けられている領域が、水平面に対して現像剤の安息角以上の角度を有することを特徴とする請求項1に記載の現像装置。
  3. 前記画像形成装置で現像装置が用いられる場合において、
    前記部材は、前記回転軸の方向に見たときに、前記収容空間を形成する内面のうち、少なくとも、前記当接部が設けられている領域が、水平面に対して現像剤の安息角以上の角度を有することを特徴とする請求項1又は2に記載の現像装置。
  4. 前記画像形成装置で現像装置が用いられる場合において、
    前記部材は、前記回転軸の方向に見たときに、前記収容空間を形成する内面のうち前記当接部が設けられている領域よりも下方に前記第1方向において前記現像ローラのある側に向かうほど下方に向かい且つ下方に凹む状面を有し、
    前記凹状面は、前記収容空間を形成する前記現像容器の内面の一部である底面とつながっていることを特徴とする請求項1~3のいずれか1項に記載の現像装置。
  5. 前記収容空間を形成する前記現像容器の内面は、前記回転軸の方向に見たときに、前記回転軌跡の内側に位置することを特徴とする請求項1~4のいずれか1項に記載の現像装置。
  6. 前記当接部は、前記回転軸線の方向の幅が前記回転軸に垂直な方向の幅よりも狭いリブであり
    前記リブは、前記回転軸の方向において互いに間隔を空けて複数設けられていることを特徴とする請求項1~5のいずれか1項に記載の現像装置。
  7. 前記当接部は、前記回転軸の方向に見たときに、先端が前記搬送部材の回転方向の下流に向かうほど、前記回転軸から離れるように形成されていることを特徴とする請求項1~6のいずれか1項に記載の現像装置。
  8. 前記現像容器は、
    記回転軸の方向に見たときに、前記第二開口の下端縁から前記回転軸から離れる方向に延び、かつ前記回転軸線の方を向いた傾斜面であって、前記搬送部材の回転方向の下流に向かうほど、前記回転軸から離れる方向に延びるように傾斜した傾斜面を有し、
    前記傾斜面は、前記回転軸線の方向に見たときに、前記回転軌跡の内側に設けられていることを特徴とする請求項1~7のいずれか1項に記載の現像装置。
  9. 前記搬送部材には、前記第二開口を封止するシール部材の一部が固定されており、前記搬送部材の回転により前記シール部材を前記第二開口から剥離して前記第二開口を開放することを特徴とする請求項1~8のいずれか1項に記載の現像装置。
  10. 前記第一開口と前記第二開口は、水平方向に整列していることを特徴とする請求項1~9のいずれか1項に記載の現像装置。
  11. 画像形成装置で用いられる現像装置であって、
    第一開口と第二開口とを有する現像容器と、
    前記第一開口を塞ぐように前記現像容器に固定され、前記現像容器とともに現像剤の収容空間を形成する部材と、
    可撓性を有するシート部材を有し、回転軸線を中心に回転可能に前記現像容器に支持された搬送部材であって、前記回転軸線の方向に見たときに前記回転軸線が前記第一開口と前記第二開口との間にある搬送部材と、
    前記回転軸線の方向に見たときに前記第二開口に対して前記搬送部材と反対側に設けられ、前記現像容器に回転可能に支持された現像ローラと、
    備え
    前記現像容器は、前記回転軸の方向に見たときに、前記第二開口の下端縁から前記現像ローラに向かう方向に延び、かつ前記回転軸線の方を向いた傾斜面であって、前記搬送部材の回転方向の下流に向かうほど前記回転軸から離れる方向に延びるように傾斜した傾斜面を有し、
    前記蓋部材は、
    前記収容空間を形成する内面が、前記回転軸線の方向に見たときに、前記搬送部材の回転軌跡の内側に位置するとともに、
    前記内面から前記回転軸線に向かって突出し、回転する前記シート部材と当接可能な当接部を有し、
    前記当接部の先端部は、前記回転軸線の方向に見たときに、前記搬送部材の回転方向の下流に向かうほど、前記回転軸線から離れることを特徴とする現像装置。
  12. 前記当接部は、前記回転軸線の方向の幅が前記回転軸に垂直な方向の幅よりも狭いリブであり
    前記リブは、前記回転軸の方向において互いに間隔を空けて複数設けられていることを特徴とする請求項1に記載の現像装置。
JP2020102663A 2020-06-12 2020-06-12 現像装置 Active JP7532101B2 (ja)

Priority Applications (2)

Application Number Priority Date Filing Date Title
JP2020102663A JP7532101B2 (ja) 2020-06-12 2020-06-12 現像装置
US17/338,800 US11392057B2 (en) 2020-06-12 2021-06-04 Developing apparatus having a flexible developer conveyor

Applications Claiming Priority (1)

Application Number Priority Date Filing Date Title
JP2020102663A JP7532101B2 (ja) 2020-06-12 2020-06-12 現像装置

Publications (2)

Publication Number Publication Date
JP2021196490A JP2021196490A (ja) 2021-12-27
JP7532101B2 true JP7532101B2 (ja) 2024-08-13

Family

ID=78825327

Family Applications (1)

Application Number Title Priority Date Filing Date
JP2020102663A Active JP7532101B2 (ja) 2020-06-12 2020-06-12 現像装置

Country Status (2)

Country Link
US (1) US11392057B2 (ja)
JP (1) JP7532101B2 (ja)

Families Citing this family (1)

* Cited by examiner, † Cited by third party
Publication number Priority date Publication date Assignee Title
JP7446927B2 (ja) * 2020-06-12 2024-03-11 キヤノン株式会社 現像装置、プロセスカートリッジおよび画像形成装置

Citations (3)

* Cited by examiner, † Cited by third party
Publication number Priority date Publication date Assignee Title
JP2003186294A (ja) 2001-12-18 2003-07-03 Canon Inc 現像剤容器及びこれを用いたプロセスカートリッジ並びに電子写真画像形成装置
JP2015129812A (ja) 2014-01-06 2015-07-16 ブラザー工業株式会社 現像装置
JP2016051051A (ja) 2014-08-29 2016-04-11 キヤノン株式会社 現像剤容器、現像剤収納ユニット、プロセスカートリッジおよび画像形成装置

Family Cites Families (7)

* Cited by examiner, † Cited by third party
Publication number Priority date Publication date Assignee Title
JP4735946B2 (ja) * 2005-03-14 2011-07-27 富士ゼロックス株式会社 現像カートリッジ
JP2015028594A (ja) 2013-06-24 2015-02-12 キヤノン株式会社 カートリッジ、プロセスカートリッジ及び画像形成装置
JP2015011229A (ja) 2013-06-28 2015-01-19 ブラザー工業株式会社 カートリッジ
JP6525556B2 (ja) 2014-01-29 2019-06-05 キヤノン株式会社 現像装置、プロセスカートリッジ及び電子写真画像形成装置
JP7068007B2 (ja) * 2018-04-03 2022-05-16 シャープ株式会社 現像装置およびそれを備える画像形成装置
JP2020101687A (ja) 2018-12-21 2020-07-02 キヤノン株式会社 現像装置、プロセスカートリッジ及び画像形成装置
JP7358118B2 (ja) * 2019-08-23 2023-10-10 キヤノン株式会社 現像装置、カートリッジおよびが画像形成装置

Patent Citations (3)

* Cited by examiner, † Cited by third party
Publication number Priority date Publication date Assignee Title
JP2003186294A (ja) 2001-12-18 2003-07-03 Canon Inc 現像剤容器及びこれを用いたプロセスカートリッジ並びに電子写真画像形成装置
JP2015129812A (ja) 2014-01-06 2015-07-16 ブラザー工業株式会社 現像装置
JP2016051051A (ja) 2014-08-29 2016-04-11 キヤノン株式会社 現像剤容器、現像剤収納ユニット、プロセスカートリッジおよび画像形成装置

Also Published As

Publication number Publication date
US11392057B2 (en) 2022-07-19
US20210389693A1 (en) 2021-12-16
JP2021196490A (ja) 2021-12-27

Similar Documents

Publication Publication Date Title
JP6140962B2 (ja) カートリッジ及びプロセスカートリッジ及び画像形成装置
US20210124304A1 (en) Developing device having restricted movement, process cartridge and image forming apparatus
JP7532101B2 (ja) 現像装置
JP2017076016A (ja) 搬送装置
JP6381378B2 (ja) 現像装置、プロセスカートリッジ及び画像形成装置
JP2018194736A (ja) 画像形成ユニット
KR102344241B1 (ko) 카트리지 및 화상 형성 장치
JP7532104B2 (ja) 現像剤収容容器、カートリッジ、及び画像形成装置。
JP7419481B2 (ja) 画像形成装置
US8165492B2 (en) Developer cartridge, developing unit and image forming apparatus
JP2014106396A (ja) 現像剤収容容器及びこれが適用された画像形成装置
JP7543033B2 (ja) 現像装置、カートリッジ、および画像形成装置
JP7254529B2 (ja) プロセスカートリッジ及び画像形成装置
JP4645630B2 (ja) 現像装置、プロセスユニットおよび画像形成装置
JP6758935B2 (ja) プロセスカートリッジおよび画像形成装置
JP2017076014A (ja) 収容容器、クリーニング装置、現像装置、プロセスカートリッジ、および画像形成装置
JP7558687B2 (ja) カートリッジ及び画像形成装置
JP6700995B2 (ja) プロセスカートリッジ及び画像形成装置
JP5638253B2 (ja) 密封装置
JP2020101742A (ja) 現像装置
JP7140794B2 (ja) カートリッジ及び画像形成装置
JP2022006898A (ja) 現像カートリッジ、トナーカートリッジ及び画像形成装置
JP7516168B2 (ja) 現像剤容器、現像装置、プロセスカートリッジおよび画像形成装置
JP4720957B2 (ja) 現像装置、プロセスユニットおよび画像形成装置
JP2018097082A (ja) 現像ユニット及びプロセスカートリッジ

Legal Events

Date Code Title Description
A621 Written request for application examination

Free format text: JAPANESE INTERMEDIATE CODE: A621

Effective date: 20230609

A977 Report on retrieval

Free format text: JAPANESE INTERMEDIATE CODE: A971007

Effective date: 20240315

A131 Notification of reasons for refusal

Free format text: JAPANESE INTERMEDIATE CODE: A131

Effective date: 20240319

A521 Request for written amendment filed

Free format text: JAPANESE INTERMEDIATE CODE: A523

Effective date: 20240520

TRDD Decision of grant or rejection written
A01 Written decision to grant a patent or to grant a registration (utility model)

Free format text: JAPANESE INTERMEDIATE CODE: A01

Effective date: 20240702

A61 First payment of annual fees (during grant procedure)

Free format text: JAPANESE INTERMEDIATE CODE: A61

Effective date: 20240731

R150 Certificate of patent or registration of utility model

Ref document number: 7532101

Country of ref document: JP

Free format text: JAPANESE INTERMEDIATE CODE: R150