JP7528107B2 - 軌道切断装置及びチューブの調整装置 - Google Patents

軌道切断装置及びチューブの調整装置 Download PDF

Info

Publication number
JP7528107B2
JP7528107B2 JP2021549954A JP2021549954A JP7528107B2 JP 7528107 B2 JP7528107 B2 JP 7528107B2 JP 2021549954 A JP2021549954 A JP 2021549954A JP 2021549954 A JP2021549954 A JP 2021549954A JP 7528107 B2 JP7528107 B2 JP 7528107B2
Authority
JP
Japan
Prior art keywords
tube
cutting
support
rotor
adjustment tool
Prior art date
Legal status (The legal status is an assumption and is not a legal conclusion. Google has not performed a legal analysis and makes no representation as to the accuracy of the status listed.)
Active
Application number
JP2021549954A
Other languages
English (en)
Other versions
JP2022521629A (ja
Inventor
ヴァルセッキ,クリスティアン
Current Assignee (The listed assignees may be inaccurate. Google has not performed a legal analysis and makes no representation or warranty as to the accuracy of the list.)
BLM SpA
Original Assignee
BLM SpA
Priority date (The priority date is an assumption and is not a legal conclusion. Google has not performed a legal analysis and makes no representation as to the accuracy of the date listed.)
Filing date
Publication date
Application filed by BLM SpA filed Critical BLM SpA
Publication of JP2022521629A publication Critical patent/JP2022521629A/ja
Application granted granted Critical
Publication of JP7528107B2 publication Critical patent/JP7528107B2/ja
Active legal-status Critical Current
Anticipated expiration legal-status Critical

Links

Images

Classifications

    • BPERFORMING OPERATIONS; TRANSPORTING
    • B21MECHANICAL METAL-WORKING WITHOUT ESSENTIALLY REMOVING MATERIAL; PUNCHING METAL
    • B21DWORKING OR PROCESSING OF SHEET METAL OR METAL TUBES, RODS OR PROFILES WITHOUT ESSENTIALLY REMOVING MATERIAL; PUNCHING METAL
    • B21D3/00Straightening or restoring form of metal rods, metal tubes, metal profiles, or specific articles made therefrom, whether or not in combination with sheet metal parts
    • B21D3/14Recontouring
    • BPERFORMING OPERATIONS; TRANSPORTING
    • B21MECHANICAL METAL-WORKING WITHOUT ESSENTIALLY REMOVING MATERIAL; PUNCHING METAL
    • B21DWORKING OR PROCESSING OF SHEET METAL OR METAL TUBES, RODS OR PROFILES WITHOUT ESSENTIALLY REMOVING MATERIAL; PUNCHING METAL
    • B21D41/00Application of procedures in order to alter the diameter of tube ends
    • B21D41/02Enlarging
    • BPERFORMING OPERATIONS; TRANSPORTING
    • B23MACHINE TOOLS; METAL-WORKING NOT OTHERWISE PROVIDED FOR
    • B23BTURNING; BORING
    • B23B27/00Tools for turning or boring machines; Tools of a similar kind in general; Accessories therefor
    • B23B27/04Cutting-off tools
    • B23B27/045Cutting-off tools with chip-breaking arrangements
    • BPERFORMING OPERATIONS; TRANSPORTING
    • B23MACHINE TOOLS; METAL-WORKING NOT OTHERWISE PROVIDED FOR
    • B23DPLANING; SLOTTING; SHEARING; BROACHING; SAWING; FILING; SCRAPING; LIKE OPERATIONS FOR WORKING METAL BY REMOVING MATERIAL, NOT OTHERWISE PROVIDED FOR
    • B23D21/00Machines or devices for shearing or cutting tubes
    • B23D21/006Machines or devices for shearing or cutting tubes and sealing, crushing or chamfering the tubes
    • BPERFORMING OPERATIONS; TRANSPORTING
    • B23MACHINE TOOLS; METAL-WORKING NOT OTHERWISE PROVIDED FOR
    • B23DPLANING; SLOTTING; SHEARING; BROACHING; SAWING; FILING; SCRAPING; LIKE OPERATIONS FOR WORKING METAL BY REMOVING MATERIAL, NOT OTHERWISE PROVIDED FOR
    • B23D21/00Machines or devices for shearing or cutting tubes
    • B23D21/04Tube-severing machines with rotating tool-carrier
    • BPERFORMING OPERATIONS; TRANSPORTING
    • B26HAND CUTTING TOOLS; CUTTING; SEVERING
    • B26DCUTTING; DETAILS COMMON TO MACHINES FOR PERFORATING, PUNCHING, CUTTING-OUT, STAMPING-OUT OR SEVERING
    • B26D3/00Cutting work characterised by the nature of the cut made; Apparatus therefor
    • B26D3/16Cutting rods or tubes transversely
    • B26D3/166Trimming tube-ends
    • BPERFORMING OPERATIONS; TRANSPORTING
    • B23MACHINE TOOLS; METAL-WORKING NOT OTHERWISE PROVIDED FOR
    • B23BTURNING; BORING
    • B23B27/00Tools for turning or boring machines; Tools of a similar kind in general; Accessories therefor
    • B23B27/08Cutting tools with blade- or disc-like main parts

Landscapes

  • Engineering & Computer Science (AREA)
  • Mechanical Engineering (AREA)
  • Life Sciences & Earth Sciences (AREA)
  • Forests & Forestry (AREA)
  • Turning (AREA)
  • Length-Measuring Devices Using Wave Or Particle Radiation (AREA)
  • Analysing Materials By The Use Of Radiation (AREA)
  • Investigating Or Analyzing Materials By The Use Of Magnetic Means (AREA)

Description

本発明は、チューブの軌道切断装置と、切断後にチューブの調整を行う装置に関する。
円形断面を有するチューブ、例えば、曲げ加工機で曲げられるか又はチューブエンド成形機でチューブ端部が変形されるチューブを切断するいわゆる軌道切断方法が知られている。
円形断面のチューブを軌道切断するのは、もとのチューブバー又はチューブコイルからチューブ片を分離するために、切断ローラとして一般に知られている円形カッターをチューブの周りに旋回させてチューブに漸次切り込みを入れることによって行われる、チップ除去を行うことない処理である。次に、チューブ片は、以下の公知方法のいずれかによって、チューブバー又はチューブコイルから分離される。前記パイプにその厚み分を完全に貫通するように切断ローラが漸次切り込みを入れるスルーカット。切断ローラがチューブの厚み分を完全に貫通することなくチューブに漸次切り込みを入れ、切断ローラの前進中又はその直後にチューブを引っ張ってチューブ片が分離される、切り込みと破壊。切断ローラが、チューブの厚み分を完全に貫通することなくチューブに漸次溝を形成し、チューブ片はチューブを曲げることによって分離される、切り込みとスナップ。
添付図面の図1は、チューブを供給し切断するラインの公知例を示す。このラインは、棒状チューブT(おそらく、曲げられて真っすぐにされたチューブコイルから生じたチューブ)を供給する供給ユニット10と、チューブTをクランプするクランプユニット12と、チューブTを旋回切断する切断ユニット14と、切断ユニット14によって切断された後、チューブTの一部を破壊する破壊ユニット16を有する。チューブ片の分離が上述のスルーカット法によって行われる場合、破壊ユニット16は設けられない又は使用されない。
切断ユニット14は添付図面の図2,3に具体的に示されており、図3は図2の細部Aの拡大図を示す。
図2,3を参照すると、切断ユニット14は、中央の孔20を有するロータ18を含む。中央の孔20は、この孔を介して、切断するチューブTが送られる。ロータ18は、切断ローラ24を運ぶ支持体22が取り付けられている。ロータ18は、例えば、電動モータ26を有するギヤモータユニットによって駆動されて、チューブTの長軸に一致する第1回転軸x1を中心に回転する。支持体22は、ロータ18に対して、径方向(符号yで示される。)に移動可能である。切断ローラ24は、支持体22に対して、第1回転軸x1に平行な第2回転軸x2を中心に自由に回転可能である。
添付図面の図4~7を参照すると、図2,3に示されるように、切断ユニットによるチューブTの切断プロセスは、(説明を簡単にするために、供給ユニット10によって供給されるチューブバーからチューブ片を分離する貫通切断技術を考えると、)以下の工程に従って行われる。
はじめに(図4)、チューブTは、切断されるチューブTの断面が切断ローラ24に位置づけされるまで、軸方向(すなわち、ロータ18の回転軸x1に一致するチューブの長軸方向)に移動される。
この時点(図5)で、切断ローラ24がチューブTの表面に接触し、支持体22がチューブTの長軸に向かって径方向に移動する。また、ロータ18が駆動されて第1回転軸x1を中心に回転し、切断ローラ24がチューブTの周りを旋回する。
図6に示されるように、ロータ18の回転動作中、支持体22と、それによって運ばれる切断ローラ24は、チューブTの長軸に向かって径方向に移動される。その結果、切断ローラ24は、チューブの厚み方向に、漸次深くなる周方向の溝Cを、チューブ片(符号Pで示される。)が分離するまで形成する。
最後に、図7に示されるように、ロータ18の回転が中断され、切断ローラ24は、チューブTの表面から離れた径方向のスタート位置に戻される。
軌道切断プロセスは、チューブの外側から内側への切断ローラの押し込みによって、チューブの内側に向かって材料が径方向に移動し、その結果チューブの内径が減少する、という欠点がある。また、チューブの外径が小さくなることによってチューブの内径が小さくなることに加えて、バリの発生によってチューブの内径が減少することも考慮しなければならない。
チューブの内径が減少することは、その後のチューブの処理(特に、コアを使ったチューブの曲げ)に影響を与えるため(切断部の周りの領域におけるチューブの内径が減少すると、チューブの内径よりも小さな径のコアを使用しなければならず、そのために曲げ不良を生じる危険がある。)、また、仕上げ製品の機能に影響を与えるため、望ましくない切断の影響である。
軌道切断の結果としてチューブの内径が減少することは、ツールの寸法(大きさ、レーキ角、鋭さ等。ただし、後者は使用と共に減少しがちである。)、切断パラメータ(例えば、貫通速度)、及び加工されるチューブの冶金学的特性に結びついた、数々の要因と密接に関連している。
これら種々の要因により、作業中にチューブの内径の減少を許容範囲に安定して収めることは常に行えるものではない。
したがって、軌道切断後、切断ユニットの下流側に配置された特別なユニットで、チューブの内径を公称値に戻すために、切断されたチューブ片に調整処理を施すことが知られている。この調整処理は、例えば、トリミング処理やバリ取り処理を含む。
しかし、この解決策は、切断ユニットと調整ユニットとの間でチューブは適正に扱われなければならないうえに、調整処理で発生した廃棄物を適正に扱わなければならないことから、特別な処理ユニットを設ける必要があり、工場のコスト・大きさ・複雑さが増加するため、最適なものではない。また、このような付加的な処理を行うことは、サイクルタイムが増加し、チューブ処理工場(例えば、曲げ処理)の生産性を損なう結果となる。
また、いわゆる「プッシュ」技術に従って調整処理(すなわち、チューブに対して同軸に配置された特別なパンチを使ってチューブを所定距離(例えば、数ミリメートル)だけ内側に押す処理)を行い、チューブの内径を大きくすることが知られている。しかし、調整によって調整の課題を解消する一方で、プッシュ調整はバリをチューブの内側に移動させるという欠点があり、その後のチューブ加工工程やチューブの最終仕様段階で問題を生じる。
したがって、本発明の目的は、上述した従来の欠点によって影響を受けることがない、チューブの軌道切断装置を提供するとともに、切断後の調整のための装置を提供することである。
この目的及びその他の目的は、添付の特許請求の範囲の請求項1に記載の特徴を有する装置の発明によって完全に達成される。
本発明の利点は、従属請求項に記載されている。その内容は、以下の説明の一体的部分として理解される。
要するに、本発明は、チューブを切断し調整する装置を創造するアイデアに基づき、切断されるチューブが移動される中央孔を有し、第1回転軸の周りを回転するように駆動可能なロータと、
前記ロータ上に径方向に移動可能に設けられた第1支持体と、前記第1支持体によって運ばれる切断ツールを含む切断デバイスと、
前記ロータ上に径方向に移動可能に設けられた第2支持体と、前記第2支持体によって運ばれる調整ツールとを含む調整デバイスとを有し、
前記調整ツールは、チューブ片の内径を拡大するために、径方向外側に移動可能である。
この装置は、同じロータの上に設けられた、切断デバイスと調整デバイスを有する。切断後にチューブを調整するために、切断ユニットの下流に追加の処理ユニットを設ける必要がない。したがって、追加ユニットの存在に関連した上述したすべての欠点が解消される。また、調整ツールは、ロータに対して又と加工されるチューブに対して径方向に移動可能な支持体に設けられている。そのため、チューブの調整は、プッシュ調整のように、チューブに対してツールを、チューブの長軸に沿って軸方向に移動する手段ではなく、径方向に移動する手段によって行われる。したがって、プッシュ調整に典型的なチューブの内側へバリを移動するという問題が解消される。
好ましくは、第1支持体と第2支持体は別々のもので、それらは同じ径方向に移動するように、ロータに設けられる。しかし、これに代えて、切断ツールと調整ツールの両方の機能を実行する一つの支持体を設けてもよい。
1つの実施形態によれば、ロータ(チューブ)に対して第1支持体と第2支持体(及び、切断ツールと調整ツール)を径方向に移動するために、装置は、第1支持体と第2支持体の両方と対になる一つの駆動装置を有し、ロータの回転軸(すなわち、チューブの長軸)に対して対称にそれら支持体の径方向移動を制御する。代わりに、第1駆動装置と第2駆動装置を設けてもよい。これらの駆動装置は、それぞれが対応する支持体と対をなし、第1支持体と第2支持体の径方向移動は互いに独立して駆動される。
好ましくは、切断ツールはローラによって形成される。ローラは、第1回転軸に平行な第2回転軸を中心に回転可能に第1支持体に設けられ、周方向の切断エッジを有する。
調整ツールに関する限り、塑性変形又はチップ除去によって、チューブを拡大するように構成してもよい。この別の形態の場合、調整ツールには、チューブの端部を加工するために適当の形に作られた切断エッジが設けられる。
請求項9に記載の本発明のさらなる主題は、コイルからのチューブを真っ直ぐにして切断するための機械等のチューブを加工する機械で、上述した特徴を有する、チューブを切断し調整する装置を有する。
1つの実施形態によれば、その機械は、以下の工程を実行するように構成される。
回転中のロータを用いて、切断ツールの手段によってチューブからチューブ片を切り出す工程。
前記チューブ片を、前記チューブの残余部から軸方向に移動して離す工程。
前記調整ツールを、前記チューブの径方向の寸法内の所定位置に到達するまで、前記チューブの長軸に向かって径方向に移動する工程。
前記チューブ片を前記調整ツールに対して軸方向に移動する工程。
ロータを回転しながら、前記調整ツールを径方向外側に移動して前記チューブ片の内径を拡大する工程。
本発明の更なる特徴と利点は、添付図面を参照して、非限定的な実施例として提供される以下の詳細な説明からさらに明らかになる。
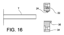
図1は、従来のチューブ供給及び切断ラインを示す斜視図である。 図2は、図1における供給及び切断ラインの切断ユニットを示す斜視図である。 図3は、図2の細部Aの拡大図を示す。 図4は、図2,3の切断ユニットを用いてチューブを切断するプロセスにおけるステップを順次示す。 図5は、図2,3の切断ユニットを用いてチューブを切断するプロセスにおけるステップを順次示す。 図6は、図2,3の切断ユニットを用いてチューブを切断するプロセスにおけるステップを順次示す。 図7は、図2,3の切断ユニットを用いてチューブを切断するプロセスにおけるステップを順次示す。 図8は、本発明の実施形態に係る、チューブを切断し切断後にチューブを調整するための装置の斜視図である。 図9は、図8の装置の切断デバイスと調整デバイスを詳細に示す斜視図である。 図10は、図8の装置を用いてチューブを調整するプロセスの複数のステップを順次示す。 図11は、図8の装置を用いてチューブを調整するプロセスの複数のステップを順次示す。 図12は、図8の装置を用いてチューブを調整するプロセスの複数のステップを順次示す。 図13は、図8の装置を用いてチューブを調整するプロセスの複数のステップを順次示す。 図14は、図8の装置を用いてチューブを調整するプロセスの複数のステップを順次示す。 図15は、図8の装置を用いてチューブを調整するプロセスの複数のステップを順次示す。 図16は、図8の装置を用いてチューブを調整するプロセスの複数のステップを順次示す。
まず図8,9を参照すると、そこでは図1~7(従来技術)の符号と同じ符号又は対応する符号の部品と要素は、同じ参照符号が割り当てられており、チューブTの切断と、チューブ片Pの内径を初期の値(公称径)に戻すために、切断されたチューブ片Pの調整を行うように構成された、調整装置(以下、便宜上単に「装置」という。)が、概略符号14で示されている。
装置14は、中央の孔20を備えたロータ18を有する。この孔20を介して、切断されるチューブTは、供給ユニット(ここでは図示しないが、それ自体は公知のものである。例えば、図1の供給ユニット10を参照。)によってチューブの長軸に沿って移動される。ロータ18は、チューブTの長軸に一致する第1回転軸x1を中心に回転するように支持されている。装置14はまた、ロータ18を駆動して第1回転軸x1を中心に回転するために、第1駆動装置26(例えば、電動式ギヤモータ)を有する。
ロータ18には、例えば鋭い周囲のエッジを有するローラとして構成された切断ツール24を運ぶ支持体22が装着されている。切断ツール24は、支持体22に対して、第1回転軸x1に平行な第2回転軸x2を中心に自由に回転可能である。
支持体22は、径方向yに沿って、ロータ18に対して移動可能である。この点に関して、支持体22は、例えば、径方向yに沿って延在するロータ18のスロット30にスライド可能に設けられたスライダ28にしっかりと連結されている。第2駆動装置32(例えば、電ギヤモータ)は、径方向yに沿ってスライダ28及び支持体22を移動するために、スライダ28と対になるよりも、支持体22と対になっている。
本発明によれば、装置14は、切断ツール24とその支持体22によって形成された切断装置に加えて、支持体34と該支持体34によって支持された調整ツール36を含む調整装置を有する。
支持体34は、好ましくは、切断ツール24を支持する支持体22が移動する径方向と同じ方向に沿って、径方向に移動可能にロータ18に設けられている。好ましくは、支持体34は、ロータ18の回転軸x1に対してスロット30の反対側で径方向yに沿って延在するロータ18のスロット40の中にスライド可能に設けられたスライダ38にしっかりと連結されている。
支持体34、またはスライダ38はまた、径方向yに沿って、スライダ38と支持体34を移動する駆動装置と対になっている。好ましくは、スライダ38は、スライダ28を駆動する同じ駆動装置32によって駆動され、二つのスライダ28と38と、それに関連する支持体22と34がそれらスライダと一緒に、ロータ18の回転軸に対して(すなわち、チューブTの長軸に対して)正確に対称に移動される。
チューブTは、切断ツール24を使って、従来技術を参照して上述した通り(図4~7とそれに関連した説明を参照)に切断される。
図10~16を参照して、本発明に係る装置を用いてチューブの切断片を調整する処理を実行する方法を説明する。その処理は、切断処理の結果として生じるチューブの内径減少の影響を埋め合わすために、上述のように、切断領域のチューブ片の内径を初期値(公称径)に戻すように作用する。
調整ツール36は、一般的なスタート位置(図10)にある。切断装置と調整装置の軸方向の大きさからはみ出るように、(必要ならば、特別な破壊ユニットによって)チューブバーTの残りの部分から新たに切断されたチューブ片Pを軸方向に移動した後、チューブTは供給ユニット(図示せず)によって後戻りされる。
この時点で、図13に示されるように、調整ツール36は、予め決められた位置に到達するまで、チューブの長軸に向かって径方向に移動される。図示する実施例では、切断装置と調整装置の両方に一つだけの駆動ユニットが設けられている。その結果、切断ツール24は、チューブの長軸に向かって、径方向に移動される。しかし、二つのツールが別々に移動する場合、調整処理の間、邪魔にならないように、それはスタート位置に静止させてもよい。
その後、チューブ片Pは、調整ツール(図14)を動作するための使用位置に到達するまで、調整ツール36に向けて軸方向に移動される。
このとき、ロータ18が回転される(上述の先の工程では、ロータは途切れることなく回転を維持することが可能であるが、実際の調整処理中に使用される速度とは異なる速度で回転することが可能である。)。また、チューブ片P(図15)の内径を拡大するために、同時に、調整ツール36は、径方向外側に向けて予め決められた位置まで(又は、予め決められた力で)適当に移動される。上述のように、調整ツール36は、ここで示す実施例のように、チューブの塑性変形によって調整を行うように配置してもよいし、チップ除去によって調整を行うように配置してもよい。
最後に、図16に示されるように、調整処理が終了すると、新たに処理されたチューブ片が取り外され、調整ツール36が、開示位置に到達するまで、チューブTの径方向寸法の外側に移動される。
以上の説明から明らかなように、本発明に係る装置によれば、チューブの切断直後に調整処理を行うことができるので、サイクルタイムを最小に減らすことができる。実際、チューブの調整だけのために、新たに切断されたチューブ片を別のワークステーションに移動する必要がない。また、調整ツールと切断ツールを同じ装置に一体化したため、設備が簡単になり、製造コストや必要なスペースが減る。
当然、特許請求の範囲に記載した発明の範囲から逸脱することなく、本発明の原理を変更せずに、非限定的実施例としてのみ記載し説明した実施例に関して、実施例及び細部を変更してもよい。

Claims (6)

  1. チューブ(T)を環状に切断して調整する装置であって、
    開口孔(20)を有し、切断される前記チューブ(T)が前記開口孔(20)を介して前記チューブ(T)の長軸に沿って移動されるロータ(18)であって、前記ロータ(18)は使用中前記装置(14)に供給される前記チューブ(T)の前記長軸に一致する第1回転軸(x1)を中心に回転するように駆動可能である、ロータ(18)と、
    前記第1回転軸(x1)の径方向に移動可能なように前記ロータ(18)に搭載された第1支持体(22)と、前記第1支持体(22)によって運ばれる切断ツール(24)を含む切断装置(22,24)と、
    前記ロータ(18)に搭載されて前記ロータ(18)上を径方向に移動可能な第2支持体(34)と、前記第2支持体(34)によって運ばれる調整ツール(36)とを有し、
    前記装置は、前記調整ツール(36)が径方向外側に移動されて、前記チューブの一部(P)の内径を拡大し、
    前記第1支持体(22)と前記第2支持体(34)は、互いに分離され、同じ径方向(y)に沿って移動可能に前記ロータ(18)に設けられており、
    前記第1支持体(22)及び前記第2支持体(34)の両方と対になり、前記径方向(y)に沿って、前記第1回転軸(x1)に対して対称に、前記第1支持体(22)と前記第2支持体(34)を移動する一つの駆動装置(32)を有する、装置。
  2. 前記切断ツール(24)は、前記第1回転軸(x1)に平行な第2回転軸(x2)を中心に回転可能に前記第1支持体(22)に設けられたローラによって形成され、周方向の切断エッジを有する、請求項1の装置。
  3. 前記調整ツール(36)は、塑性変形によって、前記チューブ(T)の一部(P)を拡大するように調整される、請求項1又は2のいずれか一項に記載の装置。
  4. 前記調整ツール(36)は、チップ除去によって前記チューブ(T)の一部(P)を拡大する形状を有する切断縁を備えている、請求項1~3のいずれか一項に記載の装置。
  5. コイルからのチューブを真っすぐにして切断する、チューブ加工機であって、請求項1~4のいずれか一項に記載のチューブを切断して調整する装置を備えた、チューブ加工機。
  6. 前記チューブ加工機は、
    前記ロータ(18)を回転しながら、前記切断ツール(24)によって前記チューブ(T)から前記チューブ(T)の一部(P)を切断し、
    前記チューブ(T)の一部(P)を軸方向に移動して、前記チューブ(T)の一部(P)を前記チューブ(T)の残余部から遠ざけ、
    前記調整ツール(36)を、前記調整ツールが前記チューブ(T)の径方向の予め決められた位置に到達するまで、前記チューブ(T)の長軸に向かって径方向に移動し、
    前記チューブ(T)の一部(P)を前記調整ツール(36)に向けて軸方向に移動し、
    前記ロータ(18)を回転しながら、前記調整ツール(36)を径方向外側に移動して、前記チューブ(T)の一部(P)の前記内径を拡大する、請求項5に記載のチューブ加工機。
JP2021549954A 2019-02-27 2020-02-26 軌道切断装置及びチューブの調整装置 Active JP7528107B2 (ja)

Applications Claiming Priority (3)

Application Number Priority Date Filing Date Title
IT102019000002815 2019-02-27
IT102019000002815A IT201900002815A1 (it) 2019-02-27 2019-02-27 Apparecchiatura per il taglio orbitale e la calibratura di tubi
PCT/IB2020/051621 WO2020174409A1 (en) 2019-02-27 2020-02-26 Apparatus for the orbital cutting and calibration of tubes

Publications (2)

Publication Number Publication Date
JP2022521629A JP2022521629A (ja) 2022-04-11
JP7528107B2 true JP7528107B2 (ja) 2024-08-05

Family

ID=66641315

Family Applications (1)

Application Number Title Priority Date Filing Date
JP2021549954A Active JP7528107B2 (ja) 2019-02-27 2020-02-26 軌道切断装置及びチューブの調整装置

Country Status (11)

Country Link
US (1) US20220134403A1 (ja)
EP (1) EP3930948A1 (ja)
JP (1) JP7528107B2 (ja)
KR (1) KR20210127753A (ja)
CN (1) CN113490567B (ja)
BR (1) BR112021016874A2 (ja)
CA (1) CA3130229A1 (ja)
IT (1) IT201900002815A1 (ja)
MX (1) MX2021010175A (ja)
TW (1) TWI840517B (ja)
WO (1) WO2020174409A1 (ja)

Families Citing this family (1)

* Cited by examiner, † Cited by third party
Publication number Priority date Publication date Assignee Title
TWI878012B (zh) * 2024-01-29 2025-03-21 全利機械股份有限公司 中空卷條物件切斷機構及方法

Citations (1)

* Cited by examiner, † Cited by third party
Publication number Priority date Publication date Assignee Title
US20160121406A1 (en) 2014-10-29 2016-05-05 Illinois Tool Works Inc. Interchangeable cutting inserts and methods associated with the same

Family Cites Families (17)

* Cited by examiner, † Cited by third party
Publication number Priority date Publication date Assignee Title
US4430913A (en) * 1982-03-23 1984-02-14 Kaiser Steel Corporation Cut-off and face machine
JPS60136827U (ja) * 1984-02-20 1985-09-11 カヤバ工業株式会社 パイプ用拡管レンチ
US5531370A (en) * 1990-08-14 1996-07-02 Rohrberg; Roderick G. High-precision sizing, cutting and welding tool system for specialty aerospace alloys
JP2838447B2 (ja) * 1991-03-20 1998-12-16 株式会社オスガーマシン パイプ切断方法及びパイプカッター
JPH0751922A (ja) * 1993-08-06 1995-02-28 Kouhou Koki:Kk パイプ切断機およびパイプ切断方法
US5549024A (en) * 1995-01-30 1996-08-27 Ricci; Donato L. Clamshell pipe lathe having improved bearing arrangement
DE19907740B4 (de) * 1999-02-23 2008-02-14 Volkswagen Ag Verfahren zum Abtrennen eines Rohrstückes von einem zylindrischen Rohr, sowie einer Abtrennvorrichtung zur Durchführung des Verfahrens
US8186249B2 (en) * 2008-06-30 2012-05-29 Pratt & Whitney Canada Corp. Three point turning machine
ITRN20120016A1 (it) * 2012-03-23 2013-09-24 Sica Spa Metodo ed apparecchiatura di taglio di un tubo in materiale termoplastico.
ITPD20130128A1 (it) * 2013-05-10 2014-11-11 Ingotools Srl Utensile per la sbavatura e la calibratura di tubi e di componenti tubolari a sviluppo prevalentemente longitudinale in generale
KR101636758B1 (ko) * 2014-05-30 2016-07-06 디씨에스이엔지 주식회사 회전속도비를 이용하여 회전체내 절삭툴을 제어할 수 있는 오비탈식 파이프 절삭장치
DE102015212968B4 (de) * 2014-07-17 2023-06-22 Sms Group Gmbh Verfahren und Vorrichtung zum Kalibrieren der Enden von metallischen Rohren
DE102014112437A1 (de) * 2014-08-29 2016-03-03 Propress Gmbh Kalibrier- und Anfaswerkzeug
KR101549822B1 (ko) * 2014-10-13 2015-09-04 최인성 회전속도비를 이용하여 회전체내 복수개의 절삭툴을 자유롭고 선택적으로 제어할 수 있는 오비탈식 절삭장치
US10065246B2 (en) * 2015-04-13 2018-09-04 Illinois Tool Works Inc. Laser line generator tool for a pipe machining apparatus
CN206382618U (zh) * 2016-12-07 2017-08-08 江西金盈新材料科技股份有限公司 一种不锈钢压力管管道切割装置
TWM550184U (zh) * 2017-05-23 2017-10-11 Hao Thing Electricity Machinery Co Ltd 管件加工機傳動機構

Patent Citations (1)

* Cited by examiner, † Cited by third party
Publication number Priority date Publication date Assignee Title
US20160121406A1 (en) 2014-10-29 2016-05-05 Illinois Tool Works Inc. Interchangeable cutting inserts and methods associated with the same

Also Published As

Publication number Publication date
MX2021010175A (es) 2021-09-14
TW202045275A (zh) 2020-12-16
CN113490567A (zh) 2021-10-08
WO2020174409A1 (en) 2020-09-03
TWI840517B (zh) 2024-05-01
US20220134403A1 (en) 2022-05-05
BR112021016874A2 (pt) 2021-11-03
CA3130229A1 (en) 2020-09-03
EP3930948A1 (en) 2022-01-05
KR20210127753A (ko) 2021-10-22
CN113490567B (zh) 2024-12-31
JP2022521629A (ja) 2022-04-11
IT201900002815A1 (it) 2020-08-27

Similar Documents

Publication Publication Date Title
CN103781570B (zh) 用于制造弹簧的方法以及用于执行该方法的弹簧机
US10207311B2 (en) Machine for the production of coiled gaskets
JP2003509181A (ja) 外科手術装置用閉鎖端チューブの製造
WO2018179009A1 (en) Pipe clamping and cutting apparatus for cnc machine
KR102470584B1 (ko) 나사 절삭 가공장치 및 나사 절삭 가공방법
KR20150136485A (ko) 다각형 가공 장치 및 다각형 가공 방법
US12005600B2 (en) Method and apparatus for cutting a pipe made from thermoplastic material
JP7528107B2 (ja) 軌道切断装置及びチューブの調整装置
JP2004322178A (ja) 内曲げフックを有するコイルばねの成形方法およびその装置
JP3397696B2 (ja) ばね成形方法
CN218425628U (zh) 缸套机加工设备
JP2001321868A (ja) ロッド材曲成物の成形加工方法と、それに用いる成形加工装置
EP3210685B1 (en) Machine and method for bending a tubular product
JP2838447B2 (ja) パイプ切断方法及びパイプカッター
CN107639421A (zh) 一种集气管加工设备及其加工工艺
JP2002273536A (ja) コイリング装置及び方法及びコイリング装置の芯金
US6619162B1 (en) Device for cutting tubes
JP4857266B2 (ja) リングを形成する工程
RU2815023C1 (ru) Гибочная машина
US20230134903A1 (en) Bending machine
JP2006110714A (ja) パイプの切断方法及びパイプの切断装置
JP2005288624A (ja) 金属管の定寸切取り装置
JPH07613U (ja) オーガ切削装置
GB2358603A (en) Method and apparatus for cutting a length of tube

Legal Events

Date Code Title Description
A521 Request for written amendment filed

Free format text: JAPANESE INTERMEDIATE CODE: A523

Effective date: 20230106

A621 Written request for application examination

Free format text: JAPANESE INTERMEDIATE CODE: A621

Effective date: 20230106

A131 Notification of reasons for refusal

Free format text: JAPANESE INTERMEDIATE CODE: A131

Effective date: 20240130

A977 Report on retrieval

Free format text: JAPANESE INTERMEDIATE CODE: A971007

Effective date: 20240131

A521 Request for written amendment filed

Free format text: JAPANESE INTERMEDIATE CODE: A523

Effective date: 20240412

A131 Notification of reasons for refusal

Free format text: JAPANESE INTERMEDIATE CODE: A131

Effective date: 20240604

A521 Request for written amendment filed

Free format text: JAPANESE INTERMEDIATE CODE: A523

Effective date: 20240613

TRDD Decision of grant or rejection written
A01 Written decision to grant a patent or to grant a registration (utility model)

Free format text: JAPANESE INTERMEDIATE CODE: A01

Effective date: 20240709

A61 First payment of annual fees (during grant procedure)

Free format text: JAPANESE INTERMEDIATE CODE: A61

Effective date: 20240724

R150 Certificate of patent or registration of utility model

Ref document number: 7528107

Country of ref document: JP

Free format text: JAPANESE INTERMEDIATE CODE: R150