JP7516210B2 - 半導体装置の製造方法 - Google Patents

半導体装置の製造方法 Download PDF

Info

Publication number
JP7516210B2
JP7516210B2 JP2020181414A JP2020181414A JP7516210B2 JP 7516210 B2 JP7516210 B2 JP 7516210B2 JP 2020181414 A JP2020181414 A JP 2020181414A JP 2020181414 A JP2020181414 A JP 2020181414A JP 7516210 B2 JP7516210 B2 JP 7516210B2
Authority
JP
Japan
Prior art keywords
insulating film
oxide semiconductor
electrode
opening
transistor
Prior art date
Legal status (The legal status is an assumption and is not a legal conclusion. Google has not performed a legal analysis and makes no representation as to the accuracy of the status listed.)
Active
Application number
JP2020181414A
Other languages
English (en)
Other versions
JP2022072129A (ja
Inventor
明紘 花田
拓生 海東
涼 小野寺
隆史 岡田
友幸 伊藤
寿輝 金子
Current Assignee (The listed assignees may be inaccurate. Google has not performed a legal analysis and makes no representation or warranty as to the accuracy of the list.)
Japan Display Inc
Original Assignee
Japan Display Inc
Priority date (The priority date is an assumption and is not a legal conclusion. Google has not performed a legal analysis and makes no representation as to the accuracy of the date listed.)
Filing date
Publication date
Application filed by Japan Display Inc filed Critical Japan Display Inc
Priority to JP2020181414A priority Critical patent/JP7516210B2/ja
Priority to US17/511,633 priority patent/US12068399B2/en
Publication of JP2022072129A publication Critical patent/JP2022072129A/ja
Application granted granted Critical
Publication of JP7516210B2 publication Critical patent/JP7516210B2/ja
Active legal-status Critical Current
Anticipated expiration legal-status Critical

Links

Images

Classifications

    • HELECTRICITY
    • H10SEMICONDUCTOR DEVICES; ELECTRIC SOLID-STATE DEVICES NOT OTHERWISE PROVIDED FOR
    • H10DINORGANIC ELECTRIC SEMICONDUCTOR DEVICES
    • H10D99/00Subject matter not provided for in other groups of this subclass
    • HELECTRICITY
    • H01ELECTRIC ELEMENTS
    • H01LSEMICONDUCTOR DEVICES NOT COVERED BY CLASS H10
    • H01L21/00Processes or apparatus adapted for the manufacture or treatment of semiconductor or solid state devices or of parts thereof
    • H01L21/02Manufacture or treatment of semiconductor devices or of parts thereof
    • H01L21/04Manufacture or treatment of semiconductor devices or of parts thereof the devices having potential barriers, e.g. a PN junction, depletion layer or carrier concentration layer
    • H01L21/34Manufacture or treatment of semiconductor devices or of parts thereof the devices having potential barriers, e.g. a PN junction, depletion layer or carrier concentration layer the devices having semiconductor bodies not provided for in groups H01L21/18, H10D48/04 and H10D48/07, with or without impurities, e.g. doping materials
    • H01L21/38Diffusion of impurity materials, e.g. doping materials, electrode materials, into or out of a semiconductor body, or between semiconductor regions
    • H01L21/385Diffusion of impurity materials, e.g. doping materials, electrode materials, into or out of a semiconductor body, or between semiconductor regions using diffusion into or out of a solid from or into a solid phase, e.g. a doped oxide layer
    • HELECTRICITY
    • H10SEMICONDUCTOR DEVICES; ELECTRIC SOLID-STATE DEVICES NOT OTHERWISE PROVIDED FOR
    • H10DINORGANIC ELECTRIC SEMICONDUCTOR DEVICES
    • H10D30/00Field-effect transistors [FET]
    • H10D30/60Insulated-gate field-effect transistors [IGFET]
    • H10D30/67Thin-film transistors [TFT]
    • H10D30/674Thin-film transistors [TFT] characterised by the active materials
    • H10D30/6755Oxide semiconductors, e.g. zinc oxide, copper aluminium oxide or cadmium stannate
    • HELECTRICITY
    • H10SEMICONDUCTOR DEVICES; ELECTRIC SOLID-STATE DEVICES NOT OTHERWISE PROVIDED FOR
    • H10DINORGANIC ELECTRIC SEMICONDUCTOR DEVICES
    • H10D86/00Integrated devices formed in or on insulating or conducting substrates, e.g. formed in silicon-on-insulator [SOI] substrates or on stainless steel or glass substrates
    • H10D86/40Integrated devices formed in or on insulating or conducting substrates, e.g. formed in silicon-on-insulator [SOI] substrates or on stainless steel or glass substrates characterised by multiple TFTs
    • H10D86/421Integrated devices formed in or on insulating or conducting substrates, e.g. formed in silicon-on-insulator [SOI] substrates or on stainless steel or glass substrates characterised by multiple TFTs having a particular composition, shape or crystalline structure of the active layer
    • H10D86/423Integrated devices formed in or on insulating or conducting substrates, e.g. formed in silicon-on-insulator [SOI] substrates or on stainless steel or glass substrates characterised by multiple TFTs having a particular composition, shape or crystalline structure of the active layer comprising semiconductor materials not belonging to the Group IV, e.g. InGaZnO
    • HELECTRICITY
    • H10SEMICONDUCTOR DEVICES; ELECTRIC SOLID-STATE DEVICES NOT OTHERWISE PROVIDED FOR
    • H10DINORGANIC ELECTRIC SEMICONDUCTOR DEVICES
    • H10D86/00Integrated devices formed in or on insulating or conducting substrates, e.g. formed in silicon-on-insulator [SOI] substrates or on stainless steel or glass substrates
    • H10D86/40Integrated devices formed in or on insulating or conducting substrates, e.g. formed in silicon-on-insulator [SOI] substrates or on stainless steel or glass substrates characterised by multiple TFTs
    • H10D86/60Integrated devices formed in or on insulating or conducting substrates, e.g. formed in silicon-on-insulator [SOI] substrates or on stainless steel or glass substrates characterised by multiple TFTs wherein the TFTs are in active matrices

Landscapes

  • Engineering & Computer Science (AREA)
  • Microelectronics & Electronic Packaging (AREA)
  • Condensed Matter Physics & Semiconductors (AREA)
  • General Physics & Mathematics (AREA)
  • Manufacturing & Machinery (AREA)
  • Computer Hardware Design (AREA)
  • Physics & Mathematics (AREA)
  • Power Engineering (AREA)
  • Thin Film Transistor (AREA)
  • Devices For Indicating Variable Information By Combining Individual Elements (AREA)
  • Liquid Crystal (AREA)
  • Electrochromic Elements, Electrophoresis, Or Variable Reflection Or Absorption Elements (AREA)
  • Electroluminescent Light Sources (AREA)
  • Electrodes Of Semiconductors (AREA)

Description

本発明の実施形態は、半導体装置の製造方法に関する。
液晶表示装置において、表示領域の画素回路に酸化物半導体を備えたトランジスタが設けられ、且つ、周辺領域の駆動回路にシリコン半導体を備えたトランジスタが設けられる技術が提案されている。
特開2017-183312号公報 特開2020-129635号公報
本実施形態の目的は、信頼性を向上することが可能な半導体装置の製造方法を提供することにある。
本実施形態の半導体装置の製造方法は、
ゲート電極を形成し、前記ゲート電極を覆う第1絶縁膜を形成し、前記ゲート電極の上方において、前記第1絶縁膜に接する島状の酸化物半導体を形成し、前記酸化物半導体を覆う第2絶縁膜を形成し、前記第2絶縁膜において、前記酸化物半導体まで貫通した第1開口及び第2開口を形成し、前記第1開口において前記酸化物半導体に接するソース電極を形成し、前記第2開口において前記酸化物半導体に接するドレイン電極を形成し、前記ソース電極及び前記ドレイン電極を覆う第3絶縁膜を形成し、前記ソース電極と前記ドレイン電極との間において、前記第3絶縁膜から前記第2絶縁膜を介して前記酸化物半導体に酸素を供給し、チャネル領域を形成する。
図1は、本実施形態に係る表示装置DSPの構成を示す平面図である。 図2は、図1に示した画素PXを含む表示装置DSPの断面図である。 図3は、トランジスタTRの一例を示す断面図である。 図4は、図3に示したトランジスタTRの製造方法を説明するための図である。 図5は、絶縁膜12を形成する工程を説明するための断面図である。 図6は、ソース電極SE及びドレイン電極DEを形成する工程を説明するための断面図である。 図7は、絶縁膜13を形成する工程を説明するための断面図である。 図8は、チャネル領域C1と低抵抗領域LS1及びLD1とを形成する工程を説明するための断面図である。 図9は、絶縁膜14を形成する工程を説明するための断面図である。 図10は、酸化物半導体トランジスタの信頼性試験の結果を示す図である。 図11は、低抵抗領域LS1及びLD1の長さとシフト量ΔVthとの関係を示す図である。 図12は、酸化物半導体SCの膜厚とシフト量ΔVthとの関係を示す図である。
以下、本実施形態について、図面を参照しながら説明する。なお、開示はあくまで一例に過ぎず、当業者において、発明の主旨を保っての適宜変更について容易に想到し得るものについては、当然に本発明の範囲に含有されるものである。また、図面は、説明をより明確にするため、実際の態様に比べて、各部の幅、厚さ、形状等について模式的に表される場合があるが、あくまで一例であって、本発明の解釈を限定するものではない。また、本明細書と各図において、既出の図に関して前述したものと同一又は類似した機能を発揮する構成要素には同一の参照符号を付し、重複する詳細な説明を適宜省略することがある。
なお、図面には、必要に応じて理解を容易にするために、互いに直交するX軸、Y軸、及び、Z軸を記載する。X軸に沿った方向を第1方向Xと称し、Y軸に沿った方向を第2方向Yと称し、Z軸に沿った方向を第3方向Zと称する。X軸及びY軸によって規定される面をX-Y平面と称し、X-Y平面を見ることを平面視という。
本実施形態においては、半導体装置を用いた表示装置の一例として、電気泳動表示装置について説明する。なお、本実施形態にて開示する主要な構成は、液晶表示装置の他に、有機エレクトロルミネッセンス(EL)素子、マイクロLED、ミニLEDなどの自発光型の発光素子を備えた表示装置などにも適用可能である。
図1は、本実施形態に係る表示装置DSPの構成を示す平面図である。表示装置DSPは、画像を表示する表示領域DAと、表示領域DAの周囲の周辺領域(非表示領域)SAと、を備えている。図1に示す例では、周辺領域SAは、表示領域DAを囲む額縁状に形成されている。
表示装置DSPは、周辺領域SAにおいて、ゲートドライバGD1及びGD2と、ソースドライバSDと、を備えている。ゲートドライバGD1及びGD2の各々は、複数のシフトレジスタSRを備えている。シフトレジスタSRは、第1トランジスタTR1を備えている。このように、ゲートドライバGD1及びGD2は、表示領域DAの各要素とともに、同一基板上に形成される。
表示装置DSPは、表示領域DAにおいて、複数の画素PXと、複数のゲート線GLと、複数のソース線SLと、複数の容量配線CWと、共通電極CEと、を備えている。複数の画素PXは、第1方向X及び第2方向Yにおいて、マトリクス状に配列されている。
複数のゲート線GLは、それぞれ第1方向Xに沿って延出し、間隔をおいて第2方向Yに並んでいる。なお、ゲート線GLは、走査線と称する場合がある。ゲート線GLは、ゲートドライバGD1及びGD2と電気的に接続されている。例えば、奇数番目のゲート線GLはゲートドライバGD1のシフトレジスタSRと接続され、偶数番目のゲート線GLはゲートドライバGD2のシフトレジスタSRと接続されている。ゲート線GLの各々は、ゲートドライバGD1及びGD2によって駆動される。
複数のソース線SLは、それぞれ第2方向Yに沿って延出し、間隔をおいて第1方向Xに並んでいる。なお、ソース線SLは、信号線と称する場合がある。表示領域DAにおいて、複数のソース線SLは、複数のゲート線GLと交差している。ソース線SLは、ソースドライバSDと電気的に接続されている。ソース線SLの各々は、ソースドライバSDによって駆動される。
複数の容量配線CWは、第1方向Xまたは第2方向Yに沿って延出している。複数の容量配線CWは、例えば周辺領域SAにおいて束ねられ、所定電圧が供給される電圧供給部Vpcに接続されている。
共通電極CEは、複数の画素PXに亘って配置されている。共通電極CEは、所定電圧が供給される電圧供給部Vcomに接続されている。
各画素PXは、図1において拡大して示すように、第2トランジスタTR2、及び、画素電極PEを備えている。後述するが、第1トランジスタTR1及び第2トランジスタTR2は、例えば薄膜トランジスタ(TFT)によって構成されている。第2トランジスタTR2は、ゲート線GL及びソース線SLと電気的に接続されている。ゲート線GLは、第1方向Xに並んだ画素PXの各々における第2トランジスタTR2と電気的に接続されている。ソース線SLは、第2方向Yに並んだ画素PXの各々における第2トランジスタTR2と電気的に接続されている。
画素電極PEは、第2トランジスタTR2と電気的に接続されている。画素電極PEの各々は、共通電極CEと対向している。容量CS1は、画素電極PEと容量配線CWとの間に形成される。容量CS2は、共通電極CEと画素電極PEとの間に形成される。
これらの第1トランジスタTR1及び第2トランジスタTR2、各種配線、及び、各種電極を備えた基板を半導体装置と称する。
図2は、図1に示した画素PXを含む表示装置DSPの断面図である。第1基板SUB1は、絶縁基板10と、絶縁膜11乃至14と、第2トランジスタTR2と、容量配線CWと、画素電極PEと、を備えている。なお、第2トランジスタTR2の構造については、簡略化して図示している。また、絶縁膜11乃至14の各々も簡略化して図示している。
絶縁基板10は、樹脂、ガラス等の絶縁性の材料によって形成されている。第2トランジスタTR2の詳細については後述するが、第2トランジスタTR2は、ゲート線GLと一体の第2ゲート電極GE2と、ソース線SLと一体の第2ソース電極SE2と、第2ドレイン電極DE2と、第2酸化物半導体SC2と、を備えている。本明細書においては、ソース線SLと電気的に接続される側の電極を第2ソース電極SE2と称し、画素電極PEと電気的に接続される側の電極を第2ドレイン電極DE2と称している。
絶縁膜11は、第2ゲート電極GE2と第2酸化物半導体SC2との間に介在している。絶縁膜12は、第2酸化物半導体SC2と第2ソース電極SE2との間、及び、第2酸化物半導体SC2と第2ドレイン電極DE2との間にそれぞれ介在している。絶縁膜13は、第2ソース電極SE2及び第2ドレイン電極DE2を覆っている。なお、絶縁膜11、及び、絶縁膜12は、無機絶縁膜であるが、単層体であってもよいし、複数種類の無機絶縁膜からなる積層体であってもよい。絶縁膜13は、例えば、1種類以上の無機絶縁膜と、有機絶縁膜との積層体である。絶縁膜13に含まれる1つの無機絶縁膜は、第2ソース電極SE2及び第2ドレイン電極DE2を直接覆っている。
容量配線CWは、絶縁膜13の上に配置され、絶縁膜14によって覆われている。画素電極PEは、絶縁膜14の上に配置されている。画素電極PEは、第2ドレイン電極DE2に接し、第2トランジスタTR2と電気的に接続されている。
第2基板SUB2は、絶縁基板20と、共通電極CEと、電気泳動素子21と、を備えている。絶縁基板20は、樹脂、ガラス等の絶縁性の材料によって形成されている。共通電極CEは、絶縁基板20と電気泳動素子21との間に位置している。電気泳動素子21は、画素電極PEと共通電極CEとの間に位置している。電気泳動素子21は、ほとんど隙間なく配列された複数のマイクロカプセル30によって形成されている。
第1基板SUB1及び第2基板SUB2は、粘着層40によって貼合されている。図示した例では、粘着層40は、画素電極PEと電気泳動素子21との間に位置している。
マイクロカプセル30は、例えば20μm~70μm程度の粒径を有している。1つの画素電極PEと共通電極CEとの間には、複数のマイクロカプセル30が配置されている。マイクロカプセル30は、分散媒31と、複数の黒色粒子32と、複数の白色粒子33とを備えている。黒色粒子32及び白色粒子33は、電気泳動粒子と称される場合もある。
マイクロカプセル30の外殻34は、例えば、アクリル樹脂等の透明な樹脂によって形成されている。分散媒31は、マイクロカプセル30内において、黒色粒子32及び白色粒子33を分散させる液体である。黒色粒子32及び白色粒子33は、互いに逆極性の電荷を有している。例えば、黒色粒子32は正に帯電し、白色粒子33は負に帯電している。
上記構成の電気泳動素子21において、画素PXが黒を表示する場合、画素電極PEが共通電極CEよりも相対的に高電位に保持される。すなわち、共通電極CEの電位を基準電位としたとき、画素電極PEが正極性に保持される。これにより、正に帯電した黒色粒子32が共通電極CEに引き寄せられる一方、負に帯電した白色粒子33が画素電極PEに引き寄せられる。その結果、第2基板SUB2の上方から画素PXを観察すると、黒色が視認される。
一方、画素PXが白を表示する場合、画素電極PEが共通電極CEよりも相対的に低電位に保持される。すなわち、共通電極CEの電位を基準電位としたとき、画素電極PEが負極性に保持される。これにより、負に帯電した白色粒子33が共通電極CE側へ引き寄せられる一方、正に帯電した黒色粒子32が画素電極PEに引き寄せられる。その結果、画素PXを観察すると白色が視認される。
なお、ここで説明した電気泳動表示装置は、モノクロ仕様に限定されるわけではなく、赤色粒子、緑色粒子、青色粒子を含む複数のカラー粒子を電気泳動法で動作させるカラー仕様にも適用できる。特にカラー仕様の場合、高い電圧を印加することで、元々遅い電気泳動速度を向上でき、カラー画面の高速書換えが可能となる利点がある。
図3は、トランジスタTRの一例を示す断面図である。ここで説明するトランジスタTRは、上記の第1トランジスタTR1及び第2トランジスタTR2のいずれにも適用可能である。トランジスタTRは、ゲート電極GEと、酸化物半導体SCと、ソース電極SEと、ドレイン電極DEと、を備えている。
ゲート電極GEは、絶縁基板10の上方に配置されている。図3に示す例では、ゲート電極GEは、絶縁基板10に接しているが、絶縁基板10とゲート電極GEとの間に他の絶縁膜が介在していてもよい。
絶縁膜11は、無機絶縁膜であり、ゲート電極GEを覆っている。図3に示す例では、絶縁膜11は、薄膜11Aと、薄膜11Bとの積層体である。薄膜11Aは、シリコン窒化物(SiN)によって形成され、絶縁基板10及びゲート電極GEを直接覆っている。薄膜11Bは、シリコン酸化物(SiO)によって形成され、薄膜11Aの上に直接積層されている。例えば、薄膜11Bの膜厚は、薄膜11Aの膜厚より薄い。例えば、薄膜11Aの膜厚は50~400nmであり、薄膜11Bの膜厚は20~300nmである。絶縁膜11の膜厚は、300nm以上である。なお、絶縁膜11は、シリコン酸化物によって形成された薄膜の単層体であってもよい。
酸化物半導体SCは、ゲート電極GEの上方に配置され、絶縁膜11に接している。つまり、酸化物半導体SCの下面SCBは、シリコン酸化物である絶縁膜11に接している。
絶縁膜12は、酸化物半導体SC及び絶縁膜11を直接覆っている。絶縁膜12は、シリコン酸化物(SiO)によって形成された無機絶縁膜である。つまり、酸化物半導体SCの上面SCT及び側面SCSは、シリコン酸化物である絶縁膜12に接している。
ソース電極SE及びドレイン電極DEは、絶縁膜12の上に配置され、絶縁膜12に接している。また、ソース電極SEは、ドレイン電極DEから離間している。
ソース電極SEは、絶縁膜12の第1開口CH1において、酸化物半導体SCに接している。ドレイン電極DEは、絶縁膜12の第2開口CH2において、酸化物半導体SCに接している。
絶縁膜13は、ソース電極SE及びドレイン電極DEを直接覆っている。絶縁膜13は、例えば、シリコン酸化物(SiO)によって形成された無機絶縁膜である。また、絶縁膜13は、ソース電極SEとドレイン電極DEとの間において、絶縁膜12に接している。
ゲート電極GE、ソース電極SE、及び、ドレイン電極DEは、例えば、アルミニウム(Al)、チタン(Ti)、モリブデン(Mo)、タングステン(W)、銀(Ag)、Cu(銅)、Cr(クロム)などの金属材料や、これらの金属材料を組み合わせた合金などによって形成される。
酸化物半導体SCは、チャネル領域C1と、低抵抗領域LS1及びLD1と、ソース領域S1と、ドレイン領域D1と、を有している。低抵抗領域LS1及びLD1は、チャネル領域C1に隣接している。低抵抗領域LS1は、チャネル領域C1とソース領域S1との間に位置している。低抵抗領域LD1は、チャネル領域C1とドレイン領域D1との間に位置している。
チャネル領域C1は、酸化物半導体SCにおいて最も高抵抗の領域であり、ソース電極SEとドレイン電極DEとの間隙(あるいは、絶縁膜13が絶縁膜12に直接積層された部分)に重畳している。
低抵抗領域LS1及びLD1は、チャネル領域C1よりも低抵抗の領域である。低抵抗領域LS1は、第1開口CH1と第2開口CH2との間において、絶縁膜12及びソース電極SEの積層体LMSに重畳している。低抵抗領域LD1は、第1開口CH1と第2開口CH2との間において、絶縁膜12及びドレイン電極DEの積層体LMDに重畳している。
ソース領域S1は、低抵抗領域LS1よりも低抵抗の領域であり、第1開口CH1において、ソース電極SEに接している。ドレイン領域D1は、低抵抗領域LD1よりも低抵抗の領域であり、第2開口CH2において、ドレイン電極DEに接している。
酸化物半導体SCのうち、少なくともチャネル領域C1及び低抵抗領域LS1及びLD1は、ゲート電極GEの直上に位置している。また、積層体LMS及びLMDも、ゲート電極GEの直上に位置している。図3に示す例では、ソース領域S1及びドレイン領域D1を含む酸化物半導体SCのほぼ全体がゲート電極GEの直上に位置している。
積層体LMSの長さL1Sは、低抵抗領域LS1の長さL11Sと同等である。積層体LMDの長さL1Dは、低抵抗領域LD1の長さL11Dと同等である。また、一例では、長さL1Sは長さL1Dと同等であり、長さL11Sは長さL11Dと同等である。
但し、酸化物半導体SCの膜厚によっては、必ずしも長さL1Sと長さL11Sとが一致するとは限らず、また、必ずしも長さL1Dと長さL11Dとが一致するとは限らない。例えば、酸化物半導体SCの膜厚が50nm以下の場合には、長さL1Sは長さL11Sより大きい場合があり得るし、同様に、長さL1Dは長さL11Dより大きい場合があり得る。
本明細書において、例えば、絶縁膜11は第1絶縁膜(あるいは第1無機絶縁膜)に相当し、絶縁膜12は第2絶縁膜(あるいは第2無機絶縁膜)に相当し、絶縁膜13は第3絶縁膜(あるいは第3無機絶縁膜)に相当する。
次に、上記のトランジスタTRの製造方法の一例について説明する。上記の第1トランジスタTR1及び第2トランジスタTR2は、ここで説明するトランジスタTRの製造方法によって製造することができる。
図4は、トランジスタTRの製造方法を説明するための図である。
まず、絶縁基板10の上に、導電膜を形成し、この導電膜をパターニングすることにより、ゲート電極GEを形成する(ステップST1)。なお、ここでのパターニングでは、ゲート電極GEと同時に、ゲート線GLも形成する。
続いて、絶縁基板10及びゲート電極GEの上に、シリコン窒化物を堆積した後にシリコン酸化物を堆積して、薄膜11A及び薄膜11Bの積層体である絶縁膜11を形成する(ステップST2)。
続いて、絶縁膜11の上(シリコン酸化物によって形成された薄膜11Bの上)に、酸化物半導体膜を形成し、この酸化物半導体膜をパターニングすることにより、ゲート電極GEの直上に、島状の酸化物半導体SCを形成する(ステップST3)。
続いて、酸化物半導体SCまで形成されたワークをベークする(ステップST4)。このベークにより、酸化物半導体SCに含まれる酸素の分布を均一化するとともに、絶縁膜11に含まれる水素の放出を促進する。
続いて、絶縁膜11及び酸化物半導体SCの上に、シリコン酸化物を堆積して、絶縁膜12を形成する(ステップST5)。これにより、図5に示すように、絶縁膜11及び酸化物半導体SCが絶縁膜12によって覆われる。また、このとき、酸化物半導体SCの表面に近い部分は、絶縁膜12を形成する際のシランガスに含まれる水素によって還元される。このため、酸化物半導体SCがわずかに低抵抗化される。
続いて、絶縁膜12に、酸化物半導体SCまで貫通した第1開口CH1及び第2開口CH2を形成する(ステップST6)。
続いて、絶縁膜12の上に、導電膜を形成し、この導電膜をパターニングすることにより、ソース電極SE及びドレイン電極DEを形成する(ステップST7)。なお、ここでのパターニングでは、ソース電極SEと同時に、ソース線SLも形成する。
これにより、図6に示すように、ソース電極SEは第1開口CH1において酸化物半導体SCに接し、ドレイン電極DEは第2開口CH2において酸化物半導体SCに接する。また、第1開口CH1と第2開口CH2との間においては、絶縁膜12が酸化物半導体SCに接し、また、絶縁膜12及びソース電極SEの積層体LMS、及び、絶縁膜12及びドレイン電極DEの積層体LMDが形成される。
酸化物半導体SCのうち、第1開口CH1においてソース電極SEと接する部分は、ソース電極SEによって酸素が吸収されるため、さらに低抵抗化される。同様に、酸化物半導体SCのうち、第2開口CH2においてドレイン電極DEに接する部分は、ドレイン電極DEによって酸素が吸収されるため、さらに低抵抗される。
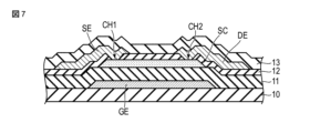
続いて、絶縁膜12、ソース電極SE、及び、ドレイン電極DEの上に、シリコン酸化物を堆積して、絶縁膜13を形成する(ステップST8)。これにより、図7に示すように、ソース電極SE及びドレイン電極DEが絶縁膜13によって覆われ、しかも、ソース電極SEとドレイン電極DEとの間における絶縁膜12が絶縁膜13によって覆われる。
続いて、絶縁膜13まで形成されたワークをベークする(ステップST9)。このベークにより、絶縁膜13に含まれる酸素が絶縁膜12を介して、酸化物半導体SCに供給される。
図8に示すように、ソース電極SEとドレイン電極DEとの間においては、絶縁膜13から絶縁膜12を介して酸化物半導体SCに酸素が供給される。これにより、酸化物半導体SCのうち、ソース電極SEとドレイン電極DEとの間隙に重畳する領域が十分に酸化され、チャネル領域C1が形成される。
また、このとき、チャネル領域C1に隣接する領域では、ソース電極SE及びドレイン電極DEがそれぞれマスクとなり、絶縁膜13から酸化物半導体SCへの酸素供給量が減少する。このため、酸化物半導体SCのうち、ソース電極SE及びドレイン電極DEにそれぞれ重畳する領域の酸化が制限される。これにより、酸化物半導体SCのうち、絶縁膜12及びソース電極SEの積層体と重畳する領域、及び、絶縁膜12及びドレイン電極DEの積層体と重畳する領域には、酸素が供給されるものの、チャネル領域C1よりも低抵抗となる低抵抗領域LS1及びLD1が形成される。
続いて、絶縁膜13の上に、シリコン窒化物を堆積して、絶縁膜14を形成する(ステップST10)。これにより、図9に示すように、絶縁膜13が絶縁膜14によって覆われる。この絶縁膜14は、例えば水分ブロック層として機能するが、省略してもよい。
ところで、半導体として酸化物半導体SCを備える構成のトランジスタ(酸化物半導体トランジスタと称する)においては、ソース-ドレイン間に高電圧が印加されることに起因してホットキャリア劣化が生じ、しきい値電圧が大きくシフトすることがある。
本実施形態では、酸化物半導体SCは、チャネル領域C1に隣接した低抵抗領域LS1及びLD1を有している。このため、酸化物半導体SCのホットキャリア劣化を抑制することができる。したがって、しきい値電圧のシフトが抑制され、信頼性を向上することができる。
このような低抵抗領域LS1及びLD1は、上記の通り、チャネル領域C1を形成する際の酸素供給量の差によって、チャネル領域C1と同時に形成されるものである。すなわち、ソース電極SEとドレイン電極DEとの間では、酸化物半導体SCの上に絶縁膜12及び13が積層され、これらの絶縁膜12及び13から酸素が供給されることでチャネル領域C1が形成さる。
一方で、チャネル領域C1に隣接する領域では、ソース電極SE及びドレイン電極DEが酸素供給路における障壁となるため、ソース電極SEとドレイン電極DEとの間の領域と比較して、酸素供給量が低減される。このため、酸化物半導体SCのうち、チャネル領域C1に隣接する領域では、チャネル領域C1よりも酸化の度合いが小さく制限され、低抵抗領域LS1及びLD1が形成される。したがって、信頼性の高い酸化物半導体トランジスタを容易に形成することができる。
低抵抗領域LS1の長さL11Sは、第1開口CH1と第2開口CH2との間に延出するソース電極SEの長さ(あるいは絶縁膜12及びソース電極SEの積層体LMSの長さL1S)によって調整することができる。また、低抵抗領域LD1の長さL11Dは、第1開口CH1と第2開口CH2との間に延出するドレイン電極DEの長さ(あるいは絶縁膜12及びドレイン電極DEの積層体LMDの長さL1D)によって調整することができる。
次に、発明者は、酸化物半導体トランジスタに関する信頼性試験を行った。酸化物半導体トランジスタに与えるストレスの条件は以下の通りである。ゲート電極GEの印加電圧を±38Vとし、ソース電極SE-ドレイン電極DE間の印加電圧を±28Vとし、60℃の環境において1000secの間、電圧を印加し続けた。
信頼性試験では、ストレスを付与する前の初期状態でのVg-Id特性と、ストレスを付与した後のVg-Id特性とを比較した。なお、Vgとはゲート電極GEに印加する電圧(V)であり、Idとはドレイン電極DEから出力される電流(A)である。電圧Vgを横軸とし、電流Idを縦軸として、信頼性試験の結果をグラフにした。
Vg-Id特性としては、ストレス付与前及びストレス付与後のそれぞれにおいて、ソース-ドレイン間の電圧を0.1Vに設定した場合(A)と、ソース-ドレイン間の電圧を15Vに設定した場合(B)と、ソース-ドレイン間の電圧を30Vに設定した場合(C)と、をそれぞれグラフにしている。
図10は、酸化物半導体トランジスタの信頼性試験の結果を示す図である。試験対象の酸化物半導体トランジスタにおいては、酸化物半導体SCの膜厚を30nmとした。
ストレス付与前とストレス付与後とでVg-Id特性を比較すると、ドレイン電流が出力されるゲート電圧(しきい値電圧)が大きくシフトしていることが確認された。ここで、ソース-ドレイン間の電圧を30Vに設定した場合(C)のVg-Id特性に着目し、ストレス付与前とストレス付与後におけるしきい値電圧の差をシフト量ΔVthと定義する。
次に、酸化物半導体SCの膜厚を一定とし、低抵抗領域LS1及びLD1の長さをパラメータとして、上記の信頼性試験を行い、低抵抗領域LS1及びLD1の長さとシフト量ΔVthとの関係について検討した。
図11は、低抵抗領域LS1及びLD1の長さとシフト量ΔVthとの関係を示す図である。なお、酸化物半導体トランジスタにおいて、低抵抗領域LS1の長さL11S及び低抵抗領域LD1の長さL11Dは同等とした。図の横軸は低抵抗領域の長さ(L11SまたはL11D)であり、図の縦軸はシフト量ΔVthである。
図示したように、低抵抗領域の長さが1.2μm以上の場合に、シフト量ΔVthが極めて小さくなり、また、低抵抗領域の長さが1.5μm以上の場合にはシフト量ΔVthがほぼゼロになることが確認された。したがって、本実施形態においては、シフト量ΔVthの低減の観点から、低抵抗領域LS1の長さL11S(あるいは積層体LMSの長さL1S)、及び、低抵抗領域LD1の長さL11D(あるいは積層体LMDの長さL1D)は、いずれも1.5μm以上とすることが望ましい。
酸化物半導体トランジスタは、オフリーク電流が極めて小さいといった特性を有している。このため、酸化物半導体トランジスタは、画素容量に書き込んだ電荷を長時間保持することができ、所望の電圧を保持し続けることが可能であり、画素PXのスイッチング素子(第2トランジスタTR2)として好適である。
一方、ゲートドライバGD1及びGD2のシフトレジスタSRに含まれる第1トランジスタTR1としては、移動度が高く、且つ、高耐電圧特性を有することが要求される。そこで、本実施形態においては、第1トランジスタTR1として、酸化物半導体トランジスタを適用している。しかも、酸化物半導体トランジスタにおいては、1.5μm以上の長さの低抵抗領域LS1及びLD1が設けられている。このため、酸化物半導体トランジスタは、ソース-ドレイン間に印加されうる高電圧に関して、高い耐電圧特性を得ることができる。
また、酸化物半導体トランジスタは、酸化物半導体SCと絶縁基板10との間にゲート電極GEを備えるボトムゲート構造を有している。加えて、低抵抗領域LS1及びLD1は、ゲート電極GEの直上に位置している。しかも、ゲート電極GEと酸化物半導体SCとの間に介在する絶縁膜11は、300nm以上の膜厚を有している。このため、酸化物半導体トランジスタは、ゲート電極GEに印加されうる高電圧に関して、高い耐電圧特性を得ることができる。
なお、発明者は、本実施形態で説明したエッチストップ構造の酸化物半導体トランジスタと、絶縁膜12を備えていないチャネルエッチ構造の酸化物半導体トランジスタとについて、上記した信頼性試験を行った。この結果、エッチストップ構造の酸化物半導体トランジスタにおいては、シフト量ΔVthが0.5Vであった。これに対して、チャネルエッチ構造の酸化物半導体トランジスタにおいては、シフト量ΔVthが14.1Vであった。
また、酸化物半導体トランジスタに付随する容量の大きさをパラメータとして、上記の信頼性試験を行った。この結果、エッチストップ構造の酸化物半導体トランジスタにおいては、容量の大きさにかかわらず、シフト量ΔVthに大きな変化はなかった。これに対して、チャネルエッチ構造の酸化物半導体トランジスタにおいては、容量の大きさが増加するのに伴って、シフト量ΔVthも大きくなる傾向が確認された。
これらの信頼性試験の結果に基づくと、本実施形態で説明したエッチストップ構造の酸化物半導体トランジスタは、チャネルエッチ構造の酸化物半導体トランジスタと比較して高い信頼性を得られることが確認された。
次に、複数の第1基板SUB1を一括して形成可能なマザー基板において、その中央部に形成された酸化物半導体トランジスタと、その周辺部に形成された酸化物半導体トランジスタとについて、上記の信頼性試験を行った。ここでは、低抵抗領域の長さを一定とし、酸化物半導体SCの膜厚をパラメータとして、上記の信頼性試験を行い、酸化物半導体SCの膜厚とシフト量ΔVthとの関係について検討した。
図12は、酸化物半導体SCの膜厚とシフト量ΔVthとの関係を示す図である。図の横軸は酸化物半導体SCの膜厚であり、図の縦軸はシフト量ΔVthである。図中の四角はマザー基板の周辺部に形成された酸化物半導体トランジスタの試験結果を示し、図中の丸はマザー基板の中央部に形成された酸化物半導体トランジスタの試験結果を示している。
図示したように、酸化物半導体SCの膜厚が30nm以上の場合において、マザー基板の中央部の酸化物半導体トランジスタは、シフト量ΔVthの変化がほとんどなく(約2V以下)、しかも、シフト量ΔVthが極めて小さいことが確認された。一方で、マザー基板の周辺部の酸化物半導体トランジスタは、膜厚が増加するのに伴ってシフト量ΔVthが小さくなることが確認された。
酸化物半導体SCの膜厚が50nm以上、より望ましくは膜厚が60nm以上の場合、マザー基板の中央部及び周辺部の酸化物半導体トランジスタは、いずれも、シフト量ΔVthが同等となり、シフト量ΔVthが極めて小さくなる(約2V以下)ことが確認された。したがって、本実施形態においては、マザー基板に形成された酸化物半導体トランジスタのシフト量ΔVthの低減、及び、マザー基板の面内におけるシフト量ΔVthの均一性を向上する観点では、酸化物半導体SCの膜厚は、60nm以上とすることが望ましい。
以上説明したように、本実施形態によれば、信頼性を向上することが可能な半導体装置の製造方法を提供することができる。
なお、この発明は、上記実施形態そのものに限定されるものではなく、その実施の段階ではその要旨を逸脱しない範囲で構成要素を変形して具体化できる。また、上記実施形態に開示されている複数の構成要素の適宜な組み合せにより種々の発明を形成できる。例えば、実施形態に示される全構成要素から幾つかの構成要素を削除してもよい。更に、異なる実施形態に亘る構成要素を適宜組み合せてもよい。
尚、本実施形態では、要求される駆動電圧の高い電気泳動表示装置について説明したが、本発明は、通常の液晶ディスプレイより高い印加電圧が必要とされる液晶ディスプレイや、高速応答用の液晶ディスプレイとして、ポリマー分散型液晶やそれを用いた高速駆動ディスプレイへの適用も可能である。
DSP…表示装置
10…絶縁基板 11…絶縁膜(第1絶縁膜) 12…絶縁膜(第2絶縁膜)
13…絶縁膜(第3絶縁膜)
TR…トランジスタ(酸化物半導体トランジスタ)
GE…ゲート電極 SE…ソース電極 DE…ドレイン電極
SC…酸化物半導体 C1…チャネル領域 LS1、LD1…低抵抗領域
CH1…第1開口 CH2…第2開口

Claims (8)

  1. ゲート電極を形成し、
    前記ゲート電極を覆う第1絶縁膜を形成し、
    前記ゲート電極の上方において、前記第1絶縁膜に接する島状の酸化物半導体を形成し、
    前記酸化物半導体を覆う第2絶縁膜を形成し、
    前記第2絶縁膜において、前記酸化物半導体まで貫通した第1開口及び第2開口を形成し、
    前記第1開口において前記酸化物半導体に接するソース電極を形成し
    前記第2開口において前記酸化物半導体に接するドレイン電極を形成し、
    前記ソース電極及び前記ドレイン電極を覆う第3絶縁膜を形成し、
    前記ソース電極と前記ドレイン電極との間において、前記第3絶縁膜から前記第2絶縁膜を介して前記酸化物半導体に酸素を供給し、チャネル領域を形成する、半導体装置の製造方法。
  2. さらに、前記酸化物半導体のうち、前記第1開口と前記第2開口との間における前記第2絶縁膜及び前記ソース電極の積層体と重畳する領域、及び、前記第1開口と前記第2開口との間における前記第2絶縁膜及び前記ドレイン電極の積層体と重畳する領域において、前記第3絶縁膜から前記第2絶縁膜を介して前記酸化物半導体に酸素を供給し、前記チャネル領域よりも低抵抗の低抵抗領域を形成する、請求項1に記載の半導体装置の製造方法。
  3. 前記チャネル領域の形成、及び、前記低抵抗領域の形成は、前記第3絶縁膜を形成した後のベークによって行う、請求項2に記載の半導体装置の製造方法。
  4. 前記第2絶縁膜及び前記第3絶縁膜は、シリコン酸化物によって形成されている、請求項3に記載の半導体装置の製造方法。
  5. 前記第1絶縁膜のうち、少なくとも前記酸化物半導体の下面に接する薄膜は、シリコン酸化物によって形成されている、請求項4に記載の半導体装置の製造方法。
  6. 前記第1開口と前記第2開口との間における前記第2絶縁膜及び前記ソース電極の積層体の長さ、及び、前記第1開口と前記第2開口との間における前記第2絶縁膜及び前記ドレイン電極の積層体の長さは、1.5μm以上である、請求項2に記載の半導体装置の製造方法。
  7. 前記低抵抗領域の長さは、1.5μm以上である、請求項6に記載の半導体装置の製造方法。
  8. 前記酸化物半導体の膜厚は、60nm以上である、請求項7に記載の半導体装置の製造方法。
JP2020181414A 2020-10-29 2020-10-29 半導体装置の製造方法 Active JP7516210B2 (ja)

Priority Applications (2)

Application Number Priority Date Filing Date Title
JP2020181414A JP7516210B2 (ja) 2020-10-29 2020-10-29 半導体装置の製造方法
US17/511,633 US12068399B2 (en) 2020-10-29 2021-10-27 Semiconductor device manufacturing method

Applications Claiming Priority (1)

Application Number Priority Date Filing Date Title
JP2020181414A JP7516210B2 (ja) 2020-10-29 2020-10-29 半導体装置の製造方法

Publications (2)

Publication Number Publication Date
JP2022072129A JP2022072129A (ja) 2022-05-17
JP7516210B2 true JP7516210B2 (ja) 2024-07-16

Family

ID=81380489

Family Applications (1)

Application Number Title Priority Date Filing Date
JP2020181414A Active JP7516210B2 (ja) 2020-10-29 2020-10-29 半導体装置の製造方法

Country Status (2)

Country Link
US (1) US12068399B2 (ja)
JP (1) JP7516210B2 (ja)

Citations (4)

* Cited by examiner, † Cited by third party
Publication number Priority date Publication date Assignee Title
JP2017084435A (ja) 2015-10-30 2017-05-18 株式会社半導体エネルギー研究所 半導体装置、電子機器
JP2018185397A (ja) 2017-04-25 2018-11-22 株式会社ジャパンディスプレイ 表示装置及びその製造方法
JP2020113779A (ja) 2014-02-28 2020-07-27 株式会社半導体エネルギー研究所 半導体装置
JP2020167188A (ja) 2019-03-28 2020-10-08 株式会社ジャパンディスプレイ 表示装置および表示装置の製造方法

Family Cites Families (9)

* Cited by examiner, † Cited by third party
Publication number Priority date Publication date Assignee Title
US8541266B2 (en) * 2011-04-01 2013-09-24 Semiconductor Energy Laboratory Co., Ltd. Method for manufacturing semiconductor device
JP6329762B2 (ja) * 2012-12-28 2018-05-23 株式会社半導体エネルギー研究所 半導体装置
US20160204126A1 (en) * 2013-08-27 2016-07-14 Joled Inc. Thin-film transistor substrate and method for fabricating the same
US10121898B2 (en) * 2014-05-09 2018-11-06 Joled Inc. Thin-film transistor substrate and method of manufacturing the same
JP6358596B2 (ja) * 2014-11-27 2018-07-18 株式会社Joled 薄膜トランジスタ基板の製造方法
CN107111985B (zh) * 2014-12-29 2020-09-18 株式会社半导体能源研究所 半导体装置以及包括该半导体装置的显示装置
KR102526654B1 (ko) * 2015-03-03 2023-04-26 가부시키가이샤 한도오따이 에네루기 켄큐쇼 산화물 반도체막, 상기 산화물 반도체막을 포함하는 반도체 장치, 및 상기 반도체 장치를 포함하는 표시 장치
JP6827270B2 (ja) 2016-03-28 2021-02-10 株式会社ジャパンディスプレイ 半導体装置の作製方法
JP2020129635A (ja) 2019-02-12 2020-08-27 株式会社ジャパンディスプレイ 半導体装置および半導体装置の製造方法

Patent Citations (4)

* Cited by examiner, † Cited by third party
Publication number Priority date Publication date Assignee Title
JP2020113779A (ja) 2014-02-28 2020-07-27 株式会社半導体エネルギー研究所 半導体装置
JP2017084435A (ja) 2015-10-30 2017-05-18 株式会社半導体エネルギー研究所 半導体装置、電子機器
JP2018185397A (ja) 2017-04-25 2018-11-22 株式会社ジャパンディスプレイ 表示装置及びその製造方法
JP2020167188A (ja) 2019-03-28 2020-10-08 株式会社ジャパンディスプレイ 表示装置および表示装置の製造方法

Also Published As

Publication number Publication date
JP2022072129A (ja) 2022-05-17
US20220140117A1 (en) 2022-05-05
US12068399B2 (en) 2024-08-20

Similar Documents

Publication Publication Date Title
CN100592524C (zh) 图像显示装置及其制造方法
CN101673014B (zh) 液晶显示装置
JP2010003910A (ja) 表示素子
JP5638833B2 (ja) 画像表示装置及びその製造方法
US7079199B2 (en) Liquid crystal display panel
US7636145B2 (en) Display apparatus and method of manufacturing the same
CN100505315C (zh) 薄膜晶体管和图像显示装置
CN107507835A (zh) 半导体装置及显示装置
CN110007505A (zh) 显示设备
US10209592B2 (en) Active matrix substrate, display device and display device manufacturing method
US10067393B2 (en) Thin film display panel and liquid crystal display device including the same
US20090316089A1 (en) Liquid crystal display panel and method for fabricating the same
JP2010145875A (ja) 液晶表示装置及びその製造方法
JP2008225034A (ja) 電気光学装置及び電子機器
JP7516210B2 (ja) 半導体装置の製造方法
KR20050068187A (ko) 액정표시장치
JP7520690B2 (ja) 表示装置
JP2002189428A (ja) アレイ基板及びそれを用いた液晶表示装置
US20230209897A1 (en) Display panel and display apparatus including the same
KR101151797B1 (ko) 액정표시장치용 기판 및 그 제조방법
JP7446774B2 (ja) 半導体基板及び表示装置
JP2002297058A (ja) アクティブマトリクス型表示装置
KR101202534B1 (ko) 액정표시장치 및 그의 제조방법
CN113495387B (zh) 半导体基板及显示装置
KR101463026B1 (ko) 액정표시장치 및 그 제조방법

Legal Events

Date Code Title Description
A621 Written request for application examination

Free format text: JAPANESE INTERMEDIATE CODE: A621

Effective date: 20230907

A977 Report on retrieval

Free format text: JAPANESE INTERMEDIATE CODE: A971007

Effective date: 20240528

A131 Notification of reasons for refusal

Free format text: JAPANESE INTERMEDIATE CODE: A131

Effective date: 20240604

A521 Request for written amendment filed

Free format text: JAPANESE INTERMEDIATE CODE: A523

Effective date: 20240611

TRDD Decision of grant or rejection written
A01 Written decision to grant a patent or to grant a registration (utility model)

Free format text: JAPANESE INTERMEDIATE CODE: A01

Effective date: 20240625

A61 First payment of annual fees (during grant procedure)

Free format text: JAPANESE INTERMEDIATE CODE: A61

Effective date: 20240703

R150 Certificate of patent or registration of utility model

Ref document number: 7516210

Country of ref document: JP

Free format text: JAPANESE INTERMEDIATE CODE: R150

S111 Request for change of ownership or part of ownership

Free format text: JAPANESE INTERMEDIATE CODE: R313113

R350 Written notification of registration of transfer

Free format text: JAPANESE INTERMEDIATE CODE: R350