JP7463525B2 - デュアルステージリソグラフィ装置を用いる方法及びリソグラフィ装置 - Google Patents

デュアルステージリソグラフィ装置を用いる方法及びリソグラフィ装置 Download PDF

Info

Publication number
JP7463525B2
JP7463525B2 JP2022542724A JP2022542724A JP7463525B2 JP 7463525 B2 JP7463525 B2 JP 7463525B2 JP 2022542724 A JP2022542724 A JP 2022542724A JP 2022542724 A JP2022542724 A JP 2022542724A JP 7463525 B2 JP7463525 B2 JP 7463525B2
Authority
JP
Japan
Prior art keywords
substrate
substrate support
thermal relaxation
supports
measurement
Prior art date
Legal status (The legal status is an assumption and is not a legal conclusion. Google has not performed a legal analysis and makes no representation as to the accuracy of the status listed.)
Active
Application number
JP2022542724A
Other languages
English (en)
Other versions
JP2023512911A (ja
Inventor
ヴィジェラール,ウーター,ジャン,コルネリス
ルーイジェスティン,ヒューゴ,トーマス
Current Assignee (The listed assignees may be inaccurate. Google has not performed a legal analysis and makes no representation or warranty as to the accuracy of the list.)
ASML Netherlands BV
Original Assignee
ASML Netherlands BV
Priority date (The priority date is an assumption and is not a legal conclusion. Google has not performed a legal analysis and makes no representation as to the accuracy of the date listed.)
Filing date
Publication date
Application filed by ASML Netherlands BV filed Critical ASML Netherlands BV
Publication of JP2023512911A publication Critical patent/JP2023512911A/ja
Application granted granted Critical
Publication of JP7463525B2 publication Critical patent/JP7463525B2/ja
Active legal-status Critical Current
Anticipated expiration legal-status Critical

Links

Images

Classifications

    • GPHYSICS
    • G03PHOTOGRAPHY; CINEMATOGRAPHY; ANALOGOUS TECHNIQUES USING WAVES OTHER THAN OPTICAL WAVES; ELECTROGRAPHY; HOLOGRAPHY
    • G03FPHOTOMECHANICAL PRODUCTION OF TEXTURED OR PATTERNED SURFACES, e.g. FOR PRINTING, FOR PROCESSING OF SEMICONDUCTOR DEVICES; MATERIALS THEREFOR; ORIGINALS THEREFOR; APPARATUS SPECIALLY ADAPTED THEREFOR
    • G03F7/00Photomechanical, e.g. photolithographic, production of textured or patterned surfaces, e.g. printing surfaces; Materials therefor, e.g. comprising photoresists; Apparatus specially adapted therefor
    • G03F7/70Microphotolithographic exposure; Apparatus therefor
    • G03F7/708Construction of apparatus, e.g. environment aspects, hygiene aspects or materials
    • G03F7/70858Environment aspects, e.g. pressure of beam-path gas, temperature
    • G03F7/70866Environment aspects, e.g. pressure of beam-path gas, temperature of mask or workpiece
    • G03F7/70875Temperature, e.g. temperature control of masks or workpieces via control of stage temperature
    • GPHYSICS
    • G03PHOTOGRAPHY; CINEMATOGRAPHY; ANALOGOUS TECHNIQUES USING WAVES OTHER THAN OPTICAL WAVES; ELECTROGRAPHY; HOLOGRAPHY
    • G03FPHOTOMECHANICAL PRODUCTION OF TEXTURED OR PATTERNED SURFACES, e.g. FOR PRINTING, FOR PROCESSING OF SEMICONDUCTOR DEVICES; MATERIALS THEREFOR; ORIGINALS THEREFOR; APPARATUS SPECIALLY ADAPTED THEREFOR
    • G03F7/00Photomechanical, e.g. photolithographic, production of textured or patterned surfaces, e.g. printing surfaces; Materials therefor, e.g. comprising photoresists; Apparatus specially adapted therefor
    • G03F7/70Microphotolithographic exposure; Apparatus therefor
    • G03F7/70483Information management; Active and passive control; Testing; Wafer monitoring, e.g. pattern monitoring
    • G03F7/70491Information management, e.g. software; Active and passive control, e.g. details of controlling exposure processes or exposure tool monitoring processes
    • G03F7/70525Controlling normal operating mode, e.g. matching different apparatus, remote control or prediction of failure
    • GPHYSICS
    • G03PHOTOGRAPHY; CINEMATOGRAPHY; ANALOGOUS TECHNIQUES USING WAVES OTHER THAN OPTICAL WAVES; ELECTROGRAPHY; HOLOGRAPHY
    • G03FPHOTOMECHANICAL PRODUCTION OF TEXTURED OR PATTERNED SURFACES, e.g. FOR PRINTING, FOR PROCESSING OF SEMICONDUCTOR DEVICES; MATERIALS THEREFOR; ORIGINALS THEREFOR; APPARATUS SPECIALLY ADAPTED THEREFOR
    • G03F7/00Photomechanical, e.g. photolithographic, production of textured or patterned surfaces, e.g. printing surfaces; Materials therefor, e.g. comprising photoresists; Apparatus specially adapted therefor
    • G03F7/70Microphotolithographic exposure; Apparatus therefor
    • G03F7/70483Information management; Active and passive control; Testing; Wafer monitoring, e.g. pattern monitoring
    • G03F7/70605Workpiece metrology
    • G03F7/706843Metrology apparatus
    • G03F7/706847Production of measurement radiation, e.g. synchrotron, free-electron laser, plasma source or higher harmonic generation [HHG]
    • GPHYSICS
    • G03PHOTOGRAPHY; CINEMATOGRAPHY; ANALOGOUS TECHNIQUES USING WAVES OTHER THAN OPTICAL WAVES; ELECTROGRAPHY; HOLOGRAPHY
    • G03FPHOTOMECHANICAL PRODUCTION OF TEXTURED OR PATTERNED SURFACES, e.g. FOR PRINTING, FOR PROCESSING OF SEMICONDUCTOR DEVICES; MATERIALS THEREFOR; ORIGINALS THEREFOR; APPARATUS SPECIALLY ADAPTED THEREFOR
    • G03F7/00Photomechanical, e.g. photolithographic, production of textured or patterned surfaces, e.g. printing surfaces; Materials therefor, e.g. comprising photoresists; Apparatus specially adapted therefor
    • G03F7/70Microphotolithographic exposure; Apparatus therefor
    • G03F7/70691Handling of masks or workpieces
    • G03F7/70716Stages
    • GPHYSICS
    • G03PHOTOGRAPHY; CINEMATOGRAPHY; ANALOGOUS TECHNIQUES USING WAVES OTHER THAN OPTICAL WAVES; ELECTROGRAPHY; HOLOGRAPHY
    • G03FPHOTOMECHANICAL PRODUCTION OF TEXTURED OR PATTERNED SURFACES, e.g. FOR PRINTING, FOR PROCESSING OF SEMICONDUCTOR DEVICES; MATERIALS THEREFOR; ORIGINALS THEREFOR; APPARATUS SPECIALLY ADAPTED THEREFOR
    • G03F7/00Photomechanical, e.g. photolithographic, production of textured or patterned surfaces, e.g. printing surfaces; Materials therefor, e.g. comprising photoresists; Apparatus specially adapted therefor
    • G03F7/70Microphotolithographic exposure; Apparatus therefor
    • G03F7/70691Handling of masks or workpieces
    • G03F7/70716Stages
    • G03F7/70725Stages control

Landscapes

  • Physics & Mathematics (AREA)
  • General Physics & Mathematics (AREA)
  • Health & Medical Sciences (AREA)
  • Engineering & Computer Science (AREA)
  • Life Sciences & Earth Sciences (AREA)
  • Toxicology (AREA)
  • Atmospheric Sciences (AREA)
  • Environmental & Geological Engineering (AREA)
  • Epidemiology (AREA)
  • Public Health (AREA)
  • Optics & Photonics (AREA)
  • Plasma & Fusion (AREA)
  • Exposure And Positioning Against Photoresist Photosensitive Materials (AREA)
  • Container, Conveyance, Adherence, Positioning, Of Wafer (AREA)
  • Analysing Materials By The Use Of Radiation (AREA)

Description

(関連出願の相互参照)
[0001] 本出願は、2020年2月6日に出願された欧州特許出願第20155876.4号の優先権を主張する。これは援用により全体が本願に含まれる。
[0002] 本発明は、デュアルステージリソグラフィ装置を用いる方法及びリソグラフィ装置に関する。
[0003] リソグラフィ装置は、基板に所望のパターンを適用するように構築された機械である。リソグラフィ装置は、例えば集積回路(IC)の製造において使用可能である。リソグラフィ装置は、例えばパターニングデバイス(例えばマスク)のパターン(「設計レイアウト」又は「設計」と称されることも多い)を、基板(例えばウェーハ)上に提供された放射感応性材料(レジスト)層に投影し得る。
[0004] 半導体製造プロセスが進み続けるにつれ、回路素子の寸法は継続的に縮小されてきたが、その一方で、デバイス毎のトランジスタなどの機能素子の量は、「ムーアの法則」と通称される傾向に従って、数十年にわたり着実に増加している。ムーアの法則に対応するために、半導体産業はますます小さなフィーチャを作り出すことを可能にする技術を追求している。基板上にパターンを投影するために、リソグラフィ装置は電磁放射を用い得る。この放射の波長が、基板上にパターン形成されるフィーチャの最小サイズを決定する。現在使用されている典型的な波長は、365nm(i線)、248nm、193nm及び13.5nmである。例えば193nmの波長を有する放射線を使用するリソグラフィ装置よりも小さなフィーチャを基板上に形成するためには、4nm~20nmの範囲内、例えば6.7nm又は13.5nmの波長を有する極端紫外線(EUV)放射を使用するリソグラフィ装置が用いられ得る。
[0005] リソグラフィ装置の一実施形態において、装置は2つの基板サポートを備え、各基板サポートは基板を移動及び支持するように構成されている。これらの基板サポートは、これら2つの基板サポートのうち1つによって支持された基板のフィーチャを測定するためにこの1つの基板サポートが選択的に位置決めされる測定フィールドと、これら2つの基板サポートのうち1つによって支持された基板をパターン付き放射ビームに露光するためにこの1つの基板サポートが選択的に位置決めされる露光フィールドと、に位置決めすることができる。しばしばデュアルステージリソグラフィ装置と呼ばれるこのようなリソグラフィ装置の利点は、測定フィールドで第1の基板を処理すると同時に露光フィールドで第2の基板を処理できることである。基板サポートは、測定フィールドと露光フィールドで交互に用いられる。結果として、露光フィールドにおける投影システムのアイドルタイムを短縮することができる。
[0006] 現在のリソグラフィ製品のほとんどはシリコン基板上に構築される。しかしながら、ハードディスクドライブで一般的に用いられる薄膜ヘッドの構築のようないくつかの用途では、アルミニウムチタンカーバイド(AlTiC)基板が用いられる場合がある。アルミニウムチタンカーバイド基板では、温度によって誘発された応力が発生しやすい。応力は基板を機械的に変形させ、フォーカス及びオーバーレイに著しい影響を及ぼす。従って、アルミニウムチタンカーバイド基板は、誘発された応力を解放するために基板サポートの温度と平衡状態に達しなければならない。このアルミニウムチタンカーバイド基板のいわゆる熱緩和は、シリコン基板に比べて著しく長い時間を要する。
[0007] アルミニウムチタンカーバイド基板を基板サポートの温度と平衡状態に到達させるため、測定フィールドに位置決めされた基板サポートに基板をロードし、この基板サポート上で熱緩和を行う。典型的に、基板サポート上での基板の充分な熱緩和には、少なくとも20秒の熱緩和時間が必要となり得る。
[0008] 20秒の熱緩和時間の必要性によって、リソグラフィ装置のスループット、すなわち1時間当たりの処理基板数が著しく低減する。
[0009] 本発明の目的は、デュアルステージリソグラフィ装置を用いる方法を提供することである。この方法は、デュアルステージリソグラフィ装置を用いる従来の方法に比べて、より長い時間の基板の熱緩和ステップを含み、熱緩和時間がスループットに及ぼす悪影響を低減する。
[00010] 本発明の一態様によれば、デュアルステージリソグラフィ装置を用いる方法が提供される。リソグラフィ装置は、
2つの基板サポートであって、各々が基板を移動及び支持するように構成された、2つの基板サポートと、
2つの基板サポートのうち1つによって支持された基板のフィーチャを測定するために2つの基板サポートのうちこの1つが選択的に位置決めされる測定フィールドと、
2つの基板サポートのうち1つによって支持された基板をパターン付き放射ビームに露光するために2つの基板サポートのうちこの1つが選択的に位置決めされる露光フィールドと、
を備え、方法は、2つの基板サポートのうち1つにロードされた基板の熱緩和ステップを含み、熱緩和は、少なくとも部分的に、露光フィールドにおいて及び/又は測定フィールドと露光フィールドとの間の移動中に実行される。
[00011] 本発明の一態様によれば、リソグラフィ装置が提供される。このリソグラフィ装置は、
2つの基板サポートであって、各々が基板を移動及び支持するように構成された、2つの基板サポートと、
2つの基板サポートのうち1つによって支持された基板のフィーチャを測定するために2つの基板サポートのうちこの1つが選択的に位置決めされる測定フィールドと、
2つの基板サポートのうち1つによって支持された基板をパターン付き放射ビームに露光するために2つの基板サポートのうちこの1つが選択的に位置決めされる露光フィールドと、
を備え、リソグラフィ装置は、2つの基板サポートのうち1つにロードされた基板の熱緩和ステップ中に2つの基板サポートのうちこの1つを露光フィールドへ移動させるよう構成された制御デバイスを備え、熱緩和は、少なくとも部分的に、露光フィールドにおいて及び/又は測定フィールドと露光フィールドとの間の移動中に実行されるようになっている。
[00012] 本発明の実施形態を、添付の概略図を参照して、単なる例示として以下に説明する。
リソグラフィ装置の全体概略図である。 図1のリソグラフィ装置の一部の詳細図である。 位置制御システムを概略的に示す。 デュアルステージリソグラフィ装置の第1の基板サポート及び第2の基板サポートを概略的に示す。 デュアルステージリソグラフィ装置を用いる従来の方法においてシリコン基板を処理するためのステップのシーケンスを概略的に示す。 デュアルステージリソグラフィ装置を用いる従来の方法においてアルミニウムチタンカーバイド基板を処理するためのステップのシーケンスを概略的に示す。 本発明の一実施形態に従ったデュアルステージリソグラフィ装置を用いる方法においてアルミニウムチタンカーバイド基板を処理するためのステップのシーケンスを概略的に示す。 必要な熱緩和時間に依存する図6のシーケンスのスループットと図7のシーケンスのスループットの比較を概略的に示す。
[00013] 本文献では、「放射」及び「ビーム」という用語は、紫外線(例えば、波長が365nm、248nm、193nm、157nm又は126nmの波長)及びEUV(極端紫外線放射、例えば、約5~100nmの範囲の波長を有する)を含む、すべてのタイプの電磁放射を包含するために使用される。
[00014] 「レチクル」、「マスク」、又は「パターニングデバイス」という用語は、本文で用いる場合、基板のターゲット部分に生成されるパターンに対応して、入来する放射ビームにパターン付き断面を与えるため使用できる汎用パターニングデバイスを指すものとして広義に解釈され得る。また、この文脈において「ライトバルブ」という用語も使用できる。古典的なマスク(透過型又は反射型マスク、バイナリマスク、位相シフトマスク、ハイブリッドマスク等)以外に、他のそのようなパターニングデバイスの例は、プログラマブルミラーアレイ及びプログラマブルLCDアレイを含む。
[00015] 図1は、リソグラフィ装置LAを概略的に示す。リソグラフィ装置LAは、放射ビームB(例えばUV放射、DUV放射、又はEUV放射)を調節するように構成された照明システム(イルミネータとも呼ばれる)ILと、パターニングデバイス(例えばマスク)MAを支持するように構築され、特定のパラメータに従ってパターニングデバイスMAを正確に位置決めするように構成された第1のポジショナPMに連結されたマスクサポート(例えばマスクテーブル)MTと、基板(例えばレジストコートウェーハ)Wを保持するように構成され、特定のパラメータに従って基板を正確に位置決めするように構築された第2のポジショナPWに連結された基板サポート(例えばウェーハテーブル)WTと、パターニングデバイスMAによって放射ビームBに付与されたパターンを基板Wのターゲット部分C(例えば、1つ以上のダイを含む)上に投影するように構成された投影システム(例えば、屈折投影レンズシステム)PSと、を含む。
[00016] 動作中、照明システムILは、例えばビームデリバリシステムBDを介して放射源SOから放射ビームを受ける。照明システムILは、放射を誘導し、整形し、及び/又は制御するための、屈折型、反射型、磁気型、電磁型、静電型、及び/又はその他のタイプの光学コンポーネント、又はそれらの任意の組み合わせなどの様々なタイプの光学コンポーネントを含むことができる。イルミネータILを使用して放射ビームBを調節し、パターニングデバイスMAの平面において、その断面にわたって所望の空間及び角度強度分布が得られるようにしてもよい。
[00017] 本明細書で用いられる「投影システム」PSという用語は、使用する露光放射、及び/又は液浸液の使用や真空の使用のような他のファクタに合わせて適宜、屈折光学システム、反射光学システム、反射屈折光学システム、アナモルフィック光学システム、磁気光学システム、電磁気光学システム、及び/又は静電気光学システム、又はそれらの任意の組み合わせを含む様々なタイプの投影システムを包含するものとして広義に解釈するべきである。本明細書で「投影レンズ」という用語が使用される場合、これは更に一般的な「投影システム」PSという用語と同義と見なすことができる。
[00018] リソグラフィ装置LAは、投影システムPSと基板Wとの間の空間を充填するように、基板の少なくとも一部を例えば水のような比較的高い屈折率を有する液体で覆うことができるタイプでもよい。これは液浸リソグラフィとも呼ばれる。液浸技法に関する更なる情報は、援用により本願に含まれる米国特許第6952253号に与えられている。
[00019] リソグラフィ装置LAは、2つ以上の基板サポートWTを有するタイプである場合もある(「デュアルステージ」とも呼ばれる)。こうした「マルチステージ」機械において、基板サポートWTを並行して使用するか、及び/又は、一方の基板サポートWT上の基板Wにパターンを露光するためこの基板を用いている間に、他方の基板サポートWT上に配置された基板Wに対して基板Wの以降の露光の準備ステップを実行することができる。
[00020] 基板サポートWTに加えて、リソグラフィ装置LAは測定ステージを含むことができる。測定ステージは、センサ及び/又はクリーニングデバイスを保持するように配置されている。センサは、投影システムPSの特性又は放射ビームBの特性を測定するように配置できる。測定ステージは複数のセンサを保持することができる。クリーニングデバイスは、例えば投影システムPSの一部又は液浸液を提供するシステムの一部のような、リソグラフィ装置の一部をクリーニングするように配置できる。基板サポートWTが投影システムPSから離れている場合、測定ステージは投影システムPSの下方で移動することができる。
[00021] 動作中、放射ビームBは、マスクサポートMT上に保持されている、例えばマスクのようなパターニングデバイスMAに入射し、パターニングデバイスMA上に存在するパターン(設計レイアウト)によってパターンが付与される。マスクMAを横断した放射ビームBは投影システムPSを通過し、投影システムPSはビームを基板Wのターゲット部分Cに集束させる。第2のポジショナPW及び位置測定システムPMSを用いて、例えば、放射ビームBの経路内の集束し位置合わせした位置に様々なターゲット部分Cを位置決めするように、基板サポートWTを正確に移動させることができる。同様に、第1のポジショナPMと、場合によっては別の位置センサ(図1には明示的に図示されていない)を用いて、放射ビームBの経路に対してパターニングデバイスMAを正確に位置決めすることができる。パターニングデバイスMA及び基板Wは、マスクアライメントマークM1、M2及び基板アライメントマークP1、P2を用いて位置合わせすることができる。図示されている基板アライメントマークP1、P2は専用のターゲット部分を占有するが、それらをターゲット部分間の空間に位置付けることも可能である。基板アライメントマークP1、P2は、これらがターゲット部分C間に位置付けられている場合、スクライブラインアライメントマークとして知られている。
[00022] 本発明を明確にするため、デカルト座標系が用いられる。デカルト座標系は3つの軸、すなわちx軸、y軸、及びz軸を有する。3つの軸の各々は他の2つの軸に対して直交している。x軸を中心とした回転をRx回転と称する。y軸を中心とした回転をRy回転と称する。z軸を中心とした回転をRz回転と称する。x軸及びy軸は水平面を画定し、z軸は垂直方向を画定する。デカルト座標系は本発明を限定せず、単に明確さのため使用される。代わりに、円筒座標系のような別の座標系を用いて本発明を明確にすることも可能である。デカルト座標系の配向は、例えばz軸が水平面に沿った成分を有するように、異なるものとしてもよい。
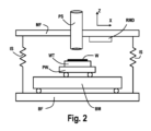
[00023] 図2は、図1のリソグラフィ装置LAの一部の更に詳細な図を示す。リソグラフィ装置LAは、ベースフレームBF、バランスマスBM、メトロロジフレームMF、及び振動絶縁システムISを備えることができる。メトロロジフレームMFは投影システムPSを支持する。更に、メトロロジフレームMFは位置測定システムPMSの一部を支持し得る。メトロロジフレームMFは、振動絶縁システムISを介してベースフレームBFによって支持されている。振動絶縁システムISは、ベースフレームBFからメトロロジフレームMFに伝搬する振動を防止又は低減するよう構成されている。
[00024] 第2のポジショナPWは、基板サポートWTとバランスマスBMとの間で駆動力を与えることによって基板サポートWTを加速させるように構成されている。駆動力は、所望の方向に基板サポートWTを加速させる。運動量保存のため、バランスマスBMにも、大きさは等しいが所望の方向とは反対方向の駆動力が加わる。典型的に、バランスマスBMの質量は、第2のポジショナPW及び基板サポートWTの移動部分の質量よりも著しく大きい。
[00025] 一実施形態では、第2のポジショナPWはバランスマスBMによって支持されている。例えば、第2のポジショナPWは、バランスマスBMの上方に基板サポートWTを浮上させる(levitate)ために平面モータを備えている。別の実施形態では、第2のポジショナPWはベースフレームBFによって支持されている。例えば、第2のポジショナPWはリニアモータを備え、ベースフレームBFの上方に基板サポートWTを浮上させるためにガスベアリングのようなベアリングを備えている。
[00026] 位置測定システムPMSは、基板サポートWTの位置を決定するのに適した任意のタイプのセンサを含み得る。位置測定システムPMSは、マスクサポートMTの位置を決定するのに適した任意のタイプのセンサを含み得る。センサは、干渉計又はエンコーダのような光センサとすればよい。位置測定システムPMSは、干渉計及びエンコーダを組み合わせたシステムを含み得る。センサは、磁気センサ、静電容量センサ、又は誘導センサのような別のタイプのセンサとしてもよい。位置測定システムPMSは、例えばメトロロジフレームMF又は投影システムPSのような基準に対する位置を決定することができる。位置測定システムPMSは、位置を測定することによって、又は速度もしくは加速度のような位置の時間微分を測定することによって、基板テーブルWT及び/又はマスクサポートMTの位置を決定できる。
[00027] 位置測定システムPMSはエンコーダシステムを含み得る。エンコーダシステムは例えば、援用により本願に含まれる、2006年9月7日に出願された米国特許出願US2007/0058173A1号によって既知である。エンコーダシステムは、エンコーダヘッド、格子、及びセンサを含む。エンコーダシステムは、一次放射ビーム及び二次放射ビームを受光することができる。一次放射ビームと二次放射ビームは双方とも、同一の放射ビームから、すなわちオリジナル放射ビームから生じる。一次放射ビームと二次放射ビームのうち少なくとも一方は、オリジナル放射ビームを格子によって回折させることで生成される。一次放射ビームと二次放射ビームが双方ともオリジナル放射ビームを格子によって回折させることで生成される場合、一次放射ビームは二次放射ビームとは異なる回折次数を有する必要がある。異なる回折次数は、例えば+1次、-1次、+2次、及び-2次である。エンコーダシステムは、一次放射ビームと二次放射ビームを光学的に合成して、合成放射ビームにする。エンコーダヘッド内のセンサは、合成放射ビームの位相又は位相差を決定する。センサは、位相又は位相差に基づいて信号を生成する。この信号は、格子に対するエンコーダヘッドの位置を表す。エンコーダヘッド及び格子のうち一方を、基板構造WT上に配置することができる。エンコーダヘッド及び格子のうち他方を、メトロロジフレームMF又はベースフレームBF上に配置することができる。例えば、複数のエンコーダヘッドをメトロロジフレームMF上に配置し、格子を基板サポートWTの上面に配置する。別の例では、格子を基板サポートWTの下面に配置し、エンコーダヘッドを基板サポートWTの下方に配置する。
[00028] 位置測定システムPMSは干渉計システムを含み得る。干渉計システムは例えば、援用により本願に含まれる、1998年7月13日に出願された米国特許US6,020,964号によって既知である。干渉計システムは、ビームスプリッタ、ミラー、参照ミラー、及びセンサを含み得る。放射ビームは、ビームスプリッタによって参照ビームと測定ビームに分割される。測定ビームはミラーへ伝搬し、ミラーで反射されてビームスプリッタに戻る。参照ビームは参照ミラーへ伝搬し、参照ミラーで反射されてビームスプリッタに戻る。ビームスプリッタにおいて、測定ビームと参照ビームは合成されて合成放射ビームになる。合成放射ビームはセンサに入射する。センサは、合成放射ビームの位相又は周波数を決定する。センサは、位相又は周波数に基づいて信号を生成する。この信号はミラーの変位を表す。一実施形態において、ミラーは基板サポートWTに接続されている。参照ミラーはメトロロジフレームMFに接続することができる。一実施形態において、測定ビーム及び参照ビームは、ビームスプリッタでなく追加の光学コンポーネントによって合成されて合成放射ビームになる。
[00029] 第1のポジショナPMは、ロングストロークモジュール及びショートストロークモジュールを含み得る。ショートストロークモジュールは、小さい移動範囲にわたって高精度でロングストロークモジュールに対してマスクサポートMTを移動させるように構成されている。ロングストロークモジュールは、大きい移動範囲にわたって比較的低い精度で投影システムPSに対してショートストロークモジュールを移動させるように構成されている。ロングストロークモジュールとショートストロークモジュールの組み合わせにより、第1のポジショナPMは大きい移動範囲にわたって高精度で投影システムPSに対してマスクサポートMTを移動させることができる。同様に、第2のポジショナPWはロングストロークモジュール及びショートストロークモジュールを含み得る。ショートストロークモジュールは、小さい移動範囲にわたって高精度でロングストロークモジュールに対して基板サポートWTを移動させるように構成されている。ロングストロークモジュールは、大きい移動範囲にわたって比較的低い精度で投影システムPSに対してショートストロークモジュールを移動させるように構成されている。ロングストロークモジュールとショートストロークモジュールの組み合わせにより、第2のポジショナPWは大きい移動範囲にわたって高精度で投影システムPSに対して基板サポートWTを移動させることができる。
[00030] 第1のポジショナPM及び第2のポジショナPWはそれぞれ、マスクサポートMT及び基板サポートWTを移動させるためアクチュエータを備えている。アクチュエータは、例えばy軸のような単一の軸に沿った駆動力を与えるリニアアクチュエータとすることができる。複数のリニアアクチュエータを利用することで、複数の軸に沿った駆動力を提供できる。アクチュエータは、複数の軸に沿った駆動力を与える平面アクチュエータとすることができる。例えば平面アクチュエータは、6自由度で基板サポートWTを移動させるように構成され得る。アクチュエータは、少なくとも1つのコイルと少なくとも1つの磁石を含む電磁アクチュエータとしてもよい。アクチュエータは、少なくとも1つのコイルに電流を印加することによって、少なくとも1つのコイルを少なくとも1つの磁石に対して移動させるように構成されている。アクチュエータは、それぞれマスクサポートMTに対して基板サポートWTに結合された少なくとも1つの磁石を有する可動磁石型アクチュエータとしてもよい。アクチュエータは、それぞれマスクサポートMTに対して基板サポートWTに結合された少なくとも1つのコイルを有する可動コイル型アクチュエータとしてもよい。アクチュエータは、ボイスコイルアクチュエータ、リラクタンスアクチュエータ、ローレンツアクチュエータ、又は圧電アクチュエータ、又は他の任意の適切なアクチュエータとしてもよい。
[00031] 図3で概略的に示されているように、リソグラフィ装置LAは位置制御システムPCSを備える。位置制御システムPCSは、セットポイントジェネレータSP、フィードフォワードコントローラFF、及びフィードバックコントローラFBを含む。位置制御システムPCSは、駆動信号をアクチュエータACTに与える。アクチュエータACTは、第1のポジショナPM又は第2のポジショナPWのアクチュエータとすることができる。アクチュエータACTは、基板サポートWT又はマスクサポートMTを含み得る設備(plant)Pを駆動する。設備Pの出力は、位置又は速度又は加速度のような位置量である。位置量は位置測定システムPMSによって測定される。位置測定システムPMSは、設備Pの位置量を表す位置信号である信号を生成する。セットポイントジェネレータSPは、設備Pの所望の位置量を表す基準信号である信号を生成する。例えば、基準信号は基板サポートWTの所望の軌道を表す。基準信号と位置信号との差が、フィードバックコントローラFBに対する入力を形成する。この入力に基づいて、フィードバックコントローラFBは、アクチュエータACTに対する駆動信号の少なくとも一部を提供する。基準信号は、フィードフォワードコントローラFFに対する入力を形成し得る。この入力に基づいて、フィードフォワードコントローラFFは、アクチュエータACTに対する駆動信号の少なくとも一部を提供する。フィードフォワードコントローラFFは、質量、剛性、共振モード、及び固有振動数のような、設備Pの動的特性に関する情報を利用することができる。
[00032] 図4は、デュアルステージリソグラフィ装置の第1の基板サポートWT1及び第2の基板サポートWT2の上面図を示す。第1の基板サポートWT1及び第2の基板サポートWT2はそれぞれ基板を支持するように構成されている。第1の基板サポートWT1及び第2の基板サポートWT2は、測定フィールドMFI及び露光フィールドEFIで移動させることができる。第1の基板サポートWT1及び第2の基板サポートWT2の移動を制御するため、制御デバイスCONが設けられている。
[00033] 測定フィールドMFI及び露光フィールドEFIは、y方向及びx方向に延出する位置決め面内に延出している。測定フィールドMFIにおいて、第1の基板サポートWT1又は第2の基板サポートWT2は、1つ以上の第1の処理デバイスと共働して、第1の基板サポートWT1又は第2の基板サポートWT2によって支持された基板を処理することができる。露光フィールドEFIにおいて、第1の基板サポートWT1又は第2の基板サポートWT2は、1つ以上の第2の処理デバイスと共働して、第1の基板サポートWT1又は第2の基板サポートWT2によって支持された基板を処理することができる。測定フィールドMFI及び露光フィールドEFIはy方向に隣接して配置されている。
[00034] 露光フィールドEFIにおける1つ以上の処理デバイスは、基板にパターン付き放射ビームを投影するよう構成された投影システムを含む。露光フィールドEFIにおける1つ以上の処理デバイスは、例えば、第1の基板サポートWT1及び第2の基板サポートWT2の各々に搭載されたゼロ化ロケーション(zeroing location)及び収差制御測定センサと共働する処理デバイスを更に含み得る。
[00035] 測定フィールドMFIでは、測定センサによって基板のフィーチャを測定することができる。例えば、基板の上面をレベルセンサで測定して、基板のこの上面の高さマップを決定できる。この高さマップを、露光フィールドEFIにおけるパターン付き放射ビームの投影中に用いて、入射するパターン付き放射ビームに対する基板上面の位置決めを改善することができる。更に、測定フィールドMFIでは、第1の基板サポートWT1又は第2の基板サポートWT2からそれぞれ基板をロード又はアンロードすることができる。
[00036] 第1の位置測定システムPMS1は、第1の基板サポートWT1又は第2の基板サポートWT2が測定フィールドMFIに位置決めされた場合にその位置を測定するように構成されている。第2の位置測定システムPMS2は、第1の基板サポートWT1又は第2の基板サポートWT2が露光フィールドEFIに位置決めされた場合にその位置を測定するように構成されている。第1の位置測定システムPMS1及び第2の位置測定システムPMS2は、例えば干渉計システムである。
[00037] 図4では、第1の基板サポートWT1が測定フィールドMFIに配置され、第2の基板サポートWT2が露光フィールドEFIに配置されている。第1の基板サポートWT1及び第2の基板サポートWT2を測定フィールドMFI及び露光フィールドEFIで交互に使用できるように、第1の基板サポートWT1及び第2の基板サポートWT2はy方向で位置を交換することができる。
[00038] 図5は、リソグラフィ装置の測定フィールドMFI及び露光フィールドEFIにおけるシリコン基板の従来の処理中の同時動作のシーケンスを示す。第1の基板サポートWT1の位置は破線で示され、第2の基板サポートWT2の位置は実線で示されている。
[00039] シーケンスの開始時、第1の基板サポートWT1から処理済み基板をアンロードすると共に第1の基板サポートWT1上に新しい基板をロードするステップUN/LOのため、第1の基板サポートWT1は測定フィールドMFIに位置決めされる。新しい(処理対象の)基板をロードした後、ステップMEAにおいて、基板の上面をレベルセンサで測定する。このステップMEAは、アライメント及び制御測定のような、基板上面の測定に関連する他のタスクも含み得る。これと同時に、第2の基板サポートWT2上に支持された基板は露光フィールドEFIに配置され、ステップEXPで示されるようにパターン付き放射ビームに露光される。このステップEXPは、アライメント及び制御測定のような、パターン付き放射ビームに基板を露光することに関連する他のタスクも含み得る。
[00040] 通常、ロード/アンロードステップUN/LO及びその後の測定ステップMEAのために必要な合計時間は、露光ステップEXPのために必要な時間よりも短い。従って、測定フィールドMFIと露光フィールドEFIとの間で第1の基板サポートWT1及び第2の基板サポートWT2の位置を交換する前に、第1の基板サポートWT1は測定ステップ後にいくらかのアイドルタイムIDTを有し得る。
[00041] 第1の基板サポートWT1及び第2の基板サポートWT2の位置交換はステップTRAで示されている。この位置交換中、第1の基板サポートWT1を測定フィールドMFIから露光フィールドEFIへ移動させ、第2の基板サポートWT2を露光フィールドEFIから測定フィールドMFIへ移動させる。
[00042] 第1の基板サポートWT1及び第2の基板サポートWT2の位置交換TRAの後、第1の基板サポートWT1上に支持されている基板は、露光フィールドEFIでパターン付き放射ビームに露光される。同時に、第2の基板サポートWT2上に支持されている基板をステップUN/LOで第2の基板サポートWT2からアンロードし、新しい基板を第2の基板サポートWT2にロードすることができる。その後、測定ステップMEAで、第2の基板サポートWT2上に支持されている新しい基板の上面をレベルセンサで測定することができる。
[00043] ここでも、第2の基板サポートWT2に対するロード/アンロードステップUN/LO及びその後の測定ステップMEAのために必要な合計時間は、第1の基板サポートWT1上の基板の露光ステップEXPのために必要な時間よりも短い。従って、測定フィールドMFIと露光フィールドEFIとの間で第1の基板サポートWT1及び第2の基板サポートWT2の位置を交換する前に、第2の基板サポートWT2は測定ステップ後にいくらかのアイドルタイムIDTを有し得る。
[00044] 第1の基板サポートWT1上に支持されている基板の露光ステップが終了したら、位置交換TRAを実行し、これにより第1の基板サポートWT1を露光フィールドEFIから測定フィールドMFIへ移動させ、第2の基板サポートWT2を測定フィールドMFIから露光フィールドEFIへ移動させる。
[00045] これにより、第1の基板サポートWT1及び第2の基板サポートWT2は図5に示されているシーケンスの開始位置に再び配置され、上述のステップを以降の基板に対して繰り返すことができる。
[00046] 現在のリソグラフィ製品のほとんどはシリコン基板上に構築される。シリコン基板は、ロードされる各基板サポートWT1、WT2の熱条件を極めて迅速に導入するので、シリコン基板に要求される熱緩和時間は極めて短い。図5のシーケンスでは、熱緩和のために必要な時間は比較的短いので、単独で図示していない。
[00047] しかしながら、ハードディスクドライブで一般的に用いられる薄膜ヘッドの構築のようないくつかの用途では、アルミニウムチタンカーバイド(AlTiC)基板が用いられる場合がある。アルミニウムチタンカーバイド基板では、温度によって誘発された応力が発生しやすい。応力は基板を機械的に変形させ、フォーカス及びオーバーレイに著しい影響を及ぼす。従って、アルミニウムチタンカーバイド基板は、誘発された応力を解放するために基板サポートの温度と平衡状態に達しなければならない。このアルミニウムチタンカーバイド基板の熱緩和は、シリコン基板の熱緩和に比べて著しく長い時間を要する。例えば、アルミニウムチタンカーバイド基板の熱緩和に必要な時間は、シリコン基板の熱緩和に必要な時間の100倍よりも長い可能性がある。
[00048] 図6は、例えば20秒を超える熱緩和時間を必要とし得るアルミニウムチタンカーバイド基板のためのリソグラフィ装置におけるステップのシーケンスを示す。
[00049] シーケンスの開始時、第1の基板サポートWT1から処理済み基板をアンロードすると共に基板サポートWT1上に新しい基板をロードするステップUN/LOのため、第1の基板サポートWT1は測定フィールドMFIに位置決めされる。基板をロードした後、基板の上面をレベルセンサで測定するステップMEAを実行する前に、熱緩和ステップTHRが実行される。前述のように、このステップMEAは、アライメント及び制御測定のような、基板上面の測定に関連する他のタスクも含み得る。熱緩和ステップTHRの間に、誘発された応力を解放するため、基板を各基板サポートWT1、WT2の温度と平衡状態に到達させる。
[00050] これと同時に、第2の基板サポートWT2上に支持された基板は露光フィールドEFIに配置され、ステップEXPで示されるようにパターン付き放射ビームに露光され、関連するタスクが実行される。熱緩和ステップTHRに比較的長い時間が必要であるので、ロード/アンロードステップUN/LO、熱緩和ステップTHR、及びその後の、関連するタスクを含む測定ステップMEAのために必要な合計時間は、露光ステップEXPのために必要な時間よりも著しく長い。従って、測定フィールドMFIと露光フィールドEFIとの間で第1の基板サポートWT1及び第2の基板サポートWT2の位置を交換するステップTRAの前に、第2の基板サポートWT2は露光ステップ後に著しいアイドルタイムIDTを有する。
[00051] 第1の基板サポートWT1及び第2の基板サポートWT2の位置交換TRAの後、第1の基板サポートWT1上に支持されている基板は、露光フィールドEFIでパターン付き放射ビームに露光される。同時に、第2の基板サポートWT2上に支持されている基板をステップUN/LOで第2の基板サポートWT2からアンロードし、新しい基板を第2の基板サポートWT2にロードすることができる。その後、測定ステップMEAで、第2の基板サポートWT2上に支持された新しい基板の上面をレベルセンサで測定する前に、熱緩和ステップTHRが実行される。
[00052] ここでも、ロード/アンロードステップUN/LO、熱緩和ステップTHR、及びその後の測定ステップMEAのために必要な合計時間は、露光ステップEXPのために必要な時間よりも著しく長いので、結果として、シーケンスの最終ステップとして第1の基板サポートWT1及び第2の基板サポートWT2の位置交換TRAが実行可能となる前に、露光ステップ後に第2の基板サポートWT2の著しいアイドルタイムIDTが生じる。
[00053] 図6に示されているシーケンスから、熱緩和がリソグラフィ装置のスループットに著しい悪影響を及ぼすと結論付けることができる。
[00054] 図7は、本発明の一実施形態に従ったアルミニウムチタンカーバイド基板のためのリソグラフィ装置におけるステップのシーケンスを示す。図6のシーケンスとの主な違いは、熱関係ステップTHR中に、各基板サポートWT1、WT2を測定フィールドMFIから露光フィールドEFIへ、更に露光フィールドEFIから測定フィールドMFIへ戻すことによって、熱関係ステップTHRが少なくとも部分的に露光フィールドEFIで実行されることである。
[00055] 図7のシーケンスの開始時、第1の基板サポートWT1から処理済み基板をアンロードすると共に基板サポートWT1上に新しい基板をロードするステップUN/LOのため、第1の基板サポートWT1は測定フィールドMFIに位置決めされる。基板をロードした後、すぐに第1の基板サポートWT1及び第2の基板サポートWT2の位置交換TRAを実行することで、第1の基板サポートWT1を露光フィールドEFIへ移動させると共に第2の基板サポートWT2を測定フィールドMFIへ移動させる。移動中、第1の基板サポートWT1上に支持された基板の熱緩和がすでに開始している。
[00056] 第2の基板サポートWT2上にはこれより前に基板がロードされ、第2の基板サポートWT2の熱緩和ステップTHRはすでに開始していたので、第2の基板サポートWT2を測定フィールドMFIに位置決めした直後に第2の基板サポートWT2上に支持された基板の測定ステップMEAを開始することができる。第2の基板サポートWT2上に支持された基板のこの測定ステップが終了するとすぐに、第1の基板サポートWT1と第2の基板サポートWT2の位置交換TRAを再び実行する。
[00057] 第2の基板サポートWT2を測定フィールドMFIから露光フィールドEFIへ移動させ、ここで基板を露光ステップEXPでパターン付き放射ビームに露光する。この露光ステップEXPの開始時、再び測定フィールドMFIに位置決めされた第1の基板サポートWT1上に支持された基板の熱緩和ステップTHRはまだ継続している。この熱緩和ステップTHRの後、第1の基板サポートWT1上に支持された基板の測定ステップMEAを開始することができる。この実施形態において、測定ステップMEAの開始は、第1の基板サポートWT1上に支持された基板の測定ステップMEAと第2の基板サポートWT2上に支持された基板の露光ステップがほぼ同時に終了するように選択される。
[00058] 測定ステップMEA及び露光ステップEXPが終了するとすぐに位置交換TRAが実行され、これによって第1の基板サポートWT1を測定フィールドMFIから露光フィールドEFIへ移動させると共に第2の基板サポートWT2を露光フィールドEFIから測定フィールドMFIへ移動させる。露光フィールドEFIにおいて、第1の基板サポートWT1上に支持された基板は露光ステップEXPでパターン付き放射ビームに露光される。測定フィールドMFIにおいて、第2の基板サポートWT2上に支持された露光済み基板は、ステップUN/LOで第2の基板サポートWT2からアンロードされ、第1の基板サポートWT1上に新しい基板がロードされる。第2の基板サポートWT2上に新しい基板がロードされるとすぐに、熱緩和ステップTHRが開始する。第1の基板サポートWT1上に支持された基板に対して露光ステップEXPが実行されている限り、第2の基板サポートWT2は測定フィールドMFIに留まる。露光ステップEXPが終了したら、位置交換TRAを実行して、第2の基板サポートWT2を露光フィールドEFIへ移動させると共に第1の基板サポートWT1を測定フィールドMFIへ移動させればよい。位置交換TRAの後、第1の基板サポートWT1上に支持された基板をアンロードし、新しい基板を第1の基板サポートWT1上にロードすることができる。その間、露光フィールドEFIに位置決めされている第2の基板サポートWT2上に支持された基板の熱緩和は継続し得る。この最後の位置交換TRAはシーケンスの最終ステップである。別の基板を処理するため、このシーケンスを繰り返すことができる。
[00059] 図6のシーケンスと図7のシーケンスの比較から、少なくとも部分的に露光フィールドEFIで熱関係ステップTHRを実行すると、リソグラフィ装置で基板を処理するためのステップシーケンスの合計時間が著しく短縮されると結論付けることができる。これは、リソグラフィ装置のスループットに著しい好影響を有する。更に、図7の実施形態では、全ての利用可能な時間が各基板の熱緩和のために有効に用いられるので、測定ステップMEA又は露光ステップEXPの後にアイドルタイムは存在しない。
[00060] 図8は、2つの異なる処理シーケンスについて、必要な熱緩和時間に依存するリソグラフィ装置における基板のスループット(1時間当たりの処理基板;wph)を比較したグラフを示す。破線は図6の従来の処理シーケンスを用いたデュアルステージリソグラフィ装置のスループットを示し、実線は図7の新規の処理シーケンスを用いたデュアルステージリソグラフィ装置のスループットを示す。
[00061] 比較的短い熱緩和時間では、図6の従来の方法の方が図7の処理シーケンスよりもスループットが高いことがわかる。これは、少なくとも、熱緩和ステップ中に基板を測定フィールドMFIから露光フィールドEFIへ移動させ、更に露光フィールドEFIから測定フィールドMFIへ戻す2回の位置交換に必要な時間のためである。
[00062] 熱緩和のために必要な時間が長くなると、図6の従来のシーケンスでは、熱緩和ステップを実行するために追加の時間が必要になるのでスループットは低下する。図7のシーケンスでは、すでに2回の位置交換のために時間が使われており、この位置交換中に熱緩和が実行され得るので、熱緩和のために必要な時間が長くなっても最初のうちはスループットは低下しない。
[00063] 破線と実線との交点INTは、図6のシーケンスと図7のシーケンスが同一のスループットを生じる熱緩和に必要な時間を示している。交点INTの熱緩和時間TTHR(INT)よりも長い熱緩和時間では、図7のシーケンスのスループットの方が図6のシーケンスのスループットよりも著しく高いので、熱緩和のため露光フィールドが時間的に効率良く使われていることが明らかである。交点INTの熱緩和時間TTHR(INT)は、例えば、熱緩和に必要な5~15秒の時間範囲内であり得る。
[00064] 上記では、図7のシーケンスはアルミニウムチタンカーバイド基板を処理するために利用されている。この方法は、アンチモン化インジウム(InSb)、アンチモン化ガリウム(GaSb)、窒化ガリウム(GaN)、窒化アルミニウム(AlN)、酸化ガリウム(Ga)、サファイア(α-Al)、及びサファイア(κ-Al)等、かなりの熱緩和時間を必要とし得る他のタイプの基板にも利用することができる。
[00065] 図7の実施形態では、基板の熱緩和時間は所定の時間期間である。この所定の時間期間は、例えば、特定の基板材料を用いた実験又は較正測定に基づくものとすればよい。
[00066] 別の実施形態では、基板上のアライメントマーク又は同様のマークの位置を測定することによって基板の緩和を測定することができる。基板上の2つのアライメントマーク間の距離が増大している限り、熱緩和が生じている。この距離が変化しなくなった場合、熱緩和は終了している。例えば、測定される緩和が所定の閾値未満になった場合に、熱緩和の時間期間を終了することができる。この方法の利点は正確な緩和が測定されることであり、測定によって緩和が所定の閾値未満であると判定された後、すぐに測定ステップMEAを開始することができる。この方法では、同一タイプの基板の緩和に必要な時間が異なることがある。この結果として、基板の処理中に方法の他のステップのタイミングを能動的に適合させなければならない可能性がある。
[00067] 熱緩和を測定するため、基板の熱緩和の少なくとも一部の間に基板の緩和を測定するよう構成された緩和測定デバイスRMDを設けることができる。図2に緩和測定デバイスRMDの一実施形態が示されている。これは、基板上のアラインメントマーク又は同様のマーク間の距離を決定するため使用され得る既存の測定デバイスとすればよく、又は、緩和測定デバイスRMDを別個のデバイスとして提供してもよい。緩和測定デバイスRMDは、測定フィールドMFI及び/又は露光フィールドに配置され得る。
[00068] 本発明によれば、基板の熱緩和の少なくとも一部の間、基板サポートWTは露光フィールドEFIに配置される。基板サポートWTが露光フィールドEFIに位置決めされている場合、露光フィールドで基板サポートWTを用いて、例えばパターニングデバイス特性の測定、パターニングデバイスアライメント測定、パターニングデバイス形状補正測定、又はレーザパワーの測定等の追加ステップを実行することも可能である。熱緩和ステップ中にこれらの測定を実行すると、処理又は較正時間を更に短縮することができ、従ってリソグラフィ装置のスループットを更に向上させることができる。
[00069] 従って、1つのみの基板サポートを含むシングルステージリソグラフィ装置では、基板サポート上に支持された基板の熱緩和中に基板サポートを露光フィールドへ移動させて追加ステップを実行することが有利であり得る。露光フィールドにおけるこのような測定のため、これらの測定を別個に実行する必要はない。
[00070] 本文ではICの製造におけるリソグラフィ装置の使用に特に言及しているが、本明細書で説明するリソグラフィ装置には他の用途もあることを理解されたい。考えられる他の用途は、集積光学システム、磁気ドメインメモリ用のガイダンス及び検出パターン、フラットパネルディスプレイ、液晶ディスプレイ(LCD)、薄膜磁気ヘッドなどの製造である。
[00071] 本明細書ではリソグラフィ装置に関連して本発明の実施形態について具体的な言及がなされているが、本発明の実施形態は他の装置に使用することもできる。本発明の実施形態は、マスク検査装置、メトロロジ装置、又はウェーハ(あるいはその他の基板)もしくはマスク(あるいはその他のパターニングデバイス)などのオブジェクトを測定又は処理する任意の装置の一部を形成してよい。これらの装置は一般にリソグラフィツールと呼ばれることがある。このようなリソグラフィツールは、真空条件又は周囲(非真空)条件を使用することができる。
[00072] 以上では光学リソグラフィと関連して本発明の実施形態の使用に特に言及しているが、本発明は、例えばインプリントリソグラフィなど、その他の適用例において使用されてもよく、文脈が許す限り、光学リソグラフィに限定されないことが理解されるであろう。
[00073] 文脈上許される場合、本発明の実施形態は、ハードウェア、ファームウェア、ソフトウェア、又はそれらの任意の組み合わせにおいて実装することができる。本発明の実施形態は、1つ以上のプロセッサにより読み取られて実行され得る、機械可読媒体に記憶された命令として実装することも可能である。機械可読媒体は、機械(例えばコンピューティングデバイス)により読み取り可能な形態で情報を記憶又は伝送するための任意の機構を含むことができる。例えば機械可読媒体は、読み取り専用メモリ(ROM)、ランダムアクセスメモリ(RAM)、磁気記憶媒体、光記憶媒体、フラッシュメモリデバイス、電気、光、音響又は他の形態の伝搬信号(例えば搬送波、赤外信号、デジタル信号など)、及び他のものを含むことができる。さらに、ファームウェア、ソフトウェア、ルーチン、命令は、特定のアクションを実行するものとして本明細書で説明されることがある。しかしながら、そのような説明は単に便宜上のものであり、そのようなアクションは実際には、ファームウェア、ソフトウェア、ルーチン、命令などを実行するコンピューティングデバイス、プロセッサ、コントローラ、又は他のデバイスから生じ、実行する際、アクチュエータ又は他のデバイスが物質世界と相互作用し得ることを理解すべきである。
[00074] 以上、本発明の特定の実施形態を説明したが、説明とは異なる方法でも本発明を実践できることは理解されよう。上記の説明は例示的であり、限定的ではない。したがって、請求の範囲から逸脱することなく、記載されたような本発明を変更できることが当業者には明白である。

Claims (12)

  1. デュアルステージリソグラフィ装置を用いる方法であって、前記リソグラフィ装置は、
    2つの基板サポートであって、各々が基板を移動及び支持するように構成された、2つの基板サポートと、
    前記2つの基板サポートのうち1つによって支持された前記基板のフィーチャを測定するために前記2つの基板サポートのうち前記1つが選択的に位置決めされる測定フィールドと、
    前記2つの基板サポートのうち1つによって支持された前記基板をパターン付き放射ビームに露光するために前記2つの基板サポートのうち前記1つが選択的に位置決めされる露光フィールドと、
    を備え、前記方法は、前記2つの基板サポートのうち1つにロードされた基板の熱緩和ステップを含み、前記熱緩和は、少なくとも部分的に、前記露光フィールドにおいて及び/又は前記測定フィールドと前記露光フィールドとの間の移動中に実行される、方法。
  2. 前記方法は、前記2つの基板サポートの各々について、
    前記測定フィールドで前記各基板サポートに基板をロードするステップと、
    前記各基板サポート上の前記基板の熱緩和のステップと、
    前記測定フィールドで前記基板の前記フィーチャを測定するステップと、
    前記各基板サポートを前記測定フィールドから前記露光フィールドへ移動させるステップと、
    前記露光フィールドで前記基板をパターン付き放射ビームに露光するステップと、
    前記各基板サポートを前記露光フィールドから前記測定フィールドへ移動させるステップと、
    前記測定フィールドで前記各基板サポート上の前記基板をアンロードするステップと、
    を含む、請求項1に記載の方法。
  3. 前記熱緩和ステップは、前記各基板サポートを前記測定フィールドから前記露光フィールドへ移動させることと、前記基板を前記露光フィールドに維持することと、前記各基板サポートを前記露光フィールドから前記測定フィールドへ戻すことと、を含む、請求項1から2のいずれかに記載の方法。
  4. 前記露光フィールドにおける前記基板の熱緩和中に、前記測定フィールドにおいて、
    他方の前記基板サポートから基板をアンロードする/他方の前記基板サポートに基板をロードするステップ、及び/又は、
    前記他方の基板サポート上の前記基板の熱緩和ステップ、及び/又は、
    前記他方の基板サポート上の前記基板のフィーチャを測定するステップ、
    のうち1つ以上が実行される、請求項1から3のいずれかに記載の方法。
  5. 前記基板は、アルミニウムチタンカーバイド、アンチモン化インジウム、アンチモン化ガリウム、窒化ガリウム、窒化アルミニウム、酸化ガリウム、及び/又はサファイアで作られている、請求項1からのいずれかに記載の方法。
  6. 前記熱緩和ステップは、前記基板の緩和を測定することと、前記緩和が所定の閾値未満である場合に熱緩和を終了することと、を含む、請求項1からのいずれかに記載の方法。
  7. リソグラフィ装置であって、
    2つの基板サポートであって、各々が基板を移動及び支持するように構成された、2つの基板サポートと、
    前記2つの基板サポートのうち1つによって支持された前記基板のフィーチャを測定するために前記2つの基板サポートのうち前記1つが選択的に位置決めされる測定フィールドと、
    前記2つの基板サポートのうち1つによって支持された前記基板をパターン付き放射ビームに露光するために前記2つの基板サポートのうち前記1つが選択的に位置決めされる露光フィールドと、
    を備え、前記リソグラフィ装置は、前記2つの基板サポートのうち1つにロードされた基板の熱緩和ステップ中に前記2つの基板サポートのうち前記1つを前記露光フィールドへ移動させるよう構成された制御デバイスを備え、前記熱緩和は、少なくとも部分的に、前記露光フィールドにおいて及び/又は前記測定フィールドと前記露光フィールドとの間の移動中に実行されるようになっている、リソグラフィ装置。
  8. 前記基板は、アルミニウムチタンカーバイド、アンチモン化インジウム、アンチモン化ガリウム、窒化ガリウム、窒化アルミニウム、酸化ガリウム、及び/又はサファイアで作られている、請求項に記載のリソグラフィ装置。
  9. 前記制御デバイスは所定の調節時間中に熱緩和を実行するよう構成されている、請求項7又は8に記載のリソグラフィ装置。
  10. 前記リソグラフィ装置は、前記基板の前記熱緩和の少なくとも一部の間に前記基板の緩和を測定するよう構成された緩和測定デバイスを含む、請求項からのいずれかに記載のリソグラフィ装置。
  11. 前記制御デバイスは、前記緩和が所定の閾値未満である場合に前記基板の熱緩和を終了するよう構成されている、請求項10に記載のリソグラフィ装置。
  12. 前記制御デバイスは、前記露光フィールドにおける前記基板の熱緩和中に、前記測定フィールドにおいて、
    他方の前記基板サポートから基板をアンロードする/他方の前記基板サポートに基板をロードするステップ、
    前記他方の基板サポート上の前記基板の熱緩和ステップ、及び/又は、
    前記他方の基板サポート上の前記基板のフィーチャを測定するステップ、
    のうち1つ以上を制御するよう構成されている、請求項から11のいずれかに記載のリソグラフィ装置。
JP2022542724A 2020-02-06 2020-12-21 デュアルステージリソグラフィ装置を用いる方法及びリソグラフィ装置 Active JP7463525B2 (ja)

Applications Claiming Priority (3)

Application Number Priority Date Filing Date Title
EP20155876.4 2020-02-06
EP20155876 2020-02-06
PCT/EP2020/087479 WO2021155991A1 (en) 2020-02-06 2020-12-21 Method of using a dual stage lithographic apparatus and lithographic apparatus

Publications (2)

Publication Number Publication Date
JP2023512911A JP2023512911A (ja) 2023-03-30
JP7463525B2 true JP7463525B2 (ja) 2024-04-08

Family

ID=69526063

Family Applications (1)

Application Number Title Priority Date Filing Date
JP2022542724A Active JP7463525B2 (ja) 2020-02-06 2020-12-21 デュアルステージリソグラフィ装置を用いる方法及びリソグラフィ装置

Country Status (5)

Country Link
US (1) US12153354B2 (ja)
JP (1) JP7463525B2 (ja)
KR (1) KR102897291B1 (ja)
CN (1) CN115023655A (ja)
WO (1) WO2021155991A1 (ja)

Citations (5)

* Cited by examiner, † Cited by third party
Publication number Priority date Publication date Assignee Title
JP2006013090A (ja) 2004-06-25 2006-01-12 Nikon Corp 露光装置及びデバイス製造方法
JP2010067964A (ja) 2008-09-08 2010-03-25 Asml Netherlands Bv リソグラフィ装置及び位置合わせ方法
JP2010165752A (ja) 2009-01-13 2010-07-29 Canon Inc 露光装置およびデバイス製造方法
JP2015505154A (ja) 2011-12-29 2015-02-16 株式会社ニコン 露光装置及び露光方法、並びにデバイス製造方法
WO2018065222A1 (en) 2016-10-07 2018-04-12 Asml Netherlands B.V. Lithographic apparatus and method

Family Cites Families (14)

* Cited by examiner, † Cited by third party
Publication number Priority date Publication date Assignee Title
JP2753930B2 (ja) * 1992-11-27 1998-05-20 キヤノン株式会社 液浸式投影露光装置
US6645701B1 (en) 1995-11-22 2003-11-11 Nikon Corporation Exposure method and exposure apparatus
JPH09148236A (ja) * 1995-11-22 1997-06-06 Nikon Corp 露光装置の基板ステージの移動制御方法及び装置
US6020964A (en) 1997-12-02 2000-02-01 Asm Lithography B.V. Interferometer system and lithograph apparatus including an interferometer system
EP1353234A1 (en) 2002-04-12 2003-10-15 ASML Netherlands B.V. Device manufacturing method, device manufactured thereby and computer program
TWI232357B (en) 2002-11-12 2005-05-11 Asml Netherlands Bv Lithographic apparatus and device manufacturing method
US7070915B2 (en) * 2003-08-29 2006-07-04 Tokyo Electron Limited Method and system for drying a substrate
US7304715B2 (en) * 2004-08-13 2007-12-04 Asml Netherlands B.V. Lithographic apparatus and device manufacturing method
US7196768B2 (en) 2004-10-26 2007-03-27 Asml Netherlands B.V. Lithographic apparatus and device manufacturing method
US7170578B2 (en) 2004-11-30 2007-01-30 Taiwan Semiconductor Manufacturing Co., Ltd. Pattern control system
DE102005043569A1 (de) 2005-09-12 2007-03-22 Dr. Johannes Heidenhain Gmbh Positionsmesseinrichtung
JP2010118557A (ja) 2008-11-13 2010-05-27 Canon Inc 露光装置、基板処理装置、リソグラフィーシステムおよびデバイス製造方法
JP6883655B2 (ja) * 2017-02-03 2021-06-09 エーエスエムエル ネザーランズ ビー.ブイ. 露光装置
CN210378984U (zh) 2019-10-09 2020-04-21 长鑫存储技术有限公司 温控输送装置

Patent Citations (5)

* Cited by examiner, † Cited by third party
Publication number Priority date Publication date Assignee Title
JP2006013090A (ja) 2004-06-25 2006-01-12 Nikon Corp 露光装置及びデバイス製造方法
JP2010067964A (ja) 2008-09-08 2010-03-25 Asml Netherlands Bv リソグラフィ装置及び位置合わせ方法
JP2010165752A (ja) 2009-01-13 2010-07-29 Canon Inc 露光装置およびデバイス製造方法
JP2015505154A (ja) 2011-12-29 2015-02-16 株式会社ニコン 露光装置及び露光方法、並びにデバイス製造方法
WO2018065222A1 (en) 2016-10-07 2018-04-12 Asml Netherlands B.V. Lithographic apparatus and method

Also Published As

Publication number Publication date
KR20220124237A (ko) 2022-09-13
JP2023512911A (ja) 2023-03-30
CN115023655A (zh) 2022-09-06
KR102897291B1 (ko) 2025-12-09
WO2021155991A1 (en) 2021-08-12
US12153354B2 (en) 2024-11-26
US20230010584A1 (en) 2023-01-12

Similar Documents

Publication Publication Date Title
JP4756052B2 (ja) ステージシステムおよび該ステージシステムを備えたリソグラフィ装置
JP5422633B2 (ja) コントローラ、リソグラフィ装置、オブジェクト位置の制御方法及びデバイス製造方法
JP7515524B2 (ja) 基板形状測定デバイス
JP7465334B2 (ja) サポート、振動絶縁システム、リソグラフィ装置、オブジェクト測定装置、デバイス製造方法
JP4838834B2 (ja) サーボ制御システム、リソグラフィ装置および制御方法
JP7463525B2 (ja) デュアルステージリソグラフィ装置を用いる方法及びリソグラフィ装置
CN113841090A (zh) 包括压电致动器或电致伸缩致动器的致动器组件
US11860554B2 (en) Object positioner, method for correcting the shape of an object, lithographic apparatus, object inspection apparatus, device manufacturing method
JP7430194B2 (ja) 検査装置、リソグラフィ装置及び測定方法
CN117546096A (zh) 位置测量系统、定位系统、光刻设备和器件制造方法
JP7650280B2 (ja) 位置決め装置およびリソグラフィ装置
JP2010278416A (ja) 可動オブジェクトの制御位置の位置量を制御する制御システム、リソグラフィ装置および方法
NL2024847A (en) Method of using a dual stage lithogrpahic apparatus and lithographic apparatus
TWI864659B (zh) 基板翹曲度判定系統
TWI719569B (zh) 基板支撐、微影設備、基板檢測設備與裝置製造方法
TW202507427A (zh) 塗佈顯影系統介面及基板處理設備
CN120380420A (zh) 用以生成用于可移动物体的加速度设定点分布曲线的方法、设定点生成器和光刻设备
CN115867764A (zh) 信号参数确定方法、外差干涉仪系统、光刻设备和装置制造方法
NL2025227A (en) Object positioner, method for correcting the shape of an object, lithographiic apparatus, object inspection apparatus, device manufacturing method

Legal Events

Date Code Title Description
A521 Request for written amendment filed

Free format text: JAPANESE INTERMEDIATE CODE: A523

Effective date: 20220906

A621 Written request for application examination

Free format text: JAPANESE INTERMEDIATE CODE: A621

Effective date: 20220906

A977 Report on retrieval

Free format text: JAPANESE INTERMEDIATE CODE: A971007

Effective date: 20230901

A131 Notification of reasons for refusal

Free format text: JAPANESE INTERMEDIATE CODE: A131

Effective date: 20230904

A521 Request for written amendment filed

Free format text: JAPANESE INTERMEDIATE CODE: A523

Effective date: 20231130

TRDD Decision of grant or rejection written
A01 Written decision to grant a patent or to grant a registration (utility model)

Free format text: JAPANESE INTERMEDIATE CODE: A01

Effective date: 20240304

A61 First payment of annual fees (during grant procedure)

Free format text: JAPANESE INTERMEDIATE CODE: A61

Effective date: 20240327

R150 Certificate of patent or registration of utility model

Ref document number: 7463525

Country of ref document: JP

Free format text: JAPANESE INTERMEDIATE CODE: R150