JP7451237B2 - Rfidインレイ - Google Patents
Rfidインレイ Download PDFInfo
- Publication number
- JP7451237B2 JP7451237B2 JP2020040124A JP2020040124A JP7451237B2 JP 7451237 B2 JP7451237 B2 JP 7451237B2 JP 2020040124 A JP2020040124 A JP 2020040124A JP 2020040124 A JP2020040124 A JP 2020040124A JP 7451237 B2 JP7451237 B2 JP 7451237B2
- Authority
- JP
- Japan
- Prior art keywords
- slit
- antenna pattern
- chip
- base material
- rfid inlay
- Prior art date
- Legal status (The legal status is an assumption and is not a legal conclusion. Google has not performed a legal analysis and makes no representation as to the accuracy of the status listed.)
- Active
Links
Images
Landscapes
- Details Of Aerials (AREA)
- Support Of Aerials (AREA)
Description
本発明の実施形態に係るRFIDインレイ1について説明する。図1は、本実施形態に係るRFIDインレイ1を説明する平面図である。
本実施形態において、基材2は、一例として、ポリ塩化ビニル、ポリエチレンテレフタレート、ポリプロピレン、ポリエチレン、ポリエチレンナフタレート等の樹脂フィルム単体又はこれら樹脂フィルムを複数積層してなる多層フィルムを使用することができる。
図1に示されるように、アンテナパターン3は、ループ部31と、ICチップ4がマウントされるICチップ接続部32と、ループ部31から左右対称に延びるメアンダ33,34と、メアンダ33,34の端部に接続されるキャパシタハット35,36とを備える。すなわち、アンテナパターン3は、ダイポールアンテナを構成する。
RFIDインレイ1において、ICチップ4は、UHF帯に対応して、ICチップ4の読取装置であるリーダ(図示されていない)との間で通信可能に設計された半導体パッケージである。
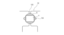
続いて、アンテナパターン3におけるICチップ接続部32について説明する。図2は、アンテナパターン3におけるICチップ接続部32を含む要部S(図1参照)を拡大して示す拡大図である。
本実施形態に係るRFIDインレイ1によれば、ICチップ接続部32に、一対のバンプ接点101,102の間を通って(Y方向)形成された第一スリット103と、バンプ接点101,102の並ぶ方向(X方向)に沿って第一スリット103に交差して形成された第二スリット104とを有する。
<第一変形例>
図4は、本実施形態の第一変形例を説明する平面図である。図4には、第一変形例として示すICチップ接続部321の要部が拡大して示されている。なお、第一変形例において、上述した実施形態と同様の作用効果を有する構成には同一の番号を付して詳細な説明は省略する。
図5は、本実施形態の第二変形例を説明する平面図である。図5には、第二変形例として示すICチップ接続部322の要部が拡大して示されている。なお、第二変形例において、上述した実施形態と同様の作用効果を有する構成には同一の番号を付して詳細な説明は省略する。
図6は、本実施形態の第三変形例を説明する平面図である。図6には、第三変形例として示すICチップ接続部323の要部が拡大して示されている。なお、第三変形例において、上述した実施形態と同様の作用効果を有する構成には同一の番号を付して詳細な説明は省略する。
以上、本発明の実施形態について説明したが、上記実施形態は、本発明の適用例の一部を示したに過ぎず、本発明の技術的範囲を上記実施形態の具体的構成に限定する趣旨ではない。
実施例及び比較例の供試体としてのRFIDインレイを用意し、アンテナパターンに対するICチップの接着強度を、DieShear試験により評価した。
・基材:紙(厚さ80μm)
・アンテナ:アルミニウム箔(厚さ20μm)
ライン幅:30μm~40μm、ライン深さ:1μm~2μm
ライン間隔:50μm~60μm
・異方導電性材料:紫外線硬化型異方導電性接着剤
・ICチップタイプ:IMPINJ社製 MONZA R6
・異方導電性材料の硬化条件:温度(室温25℃)、UV照射(3000mJ/cm2~5000mJ/cm2)、照射時間(3秒)、加圧(圧力1.0N)
・アンテナパターン
第一スリット幅:0.2mm
第二スリット幅:0.2mm
比較例1の供試体は、第二スリット104が形成されていないアンテナパターンを使用した以外は、実施例1と同条件にて作製した。
アンテナパターン3とアンテナパターン3に実装されたICチップ4との接着強度をDieShear試験によって評価した。ICチップ4がアンテナパターン3から剥離したときの印加荷重は、各供試体について、同条件で5回の試験を行った結果の平均値で表される。結果を第1表に示す。
2 基材
3 アンテナパターン
4 ICチップ
31 ループ部
32 ICチップ接続部
33,34 メアンダ
35,36 キャパシタハット
101,102 バンプ接点
103 第一スリット
104 第二スリット
321 ICチップ接続部
322 ICチップ接続部
323 ICチップ接続部
C 交差部分
E 異方導電性材料
P1,P2,P3,P4 角部
Q1,Q2 支持領域
R 曲線部分
SE 領域(異方導電性材料Eが配置される領域)
SC 領域(ICチップ4が配置される領域)
Claims (7)
- 基材と、前記基材に形成されたアンテナパターンと、前記アンテナパターンに接続されたICチップとを有するRFIDインレイであって、
前記アンテナパターンは、ダイポールアンテナを構成し、
前記ICチップとの一対の接点の間を通って形成され、前記一対の接点の間において前記ダイポールアンテナを分離する第一スリットと、
前記一対の接点の並ぶ方向に沿って前記第一スリットに交差し、前記一対の接点の並ぶ方向に沿って前記ダイポールアンテナを分離させることなく部分的に形成された第二スリットと、を備え、
前記ICチップが、前記第一スリット及び前記第二スリットの交差部分を含む位置に充填されるとともに前記一対の接点を含む前記アンテナパターンの表面に配置された異方導電性材料によって、前記アンテナパターンに接続された、
RFIDインレイ。 - 請求項1に記載のRFIDインレイであって、
前記交差部分において、少なくとも、前記第二スリットを挟んで、前記一対の接点と対向する側の前記アンテナパターンの角部に曲線部分が形成された、
RFIDインレイ。 - 請求項1又は2に記載のRFIDインレイであって、
前記第二スリットを挟んで、前記一対の接点と対向する側の前記第一スリットにおける幅は、他方側の幅よりも広い、
RFIDインレイ。 - 請求項1又は2に記載のRFIDインレイであって、
前記第二スリットの幅は、前記第一スリットの幅よりも広い、
RFIDインレイ。 - 請求項1から4のいずれか1項に記載のRFIDインレイであって、
前記基材が紙基材である、
RFIDインレイ。 - 基材と、前記基材に形成されたアンテナパターンと、前記アンテナパターンに接続されたICチップとを有するRFIDインレイであって、
前記アンテナパターンは、
前記ICチップとの一対の接点の間を通って形成された第一スリットと、
前記一対の接点の並ぶ方向に沿って前記第一スリットに交差して形成された第二スリットと、を備え、
前記ICチップが、前記第一スリット及び前記第二スリットの交差部分を含む位置に充填されるとともに前記一対の接点を含む前記アンテナパターンの表面に配置された異方導電性材料によって、前記アンテナパターンに接続され、
前記交差部分において、少なくとも、前記第二スリットを挟んで、前記一対の接点と対向する側の前記アンテナパターンの角部に曲線部分が形成された、
RFIDインレイ。 - 基材と、前記基材に形成されたアンテナパターンと、前記アンテナパターンに接続されたICチップとを有するRFIDインレイであって、
前記アンテナパターンは、
前記ICチップとの一対の接点の間を通って形成された第一スリットと、
前記一対の接点の並ぶ方向に沿って前記第一スリットに交差して形成された第二スリットと、を備え、
前記ICチップが、前記第一スリット及び前記第二スリットの交差部分を含む位置に充填されるとともに前記一対の接点を含む前記アンテナパターンの表面に配置された異方導電性材料によって、前記アンテナパターンに接続され、
前記第二スリットを挟んで、前記一対の接点と対向する側の前記第一スリットにおける幅は、他方側の幅よりも広い、
RFIDインレイ。
Priority Applications (2)
| Application Number | Priority Date | Filing Date | Title |
|---|---|---|---|
| JP2020040124A JP7451237B2 (ja) | 2020-03-09 | 2020-03-09 | Rfidインレイ |
| JP2024033920A JP7620748B2 (ja) | 2020-03-09 | 2024-03-06 | Rfidインレイ |
Applications Claiming Priority (1)
| Application Number | Priority Date | Filing Date | Title |
|---|---|---|---|
| JP2020040124A JP7451237B2 (ja) | 2020-03-09 | 2020-03-09 | Rfidインレイ |
Related Child Applications (1)
| Application Number | Title | Priority Date | Filing Date |
|---|---|---|---|
| JP2024033920A Division JP7620748B2 (ja) | 2020-03-09 | 2024-03-06 | Rfidインレイ |
Publications (2)
| Publication Number | Publication Date |
|---|---|
| JP2021140671A JP2021140671A (ja) | 2021-09-16 |
| JP7451237B2 true JP7451237B2 (ja) | 2024-03-18 |
Family
ID=77669650
Family Applications (2)
| Application Number | Title | Priority Date | Filing Date |
|---|---|---|---|
| JP2020040124A Active JP7451237B2 (ja) | 2020-03-09 | 2020-03-09 | Rfidインレイ |
| JP2024033920A Active JP7620748B2 (ja) | 2020-03-09 | 2024-03-06 | Rfidインレイ |
Family Applications After (1)
| Application Number | Title | Priority Date | Filing Date |
|---|---|---|---|
| JP2024033920A Active JP7620748B2 (ja) | 2020-03-09 | 2024-03-06 | Rfidインレイ |
Country Status (1)
| Country | Link |
|---|---|
| JP (2) | JP7451237B2 (ja) |
Citations (3)
| Publication number | Priority date | Publication date | Assignee | Title |
|---|---|---|---|---|
| JP2010015342A (ja) | 2008-07-03 | 2010-01-21 | Dainippon Printing Co Ltd | アンテナシート、インレットおよびicタグ |
| JP2015108933A (ja) | 2013-12-04 | 2015-06-11 | 日立化成株式会社 | 非接触式icカード |
| JP2021096540A (ja) | 2019-12-13 | 2021-06-24 | 日本パッケージ・システム株式会社 | Rfidインレイ及びその製造方法 |
Family Cites Families (1)
| Publication number | Priority date | Publication date | Assignee | Title |
|---|---|---|---|---|
| JP4322558B2 (ja) * | 2003-05-30 | 2009-09-02 | 株式会社ルネサステクノロジ | 電子タグ用インレットの製造方法 |
-
2020
- 2020-03-09 JP JP2020040124A patent/JP7451237B2/ja active Active
-
2024
- 2024-03-06 JP JP2024033920A patent/JP7620748B2/ja active Active
Patent Citations (3)
| Publication number | Priority date | Publication date | Assignee | Title |
|---|---|---|---|---|
| JP2010015342A (ja) | 2008-07-03 | 2010-01-21 | Dainippon Printing Co Ltd | アンテナシート、インレットおよびicタグ |
| JP2015108933A (ja) | 2013-12-04 | 2015-06-11 | 日立化成株式会社 | 非接触式icカード |
| JP2021096540A (ja) | 2019-12-13 | 2021-06-24 | 日本パッケージ・システム株式会社 | Rfidインレイ及びその製造方法 |
Also Published As
| Publication number | Publication date |
|---|---|
| JP7620748B2 (ja) | 2025-01-23 |
| JP2024056008A (ja) | 2024-04-19 |
| JP2021140671A (ja) | 2021-09-16 |
Similar Documents
| Publication | Publication Date | Title |
|---|---|---|
| JP4052111B2 (ja) | 無線情報記憶媒体 | |
| AU742212B2 (en) | Card mounted with circuit chip and circuit chip module | |
| US7954722B2 (en) | IC tag and inlet for IC tag | |
| US20110011939A1 (en) | Contact-less and dual interface inlays and methods for producing the same | |
| EP2245578B1 (en) | Rfid devices and methods for overlapped objects | |
| KR101897944B1 (ko) | 집적 회로 플립 칩을 내장하기 위한 방법 | |
| CN103797498B (zh) | Rfid标签以及自动识别系统 | |
| CN101156164B (zh) | 非接触型信息存储介质及其制造方法 | |
| CN114586041A (zh) | 旋转不敏感型射频识别器件和形成该器件的方法 | |
| US20080164326A1 (en) | Connecting Part For Mounting IC Chip, Antenna Circuit, IC Inlet, IC Tag and Method of Adjusting Capacitance | |
| TWI284842B (en) | Communication medium capable of carrying out contactless communication and method of producing the same | |
| CN104978595A (zh) | 双接口ic卡组件及用于制造双接口ic卡组件的方法 | |
| JP4176244B2 (ja) | チップカード | |
| CN108701248B (zh) | 集成电路卡的电路层 | |
| JP2010267150A (ja) | 非接触型情報記録媒体 | |
| JP7451237B2 (ja) | Rfidインレイ | |
| CN117015782A (zh) | 多个芯片卡模块的制造方法以及支承该多个模块的柔性材料带 | |
| JP2000137781A (ja) | カード型電子回路基板及びその製造方法 | |
| JP4743369B2 (ja) | 非接触式データキャリア装置用補助アンテナ部材、および該補助用アンテナ部材を配設した物品 | |
| JP4839828B2 (ja) | 金属対応の非接触式データキャリア装置 | |
| US20240419933A1 (en) | Leadframeless contactless module | |
| JP5548059B2 (ja) | 回路素子 | |
| JP4713942B2 (ja) | アンテナ部材及びこれを用いた非接触型icカード | |
| JP2002304608A (ja) | 非接触式icカード | |
| JP2007073015A (ja) | 非接触icタグインレット、非接触icタグ、およびアンテナ |
Legal Events
| Date | Code | Title | Description |
|---|---|---|---|
| A621 | Written request for application examination |
Free format text: JAPANESE INTERMEDIATE CODE: A621 Effective date: 20230210 |
|
| A131 | Notification of reasons for refusal |
Free format text: JAPANESE INTERMEDIATE CODE: A131 Effective date: 20231128 |
|
| A977 | Report on retrieval |
Free format text: JAPANESE INTERMEDIATE CODE: A971007 Effective date: 20231130 |
|
| A521 | Request for written amendment filed |
Free format text: JAPANESE INTERMEDIATE CODE: A523 Effective date: 20240125 |
|
| TRDD | Decision of grant or rejection written | ||
| A01 | Written decision to grant a patent or to grant a registration (utility model) |
Free format text: JAPANESE INTERMEDIATE CODE: A01 Effective date: 20240206 |
|
| A61 | First payment of annual fees (during grant procedure) |
Free format text: JAPANESE INTERMEDIATE CODE: A61 Effective date: 20240306 |
|
| R150 | Certificate of patent or registration of utility model |
Ref document number: 7451237 Country of ref document: JP Free format text: JAPANESE INTERMEDIATE CODE: R150 |
