JP7261663B2 - 画像形成装置 - Google Patents
画像形成装置 Download PDFInfo
- Publication number
- JP7261663B2 JP7261663B2 JP2019111215A JP2019111215A JP7261663B2 JP 7261663 B2 JP7261663 B2 JP 7261663B2 JP 2019111215 A JP2019111215 A JP 2019111215A JP 2019111215 A JP2019111215 A JP 2019111215A JP 7261663 B2 JP7261663 B2 JP 7261663B2
- Authority
- JP
- Japan
- Prior art keywords
- charging
- layer
- image
- photosensitive member
- photoreceptor
- Prior art date
- Legal status (The legal status is an assumption and is not a legal conclusion. Google has not performed a legal analysis and makes no representation as to the accuracy of the status listed.)
- Active
Links
Images
Landscapes
- Photoreceptors In Electrophotography (AREA)
- Electrostatic Charge, Transfer And Separation In Electrography (AREA)
Description
電子写真方式の画像形成装置の帯電手段には、ワイヤーとケースを用いたコロトロン帯電器、ワイヤーとケースさらにグリッド電極(以下「グリッド」ともいう)を用いたスコロトロン帯電器が多用されている。特に、スコロトロン帯電器は、ワイヤーと感光体表面との間に配置されたグリッドにより、感光体の表面電位を安定して制御できるという利点があり、帯電器として幅広く用いられている。
そこで、このような欠点を解消すべく、帯電部材を感光体に接触または近接させる帯電器として、例えば、接触ローラ帯電器、非接触ローラ帯電器、ブラシ帯電器、磁気ブラシ帯電器などの帯電器が開発されてきた。
これらの帯電器は、一部の注入帯電方式のものを除いて、微小空隙放電による帯電方式を利用しており、従来のスコロトロン帯電器と比較して消費電力を低減でき、その欠点であった高圧電源やオゾン発生の問題を解決可能な帯電器として現在の主流の帯電器となってきている。
光導電性材料には、無機系光導電性材料および有機系光導電性材料(有機光導電体:Organic Photoconductor:OPC)があり、近年の研究開発により、感度および耐久性が向上した、有機系光導電性材料を主成分とする感光層を備えた感光体(「有機系感光体」ともいう)が感光体の主流を占めている。特に、電荷発生物質としてのオキソチタニルフタロシアニン、特にY型オキソチタニルフタロシアニンは、高感度でかつ繰り返しの電位安定性が良好であることから、幅広く実用化されている。
しかしながら、Y型オキソチタニルフタロシアニンは、環境、特に湿度変動により感度特性が変化することが知られている。このようなY型オキソチタニルフタロシアニンを含む感光体が直流帯電方式の画像形成装置に搭載されたとき、低温/低湿環境下(18℃/20%付近)で放電異常によるスジ状の帯電ムラが発生するという課題があった。
例えば、特開2002-174920号公報(特許文献1)には、特定の表面粗さを有する支持体(「基体」、「導電性支持体」、「導電性基体」ともいう)上に、電荷発生物質としてフタロシアニン化合物を含有する電荷発生層および特定の膜厚(9~18μm)を有する電荷輸送層をこの順で備えた、特定の静電容量(C)(1cm2あたり130pF以上)を有する感光体が提案されている。
また、特許文献3のように帯電前の露光手段(除電システム)を設けても、残存フォトキャリアの影響で放電スジが発生し、このようなシステム側からの条件だけでは十分な対策効果を得ることができない。
具体的には、図6(b)のように、横軸を感光体位置、縦軸を感光体表面電位として表すと、実線Aでは、正常に当接部上流UCP側で所定の電位に帯電が完了した場合には異常放電による放電スジは発生しない。また、点線BおよびCのように当接部上流UCP側で不十分な帯電が進むと、当接部下流DCP側での電位差が不十分であることで異常放電(点線B:白スジおよび点線C:黒スジ)が発生する。さらに、実線Dのように当接部上流UCP側でほとんど帯電されない場合には、異常放電は発生せず、正常に帯電される。図6(b)の点線内は帯電の不安定領域Eを表す。
これまで放電スジ改善のための様々な対策が実施されてきたが、ある特定環境では発生してしまう場合があり、放電スジを完全になくすことは困難であった。しかしながら、本発明では鋭意検討の結果、通常の使用環境では放電スジが発生しないような構成を見出した。
前記電子写真感光体が、基体上に電荷発生物質を含有する電荷発生層と電荷輸送物質を含有する電荷輸送層とがこの順で積層された積層型感光層を少なくとも備え、
前記電荷発生層が、前記電荷発生物質としてオキソチタニルフタロシアニン系化合物を含みかつ0.01~0.1μmの膜厚を有し、
前記帯電手段が、前記電子写真感光体に直接接触して帯電させる直流帯電方式である
ことを特徴とする画像形成装置が提供される。
本発明では、少なくとも電荷発生物質としてオキソチタニルフタロシアニンを含む電荷発生層を含む電子写真感光体において、電荷発生層の膜厚を0.01~0.1μmに薄くすることで低温低湿環境下でも放電スジが発生しないことが見出された。これは、通常低温になるとローラ抵抗が上昇しかつ感光体の残留フォトキャリアが多いと帯電を阻害し異常放電が発生し易くなるが、電荷発生層を薄くすることでより極低温下(5℃以下)でようやく、その異常放電が観測されるようになった、すなわち通常使用範囲で問題がなくなったものと考えられる。
(1)帯電手段が、印加電圧100Vのときに1×103~1×105Ωの抵抗を有する帯電ローラを備える。
(2)電荷発生物質が、CuKα特性X線(1.541Å)を用いたX線回折スペクトルにおいて、ブラッグ角(2θ±0.2°)7.3°、9.4°、9.7°、26.2°および27.3°に少なくとも回折ピークを有しかつ9.4°と9.7°の重なったピーク束が最大ピークであるY型オキソチタニルフタロシアニンである。
(3)電子写真感光体が、基体と積層型感光層との間に下引き層をさらに備える。
(4)画像形成装置が、電子写真感光体に残留する表面電荷を除電する除電手段をさらに備える。
(5)電子写真感光体が、70~140mm/秒の周速の設定を有する。
前記電子写真感光体が、基体上に電荷発生物質を含有する電荷発生層と電荷輸送物質を含有する電荷輸送層とがこの順で積層された積層型感光層を少なくとも備え、
前記電荷発生層が、前記電荷発生物質としてオキソチタニルフタロシアニン系化合物を含みかつ0.01~0.1μmの膜厚を有し、
前記帯電手段が、前記電子写真感光体に直接接触して帯電させる直流帯電方式である
ことを特徴とする。
以下に図面を用いて画像形成装置の要部の構成およびその動作について説明し、その中で、本発明の特徴部分である感光体の感光層および電荷発生物質ならびに帯電手段について詳細に説明するが、本発明はこれらの図面および以下の記載事項に限定されるものではない。
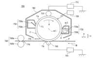
図1は、本発明の画像形成装置の要部の構成を示す模式側面図である。
図1の画像形成装置700は、モノクロのプリンタ(レーザプリンタ)であり、本発明の感光体F(図2の(a)下引き層付きの積層型電子写真感光体F01および(b)下引き層なしの積層型電子写真感光体F02に相当)と、感光体Fの表面Faを帯電させる帯電手段(帯電器)710と、帯電された感光体Fを露光して静電潜像を形成する露光手段(露光装置)720と、露光によって形成された静電潜像を現像してトナー像を形成する現像手段(現像器)730と、現像によって形成されたトナー像を記録紙などの記録媒体P上に転写する転写手段(転写帯電器)740と、搬送ベルト(図示せず)と、転写されたトナー像を記録媒体P上に定着して画像を形成する定着手段(定着器)760と、感光体Fに残留するトナーを除去し回収するクリーニング手段(クリーナ装置)750とを備えている。
本発明の感光体は、基体上に、電荷発生物質を含有する電荷発生層と電荷輸送物質を含有する電荷輸送層とがこの順で積層された積層型感光層を少なくとも備える。
図2は、本発明の画像形成装置における電子写真感光体、(a)下引き層付きの積層型電子写真感光体F01および(b)下引き層なしの積層型電子写真感光体F02の要部の構成を示す概略断面図である。
下引き層付きの積層型感光体F01は、基体F1上に、下引き層F21および電荷発生物質を含有する電荷発生層F22と電荷輸送物質を含有する電荷輸送層F23とがこの順で積層された感光層を備えている。
下引き層なしの積層型感光体F02は、基体F1上に、電荷発生物質を含有する電荷発生層F22と電荷輸送物質を含有する電荷輸送層F23とがこの順で積層された感光層を備えている。
なお、図番Faは感光体表面を表す。
以下、各構成について説明する。
基体(「導電性支持体」または「導電性基体」ともいう)は、感光体の電極としての機能と支持部材としての機能とを有し、その構成材料は、当該技術分野で用いられる材料であれば特に限定されない。
基体の構成材料は、例えば、アルミニウム、アルミニウム合金、銅、亜鉛、ステンレス鋼およびチタンなどの金属材料、ならびに表面に金属箔ラミネート、金属蒸着処理または導電性高分子、酸化スズ、酸化インジウムなどの導電性化合物の層を蒸着もしくは塗布した、ポリエチレンテレフタレート、ポリアミド(ナイロン)ポリエステル、ポリオキシメチレンおよびポリスチレンなどの高分子材料、硬質紙ならびにガラスなどが挙げられる。これらの中でも、加工の容易性の点からアルミニウムおよびアルミニウム合金が好ましく、JIS3003系(Ai-Mn系)、JIS5000系(Ai-Mg系)およびJIS6000系(Ai-Mg-Si系)などのアルミニウム合金が特に好ましい。
円筒状の基体の直径および長さは、例えば、それぞれ10~300mm程度および200~1000mm程度である。
また、基体の表面には、必要に応じて、画質に影響のない範囲内で、レーザ光による干渉縞防止のために、陽極酸化皮膜処理、薬品もしくは熱水などによる表面処理、着色処理、または表面を粗面化するなどの乱反射処理が施されていてもよい。
本発明の感光体は、基体と積層型感光層との間に、下引き層(「中間層」ともいう)をさらに備えるのが好ましい。
下引き層は、一般に、基体の表面の凸凹を被覆し均一にして、感光層の成膜性を高め、感光層の基体からの剥離を抑え、基体と感光層との接着性を向上させる。具体的には、基体からの感光層への電荷の注入を防止して、感光層の帯電性の低下を防ぎ、画像のかぶり(いわゆる黒ぽち)の発生を防止する。
下引き層は、例えば、バインダ樹脂を適当な溶剤に溶解または分散させて下引き層形成用塗布液を調製し、この塗布液を基体の表面に塗布し、乾燥により有機溶剤を除去することによって形成することができる。
バインダ樹脂は、下引き層上に感光体層を形成する際に用いられる溶剤に対して溶解や膨潤などが起こらないこと、基体との接着性に優れること、可撓性を有することなどの特性が要求されることから、上記のバインダ樹脂の中でも、ポリアミド樹脂が好ましく、特にアルコール可溶性ナイロン樹脂およびピペラジン系化合物を含有したポリアミド樹脂が好ましい。
アルコール可溶性ナイロン樹脂としては、例えば、6-ナイロン、66-ナイロン、610-ナイロン、11-ナイロンおよび12-ナイロンなどの単独重合または共重合ナイロン、N-アルコキシメチル変性ナイロンのように、ナイロンを化学的に変性させたタイプなどが挙げられる。
また、バインダ樹脂を架橋する硬化剤を用いて、硬化膜としてもよい。硬化剤としては、塗液の保存安定性や電気特性の観点からブロック化イソシアネートが好ましい。
これらの溶剤の中でも、地球環境に対する配慮から、例えば、非ハロゲン系有機溶剤を好適に用いることができる。
金属酸化物粒子に用いることができる材料としては、例えば、酸化チタン、酸化アルミニウム、水酸化アルミニウムおよび酸化スズなどが挙げられる。
下引き層形成用塗布液におけるバインダ樹脂と金属酸化物粒子との合計質量Aと溶剤の質量Bとの比率(A/B)としては、例えば、1/99~40/60程度が好ましく、2/98~30/60程度が特に好ましい。
また、バインダ樹脂の質量Cと金属酸化物粒子の質量Dとの比率(C/D)としては、例えば、90/10~1/99程度が好ましく、70/30~5/95程度が特に好ましい。
これらの中でも、浸漬塗布法は、塗布液を満たした塗工槽に基体を浸漬した後、一定速度または逐次変化する速度で引上げることによって基体の表面に層を形成する方法であり、比較的簡単で、生産性および原価の点で優れているので、感光体の製造に好適に用いることができる。浸漬塗布法に用いる装置には、塗布液の分散性を安定させるために、超音波発生装置に代表される塗布液分散装置が設けられていてもよい。
このような乾燥工程における温度は、使用した溶剤を除去し得る温度であれば特に限定されないが、50~140℃程度が適当であり、80~130℃程度が特に好ましい。
乾燥温度が50℃未満では、乾燥時間が長くなることがあり、また溶剤が充分に蒸発せず感光体層中に残ることがある。また、乾燥温度が約140℃を超えると、感光体の繰り返し使用時の電気的特性が悪化して、得られる画像が劣化することがある。
このような温度条件は、下引き層のみならず、後述する感光層などの層形成や他の処理においても共通する。
下引き層の膜厚が0.01μm未満では、基体側からの電子の注入のブロッキング性および、光散乱による干渉縞対策に対する十分な効果が得られないことがある。一方、下引き層の膜厚が20μmを超えると、連続印字した際の感度変化が大きくなり、ひいては画像濃度の変化が大きくなることがある。
電荷発生層は、画像形成装置において、半導体レーザのような光ビームなどの光出射装置で照射された光を吸収することによって電荷を発生する機能を有し、電荷発生物質を主成分とし、必要に応じてバインダ樹脂や添加剤を含有する。
結晶型のオキソチタニルフタロシアニンには、α型、β型、Y型などの結晶型があり、これらの中でも、本発明の優れた効果を発揮する画像特性の点で、Y型オキソチタニルフタロシアニンが好ましく、CuKα線(波長1.541Å)を用いたX線回折スペクトルにおいて、ブラッグ角(2θ±0.2°)7.3°、9.4°、9.7°、26.2°および27.3°に少なくとも回折ピークを有しかつ9.4°と9.7°の重なったピーク束が最大ピークであるY型オキソチタニルフタロシアニンが特に好ましい。
そのオキソチタニルフタロシアニンは、次式で表される。
例えば、o-フタロニトリルと四塩化チタンとを、加熱融解するかまたはα-クロロナフタレンなどの適当な溶剤中で加熱反応させることによってジクロロチタニウムフタロシアニンを合成した後、塩基または水で加水分解することによって得られる。
また、イソインドリンとテトラブトキシチタンなどのチタニウムテトラアルコキシドとを、N-メチルピロリドンなどの適当な溶剤中で加熱反応させることによっても、オキソチタニウムフタロシアニン組成物を製造することができる。
オキソチタニルフタロシアニン組成物には、ベンゼン環の水素原子が塩素、フッ素、ニトロ基、シアノ基およびスルホン基などの置換基で置換されたフタロシアニン誘導体が含有されていてもよい。
その処理方法(結晶変換方法)としては、例えば、オキソチタニルフタロシアニンを水で膨潤させて有機溶剤で処理する方法、膨潤処理を行わずに、水を有機溶剤中に添加し、その中にオキソチタニルフタロシアニン粉末を投入する方法などが挙げられる。
また、オキソチタニルフタロシアニンを水で膨潤させる際には、ホモミキサー、ペイントミキサー、ボールミルおよびサンドミルなどの公知の撹拌・分散装置を用いてもよい。
このようにして、不定形チタニルフタロシアニン(低結晶性チタニルフタロシアニン)を、特定の回折ピークを有するチタニルフタロシアニン結晶に変換することができる。
具体的には、前記ウエットケーキ状の不定形チタニルフタロシアニン(低結晶性チタニルフタロシアニン)を乾燥せずに、水と有機溶剤の存在下で混合・撹拌することにより、目的とする結晶型を得ることができる。
ここで使用される有機溶剤は、テトラヒドロフラン単独であっても、所望の結晶型が得られるものであれば、トルエン、塩化メチレン、二硫化炭素、オルトジクロロベンゼンおよび1,1,2-トリクロロエタンの中から選択される1種との混合溶剤であってもよい。
また、ウエットケーキの不定形チタニルフタロシアニンを十分な時間の撹拌、もしくは、機械的な歪力をもってミリングすることによっても本発明のオキソチタニルフタロシアニンを得ことができる。
この処理に用いられる装置としては、一般的な撹拌装置の他に、ホモミキサー、ペイントミキサー、デイスパーサー、アジター、およびボールミル、サンドミル、アトライター、超音波分散装置などが挙げられる。処理後には、公知の方法により、濾過し、メタノール、エタノールまたは水などを用いて洗浄し単離すればよい。
バインダ樹脂としては、例えば、ポリエステル、ポリスチレン、ポリウレタン、フェノール樹脂、アルキッド樹脂、メラミン樹脂、エポキシ樹脂、シリコーン樹脂、アクリル樹脂、メタクリル樹脂、ポリカーボネート、ポリアリレート、フェノキシ樹脂、ポリビニルブチラール(PVB)、ポリビニルホルマール、これらの樹脂を構成する繰返し単位のうちの2つ以上を含む共重合体樹脂などが挙げられる。共重合体樹脂としては、例えば、塩化ビニル-酢酸ビニル共重合体樹脂、塩化ビニル-酢酸ビニル-無水マレイン酸共重合体樹脂およびアクリロニトリル-スチレン共重合体樹脂などの絶縁性樹脂などが挙げられ、これらの1種を単独でまたは2種以上を組み合わせて使用することができる。
これらの溶剤の中でも、地球環境に対する配慮から、例えば、非ハロゲン系有機溶剤を好適に用いることができる。
電荷発生層の膜厚が0.01μm未満では、感度特性が低下し画像濃度が薄くなることがある。一方、電荷発生層の膜厚が0.1μmを超えると、放電スジが発生し易くなり、また、帯電性が低下し画像のかぶりが増加することがある。
好ましい電荷発生層の膜厚は、0.01~0.07μmであり、より好ましくは0.03~0.05μmである。
電荷輸送層は、電荷発生物質で発生した電荷を受入れて感光体の表面(図1中のFa)まで輸送する機能を有し、電荷輸送物質およびバインダ樹脂、必要に応じて添加剤を含有する。
電荷輸送物質としては、例えば、カルバゾール誘導体、ピレン誘導体、オキサゾール誘導体、オキサジアゾール誘導体、チアゾール誘導体、チアジアゾール誘導体、トリアゾール誘導体、イミダゾール誘導体、イミダゾロン誘導体、イミダゾリジン誘導体、ビスイミダゾリジン誘導体、スチリル化合物、ヒドラゾン化合物、多環芳香族化合物、インドール誘導体、ピラゾリン誘導体、オキサゾロン誘導体、ベンズイミダゾール誘導体、キナゾリン誘導体、ベンゾフラン誘導体、アクリジン誘導体、フェナジン誘導体、アミノスチルベン誘導体、トリアリールアミン誘導体、トリアリールメタン誘導体、フェニレンジアミン誘導体、スチルベン誘導体、エナミン誘導体、ベンジジン誘導体、これらの化合物から誘導される基を主鎖または側鎖に有するポリマー(ポリ-N-ビニルカルバゾール、ポリ-1-ビニルピレン、エチルカルバゾール-ホルムアルデヒド樹脂、トリフェニルメタンポリマー、ポリ-9-ビニルアントラセンなど)、ポリシランなどが挙げられ、これらの1種を単独でまたは2種以上を組み合せて使用することができる。
バインダ樹脂としては、例えば、ポリメチルメタクリレート、ポリスチレン、ポリ塩化ビニルなどのビニル重合体樹脂およびそれらの共重合体樹脂、ならびにポリカーボネート、ポリエステル、ポリエステルカーボネート、ポリスルホン、フェノキシ樹脂、エポキシ樹脂、シリコーン樹脂、ポリアリレート、ポリアミド、ポリエーテル、ポリウレタン、ポリアクリルアミド、フェノール樹脂、ポリフェニレンオキサイドなどの樹脂、これらの樹脂を部分的に架橋した熱硬化性樹脂などが挙げられ、これらの1種を単独でまたは2種以上を組み合わせて使用することができる。
これらの中でも、ポリスチレン、ポリカーボネート、ポリアリレートおよびポリフェニレンオキサイドは、体積抵抗率が1013Ω・cm以上であって電気絶縁性に優れ、かつ、成膜性、電位特性などにも優れるので好ましく、ポリカーボネートが特に好ましい。
これらの溶剤の中でも、地球環境に対する配慮から、例えば、非ハロゲン系有機溶剤を好適に用いることができる。
電荷輸送層の膜厚が5μm未満では、感光体表面の帯電保持能が低下することがある。一方、電荷輸送層の膜厚が50μmを超えると、感光体の解像度が低下することがある。
感光体は、70~140mm/秒の周速の設定を有するのが好ましい。
感光体の周速が70mm/秒未満では、感光層の帯電性が低下し、画像のかぶりが発生することがある。一方、感光体の周速が140mm/秒を超えると、放電スジが発生することがある。
好ましい感光体の周速は、85~130mm/秒であり、より好ましくは100~120mm/秒である。
帯電手段(帯電器)710は、感光体Fの外周面(図1の積層型感光体F01および単層型感光体F02ではFaに相当)Faを均一に所定の電位に帯電させる装置である。
本発明の画像形成装置の帯電手段は、感光体に直接接触して帯電させる直流帯電方式である。この方式で用いられる直流電源(電圧印加装置)711は、感光体Faおよび帯電部材の寿命などの観点から好ましい。
その形状としては、例えば、ローラ形状、ベルト形状、ブレード形状などの接触帯電器が挙げられ、小型化、低コスト化の点でローラ形状が特に好ましい。
帯電ローラの抵抗が1×103Ω未満では、感光体のリークによるピンホールが発生することがある。一方、帯電ローラの抵抗が1×105Ωを超えると、放電スジが発生することがある。
好ましい帯電ローラの抵抗は、1×103~1×105Ωであり、より好ましくは5×103~5×104Ωである。
図3は、本発明の画像形成装置における帯電手段の帯電部材の要部の構成を示す模式側面図であり、帯電器710の少なくとも一部である帯電ローラGは、導電性支持体(「基体」または「芯金」ともいう)G1の外周面上に、被覆層として導電性弾性体層G2、軟化剤移行防止層G3、抵抗調整層G4および保護層G5がこの順で形成されている。
なお、図3は層構成を示す模式図であり、各層の膜厚は実際の帯電部材に対応しない。
帯電手段の形成方法については、実施例において詳述する。
芯金(導電性支持体)は、帯電部材の電極としての機能と強度を保持し得る支持部材としての機能とを有し、その構成材料は、当該技術分野で用いられる材料であれば特に限定されない。
芯金は、例えば、鉄、銅、ステンレス、アルミニウムおよびニッケルから選択される少なくとも1つの金属材料からからなる丸棒が挙げられる。また、導電性支持体は、導電性が損なわれない限り、防錆や耐傷性付与のために、その表面にメッキ処理が施されていてもよい。
芯金の丸棒の直径および長さは、直接接触する感光体に対応すればよく、例えば、それぞれ7~240mm程度および180~900mm程度である。
導電性弾性層は、被帯電体としての感光体に対する給電や、帯電ローラの感光体に対する良好な均一密着性を確保する機能を有し、その構成材料は、適当な導電性と弾性とを有する、当該技術分野で用いられる材料であれば特に限定されない。
帯電ローラと感光体との均一密着性を確保するためには、弾性層は、弾性層を研磨して、その中央部が一番太く、中央部から両端部に向けて細くなる形状(所謂、クラウン形状)であるのが好ましい。
一般的に、帯電ローラは、導電性支持体の両端部に所定の押圧力を与えることによって感光体と当接される。このため、押圧力が中央部では小さく、両端部ほど大きくなっている。したがって、帯電ローラの真直度が十分である場合には問題ないが、十分ではない場合には中央部と両端部に対応する画像に濃度ムラが生じてしまうという問題がある。また、A3ノビ対応機種の増加やカラー機の増加により帯電領域が拡大してきているため、導電性支持体の両端部のみへの押圧力によって帯電ローラ自体がたわみ易くなっており、中央部にギャップができるといった問題が起きている。このような理由により導電性弾性層をクラウン形状とすることが好ましい。
また、導電性弾性層は、硬度を調整して柔軟性を付与するために、ナフテン系オイルのようなプロセスオイルおよび液状ポリマーを含んでいてもよい。
弾性材料としては、例えば、天然ゴム、ポリノルボルネンゴム(NOR)、エチレンプロピレンゴム(EPDM)、スチレンブタジエンゴム(SBR)、シリコーンゴム、ウレタンゴム、エピクロロヒドリンゴム、イソプレンゴム(IR)、ブタジエンゴム(BR)、ニトリルブタジエンゴム(NBR)およびクロロプレンゴム(CR)などの合成ゴム、さらには、ポリアミド樹脂、ポリウレタン樹脂、シリコーン樹脂などが挙げられる。
本発明の帯電ローラは、導電性弾性層と抵抗調整層との間に、軟化剤移行防止層を備えるのが好ましい。
軟化剤移行防止層は、導電性弾性層に含まれる軟化剤の抵抗調整層へのブリードを抑制または阻止する機能を有し、その構成材料は、当該技術分野で用いられる材料であれば特に限定されない。
軟化剤移行防止層は、例えば、N-メトキシメチル化ナイロンのような樹脂に、導電性弾性層で例示したカーボンブラックのような導電剤が配合されて形成される。その体積抵抗率は、1×10~1×103Ω・cmを示すように調整されるのが好ましい。
軟化剤移行防止層の膜厚は、特に限定されないが、好ましくは2~20μm、より好ましくは5~10μmである。
抵抗調整層は、導電性弾性層中に含有される軟化油や可塑剤などの帯電ローラ表面へのブリードアウトを防止すると共に、帯電ローラ全体の電気抵抗を調整する機能を有し、その構成材料としては、当該技術分野で用いられる材料であれば特に限定されない。
抵抗調整層は、導電性または半導電性を有する層であり、例えば、樹脂に導電性弾性層で例示したカーボンブラックのような導電剤が配合されて形成される。
樹脂としては、エピクロルヒドリンゴム(CHR)、ニトリルブタジエンゴム(NBR)、ポリオレフィン系熱可塑性エラストマー、ウレタン系熱可塑性エラストマー、ポリスチレン系熱可塑性エラストマー、フッ素ゴム系熱可塑性エラストマー、ポリエステル系熱可塑性エラストマー、ポリアミド系熱可塑性エラストマー、ポリブタジエン系熱可塑性エラストマー、エチレン酢酸ビニル系熱可塑性エラストマー、ポリ塩化ビニル系熱可塑性エラストマー、塩素化ポリエチレン系熱可塑性エラストマーなどが挙げられ、これらの1種を単独でまたは2種類以上を混合体あるいは共重合体として用いることができる。
抵抗調整層の膜厚は、特に限定されないが、好ましくは100~400μm、より好ましくは200~300μmである。
表面粗さは、帯電ローラの表面層(抵抗層)の研磨条件の変更により調整することができる。また、より帯電を安定化させるために、帯電ローラの表面層(抵抗層)にフィラーを含有させてもよい。この場合、フィラーの種類、粒径を変更することにより、帯電ローラ表面の突起の分散状態をよくすることが望ましい。
フィラーとしては、例えば、炭酸カルシウム、タルク、マイカ、シリカ、アルミナ、水酸化アルミニウム、水酸化マグネシウム、硫酸バリウム、酸化亜鉛、ゼオライト、ウオラストナイト、けいそう土、ガラスビーズ、ベントナイト、モンモリナイト、アスベスト、中空ガラス球、黒鉛、二硫化モリブデン、酸化チタン、アルミニウム繊維、ステンレススチール繊維、黄銅繊維、アルミニウム粉末、木粉、もみ殻、グラファイト、金属粉、導電性金属酸化物、有機金属化合物、有機金属塩などが挙げられ、これらの1種を単独でまたは2種以上を組み合わせて用いることができる。
本発明の帯電ローラは、抵抗調整層上に保護層を備えるのが好ましい。
保護層は、下層に含まれる軟化剤の上層へのブリードを抑制または阻止する機能を有し、その構成材料は、当該技術分野で用いられる材料であれば特に限定されない。
保護層は、例えば、N-メトキシメチル化ナイロンのような樹脂に、導電性弾性層で例示したカーボンブラックのような導電剤が配合されて形成される。その体積抵抗率は、1×103~1×1012Ω・cmを示すように調整されるのが好ましい。
保護層の膜厚は、特に限定されないが、好ましくは1~100μm、より好ましくは5~10μmである。
露光手段は、画像情報に基づいて変調された光を出射する装置である。図1では、半導体レーザまたは発光ダイオードを光源として備え、光源から出力されるレーザビーム光を、帯電器710と現像器730との間の感光体Fの表面(外周面)Faに照射することによって、帯電された感光体Fの表面Faに対して画像情報に応じた露光を施す。光は、主走査方向である感光体Fの回転軸線α1の延びる方向に繰返し走査され、これらが結像して感光体Fの表面Faに静電潜像が順次形成される。すなわち、帯電器710により均一に帯電された感光体Fの帯電量がレーザビームの照射および非照射によって差異が生じて静電潜像が形成される。
現像手段(現像器)730は、露光によって感光体Fの表面Faに形成される静電潜像を、現像剤(トナー)Dによって現像する装置であり、感光体Fと対向して設けられ、感光体Fの表面Faにトナーを供給する現像ローラ730aと、現像ローラ730aを感光体1の回転軸線α1と平行または略平行な回転軸線α2まわりに回転可能に支持すると共にその内部空間にトナーを含む現像剤を収容するケーシング730bとを備える。
転写手段(転写帯電器)740は、現像によって感光体Fの表面Faに形成された可視像であるトナー像を、図示しない搬送手段によって所定の搬送方向(矢符W方向)から感光体Fと転写帯電器740との間に供給される記録媒体である転写紙P上に転写させる装置である。転写手段は、高電圧印加装置741により、感光体Fと転写帯電器740との間に形成される転写ニップ部TNに所定の高電圧を印加する。転写手段は、上記の帯電手段と同様に構成することができ、例えば、記録媒体PにトナーDと逆極性の電荷を与えることによってトナー像を記録媒体P上に転写させる接触式の転写手段である。
定着手段(定着器)760は、転写手段740により記録媒体Pに転写されたトナー像を記録媒体Pに定着させる装置である。定着器760は、搬送方向Wにおいて感光体Fと転写帯電器740との間の転写ニップ部TNよりも下流側に設けられ、例えば、定着器760は、加熱ローラ760aと、それに対向して設けられる加圧ローラ760bとを備えて、加圧ローラ760bは、加熱ローラ760aに押圧されて定着ニップ部FNを形成する。
クリーニング手段(クリーナ装置)750は、転写手段740による転写動作後に感光体Fの表面Faに残留するトナーを除去し回収する清掃装置である。クリーナ装置750は、感光体Fの表面Faに残留するトナーDを剥離させるクリーニングブレード750aと、それによって剥離されたトナーDを収容する回収用ケーシング750bとを備える。
本発明の画像形成装置は、感光体に残留する表面電荷を除電する除電手段をさらに備えるのが好ましく、クリーニング手段と共に設けられるのが好ましい。
除電手段としては、当該技術分野で公知の装置を用いることができる。
本発明の画像形成装置の動作を、上記の画像形成装置700を用いて説明する。
まず、感光体Fが駆動手段によって所定の回転方向(矢符R方向)に回転駆動されると、露光手段720による光の結像点よりも感光体Fの回転方向上流側に設けられる帯電器710によって、感光体Fの表面が所定電位に均一に帯電される。
露光手段720による光の結像点よりも感光体1の回転方向下流側に設けられる現像器730から、静電潜像の形成された感光体Fの表面Faにトナーが供給されて静電潜像が現像され、トナー像が形成される。
トナー像が転写された転写紙Pは、搬送手段によって定着器760に搬送され、定着器760の加熱ローラ760aと加圧ローラ760bとの当接部、定着ニップ部FNを通過する際にトナー像が加熱および加圧され、転写紙Pに定着されて堅牢な画像となる。このようにして画像が形成された転写紙Pは、搬送手段によって画像形成装置700の外部へ排紙される。
このようにしてトナーが除去された感光体Fの表面Faの電荷は除去され、その表面上の静電潜像が消失する。その後、感光体1はさらに回転駆動され、再度帯電から始まる一連の動作が繰返されて連続的に画像が形成される。
画像形成装置700がクリーナ750の下流側でかつ帯電手段710に至るまでに除電手段を備える場合には、除電手段の除電ランプからの光によって、感光体Fの表面Faの電荷が効率的にかつより確実に除去されて、感光体Fの表面Fa上の静電潜像が消失する。
電荷発生物質として、実施例1~5および7~9ならびに比較例1~2では製造例2において製造したオキソチタニルフタロシアニンを、実施例6では製造例1において製造したオキソチタニルフタロシアニンをそれぞれ用い、また実施例1~4および6~9ならびに比較例1~2では、基体上に電荷発生層形成用塗布液および電荷輸送層形成用塗布液をこの順に塗布して、基体F1上に電荷発生層F22および電荷輸送層F23がこの順で積層された、図2(b)の積層型感光体F02を作製し、実施例5では、基体上に、下引き層形成用塗布液、電荷発生層形成用塗布液および電荷輸送層形成用塗布液をこの順に塗布して、基体F1上に下引き層F21、電荷発生層F22および電荷輸送層F23がこの順で積層された、図2(a)の積層型感光体F01を作製した。
(製造例1)
o-フタロジニトリル40gと4塩化チタン18g、α-クロロナフタレン500mlを窒素雰囲気下200~250℃で3時間加熱撹拌し、100~130℃まで放冷後、熱時濾過し、100℃に加熱したα-クロロナフタレン200mlで洗浄してジクロロチタニウムフタロシアニン粗生成物を得た。得られた粗生成物を室温にてα-クロロナフタレン200ml、次いでメタノール200mlで洗浄後、さらにメタノール500ml中で1時間懸濁洗浄した。
濾過後、得られた粗生成物を濃硫酸100ml中で撹拌、溶解させた後、不溶物を濾別した。得られた硫酸溶液を水3000ml中に注ぎ、析出した結晶を濾取し、水500ml中で、pHが6~7になるまで懸濁洗浄を繰り返した後、濾取してウエットケーキを得た。
得られたウエットケーキをジクロロメタンで1時間処理し、メタノールで洗浄した後、乾燥してオキソチタニルフタロシアニン結晶(結晶Y1)を得た。
X線回折装置:株式会社リガク製、型式:ATX-G(薄膜構造評価用)
X線源 :CuKα=1.541Å
電圧 :50kV
電流 :300mA
スタート角度:5.0deg.
ストップ角度:30.0deg.
ステップ角度:0.02deg.
測定時間 :5deg./min.
測定方法 :θ/2θスキャン方法
製造例1と同様の方法でジクロロチタニウムフタロシアニン粗生成物を得た後、得られた粗生成物を室温にてα-クロロナフタレン200ml、次いでメタノール200mlで洗浄後、さらにメタノール500ml中で1時間懸濁洗浄した。
濾過後、得られた粗生成物を水500ml中で、pHが6~7になるまで、懸濁洗浄を繰り返した後、濾取してウエットケーキを得た。
得られたウエットケーキを乾燥させてオキソチタニルフタロシアニン結晶(結晶Y2)を得た。
製造例1と同様にして、得られたオキソチタニルフタロシアニン結晶のX線回折スペクトルを測定した。
図5は、製造例2のオキソチタニルフタロシアニンのX線回折スペクトルを示す図であり、この図から、ブラッグ角(2θ±0.2°)7.3°、9.4°、9.7°、26.2°および27.3°に少なくとも回折ピークを有しかつ27.3°が最大ピークであるY型オキソチタニルフタロシアニンであることがわかる。
(感光体の作製)
(電荷発生層の形成)
電荷発生物質として、製造例2で得られたオキソチタニルフタロシアニン1質量部、およびバインダ樹脂として、ポリビニルブチラール(PVB)樹脂(積水化学工業株式会社製、商品名:BX-1)1質量部を、メチルエチルケトン98質量部に加え、メディアとしてガラスビーズ(アズワン株式会社製、商品名:BZ-1、ビーズ径:1mm)用い、ペイントシェーカーにて2時間分散処理して電荷発生層形成用塗布液3kgを調製した。
電荷輸送物質として、次式:
以上のようにして、図2に示す積層型感光体F02を作製した。
(導電性弾性体層の形成)
弾性材料として、ポリノルボルネンゴム(NOR、日本ゼオン株式会社製、製品名:ノーソレックス)100質量部、導電剤として、カーボンブラック(ケッチェンブラック、ライオン・スペシャリティ・ケミカルズ株式会社製、製品名:ケッチェンブラックEC)50質量部および軟化剤として、ナフテン系オイル(出光興産株式会社製、製品名:ダフニー クリーナー)400質量部を混練して、導電性弾性体層形成用のゴム組成物を調製した。
次いで、直径8mm、長さ320mmの芯金(導電性支持体)の外周に接着剤を塗布し、その外周に得られたゴム組成物を、金型加硫を利用して、全体の外径が15mmになるように導電性弾性体層を形成した。
軟化剤移行防止層形成材料として、N-メトキシメチル化ナイロン(帝国化学産業株式会社(現:ナガセケムテックス株式会社)製、製品名:トレジン)100質量部および導電剤として、カーボンブラック(ライオン・スペシャリティ・ケミカルズ株式会社製、製品名:ケッチェンブラックEC)15質量部を混合して、カーボンブラック分散樹脂液を調製した。
次いで、得られたカーボンブラック分散樹脂液を導電性弾性体層の外周にスプレーコーティングした後、乾燥して、膜厚6~10μmの軟化剤移行防止層を形成した。
抵抗調整層形成材料として、エピクロロヒドリンゴム(CHR、日本ゼオン株式会社製、製品名:Hydrin3106)100質量部および導電剤として、第4級アンモニウムスルホン酸塩(花王株式会社製、製品名:KP-4728)1質量部を混合して、抵抗調整層形成材料を調製した。
得られた抵抗調整層形成材料のゴム組成物をロール混練した後、メチルエチルケトン/メチルイソブチルケトン=3/1(質量比)の溶剤に溶解し、粘度500センチポイズに調製してディップ液を作製した。
次いで、得られたディップ液に、軟化剤移行防止層が形成された芯金を浸漬してコーティングした後、引き上げて乾燥させ、次いで温度160℃で加熱処理して架橋させて、膜厚230μmの抵抗調整層を形成した。
保護層形成材料として、下記に示す各成分を用いて樹脂液を調製した。
保護層形成材料として、N-メトキシメチル化ナイロン(帝国化学産業株式会社(現:ナガセケムテックス株式会社)製、製品名:トレジン)100質量部および導電剤として、カーボンブラック(ライオン・スペシャリティ・ケミカルズ株式会社製、製品名:ケッチェンブラックEC)8質量部を混合して、保護層形成材料を調製した。
次いで、得られた保護層形成材料の樹脂液を、抵抗調整層が形成された芯金にスプレーコーティングした後、乾燥させて、膜厚6μmの保護層を形成した。
その結果、外径16mmの導電性ロール(帯電ローラ)が得られた。
抵抗率計(三菱化学株式会社(現:三菱ケミカルアナリテック)製、型式:ハイレスターUP)を用いて、印加電圧100Vで帯電ローラの抵抗を測定したところ、1×105Ωであった。
電荷発生層形成用塗布液の塗布条件を調整して、電荷発生層の膜厚0.04μmを0.09μmになるように形成すること以外は、実施例1と同様にして感光体および帯電ローラを作製した。
帯電ローラの抵抗調整層の形成において、厚みを80μmに調整して、帯電ローラの抵抗1×105Ωが1×104Ωになるようにすること以外は、実施例1と同様にして感光体および帯電ローラを作製した。
帯電ローラの抵抗調整層の形成において、厚みを370μmに調整して、帯電ローラの抵抗1×105Ωが1×106Ωになるようにすること以外は、実施例1と同様にして感光体および帯電ローラを作製した。
感光体の作製において、基体と電荷発生層との間に下引き層を形成すること以外は、実施例1と同様にして感光体および帯電ローラを作製した。
(下引き層の形成)
酸化チタン(昭和電工株式会社製、商品名:TS-043)3質量部および共重合ポリアミド(ナイロン)(東レ株式会社製、商品名:CM8000)2質量部を、メチルアルコール25質量部に加え、ペイントシェーカー(分散機)にて8時間分散処理して下引き層形成用塗布液3kgを調製した。
次いで、浸漬塗布法にて下引き層形成用塗布液を基体の表面に塗布した。具体的には、得られた塗布液を塗布槽に満たし、直径30mm、長さ357mmのアルミニウム製のドラム状基体を塗布液に浸漬した後、引き上げ、乾燥して、膜厚1.0μmの下引き層を形成した。
感光体の作製において、電荷発生物質として、製造例1で得られたオキソチタニルフタロシアニンを用いること以外は、実施例1と同様にして感光体および帯電ローラを作製した。
実施例1と同様にして感光体および帯電ローラを作製した。
得られた感光体および帯電ローラを、除電手段(除電システム)を搭載する画像形成装置を用いた評価に用いた。
帯電ローラの抵抗調整層の形成において、厚みを500μmに調整して、帯電ローラの抵抗1×105Ωが1×107Ωになるようにすること以外は、実施例1と同様にして感光体および帯電ローラを作製した。
帯電ローラの抵抗調整層の形成において、導電剤の量を10倍に増やして、帯電ローラの抵抗1×105Ωが1×102Ωになるようにすること以外は、実施例1と同様にして感光体および帯電ローラを作製した。
電荷発生層形成用塗布液の塗布条件を調整して、電荷発生層の膜厚0.04μmが0.2μmになるように形成すること以外は、実施例1と同様にして感光体および帯電ローラを作製した。
電荷発生層形成用塗布液の塗布条件を調整して、電荷発生層の膜厚0.04μmが0.005μmになるように形成すること以外は、実施例1と同様にして感光体および帯電ローラを作製した。
デジタル複写機(シャープ株式会社製、商品名:MX-5140FN)を改造した試験用複写機を用い、実施例1~9および比較例1~2で作製した感光体および帯電ローラについて、感光体表面の周速(プロセススピード)70mm/sec、140mm/secおよび160mm/secについて、25℃/50%(常温/常湿)、35℃/85%(高温/高湿)および5℃/10%(低温/低湿)の一定環境下における下記の項目を評価した。
各環境下においてハーフトーン画像で実写エージングを200K枚行い、初期から50K枚毎にスジ状帯電ムラを評価した。
得られた結果を、下記の基準で判定した。
VG:スジが全く見られず、非常に良好である
G :スジが殆ど見られず、良好である
B :はっきりとスジが見られ、良好ではない
各環境下において黒べた画像で実写エージングを200K枚行い、初期とエージング後の濃度を、測色色差計(分光濃度計、エックスライト(X-Light)社製、型式:504)を用いて測定し、初期とエージング後の画像濃度差(ΔI.D.)を測定し、画像濃度を評価した。
得られた結果を、下記の基準で判定した。
VG:非常に良好である(ΔI.D.≦0.15)。
G :良好である(0.15<ΔI.D.<0.35)。
B :良好でない(0.35≦ΔI.D.)。
各環境下において白べた画像で実写エージングを200K枚行い、初期とエージング後の白色度を、分光式色差計(測色色差計、日本電色工業株式会社製、型式:SZ90型)を用いて測定し、初期とエージング後の画像かぶり差(ΔB.G.)を測定し、画像かぶりを評価した。
得られた結果を、下記の基準で判定した。
VG:非常に良好である(ΔB.G.≦0.40)。
G :良好である(0.40<ΔB.G.<1.00)。
B :良好でない(1.00≦ΔB.G.)。
評価1~3の判定結果に基づいて、下記の基準で総合判定した。
VG:各項目においてVGが6個以上あり、Bがない
G :各項目においてBがない
B :Bが1個以上ある
得られた結果を、電荷発生層の膜厚および帯電ローラの抵抗と共に表1~3に示す。
・電荷発生物質としてオキソチタニルフタロシアニン系化合物を含みかつその膜厚が0.01~0.1μmである電荷発生層と電荷輸送物質とがこの順で導電性支持体上に積層された積層型感光層を少なくとも備えた感光体およびその感光体に直接接触して帯電させる直流帯電方式の帯電手段を備えた本発明の画像形成装置(実施例1~9)では、長期使用によってもスジ状の帯電ムラ画像の発生が抑制され、画像濃度および画像かぶりが良好であること
・これに対して、本発明の画像形成装置(実施例1)と同じ帯電ローラを備えていても、感光体の電荷発生層の膜厚が0.2μmと厚い場合(比較例1)には、ハーフトーン画像上のスジ状の帯電ムラが悪化すること
・また、本発明の画像形成装置(実施例1)と同じ帯電ローラを備えていても、感光体の電荷発生層の膜厚が0.005μmと薄い場合(比較例2)には、電荷発生層の膜厚が薄いため、ハーフトーン画像上のスジ状の帯電ムラの発生はある程度抑制されるが、画像濃度差が悪化すること
・電荷発生物質として特定のX線回折スペクトルを有するY型オキソチタニルフタロシアニン(Y1結晶)を用いた場合(実施例6)には、同じY型オキソチタニルフタロシアニン(Y2結晶)を用いた場合(実施例1)よりも、長期使用によってもスジ状の帯電ムラの発生が特に低温低湿環境で抑制され、画像濃度および画像のかぶりが良好であること
・導電性支持体と積層型感光層との間に下引き層をさらに備える場合(実施例5)には、下引き層を備えない場合(実施例1)よりも、長期使用によってもスジ状の帯電ムラの発生が特に低温低湿環境で抑制され、画像濃度および画像のかぶりが良好であること
・除電手段をさらに備える場合(実施例7)には、除電手段を備えない場合(実施例1)よりも、長期使用によってもスジ状の帯電ムラの発生が特に低温低湿環境で抑制され、画像濃度および画像のかぶりが良好であること
・本発明の画像形成装置(実施例1)と同じ感光体を備えていても、帯電ローラの抵抗が1×107Ωと高い場合(実施例8)には、ハーフトーン画像上のスジ状の帯電ムラが若干悪化する場合があるが、特に高温高湿環境で画像のかぶりにはさらに良好であること
・本発明の画像形成装置(実施例1)と同じ感光体を備えていても、帯電ローラの抵抗が1×102Ωと低い場合(実施例9)には、画像のかぶりが若干悪化する場合があるが、特に低温低湿環境でハーフトーン画像上のスジ状の帯電ムラがさらに良化すること
・本発明の画像形成装置(実施例1~9)において、それぞれ感光体周速160mm/secの場合には、それぞれの感光体周速70mm/secおよび140mm/secの場合と比較して、長期使用によってもスジ状の帯電ムラ画像の発生が抑制され、画像濃度および画像かぶりが良好であるという本発明の効果が低下する傾向にあること
F02 下引き層なしの積層型電子写真感光体
F1 基体(導電性支持体)
F21 下引き層(中間層)
F22 電荷発生層
F23 電荷輸送層
Fa 感光体表面
710 帯電手段(帯電器)
711 直流電源(電圧印加装置)
720 露光手段(露光装置)
730 現像手段(現像器)
730a 現像ローラ
730b ケーシング
740 転写手段(転写帯電器)
741 高電圧印加装置
750 クリーニング手段(クリーナ装置)
750a クリーニングブレード
750b 回収用ケーシング
760 定着手段(定着器)
760a 加熱ローラ
760b 加圧ローラ
770 分離手段(分離爪)
780 筐体(ハウジング)
F 電子写真感光体
D 現像剤(トナー)
α1 回転軸線
α2 回転軸線
R 矢符(電子写真感光体の回転方向)
P 記録媒体(記録紙または転写紙)
W 矢符(記録媒体の搬送方向)
H 水平方向
V 鉛直方向
TN 転写ニップ部
FN 定着ニップ部
G1 芯金(導電性支持体)
G2 導電性弾性体層
G3 軟化剤移行防止層
G4 抵抗調整層
G5 保護層
UCP 当接部上流
DCP 当接部下流
A 実線
B 点線
C 点線
D 実線
E 不安定領域
Claims (6)
- 電子写真感光体と、前記電子写真感光体を帯電させる帯電手段と、帯電された前記電子写真感光体を露光して静電潜像を形成する露光手段と、露光によって形成された前記静電潜像を現像してトナー像を形成する現像手段と、現像によって形成された前記トナー像を記録媒体上に転写する転写手段と、転写された前記トナー像を前記記録媒体上に定着して画像を形成する定着手段と、前記電子写真感光体に残留するトナーを除去し回収するクリーニング手段を少なくとも備え、
前記電子写真感光体が、基体上に電荷発生物質を含有する電荷発生層と電荷輸送物質を含有する電荷輸送層とがこの順で積層された積層型感光層を少なくとも備え、
前記電荷発生層が、前記電荷発生物質としてY型オキソチタニルフタロシアニン系化合物を含みかつ0.01~0.07μmの膜厚を有し、
前記帯電手段が、前記電子写真感光体に直接接触して帯電させる直流帯電方式でありかつ印加電圧100Vのときに5×10 3 ~5×10 4 Ωの抵抗を有する帯電ローラを備える
ことを特徴とする画像形成装置。 - 電子写真感光体と、前記電子写真感光体を帯電させる帯電手段と、帯電された前記電子写真感光体を露光して静電潜像を形成する露光手段と、露光によって形成された前記静電潜像を現像してトナー像を形成する現像手段と、現像によって形成された前記トナー像を記録媒体上に転写する転写手段と、転写された前記トナー像を前記記録媒体上に定着して画像を形成する定着手段と、前記電子写真感光体に残留するトナーを除去し回収するクリーニング手段を少なくとも備え、
前記電子写真感光体が、基体上に電荷発生物質を含有する電荷発生層と電荷輸送物質を含有する電荷輸送層とがこの順で積層された積層型感光層を少なくとも備え、
前記電荷発生層が、前記電荷発生物質としてCuKα特性X線(1.541Å)を用いたX線回折スペクトルにおいて、ブラッグ角(2θ±0.2°)7.3°、9.4°、9.7°、26.2°および27.3°に少なくとも回折ピークを有しかつ9.4°と9.7°の重なったピーク束が最大ピークであるY型オキソチタニルフタロシアニンを含みかつ0.01~0.1μmの膜厚を有し、
前記帯電手段が、前記電子写真感光体に直接接触して帯電させる直流帯電方式である
ことを特徴とする画像形成装置。 - 前記帯電手段が、印加電圧100Vのときに1×103~1×105Ωの抵抗を有する帯電ローラを備える請求項2に記載の画像形成装置。
- 前記電子写真感光体が、前記基体と前記積層型感光層との間に下引き層をさらに備える請求項1~3のいずれか1つに記載の画像形成装置。
- 前記画像形成装置が、前記電子写真感光体に残留する表面電荷を除電する除電手段をさらに備える請求項1~4のいずれか1つに記載の画像形成装置。
- 前記電子写真感光体が、70~140mm/秒の周速の設定を有する請求項1~5のいずれか1つに記載の画像形成装置。
Priority Applications (1)
| Application Number | Priority Date | Filing Date | Title |
|---|---|---|---|
| JP2019111215A JP7261663B2 (ja) | 2019-06-14 | 2019-06-14 | 画像形成装置 |
Applications Claiming Priority (1)
| Application Number | Priority Date | Filing Date | Title |
|---|---|---|---|
| JP2019111215A JP7261663B2 (ja) | 2019-06-14 | 2019-06-14 | 画像形成装置 |
Publications (2)
| Publication Number | Publication Date |
|---|---|
| JP2020204662A JP2020204662A (ja) | 2020-12-24 |
| JP7261663B2 true JP7261663B2 (ja) | 2023-04-20 |
Family
ID=73837965
Family Applications (1)
| Application Number | Title | Priority Date | Filing Date |
|---|---|---|---|
| JP2019111215A Active JP7261663B2 (ja) | 2019-06-14 | 2019-06-14 | 画像形成装置 |
Country Status (1)
| Country | Link |
|---|---|
| JP (1) | JP7261663B2 (ja) |
Citations (5)
| Publication number | Priority date | Publication date | Assignee | Title |
|---|---|---|---|---|
| JP2005140945A (ja) | 2003-11-06 | 2005-06-02 | Canon Inc | 帯電ローラ、帯電ローラの製造方法及び画像形成装置 |
| JP2005165027A (ja) | 2003-12-03 | 2005-06-23 | Ricoh Co Ltd | 画像形成装置 |
| JP2005189765A (ja) | 2003-12-26 | 2005-07-14 | Canon Inc | 電子写真感光体、該電子写真感光体を有するプロセスカートリッジ及び電子写真装置 |
| WO2010071118A1 (ja) | 2008-12-16 | 2010-06-24 | 富士電機システムズ株式会社 | 電子写真感光体、その製造方法および電子写真装置 |
| JP2010244000A (ja) | 2009-03-19 | 2010-10-28 | Sharp Corp | 電子写真感光体及びそれを用いた画像形成装置 |
-
2019
- 2019-06-14 JP JP2019111215A patent/JP7261663B2/ja active Active
Patent Citations (5)
| Publication number | Priority date | Publication date | Assignee | Title |
|---|---|---|---|---|
| JP2005140945A (ja) | 2003-11-06 | 2005-06-02 | Canon Inc | 帯電ローラ、帯電ローラの製造方法及び画像形成装置 |
| JP2005165027A (ja) | 2003-12-03 | 2005-06-23 | Ricoh Co Ltd | 画像形成装置 |
| JP2005189765A (ja) | 2003-12-26 | 2005-07-14 | Canon Inc | 電子写真感光体、該電子写真感光体を有するプロセスカートリッジ及び電子写真装置 |
| WO2010071118A1 (ja) | 2008-12-16 | 2010-06-24 | 富士電機システムズ株式会社 | 電子写真感光体、その製造方法および電子写真装置 |
| JP2010244000A (ja) | 2009-03-19 | 2010-10-28 | Sharp Corp | 電子写真感光体及びそれを用いた画像形成装置 |
Also Published As
| Publication number | Publication date |
|---|---|
| JP2020204662A (ja) | 2020-12-24 |
Similar Documents
| Publication | Publication Date | Title |
|---|---|---|
| JP6639256B2 (ja) | 電子写真装置、およびプロセスカートリッジ | |
| CN103376675B (zh) | 电子照相感光体、处理盒和成像装置 | |
| US8568946B2 (en) | Electrophotographic photoreceptor and image formation device comprising same | |
| JP2015158599A (ja) | 電子写真感光体、プロセスカートリッジ及び電子写真装置 | |
| JP2009058789A (ja) | 電子写真装置およびプロセスカートリッジ | |
| JP5147274B2 (ja) | 新規なイミド化合物及びそれを用いた電子写真感光体、プロセスカートリッジ及び電子写真装置 | |
| CN101196696A (zh) | 电子照相感光体和包括其的图像形成装置 | |
| JP7261663B2 (ja) | 画像形成装置 | |
| JP7232720B2 (ja) | 画像形成装置 | |
| JP4911711B2 (ja) | 電子写真感光体、電子写真感光体の製造方法、プロセスカートリッジ及び電子写真装置 | |
| JP2024027003A (ja) | 画像形成装置 | |
| JP5655490B2 (ja) | 電子写真感光体、該感光体を用いた画像形成装置、および電子写真カートリッジ | |
| JP7759228B2 (ja) | 電子写真感光体およびそれを備えた画像形成装置 | |
| JP7475228B2 (ja) | 画像形成装置 | |
| JP6415184B2 (ja) | 電子写真装置、及びプロセスカートリッジ | |
| US20260099102A1 (en) | Electrophotographic photoreceptor, and process cartridge and image forming apparatus including the same | |
| JP2013011885A (ja) | 電子写真感光体、プロセスカートリッジ、電子写真装置および積層膜 | |
| JP2024081436A (ja) | 画像形成装置およびそれを用いる画像形成方法 | |
| JP2020140022A (ja) | 画像形成装置 | |
| JP2009075246A (ja) | 像保持体及び画像形成装置 | |
| JP6573364B2 (ja) | プロセスカートリッジおよび画像形成装置 | |
| JP2024013572A (ja) | 画像形成装置およびそれを用いる画像形成方法、帯電装置 | |
| JP4720531B2 (ja) | 画像形成装置 | |
| JP2004004292A (ja) | 電子写真感光体および画像形成装置 | |
| JP2006243487A5 (ja) |
Legal Events
| Date | Code | Title | Description |
|---|---|---|---|
| A621 | Written request for application examination |
Free format text: JAPANESE INTERMEDIATE CODE: A621 Effective date: 20220323 |
|
| A131 | Notification of reasons for refusal |
Free format text: JAPANESE INTERMEDIATE CODE: A131 Effective date: 20221213 |
|
| A521 | Request for written amendment filed |
Free format text: JAPANESE INTERMEDIATE CODE: A523 Effective date: 20230202 |
|
| RD02 | Notification of acceptance of power of attorney |
Free format text: JAPANESE INTERMEDIATE CODE: A7422 Effective date: 20230202 |
|
| TRDD | Decision of grant or rejection written | ||
| A01 | Written decision to grant a patent or to grant a registration (utility model) |
Free format text: JAPANESE INTERMEDIATE CODE: A01 Effective date: 20230328 |
|
| A61 | First payment of annual fees (during grant procedure) |
Free format text: JAPANESE INTERMEDIATE CODE: A61 Effective date: 20230410 |
|
| R150 | Certificate of patent or registration of utility model |
Ref document number: 7261663 Country of ref document: JP Free format text: JAPANESE INTERMEDIATE CODE: R150 |




