JP7183003B2 - 画像表示装置、接眼光学系、及び、接眼光学系の製造方法 - Google Patents

画像表示装置、接眼光学系、及び、接眼光学系の製造方法 Download PDF

Info

Publication number
JP7183003B2
JP7183003B2 JP2018215326A JP2018215326A JP7183003B2 JP 7183003 B2 JP7183003 B2 JP 7183003B2 JP 2018215326 A JP2018215326 A JP 2018215326A JP 2018215326 A JP2018215326 A JP 2018215326A JP 7183003 B2 JP7183003 B2 JP 7183003B2
Authority
JP
Japan
Prior art keywords
image display
optical system
lens
eyepiece optical
display device
Prior art date
Legal status (The legal status is an assumption and is not a legal conclusion. Google has not performed a legal analysis and makes no representation as to the accuracy of the status listed.)
Active
Application number
JP2018215326A
Other languages
English (en)
Other versions
JP2020085956A5 (ja
JP2020085956A (ja
Inventor
正和 東原
真梨奈 北上
Current Assignee (The listed assignees may be inaccurate. Google has not performed a legal analysis and makes no representation or warranty as to the accuracy of the list.)
Canon Inc
Original Assignee
Canon Inc
Priority date (The priority date is an assumption and is not a legal conclusion. Google has not performed a legal analysis and makes no representation as to the accuracy of the date listed.)
Filing date
Publication date
Application filed by Canon Inc filed Critical Canon Inc
Priority to JP2018215326A priority Critical patent/JP7183003B2/ja
Priority to US16/678,279 priority patent/US11112562B2/en
Publication of JP2020085956A publication Critical patent/JP2020085956A/ja
Publication of JP2020085956A5 publication Critical patent/JP2020085956A5/ja
Application granted granted Critical
Publication of JP7183003B2 publication Critical patent/JP7183003B2/ja
Active legal-status Critical Current
Anticipated expiration legal-status Critical

Links

Images

Classifications

    • GPHYSICS
    • G02OPTICS
    • G02BOPTICAL ELEMENTS, SYSTEMS OR APPARATUS
    • G02B6/00Light guides; Structural details of arrangements comprising light guides and other optical elements, e.g. couplings
    • G02B6/10Light guides; Structural details of arrangements comprising light guides and other optical elements, e.g. couplings of the optical waveguide type
    • G02B6/12Light guides; Structural details of arrangements comprising light guides and other optical elements, e.g. couplings of the optical waveguide type of the integrated circuit kind
    • G02B6/12007Light guides; Structural details of arrangements comprising light guides and other optical elements, e.g. couplings of the optical waveguide type of the integrated circuit kind forming wavelength selective elements, e.g. multiplexer, demultiplexer
    • G02B6/12009Light guides; Structural details of arrangements comprising light guides and other optical elements, e.g. couplings of the optical waveguide type of the integrated circuit kind forming wavelength selective elements, e.g. multiplexer, demultiplexer comprising arrayed waveguide grating [AWG] devices, i.e. with a phased array of waveguides
    • G02B6/12023Light guides; Structural details of arrangements comprising light guides and other optical elements, e.g. couplings of the optical waveguide type of the integrated circuit kind forming wavelength selective elements, e.g. multiplexer, demultiplexer comprising arrayed waveguide grating [AWG] devices, i.e. with a phased array of waveguides characterised by means for reducing the polarisation dependence, e.g. reduced birefringence
    • GPHYSICS
    • G02OPTICS
    • G02BOPTICAL ELEMENTS, SYSTEMS OR APPARATUS
    • G02B25/00Eyepieces; Magnifying glasses
    • G02B25/001Eyepieces
    • GPHYSICS
    • G02OPTICS
    • G02BOPTICAL ELEMENTS, SYSTEMS OR APPARATUS
    • G02B27/00Optical systems or apparatus not provided for by any of the groups G02B1/00 - G02B26/00, G02B30/00
    • G02B27/01Head-up displays
    • G02B27/017Head mounted
    • G02B27/0172Head mounted characterised by optical features
    • GPHYSICS
    • G02OPTICS
    • G02BOPTICAL ELEMENTS, SYSTEMS OR APPARATUS
    • G02B27/00Optical systems or apparatus not provided for by any of the groups G02B1/00 - G02B26/00, G02B30/00
    • G02B27/28Optical systems or apparatus not provided for by any of the groups G02B1/00 - G02B26/00, G02B30/00 for polarising
    • G02B27/283Optical systems or apparatus not provided for by any of the groups G02B1/00 - G02B26/00, G02B30/00 for polarising used for beam splitting or combining
    • GPHYSICS
    • G02OPTICS
    • G02BOPTICAL ELEMENTS, SYSTEMS OR APPARATUS
    • G02B5/00Optical elements other than lenses
    • G02B5/04Prisms
    • GPHYSICS
    • G02OPTICS
    • G02BOPTICAL ELEMENTS, SYSTEMS OR APPARATUS
    • G02B6/00Light guides; Structural details of arrangements comprising light guides and other optical elements, e.g. couplings
    • G02B6/0001Light guides; Structural details of arrangements comprising light guides and other optical elements, e.g. couplings specially adapted for lighting devices or systems
    • G02B6/0011Light guides; Structural details of arrangements comprising light guides and other optical elements, e.g. couplings specially adapted for lighting devices or systems the light guides being planar or of plate-like form
    • G02B6/0065Manufacturing aspects; Material aspects
    • GPHYSICS
    • G02OPTICS
    • G02BOPTICAL ELEMENTS, SYSTEMS OR APPARATUS
    • G02B6/00Light guides; Structural details of arrangements comprising light guides and other optical elements, e.g. couplings
    • G02B6/10Light guides; Structural details of arrangements comprising light guides and other optical elements, e.g. couplings of the optical waveguide type
    • G02B6/12Light guides; Structural details of arrangements comprising light guides and other optical elements, e.g. couplings of the optical waveguide type of the integrated circuit kind
    • G02B6/12007Light guides; Structural details of arrangements comprising light guides and other optical elements, e.g. couplings of the optical waveguide type of the integrated circuit kind forming wavelength selective elements, e.g. multiplexer, demultiplexer
    • G02B6/12009Light guides; Structural details of arrangements comprising light guides and other optical elements, e.g. couplings of the optical waveguide type of the integrated circuit kind forming wavelength selective elements, e.g. multiplexer, demultiplexer comprising arrayed waveguide grating [AWG] devices, i.e. with a phased array of waveguides
    • G02B6/12033Light guides; Structural details of arrangements comprising light guides and other optical elements, e.g. couplings of the optical waveguide type of the integrated circuit kind forming wavelength selective elements, e.g. multiplexer, demultiplexer comprising arrayed waveguide grating [AWG] devices, i.e. with a phased array of waveguides characterised by means for configuring the device, e.g. moveable element for wavelength tuning
    • GPHYSICS
    • G02OPTICS
    • G02BOPTICAL ELEMENTS, SYSTEMS OR APPARATUS
    • G02B6/00Light guides; Structural details of arrangements comprising light guides and other optical elements, e.g. couplings
    • G02B6/10Light guides; Structural details of arrangements comprising light guides and other optical elements, e.g. couplings of the optical waveguide type
    • G02B6/12Light guides; Structural details of arrangements comprising light guides and other optical elements, e.g. couplings of the optical waveguide type of the integrated circuit kind
    • G02B2006/12083Constructional arrangements
    • G02B2006/12116Polariser; Birefringent
    • GPHYSICS
    • G02OPTICS
    • G02BOPTICAL ELEMENTS, SYSTEMS OR APPARATUS
    • G02B27/00Optical systems or apparatus not provided for by any of the groups G02B1/00 - G02B26/00, G02B30/00
    • G02B27/01Head-up displays
    • G02B27/0101Head-up displays characterised by optical features
    • G02B2027/0132Head-up displays characterised by optical features comprising binocular systems
    • G02B2027/0134Head-up displays characterised by optical features comprising binocular systems of stereoscopic type

Landscapes

  • Physics & Mathematics (AREA)
  • General Physics & Mathematics (AREA)
  • Optics & Photonics (AREA)
  • Engineering & Computer Science (AREA)
  • Microelectronics & Electronic Packaging (AREA)
  • Manufacturing & Machinery (AREA)
  • Lenses (AREA)
  • Polarising Elements (AREA)

Description

画像表示装置、接眼光学系、及び、接眼光学系の製造方法に関する。
バーチャルリアリティ(VR)用、あるいは、一人で大画面の観察像を楽しむことなどを目的として、ヘッドマウントディスプレイ(HMD)の開発が進められている。ヘッドマウントディスプレイ等に用いる画像表示装置としては、自然な観察をおこない、臨場感を増すために、広画角の画像提示が望まれている。また、頭部装着型の画像表示装置としては軽量であることが望ましい。
広画角の画像提示を達成する技術として、偏光を利用して光路を折り畳む接眼光学系が提案されている。この偏光を利用した接眼光学系を軽量化するために、接眼光学系を構成するレンズを樹脂レンズにすることが考えられるが、樹脂レンズは成形時に複屈折等の光学歪み(以下簡単のために複屈折と略す)が発生してしまう。偏光を利用した接眼光学系で複屈折が発生すると、光量低下・光量ムラ・色ムラなどの悪影響が起きうる。特にレンズをモールド成形する際に形成される成形ゲート付近で発生する複屈折が大きいため、偏光を利用した接眼光学系では、成形ゲート付近での画質が低下する。
樹脂レンズの成形ゲート付近での複屈折を低減する例として、特許文献1、2等が開示されている。特許文献1では、樹脂レンズの成形ゲート位置を光学有効領域から遠ざけることで成形ゲート付近の複屈折の影響を受けにくくしている。特許文献2では、光学有効領域と成形ゲート位置との間に非光学有効領域を設けることで、光学有効領域での複屈折を低減している。
特開2018-10031号公報 特開平05-040203号公報
しかしながら、特許文献1に記載の樹脂レンズでは成形ゲート位置が観察画像の最大画角の方向ではないため、成形ゲート位置が光学有効領域から遠いものの複屈折の影響を受けた画像を観察しやすい。特許文献2に記載の樹脂レンズでは成形ゲート位置と光学有効領域との間に非光学有効領域が設けられているが、特許文献1と同様に成形ゲート位置が最大画角の方向ではないため、複屈折の影響を受けた画像を観察しやすい。
本発明は、例えば、偏光を利用した接眼光学系の光学素子において、複屈折による画質低下を低減する点で有利な画像表示装置を提供することを目的とする。
上記課題を解決するために、本発明は、画像表示素子と、該画像表示素子の矩形の画像表示領域からの光を観察者に導く接眼光学系とを有する画像表示装置であって、前記接眼光学系は、偏光素子と、外周の一部に成形ゲート跡が設けられた光学素子とを含み、
前記接眼光学系の光軸に垂直な断面における前記光学素子の外形は矩形であり、
前記画像表示素子及び前記光学素子を前記光軸方向から見たときの、前記成形ゲート跡に最も近い前記画像表示領域の頂点と前記光軸とを結ぶ直線と、前記成形ゲート跡の中心と前記光軸とを結ぶ直線とのなす角をθAとするとき、
|θA|≦0°
なる条件式を満足することを特徴とする。
本発明によれば、例えば、偏光を利用した接眼光学系の光学素子において、複屈折による画質低下を低減することができる。
第1実施形態に係る画像表示装置の概略図である。 第1実施形態に係る接眼光学系の詳細を説明する図である。 HMDの外観図である。 ゴースト光を説明する図である。 第1実施形態に係る右眼用接眼光学系のレンズの成形ゲート位置について説明する図である。 第2実施形態に係る画像表示装置の概略図である。 第2実施形態に係るレンズ204の成形ゲート位置を説明する図である。 第2実施形態に係るレンズ206の成形ゲート位置を説明する図である。 第2実施形態に係るレンズ205の成形ゲート位置を説明する図である。 第3実施形態に係る画像表示装置の概略図である。 第3実施形態に係る右眼用接眼光学系のレンズ304の成形ゲート位置について説明する図である。 第3実施形態に係る左眼用接眼光学系のレンズ306の成形ゲート位置について説明する図である。 左右のレンズのモールド成形について説明する図である。 レンズの鼻逃げ部の加工について説明する図である。
以下、本発明の実施形態について図面を参照して詳細に説明する。各図において、同一の部材については、同一の参照番号を付し、重複する説明は省略する。
(第1実施形態)
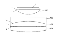
図1の画像表示装置の接眼光学系を参照して第1実施形態に係る画像表示装置の構成を説明する。図1は、第1実施形態に係る画像表示装置の概略図である。図中、101は画像表示装置としてのHMD、102は観察者の右眼、103は観察者の左眼である。レンズ104、レンズ105、レンズ106、レンズ107で右眼用接眼光学系を構成し、レンズ108、レンズ109、レンズ110、レンズ111で左眼用接眼光学系を構成している。112は右眼用画像表示素子、113は左眼用画像表示素子であり、有機ELディスプレイである。右眼用画像表示素子112および左眼用画像表示素子の画像を表示することが可能な領域(画像表示領域)は、それぞれ矩形である。
右眼用接眼光学系は右眼用画像表示素子112に表示された原画像を拡大投影して観察者の右眼102に導き、左眼用接眼光学系は左眼用画像表示素子113に表示された原画像を拡大投影して観察者の左眼103に導く。右眼用接眼光学系と左眼用接眼光学系の水平表示画角は70°、垂直表示画角40°、対角表示画角76°であり、HMD101と観察者の眼球との距離(アイレリーフ)は20mmである。
本実施形態の接眼光学系は偏光素子を含み、偏光を利用して光路を折り畳む光学系である。なお、本明細書において、偏光素子は、λ/4波長板、λ/2波長板等の波長板(位相差付与部材)や、反射型の偏光板、透過型の偏光板等の偏光板等を含む、光の偏光方向によって作用が替わる光学素子を指す。また、液晶表示素子のように偏光機能を内蔵したものも含む。本実施形態の接眼光学系の光路について右眼用接眼光学系で説明する。図2は、第1実施形態に係る接眼光学系の詳細を説明する図である。まず、図2のようにレンズ107の右眼用画像表示素子112側の平面に、右眼用画像表示素子112側から順に偏光板114とλ/4板115を形成し、レンズ105のレンズ106側の面にハーフミラー116を蒸着する。ハーフミラー116を蒸着する面が半透過反射面として作用し、接眼光学系の中で最も光学パワーが強い面としている。
また、レンズ105のレンズ104側の平面に右眼用画像表示素子112側から順にλ/4板117と反射偏光板のPBS(Polarizing Beam Splitter)118を形成する。このとき、λ/4板115の遅相軸と、λ/4板117の遅相軸とは直交する関係になっている。したがって、偏光板114が透過する偏光方向とλ/4板115の遅相軸が45°傾いているとき、偏光板114が透過する偏光方向とλ/4板117の遅相軸は-45°傾いている。また、偏光板114が透過する偏光方向とPBS118が透過する偏光方向は直交している。尚、ここで遅相軸が45°傾いている、或いは-45°傾いている、については、実質的に45°、或いは-45°傾いていれば良く、例えば、絶対値が40°以上50°以下、より好ましくは43°以上47°以下であれば構わない。また、傾きのプラスとマイナスは、プラスを時計回りの方向、マイナスを反時計回りの方向とする。また、後段に出てくる同様の45°の記載についても、同様の幅を持っていると解釈する。
このような構成の場合に、右眼用画像表示素子112から出射した光は偏光板114を透過して直線偏光となり、λ/4板115を透過して円偏光となる。ハーフミラー116を透過してλ/4板117を透過して直線偏光になり、この直線偏光の偏光方向がPBS118で透過する偏光方向と直交しているため、PBS118で反射しλ/4板117を透過して円偏光となる。ハーフミラー116で反射してλ/4板117を透過して直線偏光になるが、この直線偏光の偏光方向は先ほどと異なり、PBS118で透過する偏光方向と一致するため、PBS118を透過して観察者の右眼102に導かれる。左眼用接眼光学系についても同様の光路である。
本実施形態のように偏光を利用して光路を折り畳む光学系とすることで、薄型かつ接眼光学系の焦点距離を短くでき、広画角な画像観察を実現できる。
図3は、HMD101の外観図である。HMD101は頭部装着型の画像表示装置であるため、軽量であることが望ましい。そのため、接眼光学系を構成するレンズは硝子よりも比重の小さい樹脂で製作することが望ましく、本実施形態のレンズはすべて樹脂レンズとしている。
しかし、樹脂レンズをモールド成形で製作した場合には、成形時の残留応力の影響で複屈折が生じる。本実施形態のように偏光を利用した光学系の場合には、レンズ内の複屈折により上記で説明した正規の光路の光利用効率が下がり、波長ごとの光利用効率の差も生じることから、観察画像の光量低下、光量ムラ、色ムラが発生してしまう。また、正規の光路においてPBS118で反射すべき光の中で、複屈折の影響によりPBS118を透過する光の割合が増えてしまい、図4のように表示素子からの光が直接観察者の眼に導かれるゴースト光が発生してしまう。そのため、接眼光学系を構成する樹脂レンズの複屈折は出来るだけ小さくする必要がある。
本実施形態では、樹脂レンズを成形する場合、成形ゲート付近には複屈折が大きくなる領域(歪み領域)が発生するため、成形ゲート付近の光路の見え方が悪化する。そこで、成形ゲートの位置を光学有効領域から遠ざけて、観察画像において目立ちにくい位置に配置することで、成形ゲート付近の複屈折による画質低下の影響を小さくする。なお、ここで、レンズの成形ゲートとは、モールド成形する際に、モールド(型)の内部に材料(樹脂や硝材)を流入させるためのゲート、或いはそのゲートが形成されたレンズの一部を指している。モールド成形している限りは全ての光学素子が持っているものであり、当業者が見れば、光学素子の成形ゲートがどこなのか(光学素子を成形する際のモールドのゲートがどこにあったのか)はすぐに分かる。具体的には、レンズの周辺部で他の部分よりも出っ張っている部分であったり、他の部分よりも粗さが大きい部分であったり、他の部分とは形状が違っていたり、色々なケースが考えられる。また、この成形ゲート(或いは成形ゲート跡)、或いはこの成形ゲート跡を切り落とした場合は成形ゲート跡から最も近い位置は、光学素子の中で最も複屈折量が多い位置(領域)である。従って、成形ゲート(跡)は、光学素子の中で最も複屈折量が多い部分(領域)と読み替えても構わない。
なお、レンズをモールド成形する際にゲート付近で発生する複屈折は、レンズの材料が樹脂である場合に特に顕著に大きくなるため、本実施形態では、樹脂レンズを例に説明するが、これに限られるものではない。ガラスレンズであっても複屈折が生じる場合があり、この課題は、レンズを含む全ての光学素子(モールド成形を行う光学素子)に共通であるため、本発明はモールド成形を行う光学素子に適用することが可能である。
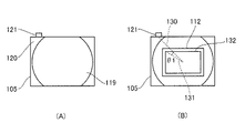
図5は、第1実施形態に係る右眼用接眼光学系のレンズ105の成形ゲート位置について説明する図である。図5(A)レンズ105の成形ゲート位置の一例を示す図である。成形ゲート121は、レンズ105の外周の一部に設けられ、光学有効領域(有効領域)119と成形ゲート121との間に非光学有効領域(非有効領域)120が設けられている。この非光学有効領域(非有効領域)120があることで、光学有効領域119と成形ゲート121の距離を離すことができ、成形ゲート121付近の複屈折が大きくても光学有効領域119に影響を与えにくくすることができる。
また、図5(B)に示すように、成形ゲート121は、光軸上の点に対して画像表示素子112の矩形の画像表示領域132の頂点の方向(以下、頂点方向と略す)に設けられる。つまり、右眼用接眼光学系に組み込まれる際に、レンズ105は、成形ゲート121またはその跡およびその近傍に生じた歪み領域が、光軸上の点に対して画像表示素子112の矩形の画像表示領域132の頂点方向に配置されるように組み込まれる。なお、ここで画像表示領域132の頂点とは、画像表示素子112が画像を表示することが可能であって、観察可能な領域の頂点のことである。本実施形態においては、光軸と垂直な断面において光軸上の点と成形ゲート121の中心とを結ぶ直線を直線130とする。光軸上の点と成形ゲート121に最も近い画像表示領域132の頂点とを結ぶ直線を直線131とする。直線130と直線131とがなす角度θ1は20°であり、成形ゲート121は観察画像の頂点方向に設けられている。
観察画像において頂点方向が最も画角が大きい方向であり、その方向で複屈折による画質低下が起こっても目立ちにくい。そのため、光軸と垂直な断面(平面)において光軸上の点と成形ゲート121の中心とを結ぶ直線130と、光軸上の点と成形ゲート121に最も近い画像表示領域132の頂点とを結ぶ直線131と、がほぼ同じ方向を向いていることが望ましい。具体的には、この直線130と直線131とがなす角度θ1(θA)の絶対値が30度以下、つまり|θA|≦30°を満足することが望ましい。更に望ましくは、|θA|≦7°を満足すると尚良い。ここで、角度θ1(θA)の絶対値が、30°を超えると成形ゲート付近の複屈折による画質低下が最大画角よりも内側の画角で発生して観察者が気付きやすくなってしまう。ここで、本実施例に記載したθ1の他に、角度θ2、θ3、θ4、θ6、θ7が、上述の角度θAに対応しており、上述の条件式を満足する。
成形ゲート付近の複屈折を小さくする方法として、成形ゲートの断面積を大きくすることが考えられる。レンズ105の成形ゲートの断面積Sは3mm×2mm=6mmである。また、光学有効領域における成形ゲート付近の複屈折の影響を小さくするために、成形ゲート位置を光学有効領域から遠ざける方法が考えられる。光学有効領域119と成形ゲート121との最短距離Lは8mmである。そのため、レンズ105のL/S1/2は2.1となる。
本実施形態のように樹脂レンズのL/S1/2は1以上4以下であることが望ましい。この値が1よりも小さい場合には、成形ゲート位置と光学有効領域が近い、もしくは成形ゲートの断面積が大きく、前者の場合には成形ゲート付近の複屈折の影響が光学有効領域にも出てきてしまい画質が低下する。また後者の場合には、樹脂レンズが厚くなって接眼光学系が薄型化できずに重くなってしまったり、成形ゲートの幅が広くて複屈折の影響の範囲が広がってしまったりする。
L/S1/2の値が4よりも大きい場合には、成形ゲート位置と光学有効領域が離れ過ぎ、もしくは成形ゲートの断面積が小さく、前者の場合には樹脂レンズの外形が大きくなり接眼光学系が大型化し重くなってしまう。また後者の場合には、成形ゲートの断面積が小さく成形ゲート付近の複屈折量が大きくなってしまう。
図5に示すようにレンズ105の成形ゲート121は観察者がHMD101を装着した状態で、観察者から見て左上に設けられている。上側にしている理由は、人間の視野は上側と下側を比較すると下側の方が広く下側を観察する機会が多いからである。そのため、複屈折による画質低下が発生する場合、下側よりも上側に発生した方が観察者は気付きにくい。そのため、成形ゲートは上側に設けることが望ましい。
レンズ105以外の樹脂レンズについても、成形ゲートの位置をレンズ105と同様に配置することが望ましい。本実施形態のレンズ107、111のように比較的小さいレンズの場合には、ガラスレンズと樹脂レンズとの重量の差が小さいので、すべてを樹脂レンズとするのではなく、ガラスレンズと樹脂レンズを組み合わせても良い。その場合には、ガラスレンズの複屈折は非常に小さいため、高品位な画像観察が可能となる。
レンズ104、105、106やレンズ108、109、110は接合して一体のレンズとしても良い。接合レンズとすることで、レンズを保持する際に保持しやすくなる。本実施形態では偏光板114とλ/4板115の面積を小さくしてコスト低減するためにレンズ107にそれぞれ形成したが、偏光板とλ/4板への入射角を小さくして偏光特性を良好にするためにレンズ106の画像表示素子112側の平面に形成しても良い。また、不要なゴースト光を低減して観察画像のコントラストを高めるために、PBSと観察者の眼球との間に偏光板を配置しても良い。
PBS118はレンズ105の平面部に形成したが、曲面にしてレンズ104の眼側の面に形成しても良い。こうすることで、レンズ104とレンズ105を一体にすることができ、レンズ枚数を低減して薄型化、低コスト化が可能となる。また、偏光板114とλ/4板115はレンズ107に形成するのではなく、右眼用画像表示素子112との間に配置しても良い。
本実施形態では画像表示素子は有機ELとして無偏光の光が放射される画像表示素子としたが、液晶ディスプレイとして直線偏光の光が放射されるようにすることで、画像表示素子側の偏光板114が必要なくなり薄型化とコスト低減しても良い。
(第2実施形態)
図6の画像表示装置の接眼光学系を参照して第2実施形態に係る画像表示装置の構成を説明する。図6は、第2実施形態に係る画像表示装置の概略図である。図中、201はHMD、202は観察者の右眼、203は観察者の左眼である。レンズ204、レンズ205で右眼用接眼光学系を構成し、レンズ206、レンズ207で左眼用接眼光学系を構成している。208は右眼用画像表示素子、209は左眼用画像表示素子であり、有機ELディスプレイである。
右眼用接眼光学系は右眼用画像表示素子208に表示された原画像を拡大投影して観察者の右眼202に導き、左眼用接眼光学系は左眼用画像表示素子209に表示された原画像を拡大投影して観察者の左眼203に導く。右眼用接眼光学系と左眼用接眼光学系の水平表示画角は60°、垂直表示画角60°、対角表示画角78°であり、アイレリーフは18mmである。
本実施形態の接眼光学系は第1実施形態と同様に偏光を利用して光路を折り畳む光学系であり、その光路について右眼用接眼光学系で説明する。まず、レンズ205と右眼用画像表示素子208との間に、右眼用画像表示素子208側から順に偏光板とλ/4板を形成し、レンズ204のレンズ205側の面にハーフミラーを蒸着する。ハーフミラーを蒸着する面が半透過反射面として作用し、接眼光学系の中で最も光学パワーが強い面としている。また、レンズ204の観察者の右眼202側の平面に右眼用画像表示素子208側から順にλ/4板と反射偏光板のPBSを形成する。このとき、レンズ205と右眼用画像表示素子208側のλ/4板の遅相軸と、観察者の右眼202側のλ/4板の遅相軸とは直交する関係になっている。したがって、レンズ205と右眼用画像表示素子208側との間の偏光板が透過する偏光方向とλ/4板の遅相軸が45°傾いているとき、レンズ204の観察者の右眼202側の平面のλ/4板の遅相軸は-45°傾いている。また、レンズ205と右眼用画像表示素子208側との間の偏光板が透過する偏光方向とPBSが透過する偏光方向は直交している。
このような構成の場合に、右眼用画像表示素子208から出射した光は偏光板を透過して直線偏光となり、λ/4板を透過して円偏光となる。ハーフミラーを透過してλ/4板を透過して直線偏光になり、この直線偏光の偏光方向がPBSで透過する偏光方向と直交しているため、PBSで反射しλ/4板を透過して円偏光となる。ハーフミラーで反射してλ/4板を透過して直線偏光になるが、この直線偏光の偏光方向は先ほどと異なり、PBSで透過する偏光方向と一致するため、PBSを透過して観察者の右眼202に導かれる。左眼用接眼光学系についても同様の光路である。
本実施形態のように偏光を利用して光路を折り畳む光学系とすることで、薄型かつ接眼光学系の焦点距離を短くでき、広画角な画像観察を実現できる。HMD201は頭部装着型の画像表示装置であるため、軽量であることが望ましい。そのため、接眼光学系を構成するレンズは硝子よりも比重の小さい樹脂で製作することが望ましく、本実施形態のレンズはすべて樹脂レンズとしている。
図7は、第2実施形態に係る右眼用接眼光学系のレンズ204の成形ゲート位置について説明する図である。図7を参照して右眼用接眼光学系のレンズ204の成形ゲート位置について説明する。図7(A)は、レンズ204の成形ゲート位置の一例を示す図である。レンズ204の外周の一部に成形ゲート212が設けられており、光学有効領域210の周囲に非光学有効領域211があり、非光学有効領域211の外側に成形ゲート212が配置されている。非光学有効領域211があることで、光学有効領域210と成形ゲート212の距離を離すことができ、成形ゲート212付近の複屈折が大きくても光学有効領域210に影響を与えにくくすることができる。
また、図7(B)に示すように光軸と垂直な断面においてレンズ204の光軸上の点と成形ゲート212の中心とを結ぶ直線を直線220とする。レンズ204の光軸上の点と成形ゲート212に最も近い画像表示領域221の頂点とを結ぶ直線を直線222とする。直線220と直線222とがなす角度θ2の絶対値は5°であり、成形ゲート212は観察画像の頂点方向に設けられる。観察画像において頂点方向が最も画角が大きい方向であり、その方向で複屈折による画質低下が起こっても目立ちにくい。そのため、光軸と垂直な断面において光軸上の点から成形ゲート212の中心に向かう方向と、右眼用画像表示素子208の成形ゲート212に近い対角方向となす角の絶対値は30°以下であることが望ましい。更に望ましくは7°以下とするのが良い。
成形ゲート付近の複屈折を小さくする方法として、成形ゲートの断面積を大きくすることが考えられる。レンズ204の成形ゲートの断面積Sは5mm×1.6mm=8mmである。また、光学有効領域における成形ゲート付近の複屈折の影響を小さくするために、成形ゲート位置を光学有効領域から遠ざける方法が考えられる。光学有効領域210と成形ゲート212との最短距離Lは3.5mmである。そのため、レンズ204のL/S1/2は1.2となる。
次に、図8を参照して左眼用接眼光学系のレンズ206の成形ゲート位置について説明する。図8は、第2実施形態に係る左眼用接眼光学系のレンズ206の成形ゲート位置について説明する図である。図8(A)は、レンズ206の成形ゲート位置の一例を示す図である。レンズ206の外周の一部に成形ゲート215が設けられており、光学有効領域213の周囲に非光学有効領域214があり、非光学有効領域214の外側に成形ゲート215が配置されている。前述の通り、このようにすることで、成形ゲート215付近の複屈折は大きくても光学有効領域213に影響を与えにくくすることができる。
また、図8(B)に示すように光軸と垂直な断面においてレンズ206の光軸上の点と成形ゲート215の中心とを結ぶ直線を直線223とする。レンズ206の光軸上の点と成形ゲート215に最も近い画像表示領域224の頂点とを結ぶ直線を直線225とする。直線223と直線225とがなす角度θ3の絶対値は5°であり、成形ゲート215は観察画像の頂点方向に設けられる。観察画像において頂点方向が最も画角が大きい方向であり、その方向で複屈折による画質低下が起こっても目立ちにくい。
レンズ206の成形ゲートの断面積Sは5mm×1.6mm=8mmであり、光学有効領域213と成形ゲート215との最短距離Lは3.5mmである。そのため、レンズ206のL/S1/2は1.2となる。
図7、図8に示すように本実施形態では左右のレンズの成形ゲート位置を左上として揃えている。これは、観察者がHMDを観察した際に左右で複屈折の影響が似た画像を観察した方が、両眼で融像した際に快適に観察できるからである。もしも、左右のレンズの成形ゲート位置が異なり、複屈折の影響による画質低下の発生する場所が左右で大きく異なる場合、両眼で融像した際に視野闘争が発生して快適に観察できない。また、左右それぞれの画質の悪い方の画像を認識してしまい、左上と右上の両方が画質低下したように観察される。
そのため、左右のレンズの成形ゲート位置は近い方が望ましい。本実施形態の光軸と垂直な断面においてレンズ204の光軸上の点と成形ゲート212の中心とを結ぶ直線220と、レンズ206の光軸上の点と成形ゲート215の中心とを結ぶ直線223と、の差の絶対値は10°である。換言すると、レンズ204の光軸上の点と、レンズ206の光軸上の点とを重ねた場合に、直線220と直線223とがなす角度φ1の絶対値は10°である。図8では、説明を簡単にするため、レンズ204の光軸上の点と成形ゲート212の中心とを結ぶ直線220を図示している。角度φ1はその絶対値が30°以下、つまり、|φ|≦30°を満足することが望ましく、更に好ましくは15°以下であると尚望ましい。このような条件を満足することで、左右のレンズの成形ゲート位置が近く、観察者がHMDを観察した際に左右で複屈折の影響が似た画像となり、両眼で融像した際に快適に観察できる。ここで、この実施例に記載した角度φ1と後述する角度φ2が、前述の角度φに対応しており、前述の条件式を満足する。
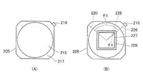
図9を参照して右眼用接眼光学系のレンズ205の成形ゲート位置について説明する。図6に示すように、レンズ205はレンズ204と同じ光が通るレンズ(両方とも右眼用)である。図9は、第2実施形態に係る右眼用接眼光学系のレンズ205の成形ゲート位置について説明する図である。図9(A)は、レンズ205の成形ゲート位置の一例を示す図である。レンズ205の外周の一部に成形ゲート218が設けられており、光学有効領域216の周囲に非光学有効領域217があり、非光学有効領域217の外側に成形ゲート218が配置されている。前述の通り、このようにすることで、成形ゲート218付近の複屈折は大きくても光学有効領域216に影響を与えにくくすることができる。
また、図9(B)に示すように光軸と垂直な断面においてレンズ205の光軸上の点と成形ゲート218の中心とを結ぶ直線を直線226とする。レンズ205の光軸上の点と成形ゲート218に最も近い画像表示領域227の頂点とを結ぶ直線を直線228とする。直線226と直線228とがなす角度θ4の絶対値は5°であり、成形ゲート218は観察画像の頂点方向に設けられる。観察画像において頂点方向が最も画角が大きい方向であり、その方向で複屈折による画質低下が起こっても目立ちにくい。
レンズ205の成形ゲート218の断面積Sは5mm×2mm=10mm2であり、光学有効領域216と成形ゲート218との最短距離Lは11mmである。そのため、レンズ205のL/S1/2は3.5となる。
図7、図9に示すように本実施形態では右眼用接眼光学系を構成するレンズ204とレンズ205の成形ゲート位置を左右で離れた位置としている。これは、レンズ204のゲート付近の複屈折とレンズ205のゲート付近の複屈折が合算されないようにするためである。もしも、レンズ204とレンズ205の成形ゲート位置が近い場合には、2つのレンズのゲート付近の複屈折が合算されて画質低下が大きくなってしまう。また、左上と右上の画質の差が大きくなってしまうため、観察時に違和感が生じてしまう。
本実施形態では、光軸と垂直な断面において右眼用接眼光学系の光軸上の点とレンズ204の成形ゲート212の中心とを結ぶ直線を直線220とする。右眼用接眼光学系の光軸上の点とレンズ205の成形ゲート218の中心とを結ぶ直線を直線226とする。直線220と直線226とがなす角度θ5(θB)の絶対値は100°である。図9では、説明を簡単にするため、右眼用接眼光学系の光軸上の点と成形ゲート212の中心とを結ぶ直線220を図示している。レンズ204とレンズ205のゲート位置を左右で離れた位置とすることで、それぞれのゲート付近の複屈折を合算されないようにして、画質低下を小さく抑えることができ、左上と右上の画質の差も小さくできる。
そのため、直線220と、直線226とがなす角度θ5(θB)の絶対値は60°以上120°以下である、つまり60°≦|θB|≦120°を満足することが望ましい。更に望ましくは75°以上105°以下とするのが良い。この値が60°よりも小さい場合には、それぞれのレンズの成形ゲート位置が近く、成形ゲート付近の複屈折が合算されてしまい画質低下が大きくなる。尚、ここで、この角度θBに対応しているのは、前述のθ5である。また、120°よりも大きい場合には、どちらかのレンズの成形ゲート位置が対角方向の最大画角から離れてしまい、複屈折による画質低下が目立ってしまう。なお、ここでは、一例として、成形ゲート212を有する第1の樹脂レンズとしてのレンズ204と、外周の一部に成形ゲート218を有する第2の樹脂レンズとしてのレンズ205と、を含む右眼用接眼光学系を例に説明をした。第1の樹脂レンズと第2の樹脂レンズは、同じ光が通るレンズであればよく、両方とも右眼用または両方とも左眼用であれば良い。したがって、左眼用接眼光学系を構成するレンズ206とレンズ207の成形ゲート位置についても同様に、左右で離れた位置にするのが望ましい。
図7、図8、図9に示すように本実施形態においても第1実施形態と同様に接眼光学系を構成しているレンズの成形ゲートは上側に設けている。上側にしている理由についても、第1実施形態と同様である。
なお、本実施形態においては、レンズ204、205やレンズ206、207は接合レンズであるが、非接合レンズとしても良い。また、不要なゴースト光を低減して観察画像のコントラストを高めるために、PBSの後に偏光板を配置しても良い。本実施形態では画像表示素子は有機ELとして無偏光の光が放射される画像表示素子としたが、液晶ディスプレイとして直線偏光の光が放射されるようにすることで、画像表示素子側の偏光板を配置せずにコスト低減と薄型化しても良い。
(第3実施形態)
図10の画像表示装置の接眼光学系を参照して第3実施形態に係る画像表示装置の構成を説明する。図10は、第3実施形態に係る画像表示装置の概略図である。図中、301はHMD、302は観察者の右眼、303は観察者の左眼である。レンズ304、レンズ305で右眼用接眼光学系を構成し、レンズ306、レンズ307で左眼用接眼光学系を構成している。308は右眼用画像表示素子、309は左眼用画像表示素子であり、有機ELディスプレイである。
右眼用接眼光学系は右眼用画像表示素子308に表示された原画像を拡大投影して観察者の右眼302に導き、左眼用接眼光学系は左眼用画像表示素子309に表示された原画像を拡大投影して観察者の左眼303に導く。右眼用接眼光学系と左眼用接眼光学系の水平表示画角は65°、垂直表示画角65°、対角表示画角84°であり、アイレリーフは18mmである。
本実施形態の接眼光学系は実施形態1、2と同様に偏光を利用して光路を折り畳む光学系であり、その光路について右眼用接眼光学系で説明する。まず、レンズ305と右眼用画像表示素子308との間に、右眼用画像表示素子308側から順に偏光板とλ/4板を形成し、レンズ304のレンズ305側の面にハーフミラーを蒸着する。ハーフミラーを蒸着する面が半透過反射面として作用し、接眼光学系の中で最も光学パワーが強い面としている。また、レンズ304の観察者の右眼302側の平面に右眼用画像表示素子308側から順にλ/4板と反射偏光板のPBSを形成する。このとき、右眼用画像表示素子308側のλ/4板の遅相軸と、観察者の右眼302側のλ/4板の遅相軸とは直交する関係になっている。したがって、レンズ305と右眼用画像表示素子308側との間の偏光板が透過する偏光方向とλ/4板の遅相軸が45°傾いているとき、レンズ304の観察者の右眼302側の平面のλ/4板の遅相軸は-45°傾いている。また、レンズ305と右眼用画像表示素子308側との間の偏光板が透過する偏光方向とPBSが透過する偏光方向は直交している。
このような構成の場合に、右眼用画像表示素子308から出射した光は偏光板を透過して直線偏光となり、λ/4板を透過して円偏光となる。ハーフミラーを透過してλ/4板を透過して直線偏光になり、この直線偏光の偏光方向がPBSで透過する偏光方向と直交しているため、PBSで反射しλ/4板を透過して円偏光となる。ハーフミラーで反射してλ/4板を透過して直線偏光になるが、この直線偏光の偏光方向は先ほどと異なり、PBSで透過する偏光方向と一致するため、PBSを透過して観察者の右眼302に導かれる。左眼用接眼光学系についても同様の光路である。
本実施形態のように偏光を利用して光路を折り畳む光学系とすることで、薄型かつ接眼光学系の焦点距離を短くでき、広画角な画像観察を実現できる。HMDは頭部装着型の画像表示装置であるため、軽量であることが望ましい。そのため、接眼光学系を構成するレンズは硝子よりも比重の小さい樹脂で製作することが望ましく、本実施形態のレンズはすべて樹脂レンズとしている。
図11は、第3実施形態に係る右眼用接眼光学系のレンズ304の成形ゲート位置について説明する図である。図11を参照して右眼用接眼光学系のレンズ304の成形ゲート位置について説明する。図11(A)は、レンズ304の成形ゲート位置の一例を示す図である。レンズ304の外周の一部に成形ゲート312が設けられており、光学有効領域310の周囲に非光学有効領域311があり、非光学有効領域311の外側に成形ゲート312が配置されている。非光学有効領域311があることで、光学有効領域310と成形ゲート312の距離を離すことができ、成形ゲート312付近の複屈折が大きくても光学有効領域310に影響を与えにくくすることができる。
また、図11(B)に示すように光軸と垂直な断面においてレンズ304の光軸上の点と成形ゲート312の中心とを結ぶ直線を直線320とする。レンズ304の光軸上の点と成形ゲート312に最も近い画像表示領域321の頂点とを結ぶ直線を直線322とする。直線320と直線322とがなす角度θ6の絶対値は10°であり、成形ゲート312は観察画像の頂点方向に設けられる。観察画像において頂点方向が最も画角が大きい方向であり、その方向で複屈折による画質低下が起こっても目立ちにくい。そのため、直線320と直線322とがなす角度θ6の絶対値は30°以下であることが望ましい。更に望ましくは15°以下とするのが良い。
成形ゲート付近の複屈折を小さくする方法として、成形ゲートの断面積を大きくすることが考えられる。レンズ304の成形ゲートの断面積Sは4mm×2mm=8mmである。また、光学有効領域における成形ゲート付近の複屈折の影響を小さくするために、成形ゲート位置を光学有効領域から遠ざける方法が考えられる。光学有効領域310と成形ゲート312との最短距離Lは5mmである。そのため、レンズ304のL/S1/2は1.8となる。
次に図12を参照して左眼用接眼光学系のレンズ306の成形ゲート位置について説明する。図12は、第3実施形態に係る左眼用接眼光学系のレンズ306の成形ゲート位置について説明する図である。図12(A)は、レンズ306の成形ゲート位置の一例を示す図である。レンズ306の外周の一部に成形ゲート315が設けられており、光学有効領域313の周囲に非光学有効領域314があり、非光学有効領域314の外側に成形ゲート315が配置されている。非光学有効領域314があることで、光学有効領域313と成形ゲート314の距離を離すことができ、成形ゲート315付近の複屈折は大きくても光学有効領域313に影響を与えにくくすることができる。
また、図12(B)に示すように光軸と垂直な断面においてレンズ306の光軸上の点と成形ゲート315の中心とを結ぶ直線を直線323とする。レンズ306の光軸上の点と成形ゲート315に最も近い画像表示領域324の頂点とを結ぶ直線を直線325とする。直線323と直線325とがなす角度θ7の絶対値は10°であり、成形ゲート315は観察画像の頂点方向に設けられる。観察画像において頂点方向が最も画角が大きい方向であり、その方向で複屈折による画質低下が起こっても目立ちにくい。
レンズ306の成形ゲートの断面積Sは4mm×2mm=8mmであり、光学有効領域313と成形ゲート315との最短距離Lは5mmである。そのため、レンズ306のL/S1/2は1.8となる。
図11、図12に示すように本実施形態ではレンズ304とレンズ306の成形ゲート位置を右上として揃えている。これは、観察者がHMDを観察した際に左右で複屈折の影響が似た画像を観察した方が、両眼で融像した際に快適に観察できるからである。もしも、左右のレンズの成形ゲート位置が異なり、複屈折の影響による画質低下の発生する場所が左右で大きく異なる場合、両眼で融像した際に視野闘争が発生して快適に観察できない。また、左右それぞれの画質の悪い方の画像を認識してしまい、左上と右上の両方が画質低下したように観察される。
そのため、左右のレンズの成形ゲート位置は近い方が望ましい。本実施形態の光軸と垂直な断面においてレンズ304の光軸上の点と成形ゲート312の中心とを結ぶ直線320と、レンズ306の光軸上の点と成形ゲート315の中心とを結ぶ直線323と、の差の絶対値は0°である。換言すると、レンズ304の光軸上の点と、レンズ306の光軸上の点とを重ねた場合に、直線320と直線323とがなす角度φ2の絶対値は0°である。
図12では、説明を簡単にするため、レンズ304の光軸上の点と成形ゲート312の中心とを結ぶ直線320を図示している。本図では、直線320と直線323とがなす角度φ2は0°であるため、直線320と直線323とは同一直線となっている。この数値は30°以下が望ましく、このようにすることで、左右のレンズの成形ゲート位置が近く、観察者がHMDを観察した際に左右で複屈折の影響が似た画像となり、両眼で融像した際に快適に観察できる。更に望ましくは15°以下とするのが良い。
図10に示すようにHMD301は観察者が頭に装着した際に観察者の鼻がぶつからないように鼻逃げ部316を有している。鼻逃げ部とは、右眼用のレンズの左下、左眼用レンズの右下に設けられた、使用者の鼻との干渉と避けるためにレンズ端面を斜めにした(切欠きを設けた、或いは面取りした)形状(鼻逃げ形状)のことである。具体的には、図11に示すように、右眼用のレンズの左下側の端部が、左から右に向かうに連れて下に下がるような面形状にして、第1鼻逃げ部317を設けている。同様に、図12に示すように左眼用のレンズの右下側の端部が、右から左に向かうに連れて下に下がるような面形状にして第2鼻逃げ部318を設けている。この第1鼻逃げ部317および第2鼻逃げ部318は、レンズの他の角部と比べて大きく面取りされている(えぐれている)構成となっている。別の言い方をすれば、レンズの光軸からレンズの対角方向の4つの角部までの距離を比べると、第1鼻逃げ部317または第2鼻逃げ部318に最も近い角部までの距離が他の3つよりも短い(好ましくは他の3つの距離のうち最も長い距離の0.9倍(更に望ましくは0.8倍)より短い)。ここでの対角方向とは、画像表示素子(矩形の画像表示領域)の対角方向のことである。
接眼光学系を構成するレンズに鼻逃げ形状がある場合、レンズ304とレンズ306のように左右のレンズの形状は同じではなく左右対称となる。そのため、モールド成形でレンズを製作する場合には、1つのモールドで左右のレンズを同時に成形することが望ましい。そうすることで、左右それぞれの型を製作する場合に比べて、型製作コストを削減し、左右のレンズを成形する時間を短くすることができる。
図13は、左右のレンズのモールド成形について説明する図である。左右のレンズを1つのモールドで成形する場合、通常は図13(B)に示すように成形ランナー326を配置するのが一般的である。しかし、本実施形態のように左右のレンズの成形ゲート位置を揃える場合には図13(A)に示すように成形ランナーを配置するのが良い。このように成形ランナーを配置して左右のレンズを成形し、成形ゲート位置がそれぞれの接眼光学系の光軸上の点に対する画像表示領域の頂点の方向と一致するように、接眼光学系を組み立てる。これにより、成形ゲート付近の複屈折影響が少ない接眼光学系を製造することができる。
レンズ305とレンズ307の成形ゲート位置については、レンズ304とレンズ306の成形ゲート位置と離れた左上として揃えることが望ましく、鼻逃げ形状があることを考慮して1つのモールドで成形することが望ましい。また、レンズ304の成形ゲート位置とレンズ305の成形ゲート位置、及び、レンズ306とレンズ307の成形ゲート位置は離れて配置することが望ましい。
図11、図12のように接眼光学系を構成しているレンズの成形ゲートは上側に設けている。上側にしている理由は、人間の視野は上側と下側を比較すると下側の方が広く下側を観察する機会が多いからである。そのため、複屈折による画質低下が発生する場合、下側よりも上側に発生した方が観察者は気付きにくい。そのため、成形ゲートは上側に設けることが望ましい。
図14は、レンズの鼻逃げ部の加工について説明する図である。本実施形態のようにレンズに鼻逃げ形状を設ける場合、例えば、図14(A)に示すように、まず鼻逃げ形状が無い状態でレンズを成形する。モールドの成形ランナー326からモールドに材料を流し込むことによって鼻逃げ形状が無い状態のレンズが成形される。その後、、鼻逃げ部を追加工で製作する方法でも良い。その場合、成形ゲートを除去するように鼻逃げ部を加工しても良い。すなわち、成形ゲートと歪み領域の一部とを除去して鼻逃げ部を形成する。鼻逃げ部に対応する位置に成形ゲートを配置することで、成形ゲート付近の複屈折が大きい領域を追加工で無くすことができる。これにより、成形ゲート付近の複屈折の影響を低減することが可能となる。
なお、不要なゴースト光を低減して観察画像のコントラストを高めるために、PBSの後に偏光板を配置しても良い。また、本実施形態では画像表示素子は有機ELとして無偏光の光が放射される画像表示素子としたが、液晶ディスプレイとして直線偏光の光が放射されるようにすることで、画像表示素子側の偏光板を配置せずにコスト低減と薄型化しても良い。
(その他の実施形態)
以上、本発明の実施の形態を説明してきたが、本発明はこれらの実施の形態に限定されず、その要旨の範囲内において様々な変更が可能である。
101、201、301 HMD
102、202、302 観察者の右眼
103、203、303 観察者の左眼
104、105、106、107、204、205、304、305 右眼用接眼光学系を構成するレンズ
108、109、110、111、206、207、306、307 左眼用接眼光学系を構成するレンズ
112、208、308 右眼用画像表示素子
113、209、309 左眼用画像表示素子
132、221、224、227、321、324 画像表示領域
121、212、215、218、312、315 成形ゲート

Claims (10)

  1. 画像表示素子と、該画像表示素子の矩形の画像表示領域からの光を観察者に導く接眼光学系とを有する画像表示装置であって、
    前記接眼光学系は、偏光素子と、外周の一部に成形ゲート跡が設けられた光学素子とを含み、
    前記接眼光学系の光軸に垂直な断面における前記光学素子の外形は矩形であり、
    前記画像表示素子及び前記光学素子を前記光軸方向から見たときの、前記成形ゲート跡に最も近い前記画像表示領域の頂点と前記光軸とを結ぶ直線と、前記成形ゲート跡の中心と前記光軸とを結ぶ直線とのなす角をθAとするとき、
    |θA|≦0°
    なる条件式を満足することを特徴とする画像表示装置。
  2. |θA|≦15°なる条件式を満足することを特徴とする請求項1に記載の画像表示装置。
  3. 記成形ゲート跡の断面積をS、前記成形ゲート跡と前記光学素子の光学有効領域との最短距離をLとするとき、
    1≦L/S 1/2 ≦4
    なる条件式を満足することを特徴とする請求項1又は2に記載の画像表示装置。
  4. 前記光学素子は、光学有効領域と前記成形ゲート跡との間に位置する非光学有効領域を含むことを特徴とする請求項1から3のいずれか一項に記載の画像表示装置。
  5. 前記接眼光学系は、前記光学素子としての第1及び第2の光学素子を含み、
    前記第1の光学素子には前記成形ゲート跡としての第1の成形ゲート跡が設けられ、
    前記第2の光学素子には前記成形ゲート跡としての第2の成形ゲート跡が設けられ、
    前記第1及び第2の光学素子を前記光軸方向から見たときの、前記光軸と前記第1の成形ゲート跡の中心とを結ぶ直線と、前記光軸と前記第2の成形ゲート跡の中心とを結ぶ直線とのなす角をθBとするとき、
    60°≦|θB|≦120°
    なる条件式を満足することを特徴とする請求項1から4のいずれか一項に記載の画像表示装置。
  6. 前記画像表示素子としての右眼用の画像表示素子及び左眼用の画像表示素子と、前記接眼光学系としての右眼用の接眼光学系及び左眼用の接眼光学系とを有し、
    前記右眼用の接眼光学系は、前記光学素子としての右眼用の光学素子を含み、
    前記左眼用の接眼光学系は、前記光学素子としての左眼用の光学素子を含み、
    前記右眼用の光学素子及び前記左眼用の光学素子を前記右眼用の接眼光学系の光軸方向から見たときの、前記右眼用の接眼光学系の光軸と前記右眼用の光学素子の成形ゲート跡の中心とを結ぶ直線と、前記左眼用の接眼光学系の光軸と前記左眼用の光学素子の成形ゲート跡の中心とを結ぶ直線とのなす角をφとするとき、
    |φ|≦30°
    なる条件式を満足することを特徴とする請求項1から5のいずれか一項に記載の画像表示装置。
  7. 前記接眼光学系は、前記画像表示素子の側から前記観察者の側へ順に配置された、第1のλ/4板、半透過反射面、第2のλ/4板、反射偏光板を含み、
    前記反射偏光板は、第1の直線偏光を反射し、かつ偏光方向が該第1の直線偏光と直交する第2の直線偏光を透過させることを特徴とする請求項1から6のいずれか一項に記載の画像表示装置。
  8. 前記第1のλ/4板の遅相軸と前記第1の直線偏光の偏光方向とのなす角が45°であり、
    前記第2のλ/4板の遅相軸と前記第1の直線偏光の偏光方向とのなす角が-45°であることを特徴とする請求項7に記載の画像表示装置。
  9. 前記接眼光学系は、前記画像表示素子と前記第1のλ/4板との間に配置され、前記第1の直線偏光を透過させる第1の偏光板を含むことを特徴とする請求項7または8に記載の画像表示装置。
  10. 前記接眼光学系は、前記反射偏光板と前記観察者との間に配置され、前記第2の直線偏光を透過させる第2の偏光板を含むことを特徴とする請求項7から9のいずれか一項に記載の画像表示装置。
JP2018215326A 2018-11-16 2018-11-16 画像表示装置、接眼光学系、及び、接眼光学系の製造方法 Active JP7183003B2 (ja)

Priority Applications (2)

Application Number Priority Date Filing Date Title
JP2018215326A JP7183003B2 (ja) 2018-11-16 2018-11-16 画像表示装置、接眼光学系、及び、接眼光学系の製造方法
US16/678,279 US11112562B2 (en) 2018-11-16 2019-11-08 Image display device, ocular optical system, and method of manufacturing ocular optical system

Applications Claiming Priority (1)

Application Number Priority Date Filing Date Title
JP2018215326A JP7183003B2 (ja) 2018-11-16 2018-11-16 画像表示装置、接眼光学系、及び、接眼光学系の製造方法

Publications (3)

Publication Number Publication Date
JP2020085956A JP2020085956A (ja) 2020-06-04
JP2020085956A5 JP2020085956A5 (ja) 2021-12-23
JP7183003B2 true JP7183003B2 (ja) 2022-12-05

Family

ID=70727062

Family Applications (1)

Application Number Title Priority Date Filing Date
JP2018215326A Active JP7183003B2 (ja) 2018-11-16 2018-11-16 画像表示装置、接眼光学系、及び、接眼光学系の製造方法

Country Status (2)

Country Link
US (1) US11112562B2 (ja)
JP (1) JP7183003B2 (ja)

Families Citing this family (10)

* Cited by examiner, † Cited by third party
Publication number Priority date Publication date Assignee Title
JP7207986B2 (ja) 2018-12-14 2023-01-18 キヤノン株式会社 画像表示装置、及び、接眼光学系
CN110161696B (zh) * 2019-06-03 2021-02-05 歌尔光学科技有限公司 补偿镜组及具有其的虚拟现实设备
JP7358258B2 (ja) 2020-01-28 2023-10-10 キヤノン株式会社 画像観察装置
JP7486964B2 (ja) 2020-01-31 2024-05-20 キヤノン株式会社 画像観察装置
JP7414561B2 (ja) 2020-01-31 2024-01-16 キヤノン株式会社 画像観察装置
JP7566648B2 (ja) * 2021-01-29 2024-10-15 キヤノン株式会社 光学系および画像表示装置
TWI769815B (zh) * 2021-02-03 2022-07-01 大立光電股份有限公司 塑膠光轉折元件、成像鏡頭模組及電子裝置
JP7731752B2 (ja) * 2021-09-30 2025-09-01 キヤノン株式会社 接眼光学系及び画像表示装置
CN116338959A (zh) 2023-01-20 2023-06-27 诚瑞光学(常州)股份有限公司 光学系统
CN117492312A (zh) * 2023-06-15 2024-02-02 武汉华星光电技术有限公司 显示装置

Citations (6)

* Cited by examiner, † Cited by third party
Publication number Priority date Publication date Assignee Title
JP2001356295A (ja) 2000-06-13 2001-12-26 Minolta Co Ltd 接眼光学系
JP2003021771A (ja) 2001-07-10 2003-01-24 Pioneer Electronic Corp 光学レンズ装置およびその製造方法
JP2005285177A (ja) 2004-03-29 2005-10-13 Konica Minolta Opto Inc 光学素子及び該光学素子を備えた光ピックアップ装置
JP2018010031A (ja) 2016-07-11 2018-01-18 キヤノン株式会社 観察装置
US20180101020A1 (en) 2016-10-12 2018-04-12 Oculus Vr, Llc Head mounted display including pancake lens block
WO2018156941A1 (en) 2017-02-23 2018-08-30 Google Llc Compact eye tracking using folded display optics

Family Cites Families (5)

* Cited by examiner, † Cited by third party
Publication number Priority date Publication date Assignee Title
JPH0540203A (ja) * 1991-07-09 1993-02-19 Asahi Optical Co Ltd 樹脂成形光学素子
JP3645698B2 (ja) 1997-11-17 2005-05-11 オリンパス株式会社 光学プリズム、鏡枠および光学アッセンブリ
JPWO2005095083A1 (ja) * 2004-03-31 2008-02-21 日本ゼオン株式会社 導光板射出成形用金型及びそれを用いた導光板の製造方法
JP5364965B2 (ja) * 2005-07-26 2013-12-11 コニカミノルタ株式会社 撮像光学系、撮像レンズ装置及びデジタル機器
KR102706133B1 (ko) * 2019-02-28 2024-09-12 삼성디스플레이 주식회사 증강 현실 제공 장치

Patent Citations (6)

* Cited by examiner, † Cited by third party
Publication number Priority date Publication date Assignee Title
JP2001356295A (ja) 2000-06-13 2001-12-26 Minolta Co Ltd 接眼光学系
JP2003021771A (ja) 2001-07-10 2003-01-24 Pioneer Electronic Corp 光学レンズ装置およびその製造方法
JP2005285177A (ja) 2004-03-29 2005-10-13 Konica Minolta Opto Inc 光学素子及び該光学素子を備えた光ピックアップ装置
JP2018010031A (ja) 2016-07-11 2018-01-18 キヤノン株式会社 観察装置
US20180101020A1 (en) 2016-10-12 2018-04-12 Oculus Vr, Llc Head mounted display including pancake lens block
WO2018156941A1 (en) 2017-02-23 2018-08-30 Google Llc Compact eye tracking using folded display optics

Also Published As

Publication number Publication date
US20200158953A1 (en) 2020-05-21
US11112562B2 (en) 2021-09-07
JP2020085956A (ja) 2020-06-04

Similar Documents

Publication Publication Date Title
JP7183003B2 (ja) 画像表示装置、接眼光学系、及び、接眼光学系の製造方法
JP7207986B2 (ja) 画像表示装置、及び、接眼光学系
CN206479716U (zh) 一种用于与头戴显示器一起使用的设备以及头戴显示器
US9465217B2 (en) Virtual image display apparatus
KR102618809B1 (ko) 이미징 광학 유닛 및 이와 같은 이미징 광학 유닛을 포함하는 디스플레이 장치
KR101421199B1 (ko) 헤드 마운티드 디스플레이 광학계
JP2017514168A (ja) コンバイナーとしてのペリクルを有するニアアイディスプレイシステム
JP2018528446A (ja) シースルーヘッドウェアラブルディスプレイのためのアイピースに対する処方修正の追加
JP6637881B2 (ja) ユーザの頭部に装着可能な、画像を生成する表示装置用の眼鏡レンズ、及び該眼鏡レンズを備えた表示装置
JP2019053152A (ja) 虚像表示装置
JP6697455B2 (ja) 交差光学系を含む頭部装着ビューイングシステム
JP7414561B2 (ja) 画像観察装置
JP2020020858A (ja) 虚像表示装置
KR102353457B1 (ko) 사용자의 머리에 착용될 수 있고 이미지를 생성하는 디스플레이 장치를 위한 안경 렌즈
CN109507803B (zh) 虚像显示装置
JP7183610B2 (ja) 虚像表示装置
CN109073896A (zh) 用于成像光学单元的眼镜镜片以及数据护目镜
US11640060B2 (en) Head-mounted display
JP7438811B2 (ja) 光学系および画像表示装置
KR101362873B1 (ko) 헤드 마운티드 디스플레이 광학계
JP7486964B2 (ja) 画像観察装置
JP6613729B2 (ja) 導光装置及び虚像表示装置
JP2021124540A (ja) 画像表示装置
JP2019179083A (ja) 画像表示装置
JP2021124537A (ja) 画像観察装置

Legal Events

Date Code Title Description
A521 Request for written amendment filed

Free format text: JAPANESE INTERMEDIATE CODE: A523

Effective date: 20211110

A621 Written request for application examination

Free format text: JAPANESE INTERMEDIATE CODE: A621

Effective date: 20211110

A131 Notification of reasons for refusal

Free format text: JAPANESE INTERMEDIATE CODE: A131

Effective date: 20220809

A977 Report on retrieval

Free format text: JAPANESE INTERMEDIATE CODE: A971007

Effective date: 20220810

A521 Request for written amendment filed

Free format text: JAPANESE INTERMEDIATE CODE: A523

Effective date: 20221011

TRDD Decision of grant or rejection written
A01 Written decision to grant a patent or to grant a registration (utility model)

Free format text: JAPANESE INTERMEDIATE CODE: A01

Effective date: 20221025

A61 First payment of annual fees (during grant procedure)

Free format text: JAPANESE INTERMEDIATE CODE: A61

Effective date: 20221122

R151 Written notification of patent or utility model registration

Ref document number: 7183003

Country of ref document: JP

Free format text: JAPANESE INTERMEDIATE CODE: R151