JP7114635B2 - カテーテル用ハンドルおよびそれを備えたカテーテル - Google Patents

カテーテル用ハンドルおよびそれを備えたカテーテル Download PDF

Info

Publication number
JP7114635B2
JP7114635B2 JP2019568858A JP2019568858A JP7114635B2 JP 7114635 B2 JP7114635 B2 JP 7114635B2 JP 2019568858 A JP2019568858 A JP 2019568858A JP 2019568858 A JP2019568858 A JP 2019568858A JP 7114635 B2 JP7114635 B2 JP 7114635B2
Authority
JP
Japan
Prior art keywords
rotating member
handle
wire
catheter
space
Prior art date
Legal status (The legal status is an assumption and is not a legal conclusion. Google has not performed a legal analysis and makes no representation as to the accuracy of the status listed.)
Active
Application number
JP2019568858A
Other languages
English (en)
Other versions
JPWO2019150664A1 (ja
Inventor
尚武 前久保
大地 上山
Current Assignee (The listed assignees may be inaccurate. Google has not performed a legal analysis and makes no representation or warranty as to the accuracy of the list.)
Kaneka Corp
Original Assignee
Kaneka Corp
Priority date (The priority date is an assumption and is not a legal conclusion. Google has not performed a legal analysis and makes no representation as to the accuracy of the date listed.)
Filing date
Publication date
Application filed by Kaneka Corp filed Critical Kaneka Corp
Publication of JPWO2019150664A1 publication Critical patent/JPWO2019150664A1/ja
Application granted granted Critical
Publication of JP7114635B2 publication Critical patent/JP7114635B2/ja
Active legal-status Critical Current
Anticipated expiration legal-status Critical

Links

Images

Classifications

    • AHUMAN NECESSITIES
    • A61MEDICAL OR VETERINARY SCIENCE; HYGIENE
    • A61MDEVICES FOR INTRODUCING MEDIA INTO, OR ONTO, THE BODY; DEVICES FOR TRANSDUCING BODY MEDIA OR FOR TAKING MEDIA FROM THE BODY; DEVICES FOR PRODUCING OR ENDING SLEEP OR STUPOR
    • A61M25/00Catheters; Hollow probes
    • A61M25/01Introducing, guiding, advancing, emplacing or holding catheters
    • A61M25/0105Steering means as part of the catheter or advancing means; Markers for positioning
    • A61M25/0133Tip steering devices
    • A61M25/0136Handles therefor
    • AHUMAN NECESSITIES
    • A61MEDICAL OR VETERINARY SCIENCE; HYGIENE
    • A61BDIAGNOSIS; SURGERY; IDENTIFICATION
    • A61B18/00Surgical instruments, devices or methods for transferring non-mechanical forms of energy to or from the body
    • A61B18/04Surgical instruments, devices or methods for transferring non-mechanical forms of energy to or from the body by heating
    • A61B18/12Surgical instruments, devices or methods for transferring non-mechanical forms of energy to or from the body by heating by passing a current through the tissue to be heated, e.g. high-frequency current
    • A61B18/14Probes or electrodes therefor
    • A61B18/1492Probes or electrodes therefor having a flexible, catheter-like structure, e.g. for heart ablation
    • AHUMAN NECESSITIES
    • A61MEDICAL OR VETERINARY SCIENCE; HYGIENE
    • A61MDEVICES FOR INTRODUCING MEDIA INTO, OR ONTO, THE BODY; DEVICES FOR TRANSDUCING BODY MEDIA OR FOR TAKING MEDIA FROM THE BODY; DEVICES FOR PRODUCING OR ENDING SLEEP OR STUPOR
    • A61M25/00Catheters; Hollow probes
    • A61M25/01Introducing, guiding, advancing, emplacing or holding catheters
    • A61M25/0105Steering means as part of the catheter or advancing means; Markers for positioning
    • A61M25/0133Tip steering devices
    • A61M25/0147Tip steering devices with movable mechanical means, e.g. pull wires
    • AHUMAN NECESSITIES
    • A61MEDICAL OR VETERINARY SCIENCE; HYGIENE
    • A61MDEVICES FOR INTRODUCING MEDIA INTO, OR ONTO, THE BODY; DEVICES FOR TRANSDUCING BODY MEDIA OR FOR TAKING MEDIA FROM THE BODY; DEVICES FOR PRODUCING OR ENDING SLEEP OR STUPOR
    • A61M25/00Catheters; Hollow probes
    • A61M25/01Introducing, guiding, advancing, emplacing or holding catheters
    • A61M25/09Guide wires
    • AHUMAN NECESSITIES
    • A61MEDICAL OR VETERINARY SCIENCE; HYGIENE
    • A61BDIAGNOSIS; SURGERY; IDENTIFICATION
    • A61B18/00Surgical instruments, devices or methods for transferring non-mechanical forms of energy to or from the body
    • A61B2018/00315Surgical instruments, devices or methods for transferring non-mechanical forms of energy to or from the body for treatment of particular body parts
    • A61B2018/00345Vascular system
    • AHUMAN NECESSITIES
    • A61MEDICAL OR VETERINARY SCIENCE; HYGIENE
    • A61BDIAGNOSIS; SURGERY; IDENTIFICATION
    • A61B18/00Surgical instruments, devices or methods for transferring non-mechanical forms of energy to or from the body
    • A61B2018/00315Surgical instruments, devices or methods for transferring non-mechanical forms of energy to or from the body for treatment of particular body parts
    • A61B2018/00345Vascular system
    • A61B2018/00351Heart
    • AHUMAN NECESSITIES
    • A61MEDICAL OR VETERINARY SCIENCE; HYGIENE
    • A61BDIAGNOSIS; SURGERY; IDENTIFICATION
    • A61B18/00Surgical instruments, devices or methods for transferring non-mechanical forms of energy to or from the body
    • A61B2018/00571Surgical instruments, devices or methods for transferring non-mechanical forms of energy to or from the body for achieving a particular surgical effect
    • A61B2018/00577Ablation
    • AHUMAN NECESSITIES
    • A61MEDICAL OR VETERINARY SCIENCE; HYGIENE
    • A61BDIAGNOSIS; SURGERY; IDENTIFICATION
    • A61B18/00Surgical instruments, devices or methods for transferring non-mechanical forms of energy to or from the body
    • A61B2018/00636Sensing and controlling the application of energy
    • A61B2018/00773Sensed parameters
    • A61B2018/00839Bioelectrical parameters, e.g. ECG, EEG
    • AHUMAN NECESSITIES
    • A61MEDICAL OR VETERINARY SCIENCE; HYGIENE
    • A61BDIAGNOSIS; SURGERY; IDENTIFICATION
    • A61B18/00Surgical instruments, devices or methods for transferring non-mechanical forms of energy to or from the body
    • A61B2018/0091Handpieces of the surgical instrument or device
    • AHUMAN NECESSITIES
    • A61MEDICAL OR VETERINARY SCIENCE; HYGIENE
    • A61BDIAGNOSIS; SURGERY; IDENTIFICATION
    • A61B90/00Instruments, implements or accessories specially adapted for surgery or diagnosis and not covered by any of the groups A61B1/00 - A61B50/00, e.g. for luxation treatment or for protecting wound edges
    • A61B90/39Markers, e.g. radio-opaque or breast lesions markers
    • A61B2090/3966Radiopaque markers visible in an X-ray image
    • AHUMAN NECESSITIES
    • A61MEDICAL OR VETERINARY SCIENCE; HYGIENE
    • A61MDEVICES FOR INTRODUCING MEDIA INTO, OR ONTO, THE BODY; DEVICES FOR TRANSDUCING BODY MEDIA OR FOR TAKING MEDIA FROM THE BODY; DEVICES FOR PRODUCING OR ENDING SLEEP OR STUPOR
    • A61M2205/00General characteristics of the apparatus
    • A61M2205/02General characteristics of the apparatus characterised by a particular materials
    • A61M2205/0233Conductive materials, e.g. antistatic coatings for spark prevention

Landscapes

  • Health & Medical Sciences (AREA)
  • Life Sciences & Earth Sciences (AREA)
  • Engineering & Computer Science (AREA)
  • Animal Behavior & Ethology (AREA)
  • Veterinary Medicine (AREA)
  • Public Health (AREA)
  • Biomedical Technology (AREA)
  • Heart & Thoracic Surgery (AREA)
  • General Health & Medical Sciences (AREA)
  • Anesthesiology (AREA)
  • Pulmonology (AREA)
  • Biophysics (AREA)
  • Hematology (AREA)
  • Surgery (AREA)
  • Mechanical Engineering (AREA)
  • Physics & Mathematics (AREA)
  • Plasma & Fusion (AREA)
  • Nuclear Medicine, Radiotherapy & Molecular Imaging (AREA)
  • Otolaryngology (AREA)
  • Cardiology (AREA)
  • Medical Informatics (AREA)
  • Molecular Biology (AREA)
  • Media Introduction/Drainage Providing Device (AREA)

Description

本発明は、医療用カテーテルに用いられるカテーテル用ハンドルと、それを備えたカテーテルに関するものである。
医療用カテーテルは、通常、血管や消化管や尿管などの体内の管腔部に挿入するためのカテーテルチューブと、カテーテルチューブの近位側に設けられたハンドルとから構成されている。カテーテルには、手元のハンドルを操作してカテーテルチューブの遠位側を屈曲できるように構成されたものが知られており、このようなカテーテルは、カテーテルチューブの内腔に、カテーテルチューブの遠位側に固定されたワイヤが配され、ワイヤの近位側がハンドルに接続され、ハンドルを操作してワイヤを近位側に引いたり遠位側に押したりすることにより、カテーテルチューブの遠位側を屈曲できるようになっている。カテーテルチューブの遠位側に電極が設けられた電極付きカテーテルでは、カテーテルチューブの内腔にさらに導線が配されており、導線の近位側がハンドル内部まで延在して設けられている。なお、本明細書において、「電極付きカテーテル」を単に「電極カテーテル」と称する場合がある。
例えば特許文献1には、電極のリード線や各種チューブなどの長尺部品を内部に配することができるカテーテル用ハンドルが開示されており、当該ハンドルは、第1ハンドル部材と第2ハンドル部材とを組み合わせてなるハンドル本体と、前記第1ハンドル部材と前記第2ハンドル部材との間に配置され、前記ハンドル本体に対して、その長手方向に垂直な回転軸の周りを回転自在に装着され、前記カテーテルシャフトの先端を偏向させるための操作用ワイヤの基端が連結される回転板を有する回転操作部と、前記第1ハンドル部材に対して回転不能に固定されるとともに、前記回転板の回転軸に沿って当該回転板を貫通するよう配置され、その先端に雄ねじ部を有する調整ピンと、前記調整ピンの雄ねじ部と螺合する雌ねじ部を有し、前記第2ハンドル部材に対して回転可能に装着された調整摘みと、前記調整ピンの雄ねじ部と前記調整摘みの雌ねじ部との螺合深さに応じて前記回転板の操作力が変化するように、前記ハンドル本体と前記回転板との間に配置された弾性部材とを備えてなり;前記回転操作部は、互いに同径の円板状に形成された第1回転部材と第2回転部材とを組み合わせてなる前記回転板と、前記第1回転部材と前記第2回転部材との間に配置されるとともに、前記ハンドル本体に対して回転不能に固定された中間部材とを備えてなり;前記中間部材には、先端側から前記ハンドル本体の内部に挿入される長尺部品を、当該ハンドル本体の長手方向の中心軸に沿って延在させるための案内路と、前記回転板の外周形状に合致する形状を有する、前記回転操作部の外周壁とが一体的に形成され;前記調整ピンには、前記中心軸に沿って延在する長尺部品を挿通可能な貫通孔が形成されている(特許文献1の請求項1)。特許文献1にはまた、ハンドル本体と、このハンドル本体を構成する第1ハンドル部材と第2ハンドル部材との間に配置された回転板とを有するカテーテル用ハンドルにおいて、第1ハンドル部材と回転板の間に長尺部品を配置した態様も開示されている(特許文献1の段落0003、0008)。
特開2013-192670号公報
特許文献1に開示されたカテーテル用ハンドルでは、導線などの長尺部品が回転板と厚み方向に重なって配されることとなる。そのため、ハンドルはある程度の厚みを有するものとなる。一方、カテーテル用ハンドルは、ハンドル操作に支障を来さない範囲でコンパクトに形成され、かつ厚みが薄く形成されることが望ましい。これにより、カテーテルを用いた施術の際にハンドルの置き場所を選ばずに済み、また患者の身体の上にハンドルを置いたりしてもハンドルが転げ落ちにくくなる。本発明は前記事情に鑑みてなされたものであり、その目的は、電極カテーテルに用いられるカテーテル用ハンドルであって、コンパクトな大きさで厚みを薄く形成できるカテーテル用ハンドルと当該ハンドルを備えたカテーテルを提供することにある。
前記課題を解決することができた本発明のカテーテル用ハンドルとは、ワイヤと導線が内部に配置されたカテーテルチューブを接続して操作するためのものであって;ハンドルは、カテーテルチューブの近位側が接続されるハンドル本体と、ハンドル本体に対して回転自在に設けられ、ワイヤの近位側が固定される回転部材とを有し;回転部材は、ハンドルの遠近方向と幅方向に対して垂直な回転軸を有し、ハンドル本体の外側から回転操作可能な操作部を備え;ハンドル本体内には、回転部材の回転軸方向からの平面視で、回転部材が回転移動可能な第1空間と導線を配置するための第2空間が設けられ、第2空間が、第1空間よりも遠位側から第1空間よりも近位側にかけて設けられており;回転部材の回転軸を挟んで、操作部は、ハンドルの幅方向の一方側に設けられ、第2空間は、ハンドルの幅方向の他方側に設けられており;回転部材は、第1空間に配置され回転軸を中心に回転移動したいずれかの状態で、回転軸中心を通り幅方向に延びる仮想直線上において、回転軸中心から幅方向の一方側の回転部材の外縁までの長さL1が、回転軸中心から幅方向の他方側の回転部材の外縁までの長さL2よりも長いところに特徴を有する。
本発明のカテーテル用ハンドルは、ワイヤと連結された回転部材の操作性を確保しつつ、コンパクトな大きさで厚みを薄く形成することができる。
カテーテル用ハンドルを備えた電極付きカテーテルの全体図を表す。 図1に示したカテーテルに設けられたハンドルの平面図を表す。 図2に示したハンドルの内部構造の平面図を表す。 図2に示したハンドルの内部構造の平面図を表し、回転部材によってワイヤを牽引している状態を表す。 図3および図4に示したハンドルのハンドル本体の内部構造の平面図を表す。 図3に示したハンドルの主要部の内部構造を表し、ハンドル本体と回転部材の平面図を表す。 図3に示したハンドルの回転部材の平面図を表す。 回転部材の他の例の平面図を表す。 図2に示したハンドルのIX-IX断面図を表す。
本発明は、カテーテルチューブに電極を備える電極付きカテーテルに用いられるハンドルに関するものである。電極カテーテルは、通常、血管などの体内の管腔部に挿入するためのカテーテルチューブと、カテーテルチューブの近位側に設けられたハンドルとから構成され、カテーテルチューブの内腔に配されたワイヤの遠位側をカテーテルチューブに固定し、近位側をハンドルに固定して、ハンドルを操作してワイヤをハンドル側に引き込むことにより、カテーテルチューブの遠位側を屈曲させることができる。電極カテーテルは、カテーテルチューブの内腔に導線が配されており、導線の遠位側をカテーテルチューブの遠位側に設けられた電極に接続し、導線の近位側をハンドル内を通って検出器や電源に接続することにより、電極からの電気信号を受信したり、電極に印加したり通電することができる。これにより、カテーテルを用いて心電位を計測したり、アブレーション治療や除細動処置をすることができる。
電極カテーテル用のハンドルは、ハンドル内にワイヤと導線が配置され、さらにワイヤを操作する操作部材なども設けられるため、ハンドル内に設置される部材数が多くなり、内部構造が比較的複雑になる。カテーテル用ハンドルは、基本的にワイヤの操作部材(例えば、回転部材)を中心に構成されるが、ワイヤ操作部材が存在する部分に導線を配置すると、操作部材と導線が干渉するという問題がある。ワイヤ操作部材が存在しない部分に導線を配置しようとすると、ハンドルの大きさが限られるので配置が困難になるという問題がある。また、ハンドル内において導線を配置するためのスペースが狭いと、導線に負荷がかかりやすい形で配設され、断線が起こったり絶縁被覆が破壊されやすくなる。一方、導線を配置するためのスペースを広くとると、ハンドルの大きさが大きくなりがちである。本発明のカテーテル用ハンドルはそのような電極カテーテルに用いられるものであり、ハンドル内にワイヤの操作部材や導線を効率的に配置して、コンパクトな大きさで厚みも薄く形成することを可能とするものである。
以下、下記実施の形態に基づき本発明のカテーテル用ハンドルと当該ハンドルを備えたカテーテルを具体的に説明するが、本発明はもとより下記実施の形態によって制限を受けるものではなく、前・後記の趣旨に適合し得る範囲で適当に変更を加えて実施することも勿論可能であり、それらはいずれも本発明の技術的範囲に包含される。なお、各図面において、便宜上、ハッチングや部材符号等を省略する場合もあるが、かかる場合、明細書や他の図面を参照するものとする。また、図面における種々部材の寸法は、本発明の特徴の理解に資することを優先しているため、実際の寸法とは異なる場合がある。
まず図1および図2を参照して、カテーテル用ハンドルを備えたカテーテルの全体を説明する。カテーテル21は、カテーテルチューブ22と、カテーテルチューブ22の近位側に設けられたハンドル1とを有する。カテーテルチューブ22の遠位側には電極23が備わっており、内部にワイヤと導線が配置されている。カテーテル21は、例えば、カテーテルチューブ22を患者の血管内を通って心臓まで到達させて、心臓における不整脈の検査や治療に用いられる。本発明において、カテーテルあるいはカテーテル用ハンドルの近位側とは、カテーテルの延在方向に対して使用者つまり術者の手元側の方向を指し、遠位側とは近位側の反対方向、すなわち処置対象側の方向を指す。
カテーテルチューブ22は、可撓性を有する管状構造を有しており、例えば、ポリオレフィン樹脂(例えば、ポリエチレンやポリプロピレン)、ポリアミド樹脂(例えば、ナイロン)、ポリエステル樹脂(例えば、PET)、芳香族ポリエーテルケトン樹脂(例えば、PEEK)、ポリエーテルポリアミド樹脂、ポリウレタン樹脂、ポリイミド樹脂、フッ素樹脂(例えば、PTFE、PFA、ETFE)等の合成樹脂や、ステンレス鋼、炭素鋼、ニッケルチタン合金等の金属から構成することができる。金属材料は、合成樹脂チューブ内に埋め込まれた金属線材としても用いることができる。カテーテルチューブ22の軸方向(遠近方向)の長さは、ハンドルの同方向の長さの数倍から数十倍程度長くなっており、例えば、500mm~1200mm程度である。カテーテルチューブ22の外径は、例えば、0.6mm~3mm程度とすればよい。
カテーテルチューブ22は内腔を有しており、内部に1つの内腔を有するシングルルーメン構造であっても、複数の内腔を有するマルチルーメン構造のいずれであってもよい。カテーテルチューブ22の内腔には、電極23に接続した導線や、カテーテルチューブ22の遠位側を屈曲させるためのワイヤが配置される。カテーテルチューブ22の内腔に配される導線は1本であっても複数本であってもよいが、通常は電極23はカテーテルチューブ22に複数設けられることから、導線も各電極23に接続するために複数設けられる。導線は導線群として配されてもよい。複数の導線は、それぞれ別のルーメンに配置されてもよく、同一のルーメンに配置されてもよい。また、複数の導線を束ねて配置することもできる。
カテーテルチューブ22の遠位側には、複数の電極23が離間して設けられている。図1では、先端電極23Aと複数のリング状電極23Bが設けられている。電極カテーテルでは、電極23を患者の心臓に接触させ、不整脈の検査や治療が行われる。電極23は、例えば、銅、金、白金、アルミニウム、鉄、またはこれらの合金等の金属材料から構成することができる。なお、カテーテルの使用時におけるX線に対する造影性を良好にするために、電極23は、白金またはその合金から構成されていることが好ましい。
カテーテル用ハンドル1はカテーテルチューブ22の近位側に設けられ、カテーテルとして組み立てた際には、カテーテルチューブ22の内腔に配されたワイヤ8の遠位側がカテーテルチューブ22、例えば、カテーテルチューブ22の遠位側1/3の部分に固定され、近位側がハンドル1に固定される(図2を参照)。導線9は、遠位側がカテーテルチューブ22に固定され、具体的には、カテーテルチューブ22に設けられた電極23に接続され、近位側がハンドル1内を通って検出器や電源に接続される。
ワイヤ8は、ハンドル1の操作によってカテーテルチューブ22を屈曲させるために設けられ、例えば、ステンレス鋼、炭素鋼、ニッケルチタン合金等の金属線材や、ポリアミド樹脂(例えば、ナイロン)、ポリオレフィン樹脂(例えば、ポリエチレンやポリプロピレン)、ポリエステル樹脂(例えば、PET)、芳香族ポリエーテルケトン樹脂(例えば、PEEK)、ポリイミド樹脂、フッ素樹脂(例えば、PTFE、PFA、FEP、ETFE)等の合成樹脂から形成された線条を用いることができる。ワイヤ8は、1本の線材であってもよく、複数の線状物からなる構造を有していてもよい。ワイヤ8の径(直径)としては、例えば、100μm~500μm程度とすることができる。ワイヤ8は、コイル状の金属や合成樹脂によって形成された筒体によって被覆されていてもよい。
導線9は、少なくとも導電性材料を含んで構成されていればよく、例えば、鉄線、銀線、ステンレス線、銅線、タングステン線、ニッケルチタン線、これらの合金等を用いることができる。導線9は、導電性材料を芯材として含み、当該芯材が絶縁性材料で被覆されていることが好ましい。絶縁性材料としては、フッ素樹脂(例えば、PTFE、PFA、FEP、ETFE)、ポリオレフィン樹脂(例えば、ポリエチレンやポリプロピレン)、ポリ塩化ビニル樹脂等を用いることができる。
カテーテル用ハンドルの詳細について、図2~図9を参照して説明する。なお、図3は回転部材によってワイヤを最も牽引していない状態を表し、図4は回転部材によってワイヤを最も牽引している状態を表している。また図6では、便宜上、ハンドル本体の断面部分のハッチングを省略している。
ハンドル1は、カテーテルチューブ22の近位側が接続されるハンドル本体2と、ハンドル本体2に対して回転自在に設けられた回転部材3とを有する。回転部材3は、ハンドル1の遠近方向と幅方向に対して垂直な回転軸5を有しており、回転軸5を中心として、遠近方向と幅方向を含んで形成される平面上で回転移動可能に形成されている。回転移動とは、回転軸5を固定した回転部材3の回転をいう。なお、必要に応じて回転部材3そのものがハンドル1内で移動可能な構成であってもよく、このような移動は回転部材の移動といい、回転部材3の回転移動とは異なる。
ハンドル1において、遠近方向とは、上記に説明したハンドル1の近位側から遠位側に延びる方向、またはその逆方向を意味し、幅方向は遠近方向に対して垂直方向を意味する。また、回転軸5が延びる方向を回転軸方向と称する。ハンドル1は、回転軸方向に対して上側と下側が定められ、回転軸方向はハンドル1の厚み方向に相当する。図2ではハンドル1を上側から見た外観図が示されている。
ハンドル本体2の内部には、回転部材3とともに、ワイヤ8と導線9が配置される。ハンドル本体2は、遠位側にカテーテルチューブ22を接続する接続口13を有しており、カテーテルチューブ22内に配置されたワイヤ8と導線9の近位側が、接続口13を通ってハンドル本体2内に延在している。図9では、ハンドル本体2が、回転部材3を回転軸方向の上側と下側の両側から挟むように配置されているが、回転部材3の片側のみにハンドル本体2が設けられてもよい。前者の場合、ハンドル本体2は例えば、回転部材3の下側に配置された第1ハンドル部材2Aと、回転部材3の上側に配置された第2ハンドル部材2Bとから構成され、第1ハンドル部材2Aと第2ハンドル部材2Bとによって形成されるハンドル本体2の内部空間に回転部材3が保持される。後者の場合、ハンドル本体2の表面に回転部材3が露出して配置される。ハンドル本体2は、例えば合成樹脂から形成することができる。
回転部材3は、ハンドル本体2に対して回転自在に設けられ、図3や図4に示すように、ワイヤ8の近位側が固定される。回転部材3には、ワイヤ8の近位側を固定するワイヤ係止部6が備えられ、ワイヤ8の近位側がワイヤ係止部6に固定されることが好ましい。ワイヤ8の回転部材3への固定方法は、例えば、接着剤による接着、合成樹脂を溶かして固定する溶着、ネジ等の別部材を用いた固定、凹凸の嵌合などの方法や、これらの組み合わせなどが挙げられる。回転部材3は、例えば合成樹脂から形成することができる。回転部材3は筐体として構成され、内部にワイヤ8の近位側が配置されることが好ましい。この場合、回転部材3にはワイヤ8の挿入口が設けられ、ワイヤ8の近位側が挿入口を通って回転部材3に導入されることができる。回転部材3を構成する筐体は2つ以上の部材から構成され、これらの部材間にワイヤ8を挟むことにより、ワイヤ8を固定することができる。
ハンドル1は、回転部材3を回転移動させることにより、カテーテルチューブ22の内腔に配されたワイヤ8を遠近方向に移動することができる。図面に示したハンドル1では、回転部材3を反時計回りに回転移動させることで、ワイヤ8を近位側に牽引することができ、図3に示した状態から図4に示した状態に回転部材3を回転変位させることでワイヤ8が近位側に牽引され、カテーテルチューブ22の遠位側を屈曲させることができる。回転部材3が回転移動可能な角度範囲は、カテーテルあるいはハンドルの操作性を良好にする点から、25°以上が好ましく、35°以上がより好ましく、また90°以下が好ましく、60°以下がより好ましい。なお前記角度範囲は、回転部材3上の任意の1点を見たときに、当該点が回転部材3の回転によって移動可能な角度範囲を意味する。
ハンドル1は、ワイヤ8を近位側に牽引することによって、カテーテルチューブ22の遠位側を屈曲させ、ワイヤ8を遠位側に押し出すことによってカテーテルチューブ22の遠位側を屈曲させるものであってもよい。ワイヤ8の遠位側がカテーテルチューブ22の遠位側に固定されていると、ワイヤ8を近位側から押し込むことによっても、カテーテルチューブ22を屈曲させることができる。
回転部材3は、ハンドル本体2の外側から回転操作可能な操作部4を備えている。操作部4はハンドル1の外側に露出して設けられ、使用者が操作部4に触れて回転部材3を回転移動できるように形成されている。操作部4は、回転部材3の外縁の一部を構成している。操作部4は、回転軸5に対して外方に突出した突出部を含んで形成されており、その突出部は、ハンドル本体2から少なくとも一部が露出していることが好ましい。図6に示すように、操作部4は、回転部材3の回転軸5を中心とした円弧の一部を含むように形成されていてもよい。また、当該円弧から回転軸5に対して外方に突出した突出部を含むように操作部4が形成されていてもよい。
図5には回転部材3等を取り除いたハンドル本体2の内部構造を示したが、図5に示すように、ハンドル本体2内には、回転部材3の回転軸方向からの平面視で、回転部材3が回転移動可能な第1空間11と導線9を配置するための第2空間12が設けられている。回転部材3は、その回転軸5を中心とした回転に伴い、第1空間11内で移動可能である。つまり、図3および図4に示すように、回転の前後で、回転軸5の位置は同一であり、第1空間11内での回転部材3の位置が異なる。
第1空間11は、回転部材3の回転移動の前後においてハンドル本体2内で回転部材3が存在しうる空間であり、第1空間11内で回転部材3がその回転軸5を中心として回転移動可能である。回転部材3が回転移動可能な角度範囲は、第1空間11のサイズやハンドル本体2に設けられた回転部材3のための開口部の大きさによって、設定することができる。ハンドル本体2内に設けた仕切り部10や突起部に回転部材3が接触することや、操作部4がハンドル本体2の筐体部分に接触することによって、回転部材3が回転移動可能な角度範囲が規制されてもよい。
第2空間12はハンドル本体2内で導線9が配置されうる空間であり、図5では、ハンドル本体2内で、第1空間11を含む仕切り部10で囲まれた部分と後述するワイヤ挿入空間15以外の領域が、第2空間12に相当する。第2空間12は、ハンドル本体2内で、第1空間11よりも遠位側から第1空間11よりも近位側にかけて設けられている。これにより、導線9を接続口13からハンドル本体2内に導入して、導線9の近位側をハンドル本体2内の第2空間12を通って回転部材3や第1空間11の近位側まで延在させることができる。第2空間12は、最も狭い部分が、好ましくは0.5mm以上3.0mm以下の幅、より好ましくは1.0mm以上2.5mm以下の幅で形成され、これにより第2空間12内で導線9を安定して配置しやすくなる。
図6に示すように、ハンドル1は、回転部材3の回転軸5を挟んで、操作部4が幅方向の一方側に設けられ、第2空間12が幅方向の他方側に設けられている。そして、回転部材3は、回転軸5の中心を通り幅方向に延びる仮想直線W上において、回転軸5の中心から操作部4が設けられた幅方向の一方側の回転部材3の外縁までの長さL1が、回転軸5の中心から第2空間12側である幅方向の他方側の回転部材3の外縁までの長さL2よりも長く形成されている。このようにハンドル1を形成することにより、ハンドル本体2をコンパクトかつ薄型に形成しつつ、導線9に無理な負荷をかけることなく配置することが可能な第2空間12を、第1空間11と幅方向に並べて形成することが可能となる。すなわち、ハンドル1の幅方向の他方側では、回転部材3は回転軸中心から外縁までの長さL2が短く形成されているため、ハンドル本体2の幅方向の他方側の幅を大きく広げなくても、導線9を配置するための第2空間12を確保しやすくなる。また、接続口13からハンドル本体2内に導入された導線9を、急な角度で屈曲させることなくハンドル本体2内に配置することが可能となる。一方、ハンドル1の幅方向の一方側では、回転部材3の回転軸中心から外縁までの長さL1が長く形成されているため、操作部4を軽い力で操作しやすくなる。なお回転部材3は、第1空間11に配置され、回転部材3の回転軸5を中心に回転移動したいずれかの状態で、上記のような位置関係にあればよく、回転部材3の回転移動可能な角度範囲のうち、60%以上の角度範囲で上記のように形成されていることが好ましく、75%以上がより好ましく、90%以上がさらに好ましい。
上記に説明した回転部材3の回転軸中心から外縁までの長さL1と長さL2について、長さL1は長さL2の1.5倍以上が好ましく、2.0倍以上がより好ましく、2.5倍以上がさらに好ましく、これにより上記に説明した作用効果がより奏されやすくなる。一方、回転部材3の幅方向の他方側の強度を確保し、また回転部材3をコンパクトに形成する観点から、長さL1は長さL2の8.0倍以下が好ましく、6.0倍以下がより好ましく、5.0倍以下がさらに好ましい。
回転部材3の形状は、上記に説明したように、操作部4が設けられた幅方向の一方側が、第2空間12側に位置する幅方向の他方側よりも、回転軸中心から回転部材3の外縁までの長さが長く形成されている限り、特に限定されない。なお、導線9を配置するための第2空間12を、回転部材3の回転軸5の近くに配置できるようにする観点から、回転部材3は次のように形成されることが好ましい。すなわち回転部材3は、図7に示すように、回転軸中心から回転部材3の外縁までの最長長さを長さLとしたとき、回転軸中心から回転部材の外縁までの長さが0.5L以下となる角度領域、すなわち短径角度領域Sを有し、当該角度領域Sが、回転部材3の回転軸中心の120°以上の範囲であることが好ましい。このように短径角度領域Sを有するように回転部材3が形成されていれば、ハンドル本体2内に導線9を急な角度で屈曲させることなく配置しやすくなる。また、第2空間12と回転軸5とを近くに配置できるようになるため、ハンドル1をより小さいサイズに形成することができる。なお、短径角度領域Sは、回転部材3の回転軸中心の150°以上の範囲で形成されていることがより好ましく、180°以上がさらに好ましい。また、回転軸中心から回転部材3の操作部4までの長さが最長長さLとなることが好ましい。
図8には、回転部材3の他の例を示した。図8(a),(b)に示した回転部材3はいずれも、短径角度領域Sが120°以上となる形状を有している。図8(a),(b)に示したような形状の回転部材3であっても、回転部材3の操作性を確保しながら、ハンドル本体2内に導線9を配置するための第2空間12を広く確保しやすくなる。なお、図8(a),(b)に示したような回転部材3をハンドル本体2に設ける場合、ハンドル本体2や後述する仕切り部10の形状は、回転部材3の形状に合わせて適宜設定すればよい。
回転部材3は、より軽い力でワイヤ8の牽引操作が可能となり、また当該操作の細かな制御が容易になる点から、ワイヤ係止部6の回転軸中心からの長さが、操作部4の回転軸中心からの長さよりも短いことが好ましい。より好ましくは、ワイヤ係止部6の回転軸中心からの長さが、操作部4の回転軸中心からの長さの80%以下であり、さらに好ましくは65%以下である。一方、回転部材3の回転操作によるワイヤ8の牽引長さを確保する観点から、ワイヤ係止部6の回転軸中心からの長さは、操作部4の回転軸中心からの長さの10%以上が好ましく、20%以上がより好ましい。なお、ワイヤ係止部6の回転軸中心からの長さは、回転部材3の回転軸中心から、ワイヤ係止部6のワイヤ8の固定点までの長さを意味する。ここで、ワイヤ係止部6のワイヤ8の固定点は、ワイヤ8がワイヤ係止部6によって固定される部分と固定されない部分との境界点に相当する。ワイヤ8は当該固定点より遠位側では固定されない。操作部4の回転軸中心からの長さは、回転部材3の回転軸中心から操作部4までの長さのうちの最長長さを意味する。
ワイヤ係止部6は、図3や図4に示すように、回転部材3の回転軸中心よりも近位側に位置することが好ましい。これにより、回転部材3を回転移動させた際に、ワイヤ8を牽引してワイヤ8の近位側をハンドル本体2内に引き込みやすくなる。この場合、ワイヤ係止部6は、回転部材3が回転移動可能な50%以上の角度範囲で、ワイヤ係止部6が回転部材3の回転軸中心よりも近位側に位置していることが好ましく、70%以上の角度範囲がより好ましく、90%以上の角度範囲がさらに好ましい。一方、ワイヤをカテーテル先端側へ押し込んで屈曲させる構造のカテーテルである場合、牽引して屈曲させる構造とは逆に、ワイヤ係止部6は回転部材3の回転軸中心よりも遠位側に位置することが好ましい。この場合、ワイヤ係止部6は、回転部材3が回転移動可能な50%以上の角度範囲で、ワイヤ係止部6が回転部材3の回転軸中心よりも遠位側に位置していることが好ましく、70%以上の角度範囲がより好ましく、90%以上の角度範囲がさらに好ましい。
ワイヤを牽引してカテーテルの先端を屈曲させる構造のカテーテルである場合、回転部材3は、回転部材3を回転移動させてワイヤ8を最も牽引した状態で、ワイヤ8が回転部材3の回転軸5の外周側に接するようにワイヤ係止部6が設けられていることが好ましい。このようにワイヤ係止部6が設けられることにより、回転部材3を回転移動させた際に、ワイヤ8を牽引しやすくなる。なお、ワイヤ係止部6は、回転部材3によってワイヤ8を最も牽引していない状態、すなわち回転部材3を回転移動させてワイヤ係止部6が最も遠位側にある状態で、回転部材3の回転軸中心よりも幅方向の一方側、すなわち操作部4側に位置することが好ましい。
回転部材3の回転操作によってより軽い力でワイヤ8を操作可能となる点から、回転部材3の回転軸中心は、ハンドル1の幅方向において、接続口13と重なる位置にあるか、接続口13よりも幅方向の他方側、すなわち第2空間12側に位置することが好ましい。例えば、回転部材3の回転軸中心は、ハンドル1の幅方向において、接続口13と重なる位置にあるか、接続口13よりも幅方向の他方側に5mm以内に位置することが好ましく、3mm以内に位置することがより好ましい。一方、第2空間12をより広く確保する観点から、回転部材3の回転軸中心は、ハンドル1の幅方向において、接続口13よりも幅方向の一方側、すなわち操作部4側に位置していてもよい。この場合、回転部材3の操作性を確保する点から、回転部材3の回転軸中心は、ハンドル1の幅方向において、接続口13よりも幅方向の一方側に5mm以内に位置することが好ましく、3mm以内に位置することがより好ましい。
ハンドル本体2は、幅方向の一方側と他方側が略対称に形成されていることが好ましい。例えば、ハンドル本体2は、幅方向の他方側、すなわち第2空間12側が過度に広がった形状でないことが好ましい。ハンドル本体2は、例えば、回転部材3の回転軸中心を通り幅方向に延びる仮想直線W上において、回転軸中心を挟んだ一方側と他方側の長さ、すなわち回転軸中心からハンドル本体2の外縁までの長さの差が10mm以内であることが好ましく、8mm以内がより好ましく、5mm以内がさらに好ましい。
ハンドル本体2内において、回転部材3が存在しうる第1空間11と、導線9が配置されうる第2空間12は、仕切り部10によって区分されていることが好ましい。つまり、第1空間11と第2空間12の境界に仕切り部10が設けられていることが好ましい。これにより、導線9が回転部材3と接触することが防止され、導線9が回転部材3に巻き込まれたりして導線9が擦過したり断線することが起こりにくくなる。
仕切り部10は、第1空間11と第2空間12の境界に連続的に設けられていてもよく、断続的に設けられていてもよい。なお、導線9と回転部材3との接触ができるだけ起こらないようにする点から、仕切り部10は、第1空間11と第2空間12の境界の50%以上に設けられることが好ましく、70%以上がより好ましく、80%以上がさらに好ましく、90%以上がさらにより好ましい。また、仕切り部10は、ハンドル本体2内で第1空間11と第2空間12が幅方向に並んで存在する部分の第1空間11と第2空間12の境界に少なくとも設けられることが好ましい。仕切り部10が断続的に設けられる場合は、その断続部分の1つ当たりの長さ、すなわち離間距離は、導線9と回転部材3との接触を防ぐ点から、5mm以下が好ましく、4mm以下がより好ましく、3mm以下がさらに好ましい。断続部分の長さの下限は特に限定されないが、例えば0.5mm以上であればよい。なお、第1空間11と第2空間12の境界の少なくとも一部には、ワイヤ8を第1空間11や回転部材3に引き込むための隙間、あるいは断続部分が形成されていることが好ましい。
図6等に示すように、回転部材3は、回転軸5を中心とする回転移動によって、回転部材3の外縁の一部が仕切り部10の一部に接するように形成されていることが好ましい。このように仕切り部10を設けることより、ハンドル本体2内において、回転部材3の回転移動範囲を規制することができる。図6の配置において、仕切り部10は、回転部材3を時計回りに回転移動させたときに、回転部材3の外縁の一部が接するように設けられるとともに、回転部材3を反時計回りに回転移動させたときに、回転部材3の外縁の他の一部が接するように設けられることが好ましい。
回転部材3と仕切り部10はまた、次のように構成されていることが好ましい。すなわち、図6に示すように、仕切り部10は、第1仕切り直線部10Aと第2仕切り直線部10Bとを有し、回転部材3の外縁は、第1直線部7Aと第2直線部7Bとを有し、回転部材3の回転軸5を中心とする回転移動によって、第1直線部7Aが第1仕切り直線部10Aに近づき、第2直線部7Bが第2仕切り直線部10Bから離れる、または、第2直線部7Bが第2仕切り直線部10Bに近づき、第1直線部7Aが第1仕切り直線部10Aから離れるように構成されていることが好ましい。この場合、第1直線部7Aと第1仕切り直線部10Aは、互いに近接した状態で略平行となっていることが好ましく、第2直線部7Bと第2仕切り直線部10Bは、互いに近接した状態で略平行となっていることが好ましい。ここで、第1直線部7Aと第1仕切り直線部10Aとが互いに近接した状態とは、図6に示すように、回転部材3を時計回りに回転移動させた後の状態をいう。このように回転部材3と仕切り部10が形成されていれば、仕切り部10の第1仕切り直線部10Aと第2仕切り直線部10Bによって、回転部材3の回転移動範囲が確実に規制されやすくなる。
図5や図6に示すように、ハンドル本体2には、回転部材3より遠位側に、ハンドル本体2の遠位側(接続口13)から挿入されたワイヤ8と導線9を分岐するための分岐部14が設けられ、分岐部14において、第1空間11に連通したワイヤ挿入空間15が設けられることが好ましい。分岐部14は、ハンドル本体2内において、第1空間11よりも遠位側に位置し、ワイヤ8を配置するための空間と導線9を配置するための空間とに分岐する部分であり、ワイヤ8を配置するための空間がワイヤ挿入空間15となり、導線9を配置するための空間が第2空間12となる。このように分岐部14が設けられていれば、回転部材3を回転移動させてワイヤ8を近位側に牽引または遠位側へ押し込んだ際に、ワイヤ8とともに導線9も回転部材3に引き込まれたり、ワイヤ8と導線9とが擦れ合ったりすることが防止され、それによってワイヤ8が損傷したり、ワイヤ8に無理な負荷がかかったりすることが防止される。
ワイヤ挿入空間15には、ワイヤ8を通すための開口を有するワイヤ案内部材16が設けられていることが好ましい。ワイヤ案内部材16の開口を通してワイヤ8を回転部材3に導入することにより、回転部材3を回転移動させた際に、安定してワイヤ8を回転部材3に引き込んで近位側に牽引することができる。また、ワイヤ案内部材16によって、導線9がワイヤ挿入空間15や回転部材3に引き込まれることを防止することもできる。ワイヤ案内部材16は、例えば合成樹脂から形成することができる。
ワイヤ案内部材16の開口は、遠位側の開口径が近位側の開口径よりも大きいことが好ましい。このようにワイヤ案内部材16が形成されていれば、ハンドル本体2の接続口13から挿入されたワイヤ8を、無理な負荷がかかることなくワイヤ案内部材16の開口に導入しやすくなる。ワイヤ8が、コイル状の金属や合成樹脂によって形成された筒体によって被覆されている場合は、ワイヤ案内部材16の開口で筒体がさらに近位側に引き込まれないようにして、ワイヤ8のみを回転部材3に導入されるようにすることができる。
回転部材3は、回転軸5を中心に回転移動可能に形成されているとともに、任意の回転角度でハンドル本体2に対して位置固定できるように形成されていることが好ましい。この位置固定により、カテーテルチューブ22の遠位側の屈曲形状を一定に保つことができる。そのためにハンドル1は、図9に示すように、回転部材3とハンドル本体2との間に弾性部材17が設けられ、弾性部材17と回転部材3とが接触していることが好ましい。また、回転部材3が、弾性部材17を介してハンドル本体2に対して回転軸方向に押圧可能に形成されていてもよい。この場合、ハンドル1を回転軸方向に沿った断面で見たときに、回転部材3とハンドル本体2との間に弾性部材17が配置され、回転部材3を弾性部材17を介してハンドル本体2に押圧することにより、回転部材3とハンドル本体2が弾性部材17に強く押し当てられ、回転部材3がハンドル本体2に対して自由に回転移動できないようになる。このように回転部材3の回転位置を固定することにより、ワイヤ8の位置が固定されるため、カテーテルチューブ22の遠位側の屈曲形状を固定して、カテーテルチューブ22の電極23を患者の心臓の内壁等に安定して接触させることができる。一方、回転部材3のハンドル本体2に対する押圧を解除すると、回転部材3がハンドル本体2に対して回転移動できるようになる。
弾性部材17は、シート状の弾性部材がハンドル本体2と回転部材3の間に設けられればよい。弾性部材17は、回転部材3と第1ハンドル部材2Aとの間に設けられてもよく、回転部材3と第2ハンドル部材2Bとの間に設けられてもよい。弾性部材17の形状は特に限定されない。図9では、回転部材3の回転軸5を取り囲むように環状の弾性部材17が設けられている。弾性部材17は、ハンドル本体2に取り付けられていてもよく、回転部材3に取り付けられていてもよい。弾性部材17は、弾性変形可能な材質で構成されることが好ましく、例えば、シリコーンゴム、ニトリルゴム、フッ素ゴム、天然ゴム等のゴム;スチレン-イソプレン-スチレンブロック共重合体(SIS)、スチレン-ブタジエン-スチレンブロック共重合体(SBS)、スチレン-エチレン-ブタジエン-スチレンブロック共重合体(SEBS)、スチレン-エチレン-プロピレン-スチレンブロック共重合体(SEPS)等のスチレン系エラストマー;ポリウレタン等のウレタン系エラストマーなどで構成することができる。
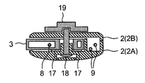
回転部材3を弾性部材17を介してハンドル本体2に対して押圧する手段は特に限定されないが、図9では、ボルト18とナット19が使用されている。具体的には、回転部材3の回転軸部分にハンドル本体2と回転部材3を貫通するボルト18を設け、把手が付いたナット19をボルト18に対して螺合している。ナット19をボルト18に対して締め付けることで、回転部材3を弾性部材17を介してハンドル本体2に対して押圧することができる。
以上説明した本発明のカテーテル用ハンドルについて、簡単にまとめる。本発明のカテーテル用ハンドルとは、ワイヤと導線が内部に配置されたカテーテルチューブを接続して操作するためのものであって;ハンドルは、カテーテルチューブの近位側が接続されるハンドル本体と、ハンドル本体に対して回転自在に設けられ、ワイヤの近位側が固定される回転部材とを有し;回転部材は、ハンドルの遠近方向と幅方向に対して垂直な回転軸を有し、ハンドル本体の外側から回転操作可能な操作部を備え;ハンドル本体内には、回転部材の回転軸方向からの平面視で、回転部材が回転移動可能な第1空間と導線を配置するための第2空間が設けられ、第2空間が、第1空間よりも遠位側から第1空間よりも近位側にかけて設けられており;回転部材の回転軸を挟んで、操作部は、ハンドルの幅方向の一方側に設けられ、第2空間は、ハンドルの幅方向の他方側に設けられており;回転部材は、第1空間に配置され回転軸を中心に回転移動したいずれかの状態で、回転軸中心を通り幅方向に延びる仮想直線上において、回転軸中心から幅方向の一方側の回転部材の外縁までの長さL1が、回転軸中心から幅方向の他方側の回転部材の外縁までの長さL2よりも長いところに特徴を有する。
本発明のカテーテル用ハンドルは、上記のように構成されることにより、ハンドル本体をコンパクトかつ薄型に形成しつつ、ハンドル本体内に、導線を配置するための第2空間を、導線に無理な負荷をかけることなく形成することができる。一方、ワイヤを牽引する回転部材は、操作部側において回転軸中心から外縁までの長さが長く形成されているため、回転部材を軽い力で操作しやすくなる。そのため、本発明のカテーテル用ハンドルは、回転部材の操作性を確保しつつ、コンパクトな大きさで厚みを薄く形成することができる。
ハンドル本体は、遠位側に、カテーテルチューブを接続する接続口を有し、回転軸中心は、幅方向において、接続口と重なる位置にあるか、接続口よりも幅方向の他方側に位置することが好ましい。カテーテル用ハンドルは、回転部材を回転移動させることによってワイヤを近位側に牽引することができるが、このような位置に回転部材の回転軸中心があれば、より軽い力でワイヤを牽引することができる。
回転部材は、ワイヤの近位側を固定するワイヤ係止部を備えており、ワイヤ係止部の回転軸中心からの長さが、操作部の回転軸中心からの長さよりも短いことが好ましい。このようにワイヤ係止部が設けられていれば、より軽い力でワイヤの牽引操作が可能となるとともに、当該操作の細かな制御が容易になる。
ワイヤ係止部は、回転部材の回転軸中心よりも近位側に位置することが好ましい。これにより、回転部材を回転移動させた際に、ワイヤを近位側に牽引してハンドル本体内に引き込みやすくなる。
回転部材は、回転軸中心から回転部材の外縁までの最長長さLに対して、回転軸中心から回転部材の外縁までの長さが0.5L以下となる角度領域を有し、前記角度領域が回転部材の回転軸中心の120°以上の範囲であることが好ましい。このように回転部材を形成することにより、ハンドル本体内において、導線を配置するための第2空間を、回転部材の回転軸の近くに形成できるようになる。
第1空間と第2空間の境界には仕切り部が設けられていることが好ましい。仕切り部を設けることにより、導線が回転部材と接触することが防止され、導線が回転部材に巻き込まれたりして導線が擦過したり断線することが起こりにくくなる。
回転部材は、回転軸を中心とする回転移動によって、回転部材の外縁の一部が仕切り部の一部に接することが好ましい。このように仕切り部を設けることより、回転部材の回転移動範囲を規制することができる。
仕切り部は、第1仕切り直線部と第2仕切り直線部とを有し、回転部材の外縁は、第1直線部と第2直線部とを有し、回転部材の回転軸を中心とする回転移動によって、第1直線部が第1仕切り直線部に近づき、第2直線部が第2仕切り直線部から離れる、または、第2直線部が第2仕切り直線部に近づき、第1直線部が第1仕切り直線部から離れるように形成されていることが好ましい。このように回転部材と仕切り部が形成されていれば、仕切り部の第1仕切り直線部と第2仕切り直線部によって、回転部材の回転移動範囲が確実に規制されやすくなる。
回転部材とハンドル本体との間には弾性部材が設けられ、回転部材は、弾性部材を介してハンドル本体に対して回転軸方向に押圧可能であることが好ましい。このようにハンドルが形成されていれば、回転部材を弾性部材を介してハンドル本体に押圧することによって、回転部材を任意の回転位置でハンドル本体に対して位置固定することができる。これにより、カテーテルチューブの遠位側の屈曲形状を固定することができる。
ハンドル本体は、回転部材の遠位側に、ハンドル本体の遠位側から挿入されたワイヤと導線を分岐するための分岐部を有し、分岐部において、ハンドル本体内に、第1空間に連通したワイヤ挿入空間が設けられていることが好ましい。このようにハンドル本体に分岐部が設けられていれば、回転部材を回転移動させてワイヤを近位側に牽引した際に、ワイヤとともに導線が回転部材に引き込まれることが防止され、それによってワイヤが損傷したり、ワイヤに無理な負荷がかかったりすることが防止される。
ワイヤ挿入空間には、ワイヤを通すための開口を有するワイヤ案内部材が設けられ、ワイヤ案内部材の開口は、遠位側の開口径が近位側の開口径よりも大きいことが好ましい。ワイヤ案内部材の開口を通してワイヤを回転部材に導入することにより、回転部材を回転移動させた際に、安定してワイヤを回転部材に引き込むことができる。
本発明はまた、本発明のカテーテル用ハンドルと、ハンドル本体の遠位側に接続されたカテーテルチューブと、遠位側がカテーテルチューブに固定され、近位側が回転部材に固定されたワイヤと、遠位側がカテーテルチューブに固定され、近位側が第2空間を通って回転部材の近位側に延在する導線とを有するカテーテルも提供する。本発明のカテーテルは上記に説明したハンドルを備えているため、ハンドルの操作性を確保しつつ、ハンドルをコンパクトかつ薄く形成することができる。
本願は、2018年1月31日に出願された日本国特許出願第2018-015107号に基づく優先権の利益を主張するものである。2018年1月31日に出願された日本国特許出願第2018-015107号の明細書の全内容が、本願に参考のため援用される。
1:カテーテル用ハンドル
2:ハンドル本体、2A:第1ハンドル部材、2B:第2ハンドル部材
3:回転部材
4:操作部
5:回転軸
6:ワイヤ係止部
7A:第1直線部、7B:第2直線部
8:ワイヤ
9:導線
10:仕切り部、10A:第1仕切り直線部、10B:第2仕切り直線部
11:第1空間
12:第2空間
13:接続口
14:分岐部
15:ワイヤ挿入空間
16:ワイヤ案内部材
17:弾性部材
18:ボルト
19:把手(ナット)
21:カテーテル
22:カテーテルチューブ
23,23A,23B:電極

Claims (12)

  1. ワイヤと導線が内部に配置されたカテーテルチューブを接続して操作するためのカテーテル用ハンドルであって、
    前記ハンドルは、前記カテーテルチューブの近位側が接続されるハンドル本体と、前記ハンドル本体に対して回転自在に設けられ、前記ワイヤの近位側が固定される回転部材とを有し、
    前記回転部材は、前記ハンドルの遠近方向と幅方向に対して垂直な回転軸を有し、前記ハンドル本体の外側から回転操作可能な操作部を備え、
    前記ハンドル本体内には、前記回転部材の回転軸方向からの平面視で、前記回転部材が回転移動可能な第1空間と導線を配置するための第2空間が設けられ、前記第2空間が、前記第1空間よりも遠位側から前記第1空間よりも近位側にかけて設けられており、
    前記回転部材の回転軸を挟んで、前記操作部は、前記ハンドルの前記幅方向の一方側に設けられ、前記第2空間は、前記ハンドルの前記幅方向の他方側に設けられており、
    前記回転部材は、前記第1空間に配置され前記回転軸を中心に回転移動したいずれかの状態で、前記回転軸中心を通り前記幅方向に延びる仮想直線上において、前記回転軸中心から前記幅方向の前記一方側の前記回転部材の外縁までの長さL1が、前記回転軸中心から前記幅方向の前記他方側の前記回転部材の外縁までの長さL2よりも長いことを特徴とするカテーテル用ハンドル。
  2. 前記ハンドル本体は、遠位側に、前記カテーテルチューブを接続する接続口を有し、
    前記回転軸中心は、前記幅方向において、前記接続口と重なる位置にあるか、前記接続口よりも前記幅方向の前記他方側に位置する請求項1に記載のカテーテル用ハンドル。
  3. 前記回転部材は、前記ワイヤの近位側を固定するワイヤ係止部を備えており、
    前記ワイヤ係止部の前記回転軸中心からの長さが、前記操作部の前記回転軸中心からの長さよりも短い請求項1または2に記載のカテーテル用ハンドル。
  4. 前記ワイヤ係止部は、前記回転部材の前記回転軸中心よりも近位側に位置する請求項3に記載のカテーテル用ハンドル。
  5. 前記回転部材は、前記回転軸中心から前記回転部材の外縁までの最長長さLに対して、前記回転軸中心から前記回転部材の外縁までの長さが0.5L以下となる角度領域を有し、前記角度領域が前記回転部材の前記回転軸中心の120°以上の範囲である請求項1~4のいずれか一項に記載のカテーテル用ハンドル。
  6. 前記第1空間と前記第2空間の境界に仕切り部が設けられている請求項1~5のいずれか一項に記載のカテーテル用ハンドル。
  7. 前記回転部材は、前記回転軸を中心とする回転移動によって、前記回転部材の外縁の一部が前記仕切り部の一部に接する請求項6に記載のカテーテル用ハンドル。
  8. 前記仕切り部は、第1仕切り直線部と第2仕切り直線部とを有し、
    前記回転部材の外縁は、第1直線部と第2直線部とを有し、
    前記回転部材の前記回転軸を中心とする回転移動によって、前記第1直線部が前記第1仕切り直線部に近づき、前記第2直線部が前記第2仕切り直線部から離れる、または、前記第2直線部が前記第2仕切り直線部に近づき、前記第1直線部が前記第1仕切り直線部から離れる請求項6または7に記載のカテーテル用ハンドル。
  9. 前記回転部材と前記ハンドル本体との間には弾性部材が設けられ、
    前記回転部材は、前記弾性部材を介して前記ハンドル本体に対して回転軸方向に押圧可能である請求項1~8のいずれか一項に記載のカテーテル用ハンドル。
  10. 前記ハンドル本体は、前記回転部材より遠位側に、前記ハンドル本体の遠位側から挿入された前記ワイヤと前記導線を分岐するための分岐部を有し、
    前記分岐部において、前記ハンドル本体内に、前記第1空間に連通したワイヤ挿入空間が設けられている請求項1~9のいずれか一項に記載のカテーテル用ハンドル。
  11. 前記ワイヤ挿入空間には、前記ワイヤを通すための開口を有するワイヤ案内部材が設けられ、
    前記ワイヤ案内部材の開口は、遠位側の開口径が近位側の開口径よりも大きい請求項10に記載のカテーテル用ハンドル。
  12. 請求項1~11のいずれか一項に記載のカテーテル用ハンドルと、
    前記ハンドル本体の遠位側に接続されたカテーテルチューブと、
    遠位側が前記カテーテルチューブに固定され、近位側が前記回転部材に固定されたワイヤと、
    遠位側が前記カテーテルチューブに固定され、近位側が前記第2空間を通って前記回転部材の近位側に延在する導線とを有することを特徴とするカテーテル。
JP2019568858A 2018-01-31 2018-10-15 カテーテル用ハンドルおよびそれを備えたカテーテル Active JP7114635B2 (ja)

Applications Claiming Priority (3)

Application Number Priority Date Filing Date Title
JP2018015107 2018-01-31
JP2018015107 2018-01-31
PCT/JP2018/038241 WO2019150664A1 (ja) 2018-01-31 2018-10-15 カテーテル用ハンドルおよびそれを備えたカテーテル

Publications (2)

Publication Number Publication Date
JPWO2019150664A1 JPWO2019150664A1 (ja) 2021-01-14
JP7114635B2 true JP7114635B2 (ja) 2022-08-08

Family

ID=67478105

Family Applications (1)

Application Number Title Priority Date Filing Date
JP2019568858A Active JP7114635B2 (ja) 2018-01-31 2018-10-15 カテーテル用ハンドルおよびそれを備えたカテーテル

Country Status (4)

Country Link
US (1) US12005200B2 (ja)
JP (1) JP7114635B2 (ja)
CN (1) CN111655322B (ja)
WO (1) WO2019150664A1 (ja)

Families Citing this family (2)

* Cited by examiner, † Cited by third party
Publication number Priority date Publication date Assignee Title
USD994880S1 (en) * 2021-11-02 2023-08-08 Abiomed, Inc. Medical device housing
CN116636921A (zh) * 2022-02-24 2023-08-25 奥林巴斯医疗株式会社 处置器具

Citations (5)

* Cited by examiner, † Cited by third party
Publication number Priority date Publication date Assignee Title
US5199950A (en) 1990-12-07 1993-04-06 Willy Rusch Ag Medical instrument
US20080009791A1 (en) 2005-07-11 2008-01-10 Cohen Todd J Remotely controlled catheter insertion system
WO2014156284A1 (ja) 2013-03-29 2014-10-02 日本ライフライン株式会社 医療機器
US20160325076A1 (en) 2015-05-07 2016-11-10 St. Jude Medical, Cardiology Division, Inc. Medical device including a variable torque assembly for device deflection
US20170291008A1 (en) 2016-04-08 2017-10-12 St. Jude Medical, Cardiology Division, Inc. Mapping variable loop catheter handle

Family Cites Families (11)

* Cited by examiner, † Cited by third party
Publication number Priority date Publication date Assignee Title
CN1824339B (zh) * 2005-02-21 2011-05-11 住友电木株式会社 医疗用器具
US8777929B2 (en) * 2005-06-28 2014-07-15 St. Jude Medical, Atrial Fibrillation Division, Inc. Auto lock for catheter handle
CN101291695A (zh) * 2005-10-17 2008-10-22 株式会社钟化 医疗用导管及其制造方法
US8556850B2 (en) * 2008-12-31 2013-10-15 St. Jude Medical, Atrial Fibrillation Division, Inc. Shaft and handle for a catheter with independently-deflectable segments
US20120130218A1 (en) * 2010-11-23 2012-05-24 Kauphusman James V Medical devices having an electroanatomical system imaging element mounted thereon
JP5614848B2 (ja) * 2011-07-12 2014-10-29 日本ライフライン株式会社 カテーテル用ハンドル
JP5535260B2 (ja) * 2012-03-19 2014-07-02 日本ライフライン株式会社 カテーテル用ハンドル
JP5416324B1 (ja) * 2012-04-06 2014-02-12 オリンパスメディカルシステムズ株式会社 挿入機器
US9174024B1 (en) * 2013-03-15 2015-11-03 St. Jude Medical Luxembourg Holdings S.À.R.L. Steering control mechanisms for catheters
JP6113682B2 (ja) * 2014-03-18 2017-04-12 日本ライフライン株式会社 医療機器用ハンドルおよび医療機器
CN107185062A (zh) * 2017-07-14 2017-09-22 仝兆锋 一种专用于神经外科导管装置

Patent Citations (5)

* Cited by examiner, † Cited by third party
Publication number Priority date Publication date Assignee Title
US5199950A (en) 1990-12-07 1993-04-06 Willy Rusch Ag Medical instrument
US20080009791A1 (en) 2005-07-11 2008-01-10 Cohen Todd J Remotely controlled catheter insertion system
WO2014156284A1 (ja) 2013-03-29 2014-10-02 日本ライフライン株式会社 医療機器
US20160325076A1 (en) 2015-05-07 2016-11-10 St. Jude Medical, Cardiology Division, Inc. Medical device including a variable torque assembly for device deflection
US20170291008A1 (en) 2016-04-08 2017-10-12 St. Jude Medical, Cardiology Division, Inc. Mapping variable loop catheter handle

Also Published As

Publication number Publication date
JPWO2019150664A1 (ja) 2021-01-14
CN111655322A (zh) 2020-09-11
WO2019150664A1 (ja) 2019-08-08
CN111655322B (zh) 2022-05-03
US12005200B2 (en) 2024-06-11
US20210046285A1 (en) 2021-02-18

Similar Documents

Publication Publication Date Title
US12465200B2 (en) Steerable micro-endoscope having an electro-surgery tool
JP6157792B2 (ja) 医療用マニピュレータ
US11305092B2 (en) Catheter devices and methods for making them
US5571085A (en) Steerable open lumen catheter
CN102892453B (zh) 磁性导引导管
JP2021098094A (ja) マルチ電極アレイ・カテーテル用バスケット
JP2009522080A (ja) 脈管ガイドワイヤコントロール装置
JP2020505084A (ja) シースの可視化
US10905446B2 (en) Caculus removing device
US9861432B2 (en) Rotation mechanism for bipolar and monopolar devices
US10064679B2 (en) Endoscopic shank instrument
JP7114635B2 (ja) カテーテル用ハンドルおよびそれを備えたカテーテル
CN113660911B (zh) 医疗器械
JP5697273B2 (ja) 先端偏向操作可能カテーテル
WO2015141046A1 (ja) 医療機器用ハンドルおよび医療機器
CN104507536B (zh) 组合的短程治疗和电化学治疗导管
KR100896750B1 (ko) 생체 삽입용 의료기구
CN117561035A (zh) 医疗系统、装置以及相关的方法
CN114502074B (zh) 导管及其制造方法
CN110536652B (zh) 内窥镜用高频处置仪
JP7659558B2 (ja) 電極カテーテル
JP6710066B2 (ja) カテーテル用ハンドルおよびそれを備えたカテーテル
CN114642481A (zh) 可调弯穿刺针及穿刺系统
JP7669366B2 (ja) 電極カテーテル
CA2964824A1 (en) Centering coiled guide

Legal Events

Date Code Title Description
A621 Written request for application examination

Free format text: JAPANESE INTERMEDIATE CODE: A621

Effective date: 20210906

TRDD Decision of grant or rejection written
A01 Written decision to grant a patent or to grant a registration (utility model)

Free format text: JAPANESE INTERMEDIATE CODE: A01

Effective date: 20220719

A61 First payment of annual fees (during grant procedure)

Free format text: JAPANESE INTERMEDIATE CODE: A61

Effective date: 20220727

R150 Certificate of patent or registration of utility model

Ref document number: 7114635

Country of ref document: JP

Free format text: JAPANESE INTERMEDIATE CODE: R150

R250 Receipt of annual fees

Free format text: JAPANESE INTERMEDIATE CODE: R250