JP7021189B2 - 物品移動システム、ボール車輪、ならびに関連する装置および方法 - Google Patents

物品移動システム、ボール車輪、ならびに関連する装置および方法 Download PDF

Info

Publication number
JP7021189B2
JP7021189B2 JP2019507798A JP2019507798A JP7021189B2 JP 7021189 B2 JP7021189 B2 JP 7021189B2 JP 2019507798 A JP2019507798 A JP 2019507798A JP 2019507798 A JP2019507798 A JP 2019507798A JP 7021189 B2 JP7021189 B2 JP 7021189B2
Authority
JP
Japan
Prior art keywords
article
ball
wheel
shell
edge
Prior art date
Legal status (The legal status is an assumption and is not a legal conclusion. Google has not performed a legal analysis and makes no representation as to the accuracy of the status listed.)
Active
Application number
JP2019507798A
Other languages
English (en)
Other versions
JP2019529203A (ja
Inventor
ピー パンター ロドニー
Current Assignee (The listed assignees may be inaccurate. Google has not performed a legal analysis and makes no representation or warranty as to the accuracy of the list.)
Panter inc
Original Assignee
Panter inc
Priority date (The priority date is an assumption and is not a legal conclusion. Google has not performed a legal analysis and makes no representation as to the accuracy of the date listed.)
Filing date
Publication date
Application filed by Panter inc filed Critical Panter inc
Publication of JP2019529203A publication Critical patent/JP2019529203A/ja
Application granted granted Critical
Publication of JP7021189B2 publication Critical patent/JP7021189B2/ja
Active legal-status Critical Current
Anticipated expiration legal-status Critical

Links

Images

Classifications

    • BPERFORMING OPERATIONS; TRANSPORTING
    • B60VEHICLES IN GENERAL
    • B60BVEHICLE WHEELS; CASTORS; AXLES FOR WHEELS OR CASTORS; INCREASING WHEEL ADHESION
    • B60B33/00Castors in general; Anti-clogging castors
    • B60B33/08Ball castors
    • AHUMAN NECESSITIES
    • A45HAND OR TRAVELLING ARTICLES
    • A45CPURSES; LUGGAGE; HAND CARRIED BAGS
    • A45C5/00Rigid or semi-rigid luggage
    • A45C5/14Rigid or semi-rigid luggage with built-in rolling means
    • BPERFORMING OPERATIONS; TRANSPORTING
    • B60VEHICLES IN GENERAL
    • B60BVEHICLE WHEELS; CASTORS; AXLES FOR WHEELS OR CASTORS; INCREASING WHEEL ADHESION
    • B60B19/00Wheels not otherwise provided for or having characteristics specified in one of the subgroups of this group
    • B60B19/12Roller-type wheels
    • BPERFORMING OPERATIONS; TRANSPORTING
    • B60VEHICLES IN GENERAL
    • B60BVEHICLE WHEELS; CASTORS; AXLES FOR WHEELS OR CASTORS; INCREASING WHEEL ADHESION
    • B60B19/00Wheels not otherwise provided for or having characteristics specified in one of the subgroups of this group
    • B60B19/14Ball-type wheels
    • BPERFORMING OPERATIONS; TRANSPORTING
    • B60VEHICLES IN GENERAL
    • B60BVEHICLE WHEELS; CASTORS; AXLES FOR WHEELS OR CASTORS; INCREASING WHEEL ADHESION
    • B60B33/00Castors in general; Anti-clogging castors
    • B60B33/0002Castors in general; Anti-clogging castors assembling to the object, e.g. furniture
    • BPERFORMING OPERATIONS; TRANSPORTING
    • B60VEHICLES IN GENERAL
    • B60BVEHICLE WHEELS; CASTORS; AXLES FOR WHEELS OR CASTORS; INCREASING WHEEL ADHESION
    • B60B33/00Castors in general; Anti-clogging castors
    • B60B33/0002Castors in general; Anti-clogging castors assembling to the object, e.g. furniture
    • B60B33/0015Castors in general; Anti-clogging castors assembling to the object, e.g. furniture characterised by adaptations made to castor
    • BPERFORMING OPERATIONS; TRANSPORTING
    • B60VEHICLES IN GENERAL
    • B60BVEHICLE WHEELS; CASTORS; AXLES FOR WHEELS OR CASTORS; INCREASING WHEEL ADHESION
    • B60B33/00Castors in general; Anti-clogging castors
    • B60B33/0002Castors in general; Anti-clogging castors assembling to the object, e.g. furniture
    • B60B33/0015Castors in general; Anti-clogging castors assembling to the object, e.g. furniture characterised by adaptations made to castor
    • B60B33/0023Castors in general; Anti-clogging castors assembling to the object, e.g. furniture characterised by adaptations made to castor in the form of specific adaptations to the form of the object
    • BPERFORMING OPERATIONS; TRANSPORTING
    • B60VEHICLES IN GENERAL
    • B60BVEHICLE WHEELS; CASTORS; AXLES FOR WHEELS OR CASTORS; INCREASING WHEEL ADHESION
    • B60B33/00Castors in general; Anti-clogging castors
    • B60B33/0028Construction of wheels; methods of assembling on axle
    • BPERFORMING OPERATIONS; TRANSPORTING
    • B60VEHICLES IN GENERAL
    • B60BVEHICLE WHEELS; CASTORS; AXLES FOR WHEELS OR CASTORS; INCREASING WHEEL ADHESION
    • B60B33/00Castors in general; Anti-clogging castors
    • B60B33/0036Castors in general; Anti-clogging castors characterised by type of wheels
    • BPERFORMING OPERATIONS; TRANSPORTING
    • B60VEHICLES IN GENERAL
    • B60BVEHICLE WHEELS; CASTORS; AXLES FOR WHEELS OR CASTORS; INCREASING WHEEL ADHESION
    • B60B33/00Castors in general; Anti-clogging castors
    • B60B33/006Castors in general; Anti-clogging castors characterised by details of the swivel mechanism
    • B60B33/0063Castors in general; Anti-clogging castors characterised by details of the swivel mechanism no swivelling action, i.e. no real caster
    • BPERFORMING OPERATIONS; TRANSPORTING
    • B60VEHICLES IN GENERAL
    • B60BVEHICLE WHEELS; CASTORS; AXLES FOR WHEELS OR CASTORS; INCREASING WHEEL ADHESION
    • B60B33/00Castors in general; Anti-clogging castors
    • B60B33/0078Castors in general; Anti-clogging castors characterised by details of the wheel braking mechanism
    • BPERFORMING OPERATIONS; TRANSPORTING
    • B60VEHICLES IN GENERAL
    • B60BVEHICLE WHEELS; CASTORS; AXLES FOR WHEELS OR CASTORS; INCREASING WHEEL ADHESION
    • B60B33/00Castors in general; Anti-clogging castors
    • B60B33/0078Castors in general; Anti-clogging castors characterised by details of the wheel braking mechanism
    • B60B33/0081Castors in general; Anti-clogging castors characterised by details of the wheel braking mechanism acting on tyre tread
    • BPERFORMING OPERATIONS; TRANSPORTING
    • B60VEHICLES IN GENERAL
    • B60BVEHICLE WHEELS; CASTORS; AXLES FOR WHEELS OR CASTORS; INCREASING WHEEL ADHESION
    • B60B33/00Castors in general; Anti-clogging castors
    • B60B33/04Castors in general; Anti-clogging castors adjustable, e.g. in height; linearly shifting castors
    • B60B33/045Castors in general; Anti-clogging castors adjustable, e.g. in height; linearly shifting castors mounted resiliently, by means of dampers
    • AHUMAN NECESSITIES
    • A45HAND OR TRAVELLING ARTICLES
    • A45CPURSES; LUGGAGE; HAND CARRIED BAGS
    • A45C5/00Rigid or semi-rigid luggage
    • A45C5/14Rigid or semi-rigid luggage with built-in rolling means
    • A45C2005/142Rigid or semi-rigid luggage with built-in rolling means with spherical rolling means, e.g. ball casters
    • BPERFORMING OPERATIONS; TRANSPORTING
    • B60VEHICLES IN GENERAL
    • B60BVEHICLE WHEELS; CASTORS; AXLES FOR WHEELS OR CASTORS; INCREASING WHEEL ADHESION
    • B60B19/00Wheels not otherwise provided for or having characteristics specified in one of the subgroups of this group
    • B60B19/003Multidirectional wheels
    • BPERFORMING OPERATIONS; TRANSPORTING
    • B60VEHICLES IN GENERAL
    • B60BVEHICLE WHEELS; CASTORS; AXLES FOR WHEELS OR CASTORS; INCREASING WHEEL ADHESION
    • B60B2200/00Type of product being used or applied
    • B60B2200/40Articles of daily use
    • B60B2200/45Suitcases
    • BPERFORMING OPERATIONS; TRANSPORTING
    • B60VEHICLES IN GENERAL
    • B60BVEHICLE WHEELS; CASTORS; AXLES FOR WHEELS OR CASTORS; INCREASING WHEEL ADHESION
    • B60B2900/00Purpose of invention
    • B60B2900/20Avoidance of
    • B60B2900/211Soiling
    • BPERFORMING OPERATIONS; TRANSPORTING
    • B60VEHICLES IN GENERAL
    • B60BVEHICLE WHEELS; CASTORS; AXLES FOR WHEELS OR CASTORS; INCREASING WHEEL ADHESION
    • B60B2900/00Purpose of invention
    • B60B2900/50Improvement of
    • B60B2900/511Sealing
    • B60B2900/5112Sealing against dust or dirt
    • BPERFORMING OPERATIONS; TRANSPORTING
    • B60VEHICLES IN GENERAL
    • B60BVEHICLE WHEELS; CASTORS; AXLES FOR WHEELS OR CASTORS; INCREASING WHEEL ADHESION
    • B60B2900/00Purpose of invention
    • B60B2900/50Improvement of
    • B60B2900/531User-friendliness
    • BPERFORMING OPERATIONS; TRANSPORTING
    • B60VEHICLES IN GENERAL
    • B60BVEHICLE WHEELS; CASTORS; AXLES FOR WHEELS OR CASTORS; INCREASING WHEEL ADHESION
    • B60B33/00Castors in general; Anti-clogging castors
    • B60B33/0078Castors in general; Anti-clogging castors characterised by details of the wheel braking mechanism
    • B60B33/0092Castors in general; Anti-clogging castors characterised by details of the wheel braking mechanism actuated remotely, e.g. by cable or electrically

Landscapes

  • Engineering & Computer Science (AREA)
  • Mechanical Engineering (AREA)
  • Rolling Contact Bearings (AREA)
  • Purses, Travelling Bags, Baskets, Or Suitcases (AREA)
  • Handcart (AREA)
  • Toys (AREA)

Description

本発明は、転がり運動をするように物品を支持することに関し、より詳細には、全方向の転がり支持をするための装置および方法に関する。
様々なタイプの車輪が、手荷物ケース、枠箱、台車などのような物品に対して転がり支持をするために使用されている。全方向の転がり支持を望む場合には、しばしば、キャスターが使用される。これに加えて、キャスターとは異なり、車輪の位置合わせをし直す必要なく、多方向の転がり運動をすることができる全方向車輪が存在する。いかなる方向にも自由に回転することができるように、ボールが複数の玉軸受によって支持されるボール移送ユニットは、全方向車輪の1つのタイプである。ボール移送ユニットは、その上を物体が滑ることができるように、ボールを上にした逆さまの姿勢で、(例えば、組立ラインで)より一般的に使用されているが、荷重支持車輪として使用するためにボールを下にして使用されることもある。このような車輪、キャスター、およびボール移送ユニットは有用であることは分かっているが、さらに改良することがあり得る。
前述のことを考慮すると、物品移動システムを、関連するボール車輪ならびに他の装置および方法とともに提供することが本発明の目的である。
本発明の実施形態によれば、物品移動システムは、物品、および少なくとも1つのボール車輪を含む。物品は、第1の物品の縁で合する第1の物品面と第2の物品面を有する。ボール車輪は第1の物品の縁に沿って位置し、ボール、軸受装置、およびシェルを含む。ボールは物品の下にある面と係合し、軸受装置は全方向の回転移動をするようにボールを支持し、シェルは第1の物品の縁に沿って位置し、ボールおよび軸受装置を収める。シェルは、ボールの一部分が下の面と接触するように通って延在する非円形のボール開口を画定する。ボール車輪が、第1および第2の物品面のいずれかが下の面と平行な状態で、およびそれらの間の任意の姿勢で、下の面の上を全方向の転がり運動するように物品を支持することができるように、物品、軸受装置、およびシェルは構成される。
本発明の態様によれば、非円形のボール開口は大角度範囲および小角度範囲を有し、大角度範囲は小角度範囲よりも大きい。本発明の別の態様によれば、周囲リップは、非円形のボール開口の周りをボールの方へ延在する。
本発明のさらなる態様によれば、軸受装置は、シェル内からボールに係合する複数のマイクロ・キャスターを含む。本発明のさらなる態様によれば、軸受装置は、非円形のボール開口の内側に、ボールとシェルとの間の軸受容積に配置された複数の玉軸受を含み、複数の玉軸受は、軸受容積の中を自由に循環する。
本発明の別の態様によれば、物品が鉛直姿勢では、トラッカー車輪がボールに隣接して水平方向に位置し、物品の全方向の回転移動を拘束せず、物品が傾いた姿勢では、トラッカー車輪がボールの一部分の鉛直方向上方に位置し、ボールがトラッカー車輪と係合する結果、トラッカー車輪の回転軸に垂直な方向へのボールの回転走行が強化されるように、第1のボール車輪は、シェル内に回転可能に取り付けられたトラッカー車輪をさらに含む。
本発明のさらなる態様によれば、首部の周りに配置され、ボールが下の面を通り過ぎるときにボールが受ける衝撃を吸収するように構成されたサスペンション・ユニットを、第1のボール車輪はさらに含む。本発明のさらなる態様によれば、首部の内部通路に配置され、ボールに制動力をかけるように動作可能なブレーキ・ユニットを、第1のボール車輪はさらに含む。
本発明のこれらのおよび他の目的、態様、および利点は、図面、および好ましい実施形態の以下の詳細な説明を考慮するとより良く認識されるであろう。
全方向の転がり運動をするように複数のボール車輪によって支持された物品を含む物品移動システムの斜視図である。 図1の物品の背面図である。 鉛直姿勢における図1の物品の側面図である。 傾いた姿勢における図1の物品の側面図である。 水平姿勢における図1の物品の側面図である。 図1のボール車輪の代表的なものの斜視図である。 図6のボール車輪の側面図である。 図6のボール車輪の正面図である。 図6のボール車輪の底面図である。 ボール車輪の別の実施形態の側面図である。 図10のボール車輪の底面図である。 図7の線12-12に沿って切り取られた断面図である。 図8の線13-13に沿って切り取られた断面図である。 図13の領域14の詳細図である。 複数のマイクロ・キャスターを含む、ボール車輪のさらなる実施形態の側面図である。 図15のボール車輪の上面図である。 図16の線17-17に沿って切り取られた断面図である。 図16の線18-18に沿って切り取られた断面図である。 図16の線19-19に沿って切り取られた断面図である。 図15のボール車輪のマイクロ・キャスターの代表的なものの分解斜視図である。 図20のマイクロ・キャスターの別の分解斜視図である。 図20のマイクロ・キャスターの底面図である。 図22の線23-23に沿って切り取られた断面図である。 図22の線24-24に沿って切り取られた断面図である。 図24の領域25の詳細図である。 図15のボール車輪のシェルの上方部分の斜視図である。 図15のボール車輪のシェルの下方部分の斜視図である。 図13と同様な線に沿って切り取られたボール車輪のさらなる実施形態の断面図である。 図12と同様な線に沿って切り取られた図28のボール車輪の断面図である。 図13と同様な線に沿って切り取られたボール車輪の別の実施形態の断面図である。 トラッカー車輪を含む、図18と同様な線に沿って切り取られたボール車輪のさらなる実施形態の断面図である。 図31のボール車輪のシェルの上方部分の底面図である。 図32の領域33の詳細図である。 鉛直姿勢の物品に取り付けられた図31のボール車輪を含む物品移動システムの側面図である。 傾いた姿勢の物品に取り付けられた図31のボール車輪を含む図34の物品移動システムの側面図である。 サスペンション・ユニットおよびブレーキ・ユニットを含む、ボール車輪のさらなる実施形態の斜視図である。 図36のボール車輪の部分分解斜視図である。 図36のボール車輪の上面図である。 図37の線39-39に沿って切り取られた断面図である。 図39の領域40の詳細図である。 図36のボール車輪のサスペンション・ユニットの分解図である。 図36のボール車輪のブレーキ・ユニットの分解図である。 ブレーキ・ユニットのブレーキ・シューおよびロッドの、図42の線43-43に沿って切り取られた断面図である。 ボールの上の位置に示された、図43のブレーキ・シューおよびロッドの代替の実施形態の断面図である。 図44のブレーキ・シューの底面図である。 サスペンション・ユニットおよびブレーキ・ユニットの代わりにサスペンション交換ユニットおよびブレーキ交換ユニットを備えた、図36のボール車輪の斜視図である。 図46のサスペンション交換ユニットおよびブレーキ交換ユニットの分解側面図である。 物品移動システムに組み入れられた図36のボール車輪の断面図である。
図1~3を参照すると、本発明の実施形態によれば、物品移動システム10は、物品12と1つまたは複数のボール車輪14とを含む。物品12は、第1の物品の縁22で合する第1の物品面16と第2の物品面18を含む。物品12が、第1の面16および第2の面18のいずれかが下の面24と概ね平行な姿勢で、ならびにそれらの間の任意の姿勢で、下の面24の上を全方向の転がり運動をするように支持されるように、1つまたは複数のボール車輪14が第1の物品の縁22に少なくとも沿って位置する。
図示の実施形態では、第1の物品面16と第2の物品面18は概ね垂直である。物品12は、第1の物品面16の概ね反対側でそれと平行の、第2の物品面18に概ね垂直な第3の物品面26をさらに含む。第2の物品面18と第3の物品面26は第2の物品の縁30で合する。1つまたは複数のボール車輪14はまた、第2の物品の縁30に沿って位置し、第1の物品の縁22に沿った1つまたは複数のボール車輪14と同じ態様で、転がり運動をするように、物品12を第2の物品面18と第3の物品面26との間で支持することが有利である。物品12は、4つのボール車輪14が第1および第2の物品の縁22、30の各端部に近接して位置した状態で、少なくとも4つのボール車輪14を含むことが好ましい。
用語「縁」は概して、本明細書で使用するとき、隣接する物品の表面が合する領域を指す。「縁」は、必ずしも、表面と表面との間の垂直の接合部などの「鋭い」縁ではない。例えば、図示の実施形態では、第1および第2の物品の縁22および30の両方は、それらのそれぞれの物品面の間の曲線を横切る。ボール車輪を取り付ける縁が湾曲した物品を使用することは、ボール車輪を物品内にさらに引っ込めて配置することができるので有利となり得る。
効率的に例示するために、物品12を部分的に封じられた一般的な容積として描いているが、物品移動システム10は、この物品に限定されるものではないし、物品12のいかなる特定のタイプにも限定されるものでもないことを認識すべきである。手荷物ケース、枠箱、カート、および台車は、ボール車輪14をそれらの1つまたは複数の縁に沿って取り付けることが有利となり得る物品のいくつかの非限定的な例である。同様に、物品12は、その表面間が完全に、または部分的に中実とすることができる、常時開いている、または選択的に閉鎖可能な内部収容容積を画定することができる、あるいは、1つまたは複数の開放側面を組み入れることができる。
共通の座標系を提供するために、下の面24はx-z面を画定し、y方向はこれに垂直である。x方向は第1の物品の縁22に対して平行に、z方向は第1の物品の縁22に対して垂直に延在する。したがって、図1~3では、第1および第2の物品面16、18はそれぞれ、x-y面およびx-z面にある。図4では、物品12はx軸(必ずしも、第1の物品の縁22が延在するx軸ではない)の周りを回転し、第1および第2の物品面16、18のどちらもx-y面またはx-z面にはない。次に、図5では、物品12は、第1および第2の物品面16、18がそれぞれ、x-z面およびx-y面にある姿勢になっている。もちろん、物品移動システム10は、これらの姿勢で動くことに制限されるものではない。また、参照のため、図1~3の物品12の姿勢を鉛直と称し、図5の物品12の姿勢を水平と称し、鉛直と水平との間の、x軸周りに回転したいかなる中間の姿勢(図4の姿勢を含む)も傾いていると称する。
本明細書では、本発明の構成部品の複数の実施形態が記載されている。同様の要素をラベル付けするために、同様の参照符号が使用され、異なる実施形態に対しては末尾に文字を付けて(例えば、14、14A、14B...14Xというように)使用される。本明細書で特記するものを除いて、同様にラベル付けされた要素は、実質的に同じ態様で機能するものとして理解すべきである。
また、図6~9を参照すると、各ボール車輪14は、シェル32およびボール34を含む。シェル32は、ボール34の一部分が通って延在するボール開口36を画定する。軸受装置40は、シェル32に対して動くようにボール34を支持する。軸受装置40は、図7および8に概略的に描かれており、軸受装置の特定の実施形態は、下記でより詳細に説明する。
シェル32は物品12に固定され、それから完全に取り外し可能であり、その結果、各ボール車輪14は物品12とは別に形成され、後で物品12に取り付けることができることが有利である。これに代えて、シェル32のいくらかまたはすべては、隣接する物品12の部分と一体的に形成することができる。ブレーキおよびサスペンション機構(下記でより詳細に説明する)などの様々な機能を提供する部品もまた、シェル32の部分を協働的に形成することができる。
シェル32の全体形状は、例えば、その中に収められる特定の軸受装置40の物理的な構成に基づいて変わり得る。しかしながら、シェル32は概して、その中にボール34および軸受装置40を保持し、一方では、物品12が鉛直、水平、および傾いた姿勢のとき、ならびに、それらの間の移行時に、下の面24と連続的に接触し続けるようにボール34がボール開口36を通って延在することを十分可能にするように物理的に構成される。
このような接触を可能にすることは、シェル32、ボール34、ボール開口36、および軸受装置40は、ボール34のx軸周りの少なくとも90度の弧が各物品の縁22、30を超えて突出するような寸法にすべきであることをある程度意味する。言い換えれば、ボール34は、シェル32または物品12の表面(図7では、x-z面およびx-y面)からの干渉なしに、同時に2つの直交面と接触することができる。図示の実施形態では、縁22、30に隣接する各物品12の表面は実質的に平坦である。ボール車輪を使用しようとする縁に隣接した各物品12の表面が平坦でない場合(例えば、1つまたは複数の側面が外側に曲がっているスーツケース)、ボール34は、隣接した物品面の最も外側の点に接する垂直面の交線を超えて延在するべきである(これはまた、表面16、18、26の平坦さによって単一の最も外側の点がない場合を除いて、図示の実施形態の場合である)。
理論的には、図10および11を参照すると、円形のボール開口36Xによって、ボール34Xの必要な弧が干渉なしにボール開口36Xを通って突出することを可能にする。しかしながら、円形のボール開口36Xはいくつか実際的な欠点がある。ボール開口36Xがボール34Xの赤道に非常に近い場合、ボール車輪14Xが下の面24Xと接触しないで動くときはいつも、ボール34Xがシェル32Xから簡単に脱落する危険がある。これに加えて、付随した物品が下の面24Xの上を引っ張られているときにボール34Xに働く動的力は、ブレーキ機構などによってボール34Xにかけられた力のように、ボール34Xを同様にシェル32Xから押し出す可能性がある。
別の実際的な問題は、ボール34Xとボール開口36Xの周囲リップ42Xとの間での係合が回転運動、特に素早い回転運動を妨げることである。シェル32Xの形状は、リップ42Xに近接したボール34Xを支持するように機能する軸受装置40Xのための空間を見込まなければならない。シェル32Xを円形の開口36Xの周りでこのようにするのに十分な大きさにすると、各物品の水平および鉛直姿勢において、シェル32Xが、ボール34Xと接触する平面内に延在する可能性がある。
例示として、ボール車輪14Xに取り付けられた物品が(図示の姿勢で)矢印44Xによって示された方向に引っ張られていた場合、ボール34Xは矢印46Xによって表されるように回転する必要がある。ボール34Xは車軸によって定位置に留められていないので、ボール34Xは、ボール34Xの最も高い表面速度になる領域50Xでリップ42Xに押し付けられる傾向にある。いかなる軸受装置も、リップ42Xと接触しないように領域50Xに十分近接してボール34Xに係合することができなければならない。
したがって、図6~9に戻って参照して、非円形のボール開口36が好ましい。ボール開口36は、単一平面にはなく、むしろ、大角度範囲50および小角度範囲52を有する3次元に湾曲した開口を構成する。大角度範囲50は、シェル32からの干渉なしに、ボール34が同時に2つの直交面と接触することを可能にするのに十分であり、それは、ボール車輪14が物品12の縁(例えば、第1の縁22)に取り付けられた状態で、ボール34が、物品12の鉛直、水平、および傾いた姿勢で下の面24と接触し続けることを可能にする。言い換えれば、ボール開口36の大角度範囲50は、ボール34の少なくとも90度の弧が、第1の縁22(または第2の縁30)の周りで干渉なしにシェル32を超えて延在することができるようにしなければならない。
前に決めた座標系を使用すると、物品の縁22、30はx軸に沿って延在する。また、図12および13を参照すると、ボール開口36の大角度範囲50は、縁22、30と平行なボール34のx軸54の周りに部分的に延在する弧(必ずしも円弧ではない)を形成する。ボール開口36の小角度範囲52は、ボール34のz軸56の周りに部分的に延在するより短い弧(この場合も、必ずしも円弧ではない)を形成する。大角度範囲50は、x軸54の周りに約90度より大きいことが好ましく、約120度から約200度の間がより好ましい。小角度範囲52は、z軸56の周りに約160度より小さいことが好ましく、約60度から約135度の間がより好ましい。この非円形のボール開口36は、小角度範囲52でボール34の保持を強めて、確実にボール34をシェル32から押し出すことができないようにし、一方、大角度範囲50は、鉛直、水平、および傾いた姿勢において、物品12を転がり支持するのに必要な度合いのボール34の接触を可能にすることが有利である。
周囲リップ42は、ボール開口36の周囲を形成し、その周りに近接して延在することが有利である。リップ42の形状は、図12および13の断面図、ならびに図14の詳細図で最も良く認識される。図示の実施形態では、リップ42は、その内側の縁を形成する湾曲した肩部60からその外側の縁を形成する点62まで先細になっている。ここで、「内側」は、シェル32の内側、ボール34、および軸受装置40が集まるリップ42の縁に関し、「外側」は、ボール34とともにシェル32の外側が集まるリップ42の縁に関して使用されている。これに加えて、周囲リップの内側面64は、ボール34と肩部60との間の間隔66がボール34と点62との間の間隔68よりも広くなるように角度を付けることが有利である。点62から内部の方にある、内側面64の外側部分70はまた、ボール34と同じ曲率半径を有する。
肩部60の構成と間隔66は、自由に動くいかなる軸受装置40の構成部品(例えば、個々の玉軸受)もボール34とシェル32との間に保持されるように設定される。これに加えて、ボール車輪14が(下記のように)ブレーキ機構を備える場合、リップ42の内側面64、より詳細には、その外側部分70は係合面を提供して制動力を強めることができる。
リップ42の全体形状および構成はまた、物品12が下の面24の上を引っ張られるときに、ボール34が拾うごみで軸受装置40が汚れることを防ぐ助けとなる。この機能を示すために、特に図13を参照すると、物品が44の方向に引っ張られると、ボール34は46の方向に回転する。方向44に関しては、図13の左側のリップ42の縁は前縁72であり、図13の右側のリップ42の縁は後縁74である。ボール34に働く力は、ボール34を後縁74に近づけるように押し、前縁72から遠ざけるよう押す傾向にある(これは、主に、寸法公差およびボール34の任意の圧縮性があることによる)。その結果生じたボール34と後縁74との間のより狭い隙間によって、後縁において点62が「ワイパー」として働くことができやすくなる。実際にはボール34とは接触しないけれども(軸受装置40がそのような接触を妨げるので)、後縁74の点62は、ボール34の回転で運ばれるごみに係合して、軸受装置40内に入る前にごみを除去するようにより良い位置に配置される。前縁72では、その結果生じたより広い隙間は、間隔66が間隔68よりも広い漏斗効果によって、以前に入った任意のごみを軸受装置40から送り出す助けとなる。これと同じ全般的な効果は、物品12がいかなる方向に動いているときでも再現される。
ごみが軸受装置40に入ることを防ぐことをさらに助けるために、リップ42を磁化することができる。したがって、強磁性および/またはその他の荷電ごみ粒子は、入る前にリップ42に引き付けられる。磁化されたリップ42はまた、下記でより詳細に説明するように、特定の軸受装置40の実施形態に関連して他の利益を提供することができる。
図12および13を参照すると、シェル32は、ボール車輪14を製造および組立しやすくするために複数の部品で形成されることが有利である。例えば、図12の姿勢に関しては、シェル32は上方および下方シェル部分80、82を含む。部分80、82は、ねじなどの解放可能な締結具84によって互いに固定されることが好ましい。上方部分80は、ボール車輪14を物品12に取り付けやすくする首部86を含むことが有利である。周囲リップ42は、下方部分に形成される。ボール34、および軸受装置40のすべてまたは一部分は下方部分82に配置することができ、次いで、ボールおよび軸受装置40をシェル32内の定位置に固定するように上方部分80が接続される。特定の実施形態では、首部86は、部分80、82を接続してから、軸受装置40の残りの部分、および様々な付属品(下記でより詳細に説明する)を取り付けやすいように構成することができる。
軸受装置40は、物品12の転がり支持に関連するボール車輪14の動作目的を達成するために様々な構成で作ることができる。特に有利な実施形態では、図15~19を参照すると、ボール車輪14Aの軸受装置は、シェル32A内からボール34Aに係合する複数のマイクロ・キャスター90Aを含む。マイクロ・キャスター90Aは、シェル32Aに形成されたキャスター座92A内にぴったりと嵌合される。マイクロ・キャスター90Aは、取り付けられた物品(例えば、物品12)の鉛直、水平、および傾いた姿勢で全方向の転がり運動をするようにボール34Aを支持するようにそれらの座92Aに対して回転可能である。
ボール34Aの追加の転がり支持のために、ボール34Aとシェル32Aとの間に複数の玉軸受94Aもまた配置することができ、これらの玉軸受94Aは、ボール34Aとシェル32Aとの間の容積96Aの中を自由に循環し、ボール34Aとシェル32Aとの間の容積96Aの半径方向の幅は軸受94Aの直径よりわずかに大きい。下記でより詳細に説明するように、玉軸受94Aが、各マイクロ・キャスター90Aのボールが面する面のほとんどにわたって自由に移動するようにマイクロ・キャスター90Aが構成されることが好ましい。
容積96Aは、リップ42Aで終端となる部分的な球であることが好ましい。この球の容積96Aの曲率は、ボール34Aの曲率に合っていることが好ましい。マイクロ・キャスター90Aは、(物品12の鉛直、水平、および中間の姿勢を通して)荷重がかかった状態では、ボール34Aを容積96A内のほぼ中央に動かし、また、リップ42Aから所定の間隔を維持するように配置されるのが好ましい。図13および14に関連して上記で説明したように、この間隔は転がり運動中変化するが、リップ42Aの形状は本明細書で説明したようなものが好ましい。この軸受94Aは、たとえ非常に極端な運動中でさえ、この間隔を確実に維持する助けとなる。磁化されたリップ42Aおよび強磁性軸受94Aを使用することによって、リップ42の近辺に十分に軸受94Aを存在させることも容易になる。
図16で最も良く分かるように、シェル32Aの上方部分80Aの周りの四分円部に対称に間隔を置いて配置された4つのマイクロ・キャスター90Aを含むことが好ましい。これに加えて、各マイクロ・キャスター90Aの中心軸は、首部86Aの中心軸から約45~90度、最も好ましくは約60~70度の間の角度98A(図17参照)だけずらされている。マイクロ・キャスター90Aの位置は、ボール開口36Aの最大および最小角度範囲50A、52Aと一致しないことが有利である。その代わり、マイクロ・キャスター90Aは、最大および最小角度範囲50A、52Aを含むy-z面とy-x面との間の各四分円部に1つずつ位置する。
図20~24を参照すると、各マイクロ・キャスター90Aは、内部にキャスター車輪102Aが車軸104Aの周りに回転可能に取り付けられた内側ハウジング100A、および外側ハウジング106Aを含む。キャスター車輪102Aは、シール形の深溝軸受として形成することができることが有利である。外側ハウジング106Aは、各キャスター座92A内に固定的に取り付けられる。内側ハウジング100Aは、外側ハウジング106Aおよび座92Aに対して自由に回転可能なように、外側ハウジング106A内に取り付けられる。内側ハウジング100Aは、内側ハウジング100Aの上面(図23および24の姿勢に対して)と外側ハウジング106Aの下面にそれぞれ形成された溝110Aと111Aとの間にある複数の玉軸受108Aによって、外側ハウジング106Aに対して回転可能に支持されることが有利である。
車軸104Aは、内側ハウジング100A内に偏心して取り付けられ、その結果、内側ハウジング100Aの回転軸は、車軸104Aの回転軸に対して直角に延在するが、交差しない。したがって、車軸104Aの回転軸は、マイクロ・キャスター90Aの下側(図23および24の姿勢に対して)の周縁に接する平面に平行であるが、内側ハウジング100Aの回転軸はこのような平面に垂直である。
上記のように、マイクロ・キャスター90Aは、最大角度範囲50Aと最小角度範囲52Aとの間に形成された各四分円部(図16で最も良く認識される)に、首部86Aの中心軸から角度98Aで1つ位置することが有利である。四分円部内のマイクロ・キャスター90Aの位置は、もし、物品12の鉛直、水平、および傾いた姿勢を通した転がり運動中に、ボール34Aを前半球と後半球に分割した場合、例外的な場合を除いて、ボール34Aとキャスター車輪102Aとの間の接触点のうちの2つが前半球にあり、2つが後半球にあるように選択されることが好ましい。この例外的な場合では、物品12は、2つの反対側にあるボール車輪が整列するような運動の方向に引っ張られている(例えば、物品が、図16の断面線17-17の方向に引っ張られている場合)。この場合、整列したマイクロ・キャスター90Aは中央にあって、それぞれ、前半球と後半球にあり、他の2つのマイクロ・キャスター90Aは実質的に、前半球と後半球との間の境界に沿って位置する。このようにするためには、マイクロ・キャスター90Aのそれぞれはその四分円部を二等分する平面(図16では、断面線17はそのような平面にある)の±30度以内にあるのが好ましく、±5度以内がより好ましい。句「双係合するように配置される(positioned for dual engagement)」は、本明細書では、この段落で記載したようなマイクロ・キャスター90Aの配置のことを言うために定義される。
図23の断面図は、車軸104Aの回転軸の線に沿って切り取られたものであり、マイクロ・キャスター90Aの中心を通って切り取られたものではないことに留意すべきである。図24は、図23の断面に垂直で、内側ハウジング100Aの回転軸と交差する線に沿って切り取られた真の断面図である。内側ハウジング100Aはキャップ112Aによって閉じられていることが好ましい。キャップ112Aは、キャスター車輪102Aがボール34Aと係合するように通って延在するのに十分なキャスター車輪開口114Aを画定する。キャップ112Aは、内側ハウジング100Aに固定され、それとともに回転する。キャップ112Aの外面116A(すなわち、内側ハウジング100Aから離れる方向を向く面)は、キャスター車輪開口114Aの周りに延在する中央突出部118Aを除いて、シェル32Aの内面(容積96Aを部分的に画定する)の曲率が続くような輪郭となっている。したがって、キャップ112Aは、いかなる自由な軸受94Aもマイクロ・キャスター90Aを横切って滑らかに移動することを許容するが、中央突出部118Aはキャスター車輪102Aの周りのいかなる自由な軸受もわきにそらす。キャップ112Aはまた、キャスター車輪102Aのその車軸104A周りの回転を妨げるかもしれないいかなるごみも内側ハウジング100A内に入ることを防ぐ助けとなり、突出部118Aもまた同様に、キャスター車輪102Aからごみをそらせて除去するのに有効である。
中央突出部118Aはまた、キャスター車輪102Aからの衝撃荷重をシェル32Aに伝える助けになることができる。特定の閾値を超える衝撃荷重を受けると、キャスター車輪102Aによるボール34Aの圧縮性によって、ボール34Aはまた、中央突出部118Aと接触することになり得る。この閾値は、中央突出部118Aを切り開く車輪102Aの量を調節することによって変えることができる。
内側ハウジング100Aと外側ハウジング106Aとの間の容積は、シールリング120Aによって封じられることが好ましい。シールリング120Aは、いかなるごみも内側ハウジング100Aと外側ハウジング106Aとの間に入ることを防ぎ、それは軸受108Aが汚れることを防ぐ。その輪郭外面116Aを有するキャップ112Aのように、シールリング120Aは、シェル32Aの内側容積96Aの曲率が続くような輪郭の外面122Aを有することが有利である。したがって、中央突出部118Aの周りでは、マイクロ・キャスター90Aの外面全体は外面116A、122Aよりなり、容積96Aの好ましい球状の曲率を中断しない。図25で最も良く分かるように、狭い階段状の隙間124Aは、キャップ112Aとシールリング120Aとを分離し、その結果、内側ハウジング100Aとキャップ112Aの自由な回転はシールリング120Aによって妨げられない。
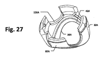
図26および27を参照すると、ボール車輪14Aのシェル32Aもまた、別個の接続可能な上方および下方部分80A、82Aで形成されることが好ましい。上方部分80Aは、首部86Aおよびキャスター座92Aを含む。ボール開口36Aは、周囲リップ42Aによって取り囲まれて下方部分82Aに画定され、切り欠き部126Aもキャスター座92Aをぴったりと収めるような寸法で画定される。この構成によって、容易に、マイクロ・キャスター90Aをそれらの座92Aに取り付けることができ、すべての軸受94Aを入れることができ、また、ボール34Aを定位置に配置することができる。次いで、下方部分82Aは取り付けられて(締結具84Aによることが好ましい、図19参照)、軸受装置全体およびボール34Aを定位置に固定することができる。
別の実施形態では、図28および29を参照すると、ボール車輪14Bは、ボール34Bとシェル32Bとの間に形成された軸受容積96Bの中を自由に循環する複数の玉軸受94Bを含む軸受装置を使用し、この容積96Bはボール34Bと同じ曲率を有する部分的な球を形成することが好ましい。循環する玉軸受94Bは、取り付けられた物品(例えば、物品12)の鉛直、水平、および傾いた姿勢で全方向の転がり運動をするようにボール34Bを支持する。説明を明瞭にするために玉軸受94Bの一部分のみを示しているが、容積96Bに玉軸受94Bをぎっしり詰め込むと自由に循環することを妨げかねないので、玉軸受94Bの数はぎっしり詰め込まない数にすることが好ましい。同時に、その数は、少なくともいくつかの玉軸受が適切に配置されて物品の姿勢の所望の範囲全体にわたって確実に支持するのに十分な数とすべきである。
非円形開口36B内の軸受容積96Bの形状によって、玉軸受94Bの最も集中するのがx軸54B(ボール34Bは、z方向の転がり運動中にはx軸の周りを回転する)に近接したところであることが有利である。逆に、回転する「赤道」(ボール34Bを半球に分割するy-z面にある)に近接してボール34Bと接触する玉軸受94Bは少ない。x軸54Bに近接したボール34Bの表面速度は低いが、y-z赤道近くの表面速度は最も高い。したがって、回転抗力は小さく、ボール車輪34Bは高速度および荷重制限を有する。
ボール車輪14、14Aと同様に、ボール車輪のシェル32Bは上方および下方部分80B、82Bで形成され、上方部分80Bは首部86Bを有し、下方部分82Bは周囲リップ42Bでボール開口36Bを画定することが有利である。上記のように、別個の部分を使用することによって、ボール車輪14Bを組み立てやすくなる。多数の玉軸受94Bのため、首部86Bを通って軸受容積96Bまで軸方向に延在する密封可能な通路126Bが形成されることもまた望ましい場合がある。通路126Bは、玉軸受94Bが通過することができる十分な直径とすべきである。上方部分80Bと下方部分82Bを接続するときに、それらの間に所望の数の玉軸受94Bを収めることは実際的でない場合がある。そのときは、シェル32Bをボール車輪34Bの周りに接続した後、通路126Bを通して最終的な数の玉軸受94Bを入れることができる。
上記のように、ボール車輪14Bのような軸受装置を有するボール車輪では、玉軸受が多すぎると望ましくない拘束をしてしまい、玉軸受が少なすぎると支持が十分でなくなるが、達成すべき好ましいバランスはこれらの間にある。ボール車輪14C(図30参照)では、軸受装置は、この場合も、シェル32Cとボール34Cとの間に画定された軸受容積96C内を自由に循環する複数の玉軸受94Cを含む。しかしながら、軸受容積96Cの周縁は、ボール34Cから離れてシェル32C内に画定された軸受室130Cと連通している。したがって、軸受容積96Cが玉軸受94Cで満たされても、拘束の問題が生じる可能性はなく、というのも過剰な軸受94Cは、必要に応じて、自由に軸受室130Cに出入りするように循環することができるからである。
前述のことから認識されるように、本発明は、鉛直、水平、および傾いた姿勢で全方向の転がり運動をするように物品12を支持するボール車輪14用の軸受装置40の複数の実施形態を提供する。しかしながら、物品12をある距離にわたって引っ張るとき(傾いた姿勢または水平姿勢のときが最も多く起こる)、物品12が確実に実質的な直線に沿って走ることが望ましいことがある。ボール車輪14A、14B、および14Cに関連して上記で説明した特定の軸受装置によって、有利に走らせることが、ある程度、すでに可能である。例えば、傾いた姿勢で物品を引っ張るとき、マイクロ・キャスター90Aが整列することによって、直線運動を続けようとする。同様に、傾いた姿勢で物品を引っ張るとき、玉軸受94B(または94C)によってなされる循環パターンによって、直線運動を続けようとする。
それでもなお、さらなる実施形態では、図31~33を参照すると、ボール車輪14Dは、シェル32Dのトラッカー凹部134Dに回転可能に取り付けられてボール34Dの方へ延在するトラッカー車輪132Dを組み入れる。公差については、ボール34Dをトラッカー車輪132Dの方へ押すいかなる力も(例えば、傾いた姿勢、または水平姿勢のときにボール車輪14Dによって支持される物品12Dの重量が)ない場合に、ボール34Dとトラッカー車輪132Dとの間にわずかな隙間があるようにすることが好ましい。トラッカー車輪132Dは、キャスター車輪102Aのようなシール形の深溝軸受として形成することができることが有利である。トラッカー車輪132Dは、車軸136D周りに回転する固定された軸、または他の回転取付機構で取り付けられる。車軸136Dは、ボール開口36Dの最大角度範囲50Dが周りを延在する軸54Dに概ね平行なx軸である。
トラッカー車輪132Dは、凹部134Dの周囲を取り囲む突出部138Dによって取り囲まれ、突出部138Dは、中央突出部118Aのように、(軸受94A、94B、94Cのような)いかなる自由な軸受もわきにそらし、その周りのいかなるごみもそらすことが有利である。図示の実施形態では、ボール車輪14Dは、軸受装置としてマイクロ・キャスター90Dを使用し、トラッカー車輪132Dは、マイクロ・キャスター90Dおよびそれらの座92Dのうちの2つの中間に配置されることが好ましい。しかしながら、トラッカー車輪は、開示された軸受装置のいずれも含む他の軸受装置とともに使用することができることが有利であることは認識されるであろう。
図34を参照すると、物品12Dが鉛直姿勢の状態では、トラッカー車輪132Dは、その車軸136D(したがって、その回転軸)がボール34Dの中心を通過するx軸54Dの高さにあるように配置される。言い換えれば、トラッカー車輪132Dは、実質的に、ボール34Dの側面を向いている。したがって、鉛直姿勢では、重力および物品12Dの重量によってボール34Dが押されてトラッカー車輪132Dと係合することはなく、その結果、トラッカー車輪132Dは、実質的に、軸受装置40Dおよびシェル32Dに対するボール34Dの動きに影響を与えることはない。
図35を参照すると、物品12Dが傾いた姿勢に動かされた状態では、トラッカー車輪132Dの車軸136Dはボール34Dのx軸54Dの上方へ動く。次に、重力、物品12Dの重量、および物品12Dが矢印140Dの方向に引っ張られたときにボール34Dに働く力はすべて、トラッカー車輪132Dをボール34Dに係合させるように働く。ここで、その車軸136Dの周りに回転することのみできるトラッカー車輪132Dと摩擦係合することは、ボール34Dをそのx軸54D周りに回転させるように拘束する助けとなる。したがって、傾いた姿勢または水平姿勢で引っ張られたとき、物品12Dが直線を走ることが強化される。物品12Dが、所望の運動方向のどちらかの側に対してオフセットされた斜面を有する表面の上を引っ張られている場合でさえもこのようになる。
上記のように、様々な追加の機能構成部品をボール車輪14に一体化することができる。例えば、図36~39を参照すると、ボール車輪14Eは、サスペンション・ユニット146Eおよびブレーキ・ユニット150Eを含む。サスペンション・ユニット146Eは、ボール車輪14Eの首部86Eと物品12Eとの間に取り付けられ、ボール車輪14Eが下の面の通り過ぎるときに受ける衝撃を吸収し、それによって、より滑らかな走行を提供し、物品12Eの構成部品、ボール車輪14E、または関連する構造物が損傷する可能性を低減する。ブレーキ・ユニット150Eは、首部86Eを通って軸方向に延在する内部通路152Eに取り付けられ、ボール34Eに制動力をかけてシェル32Eに対するその回転移動の速度を下げる、または止めるのに有効である。
図40および41をより詳細に参照すると、サスペンション・ユニット146Eは、互いに対して摺動可能な上方および下方部分156E、160Eを有し、下方部分160Eは、首部86Eの周りでシェル32Eに着座している。上方部分156Eと下方部分160Eの相対運動を調整するために、圧縮ばね162Eをそれらの間に延在させて、頂部で上方部分156Eに、底部で下方部分160Eにろう付け、またはその他の方法で接続することができる。ばね162Eの頂部にある保持リング164Eは、嵌合および接続をさらに強化する。
組み立てやすくするために、下方部分160Eは、下方ばね座166Eおよび外側カバー170Eを含む。同様に、上方部分156Eは、上方ばね座172Eおよび外側カバー174Eを含む。滑らかに相対移動をしやすくするために、下方および上方ばね座166E、172Eの隣接する面の間に潤滑剤を塗布することができる。ばね座166E、172Eとばね162Eの組立後に、外側カバー170E、174Eをろう付け、またはその他の接続手段によって取り付けることができる。
下記でさらに説明するように、ボール車輪14Eを物品12Eに固定しやすくし、ボール車輪14Eを物品12E内にさらに引っ込ませることができるように、同心の孔176E、180Eがそれぞれ、ばね座166E、172Eを貫通して画定される。これもまた同心の孔186Eを有するクッション性の緩衝具184Eが、ばね座166Eとばね座172Eとの間に配列されてそれらの間の急激な衝撃を防ぐ。
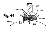
図40、42、および43をより詳細に参照すると、ブレーキ・ユニット150Eは、ボール車輪14Eの首部86E内に位置する内部通路152E内に位置する。ブレーキ・ユニット150Eはブレーキ・ハウジング190Eを含み、ブレーキ・シュー192Eはブレーキ・ハウジング190Eからボール34Eの方へ延在可能である。ブレーキ・シュー192Eは、ブレーキ・ロッド194Eを介してブレーキ・ピストン196Eに接続される。カム作動部200Eは、ロッド194Eおよびピストン196Eを介してブレーキ・シュー192Eをボール34Eの方へ押すようにブレーキ・ケーブル202Eによって動作可能である。引張ばね204Eは、カム作動部200Eによって制動力がかからないときには、自動的にブレーキ・シュー192Eを引っ込ませるように働く。ばね204Eが完全に圧縮された状態でも、ブレーキ・シュー192Eが内部通路152Eを完全には出ないように、さらに適切なブレーキ・シュー192Eの位置合わせを確実にするような設計公差が好ましい。
ブレーキ・ハウジング190Eは、カム作動部200Eが全範囲を動けるように、およびブレーキ・ケーブル202Eの出口路を与えるように、対向した溝206Eを含む。カム取付スリーブ210Eはブレーキ・ハウジング190E内に受け入れられ、溝206Eと位置合わせされた溝212Eを有する。カム取付スリーブ210Eは、車軸切り欠き部216Eによってカム車軸214Eを取り付ける。ケーブル202Eは、ケーブル車軸220Eおよびブッシング222Eによってカム作動部200Eの反対側の端部に取り付けられる。
組立時、ブレーキ・ユニット150Eは、内部通路152E内に簡単に「差し込む」ことができ、または比較的容易に取り外すことができる。ハウジング190Eの肩部224Eは、内部通路152Eの対応する収縮部226Eと係合することによって、適切な距離まで挿入するように制限する。ねじ付きプラグ230Eは内部通路152Eにねじ込まれ、首部86Eを閉鎖し、ブレーキ・ユニット150Eを定位置に保持する。プラグ230Eは内部孔232Eを有する。孔232Eの上部には六角面などが形成されて、プラグ230Eの挿入および取外しを容易にし、一方、(下記で説明するように)孔232Eの下部はねじが切られてボール車輪14Eを物品12Eに接続しやすくしている。
制動力がかけられると、シュー192Eが延びて、ボール34Eに直接係合することによってボール34Eに制動力をかける。係合をより良くするために、ブレーキ・シュー192Eの下面234Eはボール34Eの曲率に合うような輪郭となっている。ブレーキ・シュー192Eの周縁236Eは、その周りに軸受94E(およびすべてのごみ)を向けるように湾曲していることが有利である(六角開口240Eは下面234E内に延在してシュー192E/ロッド194Eをキャップ196Eにねじ込みやすくしている)。シュー192Eによってかけられた制動力がボール34Eを周囲リップ42Eと接触するように押し、これが効果的な制動作用をさらに強めるように、ボール車輪14Eを構成することができる。
シュー192Eの下面234Eとボール34Eとの間の隙間は比較的狭いことが好ましく、それによって、シュー192Eの移動がより少なくて素早い制動作用が可能になり、より広い隙間によって生じる可能性がある汚れの問題もまた最小限になる。隙間が狭い場合、大きな衝撃力(例えば、荷物をたくさん積んだ物品12Eが高い縁部(curb)から転がり落ちた場合)によって、ブレーキ・シュー192Eとボール34Eとの間で望ましくない制動作用を引き起こすのに十分な相対移動が生じることがある。代替の実施形態(図44および45参照)では、ブレーキ・シュー192Fは、低摩擦の座244Fを介して下面234Fに埋め込まれた複数の軸受242Fを有する。座244Fは、面234F内に延在する開口246F内に位置する(六角座は六角開口240F内に位置することができる)。軸受242Fは、大きな衝撃力の事態での望ましくない制動作用の発生および/またはその激しさを低減する。
再び図36および40を参照すると、ブレーキ・ケーブル202Eに対してボール車輪14Eから出すように経路を採ることは、サスペンション・ユニット146Eおよびシェル32Eの首部86Eに形成された、位置合わせされたケーブル開口250Eによって容易になる。サスペンション・ユニット146Eの開口250Eは、下方ばね座166E、および下方部分160Eの外側カバー170Eの両方の位置合わせされた開口を含む。上方部分156Eの外側カバー174Eに形成されたケーブル切り欠き部252Eは、サスペンション・ユニット146Eが圧縮されてもブレーキ・ケーブル202Eとは干渉しないことを確実にする。
サスペンション・ユニット146Eおよびブレーキ・ユニット150Eのモジュール設計によって、このようなユニットを容易にアップグレードし、「プラグ・アンド・プレー」で使用することができる。例えば、図46および47を参照すると、サスペンション・ユニット146Eをサスペンション交換ユニット260Eに交換し、ブレーキ・ユニット150Eをブレーキ交換ユニット262Eに交換することによって、より基本的なボール車輪14Eの構成が達成される。交換ユニット260Eは、ちょうどサスペンション・ユニット146Eのように首部86Eを覆って嵌合するが、内部サスペンション構成部品はない。開口176Eのように、同心の孔264Eが交換ユニット260Eを貫通して形成されて、(下記のように)物品12に取り付けることができる。ケーブル開口266Eが、サスペンション交換ユニット260Eの側面を貫通して形成されて、サスペンション・ユニット146Eなしにブレーキ・ユニット150Eを使用するボール車輪14Eをさらに構成することができることが好ましい。
同様に、ブレーキ交換ユニット262Eはブレーキ構成部品がない単一部品で、肩部270Eで内部通路152E内に着座し、ちょうどブレーキ・ユニット150Eのようにねじ付きプラグ230Eによって定位置に固定される。さらに別のボール車輪14Eの構成では、ブレーキ交換ユニット262Eもまたサスペンション・ユニット146Eとともに使用することができることは認識されるであろう。
図48を参照すると、ソケット272Eは、物品12Eの縁22E(30E)に沿って形成され(物品12Eの端部に近接していることが好ましい、例えば、図1および2参照)、ボール車輪14Eの首部86Eが、取り付けられたサスペンション・ユニット146E(または、サスペンション交換ユニット260E)とともにその中に受け入れられる。接続ボルト274Eは、物品12Eの内部から開口276Eを(および、好ましくは、座金280Eも)通って挿入され、プラグ230Eにねじ込まれてボール車輪14Eをソケット272Eに固定する。接続ボルト274Eの頭(および座金280E)は、開口276Eを通過することができないので、ボール車輪14Eがこのように装着されたとき、接続ボルト274Eはまた、サスペンション・ユニット146Eが最大限延びる範囲を効果的に定める。
引込ケーブル282Eは、ブレーキ・ケーブル202Eとともに物品12Eの内部を通る経路を採ることが好ましい。引込ケーブル282Eは、サスペンション・ユニット146Eをケーブル282Eによって圧縮することによって、ボール車輪14Eを物品12E内にさらに引っ込めることができる。したがって、物品12Eは、しまい込むときに必要な空間をいっそう小さくすることができる。ブレーキ・ケーブル202Eおよび引込ケーブル282Eの経路は概略的に描かれている。物品12Eに取り付けられたボール車輪14Eのそれぞれからの同様なケーブルは、一緒の経路を採ることができ、物品12のどこか他の場所(例えば、物品12のハンドル)の単一の点から同時に、すべてのブレーキ・ユニット150Eを遠隔操作すること、および/またはボール車輪14Eを引っ込めることを可能にすることは認識されるであろう。
ボール車輪14Eを物品12Eに対して適切に配置することを確実にするために、サスペンション・ユニット146E(およびサスペンション交換ユニット260E)の外側、およびソケット272Eの内部にそれぞれ指標面284E、286Eが形成される。首部86Eを覆ってサスペンション・ユニット146E(およびサスペンション交換ユニット260E)を適切に配置することを確実にするために、それぞれの指標面290E、292Eもまたそれらに形成される。上方部分80Eと下方部分82E(ならびに、サスペンション・ユニット146Eおよびサスペンション交換ユニット260E)を適切に配置することを確実にするために、指標マーク294Eがそれらに形成される(図36および46参照)。すべての構成部品に適切に指標を付けると、ボール車輪14Eが物品12Eに接続されたとき、非円形のボール車輪開口36E(およびトラッカー車輪132E)は物品12Eに対して適切な向きとなる。
物品移動システム10の例示的な実装形態では、物品12Eは、サスペンション交換ユニット260Eおよびブレーキ交換ユニット262Eを有するボール車輪14Eとともに販売される。使用者は、後で、サスペンション・ユニット146Eおよび/またはブレーキ・ユニット150Eにアップグレードすることを決めることができ、それらのそれぞれの接続ボルト274Eを取り外すことによって、ボール車輪14Eを物品12Eから簡単に取り外すことができる。ボール車輪14Eを取り外した状態で、サスペンション交換ユニット260Eを取り外し、ねじ付きプラグ230Eを取り外し、ブレーキ交換ユニット262Eを引き抜く。ブレーキ・ユニット150Eを取り付け、ねじ付きプラグ230Eを交換し、サスペンション・ユニット146Eを首部86Eにかぶせ、各ボール車輪14Eをその接続ボルト274Eで再取り付けする。同様に、損傷した構成部品を補修または交換することは非常に容易である。
前述の実施形態は例示し例証する目的のために提供されており、本発明は必ずしもこれらに限定されるものではない。例えば、上記の実施形態の特徴は、説明を明瞭にするために個別に説明されているが、様々な実施形態の特徴は容易に組合せ可能である。例えば、ボール車輪14~14Eのいずれも、物品12を有するシステム10に使用することができる。同様に、ボール車輪14Eのサスペンション・ユニット146Eおよびブレーキ・ユニット150E(および、それぞれの交換ユニット260E、262E)は、ボール車輪14~14Dのいずれにも一体化することができ、ボール車輪14D~14Eのトラッカー車輪132D~132Eは、他のボール車輪14~14Cのいずれにも一体化することができる、などである。
図示とは異なる数のボール車輪14~14Eを物品12に使用することができる。例えば、より多くの、またはより少ないボール車輪14を縁22、30に沿って配置することができる。ボール車輪14を物品12の上縁などの他の縁に配置することができる。他の縁にはより基本的な転がり支持をして、より少ない縁に、例えば、単一の縁だけに沿ってボール車輪14を配置することができる。異なる縁には異なる構成のボール車輪14を使用することができる。例えば、縁22のボール車輪14はブレーキ・ユニットおよびサスペンション・ユニットを備えることができるが、縁30のボール車輪14は交換ユニットを備えることができる。物品12は、サスペンション・ユニットまたは交換ユニットを介在させずにボール車輪14の首部86を直接受け入れるように構成することができる。
これに加えて、ボール車輪用に任意の適切な構造材料を使用することができる。本発明は、必ずしもこれに関して限定されるものではない。ステンレス鋼、チタン、炭素繊維強化ポリマー、および高強度プラスチックはボール車輪およびハウジング用として有利である。転がしている間の騒音、および静電気の発生を最小限にするために、ボール車輪のボールは、ポリウレタンで被覆される、または同様のシェルであることが好ましく、硬いプラスチックのコアを有してもよく、または中実ボールであってもよい。
特許請求の範囲の文脈で使用されるとき、そのような請求項で直接列挙される要素、および従属項の結果として組み入れられた要素を含め、両方/すべてがその中で列挙される、特許請求の範囲において列挙される同じ要素のすべてを含む場合、ボール車輪は「実質的に同一」である。「実質的に同一」のボール車輪はそれでも、列挙されない要素に対しては異なる場合がある。
本発明者は、出願内容全体を参照によって本明細書に援用する、2008年12月19日出願の米国特許出願第61/139,153号、2009年12月18日出願の米国特許出願第12/641,845号、2010年3月5日出願の米国特許出願第12/718,063号、2013年3月15日出願の米国特許出願第61/789,101号、2013年3月15日出願の米国特許出願第61/792,217号、2014年3月17日出願の米国特許出願第14/215,854号、2014年3月17日出願の米国特許出願第14/215,814号、および2015年1月23日出願の米国特許出願第62/106,836号を含むボール車輪およびそれらの使用法の様々な実施形態を開示した特許出願を以前に出願した。本明細書には明白には開示されていないこのような特徴および使用法の範囲内で、これらは、本明細書に開示された様々なボール車輪実施形態に容易に組み入れることができることは認識されるであろう。
前述したことは、変形例を網羅した一覧ではない。むしろ、これらおよび他の修正および改造は、本明細書で図示され説明された本発明の範囲内、および添付の特許請求の範囲内で可能であることは当業者であれば認識するであろう。

Claims (27)

  1. 第1の物品の縁で合する第1の物品面と第2の物品面を有する物品と、
    前記第1の物品の縁に沿って位置する第1のボール車輪であって、
    下の面に係合するためのボールと、
    全方向の回転移動をするように前記ボールを支持するための軸受装置と、
    前記第1の物品の縁に沿って位置し、前記ボールおよび前記軸受装置を収めるシェルであって、前記ボールの一部分が前記下の面と接触することができるように通って延在する非円形のボール開口を画定する、シェルと
    を含む、第1のボール車輪と
    を備え、
    前記ボール車輪が、前記第1の物品面が前記下の面と平行な状態で、前記第2の物品面が前記下の面と平行な状態で、およびそれらの状態の間の前記物品の任意の姿勢で、前記下の面の上を全方向の転がり運動するように前記物品を支持することができるように、前記物品、前記軸受装置、および前記シェルが構成され、
    周囲リップが、前記非円形のボール開口の周りを前記ボールの方へ延在し、
    前記周囲リップの内側面の外側部分が、前記ボールの曲率半径に等しい曲率半径を有する、物品移動システム。
  2. 第1の物品の縁で合する第1の物品面と第2の物品面を有する物品と、
    前記第1の物品の縁に沿って位置する第1のボール車輪であって、
    下の面に係合するためのボールと、
    全方向の回転移動をするように前記ボールを支持するための軸受装置と、
    前記第1の物品の縁に沿って位置し、前記ボールおよび前記軸受装置を収めるシェルであって、前記ボールの一部分が前記下の面と接触することができるように通って延在する非円形のボール開口を画定する、シェルと
    を含む、第1のボール車輪と
    を備え、
    前記ボール車輪が、前記第1の物品面が前記下の面と平行な状態で、前記第2の物品面が前記下の面と平行な状態で、およびそれらの状態の間の前記物品の任意の姿勢で、前記下の面の上を全方向の転がり運動するように前記物品を支持することができるように、前記物品、前記軸受装置、および前記シェルが構成され、
    周囲リップが、前記非円形のボール開口の周りを前記ボールの方へ延在し、
    前記ボールと前記周囲リップの内側面との間の間隔が、前記周囲リップの内側の縁では、前記周囲リップの外側の縁よりも広い、物品移動システム。
  3. 第1の物品の縁で合する第1の物品面と第2の物品面を有する物品と、
    前記第1の物品の縁に沿って位置する第1のボール車輪であって、
    下の面に係合するためのボールと、
    全方向の回転移動をするように前記ボールを支持するための軸受装置と、
    前記第1の物品の縁に沿って位置し、前記ボールおよび前記軸受装置を収めるシェルであって、前記ボールの一部分が前記下の面と接触することができるように通って延在する非円形のボール開口を画定する、シェルと
    を含む、第1のボール車輪と
    を備え、
    前記ボール車輪が、前記第1の物品面が前記下の面と平行な状態で、前記第2の物品面が前記下の面と平行な状態で、およびそれらの状態の間の前記物品の任意の姿勢で、前記下の面の上を全方向の転がり運動するように前記物品を支持することができるように、前記物品、前記軸受装置、および前記シェルが構成され、。
    周囲リップが、前記非円形のボール開口の周りを前記ボールの方へ延在し、
    前記周囲リップが磁化されている、物品移動システム。
  4. 第1の物品の縁で合する第1の物品面と第2の物品面を有する物品と、
    前記第1の物品の縁に沿って位置する第1のボール車輪であって、
    下の面に係合するためのボールと、
    全方向の回転移動をするように前記ボールを支持するための軸受装置と、
    前記第1の物品の縁に沿って位置し、前記ボールおよび前記軸受装置を収めるシェルであって、前記ボールの一部分が前記下の面と接触することができるように通って延在する非円形のボール開口を画定する、シェルと
    を含む、第1のボール車輪と
    を備え、
    前記ボール車輪が、前記第1の物品面が前記下の面と平行な状態で、前記第2の物品面が前記下の面と平行な状態で、およびそれらの状態の間の前記物品の任意の姿勢で、前記下の面の上を全方向の転がり運動するように前記物品を支持することができるように、前記物品、前記軸受装置、および前記シェルが構成され、
    前記軸受装置が、前記シェル内から前記ボールに係合する複数のマイクロ・キャスターを含む、物品移動システム。
  5. 前記複数のマイクロ・キャスターのそれぞれが、
    前記シェルに取り付けられた外側ハウジングと、
    前記外側ハウジング内に回転可能に取り付けられた内側ハウジングと、
    キャスター車輪であって、前記キャスター車輪の回転軸が前記内側ハウジングの回転軸に対して直角に延在するが、交差しないように、前記内側ハウジングに回転可能に取り付
    けられたキャスター車輪と
    を含む、請求項に記載の物品移動システム。
  6. 前記複数のマイクロ・キャスターのそれぞれが、前記外側ハウジングに対して前記内側ハウジングを回転可能に支持する複数の玉軸受をさらに含む、請求項に記載の物品移動システム。
  7. 前記内側ハウジングに固定され、前記内側ハウジングとともに回転可能なキャップを、前記複数のマイクロ・キャスターのそれぞれがさらに含み、前記キャップが、前記キャスター車輪の一部分が通って延在するキャスター車輪開口を画定する、請求項に記載の物品移動システム。
  8. 前記キャップを取り囲み、前記内側ハウジングと前記外側ハウジングとの間の空間を封じるシールリングをさらに備えた請求項に記載の物品移動システムであって、
    前記キャップおよび前記シールリングが、前記キャスター車輪開口の周りに延在する前記キャップの中央突出部を除いて、前記キャップおよび前記シールリングに隣接した前記シェルの内面の曲率が続くような輪郭となっている、物品移動システム。
  9. 前記複数のマイクロ・キャスターが4つのマイクロ・キャスターを含み、前記4つのマイクロ・キャスターのそれぞれが、前記ボールの4つの四分円部のそれぞれ1つと係合するように配置された、請求項に記載の物品移動システム。
  10. 前記非円形のボール開口が大角度範囲および小角度範囲を有し、前記4つの四分円部がそれらの間に形成された、請求項に記載の物品移動システム。
  11. 前記4つのマイクロ・キャスターが双係合するように配置された、請求項に記載の物品移動システム。
  12. 前記軸受装置が、前記ボールと前記シェルとの間の軸受容積に配置された複数の玉軸受をさらに含み、前記複数の玉軸受が、前記マイクロ・キャスターの周りに、およびそれを超えて前記軸受容積の中を自由に循環する、請求項に記載の物品移動システム。
  13. 第1の物品の縁で合する第1の物品面と第2の物品面を有する物品と、
    前記第1の物品の縁に沿って位置する第1のボール車輪であって、
    下の面に係合するためのボールと、
    全方向の回転移動をするように前記ボールを支持するための軸受装置と、
    前記第1の物品の縁に沿って位置し、前記ボールおよび前記軸受装置を収めるシェルであって、前記ボールの一部分が前記下の面と接触することができるように通って延在する非円形のボール開口を画定する、シェルと
    を含む、第1のボール車輪と
    を備え、
    前記ボール車輪が、前記第1の物品面が前記下の面と平行な状態で、前記第2の物品面が前記下の面と平行な状態で、およびそれらの状態の間の前記物品の任意の姿勢で、前記下の面の上を全方向の転がり運動するように前記物品を支持することができるように、前記物品、前記軸受装置、および前記シェルが構成され、
    前記軸受装置が、前記ボールと前記シェルとの間の軸受容積に配置された複数の玉軸受を含み、前記複数の玉軸受が前記軸受容積の中を自由に循環する、物品移動システム。
  14. 前記シェル内に画定され、前記軸受容積と連通した軸受室を、前記軸受装置がさらに含み、その結果、前記複数の玉軸受の一部が自由に前記軸受室に出入りするように循環することができる、請求項13に記載の物品移動システム。
  15. 第1の物品の縁で合する第1の物品面と第2の物品面を有する物品と、
    前記第1の物品の縁に沿って位置する第1のボール車輪であって、
    下の面に係合するためのボールと、
    全方向の回転移動をするように前記ボールを支持するための軸受装置と、
    前記第1の物品の縁に沿って位置し、前記ボールおよび前記軸受装置を収めるシェルであって、前記ボールの一部分が前記下の面と接触することができるように通って延在する非円形のボール開口を画定する、シェルと
    を含む、第1のボール車輪と
    を備え、
    前記ボール車輪が、前記第1の物品面が前記下の面と平行な状態で、前記第2の物品面が前記下の面と平行な状態で、およびそれらの状態の間の前記物品の任意の姿勢で、前記下の面の上を全方向の転がり運動するように前記物品を支持することができるように、前記物品、前記軸受装置、および前記シェルが構成され、
    前記第1の物品面と前記第2の物品面が概ね垂直で、その結果、前記第1の物品面が前記下の面と平行な水平姿勢において、前記第2の物品面が前記下の面と平行な鉛直姿勢において、それらの間の任意の傾いた姿勢において、前記第1のボール車輪が、前記下の面の上を全方向の転がり運動をするように前記物品を支持することができるように、前記物品、前記軸受装置、および前記シェルが構成され、
    前記物品が鉛直姿勢では、トラッカー車輪が前記ボールに隣接して水平方向に位置し、前記物品の全方向の回転移動を拘束せず、前記物品が傾いた姿勢および水平姿勢では、前記トラッカー車輪が前記ボールの一部分の鉛直方向上方に位置し、前記ボールが前記トラッカー車輪と係合する結果、前記トラッカー車輪の回転軸に垂直な方向への前記ボールの回転走行が強化されるように、前記第1のボール車輪が前記シェル内に回転可能に取り付けられた前記トラッカー車輪をさらに含む、物品移動システム。
  16. 第1の物品の縁で合する第1の物品面と第2の物品面を有する物品と、
    前記第1の物品の縁に沿って位置する第1のボール車輪であって、
    下の面に係合するためのボールと、
    全方向の回転移動をするように前記ボールを支持するための軸受装置と、
    前記第1の物品の縁に沿って位置し、前記ボールおよび前記軸受装置を収めるシェルであって、前記ボールの一部分が前記下の面と接触することができるように通って延在する非円形のボール開口を画定する、シェルと
    を含む、第1のボール車輪と
    を備え、
    前記ボール車輪が、前記第1の物品面が前記下の面と平行な状態で、前記第2の物品面が前記下の面と平行な状態で、およびそれらの状態の間の前記物品の任意の姿勢で、前記下の面の上を全方向の転がり運動するように前記物品を支持することができるように、前記物品、前記軸受装置、および前記シェルが構成され、
    前記シェルが、前記物品に接続される、上向きに延在した首部を含む、物品移動システム。
  17. 前記首部の周りに配置され、前記ボールが前記下の面を通り過ぎるときに前記ボールが受ける衝撃を吸収するように構成されたサスペンション・ユニットを、前記第1のボール車輪がさらに含む、請求項16に記載の物品移動システム。
  18. 前記サスペンション・ユニットが、単一のユニットとして前記首部から取り外し可能である、請求項17に記載の物品移動システム。
  19. 内部通路が前記首部を通って延在するように画定され、前記内部通路に配置され、前記ボールに制動力をかけるように動作可能なブレーキ・ユニットを、前記第1のボール車輪がさらに含む、請求項16に記載の物品移動システム。
  20. 前記ブレーキ・ユニットが、単一のユニットとして前記首部から取り外し可能である、請求項19に記載の物品移動システム。
  21. 前記ボールの方へ延在可能で、前記ボールを前記非円形のボール開口を取り囲む周囲リップと接触するように押すように動作可能なブレーキ・シューを、前記ブレーキ・ユニットが含む、請求項19に記載の物品移動システム。
  22. 前記第1の物品の縁に沿って位置し、前記第1のボール車輪と実質的に同一である第2のボール車輪をさらに備える、請求項1、2、3、4、13、15、16のいずれかに記載の物品移動システム。
  23. 第2の物品の縁に沿って位置する第3および第4のボール車輪をさらに備えた、請求項22に記載の物品移動システムであって、前記第2の物品面が、前記第2の物品の縁で第3の物品面と合し、前記第3および第4のボール車輪が前記第1および第2のボール車輪と実質的に同一であり、前記第1および第3の物品面が前記物品の対向する側面を形成している、物品移動システム。
  24. 前記非円形のボール開口が大角度範囲および小角度範囲を有し、前記大角度範囲が前記小角度範囲よりも大きい、請求項1、2、3、4、13、15、16のいずれかに記載の物品移動システム。
  25. 前記第1の物品の縁が、縁のx軸に概ね沿って延在し、前記物品が前記下の面に沿ってz軸の方向に転がされているときに前記ボールが、前記ボールのx軸の周りを回転し、前記大角度範囲が前記ボールのx軸の周りを部分的に延在し、前記小角度範囲が、前記ボールのx軸と交差する前記ボールのz軸の周りを部分的に延在する、請求項24に記載の物品移動システム。
  26. 前記大角度範囲が前記ボールのx軸に対して約90度より大きく、前記小角度範囲が前記ボールのz軸に対して約160度より小さい、請求項24または25に記載の物品移動システム。
  27. 前記大角度範囲が約120度から約200度の間であり、前記小角度範囲が約60度から約135度の間である、請求項24から26のいずれかに記載の物品移動システム。
JP2019507798A 2016-08-10 2017-08-09 物品移動システム、ボール車輪、ならびに関連する装置および方法 Active JP7021189B2 (ja)

Applications Claiming Priority (3)

Application Number Priority Date Filing Date Title
US15/232,883 US9783001B1 (en) 2016-08-10 2016-08-10 Article movement systems, ball wheels and related apparatus and methods
US15/232,883 2016-08-10
PCT/US2017/046087 WO2018031648A1 (en) 2016-08-10 2017-08-09 Article movement systems, ball wheels and related apparatus and methods

Publications (2)

Publication Number Publication Date
JP2019529203A JP2019529203A (ja) 2019-10-17
JP7021189B2 true JP7021189B2 (ja) 2022-02-16

Family

ID=59981324

Family Applications (1)

Application Number Title Priority Date Filing Date
JP2019507798A Active JP7021189B2 (ja) 2016-08-10 2017-08-09 物品移動システム、ボール車輪、ならびに関連する装置および方法

Country Status (7)

Country Link
US (2) US9783001B1 (ja)
EP (1) EP3496955B1 (ja)
JP (1) JP7021189B2 (ja)
KR (1) KR20190039175A (ja)
CN (1) CN109562640A (ja)
CA (1) CA3031755A1 (ja)
WO (1) WO2018031648A1 (ja)

Families Citing this family (12)

* Cited by examiner, † Cited by third party
Publication number Priority date Publication date Assignee Title
US20190143749A1 (en) * 2008-12-19 2019-05-16 Panter, Inc. Article movement systems, ball wheels and related apparatus and methods
EP3034324A1 (de) * 2014-12-16 2016-06-22 Omniroll AG Mecanumradfahrzeug
TWI583571B (zh) * 2016-03-18 2017-05-21 華碩電腦股份有限公司 萬向轉動模組
US10875359B2 (en) * 2016-06-20 2020-12-29 Romualdo Monteiro de Barros Rolling device, especially for furniture, luggage cases and the like
US10968966B2 (en) 2017-11-15 2021-04-06 Intuitive Surgical Operations, Inc. Brake mechanism for spherical wheel
US11001298B2 (en) 2017-11-15 2021-05-11 Intuitive Surgical Operations, Inc. Spherical wheel drive and mounting
USD879470S1 (en) 2018-02-22 2020-03-31 Panter Inc. Luggage
GB201804867D0 (en) * 2018-03-27 2018-05-09 Ocado Innovation Ltd A transporting device
DE202018003146U1 (de) * 2018-07-06 2019-04-05 Impekoven, Özkilic GbR (vertretungsberechtigte Gesellschafter: Alexander Impekoven, 53859 Niederkassel und Baris Özkilic, 51107 Köln) Smarte Möbelrolle
US10859347B1 (en) * 2019-12-13 2020-12-08 Joseph B Trampenau Civilian bullet-proof shield
DE102020105433B4 (de) * 2020-03-02 2021-12-30 Schaeffler Technologies AG & Co. KG Radanordnung sowie Antriebsplattform und Fahrzeug
US20250376135A1 (en) * 2024-06-06 2025-12-11 Harrison Michael Grimm Ball bearing trailer jack

Citations (2)

* Cited by examiner, † Cited by third party
Publication number Priority date Publication date Assignee Title
JP2012144251A (ja) 2011-01-12 2012-08-02 Tumi Inc ボール車輪
JP3184846U (ja) 2013-05-09 2013-07-18 株式会社ティーアンドエス バッグ類のキャスターロック装置

Family Cites Families (128)

* Cited by examiner, † Cited by third party
Publication number Priority date Publication date Assignee Title
US528191A (en) 1894-10-30 Registering and canceling ballot-box
US495519A (en) 1893-04-18 Caster
US31548A (en) 1861-02-26 Iid lindner
US555175A (en) 1896-02-25 Ball-caster
US195282A (en) 1877-09-18 Improvement in furniture-casters
US609568A (en) 1898-08-23 Ball-caster
US372387A (en) 1887-11-01 Alfeed eix
US201976A (en) 1878-04-02 Improvement in furniture-casters
US365809A (en) 1887-07-05 Fotjeths to s
US265939A (en) 1882-10-10 Oscar f
US440346A (en) 1890-11-11 Ball caster
US91086A (en) 1869-06-08 Improved furniture-caster
US570603A (en) 1896-11-03 Ball-caster
US229478A (en) 1880-06-29 Furniture-caster
US663164A (en) 1899-08-05 1900-12-04 William H Fauber Ball-caster.
US647675A (en) 1900-02-05 1900-04-17 Charles J Fox Ball-caster.
US701196A (en) 1901-05-15 1902-05-27 Thaddeus Galvin Ball-caster.
US851396A (en) 1906-09-24 1907-04-23 Emil A Bode Caster.
US928087A (en) 1909-01-12 1909-07-13 Frank Villiers Caster.
US985455A (en) 1910-11-05 1911-02-28 Robert J Russel Caster.
US1014582A (en) 1911-05-12 1912-01-09 Joseph H Eichholz Ball-bearing caster.
US1139271A (en) 1913-12-10 1915-05-11 Mathew D Gray Ball-bearing caster for furniture.
US1265850A (en) 1917-09-21 1918-05-14 Anna Wierszewska Furniture-caster.
US1333895A (en) 1919-09-11 1920-03-16 Botts George Caster
GB207602A (en) * 1922-08-29 1923-11-29 Herbert Frank Greener An improved ball caster
US1768785A (en) 1928-01-05 1930-07-01 Poppe Alfred Ball caster
US2173950A (en) 1938-02-14 1939-09-26 Harman R Brown Lockable caster assembly
US2255454A (en) 1939-07-19 1941-09-09 Frank H C Rust Spinning top
US2423711A (en) 1945-08-03 1947-07-08 Roy R Knox Ball-bearing foot for furniture and the like
US2687546A (en) * 1952-05-16 1954-08-31 Oppenheimer Jess Caster
US2779965A (en) 1954-04-05 1957-02-05 Smith Corp A O Ball caster
US2920918A (en) 1958-03-11 1960-01-12 Amagasaki Seitetsu Kabushiki K Car wheels
US3084376A (en) 1960-09-16 1963-04-09 Master Mfg Company Inc Caster
GB1151921A (en) 1966-03-05 1969-05-14 Autoset Production Ltd Improvements relating to Ball Castors.
US3381330A (en) 1966-05-02 1968-05-07 John H. Aninger Casters
US3349426A (en) 1966-07-26 1967-10-31 Raymond Haydock Jr Hooded caster wheel assembly
AU441779B2 (en) 1967-02-28 1973-10-22 William Jenkins Albert Improvements in or relating to castors
US3478382A (en) * 1967-07-03 1969-11-18 Gen Bearing Co Sealed ball transfer
US3528635A (en) 1968-07-29 1970-09-15 Nightingale Ind Ltd Leg construction for chairs and the like
US3514804A (en) 1968-11-07 1970-06-02 Kendale Industries Ball caster and method of making the same
US3920290A (en) 1974-02-11 1975-11-18 J & M Hydraulic Servic Inc Ball transfer unit
JPS50156963U (ja) * 1974-06-11 1975-12-25
JPS5131444A (ja) * 1974-09-09 1976-03-17 Juzaburo Sudo Kyasutaa
CA994825A (en) 1975-10-22 1976-08-10 Donald Daoust Two wheel skates with hollow globular rollers
US4018322A (en) 1976-06-11 1977-04-19 Rexnord Inc. Gimbaled conveyor balls
JPS56167502A (en) 1980-05-28 1981-12-23 Yoshinobu Sakuma Ball wheel with brake
US4340132A (en) 1981-01-12 1982-07-20 J.F.C. Investments, Inc. Suitcase and cart assembly
US4402108A (en) 1981-02-17 1983-09-06 Pannwitz Hans U Reduced static castor
US4696583A (en) 1984-05-25 1987-09-29 The Boeing Company Ball support assembly
DE3541020A1 (de) 1985-11-19 1987-05-21 Star Gmbh Rollelement
US4907728A (en) 1987-09-24 1990-03-13 Giblet Allen L Vehicle mountable luggage carrier assembly
DE3805494A1 (de) 1988-02-22 1989-08-31 Bavaria Cargo Tech Foerderkugeleinheit
CN2031365U (zh) * 1988-04-08 1989-01-25 曹建申 球形万向脚轮
DE8905066U1 (de) * 1989-04-24 1989-06-08 Ku, Mil-Ton, Taichung Gepäckstück-Rolleinheit
DE3941906A1 (de) 1989-12-19 1991-06-20 Electro Pneumatic Int Kugeleinheit
CN2083655U (zh) * 1990-07-31 1991-08-28 周志辉 万向轮
CN2089887U (zh) * 1991-01-21 1991-12-04 张亚媚 一种球形万向脚轮
US5368143A (en) 1991-03-29 1994-11-29 Porter Case, Inc. Carry-on case having a detachable wheel and handle assembly
CN2105420U (zh) * 1991-05-31 1992-05-27 谢中全 万向轮
US5419008A (en) 1991-10-24 1995-05-30 West; Mark Ball joint
US5590890A (en) 1992-02-07 1997-01-07 Jack L. Forcelledo Roller skate
US5323886A (en) 1993-04-23 1994-06-28 Chen Shou Mao Suitcase
US5456342A (en) 1993-10-08 1995-10-10 Royalox International, Inc. Rollable luggage
US5435423A (en) 1993-10-08 1995-07-25 Royalox International, Inc. Rolling catalog case with pull-out handle
US5549318A (en) 1993-10-15 1996-08-27 Ho; Ching-Feng Trolley with luggage securing device
US5412838A (en) 1993-12-01 1995-05-09 Yang; I-Min Caster for baggage
JP3124428B2 (ja) * 1993-12-28 2001-01-15 株式会社ニフコ キャスタ装置
WO1995022266A1 (en) * 1994-02-22 1995-08-24 Tumi Luggage, Inc. Wheel assembly for luggage
DE4412603C2 (de) 1994-04-13 1996-06-05 Tente Rollen Gmbh & Co Feststellvorrichtung für Rollen, insbesondere Lenkrollen
US5549331A (en) 1994-06-03 1996-08-27 Yun; Young W. Inline skateboard
US6012729A (en) 1996-01-04 2000-01-11 Lin; Shiou Chang Luggage system and folding dolly therefor
US5797617A (en) 1996-01-04 1998-08-25 Lin; Shiou Chang Luggage system and folding dolly therefor
USD378115S (en) 1996-01-26 1997-02-18 Rollerball International Inc. Skate
USD377959S (en) 1996-03-04 1997-02-11 Wang-Chuan Chen Roller skate
US5749446A (en) 1996-04-10 1998-05-12 Jet General Investment Company Collapsible luggage piece and cart
KR19980063852A (ko) 1996-12-06 1998-10-07 아다찌마사루 제동기구를 가지는 볼 타입 이송장치 및 그러한 볼 타입이송장치가 적용된 차량
US6302250B1 (en) 1997-06-09 2001-10-16 Outrigger, Inc. Towable carrying case
US6193033B1 (en) 1997-06-09 2001-02-27 Outrigger, Inc. Towable carrying case
US6076641A (en) 1997-10-03 2000-06-20 Samsonite Corporation Large-wheeled luggage case
US6116390A (en) 1997-11-18 2000-09-12 Cohen; Fred E. Wheeled stackable luggage
JPH11180105A (ja) 1997-12-22 1999-07-06 Tokyo Kyoiku Gijutsu Kenkyusho:Kk 車椅子構造
US6065762A (en) 1998-03-11 2000-05-23 Brelvi; Nazir A Multidirectional in-line roller skate
US6070888A (en) 1998-08-07 2000-06-06 Wang; Chien-Shan Combination of a retractable handle device and a suitcase
US6134747A (en) 1999-02-10 2000-10-24 Xerox Corporation Ball caster with snap-in ball
TW425870U (en) * 1999-05-10 2001-03-11 Wang Ruei Fa Improved structure of wheel seat for suitcase
US6345414B1 (en) 2000-02-18 2002-02-12 Chieh-Chiung Chen Collapsible handle for a portable luggage
US20050060840A1 (en) 2000-03-03 2005-03-24 Polevoy Richard S. Caster system used with wooden or plastic legs for furniture
DE10033698C2 (de) 2000-07-12 2002-09-05 Mp Michael Pfeiffer Design & M Transportsystem für Gepäckstücke
US6357567B1 (en) 2000-12-07 2002-03-19 James Tsai Luggage
US6409388B1 (en) 2000-12-29 2002-06-25 Chuan Duo Lin Ball support having a cleaning structure
US20030038008A1 (en) 2001-08-27 2003-02-27 Han Angela W. Cart-separable traveling bag
US6938740B2 (en) 2001-12-11 2005-09-06 Cheryl M. Gandy Suitcase with stair roller and brake
US20030131444A1 (en) * 2002-01-04 2003-07-17 Minoru Koguchi Caster with ball
AU2003216666A1 (en) 2002-03-06 2003-09-16 Rubinfeld, Ben-Zion Spherical mobility mechanism
NO316760B1 (no) 2002-07-30 2004-04-26 Rolf Libakken Rulle-/fotanordning
AU2002950873A0 (en) 2002-08-20 2002-09-12 Robert Sellars A device for providing multi-directional movement
US20040074725A1 (en) 2002-10-16 2004-04-22 Zung-Hwei Shih Flight suitcase
CA2503366A1 (en) 2002-10-22 2004-05-06 Alexandr Fedorovich Nikulin Ball bearing
JP3793174B2 (ja) 2003-05-21 2006-07-05 株式会社スワニー キャスター付きの鞄
US7036641B2 (en) 2003-11-19 2006-05-02 Fashion Accessory Bazaar Llc Backpack with removable handle and wheel assembly
US7621858B2 (en) 2004-03-19 2009-11-24 Aileen Sheron Apparatus and method for exercise using an omnidirectional roller
DE102006004494A1 (de) 2005-02-02 2006-10-05 Bettina Heideck Transportbehälter, insbesondere Koffer
CN2889755Y (zh) * 2006-01-21 2007-04-18 白云山 滚球式万向轮
US20070215424A1 (en) 2006-02-28 2007-09-20 Mittleman Dawn H Portable carrier with non-skid features
US8118145B1 (en) 2006-06-09 2012-02-21 Regev Hamamy Convertible pushcart luggage
CN200977830Y (zh) * 2006-11-07 2007-11-21 郑政益 一种万向车轮
US20090218187A1 (en) 2007-02-08 2009-09-03 Kyong-Soo Chung Tilted Push-Pull Wheeled Luggage with a Removable Front Swingable Wheel with an Elongated Neck for the Removable Front Swingable Wheel
US20080308370A1 (en) 2007-06-14 2008-12-18 Kyong-Soo Chung Push-pull wheeled luggage with swingable rear wheels and at least one fixed front wheel
US20090293227A1 (en) 2008-06-03 2009-12-03 Leao Wang Universal-joint roller for an exercise apparatus
US8561769B2 (en) 2008-12-11 2013-10-22 Scott E. Andochick Stackable, towable luggage
CH701817A1 (de) 2009-08-31 2011-03-15 Alstom Technology Ltd Rollelement zum allseitigen Verfahren eines Fahrzeugs sowie Fahrzeug mit einem solchen Rollelement.
US8550965B2 (en) 2009-12-29 2013-10-08 Elizabeth A Candela Abdominal exercise device
US8662267B1 (en) 2010-02-04 2014-03-04 Cristyn Danielle Hart Luggage for transporting children
EP2676566A4 (en) 2011-02-18 2016-03-30 Highest Common Factory Co Ltd POCKET BAG AND STUFF FOR A POCKET HANDLE
US20120228074A1 (en) 2011-03-08 2012-09-13 Scott Osler Travel Master
US8943648B2 (en) 2011-04-21 2015-02-03 Techni, Llc Adjustable support device with multiple rolling elements
US20120261223A1 (en) 2011-04-18 2012-10-18 Dipen Pattni Roller ball luggage system
US8820497B1 (en) 2011-07-05 2014-09-02 Mike J. Goldsmith Sports bag with chair device
US8196944B1 (en) 2011-12-01 2012-06-12 Vondrak Kenneth S Maneuvering wheel for a wheel chair or similar apparatus
US20130175129A1 (en) 2012-01-09 2013-07-11 Travelpro International Inc. System for Attaching Bags
US8353808B1 (en) 2012-06-15 2013-01-15 Edwin Michael Barney Multi-directional rolling abdominal exercise device
US8684369B1 (en) 2012-09-24 2014-04-01 Harmony Sports Inc. Ball pick
US20140216875A1 (en) 2013-02-04 2014-08-07 Joao Frederico Abo-Gaux Cavalheiro Luggage assembly convertible to mobile closet
US20140216876A1 (en) 2013-02-04 2014-08-07 Joao Frederico Abo-Gaux Cavalheiro Luggage assembly convertible to mobile closet
US9468277B2 (en) 2013-02-25 2016-10-18 Samsonite Ip Holdings S.A.R.L. Retractable spinner wheels for a luggage case
GB2515508A (en) * 2013-06-25 2014-12-31 David Herd Arnott Thomson Container for luggage or goods
US9090126B1 (en) 2014-12-17 2015-07-28 Bobby Watcharasakunee Roller assembly
CN104972833A (zh) * 2015-07-21 2015-10-14 小米科技有限责任公司 万向轮组和行李箱

Patent Citations (2)

* Cited by examiner, † Cited by third party
Publication number Priority date Publication date Assignee Title
JP2012144251A (ja) 2011-01-12 2012-08-02 Tumi Inc ボール車輪
JP3184846U (ja) 2013-05-09 2013-07-18 株式会社ティーアンドエス バッグ類のキャスターロック装置

Also Published As

Publication number Publication date
EP3496955A1 (en) 2019-06-19
KR20190039175A (ko) 2019-04-10
CN109562640A (zh) 2019-04-02
JP2019529203A (ja) 2019-10-17
US9783001B1 (en) 2017-10-10
US20250178376A1 (en) 2025-06-05
CA3031755A1 (en) 2018-02-15
WO2018031648A1 (en) 2018-02-15
EP3496955B1 (en) 2021-06-16
EP3496955A4 (en) 2020-04-08

Similar Documents

Publication Publication Date Title
JP7021189B2 (ja) 物品移動システム、ボール車輪、ならびに関連する装置および方法
US20230226851A1 (en) Article movement systems, ball wheels and related apparatus and methods
JP2008526603A (ja) ハブ無しキャスタ
CN206171036U (zh) 一种具有制动结构的中控脚轮
JP6853930B2 (ja) 自在キャスター
CN104983157B (zh) 可收放轮子的旅行箱
KR101886644B1 (ko) 캐스터 휠 어셈블리
US20040173996A1 (en) Computer trolley
WO2012145329A2 (en) Food carrier
JP6839847B2 (ja) 全方向移動車輪及びこれを具えた全方向移動車両
WO2014013753A1 (ja) 自在キャスター
HUE032579T2 (en) Entertainment device with price and rotating seats
CN101659180A (zh) 行李箱轮
JP3200529U (ja) 制動可能な輪座
US10562344B1 (en) Roller assemblies for a holonomic base
US8061697B1 (en) Wheel with rotary shock absorber
US12090786B1 (en) Caster device
KR20210106732A (ko) 물건 운반용 카트
KR200474896Y1 (ko) 무진동, 무소음, 무충격 및 무독성 기능을 모두 구비한 캐스터
CN110980113B (zh) 一种具有减速功能的无动力下坡托辊式输送机
CN209869950U (zh) 一种防震脚轮
US20210037934A1 (en) Luggage wheel assembly
TWI590779B (zh) 旅行箱的中空腳輪組
JP6833192B2 (ja) 運搬台車
CN108081869A (zh) 一种活动脚轮

Legal Events

Date Code Title Description
A621 Written request for application examination

Free format text: JAPANESE INTERMEDIATE CODE: A621

Effective date: 20200710

A977 Report on retrieval

Free format text: JAPANESE INTERMEDIATE CODE: A971007

Effective date: 20210726

A131 Notification of reasons for refusal

Free format text: JAPANESE INTERMEDIATE CODE: A131

Effective date: 20210803

A601 Written request for extension of time

Free format text: JAPANESE INTERMEDIATE CODE: A601

Effective date: 20211102

A521 Request for written amendment filed

Free format text: JAPANESE INTERMEDIATE CODE: A523

Effective date: 20211115

TRDD Decision of grant or rejection written
A01 Written decision to grant a patent or to grant a registration (utility model)

Free format text: JAPANESE INTERMEDIATE CODE: A01

Effective date: 20220125

A61 First payment of annual fees (during grant procedure)

Free format text: JAPANESE INTERMEDIATE CODE: A61

Effective date: 20220203

R150 Certificate of patent or registration of utility model

Ref document number: 7021189

Country of ref document: JP

Free format text: JAPANESE INTERMEDIATE CODE: R150

R250 Receipt of annual fees

Free format text: JAPANESE INTERMEDIATE CODE: R250