JP7014040B2 - ワイヤハーネス - Google Patents

ワイヤハーネス Download PDF

Info

Publication number
JP7014040B2
JP7014040B2 JP2018091211A JP2018091211A JP7014040B2 JP 7014040 B2 JP7014040 B2 JP 7014040B2 JP 2018091211 A JP2018091211 A JP 2018091211A JP 2018091211 A JP2018091211 A JP 2018091211A JP 7014040 B2 JP7014040 B2 JP 7014040B2
Authority
JP
Japan
Prior art keywords
sheath
housing
lead
holder
wire harness
Prior art date
Legal status (The legal status is an assumption and is not a legal conclusion. Google has not performed a legal analysis and makes no representation as to the accuracy of the status listed.)
Active
Application number
JP2018091211A
Other languages
English (en)
Other versions
JP2019198182A (ja
Inventor
直也 豊島
一 前上
Current Assignee (The listed assignees may be inaccurate. Google has not performed a legal analysis and makes no representation or warranty as to the accuracy of the list.)
Proterial Ltd
Original Assignee
Hitachi Metals Ltd
Priority date (The priority date is an assumption and is not a legal conclusion. Google has not performed a legal analysis and makes no representation as to the accuracy of the date listed.)
Filing date
Publication date
Application filed by Hitachi Metals Ltd filed Critical Hitachi Metals Ltd
Priority to JP2018091211A priority Critical patent/JP7014040B2/ja
Priority to US16/391,442 priority patent/US10647271B2/en
Priority to CN201910341184.0A priority patent/CN110474283B/zh
Publication of JP2019198182A publication Critical patent/JP2019198182A/ja
Application granted granted Critical
Publication of JP7014040B2 publication Critical patent/JP7014040B2/ja
Active legal-status Critical Current
Anticipated expiration legal-status Critical

Links

Images

Classifications

    • BPERFORMING OPERATIONS; TRANSPORTING
    • B60VEHICLES IN GENERAL
    • B60RVEHICLES, VEHICLE FITTINGS, OR VEHICLE PARTS, NOT OTHERWISE PROVIDED FOR
    • B60R16/00Electric or fluid circuits specially adapted for vehicles and not otherwise provided for; Arrangement of elements of electric or fluid circuits specially adapted for vehicles and not otherwise provided for
    • B60R16/02Electric or fluid circuits specially adapted for vehicles and not otherwise provided for; Arrangement of elements of electric or fluid circuits specially adapted for vehicles and not otherwise provided for electric constitutive elements
    • B60R16/0207Wire harnesses
    • B60R16/0215Protecting, fastening and routing means therefor
    • HELECTRICITY
    • H01ELECTRIC ELEMENTS
    • H01BCABLES; CONDUCTORS; INSULATORS; SELECTION OF MATERIALS FOR THEIR CONDUCTIVE, INSULATING OR DIELECTRIC PROPERTIES
    • H01B7/00Insulated conductors or cables characterised by their form
    • H01B7/0045Cable-harnesses
    • HELECTRICITY
    • H01ELECTRIC ELEMENTS
    • H01BCABLES; CONDUCTORS; INSULATORS; SELECTION OF MATERIALS FOR THEIR CONDUCTIVE, INSULATING OR DIELECTRIC PROPERTIES
    • H01B7/00Insulated conductors or cables characterised by their form
    • H01B7/17Protection against damage caused by external factors, e.g. sheaths or armouring
    • H01B7/28Protection against damage caused by moisture, corrosion, chemical attack or weather
    • H01B7/282Preventing penetration of fluid, e.g. water or humidity, into conductor or cable
    • H01B7/2825Preventing penetration of fluid, e.g. water or humidity, into conductor or cable using a water impermeable sheath
    • HELECTRICITY
    • H01ELECTRIC ELEMENTS
    • H01RELECTRICALLY-CONDUCTIVE CONNECTIONS; STRUCTURAL ASSOCIATIONS OF A PLURALITY OF MUTUALLY-INSULATED ELECTRICAL CONNECTING ELEMENTS; COUPLING DEVICES; CURRENT COLLECTORS
    • H01R13/00Details of coupling devices of the kinds covered by groups H01R12/70 or H01R24/00 - H01R33/00
    • H01R13/46Bases; Cases
    • H01R13/52Dustproof, splashproof, drip-proof, waterproof, or flameproof cases
    • H01R13/5205Sealing means between cable and housing, e.g. grommet
    • HELECTRICITY
    • H01ELECTRIC ELEMENTS
    • H01RELECTRICALLY-CONDUCTIVE CONNECTIONS; STRUCTURAL ASSOCIATIONS OF A PLURALITY OF MUTUALLY-INSULATED ELECTRICAL CONNECTING ELEMENTS; COUPLING DEVICES; CURRENT COLLECTORS
    • H01R13/00Details of coupling devices of the kinds covered by groups H01R12/70 or H01R24/00 - H01R33/00
    • H01R13/46Bases; Cases
    • H01R13/52Dustproof, splashproof, drip-proof, waterproof, or flameproof cases
    • H01R13/5213Covers
    • HELECTRICITY
    • H02GENERATION; CONVERSION OR DISTRIBUTION OF ELECTRIC POWER
    • H02GINSTALLATION OF ELECTRIC CABLES OR LINES, OR OF COMBINED OPTICAL AND ELECTRIC CABLES OR LINES
    • H02G15/00Cable fittings
    • H02G15/013Sealing means for cable inlets
    • HELECTRICITY
    • H02GENERATION; CONVERSION OR DISTRIBUTION OF ELECTRIC POWER
    • H02GINSTALLATION OF ELECTRIC CABLES OR LINES, OR OF COMBINED OPTICAL AND ELECTRIC CABLES OR LINES
    • H02G3/00Installations of electric cables or lines or protective tubing therefor in or on buildings, equivalent structures or vehicles
    • H02G3/02Details
    • H02G3/04Protective tubing or conduits, e.g. cable ladders or cable troughs
    • H02G3/0406Details thereof
    • HELECTRICITY
    • H02GENERATION; CONVERSION OR DISTRIBUTION OF ELECTRIC POWER
    • H02GINSTALLATION OF ELECTRIC CABLES OR LINES, OR OF COMBINED OPTICAL AND ELECTRIC CABLES OR LINES
    • H02G3/00Installations of electric cables or lines or protective tubing therefor in or on buildings, equivalent structures or vehicles
    • H02G3/22Installations of cables or lines through walls, floors or ceilings, e.g. into buildings
    • HELECTRICITY
    • H02GENERATION; CONVERSION OR DISTRIBUTION OF ELECTRIC POWER
    • H02GINSTALLATION OF ELECTRIC CABLES OR LINES, OR OF COMBINED OPTICAL AND ELECTRIC CABLES OR LINES
    • H02G15/00Cable fittings
    • H02G15/02Cable terminations
    • H02G15/04Cable-end sealings
    • H02G15/043Cable-end sealings with end caps, e.g. sleeve closed at one end
    • H02G15/046Cable-end sealings with end caps, e.g. sleeve closed at one end with bores or protruding portions allowing passage of cable conductors
    • HELECTRICITY
    • H02GENERATION; CONVERSION OR DISTRIBUTION OF ELECTRIC POWER
    • H02GINSTALLATION OF ELECTRIC CABLES OR LINES, OR OF COMBINED OPTICAL AND ELECTRIC CABLES OR LINES
    • H02G3/00Installations of electric cables or lines or protective tubing therefor in or on buildings, equivalent structures or vehicles
    • H02G3/30Installations of cables or lines on walls, floors or ceilings
    • H02G3/32Installations of cables or lines on walls, floors or ceilings using mounting clamps

Landscapes

  • Engineering & Computer Science (AREA)
  • Architecture (AREA)
  • Civil Engineering (AREA)
  • Structural Engineering (AREA)
  • Mechanical Engineering (AREA)
  • Connector Housings Or Holding Contact Members (AREA)
  • Installation Of Indoor Wiring (AREA)
  • Insulated Conductors (AREA)
  • Details Of Indoor Wiring (AREA)

Description

本発明は、例えば車両において水沫等の液体が付着し得る部位に配策されるワイヤハーネスに関する。
従来、例えば車両の電動パーキングブレーキへの電流供給や信号伝送のために用いられるワイヤハーネスとして、特許文献1に記載のワイヤハーネスが知られている。
特許文献1に記載のワイヤハーネスは、シースの端末部から複数の電線が分岐して導出された構造を有し、このシースの端末部の周辺に合成樹脂製のハウジングが装着されている。ハウジング内には、円筒状のシース用ゴム栓及び電線用ゴム栓が配置され、これらのゴム栓によってシースと電線との隙間に水分が浸入することが抑止されている。また、ハウジングには、合成樹脂製のキャップが取り付けられ、このキャップによって電線用ゴム栓が抜け止めされている。
シース用ゴム栓は、ハウジングにおけるキャップとは反対側の端部に配置され、シースの外周面に弾性的に接触(弾接)する複数の内周リップと、ハウジングの内面に弾接する複数の外周リップと、ハウジングの端面に対向する環状のフランジとを有している。フランジは、シース用ゴム栓をハウジング内に押し込む際のストッパとして機能する。
特開2016-162584号公報
車両用のワイヤハーネスは、車両走行に伴って電線やシースが上下に振動する場合がある。特許文献1に記載のワイヤハーネスは、例えばハウジングが強い振動を受けると、ハウジングがシースから離脱したり、ハウジングがシースに対してずれたりして、防水性が低下する等のおそれがあった。
そこで、本発明は、振動を受けても防水性の低下が抑制されるワイヤハーネスを提供することを目的とする。
本発明は、上記課題を解決することを目的として、電線と前記電線の外周を覆うシースとを有し、前記電線が前記シースの端部から露出したケーブルと、前記シースの端部から露出している前記電線を収容するハウジングと、前記ハウジング内に配置されているシール部材と、前記シースの外周面に接触する内周面を有する筒状の弾性体からなるホルダと、を備え、前記ハウジングと前記ホルダとは、これら両部材のうち一方の部材に設けられた被係合部に他方の部材に設けられた係合部が係合し、当該係合によって前記ハウジングの前記ケーブルの長手方向への移動が規制されている、ワイヤハーネスを提供する。
本発明に係るワイヤハーネスによれば、振動を受けても防水性の低下が抑制され、例えばシースから浸入した水分によって悪影響が発生することを防ぐことが可能となる。
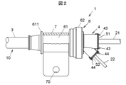
本発明の第1の実施の形態に係るワイヤハーネスを示す斜視図である。 固定部材の一部を破断して示すワイヤハーネスの側面図である。 (a)は、ワイヤハーネスの断面図であり、(b)は、(a)の要部拡大図である。 ワイヤハーネスのホルダを示す斜視図である。 ホルダの断面図である。 ハウジングの斜視図である。 一部を破断した断面で示すハウジングの側面図である。 本発明の第2の実施の形態に係るワイヤハーネスの要部を示す断面図である。
[第1の実施の形態]
図1は、本発明の第1の実施の形態に係るワイヤハーネスを示す斜視図である。図2は、固定部材の一部を破断して示すワイヤハーネスの側面図である。図3(a)は、ワイヤハーネスの断面図であり、図3(b)は、図3(a)の要部拡大図である。図4は、ワイヤハーネスのホルダを示す斜視図である。図5は、ホルダの断面図である。図6は、ハウジングの斜視図である。図7は、一部を破断した断面で示すハウジングの側面図である。
このワイヤハーネス1は、自動車の電動パーキングブレーキ装置や電動ブレーキ装置に用いられるものであり、より詳細には、自動車の各車輪に対応して設けられた電動パーキングブレーキ装置にその動作のための作動電流を供給すると共に、車輪の回転速度を計測するための回転速センサの信号(例えば、アンチロックブレーキシステム(ABS)に用いられる信号)を伝送するものである。
ワイヤハーネス1は、電動パーキングブレーキ装置に作動電流を供給する一対の電源線21,21及び回転速センサの信号を伝送する一対の信号線22,22と、一対の電源線21,21及び一対の信号線22,22の外周を覆うシース3とを有するケーブル10を備えている。また、ワイヤハーネス1は、シース3の端部から導出されてシース3の端部から露出している一対の電源線21,21及び一対の信号線22,22を収容するハウジング4と、ハウジング4内に配置されている第1乃至第3のシール部材51~53と、筒状の弾性体からなるホルダ6と、ケーブル10を固定対象(例えば、自動車の車体)に固定するための固定部材7とを備えている。すなわち、本実施の形態に係るワイヤハーネス1は、固定部材付きのワイヤハーネスである。本実施の形態において、ハウジング4は、一対の電源線21,21及び一対の信号線22,22が導出されるシース3の端部も収容している。
一対の電源線21,21は、それぞれが複数の金属素線が撚り合わされてなる金属導体線211を絶縁体212で被覆してなる絶縁電線である。一対の電源線21,21は、図略のコントローラから出力される電流を電動パーキングブレーキ装置に供給する。また、一対の信号線22,22は、それぞれが複数の金属素線が撚り合わされてなる金属導体線221を絶縁体222で被覆してなる絶縁電線である。一対の信号線22,22は、回転速センサから出力される信号を図略のコントローラに伝送する。電源線21の太さは、信号線22の太さよりも太い。また、電源線21の金属導体線211の太さは、信号線22の金属導体線221の太さよりも太い。一対の電源線21,21及び一対の信号線22,22は、本発明の複数の電線の一態様である。
シース3は、ケーブル10の長手方向の一部において、一対の電源線21,21及び一対の信号線22,22を一括して覆っており、シース3の端部から一対の電源線21,21及び一対の信号線22,22が露出している。シース3は、車体への配策時に柔軟に湾曲する屈曲性(可撓性)を有しており、本実施の形態では、シース3が熱可塑性ウレタンからなる。シース3の(ケーブル10の長手方向と直交する)断面における外形は、円形状である。
ハウジング4は、例えば合成樹脂からなるが、例えばアルミニウム合金等の金属によってハウジング4を形成してもよい。ハウジング4には、一対の電源線21,21及び一対の信号線22,22を収容したシース3が導入される導入孔40と、一対の電源線21,21が導出される第1の導出孔41と、一対の信号線22,22が導出される第2の導出孔42とが設けられている。
ハウジング4において、第1の導出孔41の電線導出方向と第2の導出孔42の電線導出方向とは異なっている。本実施の形態では、一対の電源線21,21の電線導出方向がシース3の導入方向と平行であり、一対の信号線22,22の電線導出方向は、一対の電源線21,21の電線導出方向に対して傾斜(交差)している。一対の信号線22,22は、この傾斜の角度に応じてハウジング4内で屈曲されている。そして、この電線導出方向の傾斜により、自動車のタイヤハウス内での一対の電源線21,21及び一対の信号線22,22の配索が容易化されている。
第1乃至第3のシール部材51~53は、ゴムからなり、ハウジング4の内部への水等の液体の浸入を抑止している。第1のシール部材51は、導入孔4に配置されてハウジング4とシース3との間に介在し、ハウジング4の内面及びシース3の外周面に弾性的に接触(弾接)している。第2のシール部材52は、第1の導出孔41に配置されてハウジング4と一対の電源線21,21との間に介在し、ハウジング4の内面及び一対の電源線21,21の外周面に弾接している。第3のシール部材53は、第2の導出孔42に配置されてハウジング4と一対の信号線22,22との間に介在し、ハウジング4の内面及び一対の信号線22,22の外周面に弾接している。
これらの第1乃至第3のシール部材51~53によって、ハウジング4とシース3の隙間、ハウジング4と一対の電源線21,21及び一対の信号線22,22との隙間を介してハウジング4内に水等が浸入してしまうことが抑止されている。第1のシール部材51は、本発明のシース用のシール部材の一態様であり、第2及び第3のシール部材52,53は、本発明の電線用のシール部材の一態様である。
ハウジング4には、第2のシール部材52を係止するための複数の係止突起43が設けられている。係止突起43は、軸状の軸部431と、軸部431よりも大径の係止部432とを有し、軸部431が第1の導出孔41の開口端面41aに立設されている。第2のシール部材52は、第1の導出孔41内に配置される本体部521と、第1の導出孔41の開口端面41aに対向するフランジ部522とを有し、フランジ部522に形成された貫通孔520に軸部431が挿通されて係止部432に係止されている。
また、ハウジング4には、第3のシール部材53を係止するための複数の係止突起44が設けられている。係止突起44は、軸状の軸部441と、軸部441よりも大径の係止部442とを有し、軸部441が第2の導出孔42の開口端面42aに立設されている。第3のシール部材53は、第2の導出孔42内に配置される本体部531と、第2の導出孔42の開口端面42aに対向するフランジ部532とを有し、フランジ部532に形成された貫通孔530に軸部441が挿通されて係止部442に係止されている。
ホルダ6は、シース3よりも柔らかい筒状のゴム等の弾性体からなり、本実施の形態ではホルダ6がエチレンプロピレンゴムからなる。ホルダ6の硬度はシース3の硬度よりも低く、ホルダ6のショアA硬度は例えば60であり、シース3の硬度は例えば80である。これにより、例えばケーブル10が振動しても、ホルダ6との摩擦等によってシース3に亀裂等の損傷が発生することが抑止される。
ホルダ6は、シース3の外周面に弾接する内周面を有する小径筒部61と、ハウジング4を収容しハウジング4の外周面に弾接する内周面を有する大径筒部62と、小径筒部61と大径筒部62との間の壁部63とを一体に有している。大径筒部62は、その内径及び外径が小径筒部61よりも大径であり、ハウジング4における導入孔40側の端部の外周に配置される。また、小径筒部61は、隙間を介して壁部63と軸方向に向かい合う環状の突壁611を有しており、突壁611よりも先端側(壁部63とは反対側)の外周面は先細りのテーパ面として形成されている。突壁611と壁部63との間における小径筒部61の外径は軸方向の全体にわたって均一である。小径筒部61の内周面の形状は、シース3の外形と合致させるべく、円形状となっている。
ハウジング4とホルダ6とは、これらの一方に設けられた被係合部と他方に設けられた係合部が係合し、ハウジング4のケーブル10の長手方向への移動が規制されている。本実施の形態では、ハウジング4における導入孔40側の端部の外周に係合部としての環状の係合突起45が設けられており、ホルダ6の大径筒部62の内周には、係合突起45が係合する被係合部としての環状の係合溝620が形成されている。
ハウジング4の係合突起45を係合溝620に係合させる際には、ホルダ6の大径筒部62を弾性変形により拡径させ、ハウジング4の端部を大径筒部62内に軸方向(ケーブル10の長手方向)に押し込む。大径筒部62の開口側の端部における内周面は、係合溝620から軸方向に離間するほど内径が大きくなる内周テーパ面62aとして形成されている。一方、ハウジング4の係合突起45の外周面は、ホルダ6の内周テーパ面62aに当接する外周テーパ面45aが形成されている。そして、ハウジング4の係合突起45を係合溝620に係合する際には、外周テーパ面45aが内周テーパ面62aに当接することにより大径筒部62が拡径する。
小径筒部61の内周面の径は、シース3に装着される前の自然状態において、シース3の外径よりも小径である。小径筒部61は、空気等により拡径されながら、シース3の外周に挿通される。挿通後には、小径筒部61は、拡径された状態から縮径されてシース3の外周面に弾接する。これにより、シース3には、小径筒部61からの締付け力が働く。このような締付け力が働くことにより、ホルダ6のケーブル10の長手方向への移動が規制される。そして、ケーブル10の長手方向への移動が規制されたホルダ6(大径筒部62)と、ハウジング4(係合突起45)と、が係合することにより、ハウジング4のケーブル10の長手方向への移動が規制されている。また、上記締付け力により、小径筒部61の内周面とシース3の外周面とが密着して防水性が高められる。すなわち、小径筒部61とシース3との間からハウジング4内へ水分が浸入することが抑制される。
固定部材7は、本実施の形態において、金属からなる固定金具である。固定部材7は、ホルダ6におけるシース3の外周側にあたる部位に加締め付けられており、より具体的には、突壁611と壁部63との間の小径筒部61の外周に加締め付けられている。本実施の形態では、固定部材7が矩形状の金属板を屈曲して形成されており、その一端部には車体等の取付対象への固定のためのボルトを挿通させるボルト挿通孔70が形成されている。なお、図3(a)及び(b)では、固定部材7の図示を省略している。なお、固定部材7は、プラスチック等の樹脂材料からなるものであってもよい。
固定部材7は、ボルト挿通孔70が形成された側の端部とは反対側の端部がホルダ6の小径筒部61に巻き付くように湾曲しており、小径筒部61をシース3側に締め付けている。これにより、小径筒部61の内周面とシース3の外周面とが密着して防水性がより高められると共に、ホルダ6のケーブル10に対する軸方向移動がより規制されている。
第1のシール部材51は、ハウジング4の導入孔40内に配置される本体部511と、本体部511から外方に突出し、ホルダ6の壁部63とハウジング4の導入孔40側の端部との間に挟まれるフランジ部512とを有している。ハウジング4の壁部63側への移動は、導入孔40の開口端面40aが第1のシール部51のフランジ部512に当接することにより規制される。また、ホルダ6の壁部63から離間する側へのケーブル10の長手方向に沿ったハウジング4の移動は、係合突起45と係合溝620との係合によって規制されている。
(第1の実施の形態の作用及び効果)
以上説明した本発明の第1の実施の形態によれば、ホルダ6の小径筒部61の内周面がシース3の外周面に弾接することにより、ホルダ6の内側を介してハウジング4内に水分が浸入することが抑止される。特に、本実施の形態では、ホルダ6の小径筒部61の外周側に固定部材7が加締め付けられているので、この固定部材7によってシース3の振動が抑制されると共に、小径筒部61がシース3側に締め付けられて防水性がより高められている。
また、本実施の形態では、ハウジング4の係合突起45とホルダ6の係合溝620との係合によってハウジング4のケーブル10の長手方向への移動が規制されているので、ハウジング4がケーブル10から離脱したり、ハウジング4がケーブル10に対してずれることにより発生する隙間からハウジング4内やシース3内に水分が浸入してしまうことが抑止される。これにより、シース3内を介して図略のコントローラ内に水分が浸入することを抑制できる。すなわち、本実施の形態では、振動を受けても防水性の低下が抑制されるワイヤハーネスの提供が可能となる。
なお、本実施の形態では、ハウジング4の導入孔40にシース3との間に介在する第1のシール部材51を配置した場合について説明したが、例えばホルダ6の大径筒部62がハウジング4に弾接することで十分な防水性が確保できる場合には、第1のシール部材51を省略してもよい。この場合には、ワイヤハーネス1を小型化できると共に、部品点数の削減により低コスト化を図ることが可能となる。
[第2の実施の形態]
次に、本発明の第2の実施の形態について、図8を参照して説明する。図8は、本発明の第2の実施の形態に係るワイヤハーネスの要部を示す断面図である。
第1の実施の形態では、ハウジング4に第1乃至第3のシール部材51~53が配置された場合について説明したが、本実施の形態では、これらが一体に形成された単一のシール部材8がハウジング内に配置されている。本実施の形態に係るワイヤハーネスは、このシール部材8の構成が異なる他は、図3等を参照して説明した第1の実施の形態と同様に構成されているので、図8において、第1の実施の形態において説明したものと共通する部材等については、図3等と同一の符号を付して重複した説明を省略する。
シール部材8は、ハウジング4の導入孔40に配置される第1シール部81と、第1の導出孔41に配置される第2シール部82と、第2の導出孔42に配置される第3シール部83と、これら各シール部81~83を連結する連結部80とを一体に有している。第1シール部81は、第1の実施の形態における第1のシール部材51に相当する。また、第2シール部82及び第3シール部83は、第1の実施の形態における第2のシール部材52及び第3のシール部材53にそれぞれ相当する。
シール部材8をハウジング4内に挿入する際には、予め一対の電源線21,21及び一対の信号線22,22をシール部材8に挿通させた状態で、シール部材8を弾性変形させて導入孔40から挿入する。
この第2の実施の形態によっても、第1の実施の形態と同様の作用及び効果が得られる。また、部品点数の削減により低コスト化を図ることが可能となる。
(実施の形態のまとめ)
次に、以上説明した実施の形態から把握される技術思想について、実施の形態における符号等を援用して記載する。ただし、以下の記載における各符号は、特許請求の範囲における構成要素を実施の形態に具体的に示した部材等に限定するものではない。
[1]電線(21,22)と前記電線(21,22)の外周を覆うシース(3)とを有し、前記電線(21,22)が前記シース(3)の端部から露出したケーブル(10)と、前記シース(3)の端部を同端部から露出している前記電線と共に収容するハウジング(4)と、前記ハウジング(4)内に配置されているシール部材(51~53/8)と、前記シース(3)の外周面に接触する内周面を有する筒状の弾性体からなるホルダ(6)と、を備え、前記ハウジング(4)と前記ホルダ(6)とは、これら両部材のうち一方の部材に設けられた被係合部(620)に他方の部材に設けられた係合部(45)が係合し、当該係合によって前記ハウジング(4)の前記ケーブルの長手方向への移動が規制されている、ワイヤハーネス(1)。
[2]前記シール部材(51~53)として、前記ハウジング(4)の内面及び前記電線(21,22)の外周面に弾接する電線用のシール部材(52,53)と、前記ハウジング(4)の内面及び前記シース(3)の外周面に弾接するシース用のシール部材(51)とを有する、上記[1]に記載のワイヤハーネス。
[3]前記シース(3)には、複数の前記電線(21,22)が収容され、前記ハウジング(4)は、これら複数の前記電線(21,22)のうち一部の前記電線(21)を導出させる第1の導出孔(41)及び他の一部の前記電線(22)を導出させる第2の導出孔(42)が設けられており、かつ前記第1の導出孔(41)の電線導出方向と第2の導出孔の電線導出方向(42)とが異なり、前記電線用のシール部材(52,53)が前記第1の導出孔(41)及び前記第2の導出孔(42)にそれぞれ配置されている、上記[2]に記載のワイヤハーネス(1)。
[4]前記電線用のシール部材(52,53)と前記信号線用のシール部材(51)とが一体に形成されている、上記[2]又は[3]に記載のワイヤハーネス(1)。
[5]前記ケーブル(10)を固定対象に固定するための固定金具(7)をさらに備え、前記固定金具(7)は、前記ホルダ(6)における前記シース(3)の外周側にあたる部位に加締め付けられている、上記[2]乃至[4]の何れか1つに記載のワイヤハーネス(1)。
[6]前記ホルダ(6)の硬度は、前記シース(3)の硬度よりも低い、上記[1]乃至[5]の何れか1つに記載のワイヤハーネス(1)。
[7]前記ホルダ(6)は、エチレンプロピレンゴムからなり、前記シース(3)は、熱可塑性ウレタンからなる、上記[6]に記載のワイヤハーネス(1)。
[8]前記ホルダ(6)は、その内周面が前記シース(3)の外周面に接触する小径筒部(61)と、前記小径筒部(61)よりも大径の大径筒部(62)とを有し、前記大径筒部(62)に前記被係合部(620)が設けられている、上記[1]乃至[7]の何れか1つに記載のワイヤハーネス(1)。
[9]前記ハウジング(4)には、その端部の外周に前記係合部としての係合突起(45)が設けられており、前記ホルダ(6)には、前記係合突起(45)が係合する環状の係合溝(620)が前記大径筒部(62)の内周に形成されている、上記[8]に記載のワイヤハーネス。
以上、本発明の実施の形態を説明したが、上記に記載した実施の形態は特許請求の範囲に係る発明を限定するものではない。また、実施の形態の中で説明した特徴の組合せの全てが発明の課題を解決するための手段に必須であるとは限らない点に留意すべきである。
1…ワイヤハーネス 10…ケーブル
21…電源線 22…信号線
3…シース 4…ハウジング
40…導入孔 41…第1の導出孔
42…第2の導出孔 45…係合突起(係合部)
51…第1のシール部材 52…第2のシール部材
53…第3のシール部材 6…ホルダ
61…小径筒部 62…大径筒部
620…係合溝(被係合部) 7…固定部材
70…ボルト挿通孔 8…シール部材

Claims (8)

  1. 電線と前記電線の外周を覆うシースとを有し、前記電線が前記シースの端部から露出したケーブルと、
    前記シースの端部から露出している前記電線を収容するハウジングと、
    前記ハウジング内に配置されているシール部材と、
    前記シースの外周面に接触する内周面を有する筒状の弾性体からなるホルダと、を備え、
    前記ハウジングと前記ホルダとは、これら両部材のうち一方の部材に設けられた被係合部に他方の部材に設けられた係合部が係合し、当該係合によって前記ハウジングの前記ケーブルの長手方向への移動が規制されており
    前記シール部材として、前記ハウジングの内面及び前記電線の外周面に弾接する電線用のシール部材を有し、
    前記シースには、複数の前記電線が収容され、
    前記ハウジングは、これら複数の前記電線のうち一部の前記電線を導出させる第1の導出孔及び他の一部の前記電線を導出させる第2の導出孔が設けられており、かつ前記第1の導出孔の電線導出方向と第2の導出孔の電線導出方向とが異なり、
    前記電線用のシール部材が前記第1の導出孔及び前記第2の導出孔にそれぞれ配置されている、
    ワイヤハーネス。
  2. 前記シール部材として、前記ハウジングの内面及び前記シースの外周面に弾接するシース用のシール部材を有する、
    請求項1に記載のワイヤハーネス。
  3. 前記電線用のシール部材と前記シース用のシール部材とが一体に形成されている、
    請求項2に記載のワイヤハーネス。
  4. 前記ケーブルを固定対象に固定するための固定金具をさらに備え、
    前記固定金具は、前記ホルダにおける前記シースの外周側にあたる部位に加締め付けられている、
    請求項1乃至の何れか1項に記載のワイヤハーネス。
  5. 前記ホルダの硬度は、前記シースの硬度よりも低い、
    請求項1乃至の何れか1項に記載のワイヤハーネス。
  6. 前記ホルダは、エチレンプロピレンゴムからなり、
    前記シースは、熱可塑性ウレタンからなる、
    請求項に記載のワイヤハーネス。
  7. 前記ホルダは、その内周面が前記シースの外周面に接触する小径筒部と、前記小径筒部よりも大径の大径筒部とを有し、前記大径筒部に前記被係合部が設けられている、
    請求項1乃至の何れか1項に記載のワイヤハーネス。
  8. 前記ハウジングには、その端部の外周に前記係合部としての係合突起が設けられており、
    前記ホルダには、前記係合突起が係合する環状の係合溝が前記大径筒部の内周に形成されている、
    請求項に記載のワイヤハーネス。
JP2018091211A 2018-05-10 2018-05-10 ワイヤハーネス Active JP7014040B2 (ja)

Priority Applications (3)

Application Number Priority Date Filing Date Title
JP2018091211A JP7014040B2 (ja) 2018-05-10 2018-05-10 ワイヤハーネス
US16/391,442 US10647271B2 (en) 2018-05-10 2019-04-23 Wire harness
CN201910341184.0A CN110474283B (zh) 2018-05-10 2019-04-25 线束

Applications Claiming Priority (1)

Application Number Priority Date Filing Date Title
JP2018091211A JP7014040B2 (ja) 2018-05-10 2018-05-10 ワイヤハーネス

Publications (2)

Publication Number Publication Date
JP2019198182A JP2019198182A (ja) 2019-11-14
JP7014040B2 true JP7014040B2 (ja) 2022-02-01

Family

ID=68463849

Family Applications (1)

Application Number Title Priority Date Filing Date
JP2018091211A Active JP7014040B2 (ja) 2018-05-10 2018-05-10 ワイヤハーネス

Country Status (3)

Country Link
US (1) US10647271B2 (ja)
JP (1) JP7014040B2 (ja)
CN (1) CN110474283B (ja)

Families Citing this family (6)

* Cited by examiner, † Cited by third party
Publication number Priority date Publication date Assignee Title
JP6439672B2 (ja) * 2015-12-22 2018-12-19 株式会社オートネットワーク技術研究所 ケーブルの保持構造
KR102874976B1 (ko) * 2020-02-25 2025-10-23 에이치엘만도 주식회사 자동차의 조향장치
US11685322B2 (en) * 2020-09-04 2023-06-27 Caterpillar Inc. Wiring harness assembly having 3-dimensional sleeve guide, and method of making same
AT17394U1 (de) * 2020-10-29 2022-03-15 Gebauer & Griller Kabelwerke Ges M B H Kabelanordnung mit gehäuse
JP2022099947A (ja) * 2020-12-23 2022-07-05 株式会社オートネットワーク技術研究所 配線モジュール及び弾性止水部材
USD1086072S1 (en) * 2023-01-13 2025-07-29 HarcoSemco, LLC Junction for a harness

Citations (5)

* Cited by examiner, † Cited by third party
Publication number Priority date Publication date Assignee Title
JP2009016150A (ja) 2007-07-04 2009-01-22 Yazaki Corp グロメットの防水構造、グロメット、コネクタ、ゴム栓
JP2013237428A (ja) 2012-04-20 2013-11-28 Hitachi Cable Ltd 複合ハーネス
JP2015050830A (ja) 2013-08-30 2015-03-16 株式会社フジクラ グロメット
JP2016091731A (ja) 2014-10-31 2016-05-23 住友電装株式会社 ハーネス
JP2016162584A (ja) 2015-03-02 2016-09-05 株式会社オートネットワーク技術研究所 多芯ケーブルのシール構造

Family Cites Families (20)

* Cited by examiner, † Cited by third party
Publication number Priority date Publication date Assignee Title
US3617614A (en) * 1970-01-14 1971-11-02 Wilsons Sons Inc William M Explosion-proof electrical connector and cable assembly
NL176013C (nl) 1977-09-19 1985-02-01 Kabel Metallwerke Ghh Eindstuk voor verdeling en afsluiting van een uit gebundelde afzonderlijke leidingen bestaande kabel.
US4625073A (en) 1985-03-11 1986-11-25 Raychem Corporation Cable having a branch-off region sealed with a branch-off article and method of making same
FI861602L (fi) 1985-04-18 1986-10-19 Treficable Pirelli Hoelje foer skydd av en elektrisk koppling mellan en flerpolig kabel och ett flertal sjaelvstaendiga ledare.
JP3691291B2 (ja) * 1999-06-28 2005-09-07 矢崎総業株式会社 防水コネクタ
US6466725B2 (en) 2000-11-29 2002-10-15 Corning Cable Systems Llc Apparatus and method for splitting optical fibers
JP4440223B2 (ja) 2006-02-15 2010-03-24 矢崎総業株式会社 コルゲートチューブの固定構造
US7635813B2 (en) 2007-09-10 2009-12-22 3M Innovative Properties Company Article and method for sealing fluid-containing cables
PT2355286T (pt) * 2010-01-29 2019-05-08 Tyco Electronics Raychem Bvba Dispositivo de impermeabilização e retenção de cabos
JP5751875B2 (ja) 2011-03-22 2015-07-22 矢崎総業株式会社 シールドコネクタ
JP5799739B2 (ja) 2011-10-14 2015-10-28 富士通株式会社 海中装置
JP5874977B2 (ja) 2012-09-18 2016-03-02 住友電装株式会社 グロメット及びグロメット付き取付部材
JP5817941B2 (ja) * 2012-12-28 2015-11-18 住友電装株式会社 車輪速センサ及びワイヤハーネス
DE202013006412U1 (de) * 2013-07-17 2014-10-22 Leoni Bordnetz-Systeme Gmbh Vorrichtung zur elektrischen Kontaktierung einer Abschirmung eines elektrischen Kabels
DE102014003976A1 (de) * 2014-03-20 2015-09-24 Man Truck & Bus Ag Verbindungsanordnung und entsprechendes Verfahren
JP5862709B2 (ja) * 2014-06-26 2016-02-16 株式会社オートネットワーク技術研究所 シール部材、及び多芯ケーブルのシール構造
US9252577B1 (en) 2014-10-24 2016-02-02 Bridgeport Fittings, Inc. Electrical transition fitting
CN107431344B (zh) 2015-03-26 2020-01-14 古河电气工业株式会社 护线环以及带护线环的线束
FR3057717B1 (fr) 2016-10-14 2018-11-23 Supergrid Institute Systeme sous-marin de raccordement electrique
JP6635308B2 (ja) 2016-11-15 2020-01-22 住友電装株式会社 防水部材

Patent Citations (5)

* Cited by examiner, † Cited by third party
Publication number Priority date Publication date Assignee Title
JP2009016150A (ja) 2007-07-04 2009-01-22 Yazaki Corp グロメットの防水構造、グロメット、コネクタ、ゴム栓
JP2013237428A (ja) 2012-04-20 2013-11-28 Hitachi Cable Ltd 複合ハーネス
JP2015050830A (ja) 2013-08-30 2015-03-16 株式会社フジクラ グロメット
JP2016091731A (ja) 2014-10-31 2016-05-23 住友電装株式会社 ハーネス
JP2016162584A (ja) 2015-03-02 2016-09-05 株式会社オートネットワーク技術研究所 多芯ケーブルのシール構造

Also Published As

Publication number Publication date
US10647271B2 (en) 2020-05-12
CN110474283B (zh) 2022-12-23
CN110474283A (zh) 2019-11-19
JP2019198182A (ja) 2019-11-14
US20190344732A1 (en) 2019-11-14

Similar Documents

Publication Publication Date Title
JP7014040B2 (ja) ワイヤハーネス
JP7017121B2 (ja) ワイヤハーネス
US10821919B2 (en) Cable harness with water sealing portion
US11312319B2 (en) Wire harness
US10867722B2 (en) Wire harness
US11101055B2 (en) Wiring member
JP7540570B2 (ja) ワイヤハーネス
JP7694272B2 (ja) ワイヤハーネス及びケーブルの防水構造
JP2020087786A (ja) ワイヤハーネス
JP2023021126A (ja) ワイヤハーネス
JP7327624B2 (ja) ワイヤハーネス
JP6673429B2 (ja) グロメットおよびワイヤハーネス
WO2021246162A1 (ja) 配線部材
US11888302B2 (en) Elastic attaching member and automotive wiring member with elastic attaching member
JP2008029074A (ja) 電気装置用ハウジングのシール構造

Legal Events

Date Code Title Description
A621 Written request for application examination

Free format text: JAPANESE INTERMEDIATE CODE: A621

Effective date: 20201204

A977 Report on retrieval

Free format text: JAPANESE INTERMEDIATE CODE: A971007

Effective date: 20210910

A131 Notification of reasons for refusal

Free format text: JAPANESE INTERMEDIATE CODE: A131

Effective date: 20211019

A521 Request for written amendment filed

Free format text: JAPANESE INTERMEDIATE CODE: A523

Effective date: 20211203

TRDD Decision of grant or rejection written
A01 Written decision to grant a patent or to grant a registration (utility model)

Free format text: JAPANESE INTERMEDIATE CODE: A01

Effective date: 20211221

A61 First payment of annual fees (during grant procedure)

Free format text: JAPANESE INTERMEDIATE CODE: A61

Effective date: 20220103

R150 Certificate of patent or registration of utility model

Ref document number: 7014040

Country of ref document: JP

Free format text: JAPANESE INTERMEDIATE CODE: R150

S531 Written request for registration of change of domicile

Free format text: JAPANESE INTERMEDIATE CODE: R313531

S533 Written request for registration of change of name

Free format text: JAPANESE INTERMEDIATE CODE: R313533

R350 Written notification of registration of transfer

Free format text: JAPANESE INTERMEDIATE CODE: R350