JP6996429B2 - 車載通信装置及び車載装置起動方法 - Google Patents

車載通信装置及び車載装置起動方法 Download PDF

Info

Publication number
JP6996429B2
JP6996429B2 JP2018110550A JP2018110550A JP6996429B2 JP 6996429 B2 JP6996429 B2 JP 6996429B2 JP 2018110550 A JP2018110550 A JP 2018110550A JP 2018110550 A JP2018110550 A JP 2018110550A JP 6996429 B2 JP6996429 B2 JP 6996429B2
Authority
JP
Japan
Prior art keywords
vehicle
processing unit
communication
initialization process
microcomputer
Prior art date
Legal status (The legal status is an assumption and is not a legal conclusion. Google has not performed a legal analysis and makes no representation as to the accuracy of the status listed.)
Active
Application number
JP2018110550A
Other languages
English (en)
Other versions
JP2019212230A (ja
Inventor
智貴 松尾
Current Assignee (The listed assignees may be inaccurate. Google has not performed a legal analysis and makes no representation or warranty as to the accuracy of the list.)
Sumitomo Wiring Systems Ltd
Original Assignee
Sumitomo Wiring Systems Ltd
Priority date (The priority date is an assumption and is not a legal conclusion. Google has not performed a legal analysis and makes no representation as to the accuracy of the date listed.)
Filing date
Publication date
Application filed by Sumitomo Wiring Systems Ltd filed Critical Sumitomo Wiring Systems Ltd
Priority to JP2018110550A priority Critical patent/JP6996429B2/ja
Priority to CN201980034140.1A priority patent/CN112154414A/zh
Priority to US16/973,121 priority patent/US11840181B2/en
Priority to PCT/JP2019/020911 priority patent/WO2019235285A1/ja
Publication of JP2019212230A publication Critical patent/JP2019212230A/ja
Application granted granted Critical
Publication of JP6996429B2 publication Critical patent/JP6996429B2/ja
Active legal-status Critical Current
Anticipated expiration legal-status Critical

Links

Images

Classifications

    • BPERFORMING OPERATIONS; TRANSPORTING
    • B60VEHICLES IN GENERAL
    • B60RVEHICLES, VEHICLE FITTINGS, OR VEHICLE PARTS, NOT OTHERWISE PROVIDED FOR
    • B60R16/00Electric or fluid circuits specially adapted for vehicles and not otherwise provided for; Arrangement of elements of electric or fluid circuits specially adapted for vehicles and not otherwise provided for
    • B60R16/02Electric or fluid circuits specially adapted for vehicles and not otherwise provided for; Arrangement of elements of electric or fluid circuits specially adapted for vehicles and not otherwise provided for electric constitutive elements
    • B60R16/023Electric or fluid circuits specially adapted for vehicles and not otherwise provided for; Arrangement of elements of electric or fluid circuits specially adapted for vehicles and not otherwise provided for electric constitutive elements for transmission of signals between vehicle parts or subsystems
    • B60R16/0231Circuits relating to the driving or the functioning of the vehicle
    • GPHYSICS
    • G06COMPUTING OR CALCULATING; COUNTING
    • G06FELECTRIC DIGITAL DATA PROCESSING
    • G06F9/00Arrangements for program control, e.g. control units
    • G06F9/06Arrangements for program control, e.g. control units using stored programs, i.e. using an internal store of processing equipment to receive or retain programs
    • G06F9/44Arrangements for executing specific programs
    • G06F9/4401Bootstrapping
    • G06F9/4405Initialisation of multiprocessor systems
    • BPERFORMING OPERATIONS; TRANSPORTING
    • B60VEHICLES IN GENERAL
    • B60RVEHICLES, VEHICLE FITTINGS, OR VEHICLE PARTS, NOT OTHERWISE PROVIDED FOR
    • B60R16/00Electric or fluid circuits specially adapted for vehicles and not otherwise provided for; Arrangement of elements of electric or fluid circuits specially adapted for vehicles and not otherwise provided for
    • B60R16/02Electric or fluid circuits specially adapted for vehicles and not otherwise provided for; Arrangement of elements of electric or fluid circuits specially adapted for vehicles and not otherwise provided for electric constitutive elements
    • B60R16/023Electric or fluid circuits specially adapted for vehicles and not otherwise provided for; Arrangement of elements of electric or fluid circuits specially adapted for vehicles and not otherwise provided for electric constitutive elements for transmission of signals between vehicle parts or subsystems
    • B60R16/027Electric or fluid circuits specially adapted for vehicles and not otherwise provided for; Arrangement of elements of electric or fluid circuits specially adapted for vehicles and not otherwise provided for electric constitutive elements for transmission of signals between vehicle parts or subsystems between relatively movable parts of the vehicle, e.g. between steering wheel and column
    • BPERFORMING OPERATIONS; TRANSPORTING
    • B60VEHICLES IN GENERAL
    • B60RVEHICLES, VEHICLE FITTINGS, OR VEHICLE PARTS, NOT OTHERWISE PROVIDED FOR
    • B60R16/00Electric or fluid circuits specially adapted for vehicles and not otherwise provided for; Arrangement of elements of electric or fluid circuits specially adapted for vehicles and not otherwise provided for
    • B60R16/02Electric or fluid circuits specially adapted for vehicles and not otherwise provided for; Arrangement of elements of electric or fluid circuits specially adapted for vehicles and not otherwise provided for electric constitutive elements
    • B60R16/023Electric or fluid circuits specially adapted for vehicles and not otherwise provided for; Arrangement of elements of electric or fluid circuits specially adapted for vehicles and not otherwise provided for electric constitutive elements for transmission of signals between vehicle parts or subsystems

Landscapes

  • Engineering & Computer Science (AREA)
  • Software Systems (AREA)
  • Mechanical Engineering (AREA)
  • Theoretical Computer Science (AREA)
  • Automation & Control Theory (AREA)
  • Computer Security & Cryptography (AREA)
  • Physics & Mathematics (AREA)
  • General Engineering & Computer Science (AREA)
  • General Physics & Mathematics (AREA)
  • Small-Scale Networks (AREA)
  • Stored Programmes (AREA)

Description

本発明は、車両に搭載された車載装置を起動する車載通信装置及び車載装置起動方法に関する。
従来、車両に搭載されたECU(Electronic Control Unit)及びゲートウェイ等の複数の装置は、CAN(Controller Area Network)又はイーサネット(登録商標)等の車内ネットワークを介して接続され、他の装置との通信により情報交換を行って、車両の制御などを協働して行っている。
特許文献1においては、一対の通信線を有する幹線と、この幹線に介装される終端抵抗を有する第1通信装置と、幹線から分岐する支線と、支線に接続された第2通信装置とを備える通信システムにおいて、リンギングの影響を低減することが期待できる回路構成が提案されている。
特開2015-053633号公報
近年、車両の高機能化に伴って、車両に搭載される各種の装置は高機能化している。装置の高機能化は、例えばプロセッサの大型化、メモリ容量の増大及びプログラムの複雑化等を伴う。これらの装置では起動後に初期化処理が行われるが、装置の高機能化に伴って起動から初期化処理の完了までの時間が長くなるという問題がある。特に、車両に搭載された複数の装置が順次的に起動される構成のシステムでは、装置単体での初期化処理完了までの時間が累積することによって、システム全体として起動から初期化処理の完了までに要する時間が著しく増大する。
本発明は、斯かる事情に鑑みてなされたものであって、その目的とするところは、システム全体として起動から初期化処理の完了までの時間を短縮することが期待できる車載通信装置及び車載装置起動方法を提供することにある。
本態様に係る車載通信装置は、起動により自身の初期化処理を行う第1処理部と、前記第1処理部よりも起動から初期化処理の完了までに要する時間が短い第2処理部と、通信線を介して他の車載装置が接続され、前記第1処理部及び前記第2処理部の制御に応じて前記他の車載装置との通信を行う通信部とを備え、前記第2処理部は、自身の初期化処理の完了後に、前記通信部を介して前記他の車載装置を起動する指示を送信前記第1処理部の初期化処理が失敗した場合に、前記通信部を介して前記他の車載装置に動作を停止する指示を送信する
本態様に係る車載装置起動方法は、通信線を介して他の車載装置が接続され、前記他の車載装置との通信を行う通信部とを備える車載通信装置が、前記他の車載装置を起動する車載装置起動方法であって、前記車載通信装置が、起動により自身の初期化処理を行う第1処理部と、前記第1処理部よりも起動から初期化処理の完了までに要する時間が短い第2処理部とを備え、前記第2処理部が、自身の初期化処理の完了後に、前記通信部を介して前記他の車載装置を起動する指示を送信前記第1処理部の初期化処理が失敗した場合に、前記通信部を介して前記他の車載装置に動作を停止する指示を送信する
なお、本願は、このような特徴的な処理部を備える車載通信装置として実現することができるだけでなく、かかる特徴的な処理をステップとする車載装置起動方法として実現したり、かかるステップをコンピュータに実行させるためのコンピュータプログラムとして実現したりすることができる。また、車載通信装置の一部又は全部を実現する半導体集積回路として実現したり、車載通信装置を含むその他の装置又はシステムとして実現したりすることができる。
上記によれば、システム全体として起動から初期化処理の完了までの時間を短縮することが期待できる。
本実施の形態に係る通信システムの構成を示すブロック図である。 本実施の形態に係るメインマイコンの構成を示すブロック図である。 本実施の形態に係るサブマイコンの構成を示すブロック図である。 本実施の形態に係る通信システムの各装置が行う起動時の処理を説明するためのタイミングチャートである。 本実施の形態に係るサブマイコンが行う処理の手順を示すフローチャートである。 変形例に係るサブマイコンが行う処理の手順を示すフローチャートである。
[本発明の実施の形態の説明]
最初に本発明の実施態様を列記して説明する。また、以下に記載する実施形態の少なくとも一部を任意に組み合わせてもよい。
(1)本態様に係る車載通信装置は、起動により自身の初期化処理を行う第1処理部と、前記第1処理部よりも起動から初期化処理の完了までに要する時間が短い第2処理部と、通信線を介して他の車載装置が接続され、前記第1処理部及び前記第2処理部の制御に応じて前記他の車載装置との通信を行う通信部とを備え、前記第2処理部は、自身の初期化処理の完了後に、前記通信部を介して前記他の車載装置を起動する指示を送信する。
本態様にあっては、車載通信装置が第1処理部及び第2処理部の2つの処理部を備える。第1処理部及び第2処理部は起動された後に初期化処理を開始し、初期化処理の完了後に通信などの処理を行うことができるが、第2処理部は第1処理部より起動から初期化処理の完了までに要する時間が短いものを用いる。第2処理部は、自身の初期化処理を完了した後、第1処理部の初期化処理が完了していなくても、他の車載装置に対して起動指示を送信する。これにより、第1処理部の初期化処理の完了を待つことなく他の車載装置へ起動指示を送信することができ、他の車載装置がより早いタイミングで初期化処理を開始し、完了することが可能となる。よって、システム全体として起動から初期化処理の完了までに要する時間を短縮することができる。
(2)前記第1処理部及び前記第2処理部は、操作受付に基づく起動指示が与えられた場合に初期化処理を共に開始することが好ましい。
本態様にあっては、ユーザの操作を受け付けたことに基づいて第1処理部及び第2処理部に起動の指示が与えられ、この起動指示に応じて第1処理部及び第2処理部が共に初期化処理を開始する。第1処理部の起動に対して遅滞なく第2処理部が起動して初期化処理を開始することにより、初期化処理に要する時間が短い第2処理部が確実に第1処理部より先に初期化処理を完了することができ、他の車載機器へ起動指示を送信することができる。
(3)前記第2処理部は、前記他の車載装置を起動する指示を送信した後、処理を停止することが好ましい。
本態様にあっては、第2処理部は他の車載装置へ起動指示を送信した後に処理を停止する。なお第2処理部が複数の車載装置へ起動指示を送信する必要がある場合には、複数の車載機器の全てに起動指示を送信した後で処理を停止すればよい。処理を停止することで、第2処理部による電力消費を低減できる。また第2処理部が起動指示の送信以外の処理を行わないことにより、第2処理部のハードウェア及びソフトウェアの規模を小さくすることができ、より第2処理部の初期化処理を短時間で完了することが可能となる。
(4)前記第2処理部は、前記第1処理部の初期化処理が失敗した場合に、前記通信部を介して前記他の車載装置に動作を停止する指示を送信することが好ましい。
本態様にあっては、先に初期化処理を終えた第2処理部は、第1処理部の初期化処理の正否を判定する。第1処理部の初期化処理が失敗した場合、第2処理部は起動指示を送信した他の車載装置に対して動作を停止する指示を送信する。これにより、第1処理部の初期化処理の完了前に起動した他の車載装置が、第1処理部の初期化処理が失敗したにもかかわらず動作し続けることを防止できる。
(5)本態様に係る車載装置起動方法は、通信線を介して他の車載装置が接続され、前記他の車載装置との通信を行う通信部とを備える車載通信装置が、前記他の車載装置を起動する車載装置起動方法であって、前記車載通信装置が、起動により自身の初期化処理を行う第1処理部と、前記第1処理部よりも起動から初期化処理の完了までに要する時間が短い第2処理部とを備え、前記第2処理部が、自身の初期化処理の完了後に、前記通信部を介して前記他の車載装置を起動する指示を送信する。
本態様にあっては、態様(1)と同様に、システム全体として起動から初期化処理の完了までに要する時間を短縮することができる。
[本発明の実施形態の詳細]
本発明の実施形態に係る車載通信装置の具体例を、以下に図面を参照しつつ説明する。なお、本発明はこれらの例示に限定されるものではなく、特許請求の範囲によって示され、特許請求の範囲と均等の意味及び範囲内でのすべての変更が含まれることが意図される。
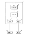
図1は、本実施の形態に係る通信システムの構成を示すブロック図である。本実施の形態に係る通信システムは、車両1に搭載されたゲートウェイ(車載通信装置)2に、ECU(他の車載装置)3,4がそれぞれ通信線を介して接続された構成である。ただし、車両1に搭載されるECUの数、通信線の数、及び、各通信線に接続されるECUの数等は、一例であって、これに限るものではない。
本実施の形態においてECU3は、ユーザの操作を受け付ける操作部3aを備えている。操作部3aは、例えばスイッチ、レバー又はタッチパネル等の入力デバイスを用いてユーザの操作を受け付ける。また、ECU4は種々の画像を表示する表示部4aを備えている。表示部4aは、例えば液晶ディスプレイを用いて構成される。本実施の形態に係る通信システムは、ECU3が操作部3aにてユーザの操作を受け付けて操作情報を含むメッセージをゲートウェイ2へ送信し、ゲートウェイ2がECU3から受信したメッセージをECU4へ送信し、このメッセージを受信したECU4が操作情報に応じた表示を表示部4aにて行う。本通信システムは、例えばユーザが車両1のイグニッションスイッチをオンする操作を行った場合に、車両1の運転席周辺に設けられた表示部4aに情報表示を行うシステムに適用できる。
ゲートウェイ2は、ECU3及びECU4の間のメッセージ送受信を中継する処理を行う。本実施の形態に係るゲートウェイ2は、メインマイコン(マイクロコントローラ)10、サブマイコン20及び通信IC(Integrated Circuit)30,40等を備えて構成されている。マイコンは、例えばプロセッサ、メモリ及び通信ユニット等が1つのICとして構成されたものであり、予め記憶したプログラムを実行することによって種々の演算処理及び制御処理等を行うことができる。本実施の形態に係るゲートウェイ2はメインマイコン(第1処理部)10及びサブマイコン(第2処理部)20の2つのマイコンを備えている。
通信IC(通信部)30,40は、ゲートウェイ2の回路内で用いられるデジタル信号と、通信線を介して送受信される信号とを相互に変換するICである。通信IC30,40は、メインマイコン10又はサブマイコン20からデジタル信号として与えられた送信メッセージを電気信号に変換して通信線へ出力する。また通信IC30,40は、通信線上の電気信号をサンプリングして取得し、デジタル信号として取得した受信メッセージをメインマイコン10及びサブマイコン20へ与える。メインマイコン10及びサブマイコン20は、共に通信IC30,40に接続されており、通信IC30,40を介してECU3,4との通信を行うことができる。
また本実施の形態に係るゲートウェイ2が備える2つのマイコンには、全く同じ2つのマイコンを用いるのではなく、構成が異なる2つのマイコンが用いられている。例えば、メインマイコン10が有するメモリの容量は、サブマイコン20のメモリの容量より多い。ただし、両マイコンのプロセッサの処理速度などの性能は同じであってもよい。メインマイコン10が実行するプログラムは、サブマイコン20が実行するプログラムと比較して、プログラムサイズが大きく、高機能且つ多機能である。
例えば車両1のイグニッションスイッチがオフ状態である場合、車両1に搭載されたゲートウェイ2及びECU3,4は電源オフ状態又はスタンバイ状態等の処理を行わない状態となる。その後、例えばイグニッションスイッチがオン状態に切り替えられるなどのタイミングで、ゲートウェイ2及びECU3,4は起動し、処理を開始する。本実施の形態においては、操作部3aに対するユーザの操作がなされた場合にECU3が起動し、初期化処理を完了したECU3がゲートウェイ2との通信を行うことでゲートウェイ2が起動し、更にゲートウェイ2がECU4との通信を行うことでECU4が起動する。即ち本通信システムでは、ECU3、ゲートウェイ2、ECU4の順に起動が行われる。
動作していない状態から起動されたマイコンは、自身が有するハードウェア資源の起動及び動作検証、レジスタなどの一時記憶の初期化、メモリからのプログラム及びデータの読み出し、又は、通信のセキュリティに関する設定処理等を初期化処理として実行する。本実施の形態において、メモリの容量が少なくプログラムサイズが小さいサブマイコン20は起動から初期化処理の完了までに要する時間が短く、メモリの容量が多くプログラムサイズが大きいメインマイコン10は起動から初期化処理の完了までに要する時間が長い。
本実施の形態に係るゲートウェイ2では、初期化処理を先に完了するサブマイコン20が、初期化処理を終えた後にECU4との通信を行うことでECU4を起動する。メインマイコン10が初期化処理を行っている間に、ECU4は並行して初期化処理を開始することができる。これにより、メインマイコン10がECU4を起動する場合と比較して、ECU4が初期化処理を完了するタイミングを早めることができる。
図2は、本実施の形態に係るメインマイコン10の構成を示すブロック図である。本実施の形態に係るゲートウェイ2のメインマイコン10は、プロセッサ11、メモリ12及び通信部13,14等を備えて構成されている。プロセッサ11は、メモリ12に記憶されたプログラムを読み出して実行することにより、種々の演算処理を行う演算処理装置である。メモリ12は、EEPROM(Electrically Erasable Programmable Read Only Memory)又はフラッシュメモリ等の不揮発性のメモリ素子を用いて構成され、プロセッサ11が実行する各種のプログラム及びこのプログラムを実行するために必要なデータ等を記憶する。
通信部13,14は、例えばCAN又はイーサネット等の通信規格に基づくメッセージの送受信を行う。通信部13,14は、ゲートウェイ2の回路基板上の配線を介して、通信IC30,40にそれぞれ接続されている。通信部13,14は、通信IC30,40及び通信線を介して、ECU3,4とそれぞれ通信を行うことができる。通信部13,14は、プロセッサ11から与えられたメッセージをデジタル信号として通信IC30,40へ出力し、これにより通信IC30,40からECU3,4へメッセージが送信される。また通信部13,14は、通信IC30,40から与えられるデジタル信号を取得することによりECU3,4からのメッセージを受信し、受信したメッセージをプロセッサ11へ与える。
図3は、本実施の形態に係るサブマイコン20の構成を示すブロック図である。本実施の形態に係るゲートウェイ2のサブマイコン20は、プロセッサ21、メモリ22及び通信部23,24等を備えて構成されている。プロセッサ21は、メモリ22に記憶されたプログラムを読み出して実行することにより、種々の演算処理を行う演算処理装置である。メモリ22は、EEPROM又はフラッシュメモリ等の不揮発性のメモリ素子を用いて構成され、プロセッサ21が実行する各種のプログラム及びこのプログラムを実行するために必要なデータ等を記憶する。
通信部23,24は、例えばCAN又はイーサネット等の通信規格に基づくメッセージの送受信を行う。通信部23,24は、ゲートウェイ2の回路基板上の配線を介して、通信IC30,40にそれぞれ接続されている。通信部23,24は、通信IC30,40及び通信線を介して、ECU3,4とそれぞれ通信を行うことができる。通信部23,24は、プロセッサ21から与えられたメッセージをデジタル信号として通信IC30,40へ出力し、これにより通信IC30,40からECU3,4へメッセージが送信される。また通信部23,24は、通信IC30,40から与えられるデジタル信号を取得することによりECU3,4からのメッセージを受信し、受信したメッセージをプロセッサ21へ与える。
図4は、本実施の形態に係る通信システムの各装置が行う起動時の処理を説明するためのタイミングチャートである。図示の例では、ECU3、ゲートウェイ2、ECU4の順で装置が起動される。例えばECU3は、操作部3aに対するユーザの操作を受け付けた場合に起動し、初期化処理を開始する。ECU3は、初期化処理の完了後に、ゲートウェイ2に対して起動指示を送信する。なおECU3からゲートウェイ2へ送信する起動指示は、どのようなメッセージの送信であってもよい。
ECU3からゲートウェイ2への起動指示は、ゲートウェイ2のメインマイコン10及びサブマイコン20の両方へ与えられる。この起動指示に応じてメインマイコン10及びサブマイコン20は共に起動し、初期化処理を開始する。ここで、メインマイコン10が起動から初期化処理の完了までに要する時間は、サブマイコン20が起動から初期化処理の完了までに要する時間より長いものとする。即ち、メインマイコン10の初期化処理に要する時間をT1とし、サブマイコン20の初期化処理に要する時間をT2とすると、時間T1>時間T2の関係が成立する。
時間T2で初期化処理を終えたサブマイコン20は、ECU4に対して起動指示を送信する。なおサブマイコン20からECU4へ送信する起動指示は、どのようなメッセージの送信であってもよい。ECU4は、どのようなメッセージであっても、ゲートウェイ2からのメッセージを受信することによって起動し、初期化処理を開始する。ここで、ECU4の初期化処理に要する時間をT3とする。ECU4の初期化処理は、ゲートウェイ2のメインマイコン10の初期化処理と並行して行われ得る。
時間T1で初期化処理を終えたメインマイコン10は、メッセージ中継などの通常処理を開始し、例えばECU4へのメッセージ送信などの通信処理を行う。このときにECU4の初期化処理が終了していなければ、メインマイコン10はECU4からの応答のメッセージは得られない。このような場合、メインマイコン10は、例えば所定時間の経過後にメッセージを再送信すればよい。
図示の例において、ECU3がゲートウェイ2へ起動指示を与えてからECU4の初期化処理が完了するまでの時間は(T2+T3)である。もし、サブマイコン20がECU4への起動指示を行わない構成であれば、メインマイコン10が初期化処理の完了後に送信するメッセージによりECU4が起動し、ECU4の初期化処理が開始されることとなる。この場合、ECU3がゲートウェイ2へ起動指示を与えてからECU4の初期化処理が完了するまでの時間は(T1+T3)であり、時間(T1+T3)>時間(T2+T3)の関係が成立する。即ち、サブマイコン20がECU4への起動指示を与える構成とすることにより、通信システム全体として初期化処理が完了するまでの時間を短縮することができる。
図5は、本実施の形態に係るサブマイコン20が行う処理の手順を示すフローチャートである。本実施の形態に係るサブマイコン20のプロセッサ21は、通信部23にてECU3からの起動指示を受信したか否かを判定する(ステップS1)。起動指示を受信していない場合(S1:NO)、プロセッサ21は、起動指示を受信するまで待機する。起動指示を受信した場合(S1:YES)、プロセッサ21は、初期化処理を開始する(ステップS2)。
その後、プロセッサ21は、初期化処理が終了したか否かを判定する(ステップS3)。初期化処理が終了していない場合(S3:NO)、プロセッサ21は、初期化処理を継続して行う。初期化処理が終了した場合(S3:YES)、プロセッサ21は、通信部24を介してECU4に対する起動指示を送信する(ステップS4)。必要な起動指示を送信し終えた後、プロセッサ21は処理を停止し(ステップS5)、処理を終える。
以上の構成の本実施の形態に係るゲートウェイ2は、メインマイコン10及びサブマイコン20の2つのマイコンを備える。メインマイコン10及びサブマイコン20は、起動された後に初期化処理を開始し、初期化処理の完了後に通信などの処理を行うことができる。サブマイコン20は、メインマイコン10よりも起動から初期化処理の完了までに要する時間が短いものを用いる。サブマイコン20は、自身の初期化処理を完了した後、メインマイコン10の初期化処理が完了していなくても、ECU4に対して起動指示を送信する。これにより、メインマイコン10の初期化処理の完了を待つことなくゲートウェイ2はECU4へ起動指示を送信することができる。ECU4はより早いタイミングで初期化処理を開始することができ、より早いタイミングで初期化処理を完了することができる。よって、通信システム全体として、起動から初期化完了までに要する時間を短縮することができる。
また本実施の形態に係る通信システムでは、操作部3aに対するユーザの操作を受け付けたことによりECU3がゲートウェイ2のメインマイコン10及びサブマイコン20へ起動指示を与え、この起動指示に応じてメインマイコン10及びサブマイコン20が共に初期化処理を開始する。メインマイコン10の起動に対して遅滞なくサブマイコン20が起動して初期化処理を開始することにより、初期化処理に要する時間が短いサブマイコン20が確実にメインマイコン10より先に初期化処理を完了することができ、ECU4への起動指示を送信することができる。
また本実施の形態に係るサブマイコン20は、ECU4への起動指示を送信した後に処理を停止する。サブマイコン20が処理を停止することで、サブマイコン20による電力消費を低減でき、ゲートウェイ2の電力消費を低減することができる。またサブマイコン20が起動指示の送信以外の処理を行わないことにより、サブマイコン20のハードウェア及びソフトウェアの規模を小さくすることができ、サブマイコン20の初期化処理をより短時間で完了させることが可能となる。
なお本実施の形態においては、ゲートウェイ2及びECU3,4が車両1に搭載されるものとしたが、これに限るものではなく、本技術は車載以外の通信装置にも適用可能である。ゲートウェイ2が備える処理部をマイコンとしたが、これに限るものではなく、マイコン以外の種々の処理部であってよい。またゲートウェイ2及びECU3,4を含む通信システムがECU3の操作部3aに対するユーザの操作に応じて起動する構成としたが、これに限るものではなく、ユーザ操作以外の要因で通信システムが起動する構成であってよい。操作部3aは車両1のイグニッションスイッチに限らず、その他の種々のスイッチ又はレバー等であってよい。またサブマイコン20は、メインマイコン10と比較して例えばメモリ容量が少ないなど規模の小さいマイコンを用いる構成としたが、これに限るものではなく、メインマイコン10及びサブマイコン20を同構成のマイコンとし、サブマイコン20が実行するプログラムサイズがメインマイコン10のプログラムサイズより小さい構成としてもよい。またサブマイコン20は、ECU4への起動指示を送信した後に処理を停止する構成としたが、これに限るものではなく、起動指示の送信後に他の処理を行ってもよい。
(変形例)
変形例に係るゲートウェイ2のサブマイコン20は、初期化処理を完了してECU4への起動指示を送信した後に処理を停止せず、メインマイコン10の初期化処理が異常なく完了したか否かを監視する処理を行う。変形例に係るサブマイコン20は、例えばメインマイコン10及び通信IC30,40の間で授受される情報を監視し、メインマイコン10が初期化処理の完了後にECU4へ送信すべきメッセージが正常に送信されたかを判定する。このメッセージが正常に送信された場合、サブマイコン20はメインマイコン10の初期化処理が正常に完了したと判断する。メインマイコン10の初期化処理が完了したと判断した場合、サブマイコン20は、処理を終了してよい。
これに対して、例えば初期化処理に要する時間T1又はこれより大きな時間が経過してもメインマイコン10からECU4へのメッセージが送信されない場合、サブマイコン20はメインマイコン10が初期化処理に失敗したと判断する。メインマイコン10の初期化処理が失敗した場合、サブマイコン20は、起動指示を与えたECU4に対して、処理を停止する指示を与える。これにより、ゲートウェイ2のメインマイコン10が本来の処理を行うことができない状況で、ECU4が処理を行うことを防止できる。
図6は、変形例に係るサブマイコン20が行う処理の手順を示すフローチャートである。変形例に係るサブマイコン20のプロセッサ21は、通信部23を介してECU3からの起動指示を受信したか否かを判定する(ステップS11)。起動指示を受信していない場合(S11:NO)、プロセッサ21は、起動指示を受信するまで待機する。起動指示を受信した場合(S11:YES)、プロセッサ21は、初期化処理を開始する(ステップS12)。
その後、プロセッサ21は、初期化処理が終了したか否かを判定する(ステップS13)。初期化処理が終了していない場合(S13:NO)、プロセッサ21は、初期化処理を継続して行う。初期化処理が終了した場合(S13:YES)、プロセッサ21は、通信部24を介してECU4に対する起動指示を送信する(ステップS14)。
必要な起動指示を送信し終えた後、プロセッサ21は、メインマイコン10がECU4へ送信すべきメッセージが送信されたか否かを監視することによって、メインマイコン10の初期化処理が失敗したか否かを判定する(ステップS15)。メインマイコン10の初期化処理が失敗していない場合(S15:NO)、即ちメインマイコン10の初期化処理を完了した場合、サブマイコン20は処理を停止し(ステップS16)、処理を終える。メインマイコン10の初期化処理が失敗した場合(S15:YES)、サブマイコン20は、通信部24を介してECU4に対する停止指示を送信し(ステップS17)、処理を終了する。
以上の構成の本変形例に係るゲートウェイ2は、先に初期化処理を終えたサブマイコン20がメインマイコン10の初期化処理の正否を判定する。メインマイコン10の初期化処理が失敗した場合、サブマイコン20は起動指示を送信したECU4に対して動作を停止する指示を送信する。これにより、メインマイコン10の初期化処理の完了前に起動したECU4が、メインマイコン10の初期化処理が失敗したにもかかわらず動作し続けることを防止できる。
なお本変形例では、メインマイコン10がECU4へのメッセージ送信を行ったか否かに応じて、サブマイコン20がメインマイコン10の初期化処理の正否を判定する構成としたが、これに限るものではない。例えば、メインマイコン10がサブマイコン20に対して初期化処理の完了を通知する信号を直接的に出力する構成とし、この通知の有無に応じてサブマイコン20がメインマイコン10の初期化処理の正否を判定してもよい。また例えば、メインマイコン10及びサブマイコン20が直接的に通信を行う構成とし、サブマイコン20がメインマイコン10に初期化処理が完了したか否かを問い合わせ、この問い合わせに対する応答に基づいてサブマイコン20がメインマイコン10の初期化処理の正否を判定してもよい。
今回開示された実施形態はすべての点で例示であって、制限的なものではないと考えられるべきである。本発明の範囲は、上記した意味ではなく、特許請求の範囲によって示され、特許請求の範囲と均等の意味及び範囲内でのすべての変更が含まれることが意図される。
1 車両
2 ゲートウェイ(車載通信装置)
3 ECU
3a 操作部
4 ECU(他の車載装置)
4a 表示部
10 メインマイコン(第1処理部)
11 プロセッサ
12 メモリ
13,14 通信部
20 サブマイコン(第2処理部)
21 プロセッサ
22 メモリ
23,24 通信部
30,40 通信IC(通信部)

Claims (4)

  1. 起動により自身の初期化処理を行う第1処理部と、
    前記第1処理部よりも起動から初期化処理の完了までに要する時間が短い第2処理部と、
    通信線を介して他の車載装置が接続され、前記第1処理部及び前記第2処理部の制御に応じて前記他の車載装置との通信を行う通信部と
    を備え、
    前記第2処理部は、
    自身の初期化処理の完了後に、前記通信部を介して前記他の車載装置を起動する指示を送信
    前記第1処理部の初期化処理が失敗した場合に、前記通信部を介して前記他の車載装置に動作を停止する指示を送信する、
    車載通信装置。
  2. 前記第1処理部及び前記第2処理部は、操作受付に基づく起動指示が与えられた場合に初期化処理を共に開始する、請求項1に記載の車載通信装置。
  3. 前記第2処理部は、前記他の車載装置を起動する指示を送信した後、処理を停止する、請求項1又は請求項2に記載の車載通信装置。
  4. 通信線を介して他の車載装置が接続され、前記他の車載装置との通信を行う通信部とを備える車載通信装置が、前記他の車載装置を起動する車載装置起動方法であって、
    前記車載通信装置が、起動により自身の初期化処理を行う第1処理部と、前記第1処理部よりも起動から初期化処理の完了までに要する時間が短い第2処理部とを備え、
    前記第2処理部が、
    自身の初期化処理の完了後に、前記通信部を介して前記他の車載装置を起動する指示を送信
    前記第1処理部の初期化処理が失敗した場合に、前記通信部を介して前記他の車載装置に動作を停止する指示を送信する、
    車載装置起動方法。
JP2018110550A 2018-06-08 2018-06-08 車載通信装置及び車載装置起動方法 Active JP6996429B2 (ja)

Priority Applications (4)

Application Number Priority Date Filing Date Title
JP2018110550A JP6996429B2 (ja) 2018-06-08 2018-06-08 車載通信装置及び車載装置起動方法
CN201980034140.1A CN112154414A (zh) 2018-06-08 2019-05-27 车载通信装置及车载装置启动方法
US16/973,121 US11840181B2 (en) 2018-06-08 2019-05-27 In-vehicle communication device and method for starting up in-vehicle device
PCT/JP2019/020911 WO2019235285A1 (ja) 2018-06-08 2019-05-27 車載通信装置及び車載装置起動方法

Applications Claiming Priority (1)

Application Number Priority Date Filing Date Title
JP2018110550A JP6996429B2 (ja) 2018-06-08 2018-06-08 車載通信装置及び車載装置起動方法

Publications (2)

Publication Number Publication Date
JP2019212230A JP2019212230A (ja) 2019-12-12
JP6996429B2 true JP6996429B2 (ja) 2022-01-17

Family

ID=68769481

Family Applications (1)

Application Number Title Priority Date Filing Date
JP2018110550A Active JP6996429B2 (ja) 2018-06-08 2018-06-08 車載通信装置及び車載装置起動方法

Country Status (4)

Country Link
US (1) US11840181B2 (ja)
JP (1) JP6996429B2 (ja)
CN (1) CN112154414A (ja)
WO (1) WO2019235285A1 (ja)

Families Citing this family (4)

* Cited by examiner, † Cited by third party
Publication number Priority date Publication date Assignee Title
JP7388035B2 (ja) * 2019-07-31 2023-11-29 マツダ株式会社 車両制御システム及び車両制御システムの設計方法
CN116710328A (zh) 2021-01-27 2023-09-05 株式会社自动网络技术研究所 车载装置和中继方法
EP4353538A1 (en) * 2022-10-10 2024-04-17 Aptiv Technologies Limited A control system for a vehicle and method of implementing same
CN116176461B (zh) * 2023-04-28 2023-08-11 亿咖通(湖北)技术有限公司 车载仪表界面的显示方法、系统、电子设备和存储介质

Citations (4)

* Cited by examiner, † Cited by third party
Publication number Priority date Publication date Assignee Title
US20080077786A1 (en) 2006-09-27 2008-03-27 Pierce James R Rapid-boot computing device with dual operating systems
JP2008287317A (ja) 2007-05-15 2008-11-27 Alpine Electronics Inc 情報処理装置およびシステム起動方法
JP2009258986A (ja) 2008-04-16 2009-11-05 Fujitsu Ten Ltd コンテンツ再生装置、及び電子機器
JP2016179801A (ja) 2015-03-25 2016-10-13 株式会社デンソー 車載システム

Family Cites Families (6)

* Cited by examiner, † Cited by third party
Publication number Priority date Publication date Assignee Title
JP4266358B2 (ja) * 2004-04-12 2009-05-20 三菱電機株式会社 車載電子制御装置
JP5032866B2 (ja) * 2007-03-15 2012-09-26 株式会社オートネットワーク技術研究所 電子制御ユニット
JP2015053633A (ja) 2013-09-09 2015-03-19 株式会社オートネットワーク技術研究所 通信システム
KR101490409B1 (ko) * 2014-02-13 2015-02-05 현대자동차주식회사 차량용 이더넷을 위한 제어기 및 그 제어방법
JP6515915B2 (ja) * 2016-12-26 2019-05-22 トヨタ自動車株式会社 車載ネットワークシステム
US11163303B2 (en) * 2018-02-13 2021-11-02 Nvidia Corporation Sharing sensor data between multiple controllers to support vehicle operations

Patent Citations (4)

* Cited by examiner, † Cited by third party
Publication number Priority date Publication date Assignee Title
US20080077786A1 (en) 2006-09-27 2008-03-27 Pierce James R Rapid-boot computing device with dual operating systems
JP2008287317A (ja) 2007-05-15 2008-11-27 Alpine Electronics Inc 情報処理装置およびシステム起動方法
JP2009258986A (ja) 2008-04-16 2009-11-05 Fujitsu Ten Ltd コンテンツ再生装置、及び電子機器
JP2016179801A (ja) 2015-03-25 2016-10-13 株式会社デンソー 車載システム

Also Published As

Publication number Publication date
US20210253045A1 (en) 2021-08-19
WO2019235285A1 (ja) 2019-12-12
US11840181B2 (en) 2023-12-12
JP2019212230A (ja) 2019-12-12
CN112154414A (zh) 2020-12-29

Similar Documents

Publication Publication Date Title
JP6996429B2 (ja) 車載通信装置及び車載装置起動方法
CN108427609B (zh) 控制器和控制程序更新方法
JP7133022B2 (ja) 車載通信装置及び車載システム
WO2019187535A1 (ja) 制御装置、制御方法、およびコンピュータプログラム
US11650794B2 (en) Electronic control apparatus
KR102109125B1 (ko) Autosar 기반 차량 ecu 상태 관리 방법
US10296322B2 (en) Controller and control program updating method
JP4013592B2 (ja) 車両通信システム
JP3633406B2 (ja) Eeprom書込装置
US5321830A (en) Reset method when adaptor module is faulty and computer system executing same
KR101744998B1 (ko) 리프로그래밍 제어모듈 및 이를 이용한 리프로그래밍 시스템 및 방법
CN115668872B (zh) 车载装置、车载通信系统和通信控制方法
CN116633780B (zh) 车辆的网关升级方法、装置、车辆及存储介质
CN113824620A (zh) 一种分区切换方法、装置、车辆和存储介质
US20250132979A1 (en) Communication control device, vehicle, communication control method, and communication control program
US20250158887A1 (en) Communication control device, vehicle, communication control method, and communication control program
JP6573052B1 (ja) 制御装置、制御方法、およびコンピュータプログラム
JP2009288953A (ja) 電子制御装置
JP5128194B2 (ja) 中継接続ユニット
JP3452187B2 (ja) 故障診断装置の通信初期化方法
CN118805364A (zh) 通信控制装置、车辆、通信控制方法以及通信控制程序
CN118285088A (zh) 车载装置、连接切换方法和连接切换程序
CN105677376A (zh) 引导程序传输方法、嵌入式系统及引导程序传输系统
JPH1021202A (ja) 二重系コンピュータのネットワーク接続方式
WO2006130000A1 (en) Integrated interface circuit for communication between a micro-controller and data networks using different network protocols

Legal Events

Date Code Title Description
A621 Written request for application examination

Free format text: JAPANESE INTERMEDIATE CODE: A621

Effective date: 20200930

A131 Notification of reasons for refusal

Free format text: JAPANESE INTERMEDIATE CODE: A131

Effective date: 20210921

A521 Request for written amendment filed

Free format text: JAPANESE INTERMEDIATE CODE: A523

Effective date: 20211029

TRDD Decision of grant or rejection written
A01 Written decision to grant a patent or to grant a registration (utility model)

Free format text: JAPANESE INTERMEDIATE CODE: A01

Effective date: 20211116

A61 First payment of annual fees (during grant procedure)

Free format text: JAPANESE INTERMEDIATE CODE: A61

Effective date: 20211129

R150 Certificate of patent or registration of utility model

Ref document number: 6996429

Country of ref document: JP

Free format text: JAPANESE INTERMEDIATE CODE: R150

R250 Receipt of annual fees

Free format text: JAPANESE INTERMEDIATE CODE: R250

R250 Receipt of annual fees

Free format text: JAPANESE INTERMEDIATE CODE: R250