JP6934603B2 - 冷蔵庫および冷却システム - Google Patents

冷蔵庫および冷却システム Download PDF

Info

Publication number
JP6934603B2
JP6934603B2 JP2018511986A JP2018511986A JP6934603B2 JP 6934603 B2 JP6934603 B2 JP 6934603B2 JP 2018511986 A JP2018511986 A JP 2018511986A JP 2018511986 A JP2018511986 A JP 2018511986A JP 6934603 B2 JP6934603 B2 JP 6934603B2
Authority
JP
Japan
Prior art keywords
evaporator
compressor
flow path
dew
bypass
Prior art date
Legal status (The legal status is an assumption and is not a legal conclusion. Google has not performed a legal analysis and makes no representation as to the accuracy of the status listed.)
Active
Application number
JP2018511986A
Other languages
English (en)
Other versions
JPWO2017179500A1 (ja
Inventor
境 寿和
寿和 境
克則 堀井
克則 堀井
堀尾 好正
好正 堀尾
文宣 高見
文宣 高見
Current Assignee (The listed assignees may be inaccurate. Google has not performed a legal analysis and makes no representation or warranty as to the accuracy of the list.)
Panasonic Intellectual Property Management Co Ltd
Original Assignee
Panasonic Intellectual Property Management Co Ltd
Priority date (The priority date is an assumption and is not a legal conclusion. Google has not performed a legal analysis and makes no representation as to the accuracy of the date listed.)
Filing date
Publication date
Application filed by Panasonic Intellectual Property Management Co Ltd filed Critical Panasonic Intellectual Property Management Co Ltd
Publication of JPWO2017179500A1 publication Critical patent/JPWO2017179500A1/ja
Application granted granted Critical
Publication of JP6934603B2 publication Critical patent/JP6934603B2/ja
Active legal-status Critical Current
Anticipated expiration legal-status Critical

Links

Images

Classifications

    • FMECHANICAL ENGINEERING; LIGHTING; HEATING; WEAPONS; BLASTING
    • F25REFRIGERATION OR COOLING; COMBINED HEATING AND REFRIGERATION SYSTEMS; HEAT PUMP SYSTEMS; MANUFACTURE OR STORAGE OF ICE; LIQUEFACTION SOLIDIFICATION OF GASES
    • F25BREFRIGERATION MACHINES, PLANTS OR SYSTEMS; COMBINED HEATING AND REFRIGERATION SYSTEMS; HEAT PUMP SYSTEMS
    • F25B47/00Arrangements for preventing or removing deposits or corrosion, not provided for in another subclass
    • F25B47/02Defrosting cycles
    • FMECHANICAL ENGINEERING; LIGHTING; HEATING; WEAPONS; BLASTING
    • F25REFRIGERATION OR COOLING; COMBINED HEATING AND REFRIGERATION SYSTEMS; HEAT PUMP SYSTEMS; MANUFACTURE OR STORAGE OF ICE; LIQUEFACTION SOLIDIFICATION OF GASES
    • F25DREFRIGERATORS; COLD ROOMS; ICE-BOXES; COOLING OR FREEZING APPARATUS NOT OTHERWISE PROVIDED FOR
    • F25D11/00Self-contained movable devices, e.g. domestic refrigerators
    • FMECHANICAL ENGINEERING; LIGHTING; HEATING; WEAPONS; BLASTING
    • F25REFRIGERATION OR COOLING; COMBINED HEATING AND REFRIGERATION SYSTEMS; HEAT PUMP SYSTEMS; MANUFACTURE OR STORAGE OF ICE; LIQUEFACTION SOLIDIFICATION OF GASES
    • F25DREFRIGERATORS; COLD ROOMS; ICE-BOXES; COOLING OR FREEZING APPARATUS NOT OTHERWISE PROVIDED FOR
    • F25D21/00Defrosting; Preventing frosting; Removing condensed or defrost water
    • F25D21/04Preventing the formation of frost or condensate
    • FMECHANICAL ENGINEERING; LIGHTING; HEATING; WEAPONS; BLASTING
    • F25REFRIGERATION OR COOLING; COMBINED HEATING AND REFRIGERATION SYSTEMS; HEAT PUMP SYSTEMS; MANUFACTURE OR STORAGE OF ICE; LIQUEFACTION SOLIDIFICATION OF GASES
    • F25DREFRIGERATORS; COLD ROOMS; ICE-BOXES; COOLING OR FREEZING APPARATUS NOT OTHERWISE PROVIDED FOR
    • F25D21/00Defrosting; Preventing frosting; Removing condensed or defrost water
    • F25D21/06Removing frost
    • FMECHANICAL ENGINEERING; LIGHTING; HEATING; WEAPONS; BLASTING
    • F25REFRIGERATION OR COOLING; COMBINED HEATING AND REFRIGERATION SYSTEMS; HEAT PUMP SYSTEMS; MANUFACTURE OR STORAGE OF ICE; LIQUEFACTION SOLIDIFICATION OF GASES
    • F25DREFRIGERATORS; COLD ROOMS; ICE-BOXES; COOLING OR FREEZING APPARATUS NOT OTHERWISE PROVIDED FOR
    • F25D21/00Defrosting; Preventing frosting; Removing condensed or defrost water
    • F25D21/06Removing frost
    • F25D21/08Removing frost by electric heating

Landscapes

  • Engineering & Computer Science (AREA)
  • Physics & Mathematics (AREA)
  • Mechanical Engineering (AREA)
  • Thermal Sciences (AREA)
  • General Engineering & Computer Science (AREA)
  • Chemical & Material Sciences (AREA)
  • Combustion & Propulsion (AREA)
  • Defrosting Systems (AREA)
  • Devices That Are Associated With Refrigeration Equipment (AREA)

Description

本発明は、除霜用ヒータの出力を削減する冷蔵庫および冷凍サイクルの放熱を有効に活用する冷却システムに関するものである。
省エネルギーの観点から、家庭用冷蔵庫においては、冷凍サイクル内の高圧冷媒が圧力差により蒸発器に流入して蒸発器を加温するエネルギーを利用して、除霜用電気ヒータの出力を削減する冷蔵庫がある。これは、圧縮機が停止した後でも冷凍サイクルの凝縮器内部に貯留する高圧冷媒が外気温度付近に維持される一方、蒸発器が−30〜−20℃の低温状態にあるため、高圧冷媒が圧力差により蒸発器に流入する量を増大させたり、流入する高圧冷媒のエンタルピーを増大させて流入する熱量を増大させたりすることで、除霜用電気ヒータの出力を積極的に削減して省エネルギー化を図るものである。
以下、図面を参照しながら従来の冷蔵庫を説明する。
図11は従来の冷蔵庫の縦断面図、図12は従来の冷蔵庫の冷凍サイクル構成図、図13は従来の冷蔵庫の除霜時の制御を示した図である。
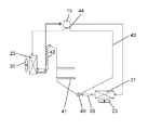
図11および図12において、冷蔵庫111は、筐体112、扉113、筐体112を支える脚114、筐体112の下部に設けられた下部機械室115、筐体112の上部に配置された冷蔵室117、および筐体112の下部に配置された冷凍室118を有している。また、冷凍サイクルを構成する部品として、下部機械室115に収められた圧縮機156、冷凍室118の背面側に収められた蒸発器120、および下部機械室115内に収められた主凝縮器121を有している。また、下部機械室115を仕切る隔壁122、隔壁122に取り付けられ主凝縮器121を空冷するファン123、圧縮機156の上部に設置された蒸発皿157、および下部機械室115の底板125を有している。
また、底板125に設けられた複数の吸気口126、下部機械室115の背面側に設けられた排出口127、および下部機械室115の排出口127と筐体112の上部を繋ぐ連通風路128を有している。ここで、下部機械室115は隔壁122によって2室に分けられ、ファン123の風上側に主凝縮器121を収め、風下側に圧縮機156と蒸発皿157を収めている。
また、冷凍サイクルを構成する部品として、主凝縮器121の下流側に位置し、冷凍室118の開口部周辺の筐体112の外表面と熱結合された防露パイプ160、防露パイプ160の下流側に位置し、循環する冷媒を乾燥するドライヤ137、およびドライヤ137と蒸発器120を結合し、循環する冷媒を減圧する絞り144を有している。そして、蒸発器120を除霜する際に、防露パイプ160の出口を閉塞する二方弁161と、蒸発器120を加熱する除霜ヒータ162を有している。
また、蒸発器120で発生する冷気を冷蔵室117と冷凍室118に供給する蒸発器ファン150、冷凍室118に供給される冷気を遮断する冷凍室ダンパー151、および冷蔵室117に供給される冷気を遮断する冷蔵室ダンパー152を有している。また、冷蔵室117に冷気を供給するダクト153、冷凍室118の温度を検知するFCC温度センサ154、冷蔵室117の温度を検知するPCC温度センサ155、および蒸発器120の温度を検知するDEF温度センサ158を有している。
以上のように構成された従来の冷蔵庫について以下にその動作を説明する。
ファン123、圧縮機156、蒸発器ファン150をともに停止している冷却停止状態(以下、この動作を「OFFモード」という)において、FCC温度センサ154の検知する温度が所定値のFCC_ON温度まで上昇するか、あるいは、PCC温度センサ155の検知する温度が所定値のPCC_ON温度まで上昇すると、以下の動作が成される。すねわち、冷凍室ダンパー151を閉とし、冷蔵室ダンパー152を開として、圧縮機156とファン123、蒸発器ファン150を駆動する(以下、この動作を「PC冷却モード」という)。
「PC冷却モード」においては、ファン123の駆動によって、隔壁122で仕切られた下部機械室115の主凝縮器121側が負圧となり複数の吸気口126から外部の空気を吸引し、圧縮機156と蒸発皿157側が正圧となり下部機械室115内の空気を複数の排出口127から外部へ排出する。
一方、圧縮機156から吐出された冷媒は、主凝縮器121で外気と熱交換しながら一部の気体を残して凝縮した後、防露パイプ160へ供給される。防露パイプ160を通過する冷媒は冷凍室118の開口部を暖めながら、筐体112を介して放熱して凝縮する。防露パイプ160で凝縮した液冷媒は、二方弁161を通過した後ドライヤ137で水分除去され、絞り144で減圧されて蒸発器120で蒸発しながら冷蔵室117の庫内空気と熱交換して冷蔵室117を冷却しながら、気体冷媒として圧縮機156に還流する。
「PC冷却モード」中に、FCC温度センサ154の検知する温度が所定値のFCC_OFF温度まで下降上昇するとともに、PCC温度センサ155の検知する温度が所定値のPCC_OFF温度まで下降すると、「OFFモード」に遷移する。
また、「PC冷却モード中」に、FCC温度センサ154の検知する温度が所定値のFCC_OFF温度より高い温度を示すとともに、PCC温度センサ155の検知する温度が所定値のPCC_OFF温度まで下降すると、冷凍室ダンパー151を開とし、冷蔵室ダンパー152を閉として、圧縮機156とファン123、蒸発器ファン150を駆動する。以下、PC冷却と同様に冷凍サイクルを稼動させることにより、冷凍室118の庫内空気と蒸発器120を熱交換して冷凍室118を冷却する(以下、この動作を「FC冷却モード」という)。
「FC冷却モード」中に、FCC温度センサ154の検知する温度が所定値のFCC_OFF温度まで下降するとともに、PCC温度センサ155の検知する温度が所定値のPCC_ON温度以上を示すと、「PC冷却モード」に遷移する。
また、「FC冷却モード」中に、FCC温度センサ154の検知する温度が所定値のFCC_OFF温度まで下降するとともに、PCC温度センサ155の検知する温度が所定値のPCC_ON温度より低い温度を示すと、「OFFモード」に遷移する。
ここで、図13に基づいて従来の冷蔵庫の除霜時の制御について説明する。
圧縮機156の積算運転時間が所定時間に達すると、蒸発器120の着霜を加温して融解する除霜モードに移行する。除霜モードの区間pにおいて、まず、冷凍室118の温度上昇を抑制するために、「FC冷却モード」と同様に冷凍室118を所定時間冷却する。次に、区間qにおいて、圧縮機156を運転しながら二方弁161を閉塞することによって、ドライヤ137及び蒸発器120に滞留する冷媒を主凝縮器121と防露パイプ160へ回収する。そして、区間rにおいて、圧縮機156を停止することで圧縮機156内部の高圧側と低圧側を仕切るバルブ(図示せず)などのシール部を介して、主凝縮器121と防露パイプ160に回収された高圧冷媒を蒸発器120に逆流させることで、圧縮機156の廃熱でさらに加熱された高圧冷媒を利用して蒸発器120を加温する。その後、区間sにおいて、蒸発器120に取り付けられた除霜ヒータ162に通電して除霜を完了する。そして、区間tにおいて、二方弁161を開放して冷凍サイクル内を均圧して、区間uから通常運転を再開する。
以上のように説明した動作によって、冷凍サイクルの高圧冷媒及び圧縮機の廃熱を利用して蒸発器を加温することにより、除霜ヒータの電力量を削減することができ、冷蔵庫の省エネルギー化を図ることができる。
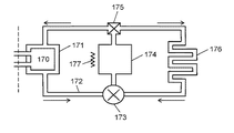
また、従来の冷蔵庫の除霜時の消費電力量削減の技術としては、水などの液体に圧縮機の廃熱を蓄熱し、除霜時に冷却用の配管とは別系統の配管で、ポンプを用いて庫内を循環させ、蒸発器の除霜を行うものがある(例えば特許文献2参照)。図14は特許文献2に記載された従来の除霜用ヒータの消費電力量削減を示す図である。
図14において、冷媒圧縮用の圧縮機170を覆うように蓄熱剤が満たされるジャケット171が設けられ、ジャケット171には蓄熱剤を循環させるための配管172が接続されている。配管172には循環ポンプ173と、蓄熱タンク174と、電磁弁175とが順次接続されて閉じた系を形成している。循環ポンプ173と電磁弁175との間に霜取り用の庫内循環配管176が接続されており、こちらも閉じた系を形成している。
なお蓄熱タンク174には補助ヒータ177が設けられている。また電磁弁175には三方切換弁が用いられている。
冷蔵庫の冷却運転中は、電磁弁175を開き蓄熱タンク174とジャケット171を連通させ、循環ポンプ173により蓄熱剤(水等の液体)を配管172中に循環させる。蓄熱剤はジャケット171において圧縮機170の発熱により加熱され、蓄熱タンク174内の蓄熱剤も次第に昇温する。これにより圧縮機170の廃熱を蓄熱タンク174に蓄熱する。冷蔵庫が除霜運転に切換った際に圧縮機170が停止し、電磁弁175を庫内循環配管176側に開き、循環ポンプ173を作動させて、蓄熱剤を庫内循環配管176内に循環させ霜取りを行う。必要に応じて補助ヒータに通電し蓄熱剤の温度を保つようにする。
また、従来の冷蔵庫の除霜用ヒータの消費電力量削減の技術として、冷却用冷媒を圧縮機側から逆流させるものもある(例えば特許文献1参照)。図15は特許文献1に記載された従来の除霜用ヒータの消費電力削減を示す冷凍サイクルの概略構成図を示す図である。矢印は、冷媒流れ方向(冷却サイクル運転時)を示す。
図15において、圧縮機183、凝縮器184、キャピラリチューブ185と二つの蒸発器(F蒸発器180、R蒸発器182)で構成された冷凍サイクルであり、凝縮器184とキャピラリチューブ185の間には差圧弁186が設けられ、F蒸発器180とR蒸発器182の間には電磁弁181が設けられている。
通常の冷却運転中には、電磁弁181は開放され、差圧弁186にて冷媒圧力を制御しながら、冷媒を循環させている。
除霜運転時(圧縮機停止)には、電磁弁181は閉じられており、かつ差圧弁186が閉じられることにより、圧縮機183内の残留高圧冷媒ガスが、圧力差により逆流して低圧のR蒸発器182内へ流入する。この冷媒ガスによる凝縮潜熱を利用し除霜を行う。
また、一般的に冷媒を圧縮する圧縮機は冷媒の吸入温度が高くなると運転効率が下がるため、空冷や水冷により効率の低下を抑制している。
特開平4−194564号公報 特開2000−304415号公報
しかしながら、特許文献1に開示された従来の冷蔵庫の構成では、主凝縮器121と防露パイプ160に回収された高圧冷媒を蒸発器120の除霜に利用する際に、冷凍室118の開口部周辺と熱結合された防露パイプ160の温度が低下して、ほぼ外気温度で維持される主凝縮器121内の高圧冷媒が防露パイプ160内部で凝縮する。この結果、高圧圧力が低下して蒸発器120に流入する冷媒量が減少し、除霜ヒータの電力量を十分削減することができない原因となる。
従って、回収された高圧冷媒を蒸発器120の除霜に利用する際に、高圧圧力を維持することが課題であった。
また、従来の冷蔵庫の構成では、圧縮機156を停止することで圧縮機156を介して、回収された高圧冷媒を蒸発器120に逆流させる。このことにより、高圧冷媒を用いて圧縮機156の廃熱を回収して蒸発器120の加温に利用できる反面、圧縮機156内部の高圧側と低圧側を仕切るバルブなどのシール部の漏れによる逆流を想定しているため、流量を調整することが困難であり蒸発器120に流入する冷媒量が減少し、除霜ヒータの電力量を十分削減することができない原因となる。
従って、回収された高圧冷媒を蒸発器120の除霜に利用する際に、高圧冷媒が蒸発器120に流入する際の流路抵抗を維持することが課題であった。
本発明は、回収された高圧冷媒を蒸発器の除霜に利用する際に、高圧圧力や流路抵抗の変動を抑制することができる冷蔵庫を提供する。
本発明の冷蔵庫は、少なくとも圧縮機、蒸発器、主凝縮器、防露パイプを有する冷凍サイクルを備え、主凝縮器の下流側に接続した流路切換バルブと、流路切換バルブの下流側に接続した防露パイプと、防露パイプと並列に接続したバイパスを有する。また、蒸発器を除霜する際に、圧縮機を運転中に流路切換バルブを全閉することで、蒸発器及び防露パイプ内の滞留冷媒を回収した後、圧縮機を停止するとともに流路切換バルブをバイパス側に開放して回収した高圧冷媒を蒸発器に供給し、その所定時間後、除霜ヒータに通電するものである。
これによって、回収された高圧冷媒を蒸発器の除霜に利用する際に、高圧圧力や流路抵抗の変動を抑制することで、除霜ヒータの電力量を安定して削減することができる。
また、本発明の冷蔵庫は、回収された高圧冷媒を蒸発器の除霜に利用する際に、バイパス回路を介して蒸発器に供給するとともに、バイパス回路と圧縮機を熱結合してもよい。
これによって、高圧冷媒を蒸発器に供給する際に圧縮機の廃熱を回収して蒸発器の加温に利用することで、除霜ヒータの電力量をさらに削減することができる。
また、本発明の冷蔵庫は、バイパス経路の一部と圧縮機を熱結合する熱交換部を有し、流路切換バルブをバイパス側に開放して高圧冷媒を蒸発器に供給しながら蒸発器を除霜する際に、圧縮機の廃熱を利用して高圧冷媒を加温してもよい。
これによって、冷凍サイクル内の冷媒を主凝縮器に回収して蒸発器の加温に利用する際に、圧縮機の廃熱を回収して蒸発器の加温に利用することで、除霜ヒータの電力量をさらに削減することができ、冷蔵庫の省エネルギー化を図ることができる。
このように、本発明の冷蔵庫は、冷凍サイクル内の冷媒を主凝縮器に回収して蒸発器の加温に利用することで、除霜ヒータの電力量を安定的に削減することができ、冷蔵庫の省エネルギー化を図ることができる。
また、本発明の冷蔵庫は、少なくとも圧縮機、蒸発器、主凝縮器、防露パイプを有する冷凍サイクルを備え、主凝縮器の下流側に接続した流路切換バルブと、流路切換バルブの下流側に接続した防露パイプと、防露パイプと並列に接続したバイパスを有する。また、蒸発器を除霜する際に、圧縮機を運転中に流路切換バルブを全閉することで、蒸発器及び防露パイプ内の滞留冷媒を回収した後、圧縮機を停止するとともに流路切換バルブをバイパス側に開放して回収した高圧冷媒を蒸発器に供給し、その所定時間後、除霜ヒータに通電するものである。
これによって、回収された高圧冷媒を蒸発器の除霜に利用する際に、高圧圧力や流路抵抗の変動を抑制することで、除霜ヒータの電力量を安定して削減することができる。
また、本発明の冷蔵庫は、回収された高圧冷媒を蒸発器の除霜に利用する際に、バイパス回路を介して蒸発器に供給するとともに、バイパス回路と圧縮機を熱結合してもよい。
これによって、高圧冷媒を蒸発器に供給する際に圧縮機の廃熱を回収して蒸発器の加温に利用することで、除霜ヒータの電力量をさらに削減することができる。
また、本発明の冷蔵庫は、バイパス経路の一部と圧縮機の外郭を形成する密閉容器とを熱伝導部材を介して熱結合する熱交換部を有し、流路切換バルブをバイパス側に開放して高圧冷媒を蒸発器に供給しながら蒸発器を除霜してもよい。
これによって、冷凍サイクル内の冷媒を主凝縮器に回収して蒸発器の加温に利用する際に、圧縮機の廃熱を回収して蒸発器の加温に利用することで、除霜ヒータの電力量をさらに削減することができ、冷蔵庫の省エネルギー化を図ることができる。
また、本発明の冷蔵庫は、圧縮機の外郭を形成する密閉容器を貫通してバイパス経路の一部を圧縮機内部の冷凍機油と熱結合する熱交換部を有し、流路切換バルブをバイパス側に開放して高圧冷媒を蒸発器に供給しながら蒸発器を除霜してもよい。
これによって、冷凍サイクル内の冷媒を主凝縮器に回収して蒸発器の加温に利用する際に、圧縮機の廃熱を回収して蒸発器の加温に利用することで、除霜ヒータの電力量をさらに削減することができるとともに、通常冷却運転時に圧縮機表面からの放熱を阻害することがなく、さらに冷蔵庫の省エネルギー化を図ることができる。
このように、本発明の冷蔵庫は、冷凍サイクル内の冷媒を主凝縮器に回収して蒸発器の加温に利用することで、除霜ヒータの電力量を安定的に削減することができ、冷蔵庫の省エネルギー化を図ることができる。
なお、従来の特許文献2の構成では、冷蔵庫の冷却運転中(冷凍サイクル運転中)の圧縮機170の廃熱を蓄えることで多くの熱量を除霜に利用できる。しかし、冷凍サイクルと別の新たな系統の蓄熱剤の循環サイクルを構成するため、循環ポンプ173や配管172、庫内循環配管176などの設置スペースが必要となり、冷蔵庫の庫内容量が減少することが課題であった。また、従来の特許文献2の構成では、冷凍サイクル内の高圧冷媒を除霜に利用するため新たにスペースは必要ないが、冷凍サイクル運転中の廃熱を除霜に利用できない上、高圧冷媒ガスを圧縮機183内の本来逆流を防止するための高低圧を仕切る弁を介して逆流させるため、流量の調整が困難で流入する高圧冷媒ガスの減少が考えられ、除霜ヒータの電力量を十分に削減することができないことが課題であった。
本発明は、省電力な冷却システムおよび冷蔵庫を提供する。
本発明の冷却システムは、圧縮機と凝縮器と減圧器と蒸発器とを備えた冷凍サイクルと、冷凍サイクル運転時の放熱を蓄熱する蓄熱材と、を備え、冷凍サイクル停止時に蓄熱材の熱を冷凍サイクル内の冷媒に加温するものである。
これによって、簡素な構造で冷凍サイクル停止時に冷凍サイクルの放熱を有効に活用でき、例えば除霜ヒータの電力量を削減することができる。
また、本発明の冷却システムは、蓄熱材が冷凍サイクル運転時の圧縮機からの放熱を蓄熱し、冷凍サイクル停止時に蓄熱材の熱を冷凍サイクル内の冷媒に加温して蒸発器に冷媒を供給してもよい。
これによって、簡素な構造で冷凍サイクル停止時に冷凍サイクルの放熱エネルギーを蒸発器の除霜に有効活用でき、除霜ヒータの電力量を削減することができる。
また、本発明の冷却システムは、冷凍サイクルの凝縮器の下流側から蒸発器へ絞りと並列に接続されたバイパスと、凝縮器の下流側に位置し、絞りあるいはバイパスへ流路を切り替える流路切換バルブと、冷凍サイクル運転中の廃熱を蓄える蓄熱材と、バイパスの一部と蓄熱材が熱結合する熱交換部を有する。また、蒸発器を除霜する際に、圧縮機を停止するとともに流路切換バルブをバイパス側に開放して、凝縮器に滞留する高圧冷媒を熱交換部で蓄熱材によって加温して蒸発器に供給してもよい。
これによって、庫内容量を減らすことなく蓄えられた冷凍サイクル運転中の放熱エネルギーを、冷媒を介して蒸発器へ供給することができ、除霜ヒータの電力量を削減することができる。
また、本発明の冷却システムは、蒸発器に高圧冷媒を供給して所定時間後、除霜ヒータに通電してもよい。
これによって、除霜ヒータの電力量を削減することができるとともに、蒸発器の除霜信頼性を高めることができる。
また、本発明の冷却システムは、蓄熱材を圧縮機上部に配置してもよい。
これによって、冷凍サイクル運転中の圧縮機の放熱エネルギーを容易に、かつ高い温度で蓄えることができるため、より多くの熱エネルギーを、冷媒を介して蒸発器へ供給して加温することができ、除霜ヒータの電力量をさらに削減することができる。
また、本発明の冷蔵庫は、上記冷却システムを備えた冷蔵庫としてもよい。
これによって、簡素な構造で冷凍サイクル停止時に冷凍サイクルの放熱エネルギーを有効に活用でき、冷蔵庫の省エネを図ることができる。
このように、本発明の冷却システムは、冷凍サイクル運転時の放熱エネルギーを、簡素な構造で冷凍サイクル停止時に有効に活用でき、冷却システムの省エネを図ることができる。
図1は、本発明の第1の実施の形態における冷蔵庫の縦断面図である。 図2は、本発明の第1の実施の形態における冷蔵庫の冷凍サイクル構成図である。 図3Aは、本発明の第1の実施の形態における冷蔵庫の熱交換部の正面模式図である。 図3Bは、本発明の第1の実施の形態における冷蔵庫の熱交換部の断面模式図である。 図4は、本発明の第1の実施の形態における冷蔵庫の除霜時の制御を示した図である。 図5は、本発明の第2の実施の形態における冷蔵庫の熱交換部の模式図である。 図6は、本発明の第3の実施の形態における冷蔵庫の冷凍サイクル構成図である。 図7は、本発明の第3の実施の形態における冷蔵庫の除霜時の制御を示した図である。 図8は、本発明の第4の実施の形態における冷却システムを備えた冷蔵庫の縦断面図である。 図9は、本発明の第4の実施の形態における冷却システムの冷凍サイクル構成図である。 図10は、本発明の第4の実施の形態における冷却システムを備えた冷蔵庫の除霜時の制御を示した図である。 図11は、従来の冷蔵庫の縦断面図である。 図12は、従来の冷蔵庫の冷凍サイクル構成図である。 図13は、従来の冷蔵庫の除霜時の制御を示した図である。 図14は、従来の冷却システムの構成図である。 図15は、従来の冷却システムの構成図である。
以下、本発明の実施の形態について、図面を参照しながら説明する。なお、この実施の形態によってこの発明が限定されるものではない。
(第1の実施の形態)
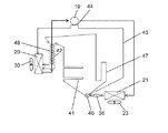
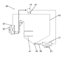
図1は本発明の第1の実施の形態における冷蔵庫の縦断面図、図2は本発明の第1の実施の形態における冷蔵庫の冷凍サイクル構成図である。図3Aは本発明の第1の実施の形態における冷蔵庫の熱交換部の正面模式図、図3Bは本発明の第1の実施の形態における冷蔵庫の熱交換部の断面模式図、図4は本発明の第1の実施の形態における冷蔵庫の除霜時の制御を示した図である。
図1から図3A、図3Bに示すように、冷蔵庫11は、筐体12、扉13、筐体12を支える脚14、筐体12の下部に設けられた下部機械室15、筐体12の上部に設けられた上部機械室16、筐体12の上部に配置された冷蔵室17、および筐体12の下部に配置された冷凍室18を有する。また、冷凍サイクルを構成する部品として、上部機械室16に収められた圧縮機19、冷凍室18の背面側に収められた蒸発器20、および下部機械室15内に収められた主凝縮器21を有している。また、下部機械室15を仕切る隔壁22、隔壁22に取り付けられ主凝縮器21を空冷するファン23、隔壁22の風下側に設置された蒸発皿24、および下部機械室15の底板25を有している。
ここで、圧縮機19は可変速圧縮機であり、20〜80rpsから選択された6段階の回転数を使用する。これは、配管などの共振を避けながら、圧縮機19の回転数を低速〜高速の6段階に切り換えて冷凍能力を調整するためである。圧縮機19は、起動時は低速で運転し、冷蔵室17あるいは冷凍室18を冷却するための運転時間が長くなるに従って増速する。これは、最も高効率な低速を主として使用するとともに、高外気温や扉開閉などによる冷蔵室17あるいは冷凍室18の負荷の増大に対して、適切な比較的高い回転数を使用するためである。このとき、冷蔵庫11の冷却運転モードとは独立に、圧縮機19の回転数を制御するが、蒸発温度が高く比較的冷凍能力が大きい「PC冷却モード」の起動時の回転数を「FC冷却モード」よりも低く設定してもよい。また、冷蔵室17あるいは冷凍室18の温度低下に伴って、圧縮機19を減速しながら冷凍能力を調整してもよい。
また、底板25に設けられた複数の吸気口26、下部機械室15の背面側に設けられた排出口27、および下部機械室15の排出口27と上部機械室16を繋ぐ連通風路28を有している。ここで、下部機械室15は隔壁22によって2室に分けられ、ファン23の風上側に主凝縮器21、風下側に蒸発皿24を収めている。
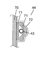
また、冷凍サイクルを構成する部品として、主凝縮器21の下流側に位置し、循環する冷媒を乾燥するドライヤ38と、ドライヤ38の下流側に位置し、冷媒の流れを制御する流路切換バルブ40を有している。また、流路切換バルブ40の下流側に位置し、冷凍室18の開口部周辺の筐体12の外表面と熱結合された防露パイプ41、および防露パイプ41と蒸発器20を接続する絞り42を有している。さらに、防露パイプ41と並列に流路切換バルブ40の下流側と蒸発器20を接続するバイパス43と、バイパス43の経路内で圧縮機19と熱結合する熱交換部44を有している。
図3A、図3Bに示すように、熱交換部44は圧縮機19の外郭を形成する密閉容器70の表面に設置され、バイパス43と密閉容器70を熱結合する熱伝導性ブチルゴム71、密閉容器70に固定するアルミ箔テープ72からなる。熱伝導性ブチルゴム71は熱伝導率2.1W/mK、厚さ1mm、幅10mmであり、密閉容器70の上下中央付近をほぼ一周するバイパス43を挟むように設置される。これによって、バイパス43と密閉容器70の熱交換量を十分確保することができ、バイパス43内部を通過する高圧冷媒が熱交換部44で加温されて、ほぼ気体の状態とすることができる。
なお、熱伝導性ブチルゴム71に替えて、ハンダやロー材などの熱伝導率の高い金属を用いてバイパス43と密閉容器70を熱結合しても同様の効果が期待できるが、密閉容器70および熱結合部の防錆処理が必要となる。熱伝導性ブチルゴム71を用いた場合は、密閉容器70に防錆塗装をした上に使用できる利点があるとともに、圧縮機19の振動がバイパス43に伝達することを抑制する効果も期待できる。また、密閉容器70は圧縮機19の40%程度の質量割合があり、圧縮機19が顕熱蓄熱する廃熱の40%程度を保持していると推定されるとともに、圧縮機19内部の冷媒(図示せず)や冷凍機油(図示せず)を介して、圧縮機19内部の機構部品などが蓄える廃熱と熱結合されているので、熱交換部44を密閉容器70の表面に形成すれば圧縮機19が顕熱蓄熱する廃熱を有効利用することができる。
また、流路切換バルブ40は、防露パイプ41とバイパス43それぞれ単独の冷媒の流れを開閉制御することができる。通常、流路切換バルブ40は主凝縮器21から防露パイプ41への流路を開、主凝縮器21からバイパス43への流路を閉の状態を維持しており、後に説明する除霜時のみ流路の開閉を行う。
また、蒸発器20で発生する冷気を冷蔵室17と冷凍室18に供給する蒸発器ファン30、冷凍室18に供給される冷気を遮断する冷凍室ダンパー31、および冷蔵室17に供給される冷気を遮断する冷蔵室ダンパー32を有している。また、冷蔵室17に冷気を供給するダクト33、冷凍室18の温度を検知するFCC温度センサ34、冷蔵室17の温度を検知するPCC温度センサ35、および蒸発器20の温度を検知するDEF温度センサ36を有している。ここで、ダクト33は冷蔵室17と上部機械室16が隣接する壁面に沿って形成され、ダクト33を通過する冷気の一部を冷蔵室の中央付近から排出するとともに、冷気の多くは上部機械室16が隣接する壁面を冷却しながら通過した後に冷蔵室17の上部から排出する。
以上のように構成された本実施の形態における冷蔵庫について以下にその動作を説明するが、従来例と同一構成については、その詳細な説明は省略する。
ファン23、圧縮機19、蒸発器ファン30をともに停止している冷却停止状態(以下、この動作を「OFFモード」という)において、FCC温度センサ34の検知する温度が所定値のFCC_ON温度まで上昇するか、あるいは、PCC温度センサ35の検知する温度が所定値のPCC_ON温度まで上昇すると、以下の動作が成される。すなわち、冷凍室ダンパー31を閉とし、冷蔵室ダンパー32を開として、圧縮機19とファン23、蒸発器ファン30を駆動する(以下、この動作を「PC冷却モード」という)。
「PC冷却モード」においては、ファン23の駆動によって、隔壁22で仕切られた下部機械室15の主凝縮器21側が負圧となり複数の吸気口26から外部の空気を吸引し、蒸発皿24側が正圧となり下部機械室15内の空気を複数の排出口27から外部へ排出する。
一方、圧縮機19から吐出された冷媒は、主凝縮器21で外気と熱交換しながら一部の気体を残して凝縮した後、ドライヤ38で水分除去され、流路切換バルブ40を介して防露パイプ41へ供給される。防露パイプ41を通過した冷媒は冷凍室18の開口部を暖めながら、筐体12を介して放熱して凝縮した後、絞り42で減圧されて蒸発器20で蒸発しながら冷蔵室17の庫内空気と熱交換して冷蔵室17を冷却しながら、気体冷媒として圧縮機19に還流する。
「PC冷却モード」中に、FCC温度センサ34の検知する温度が所定値のFCC_OFF温度まで下降上昇するとともに、PCC温度センサ35の検知する温度が所定値のPCC_OFF温度まで下降すると、「OFFモード」に遷移する。
また、「PC冷却モード」中に、FCC温度センサ34の検知する温度が所定値のFCC_OFF温度より高い温度を示すとともに、PCC温度センサ35の検知する温度が所定値のPCC_OFF温度まで下降すると、冷凍室ダンパー31を開とし、冷蔵室ダンパー32を閉として、圧縮機19とファン23、蒸発器ファン30を駆動する。以下、PC冷却と同様に冷凍サイクルを稼動させることにより、冷凍室18の庫内空気と蒸発器20を熱交換して冷凍室18を冷却する(以下、この動作を「FC冷却モード」という)。
「FC冷却モード」中に、FCC温度センサ34の検知する温度が所定値のFCC_OFF温度まで下降するとともに、PCC温度センサ35の検知する温度が所定値のPCC_ON温度以上を示すと、「PC冷却モード」に遷移する。
また、「FC冷却モード」中に、FCC温度センサ34の検知する温度が所定値のFCC_OFF温度まで下降するとともに、PCC温度センサ35の検知する温度が所定値のPCC_ON温度より低い温度を示すと、「OFFモード」に遷移する。
ここで、本実施の形態の冷蔵庫の除霜時の制御について説明する。
図4において、流路切換バルブ40の状態「開閉」は、主凝縮器21から防露パイプ41への流路を開放して、主凝縮器21からバイパス43への流路を閉塞することを意味する。また、流路切換バルブ40の状態「閉開」は、主凝縮器21から防露パイプ41への流路を閉塞して、主凝縮器21からバイパス43への流路を開放することを意味する。流路切換バルブ40の状態「閉閉」は、主凝縮器21から防露パイプ41への流路を閉塞して、主凝縮器21からバイパス43への流路を閉塞することを意味する。
圧縮機19の積算運転時間が所定時間に達すると、蒸発器20の着霜を加温して融解する除霜モードに移行する。除霜モードの区間aにおいて、まず、冷凍室18の温度上昇を抑制するために、「FC冷却モード」と同様に冷凍室18を所定時間冷却する。次に、区間bにおいて、圧縮機19を運転しながら流路切換バルブ40を全閉することによって、主凝縮器21から防露パイプ41とバイパス43への流路を共に閉塞して防露パイプ41と蒸発器20、及びバイパス43に滞留する冷媒を主凝縮器21へ回収する。そして、区間cにおいて、圧縮機19を停止するとともに、流路切換バルブ40を切換えて主凝縮器21からバイパス43への流路を開放することで、バイパス43を介して主凝縮器21に回収された高圧冷媒を蒸発器20に供給する。
このとき、バイパス43に設けられた熱交換部44で高圧冷媒が停止中の圧縮機19の廃熱によって加温されて、乾き度が増大する。これは、区間bにおいて高圧冷媒が主凝縮器21に回収される際に外気に放熱して大部分が凝縮するためである。従って、区間cにおいて高圧冷媒が熱交換部44で加温されずに蒸発器20に供給される場合に比べて、外気温度に維持された高圧冷媒の顕熱に加えて凝縮潜熱による熱量を蒸発器20に加えることができる。次に、区間dにおいて、蒸発器20に取り付けられた除霜ヒータ(図示せず)に通電して除霜を完了する。除霜の完了はDEF温度センサ36が所定温度に達したことで判断する。そして、区間eにおいて、流路切換バルブ40を切換えて主凝縮器21からバイパス43への流路を閉塞するとともに、主凝縮器21から防露パイプ41への流路を開放して冷凍サイクル内を均圧し、区間fから通常運転を再開する。
以上のように、本実施の形態における冷蔵庫は、除霜の際に蒸発器20及び防露パイプ41に滞留する冷媒を主凝縮器21に回収し、圧縮機19と熱結合する熱交換部44を有するバイパス43を介して蒸発器20に高圧冷媒を供給して蒸発器20を加温することにより、除霜ヒータ(図示せず)の電力量を削減することができ、冷蔵庫の省エネルギー化を図ることができる。
また、熱交換部44は熱伝導部材である熱伝導性ブチルゴム71、アルミ箔テープ72を介して熱結合しているので、圧縮機19の顕熱蓄熱する廃熱を有効利用することができ、さらに効率的に除霜ヒータ(図示せず)の電力量を削減することができ、冷蔵庫の省エネルギー化を図ることができる。
なお、本実施の形態における冷蔵庫では、主凝縮器21は強制空冷タイプの凝縮器としたが、筐体12の側面や背面に熱結合される防露パイプを用いてもよい。冷蔵室17や冷凍室18の開口部周辺と熱結合される防露パイプと異なり、筐体12の側面や背面に熱結合される防露パイプは圧縮機19が停止中でも外気温度近傍に維持されるので、主凝縮器21として利用しても同様の効果が期待できる。
なお、本実施の形態における冷蔵庫では、流路切換バルブ40と蒸発器20をバイパス43で接続したが、除霜の際に蒸発器20へ供給する高圧冷媒の流速が早すぎて流動音が発生する場合、流速を調整するための流路抵抗をバイパス43と直列に接続してもよい。
なお、本実施の形態における冷蔵庫では、除霜の際に高圧冷媒を防露パイプ41と絞り42を経由せずに蒸発器20へ直接供給することで、圧縮機19が停止した際に主凝縮器21よりも低温となる防露パイプ41の影響で高圧冷媒の温度が低下することを回避した。しかし、除霜の進行により蒸発器20の温度が防露パイプ41よりも高くなると、絞り42を介して高圧冷媒が蒸発器20から防露パイプ41へ逆流する可能性があるので、防露パイプ41の出口から蒸発器20の入口の経路内に逆流を防止する逆止弁や二方弁を設けてもよい。
(第2の実施の形態)
図5は本発明の第2の実施の形態における冷蔵庫の熱交換部の模式図である。以下、本実施の形態について、図面を参照しながら説明するが、第1の実施の形態と同一構成については同一符号を付して、その詳細な説明は省略する。
図5において、圧縮機19は外郭を形成する密閉容器90、密閉容器90の内部に設置され、圧縮機構を形成するピストン91、シリンダ92とシャフト93、シャフト93を介して圧縮機構を駆動するモータ部94、および圧縮機構の潤滑に利用される冷凍機油95からなる。ここで、バイパス43の一部は密閉容器90を貫通するとともに、密閉容器90の下部に滞留する冷凍機油95内に設置されて、圧縮機19と熱結合する熱交換部96を形成する。
これによって、バイパス43と密閉容器90の熱交換量を十分確保することができ、バイパス43内部を通過する高圧冷媒が熱交換部96で加温されて、ほぼ気体の状態とすることができる。また、密閉容器90の表面からの放熱を損なうことなく、バイパス43と密閉容器90の熱交結合を実現したので、通常冷却運転時に圧縮機19の放熱が損なわれて温度上昇し、圧縮機19の効率低下を招くことがない。
以上のように、本実施の形態における冷蔵庫は、除霜の際に蒸発器20及び防露パイプ41に滞留する冷媒を主凝縮器21に回収し、圧縮機19と熱結合する熱交換部96を有するバイパス43を介して蒸発器20に高圧冷媒を供給して蒸発器20を加温することにより、除霜ヒータ(図示せず)の電力量を削減することができ、冷蔵庫の省エネルギー化を図ることができる(図2参照)。
特に、バイパス43の一部は密閉容器90を貫通するとともに、密閉容器90の下部に滞留する冷凍機油95内に設置されて、圧縮機19と熱結合する熱交換部96を形成しているので、密閉容器90の表面からの放熱を損なうことなく、バイパス43と密閉容器90の熱交換量を十分確保することができ、さらに冷蔵庫の省エネルギー化を図ることができる。
(第3の実施の形態)
図6は本発明の第3の実施の形態における冷蔵庫のサイクル構成図、図7は本発明の第3の実施の形態における冷蔵庫の除霜時の制御を示した図である。以下、本実施の形態について、図面を参照しながら説明するが、第1の実施の形態および第2の実施の形態と同一構成については同一符号を付して、その詳細な説明は省略する。
本実施の形態における冷蔵庫の冷凍サイクルを構成する部品として、主凝縮器21の下流側に位置し、循環する冷媒を乾燥するドライヤ38と、ドライヤ38の下流側に位置し、冷媒の流れを制御する流路切換バルブ46を有している。また、流路切換バルブ46の下流側に位置し、冷凍室18(図1参照)の開口部周辺の筐体12(図1参照)の外表面と熱結合された防露パイプ41と、防露パイプ41と蒸発器20を接続する絞り42を有している。また、防露パイプ41及び絞り42と並列に流路切換バルブ46の下流側と蒸発器20を接続する第二の防露パイプ47及び第二の絞り48、防露パイプ41及び第二の防露パイプ47と並列に流路切換バルブ46の下流側と蒸発器20を接続するバイパス43、およびバイパス43の経路内で圧縮機19と熱結合する熱交換部44を有している。
また、流路切換バルブ46は、防露パイプ41、第二の防露パイプ47及びバイパス43それぞれ単独の冷媒の流れを開閉制御することができる。「PC冷却モード」や「FC冷却モード」、「OFFモード」においては、流路切換バルブ46は主凝縮器21から防露パイプ41あるいは第二の防露パイプ47への流路を開閉するとともに、主凝縮器21からバイパス43への流路を閉の状態を維持しており、除霜モードにおいてのみバイパス43への流路の開閉を行う。
ここで、第二の防露パイプ47は、筐体12の背面と熱結合されるものであり、「PC冷却モード」や「FC冷却モード」などの通常運転中に、防露パイプ41及び絞り42の経路と第二の防露パイプ47および第二の絞り48の経路を切換えながら冷媒を流通させるものである。防露パイプ41は、冷蔵庫11の外表面で最も低温となる冷凍室18の開口部周辺の筐体12の外表面と熱結合しているため、外気が高湿度の場合は防露パイプ41を常時使用する必要があるが、第二の防露パイプ47に比べて冷蔵庫11の庫内に熱侵入する割合が高く、冷蔵庫11の熱負荷量を増大させる要因となる。そこで、外気が低湿度の場合は防露パイプ41の使用頻度を下げて、代わりに第二の防露パイプ47を利用することで熱負荷量を抑制することができる。
以上のように構成された本実施の形態における冷蔵庫について以下にその動作を説明する。
「PC冷却モード」および「FC冷却モード」においては、圧縮機19が起動した時刻から所定時間毎に1つの区間として、その区間の外気の湿度に応じて防露パイプ41と第二の防露パイプ47の使用割合を可変する。例えば、外気が相対湿度50%の場合、その区間の前半の60%の時間では防露パイプ41を使用して、後半の40%の時間では第二の防露パイプ47を使用するように、流路切換バルブ46を切換えながら冷凍サイクルを動作させる。
「OFFモード」においては、常に防露パイプ41の流路を開放するように流路切換バルブ46の状態を固定する。
ここで、本実施の形態における冷蔵庫の除霜時の制御について説明する。
図7において、流路切換バルブ46の状態「開閉閉」は、主凝縮器21から防露パイプ41への流路を開放して、主凝縮器21から第二の防露パイプ47への流路、および主凝縮器21からバイパス43への流路を閉塞することを意味する。また、流路切換バルブ46の状態「閉開閉」は、主凝縮器21から防露パイプ41への流路を閉塞して、主凝縮器21から第二の防露パイプ47への流路を開放して、主凝縮器21からバイパス43への流路を閉塞することを意味する。
流路切換バルブ46の状態「閉閉開」は、主凝縮器21から防露パイプ41への流路、および主凝縮器21から第二の防露パイプ47への流路を閉塞して、主凝縮器21からバイパス43への流路を開放することを意味する。流路切換バルブ46の状態「閉閉閉」は、主凝縮器21から防露パイプ41への流路、主凝縮器21から第二の防露パイプ47への流路、および主凝縮器21からバイパス43への流路の全てを閉塞することを意味する。
圧縮機19の積算運転時間が所定時間に達すると、蒸発器20の着霜を加温して融解する除霜モードに移行する。除霜モードの区間a2において、まず、冷凍室18の温度上昇を抑制するために、「FC冷却モード」と同様に冷凍室18を所定時間冷却する。次に、区間b2において、圧縮機19を運転しながら流路切換バルブ46を全閉することによって、主凝縮器21から防露パイプ41、第二の防露パイプ47及びバイパス43への流路を共に閉塞して防露パイプ41、第二の防露パイプ47、バイパス43及び蒸発器20に滞留する冷媒を主凝縮器21へ回収する。そして、区間c2において、圧縮機19を停止するとともに、流路切換バルブ46を切換えて主凝縮器21からバイパス43への流路を開放することで、バイパス43を介して主凝縮器21に回収された高圧冷媒を蒸発器20に供給する。
このとき、バイパス43に設けられた熱交換部44で高圧冷媒が停止中の圧縮機19の廃熱によって加温されて、乾き度が増大する。これは、区間b2において高圧冷媒が主凝縮器21に回収される際に外気に放熱して大部分が凝縮するためである。従って、区間c2において高圧冷媒が熱交換部44で加温されずに蒸発器20に供給される場合に比べて、外気温度に維持された高圧冷媒の顕熱に加えて凝縮潜熱による熱量を蒸発器20に加えることができる。
次に、区間d2において、蒸発器20に取り付けられた除霜ヒータ(図示せず)に通電して除霜を完了する。除霜の完了はDEF温度センサ36(図1参照)が所定温度に達したことで判断する。そして、区間e2において、流路切換バルブ46を切換えて主凝縮器21からバイパス43への流路を閉塞するとともに、主凝縮器21から防露パイプ41への流路を開放して冷凍サイクル内を均圧し、区間f2から通常運転を再開する。
以上のように、本実施の形態における冷蔵庫は、通常運転中に防露パイプ41と第二の防露パイプ47を切換えながら使用することで、熱負荷量を抑制することができる。さらに、除霜の際に防露パイプ41、第二の防露パイプ47及び蒸発器20に滞留する冷媒を主凝縮器21に回収し、圧縮機19と熱結合する熱交換部44を有するバイパス43を介して蒸発器20に高圧冷媒を供給して蒸発器20を加温することにより、除霜ヒータ(図示せず)の電力量を削減することができ、冷蔵庫の省エネルギー化を図ることができる。
なお、第1の実施の形態における冷蔵庫では、主凝縮器21は強制空冷タイプの凝縮器としたが、筐体12の側面や背面に熱結合される防露パイプを用いてもよい。冷蔵室17や冷凍室18の開口部周辺と熱結合される防露パイプと異なり、筐体12の側面や背面に熱結合される防露パイプは圧縮機19が停止中でも外気温度近傍に維持されるので、主凝縮器21として利用しても同様の効果が期待できる。
なお、本実施の形態における冷蔵庫では、流路切換バルブ46と蒸発器20をバイパス43で接続したが、除霜の際に蒸発器20へ供給する高圧冷媒の流速が早すぎて流動音が発生する場合、流速を調整するための流路抵抗をバイパス43と直列に接続してもよい。
なお、本実施の形態における冷蔵庫では、除霜の際に高圧冷媒を防露パイプ41と絞り42を経由せずに蒸発器20へ直接供給することで、圧縮機19が停止した際に主凝縮器21よりも低温となる防露パイプ41の影響で高圧冷媒の温度が低下することを回避した。しかし、除霜の進行により蒸発器20の温度が防露パイプ41よりも高くなると、絞り42を介して高圧冷媒が蒸発器20から防露パイプ41へ逆流する可能性があるので、防露パイプ41の出口から蒸発器20の入口の経路内に逆流を防止する逆止弁や二方弁を設けてもよい。
(第4の実施の形態)
次に、本発明の第4の実施の形態について、図面を参照しながら説明するが、従来例と同一構成については同一符号を付して、その詳細な説明は省略する。なお、この実施の形態によってこの発明が限定されるものではない。
図8は本発明の第4の実施の形態における冷却システムを備えた冷蔵庫の縦断面図、図9は本発明の第4の実施の形態における冷却システムの冷凍サイクル構成図、図10は第4の実施の形態における冷却システムを備えた冷蔵庫の除霜時の制御を示した図である。
図8および図9に示すように、冷蔵庫11は、筐体12、扉13、筐体12を支える脚14、筐体12の下部に設けられた下部機械室15、筐体12の上部に設けられた上部機械室16、筐体12の上部に配置された冷蔵室17、および筐体12の下部に配置された冷凍室18を有している。また、冷凍サイクル39を構成する部品として、上部機械室16に収められた圧縮機19、冷凍室18の背面側に収められた蒸発器20、および下部機械室15内に収められた主凝縮器21を有している。また、上部機械室16内の圧縮機19の上方に、例えば冷凍サイクル39運転中の凝縮温度よりも高い融点を有し相変化する潜熱型の蓄熱材29が設けられている。また、下部機械室15を仕切る隔壁22、隔壁22に取り付けられ主凝縮器21を空冷するファン23、隔壁22の風下側に設置された蒸発皿24、および下部機械室15の底板25を有している。また、蒸発器20の下方には蒸発器20の着霜を融解する除霜ヒータ45が備えられている。
ここで、圧縮機19は可変速圧縮機であり、20〜80rpsから選択された6段階の回転数を使用する。これは、配管などの共振を避けながら、圧縮機19の回転数を低速〜高速の6段階に切り換えて冷凍能力を調整するためである。圧縮機19は、起動時は低速で運転し、冷蔵室17あるいは冷凍室18を冷却するための運転時間が長くなるに従って増速する。これは、最も高効率な低速を主として使用するとともに、高外気温や扉開閉などによる冷蔵室17あるいは冷凍室18の負荷の増大に対して、適切な比較的高い回転数を使用するためである。このとき、冷蔵庫11の冷却運転モードとは独立に、圧縮機19の回転数を制御するが、蒸発温度が高く比較的冷凍能力が大きい「PC冷却モード」の起動時の回転数を「FC冷却モード」よりも低く設定してもよい。また、冷蔵室17あるいは冷凍室18の温度低下に伴って、圧縮機19を減速しながら冷凍能力を調整してもよい。
また、底板25に設けられた複数の吸気口26、下部機械室15の背面側に設けられた排出口27、下部機械室15の排出口27と上部機械室16を繋ぐ連通風路28を有している。ここで、下部機械室15は隔壁22によって2室に分けられ、ファン23の風上側に主凝縮器21、風下側に蒸発皿24を収めている。
また、冷凍サイクル39を構成する部品として、主凝縮器21の下流側に位置し、循環する冷媒を乾燥するドライヤ38、ドライヤ38の下流側に位置し、冷媒の流れを制御する流路切換バルブ40を有している。また、流路切換バルブ40の下流側に位置し、冷凍室18の開口部周辺の筐体12の外表面と熱結合された防露パイプ41、防露パイプ41と蒸発器20を接続する絞り42を有している。さらに、防露パイプ41と並列に流路切換バルブ40の下流側と蒸発器20を接続するバイパス43、バイパス43の経路内で蓄熱材29と熱結合する熱交換部44を有している。ここで、流路切換バルブ40は、防露パイプ41とバイパス43それぞれ単独の冷媒の流れを開閉制御することができる。通常、流路切換バルブ40は主凝縮器21から防露パイプ41への流路を開、主凝縮器21からバイパス43への流路を閉の状態を維持しており、後に説明する除霜時のみ流路の開閉を行う。なお、バイパス43は冷蔵庫11の本体筐体の断熱壁内の設置されている。
また、蒸発器20で発生する冷気を冷蔵室17と冷凍室18に供給する蒸発器ファン30、冷凍室18に供給される冷気を遮断する冷凍室ダンパー31、冷蔵室17に供給される冷気を遮断する冷蔵室ダンパー32、冷蔵室17に冷気を供給するダクト33、冷凍室18の温度を検知するFCC温度センサ34、冷蔵室17の温度を検知するPCC温度センサ35、蒸発器20の温度を検知するDEF温度センサ36を有している。ここで、ダクト33は冷蔵室17と上部機械室16が隣接する壁面に沿って形成され、ダクト33を通過する冷気の一部を冷蔵室の中央付近から排出するとともに、冷気の多くは上部機械室16が隣接する壁面を冷却しながら通過した後に冷蔵室17の上部から排出する。
以上のように構成された第4の実施の形態の冷蔵庫について以下にその動作を説明する。
ファン23、圧縮機19、蒸発器ファン30をともに停止している冷却停止状態(以下、この動作を「OFFモード」という)において、FCC温度センサ34の検知する温度が所定値のFCC_ON温度まで上昇するか、あるいは、PCC温度センサ35の検知する温度が所定値のPCC_ON温度まで上昇すると、以下の動作が成される。すなわち、冷凍室ダンパー31を閉とし、冷蔵室ダンパー32を開として、圧縮機19とファン23、蒸発器ファン30を駆動する(以下、この動作を「PC冷却モード」という)。
「PC冷却モード」においては、ファン23の駆動によって、隔壁22で仕切られた下部機械室15の主凝縮器21側が負圧となり複数の吸気口26から外部の空気を吸引し、蒸発皿24側が正圧となり下部機械室15内の空気を複数の排出口27から外部へ排出する。
一方、圧縮機19から吐出された冷媒は、主凝縮器21で外気と熱交換しながら一部の気体を残して凝縮した後、ドライヤ38で水分除去され、流路切換バルブ40を介して防露パイプ41へ供給される。防露パイプ41を通過した冷媒は冷凍室18の開口部を温めながら、筐体12を介して放熱して凝縮した後、絞り42で減圧されて蒸発器20で蒸発しながら冷蔵室17の庫内空気と熱交換して冷蔵室17を冷却しながら、気体冷媒として圧縮機19に還流する。
「PC冷却モード」中に、FCC温度センサ34の検知する温度が所定値のFCC_OFF温度まで下降上昇するとともに、PCC温度センサ35の検知する温度が所定値のPCC_OFF温度まで下降すると、「OFFモード」に遷移する。
また、「PC冷却モード」中に、FCC温度センサ34の検知する温度が所定値のFCC_OFF温度より高い温度を示すとともに、PCC温度センサ35の検知する温度が所定値のPCC_OFF温度まで下降すると、冷凍室ダンパー31を開とし、冷蔵室ダンパー32を閉として、圧縮機19とファン23、蒸発器ファン30を駆動する。以下、PC冷却と同様に冷凍サイクル39を稼動させることにより、冷凍室18の庫内空気と蒸発器20を熱交換して冷凍室18を冷却する(以下、この動作を「FC冷却モード」という)。
「FC冷却モード」中に、FCC温度センサ34の検知する温度が所定値のFCC_OFF温度まで下降するとともに、PCC温度センサ35の検知する温度が所定値のPCC_ON温度以上を示すと、「PC冷却モード」に遷移する。
また、「FC冷却モード」中に、FCC温度センサ34の検知する温度が所定値のFCC_OFF温度まで下降するとともに、PCC温度センサ35の検知する温度が所定値のPCC_ON温度より低い温度を示すと、「OFFモード」に遷移する。
前述のように冷凍サイクル39が運転中、すなわち「PC冷却モード」中および「FC冷却モード」中に、運転によって冷媒の凝縮温度より高温となる圧縮機19の廃熱を圧縮機19の上方に設置した蓄熱材29に蓄える。
ここで、本実施の形態における冷蔵庫の除霜時の制御について説明する。
図10において、流路切換バルブ40の状態「開閉」は、主凝縮器21から防露パイプ41への流路を開放して、主凝縮器21からバイパス43への流路を閉塞することを意味する。また、流路切換バルブ40の状態「閉開」は、主凝縮器21から防露パイプ41への流路を閉塞して、主凝縮器21からバイパス43への流路を開放することを意味する。流路切換バルブ40の状態「閉閉」は、主凝縮器21から防露パイプ41への流路を閉塞して、主凝縮器21からバイパス43への流路を閉塞することを意味する。
圧縮機19の積算運転時間が所定時間に達すると、蒸発器20の着霜を加温して融解する除霜モードに移行する。除霜モードの区間aにおいて、まず、冷凍室18の温度上昇を抑制するために、「FC冷却モード」と同様に冷凍室18を所定時間冷却する。次に、区間bにおいて、圧縮機19を運転しながら流路切換バルブ40を全閉することによって、主凝縮器21から防露パイプ41とバイパス43への流路を共に閉塞して防露パイプ41と蒸発器20、及びバイパス43に滞留する冷媒を主凝縮器21へ回収する。そして、区間cにおいて、圧縮機19を停止するとともに、流路切換バルブ40を切換えて主凝縮器21からバイパス43への流路を開放することで、バイパス43を介して主凝縮器21に回収された高圧冷媒を蒸発器20に供給する。このとき、バイパス43に設けられた熱交換部44で高圧冷媒が冷凍サイクル39運転中に凝縮温度より高温となる圧縮機19の廃熱を蓄えた蓄熱材29との大きな温度差によって加温されて、乾き度が増大する。これは、区間bにおいて高圧冷媒が主凝縮器21に回収される際に外気に放熱して大部分が凝縮するためである。従って、区間cにおいて高圧冷媒が熱交換部44で加温されずに蒸発器20に供給される場合に比べて、外気温度に維持された高圧冷媒の顕熱に加えて凝縮潜熱による熱量を蒸発器20に加えることができる。次に、区間dにおいて、蒸発器20に取り付けられた除霜ヒータ45に通電して除霜を完了する。除霜の完了はDEF温度センサ36が所定温度に達したことで判断する。そして、区間eにおいて、流路切換バルブ40を切換えて主凝縮器21からバイパス43への流路を閉塞するとともに、主凝縮器21から防露パイプ41への流路を開放して冷凍サイクル39内を均圧し、区間fから通常運転を再開する。
以上のように、本実施の形態における冷却システムは、圧縮機19と凝縮器と絞り42と蒸発器20とを備えた冷凍サイクル39と、冷凍サイクル運転時の放熱を蓄熱する蓄熱材29と、を備え、冷凍サイクル停止時に蓄熱材29の熱を冷凍サイクル内の冷媒に加温するものであり、簡素な構造で冷凍サイクル停止時に冷凍サイクルの放熱エネルギーを有効に活用でき、冷却システムの省エネを図ることができる。
また、蓄熱材29は冷凍サイクル運転時の圧縮機19からの放熱を蓄熱し、冷凍サイクル停止時に蓄熱材29の熱を冷凍サイクル内の冷媒に加温して蒸発器20に加温した冷媒を供給するものであり、簡素な構造で冷凍サイクル停止時に冷凍サイクルの放熱エネルギーを蒸発器20の除霜に有効活用でき、除霜ヒータ45の電力量を削減することができる。
また、本実施の形態における冷却システムを備えた冷蔵庫11は、除霜の際に蒸発器20及び防露パイプ41に滞留する冷媒を主凝縮器21に回収し、圧縮機19の廃熱を蓄えた蓄熱材29と熱結合する熱交換部44を有するバイパス43を介して蒸発器20に高圧冷媒を供給して蒸発器20を加温することにより、除霜ヒータ45の電力量を削減することができ、冷蔵庫の省エネルギー化を図ることができる。
また、蒸発器20に高圧冷媒を供給して所定時間後、除霜ヒータ45に通電するものであり、除霜ヒータ45の電力量を削減することができるとともに、蒸発器20の除霜信頼性を高めることができる。
また、蓄熱材29は圧縮機19の上部に配置されたものであり、冷凍サイクル運転中の圧縮機19の放熱エネルギーを容易に、かつ高い温度で蓄えることができるため、より多くの熱エネルギーを、冷媒を介して蒸発器20へ供給して加温することができ、除霜ヒータ45の電力量をさらに削減することができる。
なお、本実施の形態では、蓄熱材29を例えば相変化する潜熱型としたが、相変化しない顕熱型を用いてもよい。例えば、水のような液体を用いることで、バイパス43との熱交換性の向上が期待できる。
以上、説明したように、本発明の冷蔵庫は、少なくとも圧縮機、蒸発器、主凝縮器、防露パイプを有する冷凍サイクルを備え、主凝縮器の下流側に接続した流路切換バルブと、流路切換バルブの下流側に接続した防露パイプと、防露パイプと並列に接続したバイパスを有している。また、蒸発器を除霜する際に、圧縮機を運転中に流路切換バルブを全閉することで、蒸発器及び防露パイプ内の滞留冷媒を回収した後、圧縮機を停止するとともに流路切換バルブをバイパス側に開放して回収した高圧冷媒を蒸発器に供給し、その所定時間後、除霜ヒータに通電する。
これによって、冷凍サイクル内の冷媒を主凝縮器に回収して蒸発器の加温に利用する際に、流路抵抗の変動を抑制することで、除霜ヒータの電力量を安定的に削減することができ、冷蔵庫の省エネルギー化を図ることができる。
また、本発明の冷蔵庫は、バイパス出口と防露パイプ出口の間に接続された流路抵抗を有し、流路切換バルブをバイパス側に開放して高圧冷媒を蒸発器に供給しながら蒸発器を除霜する際に、バイパス内の圧力を防露パイプ内よりも高い圧力に維持してもよい。
これによって、冷凍サイクル内の冷媒を主凝縮器に回収して蒸発器の加温に利用する際に、流路抵抗と高圧圧力の変動を抑制することで、除霜ヒータの電力量を安定的に削減することができ、冷蔵庫の省エネルギー化を図ることができる。
また、本発明の冷蔵庫は、バイパス経路の一部と圧縮機を熱結合する熱交換部を有し、流路切換バルブをバイパス側に開放して高圧冷媒を蒸発器に供給しながら蒸発器を除霜する際に、圧縮機の廃熱を利用して前記高圧冷媒を加温してもよい。
これによって、冷凍サイクル内の冷媒を主凝縮器に回収して蒸発器の加温に利用する際に、圧縮機の廃熱を回収して蒸発器の加温に利用することで、除霜ヒータの電力量をさらに削減することができ、冷蔵庫の省エネルギー化を図ることができる。
(課題を解決するための手段に関する付記その1)
〔付記1〕少なくとも圧縮機、蒸発器、主凝縮器、防露パイプを有する冷凍サイクルを備え、前記主凝縮器の下流側に接続した流路切換バルブと、前記流路切換バルブの下流側に接続した防露パイプと、前記防露パイプと並列に接続したバイパスを有し、前記蒸発器を除霜する際に、前記圧縮機を運転中に前記流路切換バルブを全閉することで、前記蒸発器及び前記防露パイプ内の滞留冷媒を回収した後、前記圧縮機を停止するとともに前記流路切換バルブを前記バイパス側に開放して回収した高圧冷媒を前記蒸発器に供給し、その所定時間後、除霜ヒータに通電することを特徴とする冷蔵庫。
〔付記2〕前記バイパスの出口と前記防露パイプの出口の間に接続された流路抵抗を有し、前記流路切換バルブを前記バイパス側に開放して高圧冷媒を前記蒸発器に供給しながら前記蒸発器を除霜する際に、前記バイパス内の圧力を前記防露パイプ内よりも高い圧力に維持することを特徴とする付記1に記載の冷蔵庫。
〔付記3〕前記バイパスの一部と前記圧縮機の外郭を形成する密閉容器とを熱伝導部材を介して熱結合する熱交換部を有し、前記流路切換バルブを前記バイパス側に開放して高圧冷媒を前記蒸発器に供給しながら前記蒸発器を除霜することを特徴とする付記1または付記2のいずれかに記載の冷蔵庫。
〔付記4〕前記圧縮機の外郭を形成する密閉容器を貫通して前記バイパスの一部を前記圧縮機の内部の冷凍機油と熱結合する熱交換部を有し、前記流路切換バルブを前記バイパス側に開放して高圧冷媒を前記蒸発器に供給しながら前記蒸発器を除霜することを特徴とする付記1または付記2のいずれかに記載の冷蔵庫。
(課題を解決するための手段に関する付記その2)
〔付記1〕圧縮機と凝縮器と絞りと蒸発器とを備えた冷凍サイクルと、前記冷凍サイクル運転時の放熱を蓄熱する蓄熱材と、を備え、前記冷凍サイクル停止時に前記蓄熱材の熱を前記冷凍サイクル内の冷媒に加温する冷却システム。
〔付記2〕前記蓄熱材は前記冷凍サイクル運転時の圧縮機からの放熱を蓄熱し、前記冷凍サイクル停止時に前記蓄熱材の熱を前記冷凍サイクル内の冷媒に加温して前記蒸発器に前記冷媒を供給する付記1に記載の冷却システム。
〔付記3〕前記冷凍サイクルの前記凝縮器の下流側から前記蒸発器へ前記絞りと並列に接続されたバイパスと、前記凝縮器の下流側に位置し、前記絞りあるいは前記バイパスへ流路を切り替える流路切換バルブと、前記冷凍サイクル運転中の廃熱を蓄える蓄熱材と、前記バイパスの一部と前記蓄熱材が熱結合する熱交換部を有し、前記蒸発器を除霜する際に、前記圧縮機を停止するとともに前記流路切換バルブをバイパス側に開放して、前記凝縮器に滞留する高圧冷媒を前記熱交換部で前記蓄熱材によって加温して前記蒸発器に供給する付記2に記載の冷却システム。
〔付記4〕前記蒸発器に高圧冷媒を供給して所定時間後、除霜ヒータに通電する付記3に記載の冷却システム。
〔付記5〕前記蓄熱材は前記圧縮機上部に配置された付記1から付記4のいずれかに記載の冷却システム。
〔付記6〕付記1から付記5のいずれかに記載の冷却システムを備えた冷蔵庫。
以上のように、本発明にかかる冷蔵庫は、蒸発器及び防露パイプに滞留する冷媒を主凝縮器に回収し、冷凍サイクル内の高圧冷媒が圧力差により蒸発器に流入して蒸発器を加温するエネルギーを利用して、除霜用電気ヒータの出力を削減することができるので、業務用冷蔵庫など他の冷凍冷蔵応用商品にも適用できる。
また、本発明にかかる冷蔵庫は、冷凍サイクル内の高圧冷媒が圧力差により蒸発器に流入する際に、蓄えた圧縮機の廃熱を回収して流入することで蒸発器を加温し、除霜用電気ヒータの出力を削減することができるので、業務用冷蔵庫など他の冷凍冷蔵応用商品にも適用できる。
11,111 冷蔵庫
12,112 筐体
15,115 下部機械室
16 上部機械室
19,156,170,183 圧縮機
20,120,180,182 蒸発器
21,121 主凝縮器
29 蓄熱材
30,150 蒸発器ファン
31,151 冷凍室ダンパー
32,152 冷蔵室ダンパー
33,153 ダクト
34,154 FCC温度センサ
35,155 PCC温度センサ
39 冷凍サイクル
40 流路切換バルブ
41,160 防露パイプ
42,144 絞り
43 バイパス
44 熱交換部
45,162 除霜ヒータ
46 流路切換バルブ
47 第二の防露パイプ
48 第二の絞り
70 密閉容器
71 熱伝導性ブチルゴム
72 アルミ箔テープ
90 密閉容器
96 熱交換部

Claims (3)

  1. 少なくとも圧縮機、蒸発器、主凝縮器、防露パイプを有する冷凍サイクルを備え、前記主凝縮器の下流側に接続した流路切換バルブと、前記流路切換バルブの下流側に接続した防露パイプと、前記防露パイプと並列に接続したバイパスを有し、前記蒸発器を除霜する際に、前記圧縮機を運転中に前記流路切換バルブを全閉することで、前記蒸発器及び前記防露パイプ内の滞留冷媒を回収した後、前記圧縮機を停止するとともに前記流路切換バルブを前記バイパス側に開放して回収した高圧冷媒を蒸発器に供給し、その所定時間後、除霜ヒータに通電することを特徴とする冷蔵庫。
  2. 前記バイパスの出口と前記防露パイプの出口の間に接続された流路抵抗を有し、前記流路切換バルブを前記バイパス側に開放して高圧冷媒を前記蒸発器に供給しながら前記蒸発器を除霜する際に、前記バイパス内の圧力を前記防露パイプ内よりも高い圧力に維持することを特徴とする請求項1に記載の冷蔵庫。
  3. 前記バイパスの一部と前記圧縮機を熱結合する熱交換部を有し、前記流路切換バルブを前記バイパス側に開放して高圧冷媒を前記蒸発器に供給しながら前記蒸発器を除霜する際に、前記圧縮機の廃熱を利用して前記高圧冷媒を加温することを特徴とする請求項1または2のいずれか一項に記載の冷蔵庫。
JP2018511986A 2016-04-13 2017-04-07 冷蔵庫および冷却システム Active JP6934603B2 (ja)

Applications Claiming Priority (7)

Application Number Priority Date Filing Date Title
JP2016080184 2016-04-13
JP2016080184 2016-04-13
JP2016196907 2016-10-05
JP2016196907 2016-10-05
JP2016223183 2016-11-16
JP2016223183 2016-11-16
PCT/JP2017/014494 WO2017179500A1 (ja) 2016-04-13 2017-04-07 冷蔵庫および冷却システム

Publications (2)

Publication Number Publication Date
JPWO2017179500A1 JPWO2017179500A1 (ja) 2019-02-21
JP6934603B2 true JP6934603B2 (ja) 2021-09-15

Family

ID=60042480

Family Applications (1)

Application Number Title Priority Date Filing Date
JP2018511986A Active JP6934603B2 (ja) 2016-04-13 2017-04-07 冷蔵庫および冷却システム

Country Status (3)

Country Link
JP (1) JP6934603B2 (ja)
CN (1) CN108603712B (ja)
WO (1) WO2017179500A1 (ja)

Cited By (1)

* Cited by examiner, † Cited by third party
Publication number Priority date Publication date Assignee Title
US12385677B2 (en) 2022-10-12 2025-08-12 Samsung Electronics Co., Ltd. Refrigerator and method for controlling the same

Families Citing this family (11)

* Cited by examiner, † Cited by third party
Publication number Priority date Publication date Assignee Title
JP6744830B2 (ja) * 2017-02-21 2020-08-19 パナソニック株式会社 冷蔵庫
JP6872689B2 (ja) * 2017-11-30 2021-05-19 パナソニックIpマネジメント株式会社 冷蔵庫
CN108050752A (zh) * 2017-12-05 2018-05-18 澳柯玛股份有限公司 一种制冷系统
CN108278824B (zh) * 2017-12-29 2021-04-23 海尔智家股份有限公司 冰箱
CN108168168B (zh) * 2017-12-29 2021-07-23 海尔智家股份有限公司 冰箱
WO2019156021A1 (ja) * 2018-02-07 2019-08-15 パナソニックIpマネジメント株式会社 冷蔵庫
JP6998509B2 (ja) * 2018-02-07 2022-01-18 パナソニックIpマネジメント株式会社 冷蔵庫
JP7245494B2 (ja) * 2018-12-07 2023-03-24 アクア株式会社 サクションパイプの作製方法及び冷蔵庫
MX2021011453A (es) * 2019-07-22 2021-10-13 Maekawa Seisakusho Kk Sistema de descongelacion.
CN112393477A (zh) * 2020-11-27 2021-02-23 珠海格力电器股份有限公司 化霜控制方法及采用该化霜控制方法的制冷设备
CN115031462A (zh) * 2022-05-16 2022-09-09 长虹美菱股份有限公司 一种冰箱制冷系统及其化霜方法

Family Cites Families (12)

* Cited by examiner, † Cited by third party
Publication number Priority date Publication date Assignee Title
JPS55137065U (ja) * 1979-03-20 1980-09-30
JPS58142658U (ja) * 1982-10-25 1983-09-26 株式会社 東洋製作所 冷凍装置
JPS5976972U (ja) * 1982-11-15 1984-05-24 株式会社東芝 冷蔵庫
JPS63169457A (ja) * 1987-01-07 1988-07-13 松下電器産業株式会社 ヒ−トポンプ式空気調和機
JPH04194564A (ja) * 1990-11-27 1992-07-14 Sharp Corp 冷凍冷蔵庫
JPH08189753A (ja) * 1995-01-13 1996-07-23 Matsushita Refrig Co Ltd 冷蔵庫
JP4310947B2 (ja) * 2001-09-06 2009-08-12 三菱電機株式会社 冷凍冷蔵庫の制御装置
JP2012042140A (ja) * 2010-08-20 2012-03-01 Hitachi Appliances Inc 冷蔵庫
EP2711654A4 (en) * 2011-05-18 2015-08-12 Panasonic Corp FRIDGE
JP5571044B2 (ja) * 2011-08-19 2014-08-13 日立アプライアンス株式会社 冷蔵庫
JP5417397B2 (ja) * 2011-09-12 2014-02-12 日立アプライアンス株式会社 冷蔵庫
CN105241160A (zh) * 2015-05-11 2016-01-13 北京工业大学 一种用于风冷冰箱的蓄热化霜系统和方法

Cited By (1)

* Cited by examiner, † Cited by third party
Publication number Priority date Publication date Assignee Title
US12385677B2 (en) 2022-10-12 2025-08-12 Samsung Electronics Co., Ltd. Refrigerator and method for controlling the same

Also Published As

Publication number Publication date
JPWO2017179500A1 (ja) 2019-02-21
CN108603712A (zh) 2018-09-28
CN108603712B (zh) 2020-07-28
WO2017179500A1 (ja) 2017-10-19

Similar Documents

Publication Publication Date Title
JP6934603B2 (ja) 冷蔵庫および冷却システム
US10495368B2 (en) Refrigerator and operation method of the same
US20200292224A1 (en) Refrigerator and control method thereof
CN103608630B (zh) 制冷装置
JP6872689B2 (ja) 冷蔵庫
JP4253957B2 (ja) 冷蔵庫
JP6101926B2 (ja) 冷蔵庫
KR101620178B1 (ko) 냉장고 및 그 제어방법
JP6846599B2 (ja) 冷蔵庫
JP6197176B2 (ja) 冷蔵庫
WO2018147113A1 (ja) 冷蔵庫
JP5056026B2 (ja) 自動販売機
JP2017026210A (ja) 冷蔵庫
JP2015094536A (ja) 冷蔵庫
JP5475033B2 (ja) 冷凍装置
JP2019074233A (ja) 冷蔵庫
KR101651329B1 (ko) 냉장고 및 그 제어방법
CN112856889B (zh) 冰箱及其控制方法
JP4286106B2 (ja) 冷凍冷蔵庫
JP6543811B2 (ja) 冷蔵庫
WO2019073749A1 (ja) 冷蔵庫
CN121274539A (zh) 一种冰箱及其化霜方法
KR19990080335A (ko) 냉장고의 냉동시스템
CN119983656A (zh) 冰箱
CN118670011A (zh) 换热组件、控制方法和装置、可读存储介质、制冷设备

Legal Events

Date Code Title Description
RD01 Notification of change of attorney

Free format text: JAPANESE INTERMEDIATE CODE: A7421

Effective date: 20190124

A621 Written request for application examination

Free format text: JAPANESE INTERMEDIATE CODE: A621

Effective date: 20200401

TRDD Decision of grant or rejection written
A01 Written decision to grant a patent or to grant a registration (utility model)

Free format text: JAPANESE INTERMEDIATE CODE: A01

Effective date: 20210706

A61 First payment of annual fees (during grant procedure)

Free format text: JAPANESE INTERMEDIATE CODE: A61

Effective date: 20210719

R151 Written notification of patent or utility model registration

Ref document number: 6934603

Country of ref document: JP

Free format text: JAPANESE INTERMEDIATE CODE: R151