JP6931270B2 - マイクロナノバブル発生装置を備えた気液反応装置及びこの気液反応装置を用いた気液反応方法 - Google Patents

マイクロナノバブル発生装置を備えた気液反応装置及びこの気液反応装置を用いた気液反応方法 Download PDF

Info

Publication number
JP6931270B2
JP6931270B2 JP2016109180A JP2016109180A JP6931270B2 JP 6931270 B2 JP6931270 B2 JP 6931270B2 JP 2016109180 A JP2016109180 A JP 2016109180A JP 2016109180 A JP2016109180 A JP 2016109180A JP 6931270 B2 JP6931270 B2 JP 6931270B2
Authority
JP
Japan
Prior art keywords
gas
liquid
reaction
micro
bubble generator
Prior art date
Legal status (The legal status is an assumption and is not a legal conclusion. Google has not performed a legal analysis and makes no representation as to the accuracy of the status listed.)
Active
Application number
JP2016109180A
Other languages
English (en)
Other versions
JP2017213519A (ja
Inventor
正守 樋口
正守 樋口
信秀 国友
信秀 国友
小林 祐一
祐一 小林
和矩 熊田
和矩 熊田
鷹一 神▲崎▼
鷹一 神▲崎▼
伸宏 田中
伸宏 田中
Current Assignee (The listed assignees may be inaccurate. Google has not performed a legal analysis and makes no representation or warranty as to the accuracy of the list.)
Mitsubishi Chemical Engineering Corp
Original Assignee
Mitsubishi Chemical Engineering Corp
Priority date (The priority date is an assumption and is not a legal conclusion. Google has not performed a legal analysis and makes no representation as to the accuracy of the date listed.)
Filing date
Publication date
Application filed by Mitsubishi Chemical Engineering Corp filed Critical Mitsubishi Chemical Engineering Corp
Priority to JP2016109180A priority Critical patent/JP6931270B2/ja
Publication of JP2017213519A publication Critical patent/JP2017213519A/ja
Application granted granted Critical
Publication of JP6931270B2 publication Critical patent/JP6931270B2/ja
Active legal-status Critical Current
Anticipated expiration legal-status Critical

Links

Images

Landscapes

  • Physical Or Chemical Processes And Apparatus (AREA)

Description

本発明は、反応物質を含有する液体と、反応気体を含有する気体とを、反応槽で反応させる気液反応装置及びこの気液反応装置を用いた気液反応方法に関するものである。
反応物質を含有する液体(以下、「反応物質含有液体」ともいう。)と、反応気体を含有する気体(以下、「反応気体」ともいう。)とを混合して気液反応を高い効率で行うためには、両者の接触面積を大きくすることが重要である。
この要求を満たすために、特許文献1に記載されるような、反応槽内に反応物質含有液体と反応気体を投入して密閉加温し、攪拌により両者の接触面積を大きくして気液反応を行うバッチ式または連続式プロセス法、回転軸に近接して多数のディスクを取り付けたものを反応物質含有液体に一部浸潤する状態で回転させディスク表面に形成される溶液の薄膜に気体を作用させるディスク法、反応気体に反応物質含有液体のジェット流を噴出させて接触反応させるジェット法等が採用されている。
工業規模で大量かつ効率的に気液反応を行う方法としては上記バッチ式または連続式プロセス法が有利であるが、気液反応の効率を高くするためには、反応気体雰囲気下で、液相と気相との接触面積を大きくするために激しく撹拌を行うことが必要となる。さらに、気液反応の効率を高くするためには、気液反応を高温・高圧下で行うことも必要となる。
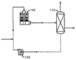
気液反応を効率的に行う技術として、特許文献2には、図7に示すように、ベンゼンをシクロヘキサンにする気液反応において、ベンゼンを含む液体を収容した反応器110から、ポンプ105によりこの液体を抜き出して高せん断装置140に供給し、この高せん断装置140でこの液体に平均気泡直径100μmの水素ガス気泡を含有させて反応器110に還流する気液反応装置が開示されている。また、特許文献3には、図8に示すように、芳香族ニトロ化合物を芳香族アミン化合物にする気液反応において、芳香族ニトロ化合物溶液208をバイアル瓶209からフィルター207を通して抜き出し、水素ガスを導入して水素マイクロバブルを含有させ、触媒固定官に導入して水素化反応を進行させた後、バイアル瓶209に還流する気液反応装置が開示されている。
しかしながら、上記特許文献2のような気液反応装置では、気液反応を高い効率で行うためには、反応器110内の圧力を通常5MPa〜20MPaという高圧とする必要があるが、高せん断装置140を含むベンゼンを含む液体の循環経路をこのような高圧力に維持して運転するのは難しく、装置の設置・運転・維持を経済的・効率的に行うのは難しい。
また、上記特許文献3のような気液反応装置は、水素マイクロバブルを含有させた芳香族ニトロ化合物溶液208を触媒固定官を通して気液反応を行うため大量に処理することが難しく、また、気液反応を高温・高圧下で行うことが難しいため、工業規模で大量かつ効率的に気液反応を行う装置として適当ではない。
本発明者等は、工業規模で大量かつ効率的に気液反応を行うことができ、しかも、装置の設置・運転・維持を経済的・効率的に行うことのできる気液反応装置及びこの気液反応装置を用いた気液反応方法を鋭意研究し本発明を成したものである。
国際公開第2007/100052号 特表2010−531882号公報 特開2014−005217号公報
本発明の気液反応装置及びこの気液反応装置を用いた気液反応方法の課題は、工業規模で大量かつ効率的に気液反応を行うことができ、しかも、装置の設置・運転・維持を経済的・効率的に行うことのできる気液反応装置及びこの気液反応装置を用いた気液反応方法を提供することにある。
上記課題を解決するため、本発明の気液反応装置及びこの気液反応装置を用いた気液反応方法は、気液反応装置の反応槽内にはマイクロナノバブル発生装置を設けると共に、このマイクロナノバブル発生装置に、反応槽の液相に存在する反応物質含有液体及び反応槽の気相に存在する反応気体を供給し、反応気体のマイクロナノバブルを含有させた反応物質含有液体を液相に供給することを特徴とするものである。
さらに、マイクロナノバブル発生装置としては、図6にその概要を示して後で説明するような、多量のマイクロナノバブルを経済的に発生することのできる液流方式のものを用い、このマイクロナノバブル発生装置に反応槽の液相に存在する反応物質含有液体を加圧して供給し、これにより生じる負圧により反応槽の気相から反応気体を吸い込むようにすることにより、前記課題の解決を一層図ることができる。
本発明の気液反応装置及びこの気液反応装置を用いた気液反応方法は、次のような優れた効果を奏するものである。
バッチ式または連続式プロセス法の気液反応を採用し、気密に密封された反応槽内で、高温・高圧下で気液反応を行うことにより、気液反応を工業規模で大量かつ効率的に行うことができる。
また、マイクロナノバブル発生装置を用いて、反応気体のマイクロナノバブルを反応物質含有液体に含有させることにより、激しい撹拌を行うことなく液相と気相との接触面積を大きくでき、気液反応を効率的・経済的に行うことができる。
また、反応気体のマイクロナノバブルを含有させた反応物質含有液体を、マイクロナノバブル発生装置から液相に供給することにより、液相を撹拌することができ、気液反応を効率的・経済的に行うことができる。
また、マイクロナノバブル発生装置を反応槽内に設けることにより、反応槽内を安定的に高圧力に維持でき、装置の設置・運転・維持を経済的・効率的に行うことができる。さらに、マイクロナノバブル発生装置として液流方式のものを用い、このマイクロナノバブル発生装置に反応槽の液相に存在する反応物質含有液体を加圧して供給し、これにより生じる負圧により反応槽の気相から反応気体を吸い込み、反応気体のマイクロナノバブルを含有させた反応物質含有液体を液相に供給することにより、液相の反応物質含有液体を一層効率的・経済的に撹拌することができる。
また、このようなマイクロナノバブル発生装置を用いることにより、マイクロナノバブルの個数平均直径及び総バブル数を、マイクロナノバブル発生装置に供給される反応物質含有液体の圧力、流量だけでなく、反応槽の気相に存在する反応気体の圧力によっても調整することができる。
本発明の気液反応装置の第1実施形態を示す模式図である。 本発明の気液反応装置の第2実施形態を示す模式図である。 本発明の気液反応装置の第3実施形態を示す模式図である。 本発明の気液反応装置の第4実施形態を示す模式図である。 本発明の気液反応装置の第5実施形態を示す模式図である。 本発明の気液反応装置において好適に用いることのできるマイクロナノバブル発生装置の概要を示す断面図である。 従来例である、特許文献2(特表2010−531882号公報)の図1である。 従来例である、特許文献3(特開2014−005217号公報)の図1である。
以下、本発明の実施形態を、添付の図面も参照しながら詳細に説明するが、本発明はこれらに限定されるものではない。以下の説明においては、還元反応の代表例である有機化合物の水素添加反応を行なう気液反応について主として説明するが、本発明の気液反応装置及びこの気液反応装置を用いた気液反応方法は、これらの油脂、脂肪酸、合成樹脂等の有機化学物質または無機化学物質を使用する気液反応に使用することも当然可能である。
1.本発明の一般的な事項
まず、本発明の気液反応装置及びこの気液反応装置を用いた気液反応方法(以下、「本発明の装置及び方法」ともいう。)の一般的な事項について説明する。
本発明の装置及び方法は、バッチ式または連続式プロセス法の気液反応であって、気密に密封された反応槽に、反応物質を含有する液体(反応物質含有液体)及び加圧された反応気体を含有する気体(反応気体)を供給して液相及び気相を形成し、気液反応を行うものである。また、気液反応の反応効率を向上させるために、気液反応を高温・高圧下で行うのが好ましい。
〇気液反応
本発明の装置及び方法が適用できる気液反応としては、特に制限はなく、通常、高温下または高温・高圧下で行われる既知の気液反応に適用することができる。
例えば、ラジカルカルボニル化反応、オレフィンのヒドロホルミル化反応、直接フッ素化反応、酸素酸化反応(アルコールからアルデヒドを得る反応、アルケンからエポキシを得る反応、光一重項酸素酸化反応、エステルのα位酸化反応等)、水素化反応(還元糖の水素添加による糖アルコール製造、オレフィンの水素化反応、カルボニル化合物の水素化反応、シアノ基の水素化反応、天然油脂の不飽和グリセリドの水素添加による硬化油の製造、不飽和脂肪酸をニッケル触媒により水素添加する反応等)、アルカンの光ハロゲン化反応、Heckカルボニル化反応に適用できる。
〇反応物質を含有する液体(反応物質含有液体)
本発明の装置及び方法において用いられる反応物質含有液体は、反応物質のみを含有していてもよいし、反応物質及び溶媒を含有していてもよい。
溶媒としては、水、有機溶媒、イオン液体(イオン性液体、イオン性流体、常温融解塩とも称される)、液体の無機化合物等の1種または2種以上を用いることができる。有機溶媒としては、ヘキサン等の脂肪族系炭化水素、ベンゼン、トルエン、キシレン等の芳香族炭化水素、アセトン、ジエチルケトン、メチルエチルケトン等のケトン類、ブチルアルデヒド等のアルデヒド類、ジエチルエーテル、ジブチルエーテル、ジイソブチルエーテル、テトラヒドロフラン、ジオキサン等のエーテル類、酢酸エチル、酢酸ブチル、ジ−n−オクチルフタレート等のエステル類、トリエチルアミン、ピロリジン、ピペリジン等のアミン類、ジメチルホルムアミド等のアミド類、ジメチルスルホキシド等のスルホキシド類、メタノール、エタノール、プロパノール、イソプロパノール等のアルコール類、エチレングリコール、プロパンジオール、ブタンジオール等のジオール類、アセトニトリル等のニトリル類、ピリジン等の複素芳香族化合物、四塩化炭素、クロロホルム、ジクロロメタン、ジクロエタン等のハロゲン溶媒、酢酸、蟻酸等のカルボン酸類、スルホン酸類、フロリナート(登録商標)等のフッ素系不活性液体が挙げられ、これらの2種以上の任意の割合の混合溶媒を用いることもできる。液体の無機化合物としては、硫酸、リン酸、亜リン酸等のリン酸類、硝酸、過酸化水素水等が挙げられる。溶媒としては、中でも、水系溶媒と有機溶媒が好ましく、更に好ましくは芳香族炭化水素、炭化水素類やアルコール類が好ましく、特に芳香族炭化水素が好適である。
溶媒を用いる場合には、その使用量に制限はなく、用いる反応物質の濃度が溶媒1リットルに対して通常0.001モル以上、好ましくは0.02モル以上、さらに好ましくは0.1モル以上で、20モル以下、好ましくは10モル以下、さらに好ましくは5モル以下となるような量の溶媒を用いることが好ましい。溶媒の量が上記の範囲よりも多いと生産性が低下し、少ないと触媒あるいは反応物質を溶解させてしまう点で不利となる。
〇反応気体を含有する気体(反応気体)
反応気体としては、オゾン、水素、ヘリウム、フッ素、塩素、一酸化炭素、二酸化炭素、二酸化硫黄、塩化水素ガス、アンモニアガス、メタン、エタン、プロパン、エチレンガス、アセチレンガス等が挙げられ、酸素は一重項酸素及び三重項酸素が挙げられる。また、これらの混合ガス、あるいはこれらの反応ガスと他の気体との混合ガスを用いてもよい。
気体成分中の反応気体の濃度については、特に制限はないが、体積割合で0.01〜100%の範囲から選択され、好ましくは0.1%以上、より好ましくは5%以上で、特に好ましくは10%以上である。反応気体の濃度が上記範囲よりも低いと十分な反応効率を得ることが難しくなる。
〇触媒
本発明の装置及び方法では、気液反応に、触媒を使用してもよいし、使用しなくてもよいが、通常は、触媒を使用した方が気液反応を効率的に行えるため好ましい。
触媒としては、周期律表第4〜12族の元素(金属)及びランタノイドから選ばれる元素(金属)の少なくとも一種を含有するものを好適に用いることができ、また、触媒は、シリカ、アルミナ、シリカアルミナ、ゼオライト、活性炭等の多孔質材料の表面に担持させて用いることができる。例えば、還元糖の水素添加反応を行う場合には、ラネーニッケル触媒等を用いることができる。
触媒を使用する場合、好適には、均一系触媒を、反応槽内の液相に存在する反応物質含有液体に含有させて用いる。触媒の使用量としては、特に制限はないが、反応物質に対して有効成分量として0.1ppm以上、特に1ppm以上、10%以下、特に1%以下とすることが好ましい。
〇反応条件
本発明の装置及び方法は、上記のように、バッチ式または連続式プロセス法の気液反応を採用し、気密に密封された反応槽内で、通常、高温・高圧下で気液反応を行うものであるが、反応槽内の温度、反応槽内の圧力、反応時間等の条件については、気液反応、反応物質、反応気体の種類等に応じて、最適な範囲を適宜設定することができる。
例えば、還元糖の水素添加反応を行う場合には、反応槽内の温度の下限値を好ましくは20℃以上、より好ましくは50℃以上さらに好ましくは80℃以上、特に好ましくは110℃以上とし、上限値を好ましくは350℃以下、より好ましくは300℃以下、さらに好ましくは250℃以下、特に好ましくは200℃以下とし、水素圧力の下限値を好ましくは0.1MPa以上、より好ましくは0.5MPa以上、さらに好ましくは1MPa以上、特に好ましくは5MPa以上とし、上限値を好ましくは30MPa以下、より好ましくは25MPa以下、さらに好ましくは20MPa以下とし、反応時間を好ましくは30分以上9時間以下とする。
2.本発明の第1の特徴
本発明の装置及び方法は、上記のようなバッチ式または連続式プロセス法の気液反応を行うが、この反応において、反応槽内に設けたマイクロナノバブル発生装置により、反応槽の液相に存在する反応物質含有液体に、反応槽の気相に存在する反応気体のマイクロナノバブルを含有させ、これを液相に供給することを第1の特徴とするものである。
このように、バッチ式または連続式プロセス法の気液反応を採用し、気密に密封された反応槽内で、高圧下好ましくは高温・高圧下で気液反応を行うことにより、気液反応を工業規模で大量かつ効率的に行うことができる。
また、マイクロナノバブル発生装置を用いて、反応気体のマイクロナノバブルを反応物質含有液体に含有させることにより、激しい撹拌を行うことなく液相と気相との接触面積を大きくでき、気液反応を効率的・経済的に行うことができる。
また、反応気体のマイクロナノバブルを含有させた反応物質含有液体を、マイクロナノバブル発生装置から液相に供給することにより、特に培養槽撹拌機を設置しなくても液相を適度に撹拌することができ、気液反応を効率的・経済的に行うことができる。
また、マイクロナノバブル発生装置を反応槽内に設けることにより、マイクロナノバブル発生装置を反応槽外部に設ける場合に比べ、反応槽内を安定的に高圧力に維持でき、装置の設置・運転・維持を経済的・効率的に行うことができる。
〇反応気体のマイクロナノバブル
本発明では、反応物質含有液体に反応気体のマイクロナノバブルを含有させるが、本発明の「マイクロナノバブル」とは、「マイクロバブル」及び/又は「ナノバブル」を意味する。「通常の気泡」は水中を急速に上昇して表面で破裂して消えるのに対し、「マイクロバブル」といわれる直径50μm以下の微小気泡は、水中で縮小していって消滅し、この際に、フリーラジカルと共に、直径100nm以下の極微小気泡である「ナノバブル」を発生し、この「ナノバブル」はある程度の長時間水中に残存する。
本発明においては、個数平均直径が100μm以下の気泡を「マイクロバブル」といい、個数平均直径が1μm以下の気泡を「ナノバブル」という。マイクロナノバブル、ナノバブル等の気泡を測定する方法としては、電気的検知帯法、共振式質量測定法、粒子軌跡解析法等が一般に用いられている。
極微小気泡である「ナノバブル」は、「ウルトラファインバブル」とも呼ばれる。なお、現在、ISO(国際標準化機構)において、ファインバブル技術に関する国際標準の作成が検討されており、国際標準が作成されれば、現在一般的に用いられている「ナノバブル」との呼称が、「ウルトラファインバブル」に統一される可能性もある。
マイクロナノバブルの個数平均直径が大きすぎると、マイクロナノバブルが液相中で上昇するに伴ってマイクロナノバブル内の圧力低下によってマイクロナノバブルが膨張し、その結果、マイクロナノバブルの比表面積(単位重量あたりの表面積)が増加することによって気液反応の促進効果が低くなる。
また、マイクロナノバブルの比表面積を増加させるためには、反応物質と接触させる反応物質含有液体中の単位体積当たりのマイクロナノバブルの数(以下「総バブル数」という。)も重要となる。反応物質含有液体1mLあたりの総バブル数が10個以上、好ましくは10〜10個、より好ましくは10〜1010個となるように発生させることが好ましい。
これらのマイクロナノバブルの個数平均直径及び総バブル数は、気液反応、反応物質、反応気体の種類等に応じて、最適な範囲を適宜設定することができ、後で述べるマイクロナノバブル発生装置の構造、発生条件等により調節・設定することができる。
反応物質含有液体に反応気体のマイクロナノバブルを含有させることにより、反応物質含有液体中に反応気体を長期間残留させることができ、気液反応における物質移動の制限を減少させることができる。マイクロナノバブルの個数平均直径が小さくても反応速度に対して悪影響はないが、反応気体の反応物質含有液体の飽和度には制限があるため、マイクロナノバブルの個数平均直径が小さすぎても経済的には非効率となる。また総バブル数はマイクロナノバブル発生装置の設定条件上発生させることが可能であり、反応物質との反応にあたりマイクロバナノブルが安定に存在できれば、多ければ多いほど好ましい。
〇マイクロナノバブル発生装置
マイクロナノバブル発生装置としては、公知あるいは市販されている装置を用いることができ、例えば、ある程度の高圧で十分な量の気体を水中に溶解させた後、その圧力を解放してやることで溶解した気体の過飽和条件を作り出す「加圧溶解型マイクロナノバブル発生装置」や、液流を起こして液体と気体からなる混合流体をループ状の流れとして撹拌混合し、液流によって発生した乱流により気泡が細分化する現象を利用した「ループ流式バブル発生ノズル」等を用いることができる。
3.本発明の第2の特徴
本発明の装置及び方法は、反応槽内に設けるマイクロナノバブル発生装置として液流方式のものを用い、このマイクロナノバブル発生装置に反応槽の液相に存在する反応物質含有液体を加圧して供給し、これにより生じる負圧により反応槽の気相から反応気体を吸い込み、反応気体のマイクロナノバブルを含有させた反応物質含有液体を液相に供給することを第2の特徴とするものである。
このようなマイクロナノバブル発生装置を用いることにより、反応気体のマイクロナノバブルを含有させた反応物質含有液体の液相への供給を効率的・経済的に行うことができ、液相の反応物質含有液体を一層効率的・経済的に撹拌することができる。
さらに、マイクロナノバブルの個数平均直径及び総バブル数を、マイクロナノバブル発生装置に供給される反応物質含有液体の圧力、流量だけでなく、反応槽の気相に存在する反応気体の圧力によっても調整することができる。
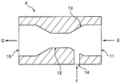
この液流方式のマイクロナノバブル発生装置について、図6を用いて説明する。
マイクロナノバブル発生装置4としては、液流方式、すなわち、液流によりマイクロナノバブルを発生させる方式のものを用いることができ、この液流方式のマイクロナノバブル発生装置の代表的なものとしては、ノズル型のマイクロナノバブル発生装置を挙げることができる。このノズル型のマイクロナノバブル発生装置は図6に示すようなものである。
図6において、反応槽の液相に存在する反応物質含有液体E(以下、「液体E」ともいう。)は、加圧されてノズルの入口部11から供給され、管の縮径に伴って流速を上げていき、のど部12で乱流を発生させる。反応槽の気相に存在する反応気体Fは、液体Eの流れによって生じる負圧により、気体入口14から吸引され、吸引部13において液体Eと混合され、のど部12での乱流によりマイクロナノバブルとなる。このようにして形成された、反応気体のマイクロナノバブルを含有する反応物質含有液体Gは、出口部15から、液相に供給される。
4.本発明の実施形態
つぎに、図1〜5を用いて、本発明の第1実施形態(図1)、第2実施形態(図2)、第3実施形態(図3)、第4実施形態(図4)及び第5実施形態(図5)について説明する。
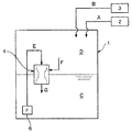
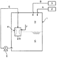
第1実施形態乃至第5実施形態ではマイクロナノバブル発生装置4としてノズル型のものを用いているが、このマイクロナノバブル発生装置4が、第1実施形態及び第5実施形態では反応槽1の気相Dに設けられており、第2実施形態では反応槽1の液相Cに設けられており、第3実施形態及び第4実施形態では反応槽1の気相D及び液相Cに跨がって設けられている。第1実施形態及び第5実施形態のように、マイクロナノバブル発生装置4を反応槽1の気相Dに設ける場合には、マイクロナノバブル発生装置4の出口に、反応気体Bのマイクロナノバブルを含有させた反応物質含有液体Aを、液相C内に導いて供給するための配管8を設ける。
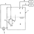
また、第4実施形態では、反応槽1の液相Cに存在する反応物質含有液体Eをマイクロナノバブル発生装置4に供給するためのポンプとして、他の実施形態のように、反応槽1の外部に設けたポンプ5を用いず、反応槽1の内部に設けたポンプを用いるものであって、例えばポンプインペラ(ポンプ羽根車)を反応槽1の内部に配置するようにしたインターナルポンプ6を用いている。第4実施形態では、マイクロナノバブル発生装置4を反応槽1の気相D及び液相Cに跨がって設けているが、もちろん、第1実施形態及び第5実施形態のように、反応槽1の気相Dに設けることもできるし、第2実施形態のように、反応槽1の液相Cに設けることもできる。
また、第5実施形態は、第1実施形態の気液反応装置に、液相Cの反応物質含有液体Aを撹拌するための、反応槽撹拌機7を設けたものである。
まず、図1を参照しながら、本発明の第1実施形態について説明する。
第1実施形態では、次のようにして、反応物質を含有する液体(反応物質含有液体)Aと、反応気体を含有する気体(反応気体)Bとの気液反応を行う。
1)気密に密封された反応槽1に、液体供給装置2から、反応物質を含有する液体(反応物質含有液体)Aを供給し、加圧気体供給装置3から、加圧された反応気体を含有する気体(反応気体)Bを供給し、反応槽の液相C及び気相Dを形成する。
2)反応槽内の温度を、ヒーター等の加熱手段(図示せず)により所定温度まで上昇させ、また、反応槽内の圧力を、加圧気体供給装置3により所定圧力まで上昇させて、反応槽内を高温・高圧状態として、気液反応を開始する。
3)ポンプ5により、反応槽1の液相Cから反応物質含有液体Aを抜き出し、加圧して、
反応槽1の気相Dに設けた、ノズル型のマイクロナノバブル発生装置4に供給する。
4)反応物質含有液体Aの流れによって生じる負圧により、マイクロナノバブル発生装置4に、反応槽1の気相Dから反応気体Aを吸い込む。
5)このようにして、反応気体Bのマイクロナノバブルを含有させた反応物質含有液体Aは、マイクロナノバブル発生装置4の出口に設けられた配管8を通じて、液相C内に導かれて供給される。
第1実施形態では、バッチ式プロセス法の気液反応を採用し、気密に密封された反応槽1内で、高温・高圧下で気液反応を行うことにより、気液反応を工業規模で大量かつ効率的に行うことができる。
また、マイクロナノバブル発生装置4を用いて、反応気体Bのマイクロバナノブルを反応物質含有液体Aに含有させることにより、激しい撹拌を行うことなく液相Cと気相Dとの接触面積を大きくでき、気液反応を効率的・経済的に行うことができる。
また、反応気体Bのマイクロナノバブルを含有させた反応物質含有液体Aを、マイクロナノバブル発生装置4から液相C内に導いて供給することにより、液相Cを撹拌することができ、気液反応を効率的・経済的に行うことができる。
また、マイクロナノバブル発生装置4を反応槽1内に設けることにより、反応槽1内を安定的に高圧力に維持することができ、装置の設置・運転・維持を経済的・効率的に行うことができる。
さらに、マイクロナノバブル発生装置4として液流方式のものを用い、このマイクロナノバブル発生装置に反応槽1の液相Cに存在する反応物質含有液体Aを加圧して供給し、これにより生じる負圧により反応槽1の気相Dから反応気体Bを吸い込み、反応気体Bのマイクロナノバブルを含有させた反応物質含有液体Aを、液相C内に導いて供給することにより、液相Cの反応物質含有液体Aを一層効率的・経済的に撹拌することができる。
また、このようなマイクロナノバブル発生装置4を用いることにより、マイクロナノバブルの個数平均直径及び総バブル数を、マイクロナノバブル発生装置4に供給される反応物質含有液体Aの圧力、流量だけでなく、反応槽1の気相Dに存在する反応気体Bの圧力によっても調整することができる。
特に、第1実施形態のように、反応槽1の垂直方向下部から反応物質含有液体Aを抜き出し、反応槽1の垂直方向上部に設けたマイクロナノバブル発生装置4から、反応気体Bのマイクロナノバブルを含有させた反応物質含有液体Aを液相C内に導いて供給することにより、液相Cの反応物質含有液体Aを垂直上下方向に十分に撹拌することができる。
気液反応を行う反応槽1には、通常、液相Cの反応物質含有液体Aを撹拌するために、図5に示す本発明の第5実施形態のように、反応槽撹拌機7が設けられるが、第1実施形態では、反応物質含有液体Aの循環により液相Cの反応物質含有液体Aを撹拌できるので、反応槽撹拌機7を設置する必要がないか、または、設置したとしても反応槽撹拌機7の駆動に要するエネルギーを低減できるので、装置の設置・運転・維持を経済的・効率的に行うことができる。
液相Cにおける反応物質含有液体Aの撹拌状況は、反応槽1の容量、反応槽1の形状、液相Cの深さ等によって異なってくるため、液相Cの反応物質含有液体Aの撹拌を良好に行うために、マイクロナノバブル発生装置4の垂直上下方向の設置位置、傾き、設置個数等を調整・設計することができる。
マイクロナノバブル発生装置4の垂直上下方向の設置位置については、第1実施形態及び第5実施形態のように、反応槽1の気相Dに設けることもできるし、第2実施形態のように、反応槽1の液相Cに設けることもできるし、第3実施形態及び第4実施形態のように、反応槽1の気相D及び液相Cに跨がって設けることもできる。
また、マイクロナノバブル発生装置4の傾きについては、例えば、マイクロナノバブル発生装置4の傾きを、反応気体Bのマイクロバブルを含有させた反応物質含有液体Aを、反応槽1の垂直下方向に供給するように設定すれば、主として上下方向に対流するように撹拌を行うことができるし、反応気体Bのマイクロナノバブルを含有させた反応物質含有液体Aを、反応槽1の側壁の接線方向に供給するように設定すれば、螺旋状に下降するように撹拌を行うことができる。
また、マイクロナノバブル発生装置4の垂直上下方向の設置個数については、例えば、反応槽1の側壁に沿って等間隔に複数個のマイクロナノバブル発生装置4を設置するようにすれば、液相Cの反応物質含有液体Aの撹拌を均質に行うことができる。
気液反応が進行するに伴い、反応槽1の気相Dの圧力が低下してくるため、気相Dの圧力を一定に保ち、気液反応を均質・均一に行うために、反応槽1の気相Dの圧力をセンサーで計測し、この計測値に基づいて、加圧気体供給装置3からの反応気体Bの供給量を制御する供給制御装置を設けることが好ましい。
また、第1実施形態では、バッチ式プロセス法の気液反応装置を示したが、反応槽1を気密に密封された状態に保持しつつ、反応槽1の液相Cの液体を排出する排出装置を設けることにより、連続式プロセス法の気液反応装置とすることもできる。この場合には、反応物質と反応気体との反応物を含有する反応槽1の液相Cの液体を、排出装置で連続的に排出しつつ、液体供給装置2及び加圧気体供給装置3から、それぞれ、反応物質を含有する液体(反応物質含有液体)A及び加圧された反応気体を含有する気体(反応気体)Bを連続的に供給する。
反応槽1の液相Cの液位を一定に保ち、気液反応を均質・均一に行うために、前記排出装置には、反応槽1の液相Cの液位に応じて、液体供給装置2からの反応物質含有液体Aの供給量及び/または反応槽1の液相Cの液体の排出量を制御する排出制御装置を設けることが好ましい。
さらに、反応槽1の液相Cに存在する反応物質含有液体Eを、マイクロナノバブル発生装置4に加圧して供給するための手段としては、第1実施形態乃至第3実施形態、第5実施形態のように、反応槽1の外部に設けたポンプ5を用いてもよいし、第4実施形態のように、反応槽1の内部にポンプインペラ(ポンプ羽根車)を有するインターナルポンプ6を用いてもよい。インターナルポンプ6は、一般に、ポンプインペラを一端に固定したポンプシャフトと、このポンプシャフトに連結しこれを回転駆動する電動機とを備えたものであるが、これらポンプインペラ、ポンプシャフト及び電動機の全てを反応槽1の内部に配置することもできるし、ポンプシャフトを反応槽1の壁を貫通するように設け、ポンプインペラを反応槽1の内部に配置し、電動機を反応槽1の外部に配置することもできる。さらに、反応槽1の内部に設けたポンプインペラを、ポンプシャフトのようなポンプインペラに連結して回転駆動する部材に依らず、反応槽1の外部から電磁力、磁力等を印加してポンプインペラを直接回転駆動することもできる。
このように、本発明の気液反応装置及びこの気液反応装置を用いた気液反応方法は、上記第1の特徴を備えることにより、次のような優れた効果を奏するものである。
〇バッチ式または連続式プロセス法の気液反応を採用し、気密に密封された反応槽内で、高温・高圧下で気液反応を行うことにより、気液反応を工業規模で大量かつ効率的に行うことができる。
〇マイクロナノバブル発生装置を用いて、反応気体のマイクロナノバブルを反応物質含有液体に含有させることにより、激しい撹拌を行うことなく液相と気相との接触面積を大きくでき、気液反応を効率的・経済的に行うことができる。
〇反応気体のマイクロナノバブルを含有させた反応物質含有液体を、マイクロナノバブル発生装置から液相に供給することにより、液相を撹拌することができ、気液反応を効率的・経済的に行うことができる。
〇マイクロナノバブル発生装置を反応槽内に設けることにより、反応槽内を安定的に高圧力に維持でき、装置の設置・運転・維持を経済的・効率的に行うことができる。(具体的には、マイクロナノバブル発生装置の内外圧差を小さくできるため、マイクロナノバブル発生装置の壁厚を小さくできる、既存のマイクロナノバブル発生装置を耐圧構造に変更することなく使用できる等の経済的なメリットがある。また、反応槽の外部に設ける装置、配管等の部材の種類、数等を最小限にできるため、高圧による液漏洩を防止する設備・手間を最小限に抑えることができる。)さらに、マイクロナノバブル発生装置からマイクロバブルを含んだ反応物質含有液体を供給する点までの距離を最小にすることで、配管中のマイクロナノバブルの合一による効率低下を防ぐこともできる。
加えて、本発明の気液反応装置及びこの気液反応装置を用いた気液反応方法は、上記第2の特徴を備えることにより、次のような優れた効果を奏するものである。
〇液相の反応物質含有液体を一層効率的・経済的に撹拌することができる。
〇マイクロナノバブルの個数平均直径及び総バブル数を、マイクロナノバブル発生装置に供給される反応物質含有液体の圧力、流量だけでなく、反応槽の気相に存在する反応気体の圧力によっても調整することができる。
1 反応槽
2 液体供給装置
3 加圧気体供給装置
4 マイクロナノバブル発生装置
5 (反応槽の外部に設けた)ポンプ
6 (反応槽の内部に設けた)インターナルポンプ
7 反応槽撹拌機
8 反応気体のマイクロナノバブルを含有する反応物質含有液体を液相内部に導いて供給するための配管
A 反応物質を含有する液体(反応物質含有液体)
B 反応気体を含有する気体(反応気体)
C 反応槽の液相
D 反応槽の気相
E 反応槽の液相に存在する反応物質含有液体
F 反応槽の気相に存在する反応気体
G 反応気体のマイクロナノバブルを含有する反応物質含有液体
11 入口部
12 のど部
13 吸引部
14 気体入口
15 出口部
105 ポンプ
110 反応器
140 高せん断装置
207 フィルター
208 芳香族ニトロ化合物溶液
209 バイアル瓶

Claims (14)

  1. 気密に密封された反応槽と、該反応槽に反応物質を含有する液体を供給する液体供給装置と、該反応槽に加圧された反応気体を含有する気体を供給する加圧気体供給装置とを備えた気液反応装置であって、
    前記反応槽内には、前記反応の内壁面から分離してマイクロナノバブル発生装置が設けられ、
    該マイクロナノバブル発生装置には、前記反応槽の液相に存在する前記液体及び前記反応槽の気相に存在する前記気体のみが供給され、該マイクロナノバブル発生装置により、前記反応槽の液相に前記気体のマイクロナノバブルを発生させることを特徴とする気液反応装置。
  2. 前記マイクロナノバブル発生装置から、前記気体のマイクロナノバブルを含有させた前記液体を、前記反応槽の液相に供給することを特徴とする、請求項1に記載の気液反応装置。
  3. 前記マイクロナノバブル発生装置が、液流を用いて駆動する方式のものであることを特徴とする請求項1または2に記載の気液反応装置。
  4. 前記マイクロナノバブル発生装置に前記反応槽の液相に存在する前記液体を加圧して供給し、これにより生じる負圧により前記反応槽の気相から前記気体を吸い込むことにより、前記液体にマイクロナノバブルを含有させることを特徴とする、請求項1〜3のいずれかに記載の気液反応装置。
  5. 前記マイクロナノバブル発生装置が、前記反応槽の気相に設けられることを特徴とする、請求項1〜4のいずれかに記載の気液反応装置。
  6. 前記マイクロナノバブル発生装置が、前記反応槽の液相に設けられることを特徴とする、請求項1〜4のいずれかに記載の気液反応装置。
  7. 前記マイクロナノバブル発生装置が、前記反応槽の気相及び液相に跨がって設けられることを特徴とする、請求項1〜4のいずれかに記載の気液反応装置。
  8. 前記マイクロナノバブル発生装置に前記液体を加圧して供給する手段として、反応槽の外部に設置したポンプを用いることを特徴とする、請求項1〜7のいずれかに記載の気液反応装置。
  9. 前記マイクロナノバブル発生装置に前記液体を加圧して供給する手段として、反応槽の内部に設置したポンプを用いることを特徴とする、請求項1〜7のいずれかに記載の気液反応装置。
  10. 前記マイクロナノバブル発生装置に前記液体を加圧して供給する手段として、反応槽の内部に設けたポンプインペラを、反応槽の外部から電磁力、磁力等を印加して回転駆動することを特徴とする、請求項1〜7のいずれかに記載の気液反応装置。
  11. 前記加圧気体供給装置は、前記反応槽の気相における前記気体の圧力に応じて、前記気体の供給量を制御する供給制御装置を備えることを特徴とする、請求項1〜10のいずれかに記載の気液反応装置。
  12. 前記反応槽を気密に密封された状態に保持しつつ、前記反応槽の液相の前記液体を排出する排出装置を備えることを特徴とする、請求項1〜11のいずれかに記載の気液反応装置。
  13. 前記排出装置は、前記反応槽の液相の液位に応じて前記液体の排出量を制御する排出制御装置を備えることを特徴とする、請求項12に記載の気液反応装置。
  14. 前記請求項1〜13のいずれかに記載の気液反応装置により、反応物質を含有する液体と反応気体との反応を行うことを特徴とする、気液反応方法。
JP2016109180A 2016-05-31 2016-05-31 マイクロナノバブル発生装置を備えた気液反応装置及びこの気液反応装置を用いた気液反応方法 Active JP6931270B2 (ja)

Priority Applications (1)

Application Number Priority Date Filing Date Title
JP2016109180A JP6931270B2 (ja) 2016-05-31 2016-05-31 マイクロナノバブル発生装置を備えた気液反応装置及びこの気液反応装置を用いた気液反応方法

Applications Claiming Priority (1)

Application Number Priority Date Filing Date Title
JP2016109180A JP6931270B2 (ja) 2016-05-31 2016-05-31 マイクロナノバブル発生装置を備えた気液反応装置及びこの気液反応装置を用いた気液反応方法

Publications (2)

Publication Number Publication Date
JP2017213519A JP2017213519A (ja) 2017-12-07
JP6931270B2 true JP6931270B2 (ja) 2021-09-01

Family

ID=60575002

Family Applications (1)

Application Number Title Priority Date Filing Date
JP2016109180A Active JP6931270B2 (ja) 2016-05-31 2016-05-31 マイクロナノバブル発生装置を備えた気液反応装置及びこの気液反応装置を用いた気液反応方法

Country Status (1)

Country Link
JP (1) JP6931270B2 (ja)

Families Citing this family (14)

* Cited by examiner, † Cited by third party
Publication number Priority date Publication date Assignee Title
KR102114800B1 (ko) 2018-03-23 2020-05-25 김일동 나노기포 발생 장치 및 이를 이용한 구조체
EP3922625A4 (en) * 2019-02-08 2023-02-22 Daikin Industries, Ltd. PROCESS FOR THE PRODUCTION OF AN ORGANIC COMPOUND
JP7356835B2 (ja) * 2019-07-25 2023-10-05 三菱ケミカルエンジニアリング株式会社 反応生成物製造装置及び反応生成物製造方法
JP7093564B2 (ja) * 2019-08-27 2022-06-30 株式会社エム・イー・エス 感染性廃棄物の処理装置
CN112500513B (zh) * 2019-09-14 2022-12-16 南京延长反应技术研究院有限公司 一种α烯烃-氟苯乙烯聚合物的制备系统及工艺
CN112500512B (zh) * 2019-09-14 2023-03-14 南京延长反应技术研究院有限公司 一种基于本体法制备聚乙烯的强化系统及工艺
CN112827200A (zh) * 2019-11-25 2021-05-25 南京延长反应技术研究院有限公司 一种己二酸氨化制备己二腈的合成系统及方法
JP7514465B2 (ja) * 2020-03-24 2024-07-11 日本ゼオン株式会社 アミン化合物の製造方法
JP7474437B2 (ja) * 2020-03-24 2024-04-25 日本ゼオン株式会社 高分子化合物水素化物の製造方法
CN112058185A (zh) * 2020-08-18 2020-12-11 南京延长反应技术研究院有限公司 一种石油树脂加氢的反应系统及方法
CN112409158A (zh) * 2020-11-20 2021-02-26 南京延长反应技术研究院有限公司 一种甲酸的强化微界面制备系统及方法
CN113262708A (zh) * 2021-06-15 2021-08-17 浙江科菲科技股份有限公司 一种用于气液反应的多功能实验装置及其使用方法
JP2023079892A (ja) * 2021-11-29 2023-06-08 三菱ケミカル株式会社 金属錯体触媒の製造方法、アルデヒドの製造方法
JP2023079901A (ja) * 2021-11-29 2023-06-08 三菱ケミカル株式会社 アルデヒドの製造方法

Family Cites Families (17)

* Cited by examiner, † Cited by third party
Publication number Priority date Publication date Assignee Title
JPS5727774Y2 (ja) * 1977-04-11 1982-06-17
JPH02191541A (ja) * 1989-01-20 1990-07-27 Sugita Seisen Kojo:Kk 液体の酸化方法とその装置
US5159092A (en) * 1989-09-22 1992-10-27 Buss Ag Process for the safe and environmentally sound production of highly pure alkylene oxide adducts
JPH10216490A (ja) * 1997-01-31 1998-08-18 Koa Corp:Kk 気体の液体への急速混合溶解装置
JP4073072B2 (ja) * 1998-01-26 2008-04-09 Agcエンジニアリング株式会社 膜法による原水の脱塩方法および脱塩設備
JP3788019B2 (ja) * 1998-03-19 2006-06-21 三菱化学株式会社 モノエチレングリコールの製造方法
US7115670B2 (en) * 2001-05-25 2006-10-03 Bp Exploration Operating Company Limited Fischer-Tropsch synthesis process
DE60202604T2 (de) * 2001-05-25 2005-06-16 Bp Exploration Operating Co. Ltd. Fischer-tropschverfahren
JP4676151B2 (ja) * 2004-03-16 2011-04-27 三井造船株式会社 ガスハイドレート製造方法および製造装置
CN101395091A (zh) * 2006-02-02 2009-03-25 李载宪 用于废水处理的纯氧曝气系统
JP4868939B2 (ja) * 2006-05-18 2012-02-01 株式会社フジキン ガス溶液製造装置及びガス溶液製造方法
JP2011506292A (ja) * 2007-12-06 2011-03-03 シエル・インターナシヨナル・リサーチ・マートスハツペイ・ベー・ヴエー アルキレングリコールの調製のための方法
WO2009116514A1 (ja) * 2008-03-21 2009-09-24 メタウォーター株式会社 再生水の製造方法
JP5470844B2 (ja) * 2008-12-26 2014-04-16 ダイキン工業株式会社 五フッ化ヨウ素の製造方法
JP5795529B2 (ja) * 2009-03-27 2015-10-14 メタウォーター株式会社 再生水製造方法、及び再生水製造システム
JP2011032907A (ja) * 2009-07-30 2011-02-17 Shimizu Corp 揚水装置
JP2013142154A (ja) * 2012-01-11 2013-07-22 Ariga Yoko Hhoガス微細気泡混合燃料の製造装置

Also Published As

Publication number Publication date
JP2017213519A (ja) 2017-12-07

Similar Documents

Publication Publication Date Title
JP6931270B2 (ja) マイクロナノバブル発生装置を備えた気液反応装置及びこの気液反応装置を用いた気液反応方法
US7455776B2 (en) Method for mixing high viscous liquids with gas
JP4891480B2 (ja) 気−液反応、液−液反応、または気−液−固反応を連続的に行うための反応器
US20160193573A1 (en) Method and system for enhancing mass transfer in aeration/oxygenation systems
CN110709374B (zh) 氢甲酰化反应工艺
JPH04225825A (ja) 気液混合操作における液体レベルの制御
CA2670028C (en) System and method for mixing high viscous liquids with gas
US20230406802A1 (en) Hydroformylation reaction processes
CN101151093A (zh) 反应方法和装置以及使用它们制备化学物质的方法和装置
CN106061594A (zh) 一种混合装置
JP2020054976A (ja) 反応装置
JP7105445B2 (ja) 反応装置
JP2010023023A (ja) 気液反応装置及び気液反応方法
WO2020021576A1 (en) Impeller for gas induction agitator
Chaudhari et al. Novel gas-liquid-solid reactors
US10603643B2 (en) Process and device for dispersing gas in a liquid
Qin et al. Review of Micronano Bubbles: Stability, Mass Transfer Performance, and Application
JP2005279422A (ja) 酸化反応装置及び酸化反応方法
Zheng et al. Oscillating microbubbly flows generated by a fluidic oscillator: Flow behavior and mass transfer characteristics
JP7299591B2 (ja) 反応装置の運転方法
JP2004216261A (ja) ガスインジェクタ、揚液装置、攪拌装置及び気泡発生方法
JP2020054975A (ja) 反応装置
Devakumar et al. Mass transfer coefficient studies in bubble column reactor
Majumder Yeah, welcome to massive open online course on Chemical Process Intensification. Here we start the model 8 regarding interfacial area based process intensification.
KR20140032374A (ko) 개선된 산화 방법 및 반응기

Legal Events

Date Code Title Description
RD04 Notification of resignation of power of attorney

Free format text: JAPANESE INTERMEDIATE CODE: A7424

Effective date: 20170830

A621 Written request for application examination

Free format text: JAPANESE INTERMEDIATE CODE: A621

Effective date: 20190514

A977 Report on retrieval

Free format text: JAPANESE INTERMEDIATE CODE: A971007

Effective date: 20200324

A131 Notification of reasons for refusal

Free format text: JAPANESE INTERMEDIATE CODE: A131

Effective date: 20200331

A601 Written request for extension of time

Free format text: JAPANESE INTERMEDIATE CODE: A601

Effective date: 20200507

A521 Request for written amendment filed

Free format text: JAPANESE INTERMEDIATE CODE: A523

Effective date: 20200722

A131 Notification of reasons for refusal

Free format text: JAPANESE INTERMEDIATE CODE: A131

Effective date: 20201201

A601 Written request for extension of time

Free format text: JAPANESE INTERMEDIATE CODE: A601

Effective date: 20210122

A521 Request for written amendment filed

Free format text: JAPANESE INTERMEDIATE CODE: A523

Effective date: 20210324

TRDD Decision of grant or rejection written
A01 Written decision to grant a patent or to grant a registration (utility model)

Free format text: JAPANESE INTERMEDIATE CODE: A01

Effective date: 20210803

A61 First payment of annual fees (during grant procedure)

Free format text: JAPANESE INTERMEDIATE CODE: A61

Effective date: 20210813

R150 Certificate of patent or registration of utility model

Ref document number: 6931270

Country of ref document: JP

Free format text: JAPANESE INTERMEDIATE CODE: R150

R250 Receipt of annual fees

Free format text: JAPANESE INTERMEDIATE CODE: R250