JP6912552B2 - 空力抵抗を低下させる移行領域を備えたゴルフクラブヘッド - Google Patents

空力抵抗を低下させる移行領域を備えたゴルフクラブヘッド Download PDF

Info

Publication number
JP6912552B2
JP6912552B2 JP2019234499A JP2019234499A JP6912552B2 JP 6912552 B2 JP6912552 B2 JP 6912552B2 JP 2019234499 A JP2019234499 A JP 2019234499A JP 2019234499 A JP2019234499 A JP 2019234499A JP 6912552 B2 JP6912552 B2 JP 6912552B2
Authority
JP
Japan
Prior art keywords
crown
sole
curvature
radius
club head
Prior art date
Legal status (The legal status is an assumption and is not a legal conclusion. Google has not performed a legal analysis and makes no representation as to the accuracy of the status listed.)
Active
Application number
JP2019234499A
Other languages
English (en)
Other versions
JP2020089737A (ja
Inventor
エム. ストック ライアン
エム. ストック ライアン
ゴーズ シナ
ゴーズ シナ
Original Assignee
カーステン マニュファクチュアリング コーポレーション
カーステン マニュファクチュアリング コーポレーション
Priority date (The priority date is an assumption and is not a legal conclusion. Google has not performed a legal analysis and makes no representation as to the accuracy of the date listed.)
Filing date
Publication date
Application filed by カーステン マニュファクチュアリング コーポレーション, カーステン マニュファクチュアリング コーポレーション filed Critical カーステン マニュファクチュアリング コーポレーション
Publication of JP2020089737A publication Critical patent/JP2020089737A/ja
Priority to JP2021113602A priority Critical patent/JP7247275B2/ja
Application granted granted Critical
Publication of JP6912552B2 publication Critical patent/JP6912552B2/ja
Active legal-status Critical Current
Anticipated expiration legal-status Critical

Links

Images

Classifications

    • AHUMAN NECESSITIES
    • A63SPORTS; GAMES; AMUSEMENTS
    • A63BAPPARATUS FOR PHYSICAL TRAINING, GYMNASTICS, SWIMMING, CLIMBING, OR FENCING; BALL GAMES; TRAINING EQUIPMENT
    • A63B53/00Golf clubs
    • A63B53/04Heads
    • A63B53/0466Heads wood-type
    • AHUMAN NECESSITIES
    • A63SPORTS; GAMES; AMUSEMENTS
    • A63BAPPARATUS FOR PHYSICAL TRAINING, GYMNASTICS, SWIMMING, CLIMBING, OR FENCING; BALL GAMES; TRAINING EQUIPMENT
    • A63B53/00Golf clubs
    • A63B53/04Heads
    • A63B53/0408Heads characterised by specific dimensions, e.g. thickness
    • AHUMAN NECESSITIES
    • A63SPORTS; GAMES; AMUSEMENTS
    • A63BAPPARATUS FOR PHYSICAL TRAINING, GYMNASTICS, SWIMMING, CLIMBING, OR FENCING; BALL GAMES; TRAINING EQUIPMENT
    • A63B53/00Golf clubs
    • A63B53/04Heads
    • A63B53/0433Heads with special sole configurations
    • AHUMAN NECESSITIES
    • A63SPORTS; GAMES; AMUSEMENTS
    • A63BAPPARATUS FOR PHYSICAL TRAINING, GYMNASTICS, SWIMMING, CLIMBING, OR FENCING; BALL GAMES; TRAINING EQUIPMENT
    • A63B2225/00Miscellaneous features of sport apparatus, devices or equipment
    • A63B2225/01Special aerodynamic features, e.g. airfoil shapes, wings or air passages
    • AHUMAN NECESSITIES
    • A63SPORTS; GAMES; AMUSEMENTS
    • A63BAPPARATUS FOR PHYSICAL TRAINING, GYMNASTICS, SWIMMING, CLIMBING, OR FENCING; BALL GAMES; TRAINING EQUIPMENT
    • A63B53/00Golf clubs
    • A63B53/04Heads
    • A63B53/0437Heads with special crown configurations

Landscapes

  • Health & Medical Sciences (AREA)
  • General Health & Medical Sciences (AREA)
  • Physical Education & Sports Medicine (AREA)
  • Life Sciences & Earth Sciences (AREA)
  • Engineering & Computer Science (AREA)
  • Wood Science & Technology (AREA)
  • Golf Clubs (AREA)

Description

関連出願の相互参照
本願は、参照によりその全体を本明細書に組み込む、2015年8月13日出願の米国仮特許出願第62/204911号、および2016年7月22日出願の米国仮特許出願第62/365889号の優先権を主張するものである。
本開示は、ゴルフクラブヘッドに関する。特に、本願は、スイング中の空力抵抗を低下させるための移行領域を有するゴルフクラブヘッドに関する。
ゴルフクラブの製造業者は、ゴルフクラブヘッドの上および周囲の気流を改善する空力特性を備えたゴルフクラブヘッドを設計している。スイング中に空気がゴルフクラブヘッドの周囲を流れると、乱気流、または擾乱気流領域が、クラブヘッドの背後に形成される。多くの場合、この乱気流が、クラブヘッド上に抵抗力を生じ、それによりスイング中の全体を通じてゴルフクラブヘッドの速度を低下させる。ゴルフクラブヘッドの移行プロフィルは、スイング中にクラブヘッドに加わる抵抗力に大きく寄与する可能性がある。したがって、当技術分野では、スイング中にクラブヘッドに加わる空力抵抗を低下させる移行領域を有するゴルフクラブヘッドが必要とされている。
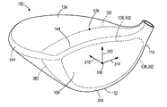
例示的なゴルフクラブヘッドを示す正面図である。
図1のゴルフクラブヘッドを示す横断面図である。
図1のゴルフクラブヘッドを示す正面斜視図である。
図1のゴルフクラブヘッドのクラウン移行プロフィルを示す拡大横断面図である。
図1のゴルフクラブヘッドのクラウン移行プロフィルを示す別の拡大横断面図である。
様々なクラウン移行プロフィルを有する複数の例示的なゴルフクラブヘッドの空力試験から得られる抵抗係数のデータを示す図である。
図5のゴルフクラブヘッドの空力試験から得られるデータの近似曲線を示す図である。
様々なクラウン移行プロフィルの長さを有する複数の例示的なゴルフクラブヘッドの空力試験から得られる抵抗係数の空力データを示す図である。
図1のゴルフクラブヘッドのソール移行プロフィルを示す拡大横断面図である。
図1のゴルフクラブヘッドのソール移行プロフィルを示す別の拡大横断面図である。
様々なソール移行プロフィルを有する複数の例示的なゴルフクラブヘッドの空力試験から得られるデータの近似曲線を示す図である。
図1のゴルフクラブヘッドのリア移行プロフィルを示す拡大横断面図である。
様々なリア移行プロフィルを有する複数の例示的なゴルフクラブヘッドの空力試験のデータを示す図である。
図1のゴルフクラブヘッドを製造する方法を示す図である。
本開示の他の態様は、詳細な説明および添付の図面を考慮すれば、明らかになるであろう。
図示を簡潔かつ明瞭にするために、図面は、大まかな構造を示しており、周知の特徴および技術の説明および詳細は、本開示を不要に曖昧にすることを避けるために省略することがある。さらに、図面中の要素は、必ずしも一定の縮尺で描かれているわけではない。例えば、本開示の実施形態がより理解しやすいように、これらの図面中の一部の要素の寸法が、他の要素と比べて強調してあることもある。異なる図面でも、同じ参照番号は、同じ要素を指している。
本明細書に記載するのは、スイング中にクラブヘッドに加わる空力抵抗を低下させる様々な移行プロフィルを有するゴルフクラブヘッドの実施形態である。移行プロフィルは、ゴルフクラブヘッドに加わる空力抵抗に有意に寄与する。多くの実施形態では、クラブヘッドは、クラウン移行プロフィルと、ソール移行プロフィルと、リア移行プロフィルとを含んで、クラブヘッドのこれらの移行領域によって得られる抵抗の低下を最大限に高めている。多くの実施形態では、クラウン移行プロフィルは、約0.18から0.30インチ(0.46から0.76cm)の間の第1のクラウン曲率半径を含み、ソール移行プロフィルは、約0.3から0.5インチ(0.76から1.27cm)の間の第1のソール曲率半径を含み、リア移行プロフィルは、約0.10から0.25インチ(0.25から0.64cm)の間のリア曲率半径を含んで、クラブヘッドに加わる空力抵抗を低下させる。
空力抵抗を低下させる移行領域を有する本明細書に記載するゴルフクラブヘッドの様々な実施形態は、本体および打撃面を有するゴルフクラブを含む。打撃面は、上縁部と、底縁部と、幾何学的中心とを含む。打撃面は、幾何学的中心を通って延びる打撃面に接して位置するロフト平面を規定する。本体は、前端部と、前端部の反対側の後端部と、ヒールと、ヒールの反対側のトウと、頂点およびクラウン移行プロフィルを有するクラウンと、最下点およびソール移行プロフィルを有するソールと、リア移行プロフィルを有する後端部またはスカートとを含む。クラウン移行プロフィルは、打撃面の上縁部から第1のクラウン移行点まで延びる第1のクラウン曲率半径を含み、この第1のクラウン曲率半径は、約0.18インチから約0.30インチ(0.46cmから0.76cm)の間である。ソール移行プロフィルは、打撃面の底縁部から第1のソール移行点まで延びる第1のソール曲率半径を含み、この第1のソール曲率半径は、約0.30インチから約0.50インチ(0.76cmから1.27cm)の間である。リア移行プロフィルは、約0.10インチから約0.25インチ(0.25cmから0.64cm)の間のリア曲率半径を含む。
いくつかの実施形態は、ゴルフクラブヘッドと、ゴルフクラブヘッドに結合されたシャフトとを含むゴルフクラブを含む。クラブヘッドは、本体と、打撃面とを含む。打撃面は、上縁部と、底縁部と、幾何学的中心とを含む。打撃面は、幾何学的中心を通って延びるロフト平面であって、打撃面に接して位置するロフト平面を規定する。本体は、前端部と、前端部の反対側の後端部と、ヒールと、ヒールの反対側のトウと、頂点およびクラウン移行プロフィルを有するクラウンと、最下点およびソール移行プロフィルを有するソールと、リア移行プロフィルを有する後端部またはスカートとを含む。クラウン移行プロフィルは、打撃面の上縁部から第1のクラウン移行点まで延びる第1のクラウン曲率半径を含み、この第1のクラウン曲率半径は、約0.18インチ(0.46cm)から約0.30インチ(0.76cm)の間である。ソール移行プロフィルは、打撃面の底縁部から第1のソール移行点まで延びる第1のソール曲率半径を含み、この第1のソール曲率半径は、約0.30インチ(0.76cm)から約0.50インチ(1.27cm)の間である。リア移行プロフィルは、約0.10インチ(0.25cm)から約0.25インチ(0.64cm)の間のリア曲率半径を含む。
本明細書および特許請求の範囲における「第1」、「第2」、「第3」、および「第4」などの用語は、同様の要素を区別するために使用しているものであり、必ずしも特定の順番または時間的順序を述べるために使用しているものではない。このように使用される用語は、適当な状況下では入れ替えることができ、本明細書に記載する実施形態は、例えば図示するなどして本明細書に記載する順番以外の順番で動作することができることを理解されたい。さらに、「含む」および「有する」という用語、ならびにそれらの変形は、非排他的な包含をカバーするものであり、列挙される要素を含むプロセス、方法、システム、物品、デバイス、または装置は、必ずしもそれらの要素に限定されず、明示的には列挙されていない他の要素、あるいはそれらのプロセス、方法、システム、物品、デバイス、または装置に固有の他の要素を含む可能性がある。
本明細書および特許請求の範囲における「左」、「右」、「前」、「後」、「上」、「底」、「の上」、および「の下」などの用語は、説明のために使用しているものであり、必ずしも恒久的な相対位置を述べるために使用しているものではない。このように使用される用語は、適当な状況下では入れ替えることができ、本明細書に記載する装置、方法、および/または製造物品の実施形態は、例えば図示するなどして本明細書に記載する配向以外の配向で動作することができることを理解されたい。
本明細書で規定する「スプライン法」は、表面の曲率が変化する位置を決定する方法を指す。例えば、スプライン法を使用して、クラブヘッドの前端部の曲率が打撃面のバルジおよびロールから逸脱する箇所を決定することができる。スプライン法は、曲率の有意な変化が始まる箇所をスプラインが示すように、間隔をおいて湾曲表面にスプラインを適用することによって、実施することができる。
本開示の実施形態について詳細に説明する前に、本開示が、その適用の際に、以下の説明に記載される、または以下の図面に図示される構造の詳細および構成要素の配列に限定されないことを理解されたい。本開示は、他の実施形態も可能であり、様々な方法で実施または実行することができる。
図1から図2は、本体104と打撃面108とを含むゴルフクラブヘッド100を示す図である。本体104は、前端部112と、前端部112の反対側の後端部114と、ヒール116と、ヒール116の反対側のトウ120と、頂点128を有するクラウン124と、クラウン124の反対側のソール132とを含む。
図1を参照すると、打撃面108は、上縁部136と、底縁部138と、幾何学的中心140とを含む。上縁部136は、曲率が打撃面108のバルジおよびロールから逸脱する箇所に、クラウン124の付近の打撃面108の前端部112に沿って延びる。底縁部138は、曲率が打撃面108のバルジおよびロールから逸脱する箇所に、ソール132の付近の打撃面108の前端部112に沿って延びる。いくつかの実施形態では、スプライン法を使用して、上縁部136または底縁部138において曲率が打撃面108のバルジおよびロールから逸脱する箇所を決定することができる。
打撃面108の幾何学的中心140は、打撃面108の幾何学的中心点に位置することができる。これと同じ、またはその他の例では、幾何学的中心140は、打撃面108の溝の領域によって規定することができる、工学的インパクトゾーンに対して心合わせすることもできる。別の手法として、打撃面108の幾何学的中心140は、全米ゴルフ協会(USGA)などのゴルフ統括団体の規定に従って位置付けることができる。例えば、打撃面108の幾何学的中心140は、USGAのゴルフクラブヘッドの可撓性を測定する手順(USGA−TPX3004、Rev.1.0.0、2008年5月1日)(http://www.usga.org/equipment/testing/protocols/ Procedure−For−Measuring−The−Flexibility−Of−A−Golf−Club−Head/で入手可能)(「可撓性手順」)のセクション6.1に従って決定することができる。
さらに図1を参照すると、打撃面108の幾何学的中心140は、x軸314、y軸316、およびz軸318を有する座標系の原点を規定する(図3)。x軸314は、打撃面108の幾何学的中心140を通って、クラブヘッド100のヒール116の付近からトウ120の付近まで、基面312と平行な方向に延びる。y軸316は、打撃面108の幾何学的中心140を通って、クラブヘッド100のクラウン124の付近からソール132の付近まで、基面312に対して直交する方向に延びる。z軸318(図3)は、打撃面108の幾何学的中心140を通って、クラブヘッド100の前端部112から後端部114まで、基面312と平行な方向に延びる。
本明細書に記載するゴルフクラブヘッド100は、いかなるタイプのゴルフクラブヘッドであってもよい。図示の実施形態では、このゴルフクラブヘッドは、ドライバータイプのゴルフクラブヘッドとして示してある。他の実施形態では、ゴルフクラブヘッドは、ウッドタイプのゴルフクラブヘッドであっても、ハイブリッドタイプのゴルフクラブヘッドであっても、アイアンタイプのゴルフクラブヘッドであっても、あるいはその他の任意のタイプのゴルフクラブヘッドであってもよい。さらに、本明細書に記載するゴルフクラブヘッド100は、シャフトおよびグリップ(図示せず)を有するゴルフクラブの一部とすることができる。
図1から図2は、基面312を基準とするアドレス位置にあるクラブヘッド100を示している。このアドレス位置では、ホーゼルの中心を通って延びるホーゼル軸は、正面図(図1)で見たときに基面に対して60度の角度をなして位置決めされる。さらに、クラブヘッド100は、以下でさらに詳細に述べるように、打撃面108の幾何学的中心140に接して延びるロフト平面160と、クラウン移行領域144、ソール移行領域344、およびリア移行領域544を含む複数の移行領域とを含む。
I.クラウン移行領域
図1を参照すると、クラウン移行領域144は、クラブヘッド100の打撃面108とクラウン124の間で、ヒール116の付近からトウ120の付近まで延びている。本明細書では、ゴルフクラブヘッド100のクラウン移行領域144について、以下のように様々な基準面および軸に関連して、さらに説明する。
さらに図1を参照すると、ゴルフクラブヘッド100は、本体104の前端部112に沿ってヒール116からトウ120まで延びる湾曲軸150を含む。図示の実施形態では、湾曲軸150は、打撃面108の上縁部136に沿って延びる。他の実施形態では、湾曲軸150は、打撃面108の上縁部136からクラウン124寄りにずれていてもよい。湾曲軸150の打撃面108の上縁部136からのずれの距離は、ヒール116からトウ120まで進む間、一定であることもあれば、ヒール116からトウ120まで進む間に変化することもある。例えば、湾曲軸150は、中心付近で、ヒール116付近で、トウ120付近で、またはクラブヘッド100上のこれらの位置の任意の組合せで、より大きな距離だけ、またはより小さな距離だけ、打撃面108の上縁部136からずれていることもある。
図2および図3を参照すると、ゴルフクラブヘッド100は、クラウン平面170と、頂点平面180とをさらに含む。クラウン平面170は、クラウン124の頂点128を通って、ロフト平面160に対して直交して延びる。頂点平面180は、クラウン124の頂点128を通って、ロフト平面160と平行に延びる。頂点平面180とクラブヘッド100のクラウン124との交差線が、さらに湾曲クラウン軸182を規定する。
図1から図2を参照すると、クラウン移行領域144は、クラブヘッド100の前端部112の上縁部136から、クラブヘッド100のクラウン124に沿って頂点平面180まで延びる。クラウン移行領域144は、y軸316およびz軸318によって画定される平面に沿った横断面図(図3)で見たときに、クラウン移行プロフィル184を含む。これらの実施形態では、クラウン移行プロフィル184の横断面図は、クラブヘッド100に沿ったヒール116の付近からトウ120の付近までの任意の点で取ることができる。
i.クラウン移行プロフィルの高さおよび長さ
図2および図3を参照すると、クラウン移行プロフィル184は、高さ188、および長さ192を含む。クラウン移行プロフィル184の高さ188は、ロフト平面160と平行な方向の、上縁部136からクラウン軸182までの距離である。クラウン移行プロフィル184の長さ192は、ロフト平面160から頂点平面180までの直交距離である。
図2を参照すると、図示の実施形態では、クラウン移行プロフィル184の長さ192は、約1.13から約1.34インチ(2.87から3.4cm)の範囲である。他の実施形態では、クラウン移行プロフィル184の長さ192は、0.90から1.75インチ(2.29から4.45cm)の範囲とすることができる。例えば、クラウン移行プロフィル184の長さ192は、約0.90インチ(2.29cm)、約0.95インチ(2.41cm)、約1.00インチ(2.54cm)、約1.05インチ(2.67cm)、約1.10インチ(2.79cm)、約1.15インチ(2.92cm)、約1.20インチ(3.05cm)、約1.25インチ(3.18cm)、約1.30インチ(3.30cm)、約1.35インチ(3.43cm)、約1.40インチ(3.56cm)、約1.45インチ(3.68cm)、約1.50インチ(3.81cm)、約1.55インチ(3.94cm)、約1.60インチ(4.06cm)、約1.65インチ(4.19cm)、約1.70インチ(4.32cm)、または約1.75インチ(4.45cm)であることがある。
さらに図2を参照すると、図示の実施形態では、クラウン移行プロフィル184の高さ188は、約0.410から約0.470インチ(1.04から1.19cm)の範囲である。他の実施形態では、クラウン移行プロフィル184の長さ188は、0.30から0.60インチ(0.76から1.52cm)の範囲とすることができる。例えば、クラウン移行プロフィル184の高さ188は、約0.30インチ(0.76cm)、約0.35インチ(0.89cm)、約0.40インチ(1.02cm)、約0.45インチ(1.14cm)、約0.50インチ(1.27cm)、約0.55インチ(1.40cm)、または約0.60インチ(1.52cm)であることがある。
クラブヘッド100は、クラウン移行プロフィル184の高さ188に対する長さ192の第1の比をさらに含む。図示の実施形態では、クラウン移行プロフィル184の第1の比は、約2.75から約3.0の範囲である。他の実施形態では、クラウン移行プロフィル184の第1の比は、約2.5から約3.25の範囲とすることができる。さらに、他の実施形態では、クラウン移行プロフィル184の第1の比は、約3.50未満、約3.25未満、または約3.0未満の任意の値とすることができる。例えば、クラウン移行プロフィル184の第1の比は、約3.50以下、約3.25以下、約3.00以下、約2.75以下、または約2.50以下であることがある。
クラブヘッドに加わる空力抵抗は、クラウン移行プロフィルの第1の比が値1.0に近づくにつれて(すなわちクラウン移行プロフィルの長さがクラウン移行プロフィルの高さに近づくにつれて、またはクラウン移行プロフィルの高さがクラウン移行プロフィルの長さに近づくにつれて)低下する。本明細書に記載するクラブヘッド100のクラウン移行プロフィル184の第1の比は、他の既知のゴルフクラブヘッドのクラウン移行プロフィルの第1の比より小さい。したがって、本明細書に記載するクラブヘッド100は、他の既知のゴルフクラブヘッドより空力抵抗がより小さく、したがって、スイング速度およびボール飛距離が大きい。
ii.クラウン移行プロフィルの移行点および曲率半径
図4を参照すると、クラウン移行プロフィル184は、複数の曲率半径、および複数の移行点をさらに含む。移行点は、クラウン移行プロフィル184の曲率半径の変化を示す。図示の実施形態では、クラウン移行プロフィル184は、第1のクラウン移行点212と、第2のクラウン移行点222と、第1のクラウン曲率半径214と、第2のクラウン曲率半径224とを含む。第1のクラウン移行点212は、第1のずれ距離216だけロフト平面160からずれている。第2のクラウン移行点222は、第2のずれ距離226だけロフト平面160からずれている。第2のずれ距離226は、第1のずれ距離216より大きい。第1のクラウン曲率半径214は、上縁部136から第1のクラウン移行点212まで延びる。第2のクラウン曲率半径224は、第1のクラウン移行点212から第2のクラウン移行点222まで延びる。
図4を参照すると、図示の実施形態では、第1のずれ距離216および第2のずれ距離226は、クラブヘッド100のヒール116からトウ120まで実質的に一定である。他の実施形態では、第1のずれ距離216が、クラブヘッド100のヒール116からトウ120までの間に変化することもある。例えば、第1のずれ距離216は、クラブヘッド100のヒール116に向かって大きくなる、クラブヘッド100のトウ120に向かって大きくなる、クラブヘッド100の中心で大きくなる、または上記の位置の任意の組合せで大きくなることがある。第1のずれ距離216は、例えば直線的、放物線的、2次曲線的、指数関数的、またはその他の任意のプロフィルなど、任意のプロフィルに従って、ヒール116からトウ120までの間で変化することができる。
他の実施形態では、第2のずれ距離226が、クラブヘッド100のヒール116からトウ120までの間に変化することもある。例えば、第2のずれ距離226は、クラブヘッド100のヒール116に向かって大きくなる、クラブヘッド100のトウ120に向かって大きくなる、クラブヘッド100の中心で大きくなる、または上記の位置の任意の組合せで大きくなることがある。第2のずれ距離226は、例えば直線的、放物線的、2次曲線的、指数関数的、またはその他の任意のプロフィルなど、任意のプロフィルに従って、ヒール116からトウ120までの間で変化することができる。
図示の実施形態では、クラウン移行プロフィル184は、約0.24インチ(0.61cm)の第1のクラウン曲率半径214を有する。他の実施形態では、第1のクラウン曲率半径214は、約0.18から約0.30インチ(0.46から0.76cm)の範囲とすることができる。さらに、他の実施形態では、第1のクラウン曲率半径214は、0.40インチ(1.02cm)未満、0.375インチ(0.95cm)未満、0.35インチ(0.89cm)未満、0.325インチ(0.83cm)未満、または0.30インチ(0.76cm)未満とすることができる。例えば、第1のクラウン曲率半径214は、約0.18インチ(0.46cm)、約0.20インチ(0.51cm)、約0.22インチ(0.56cm)、約0.24インチ(0.61cm)、約0.26インチ(0.66cm)、約0.28インチ(0.71cm)、または約0.30インチ(0.76cm)とすることができる。
図4を参照すると、図示の実施形態では、第1のクラウン曲率半径214および第2のクラウン曲率半径224は、クラブヘッド100のヒール116からトウ120まで実質的に一定である。他の実施形態では、第1のクラウン曲率半径214が、クラブヘッド100のヒール116からトウ120までの間に変化することもある。例えば、第1のクラウン曲率半径214は、クラブヘッド100のヒール116に向かって大きくなる、クラブヘッド100のトウ120に向かって大きくなる、クラブヘッド100の中心で大きくなる、または上記の位置の任意の組合せで大きくなることがある。第1のクラウン曲率半径214は、例えば直線的、放物線的、2次曲線的、指数関数的、またはその他の任意のプロフィルなど、任意のプロフィルに従って、ヒール116からトウ120までの間で変化することができる。
さらに、他の実施形態では、第2のクラウン曲率半径224が、クラブヘッド100のヒール116からトウ120までの間に変化することもある。例えば、第2のクラウン曲率半径224は、クラブヘッド100のヒール116に向かって大きくなる、クラブヘッド100のトウ120に向かって大きくなる、クラブヘッド100の中心で大きくなる、または上記の位置の任意の組合せで大きくなることがある。第2のクラウン曲率半径224は、例えば直線的、放物線的、2次曲線的、指数関数的、またはその他の任意のプロフィルなど、任意のプロフィルに従って、ヒール116からトウ120までの間で変化することができる。
図示の実施形態では、クラウン移行プロフィル184は、2つの移行点、および2つの曲率半径を有する。他の実施形態では、クラウン移行プロフィル184は、任意数の移行点、および任意数の曲率半径を含むことができる。例えば、クラウン移行プロフィル184は、1個、2個、3個、4個、5個、6個、7個、8個、9個、10個、またはその他の任意数の移行点を含むことができる。さらに別の例では、クラウン移行プロフィル184は、1個、2個、3個、4個、5個、6個、7個、8個、9個、10個、またはその他の任意数の曲率半径を含むことができる。
第1のクラウン曲率半径214による空力抵抗の低下を、様々な第1のクラウン曲率半径を有する様々な例示的なクラブヘッドについて風洞試験を用いて決定した。図6から図7を参照すると、約0.04インチ(0.10cm)の第1のクラウン曲率半径を有する第1のクラブヘッド310、約0.24インチ(0.61cm)の第1のクラウン曲率半径を有する第2のクラブヘッド320、および約0.44インチ(1.12cm)の第1のクラウン曲率半径を有する第3のクラブヘッド330を、風洞で試験した。抵抗係数を用いて測定した最低の空力抵抗は、インパクト時にオープンフェースである場合およびクローズドフェースである場合の両方について、約0.24インチ(0.61cm)の第1のクラウン曲率半径を有する第2のクラブヘッド320で観測された。さらに、他の実施形態では、最低の空力抵抗は、0.20インチ(0.51cm)から0.28インチ(0.71cm)の間の第1のクラウン曲率半径で観測される可能性がある。
図6および図7は、第1のクラウン曲率半径を増大させても、必ずしも抵抗の低下をもたらすとは限らないことを示している。例えば、第1のクラウン曲率半径を増大させると、抵抗が増大することも、抵抗が低下することもある。同様に、第1のクラウン曲率半径を減少させても、必ずしも抵抗の増大をもたらすとは限らない。例えば、第1のクラウン曲率半径を減少させると、抵抗が増大することも、抵抗が低下することもある。図示の例では、第1のクラウン曲率半径が0.04インチ(0.10cm)から0.24インチ(0.61cm)に増大すると、第1のクラウン曲率半径が0.04インチ(0.10cm)から0.44インチ(1.12cm)に増大するときよりも大幅に抵抗が低下する。さらに、第1のクラウン曲率半径が0.24インチ(0.61cm)から0.44インチ(1.12cm)に増大すると、クラブヘッド100に加わる抵抗が増大する。したがって、インパクト時にオープンフェースである場合およびクローズドフェースである場合の両方について、クラブヘッド100に加わる空力抵抗を低下させるための最適な第1のクラウン曲率半径が存在する。図7は、約0.20インチ(0.51cm)から約0.28インチ(0.71cm)の間の第1のクラウン曲率半径がクラブヘッド100に加わる抵抗の最大の低下をもたらすことを決定する図6のデータに適合する曲線を示している。
iii.クラウン移行プロフィルの角度
図5を参照すると、クラウン移行プロフィル184は、さらに、頂点128およびロフト平面160に対する第1のクラウン移行点212および第2のクラウン移行点222の位置によって特徴付けることができる。y軸316およびz軸318によって画定される平面に沿った横断面図で見ると、クラウン移行プロフィル184は、第1の軸250と、第2の軸260と、第1の角度252と、第2の角度262とを含む。第1の軸250は、第1のクラウン移行点212および第2のクラウン移行点222を通って延び、ロフト平面160との間に第1の角度252を形成する。第2の軸260は、第1のクラウン移行点212および頂点128を通って延び、ロフト平面160との間に第2の角度262を形成する。図示の実施形態では、クラウン移行プロフィル184の第1の角度252は、約111.0から約114.5度の範囲であり、クラウン移行プロフィル184の第2の角度262は、103.5から105度の範囲である。他の実施形態では、クラウン移行プロフィル184の第1の角度252は、約100から約125度の範囲であることもあり、クラウン移行プロフィル184の第2の角度262は、90から120度の範囲であることもある。他の実施形態では、クラウン移行プロフィル184の第2の角度262は、98度より大きい、100度より大きい、または102度より大きい任意の値とすることができる。
iv.クラウン移行プロフィルによって得られる空力的改善
本明細書に記載するクラウン移行プロフィル184を有するゴルフクラブヘッド100を、風洞試験中にコントロールのゴルフクラブヘッドと比較した。コントロールのゴルフクラブヘッドは、約3.50から約3.52の第1の比と、約1.12から約1.19インチ(2.84から3.02cm)の長さと、約0.32から約0.34インチ(0.81から0.86cm)の高さを有するクラウン移行プロフィルを有していた。同じ試験パラメータ(例えば風速、クラブヘッド位置)を使用して、両ゴルフクラブヘッドについて空力抵抗を決定した。本明細書に記載するクラウン移行プロフィル184を有するクラブヘッド100は、受ける抵抗がコントロールのゴルフクラブヘッドよりも34.0から39.4%低く、平均のインパクト時のクラブヘッド速度で、平均抵抗低下は約35.9%であった。クラウン移行プロフィル184によって得られるクラブヘッド100の空力抵抗の低下が、スイング速度およびボール飛距離の増大をもたらす。
v.頂点距離
再び図2および図3を参照すると、クラブヘッド100の頂点128は、ロフト平面160に対して直交する方向に測定した頂点距離だけ、ロフト平面160からずれている。図示の実施形態では、頂点距離は、約1.0インチ(2.54cm)である。他の実施形態では、頂点距離は、約0.8インチ(2.03cm)から約1.4インチ(3.56cm)の範囲、約0.9インチ(2.29cm)から約1.3インチ(3.3cm)の範囲、または約1.0インチ(2.54cm)から約1.2インチ(3.05cm)の範囲であることもある。例えば、頂点距離は、約0.9インチ(2.29cm)、約1.0インチ(2.54cm)、約1.1インチ(2.79cm)、約1.2インチ(3.05cm)、約1.3インチ(3.30cm)、または約1.4インチ(3.56cm)とすることができる。
多くの実施形態では、空力抵抗の低下は、頂点距離を変化させることによって得ることができる。頂点距離による空力抵抗の低下を、様々な頂点距離を有する様々な例示的なクラブヘッドについて風洞試験を用いて決定した。図8を参照すると、約0.5インチ(1.27cm)の頂点距離を有する第1のクラブヘッド、約1.0インチ(2.54cm)の頂点距離を有する第2のクラブヘッド、および約1.5インチ(3.81cm)の頂点距離を有する第3のクラブヘッドを、風洞で試験した。抵抗係数を用いて測定した最低の空力抵抗は、約1.0インチ(2.54cm)の頂点距離を有する第2のクラブヘッドで観測された。
図8は、頂点距離を増大させても、必ずしも抵抗の低下をもたらすとは限らないことを示している。例えば、頂点距離を増大させると、抵抗が増大することも、抵抗が低下することもある。同様に、頂点距離を減少させても、必ずしも抵抗の増大をもたらすとは限らない。例えば、頂点距離を減少させると、抵抗が増大することも、抵抗が低下することもある。図示の例では、頂点距離が0.5インチ(1.27cm)から1.0インチ(2.54cm)に増大すると、頂点距離が0.5インチ(1.27cm)から1.5インチ(3.81cm)に増大するときよりも大幅に抵抗が低下する。さらに、頂点距離が1.0インチ(2.54cm)から1.5インチ(3.81cm)に増大すると、クラブヘッド100に加わる抵抗が増大する。したがって、クラブヘッド100に加わる空力抵抗を低下させるための最適な頂点距離が存在する。
vi.ヒールトウ曲率半径
再度図1を参照すると、クラウン移行プロフィル184に加えて、クラブヘッド100は、正面図で見たときにヒール116の付近からトウ120の付近まで延びる、前端部112に位置するヒールトウ曲率半径をさらに含む。多くの実施形態では、ヒールトウ曲率半径を増大させることによって、スイング中のクラブヘッド100の空力抵抗をさらに低下させることができる。
ヒールトウ曲率半径は、3点法を使用して決定することができる。3点法は、クラブヘッド100の前端部112上に上縁部136に沿って3つの点を位置決めすることを含む。3つの点は、x軸314の方向に打撃面108の幾何学的中心140と整列して上縁部136に沿って位置決めされた第1の点272と、x軸314の方向に打撃面108の幾何学的中心140からクラブヘッド100のヒール116に向かって1.0インチ(2.54cm)だけずらして上縁部136に沿って位置決めされた第2の点274と、x軸314の方向に打撃面108の幾何学的中心140からクラブヘッド100のトウ120に向かって1.0インチ(2.54cm)だけずらして上縁部136に沿って位置決めされた第3の点276とを含む。第1の点、第2の点、および第3の点と交わるように形成された円の半径が、クラブヘッド100の前端部112のヒールトウ曲率半径を規定する。
図示の実施形態では、ヒールトウ曲率半径は、打撃面108の上縁部136全体に沿って、ヒール116の付近からトウ120の付近まで延びている。他の実施形態では、ヒールトウ曲率半径は、打撃面108の上縁部136の一部に沿って延びることもある。
ヒールトウ曲率半径を増大させることによって、スイング中にゴルフクラブヘッドに加わる空力抵抗を低下させることができる。図示の実施形態では、ヒールトウ曲率半径を約6.325インチ(16.07cm)にして、それよりも小さいヒールトウ曲率半径を有する同様のクラブヘッドと比較して空力抵抗を低下させている。他の実施形態では、約4.9インチ(12.4cm)より大きいヒールトウ曲率半径、約5.2インチ(13.2cm)より大きいヒールトウ曲率半径、約5.5インチ(14.0cm)より大きいヒールトウ曲率半径、約5.8インチ(14.7cm)より大きいヒールトウ曲率半径、約6.0インチ(15.2cm)より大きいヒールトウ曲率半径、約6.1インチ(15.5cm)より大きいヒールトウ曲率半径、約6.2インチ(15.7cm)より大きいヒールトウ曲率半径、約6.3インチ(16.0cm)より大きいヒールトウ曲率半径、約6.4インチ(16.3cm)より大きいヒールトウ曲率半径、約6.5インチ(16.5cm)より大きいヒールトウ曲率半径、約6.6インチ(16.8cm)より大きいヒールトウ曲率半径、約6.7インチ(17.0cm)より大きいヒールトウ曲率半径、約6.8インチ(17.3cm)より大きいヒールトウ曲率半径、約6.9インチ(17.5cm)より大きいヒールトウ曲率半径、または約7.0インチ(17.8cm)より大きいヒールトウ曲率半径で、クラブヘッド100に加わる空力抵抗を低下させることもできる。さらに、他の実施形態では、約5.0から約6.5インチ(12.7から16.5cm)の間のヒールトウ曲率半径、約5.25から約6.75インチ(13.3から17.1cm)の間のヒールトウ曲率半径、約5.5から約7.0インチ(14.0から17.8cm)の間のヒールトウ曲率半径、約5.75から約7.25インチ(14.6から18.4cm)の間のヒールトウ曲率半径、約6.0から約7.5インチ(15.2から19.1cm)の間のヒールトウ曲率半径、または約6.25から約7.75インチ(15.9から19.7cm)の間のヒールトウ曲率半径で、クラブヘッド100に加わる空力抵抗を低下させることもできる。
ヒールトウ曲率半径が増大することにより、それより小さいヒールトウ曲率半径を有する同様のクラブヘッドと比較して、正面図で見たときに、ヒールからトウに向かう方向にクラウン移行領域144の平坦な形状を生じる。この平坦な形状が、層流を維持し、クラウンのヒール領域およびトウ領域の上の乱流を低減して、クラブヘッド100に加わる空力抵抗を低下させる。
II.ソール移行領域
図1を参照すると、ソール移行領域344は、クラブヘッド100の打撃面108とソール132の間で、ヒール116の付近からトウ120の付近まで延びている。本明細書では、ゴルフクラブヘッド100のソール移行領域344について、以下のように様々な基準面および軸に関連して、さらに説明する。
さらに図1を参照すると、ゴルフクラブヘッド100は、本体104の前端部112に沿ってヒール116からトウ120まで延びる湾曲軸350を含む。図示の実施形態では、湾曲軸350は、打撃面108の底縁部138に沿って延びる。他の実施形態では、湾曲軸350は、打撃面108の底縁部138からソール132寄りにずれていてもよい。湾曲軸350の打撃面108の底縁部138からのずれの距離は、ヒール116からトウ120まで進む間、一定であることもあれば、ヒール116からトウ120まで進む間に変化することもある。例えば、湾曲軸350は、中心付近で、ヒール116付近で、トウ120付近で、またはクラブヘッド100上のこれらの位置の任意の組合せで、より大きな距離だけ、またはより小さな距離だけ、打撃面108の底縁部138からずれていることもある。
図2を参照すると、ゴルフクラブヘッド100は、ソール平面380をさらに含む。ソール平面380は、ソール328の最下点を通って、ロフト平面160と平行に延びる。ソール平面380とクラブヘッド100のソール132との交差線が、さらに湾曲ソール軸382を規定する。
図2、図9、および図10を参照すると、ソール移行領域344は、クラブヘッド100の前端部112の底縁部138から、クラブヘッド100のソール132に沿ってソール平面380まで延びる。ソール移行領域344は、y軸316(図2)およびz軸318(図3)によって画定される平面に沿った横断面図で見たときに、ソール移行プロフィル384を含む。これらの実施形態では、この横断面図は、クラブヘッド100に沿ったヒール116の付近からトウ120の付近までの任意の点で取ることができる。
i.ソール移行プロフィルの高さおよび長さ
図2を参照すると、ソール移行プロフィル384は、高さ388、および長さ392を含む。ソール移行プロフィル384の高さ388は、ロフト平面160と平行な方向の、底縁部138から湾曲ソール軸までの距離である。ソール移行プロフィル384の長さ392は、ロフト平面160からソール平面380までの直交距離である。
図2を参照すると、図示の実施形態では、ソール移行プロフィル384の長さ392は、約0.55から約0.65インチ(1.40から1.65cm)の範囲である。他の実施形態では、ソール移行プロフィル384の長さ392は、約0.10から約1.25インチ(0.25から3.18cm)、または約0.3から約0.9インチ(0.76から2.29cm)の範囲とすることができる。例えば、ソール移行プロフィル384の長さ392は、約0.10インチ(0.25cm)、約0.20インチ(0.51cm)、約0.30インチ(0.76cm)、約0.40インチ(1.02cm)、約0.45インチ(1.14cm)、約0.50インチ(1.27cm)、約0.55インチ(1.40cm)、約0.60インチ(1.52cm)、約0.65インチ(1.65cm)、約0.70インチ(1.78cm)、約0.75インチ(1.91cm)、約0.80インチ(2.03cm)、約0.90インチ(2.29cm)、約1.0インチ(2.54cm)、約1.1インチ(2.79cm)、または約1.2インチ(3.05cm)であることがある。
さらに図2を参照すると、図示の実施形態では、ソール移行プロフィル384の高さ388は、約0.23から約0.31インチ(0.58から0.79cm)の範囲である。他の実施形態では、ソール移行プロフィル384の長さ388は、約0.05から約0.4インチ(0.13から1.02cm)の範囲とすることができる。例えば、ソール移行プロフィル384の高さ388は、約0.10インチ(0.25cm)、約0.15インチ(0.38cm)、約0.20インチ(0.51cm)、約0.25インチ(0.64cm)、約0.30インチ(0.76cm)、約0.35インチ(0.90cm)、または約0.40インチ(1.02cm)であることがある。
クラブヘッド100は、ソール移行プロフィル384の高さ388に対する長さ392の第1の比をさらに含む。図示の実施形態では、ソール移行プロフィル384の第1の比は、約2.0から約2.5の範囲である。他の実施形態では、ソール移行プロフィル384の第1の比は、約1.3から約3.5の範囲とすることができる。さらに、他の実施形態では、ソール移行プロフィル384の第1の比は、約5.0未満、約4.5未満、約3.5未満、約3.0未満、または約2.5未満の任意の値とすることができる。例えば、ソール移行プロフィル384の第1の比は、約1.5、約2.0、約2.5、約3.0、約3.5、約4.0、約4.5、または約5.0であることがある。
ii.ソール移行プロフィルの移行点および曲率半径
図9を参照すると、ソール移行プロフィル384は、複数の曲率半径、および複数の移行点をさらに含む。移行点は、ソール移行プロフィル384の曲率半径の変化を示す。図示の実施形態では、ソール移行プロフィル384は、第1のソール移行点412と、第2のソール移行点422と、第1のソール曲率半径414と、第2のソール曲率半径424とを含む。第1のソール移行点412は、第1のずれ距離416だけロフト平面160からずれている。第2のソール移行点422は、第2のずれ距離426だけロフト平面160からずれている。第2のずれ距離426は、第1のずれ距離416より大きい。第1のソール曲率半径414は、底縁部138から第1のソール移行点412まで延びる。第2のソール曲率半径424は、第1のソール移行点412から第2のソール移行点422まで延びる。
図9を参照すると、図示の実施形態では、第1のずれ距離416および第2のずれ距離426は、クラブヘッド100のヒール116からトウ120まで実質的に一定である。他の実施形態では、第1のずれ距離416が、クラブヘッド100のヒール116からトウ120までの間に変化することもある。例えば、第1のずれ距離416は、クラブヘッド100のヒール116に向かって大きくなる、クラブヘッド100のトウ120に向かって大きくなる、クラブヘッド100の中心で大きくなる、または上記の位置の任意の組合せで大きくなることがある。第1のずれ距離416は、例えば直線的、放物線的、2次曲線的、指数関数的、またはその他の任意のプロフィルなど、任意のプロフィルに従って、ヒール116からトウ120までの間で変化することができる。
さらに、他の実施形態では、第2のずれ距離426が、クラブヘッド100のヒール116からトウ120までの間に変化することもある。例えば、第2のずれ距離426は、クラブヘッド100のヒール116に向かって大きくなる、クラブヘッド100のトウ120に向かって大きくなる、クラブヘッド100の中心で大きくなる、または上記の位置の任意の組合せで大きくなることがある。第2のずれ距離426は、例えば直線的、放物線的、2次曲線的、指数関数的、またはその他の任意のプロフィルなど、任意のプロフィルに従って、ヒール116からトウ120までの間で変化することができる。
図示の実施形態では、ソール移行プロフィル384は、約0.40インチ(1.02cm)の第1のソール曲率半径414を有する。他の実施形態では、第1のソール曲率半径414は、約0.30から約0.50インチ(0.76から1.27cm)の範囲とすることができる。例えば、第1のソール曲率半径414は、約0.30インチ(0.76cm)、約0.35インチ(0.89cm)、約0.40インチ(1.02cm)、約0.45インチ(1.14cm)、または約0.50インチ(1.27cm)であることがある。さらに別の例では、第1のソール曲率半径414は、約0.5インチ(1.27cm)未満、約0.475(1.21cm)未満、約0.45インチ(1.14cm)未満、約0.425インチ(1.08cm)未満、または約0.40インチ(1.02cm)未満とすることができる。
図9を参照すると、図示の実施形態では、第1のソール曲率半径414および第2のソール曲率半径424は、クラブヘッド100のヒール116からトウ120まで実質的に一定である。他の実施形態では、第1のソール曲率半径414が、クラブヘッド100のヒール116からトウ120までの間に変化することもある。例えば、第1のソール曲率半径414は、クラブヘッド100のヒール116に向かって大きくなる、クラブヘッド100のトウ120に向かって大きくなる、クラブヘッド100の中心で大きくなる、または上記の位置の任意の組合せで大きくなることがある。第1のソール曲率半径414は、例えば直線的、放物線的、2次曲線的、指数関数的、またはその他の任意のプロフィルなど、任意のプロフィルに従って、ヒール116からトウ120までの間で変化することができる。
他の実施形態では、第2のソール曲率半径424が、クラブヘッド100のヒール116からトウ120までの間に変化することもある。例えば、第2のソール曲率半径424は、クラブヘッド100のヒール116に向かって大きくなる、クラブヘッド100のトウ120に向かって大きくなる、クラブヘッド100の中心で大きくなる、または上記の位置の任意の組合せで大きくなることがある。第2のソール曲率半径424は、例えば直線的、放物線的、2次曲線的、指数関数的、またはその他の任意のプロフィルなど、任意のプロフィルに従って、ヒール116からトウ120までの間で変化することができる。
図9および図10を参照すると、図示の実施形態では、ソール移行プロフィル384は、2つの移行点、および2つの曲率半径を有する。他の実施形態では、ソール移行プロフィル384は、任意数の移行点、および任意数の曲率半径を含むことができる。例えば、ソール移行プロフィル384は、1個、2個、3個、4個、5個、6個、7個、8個、9個、10個、またはその他の任意数の移行点を含むことができる。さらに別の例では、ソール移行プロフィル384は、1個、2個、3個、4個、5個、6個、7個、8個、9個、10個、またはその他の任意数の曲率半径を含むことができる。
クラブヘッドに加わる空力抵抗は、ソール移行プロフィルの第1の比が値1.0に近づくにつれて(すなわちソール移行プロフィルの長さがソール移行プロフィルの高さに近づくにつれて、またはソール移行プロフィルの高さがソール移行プロフィルの長さに近づくにつれて)低下する。本明細書に記載するクラブヘッド100のソール移行プロフィル384の第1の比は、他の既知のゴルフクラブヘッドのソール移行プロフィルの第1の比より小さい。したがって、本明細書に記載するクラブヘッド100は、他の既知のゴルフクラブヘッドより空力抵抗がより小さく、したがってスイング速度およびボール飛距離が大きい。
第1のソール曲率半径414による空力抵抗の低下を、様々な第1のソール曲率半径を有する様々な例示的なクラブヘッドについて風洞試験を用いて決定した。図11を参照すると、約0.10インチ(0.25cm)の第1のソール曲率半径を有する第1のクラブヘッド、約0.30インチ(0.76cm)の第1のソール曲率半径を有する第2のクラブヘッド、および約0.50インチ(1.27cm)の第1のソール曲率半径を有する第3のクラブヘッドを、風洞で試験した。抵抗係数を用いて測定した、最適なクローズドフェース・インパクトでの最低の空力抵抗は、約0.30インチ(0.76cm)の第1のソール曲率半径を有する第2のクラブヘッドで観測された。さらに、他の実施形態では、最低の空力抵抗は、0.30インチ(0.76cm)から0.40インチ(1.02cm)の間の第1のソール曲率半径で観測される可能性がある。
図11は、第1のソール曲率半径を増大させても、必ずしも抵抗の低下をもたらすとは限らないことを示している。例えば、第1のソール曲率半径を増大させると、抵抗が増大することも、抵抗が低下することもある。同様に、第1のソール曲率半径を減少させても、必ずしも抵抗の増大をもたらすとは限らない。例えば、第1のソール曲率半径を減少させると、抵抗が増大することも、抵抗が低下することもある。図示の例では、インパクト時に最適なクローズドフェースのクラブ角度(すなわち90度)である場合には、第1のソール曲率半径が0.10インチ(0.25cm)から0.30インチ(0.76cm)に増大すると、第1のソール曲率半径が0.10インチ(0.25cm)から0.50インチ(1.27cm)に増大するときよりも大幅に抵抗が低下する。さらに、インパクト時に最適なクローズドフェースのクラブ角度(すなわち90度)である場合には、第1のソール曲率半径が0.30インチ(0.76cm)から0.50インチ(1.27cm)に増大すると、クラブヘッド100に加わる抵抗が増大する。したがって、インパクト時に最適なクローズドフェースである場合には、クラブヘッド100に加わる空力抵抗を低下させるための最適な第1のソール曲率半径が存在する。図11は、さらに、インパクト時に最適なクローズドフェースの角度である場合には、約0.30インチ(0.76cm)から約0.40インチ(1.02cm)の間の第1のソール曲率半径がクラブヘッド100に加わる抵抗の最大の低下をもたらすことを示すデータに適合する曲線を示している。
iii.ソール移行プロフィルの角度
図10を参照すると、ソール移行プロフィル384は、さらに、ソール328の最下点およびロフト平面160に対する第1のソール移行点412および第2のソール移行点422の位置によって特徴付けることができる。横断面図で見ると、ソール移行プロフィル384は、第1の軸450と、第2の軸460と、第1の角度452と、第2の角度462とを含む。第1の軸450は、第1のソール移行点412および第2のソール移行点422を通って延び、ロフト平面160との間に第1の角度452を形成する。第2の軸460は、第1のソール移行点412およびソール328の最下点を通って延び、ロフト平面160との間に第2の角度462を形成する。
図示の実施形態では、ソール移行プロフィル384の第1の角度452は、約95から約105度の範囲であり、ソール移行プロフィル384の第2の角度462は、85から95度の範囲である。他の実施形態では、ソール移行プロフィル384の第1の角度452は、約80から約120度の範囲であることもあり、ソール移行プロフィル384の第2の角度462は、70から120度の範囲であることもある。他の実施形態では、ソール移行プロフィル384の第2の角度462は、70度より大きい、75度より大きい、80度より大きい、または90度より大きい任意の値とすることができる。
III.リア移行領域
図2、図3、および図12を参照すると、リア移行領域544は、クラブヘッド100のクラウン124とソール132の間で、クラブヘッド100のスカートまたは後縁部または後端部114に沿ってヒール116の付近からトウ120の付近まで延びている。リア移行領域544は、断面図で見ると、リア移行プロフィル584を含む。この断面図は、クラブヘッド100の後端部114に沿ったヒール116の付近からトウ120の付近までの任意の点で取ることができる。多くの実施形態では、リア移行プロフィル584の横断面図は、クラブヘッド100のヒール116またはトウ120に対する位置に応じて、ロフト平面160に対して様々な配向を有する平面に沿って取られる。上記その他の実施形態では、断面図は、クラブヘッドの後端部114に対して直交して位置するリア平面に沿って取られる。具体的には、上記その他の実施形態では、リア平面は、上面図で見たときに、クラブヘッドの後端部114に隣接して位置する接平面に対して直交する。
i.リア移行プロフィルの移行点および曲率半径
図12を参照すると、リア移行プロフィル584は、第1の移行点612と第2の移行点622の間に位置するリア曲率半径614をさらに含む。多くの実施形態では、第1の移行点612は、断面図における後端部114付近のクラウン124の縁部の、後端部114付近のクラウン124の曲率が逸脱する箇所に位置する。いくつかの実施形態では、第1の移行点612の位置は、クラブヘッド100のクラウンの曲率が逸脱してスカートまたは後端部114に移行する箇所を示すことができるスプライン法を用いて決定することができる。他の実施形態では、第1の移行点612は、断面図におけるクラブヘッド100の後端部114またはスカートの、リア曲率半径614が開始する箇所に位置することがある。第2の移行点は、断面図におけるクラブヘッドの後端部114またはスカートの、リア曲率半径614が終了する箇所に位置する。
図示の実施形態では、リア移行プロフィル584は、約0.15インチ(0.38cm)のリア曲率半径614を有する。他の実施形態では、リア曲率半径614は、約0.10から約0.25インチ(0.25から0.64cm)の範囲とすることができる。さらに別の例では、リア曲率半径614は、約0.10インチ(0.25cm)、約0.15インチ(0.38cm)、約0.20インチ(0.51cm)、または約0.25インチ(0.64cm)であることもある。さらに別の例では、リア曲率半径614は、約0.30インチ(0.76cm)未満、約0.275インチ(0.70cm)未満、約0.25インチ(0.64cm)未満、約0.225インチ(0.57cm)未満、または約0.20インチ(0.51cm)未満とすることもできる。
図示の実施形態では、リア曲率半径614は、クラブヘッド100のスカートまたは後端部114に沿ってヒール116からトウ120まで実質的に一定である。他の実施形態では、リア曲率半径614は、クラブヘッド100のスカートまたは後端部114に沿ってヒール116からトウ120までの間に変化することもある。リア曲率半径614は、クラブヘッド100のヒール116付近で大きくなる、クラブヘッド100のトウ120付近で大きくなる、クラブヘッド100のスカートまたは後端部114の中心で大きくなる、または上記の位置の任意の組合せで大きくなることがある。例えば、リア曲率半径614は、クラブヘッドの後端部114の中心よりもヒール116およびトウ120の付近の方が大きいこともある。さらに別の例では、リア曲率半径614は、ヒール116およびトウ120の付近よりもクラブヘッドの後端部114の中心の方が大きいこともある。
リア曲率半径614は、例えば直線的、放物線的、2次曲線的、指数関数的、またはその他の任意のプロフィルなど、任意のプロフィルに従って、ヒール116からトウ120までの間で変化することができる。さらに、リア曲率半径614は、クラブヘッド100のヒール116付近、クラブヘッド100のトウ120付近、クラブヘッド100の後端部114の中心、または上記の位置の任意の組合せなど、リア移行領域544の一部のみを含むこともある。
図示の実施形態では、リア移行プロフィル584は、1つの曲率半径を有する。他の実施形態では、リア移行プロフィル584は、任意数の曲率半径を含むことができる。例えば、リア移行プロフィル584は、1個、2個、3個、4個、5個、6個、7個、8個、9個、10個、またはその他の任意数の曲率半径を含むことができる。
第1のリア曲率半径614による空力抵抗の低下を、様々な第1のリア曲率半径を有する様々な例示的なクラブヘッドについて風洞試験を用いて決定した。図13を参照すると、約0.15インチ(0.38cm)の第1のリア曲率半径を有する第1のクラブヘッド410、約0.25インチ(0.64cm)の第1のリア曲率半径を有する第2のクラブヘッド420、約0.35インチ(0.90cm)の第1のリア曲率半径を有する第3のクラブヘッド430、および約0.45インチ(1.14cm)の第1のリア曲率半径を有する第4のクラブヘッド440を、風洞で試験した。抵抗係数を用いて測定した最低の空力抵抗は、約0.15インチ(0.38cm)の第1のリア曲率半径を有する第1のクラブヘッドで観測された。図13は、第1のリア曲率半径を減少させるとクラブヘッドに加わる抵抗が低下することを示している。
ii.リア移行プロフィルの高さ
さらに図12を参照すると、図示の実施形態では、リア移行プロフィル584は、ロフト平面160と平行な方向に第1の移行点612から第2の移行点622までの距離として測定される高さ588を含む。図示の実施形態では、リア移行プロフィル584の高さ588は、約0.10から約0.26インチ(0.25から0.66cm)の範囲である。他の実施形態では、リア移行プロフィル584の高さ588は、0.05から0.50インチ(0.13から1.27cm)の範囲であることがある。例えば、リア移行プロフィル584の高さ588は、約0.05インチ(0.13cm)、約0.10インチ(0.25cm)、約0.15インチ(0.38cm)、約0.20インチ(0.51cm)、約0.25インチ(0.64cm)、約0.30インチ(0.76cm)、約0.35インチ(0.89cm)、約0.40インチ(1.02cm)、約0.45インチ(1.14cm)、または約0.50インチ(1.27cm)であることがある。
IV.クラウン移行プロフィル、ソール移行プロフィル、およびリア移行プロフィルの関係
多くの実施形態では、これらの移行領域によって得られる空力抵抗の最大の低下は、上述のように、クラブヘッド100が、第1のクラウン曲率半径214を有するクラウン移行プロフィル184と、第1のソール曲率半径414を有するソール移行プロフィル384と、リア曲率半径614を有するリア移行プロフィル584とを含むときに、実現することができる。クラブヘッド100の図示の実施形態は、クラブヘッド100のクラウン移行領域、ソール移行領域、およびリア移行領域によって得られる空力抵抗の低下を最大限に高める、クラウン移行プロフィル184と、ソール移行プロフィル384と、リア移行プロフィル584とを含む。多くの実施形態では、クラウン移行プロフィルが、クラウン移行プロフィル184、ソール移行プロフィル384、およびリア移行プロフィル584を有するクラブヘッド100における全抵抗低下に対して最大の割合を占める。
本明細書に記載するクラブヘッド100は、第1のクラウン曲率半径214を有するクラウン移行プロフィル184と、第1のソール曲率半径414を有するソール移行プロフィル384と、リア曲率半径614を有するリア移行プロフィル584の、クラブヘッド100に加わる空力抵抗を低下させるのに最適な様々な関係をさらに含む。多くの実施形態では、第1のソール曲率半径414を、第1のクラウン曲率半径214より大きく、第1のクラウン曲率半径214を、リア曲率半径614より大きくして、クラブヘッド100に加わる空力抵抗を低下させる。
図示の実施形態では、第1のソール曲率半径414に対する第1のクラウン曲率半径214の第1の比は、約0.24インチ(0.61cm)である。他の実施形態では、第1のソール曲率半径414に対する第1のクラウン曲率半径214の第1の比は、約0.4から約1.0、約0.5から約1.0、約0.6から約1.0、約0.7から約1.0、約0.8から約1.0、または約0.9から約1.0の範囲とすることもできる。
図示の実施形態では、リア曲率半径614に対する第1のクラウン曲率半径214の第2の比は、約1.33インチ(3.38cm)である。他の実施形態では、リア曲率半径614に対する第1のクラウン曲率半径214の第2の比は、約1.0から約3.5、約1.0から約3.0、約1.0から約2.5、約1.0から約2.0、または約1.0から約1.5の範囲とすることができる。
図示の実施形態では、リア曲率半径614に対する第1のソール曲率半径414の第3の比は、約1.5インチ(3.81cm)である。他の実施形態では、リア曲率半径614に対する第1のソール曲率半径414の第3の比は、約1.0から約5.0、約1.0から約4.5、約1.0から約4.0、約1.0から約3.5、約1.0から約3.0、または約1.0から約2.5の範囲とすることができる。
他の実施形態では、クラブヘッドは、1個、2個、3個、4個、または5個のクラウン曲率半径など、任意数のクラウン曲率半径を有することができる。さらに、他の実施形態では、クラブヘッドは、1個、2個、3個、4個、または5個のソール曲率半径など、任意数のソール曲率半径を有することができる。さらに、他の実施形態では、クラブヘッドは、1個、2個、3個、4個、または5個のリア曲率半径など、任意数のリア曲率半径を有することができる。
本明細書に記載するクラブヘッド100は、クラウン移行プロフィル、ソール移行プロフィル、およびリア移行プロフィルを含む。他の実施形態では、クラブヘッドは、本明細書に記載するように、クラウン移行プロフィル、ソール移行プロフィル、またはリア移行プロフィルのうちの1つまたは複数を含むこともできる。例えば、他の実施形態では、クラブヘッドは、1つまたは複数のクラウン曲率半径を有するクラウン移行プロフィルを有するクラウン移行領域、1つまたは複数のソール曲率半径を有するソール移行プロフィルを有するソール移行領域、あるいは1つまたは複数のリア曲率半径を有するリア移行プロフィルを有するリア移行領域のうちの1つまたは複数を有することができる。移行領域による最大の空力抵抗低下は、クラブヘッドがクラウン移行プロフィル、ソール移行プロフィル、およびリア移行プロフィルの全てを含むときに得られるが、クラブヘッドがクラウン移行プロフィル、ソール移行プロフィル、およびリア移行プロフィルよりも少ない数の移行領域しか含まない実施形態でも、クラウン移行プロフィル、リア移行プロフィル、およびソール移行プロフィルのないクラブヘッドと比較すれば、依然として空力抵抗を低下させることができる。
V.製造方法
図14は、本明細書に記載するクラブヘッド100を製造する方法1000を示す図である。方法1000のブロック1100は、打撃面108を形成することを含む。多くの実施形態では、打撃面108の形成は、機械での作製によって実施される。他の実施形態では、打撃面108の形成は、機械での作製、鋳造、鍛造、積層印刷(例えば3D印刷)、またはその他の任意の適当なプロセスによって実施することができる。
さらに図14を参照すると、方法1000のブロック1200は、前端部112と、前端部112の反対側の後端部114と、ヒール116と、ヒール116の反対側のトウ120と、頂点128を有するクラウン124と、クラウン124の反対側のソール132と、クラウン移行領域、ソール移行領域、及びリア移行領域のうちの少なくとも1つを有する本体104を形成することを含む。多くの実施形態では、本体104の形成は、鋳造によって実施される。他の実施形態では、本体104の形成は、機械での作製、鋳造、鍛造、積層印刷(例えば3D印刷)、またはその他の任意の適当なプロセスによって実施することができる。
さらに図14を参照すると、方法1000のブロック1300は、打撃面108を本体104に結合して、本明細書に記載するようにクラウン移行領域、ソール移行領域、及びリア移行領域のうちの少なくとも1つを有するクラブヘッド100を得ることを含む。多くの実施形態では、打撃面108の本体104との結合は、溶接によって実施することができる。他の実施形態では、打撃面108の本体104への結合は、その他の任意の適当な方法によって実施することができる。
クラブヘッド100を製造する方法1000のこれらのブロックは、1つのブロックにまとめて、同時に実行することもできる。例えば、打撃面108と本体104とを一緒に形成することもできる。さらに、クラブヘッド100を製造する方法1000は、追加のブロック、または異なるブロックを含むこともできる。本開示の範囲を逸脱することなく、方法1000について様々な変更を実施することができる。
第1項。上縁部、底縁部、および中心を有する打撃面であって、中心を通って延びるロフト平面であって、打撃面に接して位置するロフト平面を規定する打撃面と、本体と、を備え、本体は、前端部と、前端部の反対側の後端部と、ヒールと、ヒールの反対側のトウと、頂点およびクラウン移行プロフィルを含むクラウンであって、クラウン移行プロフィルが、打撃面の上縁部から第1のクラウン移行点まで延びる第1のクラウン曲率半径を有し、第1のクラウン曲率半径が、約0.18インチから約0.30インチの間であるクラウンと、最下点およびソール移行プロフィルを含むソールであって、ソール移行プロフィルが、打撃面の底縁部から第1のソール移行点まで延びる第1のソール曲率半径を有し、第1のソール曲率半径が、約0.3インチ(0.76cm)から約0.5インチ(1.27cm)の間である、ソールと、約0.1インチ(0.25cm)から約0.25インチ(0.64cm)の間のリア曲率半径を有するリア移行プロフィルと、を備える、ゴルフクラブヘッド。
第2項。クラウン移行プロフィルは、ロフト平面から頂点平面までの直交距離として測定される長さと、ロフト平面と平行な方向での打撃面の上縁部からクラウン軸までの距離として測定される高さと、をさらに備え、クラウン移行プロフィルの高さに対する長さの比が、3.5以下である、第1項に記載のゴルフクラブヘッド。
第3項。クラウン移行プロフィルの高さに対する長さの比が、3.0以下である、第2項に記載のゴルフクラブヘッド。
第4項。クラウン移行プロフィルの長さが、1.13から1.34インチ(2.87から3.40cm)の間であり、クラウン移行プロフィルの高さが、0.41から0.47インチ(1.04から1.19cm)の間である、第2項に記載のゴルフクラブヘッド。
第5項。頂点が、ロフト平面に対して直交する方向に測定される頂点距離だけロフト平面からずれており、前記頂点距離が、約0.8から約1.4インチ(2.03から3.56cm)の間である、第1項に記載のゴルフクラブヘッド。
第6項。クラウン移行プロフィルは、第1のクラウン移行点から第2のクラウン移行点まで延びる第2のクラウン曲率半径をさらに備え、第2のクラウン曲率半径が、第1のクラウン曲率半径より大きい、第1項に記載のゴルフクラブヘッド。
第7項。打撃面の上縁部に沿ってクラブヘッドのヒールの付近からトウの付近まで延びるヒールトウ曲率半径をさらに備え、ヒールトウ曲率半径が、約4.9インチ(12.4cm)より大きい、第1項に記載のゴルフクラブヘッド。
第8項。ソール移行プロフィルは、ロフト平面からソール平面までの直交距離として測定される長さと、ロフト平面と平行な方向での打撃面の底縁部からソール軸までの距離として測定される高さと、をさらに備え、ソール移行プロフィルの高さに対する長さの比が、3.5以下である、第1項に記載のゴルフクラブヘッド。
第9項。ソール移行プロフィルの長さが、0.10から1.25インチ(0.25から3.18cm)の間であり、ソール移行プロフィルの高さが、0.05から0.40インチ(0.13から1.02cm)の間である、第8項に記載のゴルフクラブヘッド。
第10項。ソール移行プロフィルは、第1のソール移行点から第2のソール移行点まで延びる第2のソール曲率半径をさらに備え、第2のソール曲率半径が、第1のソール曲率半径より大きい、第1項に記載のゴルフクラブヘッド。
第11項。シャフトと、グリップと、ゴルフクラブヘッドと、を備え、上縁部、底縁部、および中心を有する打撃面であって、中心を通って延びるロフト平面であって、打撃面に接して位置するロフト平面を規定する打撃面と、本体と、を備え、本体は、前端部と、前端部の反対側の後端部と、ヒールと、ヒールの反対側のトウと、頂点およびクラウン移行プロフィルを含むクラウンであって、クラウン移行プロフィルが、打撃面の上縁部から第1のクラウン移行点まで延びる第1のクラウン曲率半径を有し、第1のクラウン曲率半径が、約0.18インチ(0.46cm)から約0.30インチ(0.76cm)の間であるクラウンと、最下点およびソール移行プロフィルを含むソールであって、ソール移行プロフィルが、打撃面の底縁部から第1のソール移行点まで延びる第1のソール曲率半径を有し、第1のソール曲率半径が、約0.3インチ(0.46cm)から約0.5インチ(1.27cm)の間であるソールと、約0.1インチ(0.254cm)から約0.25インチ(0.64cm)の間のリア曲率半径を有するリア移行プロフィルと、を備える、ゴルフクラブ。
第12項。クラウン移行プロフィルは、ロフト平面から頂点平面までの直交距離として測定される長さと、ロフト平面と平行な方向での打撃面の上縁部からクラウン軸までの距離として測定される高さと、をさらに備え、クラウン移行プロフィルの高さに対する長さの比が、3.5以下である、第11項に記載のゴルフクラブ。
第13項。クラウン移行プロフィルの高さに対する長さの比が、3.0以下である、第12項に記載のゴルフクラブ。
第14項。クラウン移行プロフィルの長さが、1.13から1.34インチ(2.87から3.40cm)の間であり、クラウン移行プロフィルの高さが、0.41から0.47インチ(1.04から1.19cm)の間である、第12項に記載のゴルフクラブ。
第15項。クラウン移行プロフィルは、第1のクラウン移行点から第2のクラウン移行点まで延びる第2のクラウン曲率半径をさらに備え、第2のクラウン曲率半径が、第1のクラウン曲率半径より大きい、第11項に記載のゴルフクラブ。
第16項。打撃面の上縁部に沿ってクラブヘッドのヒールの付近からトウの付近まで延びるヒールトウ曲率半径をさらに備え、ヒールトウ曲率半径が、約4.9インチ(12.4cm)より大きい、第11項に記載のゴルフクラブ。
第17項。ソール移行プロフィルは、ロフト平面からソール平面までの直交距離として測定される長さと、ロフト平面と平行な方向の打撃面の底縁部からソール軸までの距離として測定される高さと、をさらに備え、ソール移行プロフィルの高さに対する長さの比が、3.5以下である、第11項に記載のゴルフクラブ。
第18項。ソール移行プロフィルの長さが、0.10から1.25インチ(0.25から3.18cm)の間であり、ソール移行プロフィルの高さが、0.05から0.40インチ(0.13から1.02cm)の間である、第17項に記載のゴルフクラブ。
第19項。ソール移行プロフィルは、第1のソール移行点から第2のソール移行点まで延びる第2のソール曲率半径をさらに備え、第2のソール曲率半径が、第1のソール曲率半径より大きい、第11項に記載のゴルフクラブ。
第20項。第1項に記載のゴルフクラブヘッドを製造する方法であって、打撃面を機械で作製するステップと、前端部と、前端部の反対側の後端部と、ヒールと、ヒールの反対側のトウと、頂点およびクラウン移行プロフィルを有するクラウンと、クラウンの反対側のソールと、を有する本体を鋳造するステップと、溶接によって打撃面を本体に結合して、クラウン移行プロフィル、ソール移行プロフィル、およびリア移行プロフィルを有するクラブヘッドを得るステップと、を含む、方法。
1つまたは複数の請求する要素を置換することは、再構築であって、修理ではない。さらに、利益、その他の利点、および課題の解決策について、特定の実施形態に関連して説明した。しかし、利益、利点、課題の解決策、および任意の利益、利点、または解決策を生じる、またはさらに顕著にする可能性がある任意の1つまたは複数の要素は、任意または全ての請求項の重要、必要、または不可欠な特徴または要素として解釈すべきではない。
ゴルフのルールは時代とともに変化する可能性がある(例えば、全米ゴルフ協会(USGA)、ロイヤル・アンド・エンシェント・ゴルフクラブ・オブ・セント・アンドリュース(R&A)などのゴルフ規格協会および/または統括団体によって、新たな規定が採用されたり、あるいは古いルールが削除または修正されたりすることがある)ので、本明細書に記載する装置、方法、および製造品に関係するゴルフ器具は、任意の特定の時点では、ゴルフのルールに則っている可能性も、則っていない可能性もある。したがって、本明細書に記載する装置、方法、および製造品に関係するゴルフ器具は、適合ゴルフ器具または不適合ゴルフ器具として、広告され、市場に出、かつ/または販売される可能性がある。本明細書に記載する装置、方法、および製造品は、この点で限定されない。
上記の例は、ドライバータイプのゴルフクラブに関連して説明したが、本明細書に記載する装置、方法、および製造品は、フェアウェイウッドタイプのゴルフクラブ、ハイブリッドタイプのゴルフクラブ、アイアンタイプのゴルフクラブ、ウェッジタイプのゴルフクラブ、またはパタータイプのゴルフクラブなど、その他のタイプのゴルフクラブにも適用できる可能性がある。あるいは、本明細書に記載する装置、方法、および製造品は、ホッケーのスティック、テニスのラケット、釣り竿、スキーのストックなど、他の種類のスポーツの器具に適用できる可能性もある。
さらに、本明細書に開示する実施形態および限定は、これらの実施形態および/または限定が、(1)特許請求の範囲において明示的に請求されておらず、かつ(2)均等論の下で特許請求の範囲における明示的な要素および/または限定の均等物である、または潜在的な均等物である場合には、公有の原則(doctrine of dedication)の下で公に提供されない。
本開示の様々な特徴および利点を、以下の特許請求の範囲に記載する。
以下の項目は、出願時の特許請求の範囲に記載の要素である。
(項目1)
ゴルフクラブヘッドであって、
上縁部、底縁部、および中心を有する打撃面であって、前記中心を通って延びるロフト平面であって、前記打撃面に接して位置する前記ロフト平面を規定する前記打撃面と、
本体と、を備え、
前記本体は、
前端部と、
前記前端部の反対側の後端部と、
ヒールと、
前記ヒールの反対側のトウと、
頂点およびクラウン移行プロフィルを含むクラウンと、
最下点およびソール移行プロフィルを含むソールと、
約0.1インチから約0.25インチの間のリア曲率半径を有するリア移行プロフィルと、を備え、
前記クラウン移行プロフィルは、前記打撃面の前記上縁部から第1のクラウン移行点まで延びる第1のクラウン曲率半径を有し、
前記第1のクラウン曲率半径は、約0.18インチから約0.30インチの間であり、
前記ソール移行プロフィルは、前記打撃面の前記底縁部から第1のソール移行点まで延びる第1のソール曲率半径を有し、
前記第1のソール曲率半径は、約0.3インチから約0.5インチの間である、ゴルフクラブヘッド。
(項目2)
前記クラウン移行プロフィルは、
前記ロフト平面から頂点平面までの直交距離として測定される長さと、
前記ロフト平面と平行な方向での前記打撃面の前記上縁部からクラウン軸までの距離として測定される高さと、をさらに備え、
前記クラウン移行プロフィルの前記高さに対する前記長さの比は、3.5以下である、項目1に記載のゴルフクラブヘッド。
(項目3)
前記クラウン移行プロフィルの前記高さに対する前記長さの前記比は、3.0以下である、項目2に記載のゴルフクラブヘッド。
(項目4)
前記クラウン移行プロフィルの前記長さは、1.13から1.34インチの間であり、
前記クラウン移行プロフィルの前記高さは、0.41から0.47インチの間である、項目2に記載のゴルフクラブヘッド。
(項目5)
前記頂点は、前記ロフト平面に対して直交する方向に測定される頂点距離だけ前記ロフト平面からずれており、
前記頂点距離は、約0.8から約1.4インチの間である、項目1に記載のゴルフクラブヘッド。
(項目6)
前記クラウン移行プロフィルは、前記第1のクラウン移行点から第2のクラウン移行点まで延びる第2のクラウン曲率半径をさらに備え、
前記第2のクラウン曲率半径は、前記第1のクラウン曲率半径より大きい、項目1に記載のゴルフクラブヘッド。
(項目7)
前記打撃面の前記上縁部に沿って前記クラブヘッドの前記ヒールの付近から前記トウの付近まで延びるヒールトウ曲率半径をさらに備え、
前記ヒールトウ曲率半径は、約4.9インチより大きい、項目1に記載のゴルフクラブヘッド。
(項目8)
前記ソール移行プロフィルは、
前記ロフト平面からソール平面までの直交距離として測定される長さと、
前記ロフト平面と平行な方向での前記打撃面の前記底縁部からソール軸までの距離として測定される高さと、をさらに備え、
前記ソール移行プロフィルの前記高さに対する前記長さの比は、3.5以下である、項目1に記載のゴルフクラブヘッド。
(項目9)
前記ソール移行プロフィルの前記長さは、0.10から1.25インチの間であり、
前記ソール移行プロフィルの前記高さは、0.05から0.40インチの間である、項目8に記載のゴルフクラブヘッド。
(項目10)
前記ソール移行プロフィルは、前記第1のソール移行点から第2のソール移行点まで延びる第2のソール曲率半径をさらに備え、
前記第2のソール曲率半径は、前記第1のソール曲率半径より大きい、項目1に記載のゴルフクラブヘッド。
(項目11)
ゴルフクラブであって、
シャフトと、
グリップと、
ゴルフクラブヘッドと、を備え、
前記ゴルフクラブヘッドは、
上縁部、底縁部、および中心を有する打撃面であって、前記中心を通って延びるロフト平面であって、前記打撃面に接して位置する前記ロフト平面を規定する前記打撃面と、
本体と、を備え、
前記本体は、
前端部と、
前記前端部の反対側の後端部と、
ヒールと、
前記ヒールの反対側のトウと、
頂点およびクラウン移行プロフィルを含むクラウンと、
最下点およびソール移行プロフィルを含むソールと、
約0.1インチから約0.25インチの間のリア曲率半径を有するリア移行プロフィルと、を備え、
前記クラウン移行プロフィルは、前記打撃面の前記上縁部から第1のクラウン移行点まで延びる第1のクラウン曲率半径を有し、
前記第1のクラウン曲率半径は、約0.18インチから約0.30インチの間であり、
前記ソール移行プロフィルは、前記打撃面の前記底縁部から第1のソール移行点まで延びる第1のソール曲率半径を有し、
前記第1のソール曲率半径は、約0.3インチから約0.5インチの間である、ゴルフクラブ。
(項目12)
前記クラウン移行プロフィルは、
前記ロフト平面から頂点平面までの直交距離として測定される長さと、
前記ロフト平面と平行な方向での前記打撃面の前記上縁部からクラウン軸までの距離として測定される高さと、をさらに備え、
前記クラウン移行プロフィルの前記高さに対する前記長さの比は、3.5以下である、項目11に記載のゴルフクラブ。
(項目13)
前記クラウン移行プロフィルの前記高さに対する前記長さの前記比は、3.0以下である、項目12に記載のゴルフクラブ。
(項目14)
前記クラウン移行プロフィルの前記長さは、1.13から1.34インチの間であり、
前記クラウン移行プロフィルの前記高さは、0.41から0.47インチの間である、項目12に記載のゴルフクラブヘッド。
(項目15)
前記クラウン移行プロフィルは、前記第1のクラウン移行点から第2のクラウン移行点まで延びる第2のクラウン曲率半径をさらに備え、
前記第2のクラウン曲率半径は、前記第1のクラウン曲率半径より大きい、項目11に記載のゴルフクラブ。
(項目16)
ゴルフクラブであって、
前記打撃面の前記上縁部に沿って前記クラブヘッドの前記ヒールの付近から前記トウの付近まで延びるヒールトウ曲率半径をさらに備え、
前記ヒールトウ曲率半径は、約4.9インチより大きい、項目11に記載のゴルフクラブ。
(項目17)
前記ソール移行プロフィルは、
前記ロフト平面からソール平面までの直交距離として測定される長さと、
前記ロフト平面と平行な方向の前記打撃面の前記底縁部からソール軸までの距離として測定される高さと、をさらに備え、
前記クラウン移行プロフィルの前記高さに対する前記長さの比は、3.5以下である、項目11に記載のゴルフクラブ。
(項目18)
前記ソール移行プロフィルの前記長さは、0.10から1.25インチの間であり、
前記ソール移行プロフィルの前記高さは、0.05から0.40インチの間である、項目17に記載のゴルフクラブ。
(項目19)
前記ソール移行プロフィルは、前記第1のソール移行点から第2のソール移行点まで延びる第2のソール曲率半径をさらに備え、
前記第2のソール曲率半径は、前記第1のソール曲率半径より大きい、項目11に記載のゴルフクラブ。
(項目20)
項目1に記載のゴルフクラブヘッドを製造する方法であって、
打撃面を機械で作製するステップと、
前端部と、前記前端部の反対側の後端部と、ヒールと、前記ヒールの反対側のトウと、頂点およびクラウン移行プロフィルを有するクラウンと、前記クラウンの反対側のソールと、を備える本体を鋳造するステップと、
溶接によって前記打撃面を前記本体に結合して、前記クラウン移行プロフィル、前記ソール移行プロフィル、および前記リア移行プロフィルを有する前記クラブヘッドを得るステップと、を備える、方法。

Claims (17)

  1. ゴルフクラブヘッドであって、
    上縁部、底縁部、および中心を有する打撃面であって、前記中心を通って延びるロフト平面であって、前記打撃面に接して位置する前記ロフト平面を規定する前記打撃面と、
    本体と、を備え、
    前記本体は、
    前端部と、
    前記前端部の反対側の後端部と、
    ヒールと、
    前記ヒールの反対側のトウと、
    頂点およびクラウン移行プロフィルを含むクラウンと、
    最下点およびソール移行プロフィルを含むソールと、を備え、
    前記クラウン移行プロフィルは、前記打撃面の前記上縁部から第1のクラウン移行点まで延びる第1のクラウン曲率半径を有し、
    前記第1のクラウン曲率半径は、約0.18インチから約0.30インチ(0.46cmから0.76cm)の間であり、
    前記ソール移行プロフィルは、前記打撃面の前記底縁部から第1のソール移行点まで延びる第1のソール曲率半径を有し、
    前記第1のソール曲率半径は、約0.3インチから約0.5インチ(0.76cmから1.27cm)の間であり、
    前記クラウン移行プロフィルは、
    前記ロフト平面から頂点平面までの直交距離として測定される長さと、
    前記ロフト平面と平行な方向での前記打撃面の前記上縁部からクラウン軸までの距離として測定される高さと、をさらに備え、
    前記クラウン移行プロフィルの前記高さに対する前記長さの比は、3.5以下である、ゴルフクラブヘッド。
  2. 前記クラウン移行プロフィルの前記高さに対する前記長さの前記比は、3.0以下である、請求項に記載のゴルフクラブヘッド。
  3. 前記クラウン移行プロフィルの前記長さは、1.13から1.34インチ(2.87から3.40cm)の間であり、
    前記クラウン移行プロフィルの前記高さは、0.41から0.47インチ(1.04から1.19cm)の間である、請求項に記載のゴルフクラブヘッド。
  4. 前記頂点は、前記ロフト平面に対して直交する方向に測定される頂点距離だけ前記ロフト平面からずれており、
    前記頂点距離は、約0.8から約1.4インチ(2.03から3.56cm)の間である、請求項1からのいずれか一項に記載のゴルフクラブヘッド。
  5. 前記クラウン移行プロフィルは、前記第1のクラウン移行点から第2のクラウン移行点まで延びる第2のクラウン曲率半径をさらに備え、
    前記第2のクラウン曲率半径は、前記第1のクラウン曲率半径より大きい、請求項1からのいずれか一項に記載のゴルフクラブヘッド。
  6. 前記打撃面の前記上縁部に沿って前記クラブヘッドの前記ヒールの付近から前記トウの付近まで延びるヒールトウ曲率半径をさらに備え、
    前記ヒールトウ曲率半径は、約4.9インチ(12.4cm)より大きい、請求項1からのいずれか一項に記載のゴルフクラブヘッド。
  7. 前記ソール移行プロフィルは、
    前記ロフト平面からソール平面までの直交距離として測定される長さと、
    前記ロフト平面と平行な方向での前記打撃面の前記底縁部からソール軸までの距離として測定される高さと、をさらに備え、
    前記ソール移行プロフィルの前記高さに対する前記長さの比は、3.5以下である、請求項1からのいずれか一項に記載のゴルフクラブヘッド。
  8. 前記ソール移行プロフィルの前記長さは、0.10から1.25インチ(0.25から3.18cm)の間であり、
    前記ソール移行プロフィルの前記高さは、0.05から0.40インチ(0.13から1.02cm)の間である、請求項に記載のゴルフクラブヘッド。
  9. 前記ソール移行プロフィルは、前記第1のソール移行点から第2のソール移行点まで延びる第2のソール曲率半径をさらに備え、
    前記第2のソール曲率半径は、前記第1のソール曲率半径より大きい、請求項1からのいずれか一項に記載のゴルフクラブヘッド。
  10. ゴルフクラブヘッドであって、
    上縁部、底縁部、および中心を有する打撃面であって、前記中心を通って延びるロフト平面であって、前記打撃面に接して位置する前記ロフト平面を規定する前記打撃面と、
    本体と、を備え、
    前記本体は、
    前端部と、
    前記前端部の反対側の後端部と、
    ヒールと、
    前記ヒールの反対側のトウと、
    頂点およびクラウン移行プロフィルを含むクラウンと、を備え、
    前記クラウン移行プロフィルは、前記打撃面の前記上縁部から第1のクラウン移行点まで延びる第1のクラウン曲率半径を有し、
    前記第1のクラウン曲率半径は、約0.18インチから約0.30インチ(0.46cmから0.76cm)の間であり、
    前記クラウン移行プロフィルは、
    前記ロフト平面から頂点平面までの直交距離として測定される長さと、
    前記ロフト平面と平行な方向での前記打撃面の前記上縁部からクラウン軸までの距離として測定される高さと、をさらに備え、
    前記クラウン移行プロフィルの前記高さに対する前記長さの比は、3.5以下である、ゴルフクラブヘッド。
  11. 前記クラウン移行プロフィルの前記高さに対する前記長さの前記比は、3.0以下である、請求項1に記載のゴルフクラブヘッド。
  12. 前記クラウン移行プロフィルの前記長さは、1.13から1.34インチ(2.87から3.40cm)の間であり、
    前記クラウン移行プロフィルの前記高さは、0.41から0.47インチ(1.04から1.19cm)の間である、請求項1に記載のゴルフクラブヘッド。
  13. 前記クラウン移行プロフィルは、前記第1のクラウン移行点から第2のクラウン移行点まで延びる第2のクラウン曲率半径をさらに備え、
    前記第2のクラウン曲率半径は、前記第1のクラウン曲率半径より大きい、請求項11から1のいずれか一項に記載のゴルフクラブヘッド。
  14. ゴルフクラブであって、
    前記打撃面の前記上縁部に沿って前記クラブヘッドの前記ヒールの付近から前記トウの付近まで延びるヒールトウ曲率半径をさらに備え、
    前記ヒールトウ曲率半径は、約4.9インチ(12.4cm)より大きい、請求項11から1のいずれか一項に記載のゴルフクラブヘッド。
  15. ゴルフクラブヘッドを製造する方法であって、
    上縁部、底縁部、及び中心を有する打撃面であって、前記中心を通って延びるロフト平面であって、前記打撃面に接して位置する前記ロフト平面を規定する前記打撃面を機械で作製するステップと、
    前端部と、前記前端部の反対側の後端部と、ヒールと、前記ヒールの反対側のトウと、クラウンと、前記クラウンの反対側のソールと、を備える本体を鋳造するステップと、
    溶接によって前記打撃面を前記本体に結合して、クラウン移行プロフィルおよびソール移行プロフィルを有する前記クラブヘッドを得るステップと、を備え、
    前記クラウンは、頂点および前記クラウン移行プロフィルを含み、
    前記クラウン移行プロフィルは、前記打撃面の前記上縁部から第1のクラウン移行点まで延びる第1のクラウン曲率半径を有し、
    前記第1のクラウン曲率半径は、約0.18インチから約0.30インチ(0.46cmから0.76cm)の間であり、
    前記ソールは、最下点および前記ソール移行プロフィルを含み、
    前記ソール移行プロフィルは、前記打撃面の前記底縁部から第1のソール移行点まで延びる第1のソール曲率半径を有し、
    前記第1のソール曲率半径は、0.3インチ(0.76cm)から0.5インチ(1.27cm)の間であり、
    前記クラウン移行プロフィルは、
    前記ロフト平面から頂点平面までの直交距離として測定される長さと、
    前記ロフト平面と平行な方向での前記打撃面の前記上縁部からクラウン軸までの距離として測定される高さと、をさらに備え、
    前記クラウン移行プロフィルの前記高さに対する前記長さの比は、3.5以下である、方法。
  16. 前記クラウン移行プロフィルの前記高さに対する前記長さの前記比は、3.0以下である、請求項1に記載の方法。
  17. 前記クラウン移行プロフィルの前記長さは、1.13から1.34インチ(2.87から3.40cm)の間であり、
    前記クラウン移行プロフィルの前記高さは、0.41から0.47インチ(1.04から1.19cm)の間である、請求項1に記載の方法。
JP2019234499A 2015-08-13 2019-12-25 空力抵抗を低下させる移行領域を備えたゴルフクラブヘッド Active JP6912552B2 (ja)

Priority Applications (1)

Application Number Priority Date Filing Date Title
JP2021113602A JP7247275B2 (ja) 2015-08-13 2021-07-08 空力抵抗を低下させる移行領域を備えたゴルフクラブヘッド

Applications Claiming Priority (5)

Application Number Priority Date Filing Date Title
US201562204911P 2015-08-13 2015-08-13
US62/204,911 2015-08-13
US201662365889P 2016-07-22 2016-07-22
US62/365,889 2016-07-22
JP2018507572A JP6640328B2 (ja) 2015-08-13 2016-08-10 空力抵抗を低下させる移行領域を備えたゴルフクラブヘッド

Related Parent Applications (1)

Application Number Title Priority Date Filing Date
JP2018507572A Division JP6640328B2 (ja) 2015-08-13 2016-08-10 空力抵抗を低下させる移行領域を備えたゴルフクラブヘッド

Related Child Applications (1)

Application Number Title Priority Date Filing Date
JP2021113602A Division JP7247275B2 (ja) 2015-08-13 2021-07-08 空力抵抗を低下させる移行領域を備えたゴルフクラブヘッド

Publications (2)

Publication Number Publication Date
JP2020089737A JP2020089737A (ja) 2020-06-11
JP6912552B2 true JP6912552B2 (ja) 2021-08-04

Family

ID=57983631

Family Applications (4)

Application Number Title Priority Date Filing Date
JP2018507572A Active JP6640328B2 (ja) 2015-08-13 2016-08-10 空力抵抗を低下させる移行領域を備えたゴルフクラブヘッド
JP2019234499A Active JP6912552B2 (ja) 2015-08-13 2019-12-25 空力抵抗を低下させる移行領域を備えたゴルフクラブヘッド
JP2021113602A Active JP7247275B2 (ja) 2015-08-13 2021-07-08 空力抵抗を低下させる移行領域を備えたゴルフクラブヘッド
JP2023041260A Active JP7532584B2 (ja) 2015-08-13 2023-03-15 空力抵抗を低下させる移行領域を備えたゴルフクラブヘッド

Family Applications Before (1)

Application Number Title Priority Date Filing Date
JP2018507572A Active JP6640328B2 (ja) 2015-08-13 2016-08-10 空力抵抗を低下させる移行領域を備えたゴルフクラブヘッド

Family Applications After (2)

Application Number Title Priority Date Filing Date
JP2021113602A Active JP7247275B2 (ja) 2015-08-13 2021-07-08 空力抵抗を低下させる移行領域を備えたゴルフクラブヘッド
JP2023041260A Active JP7532584B2 (ja) 2015-08-13 2023-03-15 空力抵抗を低下させる移行領域を備えたゴルフクラブヘッド

Country Status (4)

Country Link
US (5) US10035048B2 (ja)
JP (4) JP6640328B2 (ja)
GB (2) GB2573657B (ja)
WO (1) WO2017027583A1 (ja)

Families Citing this family (15)

* Cited by examiner, † Cited by third party
Publication number Priority date Publication date Assignee Title
US20230001272A1 (en) * 2015-08-13 2023-01-05 Karsten Manufacturing Corporation Golf club head with transition profiles to reduce aerodynamic drag
GB2573657B (en) 2015-08-13 2020-03-11 Karsten Mfg Corp Golf club head with transition regions to reduce aerodynamic drag
US11701557B2 (en) * 2017-08-10 2023-07-18 Taylor Made Golf Company, Inc. Golf club heads
US10874915B2 (en) 2017-08-10 2020-12-29 Taylor Made Golf Company, Inc. Golf club heads
EP4570332A3 (en) * 2018-06-27 2025-08-06 Karsten Manufacturing Corporation Golf club head with flexible sole
US12539450B2 (en) 2019-07-03 2026-02-03 Sumitomo Rubber Industries, Ltd. Golf club head with sole rails
US11612789B2 (en) * 2019-07-03 2023-03-28 Sumitomo Rubber Industries, Ltd. Golf club head with sole rails
JP7472542B2 (ja) * 2020-02-28 2024-04-23 住友ゴム工業株式会社 ゴルフクラブヘッド
JP7581659B2 (ja) * 2020-05-27 2024-11-13 ヤマハ株式会社 ゴルフクラブヘッド及びゴルフクラブ
JP6849935B1 (ja) * 2020-08-18 2021-03-31 株式会社プロギア ゴルフクラブヘッドおよびゴルフクラブ
EP4204108A4 (en) * 2020-08-26 2024-10-09 Karsten Manufacturing Corporation Club head having balanced impact and swing performance characteristics
JP7600694B2 (ja) * 2021-01-13 2024-12-17 住友ゴム工業株式会社 ゴルフクラブヘッド
US12420153B2 (en) * 2021-12-07 2025-09-23 Acushnet Company Shaft for golf club
JP2023173695A (ja) * 2022-05-26 2023-12-07 株式会社プロギア ゴルフクラブヘッド
WO2024015626A1 (en) 2022-07-15 2024-01-18 Karsten Manufacturing Corporation Golf club head with optimized moment of inertia

Family Cites Families (44)

* Cited by examiner, † Cited by third party
Publication number Priority date Publication date Assignee Title
US3985363A (en) 1973-08-13 1976-10-12 Acushnet Company Golf club wood
GB1475012A (en) * 1973-08-13 1977-06-01 Acushnet Co Golf club wood
JPS63189174A (ja) * 1987-02-02 1988-08-04 マルマンゴルフ株式会社 ウツド型ゴルフクラブのヘツド
JPH074438B2 (ja) * 1989-04-18 1995-01-25 ヤマハ株式会社 ゴルフ用ウッドクラブヘッド
JPH0793954B2 (ja) * 1989-05-16 1995-10-11 ヤマハ株式会社 ゴルフ用ウッドクラブヘッド
JPH04197275A (ja) * 1990-11-29 1992-07-16 Maruman Golf Corp ゴルフのウッドクラブヘッド
JPH04197276A (ja) * 1990-11-29 1992-07-16 Maruman Golf Corp ゴルフのウッドクラブヘッド
ES2065841B1 (es) * 1993-03-04 1998-03-01 Doria Iriarte Jose Javier Cabeza de palo de golf mejorada.
CA2157614A1 (en) 1995-03-01 1996-09-02 Edward A. Hlinka Golf clubhead
JP2000503247A (ja) * 1996-11-08 2000-03-21 プリンス スポーツ グループ インコーポレイテッド メタルウッドゴルフクラブヘッド
JP2000300701A (ja) 1999-04-23 2000-10-31 Bridgestone Sports Co Ltd ウッド型ゴルフクラブヘッド
JP2001321466A (ja) * 2000-05-16 2001-11-20 Sumitomo Rubber Ind Ltd ゴルフクラブヘッド
CA2308877A1 (en) * 2000-05-19 2001-11-19 V-Flyte Golf Corporation Golf club head
US7887431B2 (en) 2008-05-16 2011-02-15 Taylor Made Golf Company, Inc. Golf club
US9662545B2 (en) 2002-11-08 2017-05-30 Taylor Made Golf Company, Inc. Golf club with coefficient of restitution feature
CN2623292Y (zh) * 2003-04-18 2004-07-07 大田精密工业股份有限公司 高尔夫球头
US6942581B2 (en) * 2003-06-05 2005-09-13 Tae-Joon Kim Golf club head
US7255653B2 (en) * 2004-02-02 2007-08-14 Mitsuhiro Saso Metal wood club
US7347794B2 (en) * 2004-03-17 2008-03-25 Karsten Manufacturing Corporation Method of manufacturing a face plate for a golf club head
JP4639749B2 (ja) * 2004-10-20 2011-02-23 ブリヂストンスポーツ株式会社 ゴルフクラブヘッドの製造方法
JP2008526311A (ja) 2005-01-03 2008-07-24 キャラウェイ・ゴルフ・カンパニ ゴルフクラブヘッド
JP2007037921A (ja) * 2005-08-05 2007-02-15 Mizuno Corp ゴルフクラブヘッドおよびゴルフクラブ
US20070149315A1 (en) * 2005-12-23 2007-06-28 Acushnet Company Metal wood club
JP2007190077A (ja) * 2006-01-17 2007-08-02 Tomohiko Sato ウッド型クラブヘッド
US7500926B2 (en) 2006-12-22 2009-03-10 Roger Cleveland Golf Co., Inc. Golf club head
JP5046672B2 (ja) 2007-02-06 2012-10-10 ヨネックス株式会社 ゴルフクラブヘッド
AU2007229390A1 (en) * 2007-07-03 2009-01-22 Karsten Manufacturing Corporation Golf club heads with a plurality of stress zones and methods to manufacture golf club heads
US8088021B2 (en) * 2008-07-15 2012-01-03 Adams Golf Ip, Lp High volume aerodynamic golf club head having a post apex attachment promoting region
US20100016095A1 (en) * 2008-07-15 2010-01-21 Michael Scott Burnett Golf club head having trip step feature
US8858359B2 (en) * 2008-07-15 2014-10-14 Taylor Made Golf Company, Inc. High volume aerodynamic golf club head
JP5331417B2 (ja) 2008-09-10 2013-10-30 株式会社ディスコ レーザー加工装置
US7785214B2 (en) 2008-11-26 2010-08-31 Sri Sports Limited Golf club head
US8758156B2 (en) 2009-05-13 2014-06-24 Nike, Inc. Golf club assembly and golf club with aerodynamic features
US9259625B2 (en) * 2009-12-23 2016-02-16 Taylor Made Golf Company, Inc. Golf club head
US8241142B2 (en) 2010-07-16 2012-08-14 Callaway Golf Company Golf club head with improved aerodynamic characteristics
US8272975B2 (en) 2010-12-20 2012-09-25 Acushnet Company Striking face of a golf club head
JP2013000237A (ja) * 2011-06-14 2013-01-07 Bridgestone Sports Co Ltd ゴルフクラブヘッド
US8986131B2 (en) * 2012-05-31 2015-03-24 Nike, Inc. Golf club head and golf club with aerodynamic features
US9750991B2 (en) 2013-03-07 2017-09-05 Taylor Made Golf Company, Inc. Golf club head
US8845453B1 (en) 2013-03-08 2014-09-30 Callaway Golf Company Golf club head with improved aerodynamic characteristics
US8864601B1 (en) 2013-03-08 2014-10-21 Callaway Golf Company Golf club head with improved aerodynamic characteristics
US9144722B2 (en) * 2013-03-14 2015-09-29 Karsten Manufacturing Corporation Golf club heads with optimized characteristics and related methods
JP6341701B2 (ja) 2013-03-15 2018-06-13 テイラー メイド ゴルフ カンパニー, インコーポレーテッド 反発係数機構を有するゴルフクラブ
GB2573657B (en) 2015-08-13 2020-03-11 Karsten Mfg Corp Golf club head with transition regions to reduce aerodynamic drag

Also Published As

Publication number Publication date
JP2018522689A (ja) 2018-08-16
GB2573657B (en) 2020-03-11
US10035048B2 (en) 2018-07-31
GB2564171A (en) 2019-01-09
US20180318668A1 (en) 2018-11-08
US20210052954A1 (en) 2021-02-25
US20170043222A1 (en) 2017-02-16
GB201906189D0 (en) 2019-06-19
US12134014B2 (en) 2024-11-05
US11541284B2 (en) 2023-01-03
GB2573657A (en) 2019-11-13
WO2017027583A1 (en) 2017-02-16
JP2021166768A (ja) 2021-10-21
JP7247275B2 (ja) 2023-03-28
GB2564171B (en) 2019-07-10
JP7532584B2 (ja) 2024-08-13
US20230118681A1 (en) 2023-04-20
GB201802413D0 (en) 2018-03-28
JP2023085334A (ja) 2023-06-20
JP2020089737A (ja) 2020-06-11
US20250058184A1 (en) 2025-02-20
US10828539B2 (en) 2020-11-10
JP6640328B2 (ja) 2020-02-05

Similar Documents

Publication Publication Date Title
JP6912552B2 (ja) 空力抵抗を低下させる移行領域を備えたゴルフクラブヘッド
JP7758803B2 (ja) バランスの取れたインパクト性能とスイング性能を有するクラブヘッド
JP7550190B2 (ja) チャンファを有するゴルフクラブヘッド及び関連する方法
JP7077363B2 (ja) ゴルフクラブヘッドのための低い背部のクラウン質量
JP7838057B2 (ja) 最適化特性を備えたゴルフクラブヘッド及び関連方法
US8317636B2 (en) Golf club head with improved aerodynamic characteristics
US12420153B2 (en) Shaft for golf club

Legal Events

Date Code Title Description
A521 Request for written amendment filed

Free format text: JAPANESE INTERMEDIATE CODE: A523

Effective date: 20200124

A621 Written request for application examination

Free format text: JAPANESE INTERMEDIATE CODE: A621

Effective date: 20200124

A977 Report on retrieval

Free format text: JAPANESE INTERMEDIATE CODE: A971007

Effective date: 20210114

A131 Notification of reasons for refusal

Free format text: JAPANESE INTERMEDIATE CODE: A131

Effective date: 20210202

A601 Written request for extension of time

Free format text: JAPANESE INTERMEDIATE CODE: A601

Effective date: 20210430

A521 Request for written amendment filed

Free format text: JAPANESE INTERMEDIATE CODE: A523

Effective date: 20210527

TRDD Decision of grant or rejection written
A01 Written decision to grant a patent or to grant a registration (utility model)

Free format text: JAPANESE INTERMEDIATE CODE: A01

Effective date: 20210608

A61 First payment of annual fees (during grant procedure)

Free format text: JAPANESE INTERMEDIATE CODE: A61

Effective date: 20210708

R150 Certificate of patent or registration of utility model

Ref document number: 6912552

Country of ref document: JP

Free format text: JAPANESE INTERMEDIATE CODE: R150

R250 Receipt of annual fees

Free format text: JAPANESE INTERMEDIATE CODE: R250

R250 Receipt of annual fees

Free format text: JAPANESE INTERMEDIATE CODE: R250