JP6901331B2 - 情報処理装置、移動体、情報処理方法、およびプログラム - Google Patents

情報処理装置、移動体、情報処理方法、およびプログラム Download PDF

Info

Publication number
JP6901331B2
JP6901331B2 JP2017120508A JP2017120508A JP6901331B2 JP 6901331 B2 JP6901331 B2 JP 6901331B2 JP 2017120508 A JP2017120508 A JP 2017120508A JP 2017120508 A JP2017120508 A JP 2017120508A JP 6901331 B2 JP6901331 B2 JP 6901331B2
Authority
JP
Japan
Prior art keywords
space
region
planned
target
unit
Prior art date
Legal status (The legal status is an assumption and is not a legal conclusion. Google has not performed a legal analysis and makes no representation as to the accuracy of the status listed.)
Active
Application number
JP2017120508A
Other languages
English (en)
Other versions
JP2019006143A (ja
Inventor
理絵 香月
理絵 香月
豪 田崎
豪 田崎
Current Assignee (The listed assignees may be inaccurate. Google has not performed a legal analysis and makes no representation or warranty as to the accuracy of the list.)
Toshiba Corp
Original Assignee
Toshiba Corp
Priority date (The priority date is an assumption and is not a legal conclusion. Google has not performed a legal analysis and makes no representation as to the accuracy of the date listed.)
Filing date
Publication date
Application filed by Toshiba Corp filed Critical Toshiba Corp
Priority to JP2017120508A priority Critical patent/JP6901331B2/ja
Priority to US15/913,053 priority patent/US10921143B2/en
Priority to EP18160159.2A priority patent/EP3418688B1/en
Publication of JP2019006143A publication Critical patent/JP2019006143A/ja
Application granted granted Critical
Publication of JP6901331B2 publication Critical patent/JP6901331B2/ja
Active legal-status Critical Current
Anticipated expiration legal-status Critical

Links

Images

Classifications

    • GPHYSICS
    • G01MEASURING; TESTING
    • G01CMEASURING DISTANCES, LEVELS OR BEARINGS; SURVEYING; NAVIGATION; GYROSCOPIC INSTRUMENTS; PHOTOGRAMMETRY OR VIDEOGRAMMETRY
    • G01C21/00Navigation; Navigational instruments not provided for in groups G01C1/00 - G01C19/00
    • G01C21/26Navigation; Navigational instruments not provided for in groups G01C1/00 - G01C19/00 specially adapted for navigation in a road network
    • G01C21/34Route searching; Route guidance
    • G01C21/3453Special cost functions, i.e. other than distance or default speed limit of road segments
    • G01C21/3461Preferred or disfavoured areas, e.g. dangerous zones, toll or emission zones, intersections, manoeuvre types or segments such as motorways, toll roads or ferries
    • GPHYSICS
    • G01MEASURING; TESTING
    • G01CMEASURING DISTANCES, LEVELS OR BEARINGS; SURVEYING; NAVIGATION; GYROSCOPIC INSTRUMENTS; PHOTOGRAMMETRY OR VIDEOGRAMMETRY
    • G01C21/00Navigation; Navigational instruments not provided for in groups G01C1/00 - G01C19/00
    • G01C21/26Navigation; Navigational instruments not provided for in groups G01C1/00 - G01C19/00 specially adapted for navigation in a road network
    • G01C21/34Route searching; Route guidance
    • G01C21/3407Route searching; Route guidance specially adapted for specific applications
    • G01C21/3415Dynamic re-routing, e.g. recalculating the route when the user deviates from calculated route or after detecting real-time traffic data or accidents
    • GPHYSICS
    • G01MEASURING; TESTING
    • G01CMEASURING DISTANCES, LEVELS OR BEARINGS; SURVEYING; NAVIGATION; GYROSCOPIC INSTRUMENTS; PHOTOGRAMMETRY OR VIDEOGRAMMETRY
    • G01C21/00Navigation; Navigational instruments not provided for in groups G01C1/00 - G01C19/00
    • G01C21/26Navigation; Navigational instruments not provided for in groups G01C1/00 - G01C19/00 specially adapted for navigation in a road network
    • G01C21/34Route searching; Route guidance
    • G01C21/3453Special cost functions, i.e. other than distance or default speed limit of road segments
    • G01C21/3492Special cost functions, i.e. other than distance or default speed limit of road segments employing speed data or traffic data, e.g. real-time or historical
    • GPHYSICS
    • G06COMPUTING OR CALCULATING; COUNTING
    • G06QINFORMATION AND COMMUNICATION TECHNOLOGY [ICT] SPECIALLY ADAPTED FOR ADMINISTRATIVE, COMMERCIAL, FINANCIAL, MANAGERIAL OR SUPERVISORY PURPOSES; SYSTEMS OR METHODS SPECIALLY ADAPTED FOR ADMINISTRATIVE, COMMERCIAL, FINANCIAL, MANAGERIAL OR SUPERVISORY PURPOSES, NOT OTHERWISE PROVIDED FOR
    • G06Q10/00Administration; Management
    • G06Q10/04Forecasting or optimisation specially adapted for administrative or management purposes, e.g. linear programming or "cutting stock problem"
    • G06Q10/047Optimisation of routes or paths, e.g. travelling salesman problem
    • GPHYSICS
    • G08SIGNALLING
    • G08GTRAFFIC CONTROL SYSTEMS
    • G08G1/00Traffic control systems for road vehicles
    • G08G1/16Anti-collision systems
    • G08G1/165Anti-collision systems for passive traffic, e.g. including static obstacles, trees

Landscapes

  • Engineering & Computer Science (AREA)
  • Radar, Positioning & Navigation (AREA)
  • Remote Sensing (AREA)
  • Physics & Mathematics (AREA)
  • General Physics & Mathematics (AREA)
  • Business, Economics & Management (AREA)
  • Human Resources & Organizations (AREA)
  • Automation & Control Theory (AREA)
  • Strategic Management (AREA)
  • Economics (AREA)
  • Game Theory and Decision Science (AREA)
  • Development Economics (AREA)
  • Entrepreneurship & Innovation (AREA)
  • Marketing (AREA)
  • Operations Research (AREA)
  • Quality & Reliability (AREA)
  • Tourism & Hospitality (AREA)
  • General Business, Economics & Management (AREA)
  • Theoretical Computer Science (AREA)
  • Traffic Control Systems (AREA)
  • Navigation (AREA)
  • Control Of Driving Devices And Active Controlling Of Vehicle (AREA)

Description

本発明の実施の形態は、情報処理装置、移動体、情報処理方法、およびプログラムに関する。
自動車の操舵を自動で行う、自動運転技術が注目されている。例えば、障害物などの対象との衝突を回避した経路を生成する技術が開示されている。また、走行領域にランダムにノードを配置し、現在地から目的地まで複数のノードを順に経由する複数の経路の内、走行コストの低い経路を探索する技術が開示されている。
しかし、従来では、走行領域の全体にノードをランダムに配置したり、走行領域の形状や走行開始からの時間に応じた範囲にノードをランダムに配置していた。このため、従来では、経路探索時のランダムサンプリング領域が広範囲となり、準最適性の劣る経路が探索される場合があった。
Real−Time Motion Planning With Applications to Autonomous Urban Driving,Kuwata et al.,IEEE Trans.of control systems technology,vol.17,No.5,1105−1118,2009.
本発明が解決しようとする課題は、準最適な経路を探索することができる、情報処理装置、移動体、情報処理方法、およびプログラムを提供することである。
実施の形態の情報処理装置は、第1配置部と、第2配置部と、探索部と、を備える。第1配置部は、走行予定経路における対象に非干渉の第1領域にノードを配置する。第2配置部は、前記対象に干渉する干渉領域の周辺の第2領域に、前記ノードを配置する。探索部は、複数の前記ノードを経由し、前記走行予定経路における第1地点から第2地点までの移動コストが閾値以下の経路を探索する。
移動体の一例を示す図。 移動体の一例を示すブロック図。 走行予定経路の一例を示す模式図。 探索空間を示す模式図。 探索空間の説明図。 探索空間への対象の配置の説明図。 ポテンシャル場の一例の説明図。 探索空間への極小点の配置の模式図。 ノードを追加する対象の領域の説明図。 ノードの削除の説明図。 ノードの配置の説明図。 経路の探索の説明図。 曲線経路の説明図。 情報処理の手順の一例を示すフローチャート。 ハードウェア構成図。
以下に添付図面を参照して、情報処理装置、移動体、情報処理方法、およびプログラムを詳細に説明する。
図1は、本実施の形態の移動体10の一例を示す図である。
移動体10は、情報処理装置20と、出力部10Aと、センサ10Bと、入力装置10Cと、動力制御部10Gと、動力部10Hと、を備える。
情報処理装置20は、移動体10の経路を探索する(詳細後述)。情報処理装置20は、例えば、専用または汎用コンピュータである。本実施の形態では、情報処理装置20が、移動体10に搭載されている場合を一例として説明する。
移動体10は、移動可能な物体である。移動体10は、例えば、車両(自動二輪車、自動四輪車、自転車)、台車、ロボット、船舶、飛翔体(飛行機、無人航空機(UAV:Unmanned Aerial Vehicle)など)である。移動体10は、例えば、人による運転操作を介して走行する移動体や、人による運転操作を介さずに自動的に走行(自律走行)可能な移動体である。自動走行可能な移動体は、例えば、自動運転車両である。本実施の形態の移動体10は、自律走行可能な車両である場合を一例として説明する。
なお、情報処理装置20は、移動体10に搭載された形態に限定されない。情報処理装置20は、静止物に搭載されていてもよい。静止物は、移動不可能な物や、地面に対して静止した状態の物である。静止物は、例えば、ガードレール、ポール、駐車車両、道路標識、などである。また、情報処理装置20は、クラウド上で処理を実行するクラウドサーバに搭載されていてもよい。
出力部10Aは、各種情報を出力する。本実施の形態では、出力部10Aは、出力情報を、出力する。
出力部10Aは、例えば、出力情報を送信する通信機能、出力情報を表示する表示機能、出力情報を示す音を出力する音出力機能、などを備える。例えば、出力部10Aは、通信部10Dと、ディスプレイ10Eと、スピーカ10Fと、を含む。
通信部10Dは、外部装置と通信する。通信部10Dは、VICS(登録商標)通信回路やダイナミックマップ通信回路である。通信部10Dは、出力情報を外部装置へ送信する。また、通信部10Dは、道路情報などを外部装置から受信する。道路情報は、信号、標識、周囲の建物、各車線の道幅、レーン中心線などである。道路情報は、記憶部20Bに記憶されていてもよい。
ディスプレイ10Eは、出力情報を表示する。ディスプレイ10Eは、例えば、公知のLCD(Liquid Crystal Display)や投影装置やライトなどである。スピーカ10Fは、出力情報を示す音を出力する。
センサ10Bは、移動体10の走行環境を取得するセンサである。走行環境は、例えば、移動体10の観測情報や、移動体10の周辺情報である。センサ10Bは、例えば、外界センサや内界センサである。
内界センサは、観測情報を観測するセンサである。観測情報は、少なくとも移動体10の加速度を含む情報である。具体的には、観測情報は、移動体10の加速度、移動体10の速度、移動体10の角速度、の少なくとも1つを含む。
内界センサは、例えば、慣性計測装置(IMU:Inertial Measurement Unit)、加速度センサ、速度センサ、ロータリエンコーダ、などである。IMUは、移動体10の三軸加速度および三軸角速度を含む観測情報を観測する。
外界センサは、移動体10の周辺情報を観測する。外界センサは、移動体10に搭載されていてもよいし、該移動体10の外部(例えば、他の移動体や外部装置など)に搭載されていてもよい。
周辺情報は、移動体10の周辺の状況を示す情報である。移動体10の周辺とは、該移動体10から予め定めた範囲内の領域である。この範囲は、外界センサの観測可能な範囲である。この範囲は、予め設定すればよい。
周辺情報は、例えば、移動体10の周辺の撮影画像および距離情報の少なくとも一方である。なお、周辺情報は、移動体10の位置情報を含んでいてもよい。撮影画像は、撮影によって得られる撮影画像データである(以下、単に、撮影画像と称する場合がある)。距離情報は、移動体10から対象までの距離を示す情報である。対象は、外界における、外界センサによって観測可能な箇所である。位置情報は、相対位置であってもよいし、絶対位置であってもよい。
外界センサは、例えば、撮影によって撮影画像を得る撮影装置、距離センサ(ミリ波レーダ、レーザセンサ、距離画像センサ)、位置センサ(GNSS(Global Navigation Satellite System)、GPS(Global Positioning System)、無線通信装置)などである。
撮影画像は、画素ごとに画素値を規定したデジタル画像データや、画素毎にセンサ10Bからの距離を規定したデプスマップなどである。レーザセンサは、例えば、水平面に対して平行に設置された二次元LIDAR(Laser Imaging Detection and Ranging)センサや、三次元LIDARセンサである。
入力装置10Cは、ユーザからの各種指示や情報入力を受け付ける。入力装置10Cは、例えば、マウスやトラックボール等のポインティングデバイス、あるいはキーボード等の入力デバイスである。また、入力装置10Cは、ディスプレイ10Eと一体的に設けられたタッチパネルにおける入力機能であってもよい。
動力制御部10Gは、動力部10Hを制御する。動力部10Hは、移動体10に搭載された、駆動するデバイスである。動力部10Hは、例えば、エンジン、モータ、車輪、などである。
動力部10Hは、動力制御部10Gの制御によって駆動する。例えば、動力制御部10Gは、情報処理装置20で生成された出力情報や、センサ10Bから得られた情報などに基づいて、周辺の状況を判断し、アクセル量、ブレーキ量、操舵角などの制御を行う。例えば、動力制御部10Gは、情報処理装置20で生成された経路に従って移動体10が移動するように、移動体10の動力部10Hを制御する。
次に、移動体10の電気的構成について詳細に説明する。図2は、移動体10の構成の一例を示すブロック図である。
移動体10は、情報処理装置20と、出力部10Aと、センサ10Bと、入力装置10Cと、動力制御部10Gと、動力部10Hと、を備える。出力部10Aは、上述したように、通信部10Dと、ディスプレイ10Eと、スピーカ10Fと、を含む。
情報処理装置20、出力部10A、センサ10B、入力装置10C、および動力制御部10Gは、バス10Jを介して接続されている。動力部10Hは、動力制御部10Gに接続されている。
情報処理装置20は、記憶部20Bと、処理部20Aと、を有する。すなわち、出力部10A、センサ10B、入力装置10C、動力制御部10G、処理部20A、および記憶部20Bは、バス10Jを介して処理部20Aに接続されている。
なお、記憶部20B、出力部10A(通信部10D、ディスプレイ10E、スピーカ10F)、センサ10B、入力装置10C、および動力制御部10G、の少なくとも1つは、有線または無線で処理部20Aに接続すればよい。また、記憶部20B、出力部10A(通信部10D、ディスプレイ10E、スピーカ10F)、センサ10B、入力装置10C、および動力制御部10Gの少なくとも1つと、処理部20Aと、をネットワークを介して接続してもよい。
記憶部20Bは、各種データを記憶する。記憶部20Bは、例えば、RAM(Random Access Memory)、フラッシュメモリ等の半導体メモリ素子、ハードディスク、光ディスク等である。なお、記憶部20Bは、情報処理装置20の外部に設けてもよい。また、記憶部20Bは、移動体10の外部に設けてもよい。例えば、記憶部20Bを、クラウド上に設置されたサーバ装置に配置してもよい。
また、記憶部20Bは、記憶媒体であってもよい。具体的には、記憶媒体は、プログラムや各種情報を、LAN(Local Area Network)やインターネットなどを介してダウンロードして記憶または一時記憶したものであってもよい。また、記憶部20Bを、複数の記憶媒体から構成してもよい。
処理部20Aは、取得部20Cと、空間構成部20Dと、第1配置部20Eと、設定部20Fと、決定部20Gと、削除部20Hと、第2配置部20Iと、探索部20Jと、生成部20Kと、出力制御部20Lと、を有する。
処理部20Aにおける各処理機能は、コンピュータによって実行可能なプログラムの形態で記憶部20Bへ記憶されている。処理部20Aは、プログラムを記憶部20Bから読出、実行することで、各プログラムに対応する機能部を実現するプロセッサである。
各プログラムを読み出した状態の処理部20Aは、図2の処理部20A内に示された各機能部を有することになる。図2においては単一の処理部20Aによって、取得部20C、空間構成部20D、第1配置部20E、設定部20F、決定部20G、削除部20H、第2配置部20I、探索部20J、生成部20K、および出力制御部20Lが実現されるものとして説明する。
なお、各機能の各々を実現するための独立した複数のプロセッサを組み合わせて処理部20Aを構成してもよい。この場合、各プロセッサがプログラムを実行することにより各機能を実現する。また、各処理機能がプログラムとして構成され、1つの処理回路が各プログラムを実行する場合であってもよいし、特定の機能が専用の独立したプログラム実行回路に実装される場合であってもよい。
なお、本実施の形態および後述する実施の形態において用いる「プロセッサ」との文言は、例えば、CPU(Central Processing Unit)、GPU(Graphical Processing Unit)或いは、特定用途向け集積回路(Application Specific Integrated Circuit:ASIC)、プログラマブル論理デバイス(例えば、単純プログラマブル論理デバイス(Simple Programmable Logic Device:SPLD)、複合プログラマブル論理デバイス(Complex Programmable Logic Device:CPLD)、及びフィールドプログラマブルゲートアレイ(Field Programmable Gate Array:FPGA))の回路を意味する。
プロセッサは、記憶部20Bに保存されたプログラムを読み出し実行することで機能を実現する。なお、記憶部20Bにプログラムを保存する代わりに、プロセッサの回路内にプログラムを直接組み込むよう構成しても構わない。この場合、プロセッサは回路内に組み込まれたプログラムを読み出し実行することで機能を実現する。
取得部20Cは、走行予定経路を取得する。走行予定経路は、移動体10がある地点からある地点へ移動する際に通過する予定の経路である。例えば、走行予定経路は、移動体10が現在地から目的地へ移動する際に通過する予定の経路である。
具体的には、走行予定経路は、ある地点(例えば、移動体10の現在地)から他の地点(例えば、目的地)へ移動する際に通過する道路上を通る線と、異なる道路上を通る線間をつなぐ線と、によって構成される。道路上を通る線は、例えば、通過する道路の中央(走行方向に沿った車線の中央)を通る線である。また、異なる道路上を通る線間をつなぐ線は、例えば、一方の道路上を通る線の端部と、他方の道路上を通る線の端部と、を曲率が一定の円弧を描くように結ぶ線である。
なお、走行予定経路は、通過する道路の識別情報(以下、道路IDと称する場合がある)や、移動体10の推奨速度を示す速度情報を、更に含むものであってもよい。
図3は、走行予定経路30の一例を示す模式図である。走行予定経路30は、道路Rにおける走行可能領域Eの中央を通る線によって表される。走行可能領域Eは、移動体10が走行可能な領域である。走行可能領域Eは、例えば、移動体10が走行する車線に沿った領域である。
本実施の形態では、走行予定経路30は、複数の参照ポイント32(以下、WP(Way Point)32と称する)の群によって表される場合を説明する。WP32は、位置と、移動体10の通過予定時間および通過予定速度の少なくとも一方と、を規定した点である。なお、WP32は、点に代えてベクトルで表してもよい。
WP32に規定される位置は、地図上の位置を示す。位置は、例えば、世界座標で表される。なお、位置は、移動体10の現在位置に対する相対位置で表してもよい。
WP32に規定される通過予定時間は、移動体10がWP32の位置を通過する予定の時刻を表す。通過予定時間は、特定の時間に対する相対時間であってもよいし、標準電波に応じた時刻であってもよい。
WP32に規定される通過予定速度は、移動体10がWP32の位置を通過する時の予定速度を表す。通過予定速度は、特定の速度に対する相対速度であってもよいし、絶対速度であってもよい。
図2に戻り説明を続ける、空間構成部20Dは、探索空間に、走行予定経路30および対象を配置する。
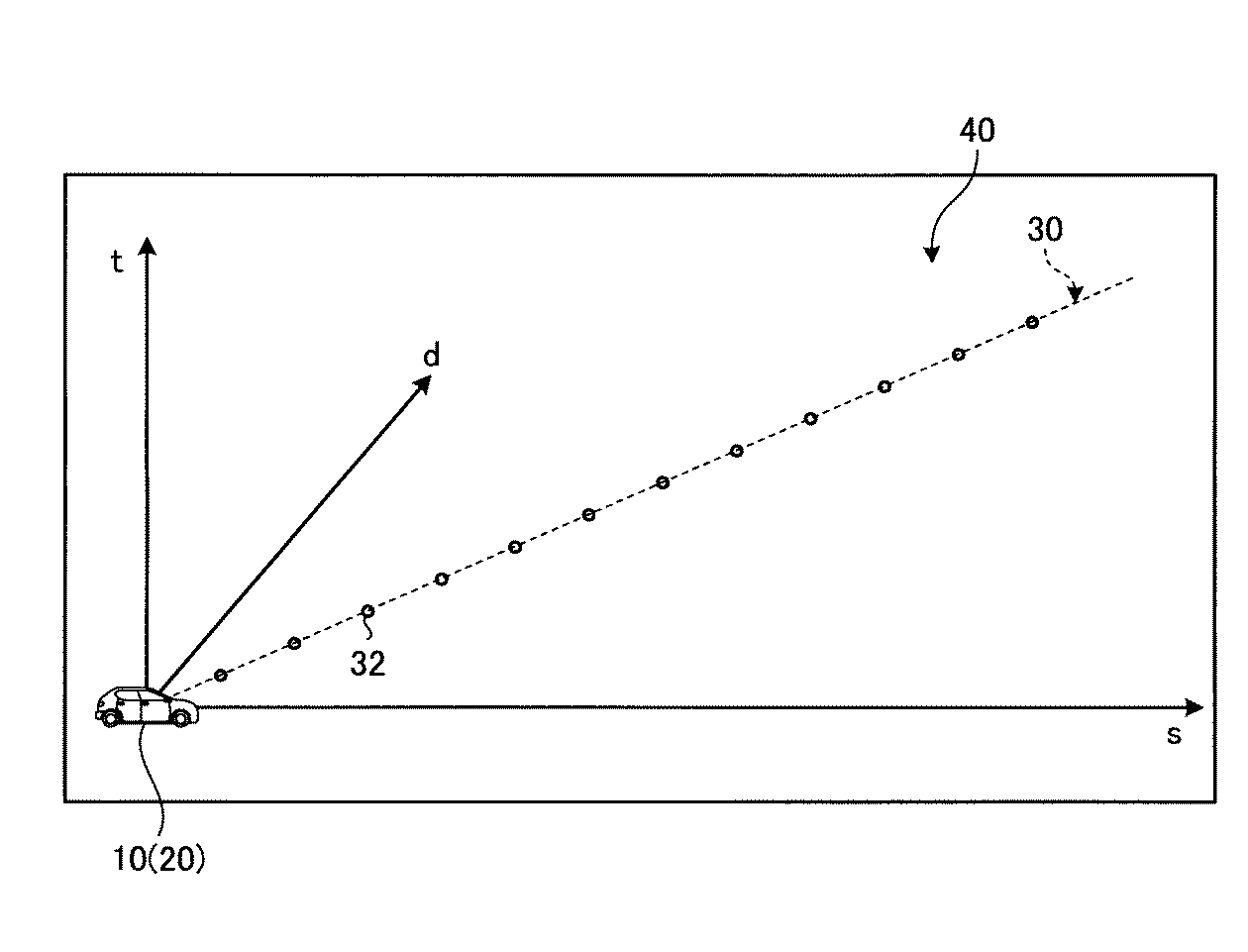
図4は、探索空間40を示す模式図である。探索空間40は、二次元座標空間(sd座標空間)と、該二次元座標空間に直交する通過予定時間軸(t)または通過予定速度軸(v)、で表される空間である。図4には、二次元座標空間に直交する座標軸として、通過予定時間軸(t)を一例として示した。
二次元座標空間は、走行予定経路30を移動する移動体10の走行可能領域E(図3参照)に沿った、二次元平面の空間である。この二次元座標空間は、移動体10の道なり方向に沿ったs軸と、移動体10の車幅方向に沿ったd軸と、によって規定される。s軸とd軸とは、直交配置されている。なお、s軸は、走行予定経路30の延伸方向に一致する。また、車幅方向は、移動体10の走行方向に直交する方向である。
この二次元座標空間(sd座標空間)に直交する通過予定時間軸(t)は、移動体10の通過予定時間を示す座標軸である。
なお、上述したように、探索空間40は、通過予定時間軸(t)に代えて、通過予定速度軸(v)を座標軸として表したものであってもよい。
空間構成部20Dは、走行予定経路30を構成するWP32の規定内容に応じて、探索空間40を生成すればよい。
例えば、走行予定経路30を構成するWP32が、位置と通過予定時間とを規定したものであ経路仮定する。この場合、空間構成部20Dは、二次元座標空間(sd座標空間)と、通過予定時間軸(t)と、を座標軸とする探索空間40を生成すればよい。また、例えば、走行予定経路30を構成するWP32が、位置と通過予定速度とを規定したものであ経路仮定する。この場合、空間構成部20Dは、二次元座標空間(sd座標空間)と、通過予定速度軸(v)と、を座標軸とする探索空間40を生成すればよい。
次に、空間構成部20Dは、探索空間40に走行予定経路30を配置する。例えば、空間構成部20Dは、走行予定経路30を構成するWP32の示す位置、走行予定経路30に対応するポイントに、各WP32を配置する。なお、WP32に規定された位置が、世界座標で表される場合がある。この場合、空間構成部20Dは、WP32に規定された、世界座標によって示される位置座標を、sd座標空間で表される位置座標に座標変換し、探索空間40に配置すればよい。
なお、空間構成部20Dは、sd座標空間に代えて、世界座標のxy座標空間またはxyz座標空間で探索空間40を表してもよい。この場合、xy座標空間は、鉛直方向(標高)を示すz軸方向に直交する二次元平面である。
図5は、探索空間40の二次元座標空間をxy座標空間、sd座標空間、の各々で表した説明図である。図5(A)は、探索空間40の二次元座標空間をxy座標空間で表し、走行予定経路30を配置した一例である。図5(B)は、探索空間40の二次元座標空間をsd座標空間で表し、走行予定経路30を配置した一例である。
図2に戻り、説明を続ける。空間構成部20Dは、更に、探索空間40に対象を配置する。
図6は、探索空間40への対象12の配置の説明図である。図6(A)は、探索空間40を二次元座標空間(sd座標空間)で表した一例である。図6(B)は、探索空間40を三次元空間(sdt座標空間)で表した一例である。
対象12は、移動体10の走行を阻害する可能性のある物である。対象12は、例えば、障害物である。障害物は、他の移動体、人や木などの生物、地面に設置された非生物(例えば、標識、信号、ガードレール、等の各種の物体)などである。なお、対象12は、障害物に限定されない。例えば、対象12は、非障害物であってもよい。非障害物は、走行可能領域Eにおける、路面の悪化した領域などである。路面の悪化した領域は、例えば、水たまりや、陥没した領域などである。また、非障害物は、走行禁止領域であってもよい。走行禁止領域とは、道路規則によって表される、走行の禁止された領域である。走行禁止領域は、例えば、追い越し禁止標識で規定される領域である。
例えば、空間構成部20Dは、取得部20Cから、対象12を特定可能な情報を取得する。本実施の形態では、空間構成部20Dは、実空間における、対象12の位置、大きさ、形状を示す情報を取得する。なお、空間構成部20Dは、実空間における対象12の位置、および、実空間における対象12の占有する領域、を示す情報を取得してもよい。
例えば、空間構成部20Dは、センサ10Bから取得部20Cを介して、対象12の位置、大きさ、形状、を示す情報を取得する。この場合、取得部20Cは、センサ10Bで得られたセンシング結果を用いて、公知の方法により、対象12の位置、大きさ、形状を示す情報を導出する。そして、空間構成部20Dは、取得部20Cから、対象12の位置、大きさ、形状を示す情報を導出すればよい。
そして、空間構成部20Dは、探索空間40に、対象12を配置する(図6参照)。
図2に戻り説明を続ける。次に、第1配置部20Eについて説明する。第1配置部20Eは、ノードを配置する。ノードとは、後述する経路を探索するために用いるポイントである。情報処理装置20は、走行方向に向かって複数のノードをつなぐ複数の経路を探索することで、経路を探索する(詳細後述)。
図6を用いて説明する。
本実施の形態では、第1配置部20Eは、走行予定経路30における第1領域44に、ノードNを配置する。すなわち、第1配置部20Eは、探索空間40における第1領域44に、ノードNを配置する。
第1領域44は、走行予定経路30における、対象12に非干渉の領域である。言い換え経路、第1領域44は、走行予定経路30における、対象12に干渉する干渉領域42以外の領域である。
対象12に干渉す経路は、走行予定経路30に沿って移動体10が走行したと仮定した場合に、対象12に接触、または対象12上を走行することを意味する。
例えば、空間構成部20Dは、走行予定経路30を構成する複数のWP32の内、干渉領域42以外の領域である第1領域44に配置されたWP32を、ノードNとして設定する。このため、走行予定経路30を構成する複数のWP32の内、干渉領域42以外の第1領域44に配置されたWP32が、ノードNとして設定される。なお、以下では、第1配置部20Eが配置するノードNを、ノードN1と称して説明する。
図2に戻り説明を続ける。次に、設定部20Fについて説明する。設定部20Fは、探索空間40に、ポテンシャル場を設定する。
図7は、ポテンシャル場43の一例の説明図である。なお、図7には、探索空間40の二次元座標空間(sd座標空間)を表し、該二次元座標空間に直交する座標軸として、ポテンシャル場43を示すp軸を示した。
ポテンシャル場43は、探索空間40における各地点のポテンシャル値を規定したものである。ポテンシャル値とは、走行リスクを表す。すなわち、設定部20Fは、走行リスクが高い地点ほど、高いポテンシャル値を設定し、走行リスクが低い地点ほど、低いポテンシャル値を設定する。
本実施の形態では、設定部20Fは、走行予定経路30に近いほど、または、対象12から遠いほど、低いポテンシャル値を示すポテンシャル場を設定する。
詳細には、設定部20Fは、探索空間40に、ポテンシャル値の群によって構成されるポテンシャルラインLを形成する。具体的には、設定部20Fは、探索空間40における対象12の占有領域に、高いポテンシャル値を規定する。
例えば、図7(A)に示すように、設定部20Fは、探索空間40に、ポテンシャル値を示すポテンシャルラインLを設定する。
詳細には、まず、設定部20Fは、探索空間40に設置された走行予定経路30における、対象12に非干渉の第1領域44に、最も低いポテンシャル値を規定する。これは、走行予定経路30は、道路Rの走行可能領域Eの中心を通るラインであり、走行予定経路30における対象12の存在しない領域は、走行可能領域Eから逸脱する可能性が低いためである。
次に、設定部20Fは、対象12の占有領域に、走行予定経路30より高いポテンシャル値を設定する。例えば、設定部20Fは、対象12の占有領域に、走行予定経路30より高いポテンシャル値を示し、且つd軸方向に延びる第1線L1を形成する。
そして、設定部20Fは、該第1線L1のd軸方向の両端部から、該対象12の外側に向かって第1勾配でポテンシャル値が低下する第2線L2を形成する。
また、設定部20Fは、走行予定経路30から、走行可能領域Eのd軸方向の両端部(例えば、路肩など)に向かって、第3勾配でポテンシャル値が増加する第3線L3を形成する。
なお、第2線L2の勾配は、第3線L3の勾配より大きいことが好ましい。これは、移動体10が走行時に対象12を大回りして回避した走行を行うことを避けるためである。
なお、第2線L2の勾配とは、d軸に並行な直線と、第1線L1と、の成す角度である。また、第3線L3の勾配とは、d軸に並行な直線と、第3線L3と、の成す角度である。なお、第2線L2および第3線L3の勾配は、ユーザが予め設定すればよい。また、これらの勾配は、対象12を追い越して走行する際の対象12と移動体10との側方距離に応じた値としてもよい。例えば、設定部20Fは、側方距離が大きいほど、第2線L2および第3線L3の勾配が小さくなるように、これらの勾配を設定してもよい。この側方距離は、予めユーザにより設定すればよい。
なお、第1線L1、第2線L2、および第3線L3の少なくとも1つは、勾配が一定の直線であってもよいし、勾配が変化する曲線であってもよい。
そして、設定部20Fは、走行予定経路30を構成するWP32ごとに、WP32から走行可能領域Eのd軸方向両端部に向かって、これらの第1線L1、第2線L2、および第3線L3を連結することで、ポテンシャルラインLを形成する。なお、走行予定経路30における対象12と重ならない領域については、WP32から走行可能領域Eのd軸方向両端部に向かって伸びる一対の第3線L3が、ポテンシャルラインLとなる。このように、設定部20Fは、ポテンシャルラインLを形成することで、ポテンシャル場43を設定する。
次に、設定部20Fは、探索空間40における極小点34を特定する。極小点34は、ポテンシャル場43によって示されるポテンシャル値の極小ピークを示す点である。
図7(B)〜図7(D)には、図7(A)に示す探索空間40のポテンシャル場43を、p軸とd軸とによって形成される二次元平面に沿って切断した断面を示した。図7(B)は、図7(A)のA−A’断面である。図7(C)は、図7(A)のB−B’断面である。図7(D)は、図7(A)のC−C’断面である。
図7(B)に示すように、走行予定経路30における対象12と干渉しない第1領域44を含む断面(A−A’断面)は、WP32の位置が、極小点34となる。
また、図7(C)および図7(D)に示すように、走行予定経路30における対象12と干渉する干渉領域42では、WP32からd軸方向の両端部側に向かってずれた位置の各々が、極小点34となる。すなわち、対象12に干渉するポテンシャルラインLには、対象12を避けるように、複数の極小点34が存在することとなる。
そして、設定部20Fは、探索空間40に極小点34を配置する。図8は、探索空間40に極小点34を配置した状態の一例を示す模式図である。なお、図8(A)は、探索空間40を二次元座標空間(sd座標空間)で表した一例である。図8(B)は、探索空間40を三次元空間(sdt座標空間)で表した一例である。
図8に示すように、極小点34は、探索空間40における、走行リスクのポテンシャル値の極小ピークに配置される。このため、走行予定経路30における対象12と干渉する干渉領域42については、対象12を避けた位置であって、且つ走行リスクの低い位置に、極小点34が配置されることとなる。
なお、本実施の形態では、対象12が、位置を移動しない物体である場合を、一例として示した。また、図8には、走行予定経路30上に対象12が1つ存在する場合を、一例として示した。このため、対象12の位置は、通過予定時間(t)によらず一定となる。なお、対象12が、位置を移動する物体である場合、通過予定時間(t)に応じた位置が変化する。この場合、設定部20Fは、通過予定時間(t)の各々についてポテンシャル場43を生成し、移動する対象12と干渉しない位置に、極小点34を設定すればよい。
図2に戻り説明を続ける。決定部20Gは、ノードNを追加する対象となる領域を決定する。すなわち、決定部20Gは、第1配置部20Eによって配置されたノードN1に加えて、更に追加してノードNを配置する領域を決定する。以下、説明の便宜上、追加して配置するノードNを、ノードN2と称して説明する。
図9は、ノードN2を追加する対象の領域の説明図である。決定部20Gは、極小点34、第2領域46、および、第3領域48を、ノードN1を追加して配置する対象の領域として決定する。
図9では第2領域46と第3領域48が離れて存在しているが、後述する逸脱開始予定空間51Bや逸脱終了予定空間51Cを長くとり、第2領域46と第3領域48とをひとつの大きな領域とすることもできる。
第2領域46は、対象12に干渉する干渉領域42の周辺の領域である。第2領域46は、探索空間40における領域である。また、第2領域46は、走行予定経路30から外れた領域であって、且つ、干渉領域42の周辺の領域である。また、更に詳細には、第2領域46は、走行予定経路30から外れた領域であり、干渉領域42の周辺の領域であり、且つ、極小点34の周辺の周辺領域である。
詳細には、第2領域46は、極小点34を含む領域である。また、第2領域46は、探索空間40における、走行予定経路30に干渉する対象12に対して、二次元座標空間(sd座標空間)における位置および、通過予定時間(t)または通過予定速度(v)の少なくとも1つの異なる空間である。
探索空間40が、sd座標空間に直交する座標軸として通過予定時間(t)を規定したものであ経路仮定する。この場合、決定部20Gは、極小点34を含み、且つ、走行予定経路30に干渉する対象12に対して、二次元座標空間(sd座標空間)における位置および通過予定時間(t)の少なくとも一方の異なる空間を、第2領域46として決定すればよい。
また、探索空間40が、sd座標空間に直交する座標軸として通過予定速度(v)を規定したものであ経路仮定する。この場合、決定部20Gは、極小点34を含み、且つ、走行予定経路30に干渉する対象12に対して、二次元座標空間(sd座標空間)における位置および通過予定速度(v)の少なくとも一方の異なる空間を、第2領域46として決定すればよい。
第3領域48は、探索空間40における、干渉前空間50Aと、干渉後空間50Bと、の少なくとも一方における、走行予定経路30から外れた領域である。
干渉前空間50Aは、探索空間40における、走行予定経路30が対象12に干渉する通過予定時間(t)、または、走行予定経路30が対象12に干渉する位置の通過予定速度(v)より、前の空間である。
干渉後空間50Bは、探索空間40における、走行予定経路30が対象12に干渉する通過予定時間(t)、または、走行予定経路30が対象12に干渉する位置の通過予定速度(v)より、後の空間である。
走行予定経路30から外れた領域、とは、探索空間40における走行予定経路30に対して、二次元座標空間(sd座標空間)における位置および、通過予定時間(t)または通過予定速度(v)の少なくとも1つが異なる事を示す。
本実施の形態では、決定部20Gは、干渉前空間50Aにおける特定の領域を、第3領域48として決定する。また、決定部20Gは、干渉後空間50Bにおける特定の領域を、第3領域48として決定する。
詳細には、決定部20Gは、干渉前空間50Aにおける、加減速開始予定空間51Aおよび逸脱開始予定空間51Bの少なくとも一方の周辺であって、走行予定経路30から外れた領域を、第3領域48として決定する。
加減速開始予定空間51Aは、干渉前空間50Aの走行予定経路30上における、走行予定経路30を走行した移動体10が対象12に干渉する前に加減速を開始する空間である。例えば、記憶部20Bは、対象12を避けるために加減速を開始するWP32を特定可能な情報を、予め記憶する。
加減速を開始するWP32を特定可能な情報は、例えば、ユーザによる入力装置10Cの操作などによって、予め記憶部20Bに記憶すればよい。加減速を開始するWP32を特定可能な情報は、例えば、対象12からの距離などによって表せばよい。
例えば、移動体10の速度と、加減速を開始するWP32を特定可能な情報と、を対応付けたルックアップテーブルを記憶部20Bに予め記憶する。また、移動体10の速度に代えて、対象12の回避から終了までに要する所要時間や、回避方法(ゆったり回避、早急に回避)をルックアップテーブルに登録してもよい。そして、決定部20Gは、現在時速に対応する、加減速を開始するWP32を特定可能な情報をルックアップテーブルから読取ることで、加減速を開始するWP32を特定可能な情報を取得すればよい。また、決定部20Gは、ユーザによって入力された所要時間または回避方法に対応する、加減速を開始するWP32を特定可能な情報をルックアップテーブルから読取ることで、加減速を開始するWP32を特定可能な情報を取得してもよい。
例えば、図9に示す加減速開始点36Aを、加減速を開始するWP32を示す情報として用い経路仮定する。この場合、決定部20Gは、走行予定経路30上における、該加減速開始点36Aと、該加減速開始点36Aに隣接する予め定めた数(例えば、2つ)のWP32と、を加減速開始予定空間51Aとして特定する。そして、決定部20Gは、干渉前空間50Aにおける、走行予定経路30上の加減速開始予定空間51Aの周辺の領域52Aを、第3領域48として決定する。
加減速開始予定空間51Aの周辺の領域52Aは、探索空間40における加減速開始予定空間51Aに対して、二次元座標空間(sd座標空間)における位置および、通過予定時間(t)または通過予定速度(v)の少なくとも1つが異なる領域である。
逸脱開始予定空間51Bは、干渉前空間50Aの走行予定経路30上における、走行予定経路30を走行した移動体10が対象12を避けるために走行予定経路30の逸脱を開始する空間である。例えば、記憶部20Bは、対象12を避けるために走行予定経路30の逸脱を開始するWP32を特定可能な情報を、予め記憶する。この情報は、例えば、ユーザによる入力装置10Cの操作などによって、予め記憶部20Bに記憶すればよい。この情報は、例えば、対象12からの距離などによって表せばよい。
例えば、移動体10の速度と、走行予定経路30の逸脱を開始するWP32を特定可能な情報と、を対応付けたルックアップテーブルを記憶部20Bに予め記憶する。また、移動体10の速度に代えて、対象12の回避から終了までに要する所要時間や、回避方法(ゆったり回避、早急に回避)をルックアップテーブルに登録してもよい。そして、決定部20Gは、現在時速に対応する、走行予定経路30の逸脱を開始するWP32を特定可能な情報をルックアップテーブルから読取ることで、走行予定経路30の逸脱を開始するWP32を特定可能な情報を取得すればよい。また、決定部20Gは、ユーザによって入力された所要時間または回避方法に対応する、走行予定経路30の逸脱を開始するWP32を特定可能な情報をルックアップテーブルから読取ることで、走行予定経路30の逸脱を開始するWP32を特定可能な情報を取得してもよい。
例えば、図9に示す逸脱開始点36Bを、逸脱を開始するWP32を示す情報として用い経路仮定する。この場合、決定部20Gは、走行予定経路30上における、該逸脱開始点36Bと、該逸脱開始点36Bに隣接する予め定めた数(例えば、合計2つ)のWP32と、を逸脱開始予定空間51Bとして特定する。そして、決定部20Gは、干渉前空間50Aにおける、走行予定経路30上の逸脱開始予定空間51Bの周辺の領域52Bを、第3領域48として決定する。
逸脱開始予定空間51Bの周辺の領域52Bは、探索空間40における逸脱開始予定空間51Bに対して、二次元座標空間(sd座標空間)における位置および、通過予定時間(t)または通過予定速度(v)の少なくとも1つが異なる領域である。
図9に示す例では、逸脱開始予定空間51Bの周辺の領域52Bを、第3領域48として決定した場合を一例として示した。なお、決定部20Gは、干渉前空間50Aにおける、領域52Aと領域52Bの少なくとも一方を、第3領域48として決定すればよい。このため、決定部20Gは、領域52Bを第3領域48として決定する形態に限定されない。
また、決定部20Gは、干渉後空間50Bにおける、逸脱終了予定空間51Cおよび加減速終了予定空間51Dの少なくとも一方の周辺であって、走行予定経路30から外れた領域を、第3領域48として決定する。
逸脱終了予定空間51Cは、干渉後空間50Bの走行予定経路30上における、走行予定経路30を逸脱した移動体10が逸脱を終了する空間である。例えば、記憶部20Bは、対象12を避けるために走行予定経路30を逸脱した移動体10が逸脱を終了するWP32を特定可能な情報を、予め記憶する。この情報は、例えば、ユーザによる入力装置10Cの操作などによって、予め記憶部20Bに記憶すればよい。この情報は、例えば、対象12からの距離などによって表せばよい。
例えば、移動体10の速度と、走行予定経路30の逸脱を終了するWP32を特定可能な情報と、を対応付けたルックアップテーブルを記憶部20Bに予め記憶する。また、移動体10の速度に代えて、対象12の回避から終了までに要する所要時間や、回避方法(ゆったり回避、早急に回避)をルックアップテーブルに登録してもよい。そして、決定部20Gは、現在時速に対応する、走行予定経路30の逸脱を終了するWP32を特定可能な情報をルックアップテーブルから読取ることで、走行予定経路30の逸脱を終了するWP32を特定可能な情報を取得すればよい。また、決定部20Gは、ユーザによって入力された所要時間または回避方法に対応する、走行予定経路30の逸脱を終了するWP32を特定可能な情報をルックアップテーブルから読取ることで、走行予定経路30の逸脱を終了するWP32を特定可能な情報を取得してもよい。
例えば、図9に示す逸脱終了点36Cを、逸脱を終了するWP32を示す情報として用い経路仮定する。この場合、決定部20Gは、走行予定経路30上における、該逸脱終了点36Cと、該逸脱終了点36Cに隣接する予め定めた数(例えば、2つ)のWP32と、を逸脱終了予定空間51Cとして特定する。そして、決定部20Gは、干渉後空間50Bにおける、走行予定経路30上の逸脱終了予定空間51Cの周辺の領域52Cを、第3領域48として決定する。
逸脱終了予定空間51Cの領域52Cは、探索空間40における逸脱終了予定空間51Cに対して、二次元座標空間(sd座標空間)における位置および、通過予定時間(t)または通過予定速度(v)の少なくとも1つが異なる領域である。
加減速終了予定空間51Dは、干渉後空間50Bの走行予定経路30上における、走行予定経路30を走行した移動体10が対象12に干渉する前に行った加減速を終了する空間である。例えば、記憶部20Bは、対象12を避けるために行った加減速を終了するWP32を特定可能な情報を、予め記憶する。この情報は、例えば、ユーザによる入力装置10Cの操作などによって、予め記憶部20Bに記憶すればよい。この情報は、例えば、対象12からの距離などによって表せばよい。
例えば、移動体10の速度と、加減速を終了するWP32を特定可能な情報と、を対応付けたルックアップテーブルを記憶部20Bに予め記憶する。また、移動体10の速度に代えて、対象12の回避から終了までに要する所要時間や、回避方法(ゆったり回避、早急に回避)をルックアップテーブルに登録してもよい。そして、決定部20Gは、現在時速に対応する、加減速を終了するWP32を特定可能な情報をルックアップテーブルから読取ることで、加減速を終了するWP32を特定可能な情報を取得すればよい。また、決定部20Gは、ユーザによって入力された所要時間または回避方法に対応する、加減速を終了するWP32を特定可能な情報をルックアップテーブルから読取ることで、加減速を終了するWP32を特定可能な情報を取得してもよい。
例えば、図9に示す加減速終了点36Dを、加減速を終了するWP32を示す情報として用い経路仮定する。この場合、決定部20Gは、走行予定経路30上における、該加減速終了点36Dと、該加減速終了点36Dに隣接する予め定めた数(例えば、2つ)のWP32と、を加減速終了予定空間51Dとして特定する。そして、決定部20Gは、干渉後空間50Bにおける、走行予定経路30上の加減速終了予定空間51Dの周辺の領域52Dを、第3領域48として決定する。
加減速終了予定空間51Dの周辺の領域52Dは、探索空間40における加減速終了予定空間51Dに対して、二次元座標空間(sd座標空間)における位置および、通過予定時間(t)または通過予定速度(v)の少なくとも1つが異なる領域である。
図9に示す例では、逸脱終了予定空間51Cの領域52Cを、第3領域48として決定した場合を一例として示した。なお、決定部20Gは、干渉後空間50Bにおける、領域52Cと領域52Dの少なくとも一方を、第3領域48として決定すればよい。このため、決定部20Gは、領域52Cを第3領域48として決定する形態に限定されない。
なお、決定部20Gは、少なくとも第2領域46を、ノードN2を追加配置する対象の領域として決定すればよい。但し、決定部20Gは、第2領域46、および第3領域48を、ノードN2を追加配置する対象の領域として決定することが好ましい。
また、決定部20Gは、干渉前空間50Aにおける領域52A、領域52B、干渉後空間50Bにおける領域52C、および領域52Dの内、少なくとも1つを、第3領域48として決定すればよい。
図9には、決定部20Gが、第2領域46と第3領域48とを、ノードN2を配置する対象の領域として決定した場合を、一例として示した。また、図9には、決定部20Gが、干渉前空間50Aの領域52Bと、干渉後空間50Bの領域52Cと、を第3領域48として決定した場合を、一例として示した。
図2に戻り説明を続ける。削除部20Hは、第1配置部20Eによって第1領域44に配置されたノードN1の内、干渉前空間50Aおよび干渉後空間50Bの少なくとも一方に配置されたノードN1の一部を削除する。
図10は、ノードN1の削除の説明図である。例えば、削除部20Hは、第1配置部20Eが配置したノードN1の内、加減速開始予定空間51A、逸脱開始予定空間51B、逸脱終了予定空間51C、および加減速終了予定空間51Dの少なくとも1つ以外に配置されたノードN1を削除する。
図10には、削除部20Hが、走行予定経路30に配置されたノードN1の内、加減速開始予定空間51A、逸脱開始予定空間51B、逸脱終了予定空間51C、および加減速終了予定空間51D以外に配置されたノードN1を削除した形態を示した。
削除部20Hが、ノードN1の一部を削除し、最低限のノードN1を残すことで、探索される経路60(詳細後述)がジグザグとなることを抑制することができる。
なお、計算時間が潤沢にあり、ジグザグした経路60をスムージングできる場合は、WP32を削除しなくてもよい。
図2に戻り説明を続ける。第2配置部20Iは、第2領域46に、ノードN2を配置する。すなわち、第2配置部20Iは、探索空間40における第2領域46に、ノードN2を配置する。
図11は、ノードN2の配置の説明図である。
本実施の形態では、第2配置部20Iは、ノードN2を配置する対象として決定された第2領域46および第3領域48の内、少なくとも第2領域46に、ノードN2を配置する。
このとき、第2配置部20Iは、二次元座標空間(sd座標空間)における位置および通過予定時間(t)または通過予定速度(v)の少なくとも1つが互いに異なる複数のノードN2を、第2領域46に配置する。また、第2配置部20Iは、第2領域46に含まれる極小点34を少なくとも含む複数の地点に、ノードN2を配置する。
具体的には、第2配置部20Iは、第2領域46における極小点34に、ノードN2を配置する。また、第2配置部20Iは、極小点34を、通過予定時間軸(t軸)方向に向かって、走行予定経路30から離れる方向にずらした位置に、ノードN2を配置する。このずらす量は、予め設定してもよいし、ランダムな値であってもよい。
なお、第2配置部20Iは、走行予定経路30上の第1領域44に配置したノードN1の密度に比べて、高密度で、第2領域46に複数のノードN2を配置することが好ましい。
このように、本実施の形態の情報処理装置20は、走行予定経路30上における対象12の干渉しない第1領域44についてはノードN1を配置し、対象12の干渉する干渉領域42については干渉領域42の周囲の第2領域46に、ノードN1より高い密度で複数のノードN2を配置する。
また、上述したように、第2配置部20Iは、第2領域46に加えて、第3領域48についても、ノードN2を配置することが好ましい。図11には、領域52Bおよび領域52Cが、第3領域48として決定された形態を示した。この場合、第2配置部20Iは、第3領域48である領域52Bおよび領域52Cに、ノードN2を配置する。
このとき、第2配置部20Iは、二次元座標空間(sd座標空間)における位置および通過予定時間(t)または通過予定速度(v)の少なくとも1つが互いに異なる複数のノードN2を、第3領域48に配置する。
具体的には、第2配置部20Iは、第3領域48に対応する走行予定経路30の領域(加減速開始予定空間51A、逸脱開始予定空間51B、逸脱終了予定空間51C、加減速終了予定空間51D)に含まれるWP32を、通過予定時間軸(t軸)方向に向かって、走行予定経路30から離れる方向にずらした位置に、複数のノードN2を配置する。このずらす量は、予め設定してもよいし、ランダムな値であってもよい。
なお、第2配置部20Iは、走行予定経路30上の第1領域44に配置したノードN1の密度に比べて、高い密度で第3領域48に複数のノードN2を配置することが好ましい。
このように、本実施の形態の情報処理装置20は、走行予定経路30の周囲の全領域ではなく、特定の領域について、選択的にノードN2を高密度で追加して配置する。
なお、領域52A、領域52B、領域52C、および領域52Dの全てが第3領域48として決定される場合がある。この場合、第2配置部20Iは、これらの領域52A、領域52B、領域52C、および領域52Dの各々に、複数のノードN2を配置すればよい。
図2に戻り説明を続ける。次に、探索部20Jについて説明する。探索部20Jは、経路を探索する。
図12は、経路60の探索の説明図である。探索部20Jは、複数のノードN(ノードN1、ノードN2)を経由し、第1地点D1から第2地点D2までの移動コストが閾値以下の、経路60を探索する。
第1地点D1は、特定の地点である。具体的には、第1地点D1は、出発地点や、移動体10の現在位置などである。なお、第1地点D1は、走行予定経路30上の特定の地点であってもよいし、走行予定経路30上から外れた地点であってもよい。例えば、移動体10の車幅方向の中心と、走行可能領域Eの中央と、がずれている場合がある。このような場合、第1地点D1は、走行予定経路30に対して車幅方向にずれた位置である。
第2地点D2は、走行予定経路30上の、第1地点D1とは異なる地点である。第2地点D2は、走行予定経路30上の、第1地点D1より走行方向の下流側の地点である。具体的には、第2地点D2は、走行予定経路30上の目的地である。
なお、第2配置部20Iは、更に、第2地点D2の周辺の領域にも、ノードN2を配置してもよい。この場合、第2配置部20Iは、探索空間40における第2地点D2の周辺の領域に、複数のノードM2を配置すればよい。具体的には、第2配置部20Iは、第2地点D2を、通過予定時間軸(t軸)方向に向かって、走行予定経路30から離れる方向にずらした位置に、複数のノードN2を配置する。
また、このとき、第2配置部20Iは、走行予定経路30上の第1領域44に配置したノードN1の密度に比べて、高い密度で、第2地点D2の周辺の領域に複数のノードN2を配置することが好ましい。
移動コストとは、第1地点D1と第2地点D2との2地点間の移動に要する、時間やエネルギーで表される。移動コストは、例えば、2地点間の直線距離、2地点間の複数の直線の距離の和、等に応じた値である。また、移動コストには、走行予定経路30に沿った移動環境に応じて、距離に重み付けを行った値を用いてもよい。
探索部20Jは、第1地点D1から第2地点D2へ向かって、複数のノードN(ノードN1、ノードN2)を網目状に連結することで、第1地点D1から第2地点D2へ向かう、複数の経路60を生成する。
本実施の形態では、探索部20Jは、第1地点D1と、加減速開始予定空間51Aおよび領域52Aに含まれる少なくとも1つのノードNと、逸脱開始予定空間51Bおよび領域52Bに含まれる少なくとも1つのノードNと、第2領域46に含まれる少なくとも1つのノードNと、逸脱終了予定空間51Cおよび領域52Cに含まれる少なくとも1つのノードNと、加減速終了予定空間51Dおよび領域52Dに含まれる少なくとも1つのノードNと、第2地点D2と、を結ぶ、複数の経路60を生成する。
そして、探索部20Jは、生成した複数の経路60の内、移動コストが閾値以下の経路60を探索する。
図12には、一例として、最も移動コストの低い経路60Aと、次に移動コストが低い経路60Bと、を示した。
なお、移動コストは、公知の方法を用いて算出すればよい。例えば、探索部20Jは、ダイクストラ法を用いて、複数の経路60の各々の移動コストを算出すればよい。
なお、探索部20Jは、下記式(1)を用いて、移動コストを算出することが好ましい。
Figure 0006901331
式(1)中、C(t)は、経路60における、隣接するノードNを連結するエッジの移動コストを示す。すなわち、探索部20Jは、経路60に含まれるエッジごとに算出した移動コストの総和を、該経路60の移動コストとして算出する。
式(1)中、Cυ(t)は、エッジの躍度を示す。躍度は、単位時間あたりの加速度の変化率であり、ベクトル量で表される。CΨ(t)は、エッジのヨー角躍度を示す。Cε(t)は、エッジの正規化された距離を示し、下記式(2)で表される。Wυ、WΨ、Wεは、重み付け値であり、予め定められる。
Figure 0006901331
式(2)中、εkmは、ζkmとVkmとの偏差を示し、下記式(3)で表される。εminは、最小のεkmを示し、εmaxは、最大のεkmを示す。kは、N1群およびN3群の通し番号を表し、mは、N1(k)またはN3(k)から配置されたN2群の通し番号を表す。ζは、N1およびN3を表す。Vkmは、N2を表す。なお、N1群は、ノードN1の群を表す。N2群は、複数のノードN2の内、第2領域46に配置されたノードN2の群を表す。N3群は、複数のノードN2の内、第3領域48に配置されたノードN2の群を表す。N2は、複数のノードN2の内、第2領域46に配置されたノードN2を表す。N3は、複数のノードN2の内、第3領域48に配置されたノードN2を表す。
Figure 0006901331
式(3)中、Vkm_sは、Vkmのs軸成分の値を示す。ζk_sは、N1およびN3を示す。Vkm_dは、Vkmのd軸成分の値を示す。Vkm_tは、Vkmのt軸成分の値を示す。tηは、ζk_tのオフセット量を示し、下記式(4)で表される。
Figure 0006901331
式(4)中、V(k−1)mは、探索されたグラフの先端のノード(N2)を表す。ζ(k−1)は、V(k−1)mのサンプリングの元となったノードN1およびノードN3を表す。なお、式(4)中、tは、上記式(3)と同様であり、t軸成分の値であることを示す。式(3)中、tηは、V(k−1)mがζ(k−1)から逸脱した際に、Vkmがζに近づくために急加減速することを防止し、WP32と近い速度のVkmを選択しやすくするために設定した。
上記式(1)〜(4)を用いることで、探索部20Jは、探索した経路60の各々について、より精度の高い移動コストを算出することができる。
なお、探索空間40の二次元座標空間(sd座標空間)に直交する座標軸が通過予定速度軸(v)である場合、上記式(3)として、tηを含まない式を用いればよい。一方、探索空間40の二次元座標空間(sd座標空間)に直交する座標軸が通過予定時間軸(t)である場合、上記式(1)〜式(4)を用いて、移動コストを算出することが好ましい。
上述したように、探索部20Jは、第1地点D1から第2地点D2へ向かって、複数のノードN(ノードN1、ノードN2)を網目状に連結することで、第1地点D1から第2地点D2へ向かう、複数の経路60を生成する。そして、探索部20Jは、上記のようにして、複数の経路60の各々の移動コストを算出する。
そして、探索部20Jは、複数の経路60の内、移動コストが閾値以下の1または複数の経路60を探索する。なお、閾値は、予め定めればよい。また、探索部20Jは、複数の経路60の内、最も移動コストの低いものから順に予め定めた数の経路60を、探索してもよい。また、探索部20Jは、複数の経路60の内、最も移動コストの低い1つの経路60を探索してもよい。
図2に戻り説明を続ける。生成部20Kは、探索部20Jが探索した経路60を用いて、曲線経路を生成する。
図13は、曲線経路62の一例の説明図である。曲線経路62は、経路60を、移動体10が走行可能な曲線で表した経路である。
生成部20Kは、公知の方法を用いて、経路60から曲線経路62を生成すればよい。
なお、上述したように、探索部20Jが、移動コストの低い複数の経路60を探索する場合がある。この場合、生成部20Kは、探索された複数の経路60の各々について、曲線経路62を生成する。そして、生成部20Kは、複数の曲線経路62の内、最も移動コストの低い1つの曲線経路62を、特定する。
なお、生成部20Kは、公知の方法を用いて、曲線経路62のコストを算出すればよい。
図2に戻り、説明を続ける。出力制御部20Lは、生成部20Kで生成された曲線経路62を示す出力情報を出力する。なお、出力情報は、探索部20Jで探索された最も移動コストの小さい経路60を示す情報を含んでいてもよい。また、出力情報は、該曲線経路62に代えて、経路60を含む情報であってもよい。
出力制御部20Lは、曲線経路62を示す出力情報を、移動体10の動力部10Hを制御する動力制御部10Gへ出力する。
詳細には、出力制御部20Lは、曲線経路62を、動力制御部10Gおよび出力部10Aの少なくとも一方へ出力する。
まず、出力制御部20Lが、曲線経路62を出力部10Aへ出力する場合を説明する。例えば、出力制御部20Lは、曲線経路62を含む出力情報を、ディスプレイ10Eに表示する。また、出力制御部20Lは、曲線経路62を示す音を出力するようにスピーカ10Fを制御してもよい。また、出力制御部20Lは、曲線経路62を示す出力情報を、通信部10Dを介して外部装置へ出力してもよい。また、出力制御部20Lは、出力情報を、記憶部20Bへ記憶してもよい。
次に、出力制御部20Lが、曲線経路62を示す出力情報を動力制御部10Gへ出力する場合を説明する。この場合、動力制御部10Gは、出力制御部20Lから受付けた曲線経路62に応じて、動力部10Hを制御する。
例えば、動力制御部10Gは、曲線経路62を用いて、動力部10Hを制御するための動力制御信号を生成し、動力部10Hを制御する。動力制御信号は、動力部10Hにおける、移動体10の走行に関する駆動を行う駆動部を制御するための制御信号である。動力制御信号は、操舵角、アクセル量、などを調整するための制御信号を含む。
具体的には、動力制御部10Gは、移動体10の現在位置、姿勢、および速度を、センサ10Bから取得する。
そして、動力制御部10Gは、センサ10Bから取得したこれらの情報と、曲線経路62と、を用いて、曲線経路62と移動体10の現在位置との偏差がゼロとなるように、動力制御信号を生成し、動力部10Hへ出力する。
これによって、動力制御部10Gは、曲線経路に沿った走行を行うように、動力部10H(移動体10の操舵、エンジンなど)を制御する。このため、移動体10は、曲線経路62に応じた経路に沿って走行する。
なお、曲線経路62から動力制御信号を生成する処理の少なくとも一部を、出力制御部20L側で行ってもよい。
次に、処理部20Aが実行する情報処理の手順を説明する。
図14は、処理部20Aが実行する情報処理の手順の一例を示す、フローチャートである。
まず、取得部20Cが、走行予定経路30を取得する(ステップS100)。次に、取得部20Cが、対象12を取得する(ステップS102)。次に、空間構成部20Dが、探索空間40に、走行予定経路30および対象12を配置する(ステップS104)。
次に、第1配置部20Eが、走行予定経路30の第1領域44にノードN1を配置する(ステップS106)。次に、設定部20Fが、探索空間40にポテンシャル場43を設定する(ステップS108)。
次に、決定部20Gが、ノードN2を追加配置する領域を決定する(ステップS110)。例えば、決定部20Gは、第2領域46および第3領域48を、ノードN2を追加して配置する領域として決定する。
次に、削除部20Hが、ステップS106で第1領域44に配置されたノードN1の内、干渉前空間50Aおよび干渉後空間50Bの少なくとも一方に配置されたノードN1の一部を削除する(ステップS112)。
次に、第2配置部20Iが、ステップS110で決定した領域(例えば、第2領域46および第3領域48)に、ノードN2を配置する(ステップS114)。
次に、探索部20Jが、ステップS100〜ステップS114の処理によって配置されたノードN(ノードN1、ノードN2)を用いて、走行コストが閾値以下の経路60を探索する(ステップS116)。
次に、生成部20Kが、ステップS116で探索された経路60を用いて曲線経路62を生成する(ステップS118)。
次に、生成部20Kが、ステップS118で生成された曲線経路62を示す出力情報を生成し(ステップS120)、出力する(ステップS122)。そして、本ルーチンを終了する。
以上説明したように、本実施の形態の情報処理装置20は、第1配置部20Eと、第2配置部20Iと、探索部20Jと、を備える。第1配置部20Eは、走行予定経路30における、対象12に非干渉の第1領域44にノードN1を配置する。第2配置部20Iは、対象12に干渉する干渉領域42の周辺の第2領域46に、ノードN2を配置する。探索部20Jは、複数のノードN(ノードN1、ノードN2)を経由し、走行予定経路30上における第1地点D1から第2地点D2までの移動コストが閾値以下の、経路60を探索する。
このように、本実施の形態の情報処理装置20は、走行予定経路30上における対象12の干渉しない第1領域44についてはノードN1を配置し、対象12の干渉する干渉領域42については干渉領域42の周囲の第2領域46に、ノードN2を配置する。
このため、情報処理装置20では、走行予定経路30に沿った全領域にランダムにノードNを配置するのではなく、特定の領域に、ノードNを選択的に配置し、経路60の探索に用いることができる。
従って、本実施の形態の情報処理装置20は、準最適な経路60を探索することができる。
また、本実施の形態の情報処理装置20は、全領域にランダムにノードNを配置する従来の方式に比べて、上記効果に加えて、処理時間の短縮や、処理負荷の軽減を図ることができる。
次に、上記実施の形態の情報処理装置20の、ハードウェア構成の一例を説明する。図15は、上記実施の形態の情報処理装置20のハードウェア構成図の一例である。
上記実施の形態の情報処理装置20は、CPU(Central Processing Unit)86などの制御装置と、ROM(Read Only Memory)88やRAM(Random Access Memory)90やHDD(ハードディスクドライブ)92などの記憶装置と、各種機器とのインターフェースであるI/F部82と、出力情報などの各種情報を出力する出力部80と、ユーザによる操作を受付ける入力部94と、各部を接続するバス96とを備えており、通常のコンピュータを利用したハードウェア構成となっている。
上記実施の形態の情報処理装置20では、CPU86が、ROM88からプログラムをRAM90上に読み出して実行することにより、上記各機能がコンピュータ上で実現される。
なお、上記実施の形態の情報処理装置20で実行される上記各処理を実行するためのプログラムは、HDD92に記憶されていてもよい。また、上記実施の形態の情報処理装置20で実行される上記各処理を実行するためのプログラムは、ROM88に予め組み込まれて提供されていてもよい。
また、上記実施の形態の情報処理装置20で実行される上記処理を実行するためのプログラムは、インストール可能な形式または実行可能な形式のファイルでCD−ROM、CD−R、メモリカード、DVD(Digital Versatile Disk)、フレキシブルディスク(FD)等のコンピュータで読み取り可能な記憶媒体に記憶されてコンピュータプログラムプロダクトとして提供されるようにしてもよい。また、上記実施の形態の情報処理装置20で実行される上記処理を実行するためのプログラムを、インターネットなどのネットワークに接続されたコンピュータ上に格納し、ネットワーク経由でダウンロードさせることにより提供するようにしてもよい。また、上記実施の形態の情報処理装置20で実行される上記処理を実行するためのプログラムを、インターネットなどのネットワーク経由で提供または配布するようにしてもよい。
なお、上記には、本発明の実施の形態を説明したが、上記実施の形態は、例として提示したものであり、発明の範囲を限定することは意図していない。この新規な実施の形態は、その他の様々な形態で実施されることが可能であり、発明の要旨を逸脱しない範囲で、種々の省略、置き換え、変更を行うことができる。この実施の形態やその変形は、発明の範囲や要旨に含まれ経路ともに、特許請求の範囲に記載された発明とその均等の範囲に含まれる。
10 移動体
10G 動力制御部
10H 動力部
20 情報処理装置
20C 取得部
20D 空間構成部
20E 第1配置部
20F 設定部
20G 決定部
20I 第2配置部
20J 探索部
20K 生成部
20L 出力制御部
30 走行予定経路
34 極小点
40 探索空間
42 干渉領域
44 第1領域
46 第2領域
48 第3領域
50A 干渉前空間
50B 干渉後空間
60 経路
62 曲線経路

Claims (17)

  1. 走行予定経路における対象に非干渉の第1領域にノードを配置する第1配置部と、
    前記対象に干渉する干渉領域の周辺の第2領域に、前記ノードを配置する第2配置部と、
    複数の前記ノードを経由し、前記走行予定経路における第1地点から第2地点までの移動コストが閾値以下の経路を探索する探索部と、を備え、
    前記第2配置部は、
    前記走行予定経路が前記対象に干渉する通過予定時間または前記対象に干渉する位置の通過予定速度より前の干渉前空間と、前記対象に干渉する通過予定時間または前記対象に干渉する位置の通過予定速度より後の干渉後空間と、の少なくとも一方における、前記走行予定経路から外れた第3領域に、前記ノードを配置する、
    情報処理装置。
  2. 前記走行予定経路を移動する移動体の走行可能領域に沿った座標空間と、該座標空間に直交する通過予定時間軸または通過予定速度軸と、で表される探索空間に、前記走行予定経路および前記対象を配置する空間構成部を備え、
    前記第1配置部は、
    前記探索空間における前記第1領域に前記ノードを配置し、
    前記第2配置部は、
    前記探索空間における前記第2領域に、前記第1領域より高密度で複数の前記ノードを配置する、
    請求項1に記載の情報処理装置。
  3. 前記第2領域は、前記探索空間における、前記走行予定経路に干渉する前記対象に対して、前記座標空間における位置および通過予定時間または通過予定速度の少なくとも1つの異なる空間である、
    請求項2に記載の情報処理装置。
  4. 前記第2配置部は、
    前記探索空間における位置および通過予定時間または通過予定速度の少なくとも1つが互いに異なる複数の前記ノードを、前記第2領域に配置する、
    請求項3に記載の情報処理装置。
  5. 前記第2配置部は、
    前記探索空間における、前記干渉前空間と、前記干渉後空間と、の少なくとも一方における、前記第3領域に、前記ノードを配置する、
    請求項2〜請求項4の何れか1項に記載の情報処理装置。
  6. 前記第2配置部は、
    前記座標空間における位置および通過予定時間または通過予定速度の少なくとも1つが互いに異なる複数の前記ノードを、前記第3領域に配置する、
    請求項5に記載の情報処理装置。
  7. 前記第2配置部は、
    前記干渉前空間における、前記走行予定経路を走行する移動体が前記対象に干渉する前に加減速を開始する加減速開始予定空間と、前記対象を避けるために前記走行予定経路の逸脱を開始する逸脱開始予定空間と、の少なくとも一方の周辺の前記第3領域に、前記ノードを配置する、
    請求項5または請求項6に記載の情報処理装置。
  8. 前記第2配置部は、
    前記干渉後空間における、前記走行予定経路からの逸脱を終了する逸脱終了予定空間と、加減速を終了する加減速終了予定空間と、の少なくとも一方の周辺の前記第3領域に、前記ノードを配置する、
    請求項5〜請求項7の何れか1項に記載の情報処理装置。
  9. 前記探索空間に、前記走行予定経路に近いほど、または、前記対象から遠いほど、低いポテンシャル値を示すポテンシャル場を設定する設定部を備え、
    前記第2配置部は、
    前記探索空間における、前記ポテンシャル場によって示される前記ポテンシャル値の極小ピークを示す極小点と、前記極小点の周辺領域と、を前記第2領域として、前記ノードを配置する、
    請求項5〜請求項8の何れか1項に記載の情報処理装置。
  10. 前記第1領域に配置された前記ノードの内、前記干渉前空間、および前記干渉後空間の少なくとも一方に配置された前記ノードの一部を削除する削除部を備える、
    請求項5〜請求項9の何れか1項に記載の情報処理装置。
  11. 前記経路を移動体が走行可能な曲線で表す曲線経路を生成する生成部を備える、
    請求項1〜請求項10の何れか1項に記載の情報処理装置。
  12. 前記生成部は、
    前記経路から生成した複数の前記曲線経路の内、最も移動コストの低い前記曲線経路を特定する、
    請求項11に記載の情報処理装置。
  13. 前記曲線経路を示す出力情報を出力する出力制御部を備える、
    請求項11または請求項12に記載の情報処理装置。
  14. 前記出力情報を用いて、移動体の動力部を制御する動力制御部、を更に備える、
    請求項13に記載の情報処理装置。
  15. 請求項1〜請求項14の何れか1項に記載の情報処理装置を備える移動体。
  16. コンピュータにより実行される情報処理方法であって、
    前記コンピュータが、走行予定経路における対象に非干渉の第1領域にノードを配置するステップと、
    前記コンピュータが、前記対象に干渉する干渉領域の周辺の第2領域に、前記ノードを配置するステップと、
    前記コンピュータが、前記走行予定経路が前記対象に干渉する通過予定時間または前記対象に干渉する位置の通過予定速度より前の干渉前空間と、前記対象に干渉する通過予定時間または前記対象に干渉する位置の通過予定速度より後の干渉後空間と、の少なくとも一方における、前記走行予定経路から外れた第3領域に、前記ノードを配置するステップと、
    前記コンピュータが、複数の前記ノードを経由し、前記走行予定経路における第1地点から第2地点までの移動コストが閾値以下の、経路を探索するステップと、
    を含む情報処理方法。
  17. 走行予定経路における対象に非干渉の第1領域にノードを配置するステップと、
    前記対象に干渉する干渉領域の周辺の第2領域に、前記ノードを配置するステップと、
    前記走行予定経路が前記対象に干渉する通過予定時間または前記対象に干渉する位置の通過予定速度より前の干渉前空間と、前記対象に干渉する通過予定時間または前記対象に干渉する位置の通過予定速度より後の干渉後空間と、の少なくとも一方における、前記走行予定経路から外れた第3領域に、前記ノードを配置するステップと、
    複数の前記ノードを経由し、前記走行予定経路における第1地点から第2地点までの移動コストが閾値以下の、経路を探索するステップと、
    をコンピュータに実行させるためのプログラム。
JP2017120508A 2017-06-20 2017-06-20 情報処理装置、移動体、情報処理方法、およびプログラム Active JP6901331B2 (ja)

Priority Applications (3)

Application Number Priority Date Filing Date Title
JP2017120508A JP6901331B2 (ja) 2017-06-20 2017-06-20 情報処理装置、移動体、情報処理方法、およびプログラム
US15/913,053 US10921143B2 (en) 2017-06-20 2018-03-06 Information processing device, mobile object, information processing method, and computer program product
EP18160159.2A EP3418688B1 (en) 2017-06-20 2018-03-06 Information processing device, mobile object, information processing method, and computer-readable medium

Applications Claiming Priority (1)

Application Number Priority Date Filing Date Title
JP2017120508A JP6901331B2 (ja) 2017-06-20 2017-06-20 情報処理装置、移動体、情報処理方法、およびプログラム

Publications (2)

Publication Number Publication Date
JP2019006143A JP2019006143A (ja) 2019-01-17
JP6901331B2 true JP6901331B2 (ja) 2021-07-14

Family

ID=61763777

Family Applications (1)

Application Number Title Priority Date Filing Date
JP2017120508A Active JP6901331B2 (ja) 2017-06-20 2017-06-20 情報処理装置、移動体、情報処理方法、およびプログラム

Country Status (3)

Country Link
US (1) US10921143B2 (ja)
EP (1) EP3418688B1 (ja)
JP (1) JP6901331B2 (ja)

Families Citing this family (10)

* Cited by examiner, † Cited by third party
Publication number Priority date Publication date Assignee Title
US10691129B2 (en) * 2018-01-31 2020-06-23 Baidu Usa Llc Dynamically adjustable reference line sampling point density for autonomous vehicles
JP6847885B2 (ja) 2018-03-20 2021-03-24 株式会社東芝 情報処理装置、情報処理方法及びプログラム
JP7461181B2 (ja) * 2020-03-16 2024-04-03 本田技研工業株式会社 制御装置、システム、プログラム、及び制御方法
JP2022013388A (ja) * 2020-07-03 2022-01-18 パナソニックIpマネジメント株式会社 移動体
CN113960996B (zh) * 2020-07-20 2025-05-23 华为技术有限公司 行驶装置的避障路径的规划方法和装置
JP2022030664A (ja) * 2020-08-07 2022-02-18 株式会社東芝 情報処理装置、情報処理方法、プログラム、情報処理システム、および、車両制御システム
CN112631306B (zh) * 2020-12-28 2021-12-14 深圳市普渡科技有限公司 机器人移动路径规划方法、装置及机器人
JP7646515B2 (ja) * 2021-10-18 2025-03-17 株式会社東芝 経路計画装置、経路計画方法、および経路計画プログラム
JP7723575B2 (ja) * 2021-11-10 2025-08-14 株式会社東芝 情報処理装置、情報処理方法及びコンピュータプログラム
KR20250094068A (ko) * 2023-12-18 2025-06-25 네이버 주식회사 로봇 친화형 건물, 건물을 주행하는 로봇 제어 방법 및 시스템

Family Cites Families (26)

* Cited by examiner, † Cited by third party
Publication number Priority date Publication date Assignee Title
JPS4949063B1 (ja) 1969-09-10 1974-12-25
JPS5336800B2 (ja) 1973-05-30 1978-10-04
JPH05297944A (ja) * 1992-04-24 1993-11-12 Fujitsu Ltd 移動ロボットの障害物回避方式
JPH07225612A (ja) * 1994-02-15 1995-08-22 Fujitsu Ltd 時間軸を探索空間に取り入れた経路探索方法,及び装置
JPH07281748A (ja) 1994-04-15 1995-10-27 Nippondenso Co Ltd 自走体の運行方法、及び自走体の運行システム
JP3269418B2 (ja) 1996-03-25 2002-03-25 株式会社デンソー 最適経路探索方法
JP3844247B2 (ja) 2003-07-28 2006-11-08 松下電工株式会社 自律移動のための経路生成装置及び該装置を用いた自律移動装置
JP4604683B2 (ja) * 2004-11-25 2011-01-05 日産自動車株式会社 危険状況警報装置
JP4949063B2 (ja) 2007-02-14 2012-06-06 富士重工業株式会社 車両の運転支援装置
US8224564B2 (en) 2007-02-14 2012-07-17 Fuji Jukogyo Kabushiki Kaisha Vehicle drive assist system
JP2008230467A (ja) * 2007-03-22 2008-10-02 Mitsubishi Electric Corp 走行支援装置
JP5336800B2 (ja) 2008-09-24 2013-11-06 富士重工業株式会社 車両の運転支援装置
JP5434535B2 (ja) 2009-12-02 2014-03-05 トヨタ自動車株式会社 経路作成装置
EP2541524B1 (en) 2010-02-22 2018-04-25 Toyota Jidosha Kabushiki Kaisha Risk degree calculation device
JP2012190405A (ja) 2011-03-14 2012-10-04 Toyota Motor Corp 経路情報修正装置、軌道計画装置、及びロボット
JP6056975B2 (ja) * 2013-07-26 2017-01-11 日産自動車株式会社 車両用操舵制御装置および車両用操舵制御方法
JP5989622B2 (ja) * 2013-09-30 2016-09-07 アイシン・エィ・ダブリュ株式会社 区間取得システム、区間取得方法および区間取得プログラム
US9842503B2 (en) * 2014-07-28 2017-12-12 Mitsubishi Electric Corporation Driving support apparatus and driving support method
JP2017004373A (ja) * 2015-06-12 2017-01-05 株式会社リコー 情報処理装置、情報処理プログラム、および情報処理システム
US9821801B2 (en) * 2015-06-29 2017-11-21 Mitsubishi Electric Research Laboratories, Inc. System and method for controlling semi-autonomous vehicles
US10145699B2 (en) * 2015-08-28 2018-12-04 The Boeing Company System and methods for real-time escape route planning for fire fighting and natural disasters
US10120385B2 (en) * 2016-03-30 2018-11-06 Intel Corporation Comfort ride vehicle control system
JP6727985B2 (ja) 2016-08-18 2020-07-22 株式会社東芝 情報処理装置、情報処理方法、および移動体
JP6769892B2 (ja) * 2017-02-22 2020-10-14 クラリオン株式会社 ナビゲーション装置、経路探索サーバ、および経路探索方法
JP6678609B2 (ja) 2017-03-01 2020-04-08 株式会社東芝 情報処理装置、情報処理方法、情報処理プログラム、および移動体
JP6823512B2 (ja) * 2017-03-16 2021-02-03 本田技研工業株式会社 経路決定装置、車両制御装置、経路決定方法、およびプログラム

Also Published As

Publication number Publication date
US20180364060A1 (en) 2018-12-20
JP2019006143A (ja) 2019-01-17
EP3418688A1 (en) 2018-12-26
EP3418688B1 (en) 2021-04-21
US10921143B2 (en) 2021-02-16

Similar Documents

Publication Publication Date Title
JP6901331B2 (ja) 情報処理装置、移動体、情報処理方法、およびプログラム
CN108981730B (zh) 用于为操作自动驾驶车辆生成参考路径的方法和系统
US10551207B2 (en) Autonomous vehicle sensor data and map integration
US11003183B2 (en) Driving scene based path planning for autonomous driving vehicles
US10807599B2 (en) Driving scenario based lane guidelines for path planning of autonomous driving vehicles
EP3245614B1 (en) Object detection using location data and scale space representations of image data
US20190317519A1 (en) Method for transforming 2d bounding boxes of objects into 3d positions for autonomous driving vehicles (advs)
KR20210047341A (ko) 모션 그래프 구성 및 차선 레벨 루트 계획
CN110390240B (zh) 自动驾驶车辆中的车道后处理
EP3553752A1 (en) Information processing apparatus, information processing method, and computer-readable medium for generating an obstacle map
JP2019045379A (ja) 自車位置推定装置
US11754415B2 (en) Sensor localization from external source data
CN113178091B (zh) 安全行驶区域方法、装置和网络设备
CN116745187A (zh) 通过可行驶区域边界的语义分割来预测不确定道路使用者的轨迹的方法和系统
US12304481B2 (en) Systems and methods for controlling longitudinal acceleration based on lateral objects
US11938961B2 (en) Vehicle system
US20220041165A1 (en) Information processing device, information processing method, computer program product, information processing system, and vehicle control system
US20230415736A1 (en) Systems and methods for controlling longitudinal acceleration based on lateral objects
US12296853B2 (en) Systems and methods for controlling longitudinal acceleration based on lateral objects
US12428029B2 (en) Systems and methods for estimating cuboid headings based on heading estimations generated using different cuboid defining techniques
CN114763162B (zh) 车辆系统
JP7132368B2 (ja) 車両システム

Legal Events

Date Code Title Description
A621 Written request for application examination

Free format text: JAPANESE INTERMEDIATE CODE: A621

Effective date: 20190813

A977 Report on retrieval

Free format text: JAPANESE INTERMEDIATE CODE: A971007

Effective date: 20200925

A131 Notification of reasons for refusal

Free format text: JAPANESE INTERMEDIATE CODE: A131

Effective date: 20201013

A521 Written amendment

Free format text: JAPANESE INTERMEDIATE CODE: A523

Effective date: 20201127

A131 Notification of reasons for refusal

Free format text: JAPANESE INTERMEDIATE CODE: A131

Effective date: 20210126

A521 Written amendment

Free format text: JAPANESE INTERMEDIATE CODE: A523

Effective date: 20210222

TRDD Decision of grant or rejection written
A01 Written decision to grant a patent or to grant a registration (utility model)

Free format text: JAPANESE INTERMEDIATE CODE: A01

Effective date: 20210518

A61 First payment of annual fees (during grant procedure)

Free format text: JAPANESE INTERMEDIATE CODE: A61

Effective date: 20210617

R151 Written notification of patent or utility model registration

Ref document number: 6901331

Country of ref document: JP

Free format text: JAPANESE INTERMEDIATE CODE: R151