JP6889852B2 - 定着装置および画像形成装置 - Google Patents

定着装置および画像形成装置 Download PDF

Info

Publication number
JP6889852B2
JP6889852B2 JP2017047546A JP2017047546A JP6889852B2 JP 6889852 B2 JP6889852 B2 JP 6889852B2 JP 2017047546 A JP2017047546 A JP 2017047546A JP 2017047546 A JP2017047546 A JP 2017047546A JP 6889852 B2 JP6889852 B2 JP 6889852B2
Authority
JP
Japan
Prior art keywords
lubricant
fixing device
width direction
rotating body
nip
Prior art date
Legal status (The legal status is an assumption and is not a legal conclusion. Google has not performed a legal analysis and makes no representation as to the accuracy of the status listed.)
Active
Application number
JP2017047546A
Other languages
English (en)
Other versions
JP2018151520A (ja
Inventor
賢太 柏木
賢太 柏木
斎藤 聖治
聖治 斎藤
裕 内藤
裕 内藤
良春 高橋
良春 高橋
藤原 仁
仁 藤原
康晴 河原▲崎▼
康晴 河原▲崎▼
Current Assignee (The listed assignees may be inaccurate. Google has not performed a legal analysis and makes no representation or warranty as to the accuracy of the list.)
Ricoh Co Ltd
Original Assignee
Ricoh Co Ltd
Priority date (The priority date is an assumption and is not a legal conclusion. Google has not performed a legal analysis and makes no representation as to the accuracy of the date listed.)
Filing date
Publication date
Application filed by Ricoh Co Ltd filed Critical Ricoh Co Ltd
Priority to JP2017047546A priority Critical patent/JP6889852B2/ja
Publication of JP2018151520A publication Critical patent/JP2018151520A/ja
Application granted granted Critical
Publication of JP6889852B2 publication Critical patent/JP6889852B2/ja
Active legal-status Critical Current
Anticipated expiration legal-status Critical

Links

Images

Landscapes

  • Fixing For Electrophotography (AREA)
  • Rolls And Other Rotary Bodies (AREA)

Description

本発明は、定着装置および画像形成装置に関するものである。
従来、回転可能な無端状の定着ベルトなどの回転体と、回転体の外周面と接触する加圧ローラなどの接触部材と、回転体の内側に配置されて回転体を介して接触部材と当接しニップ部を形成するニップ形成部材と、回転体の内周面とニップ形成部材との間に介在する潤滑剤と、ニップ形成部材の前記回転体に接触する接触面における回転体の回転方向と直交する幅方向の端部に潤滑剤を滞留させる潤滑剤滞留凹部とを備えた定着装置が知られている。
特許文献1には、上記定着装置として、ニップ形成部材の接触面の幅方向両端に回転体の回転方向に延びる潤滑剤滞留凹部を設けたものが記載されている。これによれば、接触部材の回転体に対する押圧力により幅方向に端部へ向けて移動する潤滑剤を、潤滑剤滞留凹部に入り込ませて滞留させることで、端部へ移動しようとする潤滑剤の流動性を低下させることができる。これにより、回転体の端部からの潤滑剤の漏れを抑制することができる旨が記載されている。
しかしながら、上記特許文献1に記載の定着装置では、回転体の端部からの潤滑剤の漏れを十分に抑制できないおそれがあった。
上記課題を解決するために、本発明は、回転可能な無端状の回転体と、前記回転体の外周面と接触する接触部材と、前記回転体の内側に配置されて前記回転体を介して前記接触部材と当接しニップ部を形成するニップ形成部材と、前記回転体の内周面と前記ニップ形成部材との間に介在する潤滑剤と、前記ニップ形成部材の前記回転体に接触する接触面における前記回転体の回転方向と直交する幅方向の端部に前記潤滑剤を滞留させる潤滑剤滞留凹部とを備えた定着装置において、前記接触面の前記潤滑剤滞留凹部よりも前記幅方向の中央側に、前記潤滑剤を前記中央側へ移送する潤滑剤移送部を設け、前記潤滑剤滞留凹部は、断面円形状の穴形状であり、複数の潤滑剤滞留凹部が、前記回転方向に並べて配置されており、前記潤滑剤滞留凹部同士を連結する溝部を有することを特徴とするものである。
本発明によれば、回転体の端部からの潤滑剤の漏れを良好に抑制することができる。
本実施形態に係るプリンタの概略構成図。 定着装置の概要説明図。 ニップ形成部材を、図2の矢印C方向から見た概略構成図。 潤滑剤滞留凹部の断面図。 潤滑剤移送部の凹凸形状の一例を示す図。 潤滑剤移送部の変形例を示す図。 潤滑剤滞留凹部の変形例を示す図。
以下、本発明を適用した定着装置を備えた画像形成装置として、電子写真方式のカラープリンタ(以下、プリンタ1という)の一実施形態について説明する。
図1は、本実施形態に係るプリンタ1の概略構成図である。
図1に示すように、本実施の形態におけるプリンタ1は、タンデム型カラープリンタである。
プリンタ本体の上方にあるボトル収容部101には、各色(イエロー、マゼンタ、シアン、ブラック)に対応した4つのトナーボトル102Y、102M、102C、102Kが着脱自在(交換自在)に設置されている。
ボトル収容部101の下方には中間転写ユニット85が配設されている。その中間転写ユニット85の中間転写ベルト78に対向するように、各色(イエロー、マゼンタ、シアン、ブラック)に対応した作像部4Y、4M、4C、4Kが並設されている。各作像部4Y、4M、4C、4Kには、それぞれ、感光体ドラム5Y、5M、5C、5Kが配設されている。また、各感光体ドラム5Y、5M、5C、5Kの周囲には、それぞれ、帯電部75、現像部76、クリーニング部77、除電部等が配設されている。そして、各感光体ドラム5Y、5M、5C、5K上で、作像プロセス(帯電工程、露光工程、現像工程、転写工程、クリーニング工程)がおこなわれて、各感光体ドラム5Y、5M、5C、5K上に各色の画像が形成されることになる。
感光体ドラム5Y、5M、5C、5Kは、駆動モータによって図1中の時計方向に回転駆動される。そして、帯電部75の位置で、感光体ドラム5Y、5M、5C、5Kの表面が一様に帯電される(帯電工程である。)。その後、感光体ドラム5Y、5M、5C、5Kの表面は、露光部3から発せられたレーザ光Lの照射位置に達して、この位置での露光走査によって各色に対応した静電潜像が形成される(露光工程である。)。その後、感光体ドラム5Y、5M、5C、5Kの表面は、現像部76との対向位置に達して、この位置で静電潜像が現像されて、各色のトナー像が形成される(現像工程である。)。その後、感光体ドラム5Y、5M、5C、5Kの表面は、中間転写ベルト78及び1次転写バイアスローラ79Y、79M、79C、79Kとの対向位置に達して、この位置で感光体ドラム5Y、5M、5C、5K上のトナー像が中間転写ベルト78上に転写される(1次転写工程である。)。このとき、感光体ドラム5Y、5M、5C、5K上には、僅かながら未転写トナーが残存する。その後、感光体ドラム5Y、5M、5C、5Kの表面は、クリーニング部77との対向位置に達して、この位置で感光体ドラム5Y、5M、5C、5K上に残存した未転写トナーがクリーニング部77のクリーニングブレードによって機械的に回収される(クリーニング工程である。)。最後に、感光体ドラム5Y、5M、5C、5Kの表面は、除電部との対向位置に達して、この位置で感光体ドラム5Y、5M、5C、5K上の残留電位が除去される。
こうして、感光体ドラム5Y、5M、5C、5K上でおこなわれる、一連の作像プロセスが終了する。その後、現像工程を経て各感光体ドラム上に形成した各色のトナー像を、中間転写ベルト78上に重ねて転写する。こうして、中間転写ベルト78上にカラー画像が形成される。
ここで、中間転写ユニット85は、中間転写ベルト78、4つの1次転写バイアスローラ79Y、79M、79C、79K、2次転写バックアップローラ82、クリーニングバックアップローラ83、テンションローラ84、中間転写クリーニング部80、等で構成される。
中間転写ベルト78は、3つのローラ82〜84によって張架・支持されるとともに、1つのローラ82の回転駆動によって図1中の矢印方向に無端移動される。4つの1次転写バイアスローラ79Y、79M、79C、79Kは、それぞれ、中間転写ベルト78を感光体ドラム5Y、5M、5C、5Kとの間に挟み込んで1次転写ニップを形成している。
1次転写バイアスローラ79Y、79M、79C、79Kに、トナーの極性とは逆の転写バイアスが印加される。そして、中間転写ベルト78は、矢印方向に走行して、各1次転写バイアスローラ79Y、79M、79C、79Kの1次転写ニップを順次通過する。こうして、感光体ドラム5Y、5M、5C、5K上の各色のトナー像が、中間転写ベルト78上に重ねて1次転写される。その後、各色のトナー像が重ねて転写された中間転写ベルト78は、2次転写ローラ89との対向位置に達する。この位置では、2次転写バックアップローラ82が、2次転写ローラ89との間に中間転写ベルト78を挟み込んで2次転写ニップを形成している。
そして、中間転写ベルト78上に形成された4色のトナー像は、この2次転写ニップの位置に搬送された記録媒体P上に転写される。このとき、中間転写ベルト78には、記録媒体Pに転写されなかった未転写トナーが残存する。その後、中間転写ベルト78は、中間転写クリーニング部80の位置に達する。この位置で、中間転写ベルト78上の未転写トナーが回収される。こうして、中間転写ベルト78上でおこなわれる、一連の転写プロセスが終了する。ここで、2次転写ニップの位置に搬送された記録媒体Pは、プリンタ1の下方に配設された給紙部12から、給紙ローラ97やレジストローラ対98等を経由して搬送されたものである。
給紙部12には、転写紙等の記録媒体Pが複数枚重ねて収納されている。そして、給紙ローラ97が図1中の反時計方向に回転駆動されると、一番上の記録媒体Pがレジストローラ対98のローラ間に向けて給送される。レジストローラ対98に搬送された記録媒体Pは、回転駆動を停止したレジストローラ対98のローラニップの位置で一旦停止する。そして、中間転写ベルト78上のカラー画像にタイミングを合わせて、レジストローラ対98が回転駆動されて、記録媒体Pが2次転写ニップに向けて搬送される。こうして、記録媒体P上に、所望のカラー画像が転写される。その後、2次転写ニップの位置でカラー画像が転写された記録媒体Pは、定着装置20の位置に搬送される。
そして、この位置で、定着ベルト21及び加圧ローラ31による熱と圧力とにより、表面に転写されたカラー画像が記録媒体P上に定着される。その後、記録媒体Pは、排紙ローラ対99のローラ間を経て、装置外へと排出される。排紙ローラ対99によって装置外に排出された記録媒体Pは、出力画像として、スタック部100上に順次スタックされる。こうして、画像形成装置における、一連の画像形成プロセスが完了する。
次に、図2にて、プリンタ1に設置される定着装置20の構成・動作について詳述する。
図2は、定着装置20の概要説明図である。
定着装置20は、回転体としての定着ベルト21、固定部材26、加熱部材22、補強部材23(支持部材)、ヒータ25(熱源)、接触部材としての加圧ローラ31、温度センサ40、接離機構50、ニップ形成部材39および分離板60等で構成される。
定着ベルト21は、薄肉で可撓性を有する無端状ベルトであって、図2中の矢印A方向(反時計方向)に回転(走行)する。定着ベルト21は、内周面側から、基材層、弾性層、離型層が順次積層されていて、その全体の厚さが1[mm]以下に設定されている。定着ベルト21の基材層は、層厚が30〜100[μm]であって、ニッケル、ステンレス等の金属材料やポリイミド等の樹脂材料で形成されている。定着ベルト21の弾性層は、層厚が100〜300[μm]であって、シリコーンゴム、発泡性シリコーンゴム、フッ素ゴム、等のゴム材料で形成されている。弾性層を設けることで、ニップ部における定着ベルト21表面の微小な凹凸が形成されなくなり、記録媒体P上のトナー像Tに均一に熱が伝わり柚子肌画像の発生が抑止される。定着ベルト21の離型層は、層厚が10〜50[μm]であって、PFA(テトラフルオロエチレン‐パーフルオロアルキルビニルエーテル共重合体)、PTFE(ポリテトラフルオロエチレン)、ポリイミド、ポリエーテルイミド、PES(ポリエーテルサルファイド)、等の材料で形成されている。離型層を設けることで、トナー像Tのトナーに対する離型性(剥離性)が確保される。また、定着ベルト21の直径は15〜120[mm]になるように設定されている。なお、本実施の形態1では、定着ベルト21の直径が30[mm]程度に設定されている。
また、ニップ部の位置で定着ベルト21の外周面に当接する接触部材としての加圧ローラ31は、直径が30〜40[mm]程度であって、中空構造の芯金32上に弾性層33を形成したものである。加圧ローラ31の弾性層33は、発泡性シリコーンゴム、シリコーンゴム、フッ素ゴム等の材料で形成されている。なお、弾性層33の表層にPFA、PTFE等からなる薄肉の離型層を設けることもできる。加圧ローラ31は定着ベルト21に圧接して、双方の部材間に所望のニップ部を形成する。
固定部材26は、液晶ポリマー等の耐熱樹脂材料等で構成される。この固定部材26には、固定部材長手方向と同一長さのニップ形成部材39が加圧ローラ31側の面に固定配置されている。このニップ形成部材表面にはグリス等の潤滑剤が塗布されている。このニップ形成部材39は厚さ5〜50[μm]ほどのエポキシ樹脂ベースの永久膜用ネガ型フォトレジストから成る構造物であり、後述するように、半導体製造技術(Micro Electro Mechanical Systems技術)により凹凸形状が形成されている。また、ニップ部の出口部には、記録媒体Pを分離する分離板60が、定着ベルト21の軸方向の幅、すなわち、記録媒体Pの幅全体に対応する幅を有する。
また、ニップ形成部材39は、弾性変形可能な弾性部材で構成するのが好ましい。ニップ形成部材39を、弾性部材で構成することで、ニップ部において記録媒体Pの表面の微小な凹凸にベルト表面が追従して、記録媒体P上のトナー像Tに均一に熱が伝わり柚子肌画像の防止に効果がある。
固定部材26は、加圧ローラ31側の面が加圧ローラ31の曲率にならうように断面形状が凹状に形成されている。これにより、加圧ローラ31側の面に固定されるニップ形成部材39の断面形状が凹状となり、記録媒体Pは加圧ローラ31の曲率にならうようにニップ部から送出される。よって、定着工程後の記録媒体Pが定着ベルト21に吸着して分離しないような不具合を抑止することができる。また、凹状の断面形状にすることによって、定着ベルト21と記録媒体Pとの密着性が高くなり、定着性が向上する。さらに、ニップ部の出口側における定着ベルト21の曲率が大きくなるために、ニップ部から送出された記録媒体Pを定着ベルト21から容易に分離することができる。
なお、固定部材26の加圧ローラ31側の面を平面状にしてニップ形成部材39の定着ベルト21の内周面と接触する面を平面状とし、ニップ部の形状を記録媒体Pの画像面に対してほぼ平行としてもよい。ニップ部の形状が記録媒体Pの画像面に対してほぼ平行とすることで、記録媒体Pにシワが発生するのを防止する効果がある。
加熱部材22は、肉厚が0.2[mm]以下のパイプ状部材である。加熱部材22の材料としては、アルミニウム、鉄、ステンレス等の金属熱伝導体(熱伝導性を有する金属である。)を用いることができる。加熱部材22の肉厚を0.2[mm]以下に設定することで、定着ベルト21(加熱部材22)の加熱効率を向上することができる。
加熱部材22は、ニップ部を除く位置で定着ベルト21の内周面に近接もしくは接触するように形成され、ニップ部の位置には内部に凹状に形成されるとともに開口部が形成された凹部が設けられている。ここで、常温時における定着ベルト21と加熱部材22とのギャップG(ニップ部を除く位置のギャップである。)は、0[mm]より大きく2[mm]以下とすることが好ましい(0[mm]<G≦2[mm]である)。これにより、加熱部材22と定着ベルト21とが摺接する面積が大きくなって定着ベルト21の磨耗が加速する不具合を抑止するとともに、加熱部材22と定着ベルト21とが離れ過ぎて定着ベルト21の加熱効率が低下する不具合を抑止することができる。さらに、加熱部材22が定着ベルト21に近設されることで、可撓性を有する定着ベルト21の円形姿勢がある程度維持されるため、定着ベルト21の変形による劣化・破損を軽減することができる。なお、図2では、加熱部材22の断面形状がほぼ円形になるように形成したが、加熱部材22の断面形状が多角形になるように形成することもできる。
加熱部材22は、その幅方向両端部が定着装置20の側板に固定支持されている。そして、加熱部材22は、ヒータ25の輻射熱(輻射光)により加熱されて定着ベルト21を加熱する。すなわち、加熱部材22がヒータ25(加熱手段)によって直接的に加熱されて、加熱部材22を介して定着ベルト21がヒータ25によって間接的に加熱されることになる。なお、ヒータ25の出力制御は、定着ベルト21表面に対向するサーミスタ等の温度センサ40によるベルト表面温度の検知結果に基づいておこなわれる。また、このようなヒータ25の出力制御によって、定着ベルト21の温度(定着温度)を所望の温度に設定することができる。このように、定着装置20は、定着ベルト21の一部のみが局所的に加熱されるのではなく、加熱部材22によって定着ベルト21が周方向にわたってほぼ全体的に加熱されることになる。このため、装置を高速化した場合であっても定着ベルト21が充分に加熱されて定着不良の発生を抑止することができる。なお、図2において、ヒータ25の例としてハロゲンヒータを用いたが、熱源の種類はハロゲンヒータに限定されるものではなく、例えば誘導加熱方式の熱源を有する定着装置であっても良い。
補強部材23(支持部材)は、ニップ部を形成する固定部材26を補強、支持するためのもので、定着ベルト21の内周面側に固設されている。補強部材23は、幅方向の長さが固定部材26と同等になるように形成されていて、その幅方向両端部が定着装置20の側板に固定支持されている。そして、補強部材23が固定部材26、定着ベルト21介して加圧ローラ31に当接することで、ニップ部において固定部材26が加圧ローラ31の加圧力を受けて大きく変形する不具合を抑止している。なお、補強部材23は、上述した機能を満足するために、ステンレスや鉄等の機械的強度が高い金属材料で形成することが好ましい。
また、ヒータ25がハロゲンヒータなど輻射熱を利用して加熱する方式の熱源である場合には、補強部材23におけるヒータ25に対向する面の一部又は全部に、断熱部材を設けたり、BA処理や鏡面研磨処理を施したりすることもできる。ヒータ25から補強部材23に向かう輻射熱(補強部材23を加熱する熱)が加熱部材22の加熱に用いられることになるために、定着ベルト21(加熱部材22)の加熱効率がさらに向上することになる。
以下、上述のように構成された定着装置20の、通常時の動作について簡単に説明する。プリンタ本体の電源スイッチが投入されると、ヒータ25に電力が供給されるとともに、加圧ローラ31の図2中の矢印B方向の回転駆動が開始される。これにより、加圧ローラ31との摩擦力によって、定着ベルト21も図2中の矢印A方向に従動(回転)する。その後、給紙部12から記録媒体Pが給送されて、2次転写ローラ89の位置で、記録媒体P上に未定着のカラー画像が担持(転写)される。未定着画像であるトナー像Tが担持された記録媒体Pは、ガイド板に案内されながら図2の矢印C1方向に搬送されて、圧接状態にある定着ベルト21及び加圧ローラ31のニップ部に送入される。そして、加熱部材22(ヒータ25)によって加熱された定着ベルト21による加熱と、補強部材23によって補強された固定部材26と加圧ローラ31との押圧力とによって、記録媒体Pの表面にトナー像Tが定着される。その後、ニップ部から送出された記録媒体Pは、矢印C2方向に搬送される。
ここでは加熱手段として加熱部材22の外周に、無端のベルト(定着ベルト21)を要する構成を持つ定着装置について説明したが、それに限らず、その他の加熱手段を有する定着装置であっても良い。
加圧ローラ31を定着ベルト21に押し付けることによりニップ形成部材表面に塗布されたグリス等の潤滑剤の一部が記録媒体Pの幅方向に移動する。そして、移動した潤滑剤は、時間の経過に伴い、定着ベルト21の端部から潤滑剤がはみ出してしまう。定着ベルト21の端部から潤滑剤がはみ出すと、定着ベルト21の内周面とニップ形成部材39との間に介在する潤滑剤の総量が減り、付着する潤滑剤の総量が減り、定着ベルト21とニップ形成部材39との摺動抵抗が増加してしまう。摺動抵抗が増すことにより、加圧ローラ31を回転駆動させているモータやギヤの回転負荷が増加し、これらが破損するおそれがある。また、摺動抵抗が増すことにより、異音が発生するおそれもあった。
そこで、本実実施形態においては、ニップ形成部材39の幅方向両端部に潤滑剤滞留凹部を設けるとともに、潤滑剤滞留凹部よりも内側に潤滑剤を幅方向中央へ移送させる潤滑剤移送部とを設けて、定着ベルト21端部からの潤滑剤の漏れ出しを抑制するようにした。以下、図面を用いて具体的に説明する。
図3は、ニップ形成部材39を、図2の矢印C方向から見た概略構成図である。
図3に示すように、ニップ形成部材39の定着ベルト21の内周面に接触する接触面39aの幅方向(ニップ形成部材39の長手方向)両端には、穴形状の潤滑剤滞留凹部52が複数設けられている。潤滑剤滞留凹部52は、図3の矢印Dに示す定着ベルト21の回転方向(ニップ形成部材39の短手方向)に複数並んで形成された潤滑剤滞留凹部52の列が、幅方向に2列形成されている。端部側は、潤滑剤滞留凹部52が4つ回転方向に並んで設けられており、中央側の潤滑剤滞留凹部52は、3つ回転方向に並んで設けられている。また、回転方向において、中央側の潤滑剤滞留凹部52は、端部側の潤滑剤滞留凹部52の間に設けられている。これにより、幅方端部へ移動する潤滑剤を、良好に潤滑剤滞留凹部52で捉えることができ、潤滑剤滞留凹部52に滞留させることができる。
定着ベルト21の幅は、ニップ形成部材39の幅(ニップ形成部材39の長手方向の長さ)よりも広くなっており、ニップ形成部材39の端部まで定着ベルト21の内周面は接触している。
潤滑剤滞留凹部52の一例としては、深さ0.005〜0.05[mm]、直径0.5[mm]の断面円形状の穴形状である。また、潤滑剤滞留凹部52の断面形状は、三角形や四角形などの多角形状や、楕円形状でもよい。また、潤滑剤滞留凹部52は、ニップ形成部材39の通紙領域外に設けるのが好ましい。これは、潤滑剤滞留凹部52の部分のニップ圧が低くなるからである。よって、潤滑剤滞留凹部52を、通紙領域に設けると、定着画像に悪影響を及ばすおそれがある。従って、潤滑剤滞留凹部52を、通紙領域に設ける場合は、ニップ圧の低下を抑制するために、潤滑剤滞留凹部52の直径を短くしたり、潤滑剤滞留凹部52の間隔を広げたりする必要がある。潤滑剤滞留凹部52の直径を短くすることにより、多くの潤滑剤を潤滑剤滞留凹部52で滞留させることができない。また、潤滑剤滞留凹部52の間隔を広げることにより、定着ベルト端部へ移動する潤滑剤を良好に捉えることができない。その結果、定着ベルト21端部からの潤滑剤のはみ出しを良好に抑制できないおそれがある。このような理由から、潤滑剤滞留凹部52を、通紙領域外に設けるのが好ましいのである。
ニップ形成部材39と定着ベルト21との間の潤滑剤は、加圧ローラ31の押圧力によってニップ形成部材39の幅方向端部へ移動する。この幅方向端部へ移動してきた潤滑剤は、潤滑剤滞留凹部52に入り込んで、この潤滑剤滞留凹部52で滞留する。これにより、この潤滑剤滞留凹部52よりも幅方向に潤滑剤が移動するのを抑制することができ、ニップ形成部材39の幅方向端部よりも外側にある定着ベルト21端部から潤滑剤が漏れ出すのを抑制することができる。
図4は、潤滑剤滞留凹部52の断面図である。
図4(a)に示すように、潤滑剤滞留凹部52は、ニップ形成部材39の接触面39aに対して直交する方向に真直ぐ延びる穴形状であってもよいし、図4(b)に示すように、幅方向端部側へ傾斜するような穴形状でもよい。また、幅方向中央側へ傾斜するような穴形状であってもよい。
また、潤滑剤滞留凹部52よりも幅方向中央側には、潤滑剤を幅方向中央へ移送させる潤滑剤移送部51が設けられている。潤滑剤移送部51は、定着ベルト21の回転方向に対して傾斜した凹凸形状で構成されている。
図5は、潤滑剤移送部51の凹凸形状の一例を示す図である。
図5(a)に示すように、ニップ形成部材39の接触面39aから突出した回転方向に傾斜する直方形状の凸部51aを、規定のピッチで配列することで、凸部51aと凹部51bとが交互に配列された凹凸形状の潤滑剤移送部51を形成することができる。また、図4(b)に示すように、接触面39aに対して回転方向に傾斜する断面四角形状の溝部を、規定のピッチで配列することで、凸部51aと凹部51bとが交互に配列された凹凸形状の潤滑剤移送部51を形成することができる。
潤滑剤移送部51の凹凸形状の定着ベルト回転方向に対する傾斜角度は、10°〜80°の範囲で適宜設定すればよい。また、凹凸形状の凹部51bの深さは0.05[mm]以下が好ましい。凹凸形状の凹部51bの深さが0.05[mm]よりも深いと、凹部51bのニップ圧が低くなり、良好な定着性が得られないおそれがある。また、凹部51bの幅は、0.05[mm]以下が好ましい。凹部51bの幅が0.05[mm]よりも広すぎると、凹部51bの箇所のニップ圧が低くなりニップ圧が均一とならず、良好な定着性が得られないおそれがある。また、凸部51aまたは凹部51bのピッチは、0.3[mm]以下が好ましい。凸部51aまたは凹部51bのピッチが、0.3[mm]を超えると、ニップ圧が均一とならず、良好な定着性が得られないおそれがある。
ニップ形成部材39と定着ベルト21との間の潤滑剤は、潤滑剤移送部51の凹部51bに保持される。定着ベルト21が回転すると、この凹部51bに保持された潤滑剤は、図3の矢印D方向へ移動し、回転方向上流側に位置する回転方向に対して傾斜した傾斜面である凸部51aの側面に当接する。そして、この凸部51aの側面に案内され、幅方向端部側から中央側へ潤滑剤が移送される。これにより、潤滑剤を幅方向中央側に戻すことができ、潤滑剤滞留凹部52へ移動する潤滑剤を低減することができる。これにより、潤滑剤滞留凹部52に滞留する潤滑剤が満杯になるのを抑制することができる。その結果、潤滑剤滞留凹部52から溢れ出た潤滑剤が、加圧ローラ31の押圧力により定着ベルト21の端部へ向けて移動するのを抑制することができる。これにより、長期に亘り、定着ベルト21の端部から潤滑剤が漏れ出すのを抑制することができる。
また、本実施形態においては、ニップ形成部材39を、エポキシ樹脂ベースの永久膜用ネガ型フォトレジストから成る構造物とした。このように、ニップ形成部材39としてフォトレジストを用いることで、半導体製造技術(Micro Electro Mechanical Systems技術)により容易に、凹凸形状の潤滑剤移送部51や、複数の穴形状の潤滑剤滞留凹部52を形成することができる。具体的には、フォトマスク越しに紫外線を当てることで、ニップ形成部材39に所望の凹凸形状を形成することができる。
図6は、潤滑剤移送部51の変形例を示す図である。
図6に示すように、本実施形態においては、ニップ形成部材39の幅方向長さをLとしたとき、ニップ形成部材39の幅方向中央から幅方向に(1/6)L離れた位置を基準にして、幅方向端部側に潤滑剤移送部51を設け、中央側に、回転方向に真直ぐ延びる凹凸形状の中央移送部54を設けた。ニップ形成部材39の幅方向中央付近の存在する潤滑剤は、中央移送部54の回転方向に真直ぐ延びる凹凸形状の凹部に保持される。定着ベルト21が回転すると、中央移送部54の凹部に保持された潤滑剤は、凸部の側面に当接せずに真直ぐ回転方向へ移動する。一方、中央移送部54の凹部に保持された潤滑剤が、加圧ローラ31の押圧力の影響で、端部側へ移動しようとするときは、凸部の側面に堰き止められ、幅方向端部への移動が規制される。これにより、幅方向中央側の潤滑剤が、幅方向端部へ移動するのを抑制することができる。
一方、ニップ形成部材39の幅方向中央から幅方向に(1/6)L離れた位置よりも端部側へ移動してきた潤滑剤は、潤滑剤移送部51により幅方向中央へ移送される。これにより、上述と同様、潤滑剤滞留凹部52へ移動する潤滑剤が低減するこことができる。
このように、ニップ形成部材39の幅方向中央から幅方向に(1/6)L離れた位置を基準にして、幅方向端部側に潤滑剤移送部51を設けたことにより、図3の構成に比べて、潤滑剤が幅方向中央に集まり過ぎるの抑制することができる。これにより、幅方向に潤滑剤を分散させつつ、定着ベルト21の端部からの潤滑剤の漏れ出しを抑制することができる。
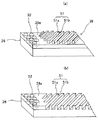
図7は、潤滑剤滞留凹部52の変形例を示す図である。
図7に示すように、この変形例は、潤滑剤滞留凹部52の幅方向中央側に溝部53を設けたものである。溝部53は、幅方向に延びており、回転方向の長さ(溝の幅)は、潤滑剤滞留凹部52の直径と同寸法となっている。このように、溝部53を設けることで、図7(b)の矢印Fに示すように、幅方向に対して斜めに移動するような潤滑剤を溝部53で捉えて、潤滑剤滞留凹部52に流し込むことができる。これにより、定着ベルト21の端部から潤滑剤が漏れ出すのを良好に抑制することができる。
また、溝部53の形状は、これに限らず、中央側に向かうに連れて除々に溝幅が広がるような形状でもよい。これにより、より溝部53で潤滑剤を捉えることができ、潤滑剤滞留凹部52に流し込むことができる。
また、溝部53を回転方向に延ばして、回転方向に並べて配置された潤滑剤滞留凹部52を溝部53で連結するようにしてもよい。これにより、回転方向に並べて配置した潤滑剤滞留凹部52の間を通って幅方向端部へ移動する潤滑剤を溝部53で捉えて、潤滑剤滞留凹部52に流し込むことができる。
以上に説明したものは一例であり、以下の態様毎に特有の効果を奏する。
(態様1)
回転可能な無端状の定着ベルト21などの回転体と、前記回転体の外周面に接触する加圧ローラ31などの接触部材と、前記回転体の内側に配置されて前記回転体を介して前記接触部材と当接しニップ部を形成するニップ形成部材39と、前記回転体の内周面と前記ニップ形成部材との間に介在する潤滑剤と、ニップ形成部材39の前記回転体に接触する接触面39aにおける回転体の回転方向と直交する幅方向の端部に潤滑剤を滞留させる潤滑剤滞留凹部52とを備えた定着装置20において、前記接触面の前記潤滑剤滞留凹部52よりも前記幅方向の中央側に、前記潤滑剤を前記中央側へ移送する潤滑剤移送部51を設けた。
これによれば、潤滑剤移送部51により幅方向端部側の潤滑剤を中央側へ移送させることで、潤滑剤移送部51がないものに比べて、潤滑剤滞留凹部52に流れ込む潤滑剤を低減することができる。これにより、潤滑剤移送部51がないものに比べて、潤滑剤滞留凹部52が潤滑剤で満たされるのを抑制することができる。よって、潤滑剤滞留凹部52に溜まりきれなくなった定着ベルト21などの回転体とニップ形成部材39との間の潤滑剤が、加圧ローラ31などの接触部材の押圧力によって回転体の端部へ移動し回転体の端部から潤滑剤が漏れ出すの抑制することができる。
(態様2)
態様1において、潤滑剤移送部51を、前記潤滑剤滞留凹部52よりも前記ニップ形成部材39の幅方向中央側全体に設けた。
これによれば、潤滑剤滞留凹部52よりも幅方向中央側全域に渡って、潤滑剤を幅方向中央側へ移動させることができ、潤滑剤滞留凹部52に流れ込む潤滑剤を低減することができる。
(態様3)
態様1において、ニップ形成部材39の前記接触面39aにおける前記幅方向の中央には、回転方向に真直ぐ延びる中央移送部54などの凹凸形状部を有し、前記潤滑剤移送部51は、前記凹凸形状部と前記潤滑剤滞留凹部52との間に設けた
これによれば、図6を用いて説明したように、潤滑剤滞留凹部52よりも幅方向中央側全域に渡って、潤滑剤移送部51を設けた場合に比べて、幅方向に潤滑剤を分散させることができる。また、幅方向中央の潤滑剤は、凹凸形状の凹部に保持されることで、幅方向端部側へ移動するのを、凸部の側面で堰き止めることができる。これにより、幅方向中央の潤滑剤が、幅方向端部側へ移動するのを抑制することができる。
(態様4)
態様1乃至3いずれかにおいて、潤滑剤移送部51は、定着ベルト21などの回転体の回転方向上流側から下流側へいくに従って前記幅方向の端部側から中央部側へ傾斜する傾斜面を有する。
これによれば、実施形態で説明したように、定着ベルト21の回転により定着ベルト21とともに回転方向に移動してきた潤滑剤が、傾斜面に突き当たり、傾斜面により潤滑剤を幅方向中央側へ移送させることができる。
(態様5)
態様4において、潤滑剤移送部51は、定着ベルト21などの回転体の回転方向上流側から下流側へいくに従って幅方向の端部側から中央部側へ傾斜する凹部51bと凸部51aとが前記幅方向に交互に配列された凹凸形状である。
これによれば、凹部51bに保持された潤滑剤が、定着ベルト21などの回転体の回転に伴い回転方向に移動したとき、回転体の回転方向上流側から下流側いくに従って前記幅方向の端部側から中央部側へ傾斜している凸部51aの側面に当接し、その側面に案内されて、幅方向中央へ潤滑剤を移動させることができる。
(態様6)
態様1乃至5いずれかにおいて、潤滑剤滞留凹部52は、ニップ部を通過する記録媒体の通紙領域外に設けた。
これによれば、実施形態で説明したように。潤滑剤滞留凹部52が、定着性に影響を与えることがないので、定着性の影響を考量した形状などにする必要がなく、潤滑剤を滞留させやすい形状にすることができる。
(態様7)
態様1乃至6いずれかにおいて、潤滑剤滞留凹部52から幅方向中央側へ延びる溝部53を有する。
これによれば、図7を用いて説明したように、ニップ形成部材39の端部へ移動する潤滑剤を、良好に潤滑剤滞留凹部52へ流し込むことができ、定着ベルト21などの回転体の端部から潤滑剤が漏れ出すのを抑制することができる。
(態様8)
態様1乃至7いずれかにおいて、ニップ形成部材39の少なくとも定着ベルト21などの回転体と接触する接触面39aを有する部分が、ネガ型フォトレジストからなる。
これによれば、実施形態で説明したように、半導体製造技術(Micro Electro Mechanical Systems技術)により容易に、潤滑剤移送部51や、潤滑剤滞留凹部52を形成することができる。
(態様9)
記録媒体Pに画像を形成する画像形成手段(本実施形態では、作像部4、露光部3、中間転写ユニット85などで構成)と、前記記録媒体Pに形成された画像を該記録媒体に定着させる定着装置20などの定着手段とを備えたプリンタ1などの画像形成装置において、前記定着手段として、態様1乃至8のいずれかの定着装置を用いた。
これによれば、経時に亘り、モータやギヤなどの駆動部の破損や、異音の発生を抑制することができる。
1 :プリンタ
3 :露光部
4 :作像部
5 :感光体ドラム
12 :給紙部
20 :定着装置
21 :定着ベルト
22 :加熱部材
23 :補強部材
25 :ヒータ
26 :固定部材
31 :加圧ローラ
32 :芯金
33 :弾性層
39 :ニップ形成部材
39a :接触面
40 :温度センサ
50 :接離機構
51 :潤滑剤移送部
51a :凸部
51b :凹部
52 :潤滑剤滞留凹部
53 :溝部
54 :中央移送部
60 :分離板
75 :帯電部
特開2015−69035号公報

Claims (9)

  1. 回転可能な無端状の回転体と、
    前記回転体の外周面と接触する接触部材と、
    前記回転体の内側に配置されて前記回転体を介して前記接触部材と当接しニップ部を形成するニップ形成部材と、
    前記回転体の内周面と前記ニップ形成部材との間に介在する潤滑剤と、
    前記ニップ形成部材の前記回転体に接触する接触面における前記回転体の回転方向と直交する幅方向の端部に前記潤滑剤を滞留させる潤滑剤滞留凹部とを備えた定着装置において、
    前記接触面の前記潤滑剤滞留凹部よりも前記幅方向の中央側に、前記潤滑剤を前記中央側へ移送する潤滑剤移送部を設け、
    前記潤滑剤滞留凹部は、断面円形状の穴形状であり、
    複数の潤滑剤滞留凹部が、前記回転方向に並べて配置されており、
    前記潤滑剤滞留凹部同士を連結する溝部を有することを特徴とする定着装置。
  2. 請求項1に記載の定着装置において、
    前記潤滑剤移送部を、前記潤滑剤滞留凹部よりも前記ニップ形成部材の前記中央側の全体に設けたことを特徴とする定着装置。
  3. 請求項1に記載の定着装置において、
    前記ニップ形成部材の前記接触面における前記幅方向の中央には、前記回転方向に真直ぐ延びる凹凸形状部を有し、
    前記潤滑剤移送部は、前記凹凸形状部と前記潤滑剤滞留凹部との間に設けたことを特徴とする定着装置。
  4. 請求項1乃至3いずれか一項に記載の定着装置において、
    前記潤滑剤移送部は、前記回転方向の上流側から下流側へいくに従って前記幅方向の端部側から前記中央側へ傾斜する傾斜面を有することを特徴とする定着装置。
  5. 請求項4に記載の定着装置において、
    前記潤滑剤移送部は、前記上流側から前記下流側へいくに従って前記端部側から前記中央側へ傾斜する凹部と凸部とが前記幅方向に交互に配列された凹凸形状であることを特徴とする定着装置。
  6. 請求項1乃至5いずれか一項に記載の定着装置において、
    前記潤滑剤滞留凹部は、前記ニップ部を通過する記録媒体の通紙領域外に設けたことを特徴とする定着装置。
  7. 請求項1乃至6いずれか一項に記載の定着装置において、
    前記潤滑剤滞留凹部から前記中央側へ延びる溝部を有することを特徴とする定着装置。
  8. 請求項1乃至7いずれか一項に記載の定着装置において、
    前記ニップ形成部材の少なくとも前記接触面を有する部分が、ネガ型フォトレジストからなることを特徴とする定着装置。
  9. 記録媒体に画像を形成する画像形成手段と、
    前記記録媒体に形成された画像を該記録媒体に定着させる定着手段とを備えた画像形成装置において、
    前記定着手段として、請求項1乃至8いずれか一項に記載の定着装置を用いたことを特徴とする画像形成装置。
JP2017047546A 2017-03-13 2017-03-13 定着装置および画像形成装置 Active JP6889852B2 (ja)

Priority Applications (1)

Application Number Priority Date Filing Date Title
JP2017047546A JP6889852B2 (ja) 2017-03-13 2017-03-13 定着装置および画像形成装置

Applications Claiming Priority (1)

Application Number Priority Date Filing Date Title
JP2017047546A JP6889852B2 (ja) 2017-03-13 2017-03-13 定着装置および画像形成装置

Publications (2)

Publication Number Publication Date
JP2018151520A JP2018151520A (ja) 2018-09-27
JP6889852B2 true JP6889852B2 (ja) 2021-06-18

Family

ID=63681638

Family Applications (1)

Application Number Title Priority Date Filing Date
JP2017047546A Active JP6889852B2 (ja) 2017-03-13 2017-03-13 定着装置および画像形成装置

Country Status (1)

Country Link
JP (1) JP6889852B2 (ja)

Families Citing this family (4)

* Cited by examiner, † Cited by third party
Publication number Priority date Publication date Assignee Title
JP7562980B2 (ja) * 2019-05-31 2024-10-08 京セラドキュメントソリューションズ株式会社 定着装置および画像形成装置
JP7427431B2 (ja) * 2019-11-22 2024-02-05 キヤノン株式会社 定着装置及び画像形成装置
JP7510590B2 (ja) * 2020-06-09 2024-07-04 京セラドキュメントソリューションズ株式会社 定着装置および画像形成装置
JP7602203B2 (ja) * 2021-06-25 2024-12-18 株式会社リコー 加熱装置、定着装置、画像形成装置

Family Cites Families (5)

* Cited by examiner, † Cited by third party
Publication number Priority date Publication date Assignee Title
JP2004325776A (ja) * 2003-04-24 2004-11-18 Nitto Denko Corp 管状体およびその製造方法
JP2005165197A (ja) * 2003-12-05 2005-06-23 Canon Inc ベルト搬送装置
US20080317522A1 (en) * 2007-06-22 2008-12-25 Jeffrey Allen Ardery Fuser assembly having oil retention features
JP6318521B2 (ja) * 2013-09-30 2018-05-09 ブラザー工業株式会社 定着装置
JP2017021067A (ja) * 2015-07-07 2017-01-26 富士ゼロックス株式会社 定着装置および画像形成装置

Also Published As

Publication number Publication date
JP2018151520A (ja) 2018-09-27

Similar Documents

Publication Publication Date Title
JP5669010B2 (ja) 定着装置及びその定着装置を備えた画像形成装置
JP5408553B2 (ja) 定着装置及び画像形成装置
JP6857324B2 (ja) 定着装置、及び、画像形成装置
JP6069950B2 (ja) 定着装置および画像形成装置
JP2010276814A (ja) 定着装置及び画像形成装置
JP6886638B2 (ja) 定着装置、及び、画像形成装置
JP2018005047A (ja) 定着装置及び画像形成装置
JP6889852B2 (ja) 定着装置および画像形成装置
JP2012145633A (ja) 定着装置と画像形成装置
JP6521355B2 (ja) 定着装置および画像形成装置
JP2014002306A (ja) 定着装置および画像形成装置
JP7073089B2 (ja) 像加熱装置及び画像形成装置
JP2013164463A (ja) 定着装置及び画像形成装置
JP6094162B2 (ja) 定着装置および画像形成装置
JP7115105B2 (ja) 定着装置及び画像形成装置
JP5750869B2 (ja) 定着装置および画像形成装置
JP5578428B2 (ja) 定着装置および画像形成装置
JP7127402B2 (ja) 定着装置、および画像形成装置
JP5818180B2 (ja) 定着装置及び画像形成装置
JP2013186259A (ja) 定着装置および画像形成装置
JP5541612B2 (ja) 定着装置、及び、画像形成装置
JP6906751B2 (ja) 定着装置、画像形成装置、及び、定着方法
JP2012103467A (ja) 定着装置及び画像形成装置
JP7377453B2 (ja) 定着装置及び画像形成装置
JP2025141425A (ja) 定着装置、及び、画像形成装置

Legal Events

Date Code Title Description
A621 Written request for application examination

Free format text: JAPANESE INTERMEDIATE CODE: A621

Effective date: 20191220

A977 Report on retrieval

Free format text: JAPANESE INTERMEDIATE CODE: A971007

Effective date: 20200911

A131 Notification of reasons for refusal

Free format text: JAPANESE INTERMEDIATE CODE: A131

Effective date: 20200925

A521 Written amendment

Free format text: JAPANESE INTERMEDIATE CODE: A523

Effective date: 20201109

TRDD Decision of grant or rejection written
A01 Written decision to grant a patent or to grant a registration (utility model)

Free format text: JAPANESE INTERMEDIATE CODE: A01

Effective date: 20210423

A61 First payment of annual fees (during grant procedure)

Free format text: JAPANESE INTERMEDIATE CODE: A61

Effective date: 20210506

R151 Written notification of patent or utility model registration

Ref document number: 6889852

Country of ref document: JP

Free format text: JAPANESE INTERMEDIATE CODE: R151