JP6878552B2 - クリーンルーム装置および空気循環ユニット - Google Patents

クリーンルーム装置および空気循環ユニット Download PDF

Info

Publication number
JP6878552B2
JP6878552B2 JP2019200819A JP2019200819A JP6878552B2 JP 6878552 B2 JP6878552 B2 JP 6878552B2 JP 2019200819 A JP2019200819 A JP 2019200819A JP 2019200819 A JP2019200819 A JP 2019200819A JP 6878552 B2 JP6878552 B2 JP 6878552B2
Authority
JP
Japan
Prior art keywords
air
clean room
circulation unit
performance filter
fan
Prior art date
Legal status (The legal status is an assumption and is not a legal conclusion. Google has not performed a legal analysis and makes no representation as to the accuracy of the status listed.)
Active
Application number
JP2019200819A
Other languages
English (en)
Other versions
JP2020030039A (ja
Inventor
雄造 田中
雄造 田中
慎 松岡
慎 松岡
博英 熊谷
博英 熊谷
治保 住田
治保 住田
貴哉 衛藤
貴哉 衛藤
Current Assignee (The listed assignees may be inaccurate. Google has not performed a legal analysis and makes no representation or warranty as to the accuracy of the list.)
Takasago Thermal Engineering Co Ltd
Original Assignee
Takasago Thermal Engineering Co Ltd
Priority date (The priority date is an assumption and is not a legal conclusion. Google has not performed a legal analysis and makes no representation as to the accuracy of the date listed.)
Filing date
Publication date
Application filed by Takasago Thermal Engineering Co Ltd filed Critical Takasago Thermal Engineering Co Ltd
Priority to JP2019200819A priority Critical patent/JP6878552B2/ja
Publication of JP2020030039A publication Critical patent/JP2020030039A/ja
Application granted granted Critical
Publication of JP6878552B2 publication Critical patent/JP6878552B2/ja
Active legal-status Critical Current
Anticipated expiration legal-status Critical

Links

Images

Landscapes

  • Central Air Conditioning (AREA)
  • Ventilation (AREA)
  • Duct Arrangements (AREA)
  • Air-Flow Control Members (AREA)
  • Air Conditioning Control Device (AREA)

Description

本発明は、クリーンルーム装置に関し、さらに当該クリーンルーム装置に好適に用いられる空気循環ユニットに関する。
例えば半導体の製造分野などにおいて、クリーンルーム装置が広く利用されている。クリーンルーム装置の方式には、気流によってクリーンルーム内の空気を混合・希釈させる非層流方式(コンベンショナル方式)と、クリーンルーム内の空気を一方向に層流状態で押し流しつつ塵埃を排気させる層流方式がある。これらのうち、非層流方式のクリーンルーム装置は、層流方式のクリーンルーム装置よりも建設費、運転費などの面で経済的であるといった利点がある。かかる非層流方式のクリーンルーム装置としては、例えば本出願人が特許文献1に開示したように、高性能フィルタでろ過された室内温度より低温の清浄空気をクリーンルームの下部に形成される空調領域に向けて横向きに給気し、希釈することによってクリーンルームの内部を清浄に保つものが知られている。
特許第5361140号公報
従来の非層流方式のクリーンルーム装置は、天井までのクリーンルーム内全体の空気を一様に混合・希釈させることを意図したものである。クリーンルーム内の浮遊粒子(塵埃)発生量や室内発熱量から、清浄度と温度均一度の設計値を満足する必要換気回数が設計されるが、従来の非層流方式のクリーンルーム装置では、例えば20回/hと比較的多くの換気回数を必要とするのが一般的である。クリーンルーム装置の空調エネルギーは、空気搬送系が大きな割合を占める。このため、エネルギー削減のためには、浮遊粒子発生量や室内発熱量に応じた空調風量で運転を行い、換気回数を削減することが有効である。
少ない換気回数で設計値を満足できれば建設費、運転費の面で大きなメリットが得られるが、一般には空調が必要とされる領域がクリーンルーム内の床から限られた高さまでであるにもかかわらず、従来の非層流方式のクリーンルーム装置では、天井までのクリーンルーム内全体を混合させてしまうために換気回数を大きく削減することができない。例えば浮遊粒子発生量から換気回数を設計する場合には、理論値である完全混合を仮定した換気回数より下回ることはできない。
一方、上記特許文献1のクリーンルーム装置によれば、低温の清浄空気に旋回成分を与えてクリーンルームの下部に形成される空調領域に向けて横向きに給気することにより、クリーンルーム下部の空調領域に存在する空気に対して清浄空気が混合されて、希釈効果により空調領域を清浄に保つことができるようになる。この非層流方式のクリーンルーム装置により、従来の非層流方式のクリーンルーム装置に比べてより少ない換気回数で空調領域の清浄度を確保することができる。このため、エネルギー削減が可能となる。
しかしながら、いずれの場合も、従来のクリーンルーム装置では、クリーンルームに給気する大型の外調機や、クリーンルーム内から外調機に還気を戻すレタンシャフトなどの設置が必要な大掛かりな装置であり、ダクトの設置距離も全体的に長くなっており、工期に長期間を要していた。
本発明の目的は、比較的簡単な設備でありながら、少ない換気回数で空調領域の清浄度を確保することができる、非層流方式のクリーンルーム装置を提供することにある。
この目的を達成するために、本発明によれば、クリーンルームの下部に形成される空調領域を清浄に保つクリーンルーム装置であって、前記クリーンルーム内に配置され、前記クリーンルーム内の空気を循環させる空気循環ユニットを備え、前記空気循環ユニットには、前記クリーンルームの内部であって前記空調領域よりも上方の位置で前記クリーンルーム内の空気を吸い込む吸気口と、前記空気循環ユニットの前面において前記空調領域と向かい合う高さまでの領域に分布して配置されて、前記空調領域に向けて横向きに給気する複数の給気口が設けられ、前記空気循環ユニットは、冷却器および高性能フィルタと、前記クリーンルーム内の空気を前記吸気口から吸い込み、前記冷却器および前記高性能フィルタを通過させて前記給気口に向けて送風するファンを備え、前記ファンと前記高性能フィルタの間には、前記ファンの動力によって前記空気循環ユニットの内部に吸い込まれた空気を必ず高性能フィルタに通過させる、前記空気循環ユニットの内部空間を部分的に仕切り、前記高性能フィルタよりも内側に対応する位置に開口部が設けられた邪魔板が設けられており、前記ファンによる気流が、前記開口部を通過して前記高性能フィルタの内側に入り込むことを特徴とする、クリーンルーム装置が提供される。
また本発明によれば、クリーンルームの下部に形成される空調領域を清浄に保つクリーンルーム装置であって、前記クリーンルーム内に配置され、前記クリーンルーム内の空気を循環させる、箱状の空気循環ユニットを備え、前記空気循環ユニットには、前記クリーンルームの内部であって前記空調領域よりも上方の位置で前記クリーンルーム内の空気を吸い込む吸気口と、前記空気循環ユニットの前面において前記空調領域と向かい合う高さまでの領域に分布して配置されて、前記空調領域に向けて横向きに給気する複数の給気口が設けられ、前記空気循環ユニットは、冷却器および高性能フィルタと、前記クリーンルーム内の空気を前記吸気口から吸い込み、前記冷却器および前記高性能フィルタを通過させて前記給気口に向けて送風するファンを備え、前記ファンと前記高性能フィルタの間には、前記ファンの動力によって前記空気循環ユニットの内部に吸い込まれた空気を必ず高性能フィルタに通過させる、前記空気循環ユニットの内部空間を部分的に仕切り、前記高性能フィルタよりも内側に対応する位置に開口部が設けられた邪魔板が設けられており、前記ファンによる気流が、前記開口部を通過して前記高性能フィルタの内側に入り込むことを特徴とする、クリーンルーム装置が提供される。
また本発明によれば、クリーンルームの下部に形成される空調領域を清浄に保つクリーンルーム装置であって、前記クリーンルーム内に配置され、前記クリーンルーム内の空気を循環させる空気循環ユニットを備え、前記空気循環ユニットには、前記クリーンルームの内部であって前記空調領域よりも上方の位置で前記クリーンルーム内の空気を吸い込む吸気口と、前記空気循環ユニットの前面において前記空調領域と向かい合う高さまでの領域に分布して配置されて、前記空調領域に向けて横向きに給気する複数の給気口が設けられ、前記空気循環ユニットは、冷却器および高性能フィルタと、前記クリーンルーム内の空気を前記吸気口から吸い込み、前記冷却器および前記高性能フィルタを通過させて前記給気口に向けて送風するファンを備え、前記ファンと前記冷却器および前記高性能フィルタの間には、前記ファンの動力によって前記空気循環ユニットの内部に吸い込まれた空気を必ず前記冷却器および前記高性能フィルタに通過させる、前記空気循環ユニットの内部空間を部分的に仕切り、前記冷却器および前記高性能フィルタよりも内側に対応する位置に開口部が設けられた邪魔板が設けられており、前記ファンによる気流が、前記開口部を通過して前記冷却器および前記高性能フィルタの内側に入り込むことを特徴とする、クリーンルーム装置が提供される。
また本発明によれば、クリーンルームの下部に形成される空調領域を清浄に保つクリーンルーム装置であって、前記クリーンルーム内に配置され、前記クリーンルーム内の空気を循環させる、箱状の空気循環ユニットを備え、前記空気循環ユニットには、前記クリーンルームの内部であって前記空調領域よりも上方の位置で前記クリーンルーム内の空気を吸い込む吸気口と、前記空気循環ユニットの前面において前記空調領域と向かい合う高さまでの領域に分布して配置されて、前記空調領域に向けて横向きに給気する複数の給気口が設けられ、前記空気循環ユニットは、冷却器および高性能フィルタと、前記クリーンルーム内の空気を前記吸気口から吸い込み、前記冷却器および前記高性能フィルタを通過させて前記給気口に向けて送風するファンを備え、前記ファンと前記冷却器および前記高性能フィルタの間には、前記ファンの動力によって前記空気循環ユニットの内部に吸い込まれた空気を必ず前記冷却器および前記高性能フィルタに通過させる、前記空気循環ユニットの内部空間を部分的に仕切り、前記冷却器および前記高性能フィルタよりも内側に対応する位置に開口部が設けられた邪魔板が設けられており、前記ファンによる気流が、前記開口部を通過して前記冷却器および前記高性能フィルタの内側に入り込むことを特徴とする、クリーンルーム装置が提供される。
このクリーンルーム装置において、前記複数の給気口には、前記空調領域に向けて横向きに給気される空気に対して旋回成分を与えるフィンが設けられていても良い。また、前記空気循環ユニットの内部に通したケーブルを介して前記ファンに電力を供給するようにしても良い。また、前記ファンは、前記冷却器および前記高性能フィルタよりも上方にあっても良い。また、前記クリーンルーム外からの清浄空気を前記吸気口の真上の室内空間に給気するための前記清浄空気の給気口が設けられていても良い。また、前記空気循環ユニットの上面に前記吸気口が設けられていても良い。また、前記空気循環ユニットが、クリーンルーム内の床上に配置されていても良い。また、前記冷却器および高性能フィルタは、前記複数の給気口の内側全体を覆う位置に配置されていても良い。
また、本発明によれば、クリーンルームの下部に形成される空調領域を清浄に保つクリーンルーム内に配置され、前記クリーンルーム内の空気を循環させる空気循環ユニットであって、前記クリーンルームの内部であって前記空調領域よりも上方の位置で前記クリーンルーム内の空気を吸い込む吸気口と、前記空気循環ユニットの前面において前記空調領域と向かい合う高さまでの領域に分布して配置されて、前記空調領域に向けて横向きに給気する複数の給気口が設けられ、冷却器および高性能フィルタと、前記クリーンルーム内の空気を前記吸気口から吸い込み、前記冷却器および前記高性能フィルタを通過させて前記給気口に向けて送風するファンを備え、前記ファンと前記高性能フィルタの間には、前記ファンの動力によって前記空気循環ユニットの内部に吸い込まれた空気を必ず高性能フィルタに通過させる、前記空気循環ユニットの内部空間を部分的に仕切り、前記高性能フィルタよりも内側に対応する位置に開口部が設けられた邪魔板が設けられており、前記ファンによる気流が、前記開口部を通過して前記高性能フィルタの内側に入り込むことを特徴とする、空気循環ユニットが提供される。
また本発明によれば、クリーンルームの下部に形成される空調領域を清浄に保つクリーンルーム内に配置され、前記クリーンルーム内の空気を循環させる、箱状の空気循環ユニットであって、前記クリーンルームの内部であって前記空調領域よりも上方の位置で前記クリーンルーム内の空気を吸い込む吸気口と、前記空気循環ユニットの前面において前記空調領域と向かい合う高さまでの領域に分布して配置されて、前記空調領域に向けて横向きに給気する複数の給気口が設けられ、冷却器および高性能フィルタと、前記クリーンルーム内の空気を前記吸気口から吸い込み、前記冷却器および前記高性能フィルタを通過させて前記給気口に向けて送風するファンを備え、前記ファンと前記高性能フィルタの間には、前記ファンの動力によって前記空気循環ユニットの内部に吸い込まれた空気を必ず高性能フィルタに通過させる、前記空気循環ユニットの内部空間を部分的に仕切り、前記高性能フィルタよりも内側に対応する位置に開口部が設けられた邪魔板が設けられており、前記ファンによる気流が、前記開口部を通過して前記高性能フィルタの内側に入り込むことを特徴とする、空気循環ユニットが提供される。
また本発明によれば、クリーンルームの下部に形成される空調領域を清浄に保つクリーンルーム内に配置され、前記クリーンルーム内の空気を循環させる空気循環ユニットであって、前記クリーンルームの内部であって前記空調領域よりも上方の位置で前記クリーンルーム内の空気を吸い込む吸気口と、前記空気循環ユニットの前面において前記空調領域と向かい合う高さまでの領域に分布して配置されて、前記空調領域に向けて横向きに給気する複数の給気口が設けられ、冷却器および高性能フィルタと、前記クリーンルーム内の空気を前記吸気口から吸い込み、前記冷却器および前記高性能フィルタを通過させて前記給気口に向けて送風するファンを備え、前記ファンと前記冷却器および前記高性能フィルタの間には、前記ファンの動力によって前記空気循環ユニットの内部に吸い込まれた空気を必ず前記冷却器および前記高性能フィルタに通過させる、前記空気循環ユニットの内部空間を部分的に仕切り、前記冷却器および前記高性能フィルタよりも内側に対応する位置に開口部が設けられた邪魔板が設けられており、前記ファンによる気流が、前記開口部を通過して前記冷却器および前記高性能フィルタの内側に入り込むことを特徴とする、空気循環ユニットが提供される。
また本発明によれば、クリーンルームの下部に形成される空調領域を清浄に保つクリーンルーム内に配置され、前記クリーンルーム内の空気を循環させる、箱状の空気循環ユニットであって、前記クリーンルームの内部であって前記空調領域よりも上方の位置で前記クリーンルーム内の空気を吸い込む吸気口と、前記空気循環ユニットの前面において前記空調領域と向かい合う高さまでの領域に分布して配置されて、前記空調領域に向けて横向きに給気する複数の給気口が設けられ、冷却器および高性能フィルタと、前記クリーンルーム内の空気を前記吸気口から吸い込み、前記冷却器および前記高性能フィルタを通過させて前記給気口に向けて送風するファンを備え、前記ファンと前記冷却器および前記高性能フィルタの間には、前記ファンの動力によって前記空気循環ユニットの内部に吸い込まれた空気を必ず前記冷却器および前記高性能フィルタに通過させる、前記空気循環ユニットの内部空間を部分的に仕切り、前記冷却器および前記高性能フィルタよりも内側に対応する位置に開口部が設けられた邪魔板が設けられており、前記ファンによる気流が、前記開口部を通過して前記冷却器および前記高性能フィルタの内側に入り込むことを特徴とする、空気循環ユニットが提供される。
この空気循環ユニットにおいて、前記複数の給気口には、前記空調領域に向けて横向きに給気される空気に対して旋回成分を与えるフィンが設けられていても良い。また、前記空気循環ユニットの内部に通したケーブルを介して前記ファンに電力を供給するようにしても良い。また、前記ファンは、前記冷却器および前記高性能フィルタよりも上方にあっても良い。また、前記空気循環ユニットの上面に前記吸気口が設けられていても良い。また、クリーンルーム内の床上に配置されても良い。また、前記冷却器および高性能フィルタは、前記複数の給気口の内側全体を覆う位置に配置されていても良い。
本発明によれば、クリーンルームの下部に形成される空調領域を清浄に保つ非層流方式のクリーンルーム装置において、クリーンルーム内の空気を空気循環ユニットで循環させることにより、極めて少ない換気回数で空調領域の清浄度を確保することができるようになる。また、クリーンルーム内の空気をクリーンルーム内に配置した空気循環ユニットで循環させることにより、外調機に還気を戻すレタンシャフトなどの設置を省略することが可能となる。その結果、比較的短い工期で構築できる簡単な設備でありながら、少ない換気回数で空調領域の清浄度を確保することができるクリーンルーム装置が得られるようになる。また、天井までのクリーンルーム内全体の空気を一様に混合・希釈させる従来の非層流方式のクリーンルーム装置に比べて、少ない換気回数で空調領域の清浄度を確保することができ、エネルギー削減が可能となる。
本発明の実施の形態にかかるクリーンルーム装置を説明するための概略構成図である。 空気循環ユニットの内部構造を示す側方図である。 クリーンルームの内部から見た空気循環ユニットの正面図である。 クリーンルームの内部から見て反時計回転方向の旋回成分を低温空気に与えるようにフィンを取り付けた給気口の正面図である。 クリーンルームの内部から見て時計回転方向の旋回成分を低温空気に与えるようにフィンを取り付けた給気口の正面図である。 隣り合う給気口から吹き出される低温空気の旋回成分を交互に逆の回転方向とした給気口の説明図である。 隣り合う給気口から吹き出される低温空気の旋回成分を同じ回転方向とした給気口の説明図である。 複数の空気循環ユニットを並べて配置し、給気量に応じて給気チャンバの稼働台数を切り替えるように構成した実施の形態の説明図である。 従来の非層流方式のクリーンルーム装置の温度分布を示すグラフである。 従来の非層流方式のクリーンルーム装置の浮遊粒子個数の分布を示すグラフである。 本発明のクリーンルーム装置の温度分布を示すグラフである。 本発明のクリーンルーム装置の浮遊粒子個数の分布を示すグラフである。
以下、本発明の実施の形態の一例を、図面を参照にして説明する。図1は、本発明の実施の形態にかかるクリーンルーム装置1の説明図である。このクリーンルーム装置1は、気流によってクリーンルーム10内の空気を混合・希釈させる非層流方式(コンベンショナル方式)である。なお、本明細書及び図面において、実質的に同一の機能構成を有する構成要素については、同一の符号を付することにより重複説明を省略する。
クリーンルーム10の内部は、天井10a、床(床スラブ)10b及び側壁10cで区画された閉鎖空間になっている。かかるクリーンルーム10は、例えば半導体の製造分野などにおいて広く利用される。クリーンルーム10内の下部には、半導体の製造などを行うために清浄に保たれた空調領域11が形成されている。空調領域11は、床10bから所定の高さまでの領域であり、空調領域11には、半導体製造装置などの各種の機器12が存在している。空調領域11の高さは機器12よりも高く、この実施の形態では、機器12の高さが約3mに対し、空調領域11の高さは約3.4〜4m程度に設定されている。本発明においては、この空調領域11における空気中の浮遊粒子aが所定の濃度以下の清浄度となるように管理される。
機器12には、機器12自体から発生した汚染物質を局地的に排気する局排ダクト13が接続されている。局排ダクト13には、クリーンルーム10の外部において排気ファン14が取り付けられており、この排気ファン14により、機器12自体から発生した汚染物質が、局排ダクト13を通じて局地的に吸引され、排気EAとして外部に排出される。
クリーンルーム10の天井10aには、清浄空気CAの給気口20が設けられている。清浄空気CAの給気口20は、後述する空気循環ユニット30の真上に位置している。給気口20には、外調機21で作られた低温の清浄空気CAが給気ダクト22を通じて供給されている。外調機21は、粗フィルタ23、冷却器24、給気ファン25、高性能フィルタ26を備えている。粗フィルタ23の上流側には、外気OAが取り入れられており、給気ファン25の動力によって、外気OAが外調機21内において、粗フィルタ23、冷却器24、給気ファン25、高性能フィルタ26の順に通過するようになっている。これにより、外調機21内において、外気OAは先ず粗フィルタ23を通過して予備的に濾過された後、冷却器24で室内温度より低温に冷却され、更に、高性能フィルタ26によって浮遊粒子が除去されて清浄空気CAにされる。高性能フィルタ26は例えばHEPAフィルタ、ULPAフィルタ等で構成される。こうして外調機21内で処理されて作られた低温の清浄空気CAが、給気ダクト22、給気口20を経てクリーンルーム10において、空調領域11よりも上方に供給されるようになっている。
クリーンルーム10の内部には、クリーンルーム10の内部の空気を循環させる複数の空気循環ユニット30が配置されている。各空気循環ユニット30は、クリーンルーム10内に置かれている機器12を周囲から囲むように、側壁10cに沿って配置されている。
空気循環ユニット30の高さは、空調領域11の高さよりも高くなっており、例えば空調領域11の高さが約3.4〜4m程度であるのに対して、空気循環ユニット30の高さは約5mに設定されている。このため、空気循環ユニット30の下部は空調領域11内にあるが、空気循環ユニット30の上部は、クリーンルーム10内において空調領域11よりも上方の空間に突出している。
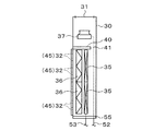
図2、3に示されるように、空気循環ユニット30の上面には、クリーンルーム10内の空気を吸い込む吸気口31が設けられている。また、空気循環ユニット30の前面(クリーンルーム10の内部に向かう面)には、複数の給気口32が設けられている。
空気循環ユニット30の内部には、冷却器35および高性能フィルタ36と、クリーンルーム10内の空気を吸気口31から空気循環ユニット30の内部に吸い込み、冷却器35および高性能フィルタ36を通過させた後、空気循環ユニット30の前面に設けた給気口32からクリーンルーム10内に横向きに送風させるファン37を備えている。高性能フィルタ36は例えばHEPAフィルタ、ULPAフィルタ等で構成される。この高性能フィルタ36は、例えば、日本ケンブリッジフィルター株式会社製の低有機低ボロンULPAフィルタを用い、定格風速1.2m/sで圧力損失は190Pa以下とされる。
上述したように、空気循環ユニット30の上部は空調領域11よりも上方の空間に突出しているので、ファン37の動力により、クリーンルーム10内における空調領域11よりも上方の空気が、吸気口31から空気循環ユニット30の内部に吸い込まれる。
一方、複数の給気口32は、空気循環ユニット30の前面において、クリーンルーム10の床10bから空調領域11とほぼ同じ高さまでの領域に全体に分布して配置されている。このため、複数の給気口32からは、空調領域11の高さ方向の全体に渡って横向きに送風が行われる。
空気循環ユニット30の内部に設けられた冷却器35および高性能フィルタ36は、空気循環ユニット30の前面に設けられた複数の給気口32の内側全体を覆う位置に配置されている。また、空気循環ユニット30の内部において、複数の給気口32のすぐ内側(クリーンルーム10の中心部から見たら外側)に高性能フィルタ36があり、さらに高性能フィルタ36の内側(クリーンルーム10の中心部から見たら外側)に冷却器35が配置されている。
一方、ファン37は、空気循環ユニット30の内部において、これら冷却器35および高性能フィルタ36の上方に配置されている。また、ファン37とこれら冷却器35および高性能フィルタ36の間には、空気循環ユニット30の内部空間を部分的に上下に仕切る邪魔板40が設けられている。邪魔板40には、冷却器35よりも内側(クリーンルーム10の中心部から見たら外側)に対応する位置に開口部41が設けられており、邪魔板40の位置においては、空気循環ユニット30の内部空間は、開口部41が設けられた冷却器35よりも内側(クリーンルーム10の中心部から見たら外側)に対応する位置においてのみ連通している。吸気口31には風量調整機構(図示しない)を設け、ファン37により吸い込まれる空調領域上方の空気の流入量を調整可能としても良い。
このため、ファン37の動力によって空気循環ユニット30上面の吸気口31から空気循環ユニット30の内部に吸い込まれた空気は、邪魔板40の位置において開口部41を通過して、冷却器35よりも内側(クリーンルーム10の中心部から見たら外側)の空間に入り込んだ後、冷却器35、高性能フィルタ36の順に通過し、給気口32からクリーンルーム10内に横向きに送風される。冷却器35および高性能フィルタ36は、複数の給気口32の内側全体を覆う位置に配置されているので、こうして給気口32からは、必ず冷却器35、高性能フィルタ36の順に通過した空気(給気SA)が吹出されることになる。
また、高性能フィルタ36は圧力損失が高いため、ファン37により送り込まれた空気は、高性能フィルタ36の内側(クリーンルーム10の中心部から見たら外側)で圧力が均一となる。このため、ファン37により吸い込まれた空気は、縦横に配列された複数個の給気口32の縦方向及び横方向の全域に渡って設けられた冷却器35を通過する際に均一に冷却され、各給気口32をほぼ同じ流速で通過する。すなわち、各給気口32を均一な温度且つ均一な流速で空気が通過するので、各給気口32のフィン45により与えられる旋回成分にばらつきが生じない。これにより、空調領域11の全体に渡って、流速、温度、旋回成分にばらつきのない清浄空気CAが吹出されるので、非層流方式による空調領域11全体の希釈混合効果に影響を与えることがない。このようにして、クリーンルーム10全体の省エネルギー化が図られる。また、空気循環ユニット30の各給気口32から空調領域11の全体に渡って、流速、温度、旋回成分にばらつきのない清浄空気CAが吹出されるので、従来のように外調機で作られた清浄空気を給気ダクトを介してクリーンルーム内に供給していた構成に比べて、給気ダクトを省略でき、装置の簡素化が図られ、比較的短い工期で構築できる簡単な設備を提供できる。
図4、5に示すように、空気循環ユニット30の前面の各給気口32には、クリーンルーム10内の空調領域11に向けて横向きに給気される空気に対して旋回成分を与える複数枚のフィン45が装着されている。
各フィン45は、給気口32の中央を中心に適当な等間隔で放射状に取り付けてあり、また、クリーンルーム10(空調領域11)に向かって吹き出す空気に旋回成分を与えるべく、各フィン45は給気口32の中心軸32’に対してそれぞれ傾斜して配置されている。図4と図5では、フィン45の傾斜方向が逆向きの関係になっている。
このように、各給気口32に傾斜したフィン45が放射状に取り付けられていることにより、給気口32からクリーンルーム10内の空調領域11に向けて横向きに給気される空気に対し、給気口32を通過させる際に、各フィン45に沿わせて強制的に流すことができる。これにより、給気口32からクリーンルーム10内の空調領域11に向かって吹き出す空気に、中心軸32’を中心とする旋回成分を与えるようになっている。
ここで、図4と図5では、フィン45の傾斜方向が逆向きであり、図4に示したフィン45によれば、給気口32を通過する際に、空気循環ユニット30の前面をクリーンルーム10内から見た場合において、反時計回転方向の旋回成分が空気に与えられる。一方、図5に示したフィン45によれば、給気口32を通過する際に、空気循環ユニット30の前面をクリーンルーム10内から見た場合において、時計回転方向の旋回成分が空気に与えられる。
上述のように、空気循環ユニット30の前面には、空調領域11とほぼ同じ高さまでの領域に複数の給気口32が全体に分布して配置されている。そのため、隣り合う給気口32から吹き出される空気の旋回成分により、互いの干渉作用が生ずる。
例えば図6に示すように上下方向に並んだ4つの給気口32a、32b、32c、32dを例にして説明すると、図6に示した例では、隣り合う給気口32から吹き出される空気の旋回成分が、互いに逆の回転方向の関係になっている。即ち、図6に示した例では、1番上の給気口32aと上から3番目の給気口32cでは、フィン45の傾斜方向が図4で説明した状態であり、これら給気口32aと給気口32cからは、反時計回転方向の旋回成分を与えられた空気が吹き出される。一方、上から2番目の給気口32bと4番目の給気口32dでは、フィン45の傾斜方向が図5で説明した状態であり、これら給気口32bと給気口32dからは、時計回転方向の旋回成分を与えられた空気が吹き出される。このように、隣り合う給気口32aと給気口32b、給気口32bと給気口32c、給気口32cと給気口32dの間において、それぞれ互いに逆の回転方向に旋回する空気を吹き出すようになっている。
この図6に示した例のように、各給気口32a、32b、32c、32dから吹き出す空気の旋回成分を交互に逆の回転方向とすれば、給気口32aと給気口32bの間、給気口32bと給気口32cの間及び給気口32cと給気口32dの間のいずれにおいても、互いに同じ方向に空気が吹き出されることとなるので、各給気口32a、32b、32c、32dから吹き出される空気の旋回成分をお互いに助長しあうように作用させることができる。
一方、図7に示した例のように、上下方向に並んだ4つの給気口32a、32b、32c、32dからいずれも同じ回転方向に旋回する空気(図7に示す例では、いずれも反時計回転方向に旋回する空気)を吹き出した場合、給気口32aと給気口32bの間、給気口32bと給気口32cの間及び給気口32cと給気口32dの間において、互いに打ち消しあう方向に空気が吹き出されることとなる。このように、各給気口32a、32b、32c、32dから吹き出す空気の旋回成分をいずれも同じ回転方向とすれば、各給気口32a、32b、32c、32dから吹き出される空気の旋回成分を相殺させるように作用させることができる。
なお、図6、7では、上下に配列された給気口32の関係について説明したが、上下に配列された給気口32同志の関係のみならず、横に隣接して配置された給気口32同志や斜めに隣接して配置された給気口32同志の間においても、互い隣り合う給気口32から吹き出される空気の旋回成分により、旋回成分をお互いに助長しあう関係、旋回成分をお互いに相殺させる関係を適宜設定できる。
さて、以上のように構成されたクリーンルーム装置1において、外調機21で作られた低温の清浄空気CAが、給気ダクト22から給気口20を通じてクリーンルーム10内の上部に供給される。給気口20は空気循環ユニット30の真上に位置しているので、外調機21で作られた低温の清浄空気CAは、空調領域11よりも上方の空間であって、空気循環ユニット30の真上に供給される。
そして、クリーンルーム10の内部では、空気循環ユニット30により、空気の循環が行われる。すなわち、空気循環ユニット30に設けられたファン37の動力により、クリーンルーム10内における空調領域11よりも上方の空気が、給気口20から空気循環ユニット30の真上位置に供給された清浄空気CAと一緒に、吸気口31から空気循環ユニット30の内部に吸い込まれる。そして、これらの空気(空気循環ユニット30の内部に吸い込まれた空調領域11よりも上方の空気と清浄空気CA)は、空気循環ユニット30の内部において、冷却器35および高性能フィルタ36を通過して低温で清浄な給気SAとされて、給気口32からクリーンルーム10内に横向きに送風される。この場合、冷却器35および高性能フィルタ36は、複数の給気口32の内側全体を覆う位置に配置されているので、給気口32からは、必ず冷却器35、高性能フィルタ36の順に通過した低温で清浄な給気SAが吹出されることになる。
こうして、各給気口32から吹き出される給気SAには、フィン45の作用により旋回成分が与えられ、クリーンルーム10下部の空調領域11の空気が給気SAに誘引されて、一緒に移動する誘引作用がはたらく。これに伴い、運動量保存則に従って給気SAの速度は、各給気口32から吹き出された後、速やかに減速することとなる。
また、このように空気循環ユニット30前面の各給気口32からクリーンルーム10内に横向きに給気SAを供給する場合、ファン37の動力制御により、各給気口32からは、クリーンルーム10下部の空調領域11に向けて吐出面での平均流速が0.5m/s以上、1.2m/s以下(好ましくは、0.6m/s以上、1.1m/s以下)の流速で給気SAが旋回しながら吹出される。
これにより、空調領域11に存在する空気に対して低温で清浄な給気SAが混合されて、希釈効果により空調領域11全体の浮遊粒子aの濃度を下げ、空調領域11を清浄に保つことができるようになる。各給気口32から0.5m/s以上、1.2m/s以上の流速で給気SAを吹き出すことにより、給気流速の小さい置換換気ではできなかった空調領域11全体の希釈混合ができ、熱上昇流に直接乗らない浮遊粒子aの除去もできるようになる。そして、各給気口32から吹出された給気SAは速やかに減速し、さらに、空調領域11に向かって給気SAを横向きに供給しているので、クリーンルーム10内において空調領域11よりも上部に存在している空気に対しては給気SAが混合されず、空調領域11に存在する空気のみに対して清浄で低温な給気SAが混合され、空調領域11のみを清浄で低温の状態に保つことができる。
また、クリーンルーム10内に置かれている半導体製造装置などの各種の機器12から発生した汚染物質は、排気ファン14の動力によって局排ダクト13を通じて局地的に吸引され、排気EAとして外部に排出される。この場合、外調機21に設けられた給気ファン25の給気量を、排気ファン14の排気量よりも多く設定しておくことにより、クリーンルーム10内を常に正圧に保つことができ、外部からの汚染物質の侵入を防ぐことができる。
また、空調領域11において機器12や人間などの周りに生じた浮遊粒子aなどの汚染物質は、機器12や人間などの熱的影響によってやがて加熱され、緩やかに上昇する。その上昇流により、空調領域11に生じた浮遊粒子aなどの汚染物質は、クリーンルーム10内において空調領域11よりも上方に搬送される。
そして、クリーンルーム10内において空調領域11よりも上部に溜まった空気(加熱された空気)は、清浄空気CAと一緒に、吸気口31から空気循環ユニット30の内部に吸い込まれ、空気循環ユニット30の内部において、冷却器35および高性能フィルタ36を通過して低温で清浄な給気SAとされ、給気口32からクリーンルーム10内の空調領域11に横向きに送風される。その結果、空調領域11は常に清浄で低温の環境に保たれることとなる。
このクリーンルーム装置1によれば、クリーンルーム10内の空気を空気循環ユニット30で循環させることにより、クリーンルーム10下部の空調領域11のみを希釈混合して清浄に保つことができ、天井までのクリーンルーム全体を希釈混合させていた従来の一般的な非層流方式のクリーンルーム装置に比べて、換気回数(クリーンルーム10全体の容積を基準とした換気回数)を極めて少なくして、空調領域11の清浄度を確保することができる。このため、エネルギー削減が可能となる。また、旋回流の誘引作用によって、給気SAで空調領域11全体を希釈混合することにより、空調領域11の内部においては上下温度差を小さくできる。
また、クリーンルーム10内の空気をクリーンルーム10内に配置した空気循環ユニット30で循環させることにより、外調機21に還気を戻すレタンシャフトなどの設置を省略することが可能となる。その結果、比較的短い工期で構築できる簡単な設備でありながら、少ない換気回数で空調領域11の清浄度を確保することができるクリーンルーム装置1が得られるようになる。
以上、本発明の好ましい実施の形態の一例を説明したが、本発明は図示の形態に限定されない。例えば、フィン45は、本出願人が先に特開平9-250803号の図5で開示した旋回流形成板の如き、平板からフィンを打ち抜いて形成した構成を採用することもできる。
図1、2に示すように、床10bの下方に機械室50を形成し、この機械室50に配置した制御機器51からケーブル52を介して空気循環ユニット30のファン37に電力を供給させても良い。また、制御機器51から配管53を介して冷却器35に冷媒を供給させても良い。例えば、空気循環ユニット30のファン37に電力を供給するケーブル52を、空気循環ユニット30の内部を通して床10から機械室50に引き込むことにより、クリーンルーム10の内部に晒されるケーブル52の長さを短くでき、ケーブル52による分子汚染を最小限にすることができる。また、空気循環ユニット30の底面にドレインパン55を設け、このドレインパン55で受け取ったドレンを、機械室50に速やかに回収できるようにしても良い。
上述のように、空気循環ユニット30前面の給気口32からクリーンルーム10下部の空調領域11に向けて0.5m/s以上、1.2m/s以下の流速で給気SAを供給することにより、空調領域11全体を混合・希釈させて清浄に保つことができる。省エネルギーのためには、クリーンルーム10内の発熱負荷や浮遊粒子発生量に応じ、空調領域11の清浄度が所望のレベルとなる範囲内で、給気SAの給気量をなるべく小さくすることが望ましい。そこで、空気循環ユニット30の内部に設けたファン37にインバータなどを設けて、ファン37の動力を可変にし、全体の換気回数が変えられる構成とすることが望ましい。
なお、空調領域11に向けて給気される給気SAの流速が0.5m/s未満になると、給気SAによって空調領域11全体を混合・希釈させることができなくなり、浮遊粒子を空調領域11から十分に除去できなくなって、清浄な作業環境が得られなくなる心配がある。そこで、図8に示すように、空調領域11に向けて給気SAを給気する空気循環ユニット30を複数台設置し、空気循環ユニット30の稼働台数を、給気量に応じて切り替えるように構成すると良い。例えば、給気SAの供給量を減らす場合は、空気循環ユニット30の稼働台数を減らすことによって、給気SAの流速が0.5m/s未満になることを防止できる。
さらに、図1では、空気循環ユニット30が側壁1cに設置される例を示したが、大空間のクリーンルームの場合には、二つの空気循環ユニット30を背中合わせにしてクリーンルームの側壁1cと側壁1c1cとの間に、空気循環ユニット30を配置しても良い。言い換えれば、二つの空気循環ユニット30がそれぞれの給気口32が向かい合わないように、その背面同士を密着させて配置しても良い。
天井までのクリーンルーム内全体の空気を一様に混合・希釈させる従来の非層流方式のクリーンルーム装置と、本発明のクリーンルーム装置をそれぞれ構築し、温度分布、および、浮遊粒子個数の分布の実測を行った。使用したクリーンルームは、高さ4mであり、高さ2mまでを空調領域とした。各温度、浮遊粒子個数は、3か所の平均値である。浮遊粒子個数は、0.3μm以上の粒子の個数(個/ft)である。従来の非層流方式のクリーンルーム装置では、換気回数を20回/hとした。本発明のクリーンルーム装置では、換気回数を12.7回/hとした。
図9に従来の非層流方式のクリーンルーム装置の温度分布、図10に従来の非層流方式のクリーンルーム装置の浮遊粒子個数の分布を示す。図11に本発明のクリーンルーム装置の温度分布、図12に本発明のクリーンルーム装置の浮遊粒子個数の分布を示す。空調領域に関しては、本発明のクリーンルーム装置は、少ない換気回数でありながら、従来の非層流方式のクリーンルーム装置と同等の温度分布となった。また、浮遊粒子個数は、従来の非層流方式のクリーンルーム装置よりも低減できた。
本発明は、種々の産業分野で利用されるクリーンルーム装置に広く適用できる。
OA 外気
SA 給気
EA 排気
CA 清浄空気
1 クリーンルーム装置
10 クリーンルーム
11 空調領域
12 機器
13 局排ダクト
14 排気ファン
20 給気口(清浄空気CA)
21 外調機
22 給気ダクト
23 粗フィルタ
24 冷却器
25 給気ファン
26 高性能フィルタ
30 空気循環ユニット
31 吸気口
32 給気口
35 冷却器
36 高性能フィルタ
37 ファン
40 邪魔板
41 開口部41
45 フィン
50 機械室
51 制御機器
52 ケーブル
53 配管
55 ドレインパン

Claims (21)

  1. クリーンルームの下部に形成される空調領域を清浄に保つクリーンルーム装置であって、
    前記クリーンルーム内に配置され、前記クリーンルーム内の空気を循環させる空気循環ユニットを備え、
    前記空気循環ユニットには、前記クリーンルームの内部であって前記空調領域よりも上方の位置で前記クリーンルーム内の空気を吸い込む吸気口と、前記空気循環ユニットの前面において前記空調領域と向かい合う高さまでの領域に分布して配置されて、前記空調領域に向けて横向きに給気する複数の給気口が設けられ、
    前記空気循環ユニットは、冷却器および高性能フィルタと、前記クリーンルーム内の空気を前記吸気口から吸い込み、前記冷却器および前記高性能フィルタを通過させて前記給気口に向けて送風するファンを備え、
    前記ファンと前記高性能フィルタの間には、前記ファンの動力によって前記空気循環ユニットの内部に吸い込まれた空気を必ず高性能フィルタに通過させる、前記空気循環ユニットの内部空間を部分的に仕切り、前記高性能フィルタよりも内側に対応する位置に開口部が設けられた邪魔板が設けられており、前記ファンによる気流が、前記開口部を通過して前記高性能フィルタの内側に入り込むことを特徴とする、クリーンルーム装置。
  2. クリーンルームの下部に形成される空調領域を清浄に保つクリーンルーム装置であって、
    前記クリーンルーム内に配置され、前記クリーンルーム内の空気を循環させる、箱状の空気循環ユニットを備え、
    前記空気循環ユニットには、前記クリーンルームの内部であって前記空調領域よりも上方の位置で前記クリーンルーム内の空気を吸い込む吸気口と、前記空気循環ユニットの前面において前記空調領域と向かい合う高さまでの領域に分布して配置されて、前記空調領域に向けて横向きに給気する複数の給気口が設けられ、
    前記空気循環ユニットは、冷却器および高性能フィルタと、前記クリーンルーム内の空気を前記吸気口から吸い込み、前記冷却器および前記高性能フィルタを通過させて前記給気口に向けて送風するファンを備え、
    前記ファンと前記高性能フィルタの間には、前記ファンの動力によって前記空気循環ユニットの内部に吸い込まれた空気を必ず高性能フィルタに通過させる、前記空気循環ユニットの内部空間を部分的に仕切り、前記高性能フィルタよりも内側に対応する位置に開口部が設けられた邪魔板が設けられており、前記ファンによる気流が、前記開口部を通過して前記高性能フィルタの内側に入り込むことを特徴とする、クリーンルーム装置。
  3. クリーンルームの下部に形成される空調領域を清浄に保つクリーンルーム装置であって、
    前記クリーンルーム内に配置され、前記クリーンルーム内の空気を循環させる空気循環ユニットを備え、
    前記空気循環ユニットには、前記クリーンルームの内部であって前記空調領域よりも上方の位置で前記クリーンルーム内の空気を吸い込む吸気口と、前記空気循環ユニットの前面において前記空調領域と向かい合う高さまでの領域に分布して配置されて、前記空調領域に向けて横向きに給気する複数の給気口が設けられ、
    前記空気循環ユニットは、冷却器および高性能フィルタと、前記クリーンルーム内の空気を前記吸気口から吸い込み、前記冷却器および前記高性能フィルタを通過させて前記給気口に向けて送風するファンを備え、
    前記ファンと前記冷却器および前記高性能フィルタの間には、前記ファンの動力によって前記空気循環ユニットの内部に吸い込まれた空気を必ず前記冷却器および前記高性能フィルタに通過させる、前記空気循環ユニットの内部空間を部分的に仕切り、前記冷却器および前記高性能フィルタよりも内側に対応する位置に開口部が設けられた邪魔板が設けられており、前記ファンによる気流が、前記開口部を通過して前記冷却器および前記高性能フィルタの内側に入り込むことを特徴とする、クリーンルーム装置。
  4. クリーンルームの下部に形成される空調領域を清浄に保つクリーンルーム装置であって、
    前記クリーンルーム内に配置され、前記クリーンルーム内の空気を循環させる、箱状の空気循環ユニットを備え、
    前記空気循環ユニットには、前記クリーンルームの内部であって前記空調領域よりも上方の位置で前記クリーンルーム内の空気を吸い込む吸気口と、前記空気循環ユニットの前面において前記空調領域と向かい合う高さまでの領域に分布して配置されて、前記空調領域に向けて横向きに給気する複数の給気口が設けられ、
    前記空気循環ユニットは、冷却器および高性能フィルタと、前記クリーンルーム内の空気を前記吸気口から吸い込み、前記冷却器および前記高性能フィルタを通過させて前記給気口に向けて送風するファンを備え、
    前記ファンと前記冷却器および前記高性能フィルタの間には、前記ファンの動力によって前記空気循環ユニットの内部に吸い込まれた空気を必ず前記冷却器および前記高性能フィルタに通過させる、前記空気循環ユニットの内部空間を部分的に仕切り、前記冷却器および前記高性能フィルタよりも内側に対応する位置に開口部が設けられた邪魔板が設けられており、前記ファンによる気流が、前記開口部を通過して前記冷却器および前記高性能フィルタの内側に入り込むことを特徴とする、クリーンルーム装置。
  5. 前記複数の給気口には、前記空調領域に向けて横向きに給気される空気に対して旋回成分を与えるフィンが設けられていることを特徴とする、請求項1〜4のいずれか一項に記載のクリーンルーム装置。
  6. 前記空気循環ユニットの内部に通したケーブルを介して前記ファンに電力を供給することを特徴とする、請求項1〜5のいずれか一項に記載のクリーンルーム装置。
  7. 前記ファンは、前記冷却器および前記高性能フィルタよりも上方にあることを特徴とする、請求項1〜6のいずれか一項に記載のクリーンルーム装置。
  8. 前記クリーンルーム外からの清浄空気を前記吸気口の真上の室内空間に給気するための前記清浄空気の給気口が設けられていることを特徴とする、請求項1〜7のいずれか一項に記載のクリーンルーム装置。
  9. 前記空気循環ユニットの上面に前記吸気口が設けられていることを特徴とする、請求項1〜8のいずれか一項に記載のクリーンルーム装置。
  10. 前記空気循環ユニットが、クリーンルーム内の床上に配置されていることを特徴とする、請求項1〜9のいずれか一項に記載のクリーンルーム装置。
  11. 前記冷却器および高性能フィルタは、前記複数の給気口の内側全体を覆う位置に配置されていることを特徴とする、請求項1〜10のいずれか一項に記載のクリーンルーム装置。
  12. クリーンルームの下部に形成される空調領域を清浄に保つくクリーンルーム内に配置され、前記クリーンルーム内の空気を循環させる空気循環ユニットであって、
    前記クリーンルームの内部であって前記空調領域よりも上方の位置で前記クリーンルーム内の空気を吸い込む吸気口と、前記空気循環ユニットの前面において前記空調領域と向かい合う高さまでの領域に分布して配置されて、前記空調領域に向けて横向きに給気する複数の給気口が設けられ、
    冷却器および高性能フィルタと、前記クリーンルーム内の空気を前記吸気口から吸い込み、前記冷却器および前記高性能フィルタを通過させて前記給気口に向けて送風するファンを備え、
    前記ファンと前記高性能フィルタの間には、前記ファンの動力によって前記空気循環ユニットの内部に吸い込まれた空気を必ず高性能フィルタに通過させる、前記空気循環ユニットの内部空間を部分的に仕切り、前記高性能フィルタよりも内側に対応する位置に開口部が設けられた邪魔板が設けられており、前記ファンによる気流が、前記開口部を通過して前記冷却器および前記高性能フィルタの内側に入り込むことを特徴とする、空気循環ユニット。
  13. クリーンルームの下部に形成される空調領域を清浄に保つクリーンルーム内に配置され、前記クリーンルーム内の空気を循環させる、箱状の空気循環ユニットであって、
    前記クリーンルームの内部であって前記空調領域よりも上方の位置で前記クリーンルーム内の空気を吸い込む吸気口と、前記空気循環ユニットの前面において前記空調領域と向かい合う高さまでの領域に分布して配置されて、前記空調領域に向けて横向きに給気する複数の給気口が設けられ、
    冷却器および高性能フィルタと、前記クリーンルーム内の空気を前記吸気口から吸い込み、前記冷却器および前記高性能フィルタを通過させて前記給気口に向けて送風するファンを備え、
    前記ファンと前記高性能フィルタの間には、前記ファンの動力によって前記空気循環ユニットの内部に吸い込まれた空気を必ず高性能フィルタに通過させる、前記空気循環ユニットの内部空間を部分的に仕切り、前記高性能フィルタよりも内側に対応する位置に開口部が設けられた邪魔板が設けられており、前記ファンによる気流が、前記開口部を通過して前記冷却器および前記高性能フィルタの内側に入り込むことを特徴とする、空気循環ユニット。
  14. クリーンルームの下部に形成される空調領域を清浄に保つクリーンルーム内に配置され、前記クリーンルーム内の空気を循環させる空気循環ユニットであって、
    前記クリーンルームの内部であって前記空調領域よりも上方の位置で前記クリーンルーム内の空気を吸い込む吸気口と、前記空気循環ユニットの前面において前記空調領域と向かい合う高さまでの領域に分布して配置されて、前記空調領域に向けて横向きに給気する複数の給気口が設けられ、
    冷却器および高性能フィルタと、前記クリーンルーム内の空気を前記吸気口から吸い込み、前記冷却器および前記高性能フィルタを通過させて前記給気口に向けて送風するファンを備え、
    前記ファンと前記冷却器および前記高性能フィルタの間には、前記ファンの動力によって前記空気循環ユニットの内部に吸い込まれた空気を必ず前記冷却器および前記高性能フィルタに通過させる、前記空気循環ユニットの内部空間を部分的に仕切り、前記冷却器および前記高性能フィルタよりも内側に対応する位置に開口部が設けられた邪魔板が設けられており、前記ファンによる気流が、前記開口部を通過して前記冷却器および前記高性能フィルタの内側に入り込むことを特徴とする、空気循環ユニット。
  15. クリーンルームの下部に形成される空調領域を清浄に保つクリーンルーム内に配置され、前記クリーンルーム内の空気を循環させる、箱状の空気循環ユニットであって、
    前記クリーンルームの内部であって前記空調領域よりも上方の位置で前記クリーンルーム内の空気を吸い込む吸気口と、前記空気循環ユニットの前面において前記空調領域と向かい合う高さまでの領域に分布して配置されて、前記空調領域に向けて横向きに給気する複数の給気口が設けられ、
    冷却器および高性能フィルタと、前記クリーンルーム内の空気を前記吸気口から吸い込み、前記冷却器および前記高性能フィルタを通過させて前記給気口に向けて送風するファンを備え、
    前記ファンと前記冷却器および前記高性能フィルタの間には、前記ファンの動力によって前記空気循環ユニットの内部に吸い込まれた空気を必ず前記冷却器および前記高性能フィルタに通過させる、前記空気循環ユニットの内部空間を部分的に仕切り、前記冷却器および前記高性能フィルタよりも内側に対応する位置に開口部が設けられた邪魔板が設けられており、前記ファンによる気流が、前記開口部を通過して前記冷却器および前記高性能フィルタの内側に入り込むことを特徴とする、空気循環ユニット。
  16. 前記複数の給気口には、前記空調領域に向けて横向きに給気される空気に対して旋回成分を与えるフィンが設けられていることを特徴とする、請求項12〜15のいずれか一項に記載の空気循環ユニット。
  17. 前記空気循環ユニットの内部に通したケーブルを介して前記ファンに電力を供給することを特徴とする、請求項12〜16のいずれか一項に記載の空気循環ユニット。
  18. 前記ファンは、前記冷却器および前記高性能フィルタよりも上方にあることを特徴とする、請求項12〜17のいずれか一項に記載の空気循環ユニット。
  19. 上面に前記吸気口が設けられていることを特徴とする、請求項12〜18のいずれか一項に記載の空気循環ユニット。
  20. クリーンルーム内の床上に配置されることを特徴とする、請求項12〜19のいずれか一項に記載の空気循環ユニット。
  21. 前記冷却器および高性能フィルタは、前記複数の給気口の内側全体を覆う位置に配置されていることを特徴とする、請求項12〜20のいずれか一項に記載の空気循環ユニット。
JP2019200819A 2019-11-05 2019-11-05 クリーンルーム装置および空気循環ユニット Active JP6878552B2 (ja)

Priority Applications (1)

Application Number Priority Date Filing Date Title
JP2019200819A JP6878552B2 (ja) 2019-11-05 2019-11-05 クリーンルーム装置および空気循環ユニット

Applications Claiming Priority (1)

Application Number Priority Date Filing Date Title
JP2019200819A JP6878552B2 (ja) 2019-11-05 2019-11-05 クリーンルーム装置および空気循環ユニット

Related Parent Applications (1)

Application Number Title Priority Date Filing Date
JP2016108663A Division JP6636859B2 (ja) 2016-05-31 2016-05-31 クリーンルーム装置および空気循環ユニット

Publications (2)

Publication Number Publication Date
JP2020030039A JP2020030039A (ja) 2020-02-27
JP6878552B2 true JP6878552B2 (ja) 2021-05-26

Family

ID=69624229

Family Applications (1)

Application Number Title Priority Date Filing Date
JP2019200819A Active JP6878552B2 (ja) 2019-11-05 2019-11-05 クリーンルーム装置および空気循環ユニット

Country Status (1)

Country Link
JP (1) JP6878552B2 (ja)

Families Citing this family (1)

* Cited by examiner, † Cited by third party
Publication number Priority date Publication date Assignee Title
CN118448301B (zh) * 2024-04-23 2024-09-24 上海稷以科技有限公司 气体内外循环-晶圆冷却方法及系统

Family Cites Families (4)

* Cited by examiner, † Cited by third party
Publication number Priority date Publication date Assignee Title
JP4294784B2 (ja) * 1999-04-07 2009-07-15 高砂熱学工業株式会社 空調設備および空調方法
JP4333598B2 (ja) * 2004-02-13 2009-09-16 富士電機システムズ株式会社 ファンフィルタユニット、ファンフィルタユニットシステムおよびクリーンルーム
JP5053686B2 (ja) * 2007-04-05 2012-10-17 高砂熱学工業株式会社 空調方法
JP5785633B2 (ja) * 2014-02-26 2015-09-30 高砂熱学工業株式会社 給気装置

Also Published As

Publication number Publication date
JP2020030039A (ja) 2020-02-27

Similar Documents

Publication Publication Date Title
JP7604693B2 (ja) クリーンルーム装置および空気循環ユニット
JP5361140B2 (ja) 非層流方式のクリーンルーム装置
KR101039768B1 (ko) 기류전환용 호퍼와 스윙그릴을 부착한 천장 4방향 에어콘의 실내기
JP5490485B2 (ja) 大型空間室の置換換気設備
JP6909850B2 (ja) クリーンルーム装置および空気循環ユニット
JP6636859B2 (ja) クリーンルーム装置および空気循環ユニット
JP5860212B2 (ja) 高負荷空調システム
JP2012202558A (ja) クリーンルーム空調システム
JPS6231258B2 (ja)
JP3561191B2 (ja) クリーンルーム
JP6961374B2 (ja) 空調方法および空調システム
JP6878552B2 (ja) クリーンルーム装置および空気循環ユニット
JP2515593B2 (ja) クリ―ンル―ム構築システム
JP2012251745A (ja) 高負荷空調システム
JP2004012038A (ja) クリーンルーム
JP5785633B2 (ja) 給気装置
JP7635499B2 (ja) クリーンルームシステム及び空気排出方法
JP7580895B2 (ja) クリーンルームの空調システム
JP2001056140A (ja) クリーンルーム
JP7332290B2 (ja) クリーンルームシステム及び空気排出方法
JP7580894B2 (ja) クリーンルームの空調システム
JP7631570B1 (ja) クリーンルームの空調システム
KR102601433B1 (ko) 수냉식 냉난방 및 바이러스 케어 기능을 갖는 하이브리드 타입의 열회수형 환기장치
CN223090761U (zh) 一种洁净室设备
JP4503621B2 (ja) 給気チャンバ

Legal Events

Date Code Title Description
A621 Written request for application examination

Free format text: JAPANESE INTERMEDIATE CODE: A621

Effective date: 20191205

A521 Request for written amendment filed

Free format text: JAPANESE INTERMEDIATE CODE: A523

Effective date: 20200106

A977 Report on retrieval

Free format text: JAPANESE INTERMEDIATE CODE: A971007

Effective date: 20201006

A131 Notification of reasons for refusal

Free format text: JAPANESE INTERMEDIATE CODE: A131

Effective date: 20201013

A521 Request for written amendment filed

Free format text: JAPANESE INTERMEDIATE CODE: A523

Effective date: 20201214

TRDD Decision of grant or rejection written
A01 Written decision to grant a patent or to grant a registration (utility model)

Free format text: JAPANESE INTERMEDIATE CODE: A01

Effective date: 20210406

A61 First payment of annual fees (during grant procedure)

Free format text: JAPANESE INTERMEDIATE CODE: A61

Effective date: 20210428

R150 Certificate of patent or registration of utility model

Ref document number: 6878552

Country of ref document: JP

Free format text: JAPANESE INTERMEDIATE CODE: R150