JP6868088B2 - 計時器のための向きを調整可能な裏蓋 - Google Patents

計時器のための向きを調整可能な裏蓋 Download PDF

Info

Publication number
JP6868088B2
JP6868088B2 JP2019233841A JP2019233841A JP6868088B2 JP 6868088 B2 JP6868088 B2 JP 6868088B2 JP 2019233841 A JP2019233841 A JP 2019233841A JP 2019233841 A JP2019233841 A JP 2019233841A JP 6868088 B2 JP6868088 B2 JP 6868088B2
Authority
JP
Japan
Prior art keywords
back cover
annular
portable watch
braking means
watch case
Prior art date
Legal status (The legal status is an assumption and is not a legal conclusion. Google has not performed a legal analysis and makes no representation as to the accuracy of the status listed.)
Active
Application number
JP2019233841A
Other languages
English (en)
Other versions
JP2020112550A (ja
Inventor
ヤン・ヘーリング
セバスチャン・ジョベス
ニコラ・ドゥボー
Original Assignee
ブランパン・エス アー
ブランパン・エス アー
Priority date (The priority date is an assumption and is not a legal conclusion. Google has not performed a legal analysis and makes no representation as to the accuracy of the date listed.)
Filing date
Publication date
Application filed by ブランパン・エス アー, ブランパン・エス アー filed Critical ブランパン・エス アー
Publication of JP2020112550A publication Critical patent/JP2020112550A/ja
Application granted granted Critical
Publication of JP6868088B2 publication Critical patent/JP6868088B2/ja
Active legal-status Critical Current
Anticipated expiration legal-status Critical

Links

Images

Classifications

    • GPHYSICS
    • G04HOROLOGY
    • G04BMECHANICALLY-DRIVEN CLOCKS OR WATCHES; MECHANICAL PARTS OF CLOCKS OR WATCHES IN GENERAL; TIME PIECES USING THE POSITION OF THE SUN, MOON OR STARS
    • G04B37/00Cases
    • G04B37/12Cases for special purposes, e.g. watch combined with ring, watch combined with button
    • GPHYSICS
    • G04HOROLOGY
    • G04BMECHANICALLY-DRIVEN CLOCKS OR WATCHES; MECHANICAL PARTS OF CLOCKS OR WATCHES IN GENERAL; TIME PIECES USING THE POSITION OF THE SUN, MOON OR STARS
    • G04B37/00Cases
    • G04B37/0008Cases for pocket watches and wrist watches
    • GPHYSICS
    • G04HOROLOGY
    • G04BMECHANICALLY-DRIVEN CLOCKS OR WATCHES; MECHANICAL PARTS OF CLOCKS OR WATCHES IN GENERAL; TIME PIECES USING THE POSITION OF THE SUN, MOON OR STARS
    • G04B45/00Time pieces of which the indicating means or cases provoke special effects, e.g. aesthetic effects
    • G04B45/0084Pictures or inscriptions on the case or parts thereof, attaching complete pictures
    • GPHYSICS
    • G04HOROLOGY
    • G04BMECHANICALLY-DRIVEN CLOCKS OR WATCHES; MECHANICAL PARTS OF CLOCKS OR WATCHES IN GENERAL; TIME PIECES USING THE POSITION OF THE SUN, MOON OR STARS
    • G04B19/00Indicating the time by visual means
    • G04B19/28Adjustable guide marks or pointers for indicating determined points of time
    • G04B19/283Adjustable guide marks or pointers for indicating determined points of time on rotatable rings, i.e. bezel
    • G04B19/286Adjustable guide marks or pointers for indicating determined points of time on rotatable rings, i.e. bezel with locking means to prevent undesired rotations in both directions
    • GPHYSICS
    • G04HOROLOGY
    • G04BMECHANICALLY-DRIVEN CLOCKS OR WATCHES; MECHANICAL PARTS OF CLOCKS OR WATCHES IN GENERAL; TIME PIECES USING THE POSITION OF THE SUN, MOON OR STARS
    • G04B37/00Cases
    • G04B37/08Hermetic sealing of openings, joints, passages or slits
    • G04B37/11Hermetic sealing of openings, joints, passages or slits of the back cover of pocket or wrist watches
    • GPHYSICS
    • G04HOROLOGY
    • G04BMECHANICALLY-DRIVEN CLOCKS OR WATCHES; MECHANICAL PARTS OF CLOCKS OR WATCHES IN GENERAL; TIME PIECES USING THE POSITION OF THE SUN, MOON OR STARS
    • G04B45/00Time pieces of which the indicating means or cases provoke special effects, e.g. aesthetic effects
    • G04B45/0084Pictures or inscriptions on the case or parts thereof, attaching complete pictures
    • G04B45/0092Changeable parts
    • GPHYSICS
    • G04HOROLOGY
    • G04BMECHANICALLY-DRIVEN CLOCKS OR WATCHES; MECHANICAL PARTS OF CLOCKS OR WATCHES IN GENERAL; TIME PIECES USING THE POSITION OF THE SUN, MOON OR STARS
    • G04B37/00Cases
    • G04B37/0075Cases with means to enhance sound transmission

Landscapes

  • Physics & Mathematics (AREA)
  • General Physics & Mathematics (AREA)
  • Electric Clocks (AREA)

Description

本発明は、計時器用の裏蓋に関し、より詳細には、外面にパターン又はロゴがあり所望に応じてこのパターン又はロゴの向きを調整することができるような計時器用の裏蓋に関する。
携行型時計(例、腕時計、懐中時計)のケースの裏蓋をそのミドル部にねじ込んで裏蓋が完全にねじ込まれているときに、装飾性の模様又は刻印が、この携行型時計の12時−6時の垂直軸に対して適切にアライメント状態になっていないことがしばしば観察され、このことは当然、この携行型時計の美観を損ねてしまう。このような装飾性の模様又は刻印は、例えば、この携行型時計を装着している個人の手首の側にある裏蓋の面にスタンピングされていたり刻まれたりしている。
このような美観上の問題は、低コストの携行型時計では許容される可能性があるが、より高価な携行型時計の場合は非常に大きな課題となってしまう。
この課題を解決するために今までに知られている唯一の策は、機械加工時に裏蓋と所定の携行型時計ケースを対にして、完全にねじ込まれたときに裏蓋が携行型時計の12時−6時の軸と完全にアライメント状態になることを確実にするものである。しかし、この策はあまり満足できるものではない。なぜなら、上記のことによって、携行型時計の元々の裏蓋がなくなったり破損したりした場合には問題が発生し、別の裏蓋に取り替えなければならなくなり、このために、裏蓋をミドル部にねじ込んでも、裏蓋が12時−6時の鉛直方向の軸に対して適切にアライメント状態になることが確実ではなくなるためである。
本発明は、携行型時計ケースのミドル部に裏蓋をねじ込んだ後に裏蓋の向きを携行型時計に対して単純かつ効果的に調整して、この携行型時計を装着した個人の手首の方を向いている携行型時計の裏蓋の面に刻まれた刻印や他の装飾パターンが適切に配置されることを確実にすることを可能にするシステムを提案することによって、上記の課題や他の課題を解決することを目的とする。
このために、本発明は、携行型時計ケース用の裏蓋に関し、この裏蓋は、前記携行型時計ケースにねじ込まれるように構成している第1の要素と、及び端面にパターンがある第2の要素とを備え、前記第2の要素は、前記第2の要素の中央領域を通る回転軸を中心として回転することができるように取り付けられており、前記第2の要素は、前記第2の要素に対して前記回転軸を中心とする異なる角位置に保持するように構成している制動手段を備え、前記制動手段は、前記第1の要素との間に配置されている。
これらの特徴のおかげで、本発明は、裏蓋を携行型時計のケースミドル部に完全にねじ込むことを可能にして、そのシールを確実にし、そして、可能なかぎりこの裏蓋を失うリスクをなくすような携行型時計ケースの裏部を固定するデバイスを提供する。また、この裏蓋は、所定の位置に完全にねじ込まれていても、この裏蓋の可動要素をケースミドル部に対して回転させて、前記裏蓋の可視面に施された刻印又はパターンの潜在的なアラインメントずれを補正することを可能にする。
本発明の他の有利な代替実施形態は、以下の特徴を有する。
− 前記制動手段は、摩擦によって作用する。
− 前記制動手段は、少なくとも1つの弾性環状要素を有する。
− 前記少なくとも1つの環状要素は、前記第2の要素の回転軸に平行な方向にて弾性を有する。
− 前記制動手段は、圧縮可能な材料によって作られたリング状のガスケットによって形成される。
− 前記第1の要素と前記第2の要素はそれぞれ、互いに相補的なクリップ手段を有する。
− 前記第2の要素は、前記第1の要素に形成される環状溝と係合するように構成しているピンを有する。
− 前記第2の要素は、互いに対向しており前記第1の要素に形成される第1及び第2の環状スロット内に収容される2つの弾性環状要素を有する。
− 前記環状スロットは、円形溝の両側に配置される。
− 前記第2の環状スロットには、底部を形成し弾性環状要素を受けるように構成している第1のレベルと、及び第2の要素の縁部を受けるように構成している第2のレベルとの2つのレベルがある。
− 裏蓋とケースとの間のシールを確実にするために、携行型時計ケースの底部に形成された環状溝にOリングが挿入される。
本発明は、さらに、本発明に係る月の相の機構を有する計時器に関する。
図示している少なくとも1つの実施形態(これに限定されない)に基づく以下の説明を読むことによって、本携行型時計の目的、利点及び特徴を明確に理解することができるであろう。
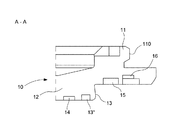
本発明に係る裏蓋を備えた携行型時計ケースの断面図である。 図2a及び2bはそれぞれ、本発明に係る裏蓋の第1の要素についての下から見た図及び断面図である。 図3a及び3bはそれぞれ、本発明に係る裏蓋の第2の要素についての下から見た図及び断面図である。 本発明に係る裏蓋についての分解斜視図である。
図1は、ケースミドル部51に特定のねじピッチでねじ込まれるように意図されている携行型時計ケース50のための裏蓋1であり、このケースミドル部51には、その底部の内周に、機械加工された相補的なねじ山がある。
具体的には、裏蓋1は、携行型時計ケース50にねじ込まれるように構成している第1の要素10と、ロゴや商標などのパターンがある端面21を有する第2の要素20とを備え、この第2の要素20は、携行型時計ケースの中心を通る軸を中心に回転することができるように取り付けられている。
第1の要素10は、携行型時計ケース50にねじ込まれるように意図されており、このために、その背面、すなわち、ケースの内側を向いている面、には環状の肩部11があり、この肩部11にはその外周にねじ山110がある。このように、肩部11は携行型時計ケース50の底部にねじ込まれる。この携行型時計ケース50には、このために設けられた相補的なねじ山がある。
第1の要素10は、さらに、その前面、すなわち、ケースの外側方向を向いている面に、壁13がある基礎12を備える。この壁13は、この基礎12が実質的に台形の断面を有するように、ケースから離れるにしたがって外側方向に広がるように傾斜している。
第2の要素20には、基礎12の位置に、基礎12に対して相補的な形であり傾斜壁23に面している空洞22があり、これによって、2つの要素10、20を力ずくで相互ロックないしクリップし、したがって、組み付けることができる。第1の要素10に第2の要素20を力ずくで入れ込むことを容易にするために、基礎12と空洞22のリムを傾斜させる。
好ましいことに、第1の要素10の基礎12には、凹部13’と環状スロット13”があり、この環状スロット13”は、壁13の裏に形成されており、これによって、第2の要素20を第1の要素10に力ずくで相互ロックする際に壁が変形することを容易にする。
観察することができるように、基礎12及び空洞22の直径はそれぞれ、第1及び第2の要素10、20全体の直径よりも小さい。
第2の要素20は、ケース100の中心を通り抜ける回転軸Cを中心として第1の要素10に接触して回転することができるように取り付けられ、前記相互ロック又はクリップは、第2の要素20を回転させるのに十分なクリアランスを与える。
図2a及び図2bに示しているように、第1の要素10は、順次的に、基礎12に形成される第1の環状スロット14と、第1の要素の周部の近くに形成される環状溝15と、及び第1の要素10の周部のすぐ近くに形成される第2の環状スロット16とを備える。
図1において、第2の要素20には、ピン25を受けるように構成しているオリフィス24が形成されており、ピン25が、第1の要素10に形成された環状溝15と係合して、第2の要素20をその回転の間ガイドすることがわかる。また、図2aにおいて、環状溝15が連続しておらず、環状溝15の2つの端150及び151どうしが近くにあり、この端150及び151それぞれがバンキングを定めていることがわかる。
本発明によれば、摩擦によって作用する制動手段が設けられる。この制動手段は、第1の要素10に対する、したがって、ケースミドル部に対する、第2の要素20の異なる角度的な向きを保持するように構成している。したがって、第1の要素10がケースミドル部に当接するようにねじ込まれると、パターンMがある第2の要素は、制動手段によって発生する摩擦力に抗しつつ所望の位置に容易に角度的に変位することができ、所望の位置に保持される。このようにして、第2の要素20は、その背面と第1の要素10の前面との間で軸方向にクランプされる。好ましくは、第2の要素20、そして、第1の要素10、の対応する寸法、特に、厚み、は、第2の要素20の縁部が第1の要素10の前面と同一平面内にあるように選択され、したがって、連続面を形成する。
1つの好ましい実施形態によれば、制動手段は、特に、回転軸Cに平行な方向にて弾性がある、少なくとも1つの弾性環状要素30を備える。通常、この環状要素は、天然又は合成の圧縮可能な材料によって作られたガスケットによって形成することができる。環状要素30は、第1の要素と第2の要素との間に配置される。本発明によれば、一又は複数の弾性環状要素30は、第1の要素の前面に形成される第1及び第2の環状スロット14及び16内に配置される。当業者であれば、特に困難なく、この組み付けを逆にして、スロット14及び16を予め形成した第2の要素20の背面に弾性環状要素30を配置することができる。環状スロット14及び16は、環状溝15の両側に配置され、弾性環状要素30によって発生される摩擦力のより良好な分布が可能になる。
好ましいことに、第2の環状スロット16には、弾性環状要素30を受けるように構成しているスロットの底部を形成する第1のレベルと、第2の要素20の縁部を受けるように構成しているスロットの開口を形成する第2のレベルとの2つのレベルがある。この第2のレベルは、第2の要素20の縁部が軸Cの方向に並進変位をすることができるように、第1のレベルの寸法よりも大きい寸法を有する。
なお、所望の制動力は、製造時に環状要素の圧縮比を適合させることによって制御することができることに留意すべきである。
また、第1の要素に取り付けられる第2の要素を用いることによって、製造業者が、代替の裏蓋の在庫を獲得し、また、異なるパターンを有する裏蓋を用いることができるようになることに留意すべきである。この種の裏蓋によって、さらに、種々の材料を容易に組み合わせてその種々の要素を作ることが可能になる。
したがって、裏蓋の向きを調整するために、製造者(又は着用者)は、携行型時計ケースの方に第2の要素20に圧力を加えて、弾性環状要素30を圧縮する。そして、第2の要素に圧力を加え続けながら、製造者は、第1の要素10に対して第2の要素を回転させて、裏蓋を所望の角位置に向きを調整して、これによって、パターンMが、例えば、携行型時計の6時−12時の軸とアライメント状態になる。
したがって、第1の要素10から第2の要素20を分離することを容易にするために、第2の要素20にはノッチ26を形成し、このノッチ26は、てこの原理を発揮させて第2の要素を取り外す道具を受けることができる。
図1には、本発明に係る裏蓋1を備えた計時器100、例えば、腕時計タイプの計時器、を部分的に示している。この計時器は、特に、ベゼル52の下に位置するケースミドル部51を有し、このベゼル52は、ケースミドル部51にねじ込むことができ、風防53を保持するように用いられる。ベゼル52と風防53によって形成されるアセンブリーは、ガスケット54を挿入することによってシールされる。ケースミドル部51には、さらに、ワインディング用ボタン56が固定されるロッド55を通すためのボア穴がある。図に示した例では、腕時計は、アナログ時刻表示タイプのものであり、このために、表盤57の上で動く時針と分針のセット58(図において1つの針のみを示している)を備える。当然、例えば、液晶セルを有する、デジタル時刻表示携行型時計にも本発明を適用することができる。
添付の特許請求の範囲によって定められる本発明の範囲を逸脱せずに、本明細書に記載された実施形態に対して、当業者にとって自明である種々の改変及び/又は改良を行うことができることを理解することができるであろう。具体的には、リング状のガスケット30の代わりに、軸Cに沿って圧縮可能な弾性を有していれば、波形ばねリングを用いることを考えることができる。別の代替的な実施形態において、制動手段をインデキシング用のノッチに関連づけて、基材を所定の複数の角位置に配置することができる。
なお、ケースミドル部51の底部に設けられた環状溝59にOリング31を伝統的な形態で挿入して、裏蓋1の第1の要素10とケースミドル部51との間のシール性を確実にしている。
第1の要素と第2の要素は、金属、金属合金、セラミックス、複合材料又はプラスチック材料で作ることができる。
当然、本発明は、上述した実施形態に限定されず、本発明の範囲を逸脱せずに、種々の単純な代替形態や改変された形態を考えることができる。
1 裏蓋
10 第1の要素
14、16 環状スロット
15 環状溝
20 第2の要素
24 オリフィス
25 ピン
30 弾性環状要素
31 Oリング
50 携行型時計ケース
51 ケースミドル部
59 環状溝
C 回転軸
M パターン

Claims (11)

  1. 携行型時計ケース(50)用の裏蓋(1)であって、
    前記携行型時計ケース(50)にねじ込まれるように構成している第1の要素(10)と、及び端面にパターン(M)がある第2の要素(20)とを備え、
    前記第2の要素(20)は、前記携行型時計ケース(50)の中央領域を通る回転軸(C)を中心として回転することができるように取り付けられており、
    前記第2の要素(20)は、前記第2の要素(20)を前記第1の要素(10)に対して前記回転軸(C)を中心とする異なる角位置に保持するように構成している制動手段を備え、
    前記制動手段は、前記第1の要素(10)と前記第2の要素(20)との間に配置されており、
    前記第2の要素(20)は、前記第2の要素(20)が前記第1の要素(10)に形成された環状溝(15)と係合するように構成しているピン(25)を備える
    ことを特徴とする裏蓋(1)。
  2. 前記制動手段は、摩擦によって作用する
    ことを特徴とする請求項1に記載の裏蓋(1)。
  3. 前記制動手段は、少なくとも1つの弾性環状要素(30)を有する
    ことを特徴とする請求項1又は2に記載の裏蓋(1)。
  4. 前記少なくとも1つの弾性環状要素(30)は、前記第2の要素(20)の前記回転軸(C)に平行な方向にて弾性がある
    ことを特徴とする請求項1〜3のいずれか一項に記載の裏蓋(1)。
  5. 前記制動手段は、圧縮可能な材料によって作られたリング状のガスケット(30)によって形成される
    ことを特徴とする請求項1〜4のいずれか一項に記載の裏蓋(1)。
  6. 前記第1の要素(10)と前記第2の要素(20)はそれぞれ、互いに相補的なクリップ手段を有する
    ことを特徴とする請求項1〜5のいずれか一項に記載の裏蓋(1)。
  7. 前記第2の要素(20)は、前記第1の要素(10)内に形成された互いに対向する第1及び第2の環状スロット(14、16)内に収容された2つの弾性環状要素(30)を有する
    ことを特徴とする請求項3に記載の裏蓋(1)。
  8. 前記第1及び第2の環状スロット(14、16)は、前記環状溝(15)の両側に形成される
    ことを特徴とする請求項7に記載の裏蓋(1)。
  9. 前記第2の環状スロット(16)には、前記底部を形成しており弾性環状要素(30)を受けるように構成している第1のレベルと、及び前記第2の要素(20)の縁部を受けるように構成している第2のレベルとの2つのレベルがある
    ことを特徴とする請求項7または8に記載の裏蓋(1)。
  10. 前記裏蓋(1)と前記携帯型時計ケース(50)との間のシールを確実にするように、前記携行型時計ケース(50)の底部に形成された環状溝(59)内にOリング(31)が挿入される
    ことを特徴とする請求項1〜のいずれか一項に記載の裏蓋(1)。
  11. 請求項1〜10のいずれか一項に記載の裏蓋を有する
    ことを特徴とする計時器。
JP2019233841A 2019-01-09 2019-12-25 計時器のための向きを調整可能な裏蓋 Active JP6868088B2 (ja)

Applications Claiming Priority (2)

Application Number Priority Date Filing Date Title
EP19151038.7 2019-01-09
EP19151038.7A EP3680729B1 (fr) 2019-01-09 2019-01-09 Fond orientable pour une piece d'horlogerie

Publications (2)

Publication Number Publication Date
JP2020112550A JP2020112550A (ja) 2020-07-27
JP6868088B2 true JP6868088B2 (ja) 2021-05-12

Family

ID=65011927

Family Applications (1)

Application Number Title Priority Date Filing Date
JP2019233841A Active JP6868088B2 (ja) 2019-01-09 2019-12-25 計時器のための向きを調整可能な裏蓋

Country Status (4)

Country Link
US (1) US11698607B2 (ja)
EP (1) EP3680729B1 (ja)
JP (1) JP6868088B2 (ja)
CN (1) CN111427251B (ja)

Families Citing this family (5)

* Cited by examiner, † Cited by third party
Publication number Priority date Publication date Assignee Title
EP3958067B1 (fr) * 2020-08-17 2025-10-08 The Swatch Group Research and Development Ltd Dispositif de fixation d'un fond sur une carrure pour piece d'horlogerie
EP4134756B1 (fr) * 2021-08-09 2024-04-03 The Swatch Group Research and Development Ltd Fond orientable pour une piece d` horlogerie
EP4141582A1 (fr) * 2021-08-25 2023-03-01 The Swatch Group Research and Development Ltd Boite de montre comprenant un fond orienté dans une position angulaire prédéfinie, montre comprenant ladite boîte et procédé de montage d'une telle boîte
EP4194967B1 (fr) * 2021-12-07 2025-05-28 The Swatch Group Research and Development Ltd Dispositif de fixation d'un fond sur une carrure pour piece d'horlogerie
US12449770B2 (en) * 2023-01-16 2025-10-21 Hampden Corp. Case cap retainer for a watch having a case cap

Family Cites Families (15)

* Cited by examiner, † Cited by third party
Publication number Priority date Publication date Assignee Title
CH243389A (fr) * 1945-05-12 1946-07-15 Luthy Edouard Boîte de montre étanche.
JPS5555432Y2 (ja) * 1977-07-18 1980-12-22
JPH11118954A (ja) * 1997-10-08 1999-04-30 Seiko Epson Corp 部材取付装置、部材取付装置を有する時計、及び部材取付装置を有する電子機器
JP3243443B2 (ja) * 1998-02-09 2002-01-07 理得國際企業有限公司 腕時計底蓋の結合構造
ATE389199T1 (de) * 2001-07-18 2008-03-15 Swatch Group Man Serv Ag Vorrichtung zur verstellung der ausrichtung eines bodens, der auf das mittelteil eines uhrgehäuses geschraubt ist, in bezug auf eine achse 12h-6h
ATE469382T1 (de) 2004-08-13 2010-06-15 Swatch Group Man Serv Ag Uhr mit lichtleiternuhrenglas
US7324410B1 (en) * 2005-07-25 2008-01-29 Amir Ziv Watch with special back
EP1760556A1 (fr) * 2005-09-06 2007-03-07 The Swatch Group Management Services AG Dispositif de fixation d'un fond sur une carrure d'une montre
EP1890203B1 (fr) * 2006-08-17 2012-08-01 Omega SA Boîte de montre comprenant un fond et procédé de fixation d'un fond sur une boîte de montre
JP2010127683A (ja) * 2008-11-26 2010-06-10 Seiko Instruments Inc 携帯時計
EP2533111B1 (fr) * 2011-06-08 2015-08-12 Omega SA Dispositif et procédé de fixation d'un élément de montre avec orientation angulaire réglable
JP6364763B2 (ja) 2013-12-20 2018-08-01 カシオ計算機株式会社 ケース、及び時計
EP2952975B1 (fr) 2014-06-03 2019-04-24 The Swatch Group Research and Development Ltd Dispositif d'assemblage d'un cercle d'encageage dans une carrure de montre
KR102359245B1 (ko) * 2016-07-08 2022-02-04 가부시키가이샤 한도오따이 에네루기 켄큐쇼 전자 기기
EP3276432B1 (fr) * 2016-07-26 2020-03-25 Omega SA Sous-ensemble d'habillage pour piece d'horlogerie ou montre ou bijou

Also Published As

Publication number Publication date
CN111427251B (zh) 2022-10-11
US11698607B2 (en) 2023-07-11
EP3680729A1 (fr) 2020-07-15
JP2020112550A (ja) 2020-07-27
CN111427251A (zh) 2020-07-17
EP3680729B1 (fr) 2024-04-24
US20200218201A1 (en) 2020-07-09

Similar Documents

Publication Publication Date Title
JP6868088B2 (ja) 計時器のための向きを調整可能な裏蓋
US6761479B2 (en) Device for adjusting the alignment of a back cover screwed onto the middle part of a watchcase with respect to a 12 o'clock—6 o'clock axis
JP4943438B2 (ja) 裏蓋を腕時計の中間部品に取り付けるための装置
US20040130971A1 (en) Screw-on crown for timepiece
JP5097474B2 (ja) 裏ぶたを含むウォッチケースと、裏ぶたをウォッチケースに取り付ける方法。
JP3027840B2 (ja) 回転ベゼル付機器ケース
US7478945B2 (en) Watch case and wristwatch with such a case
CN104808472B (zh) 用于固定钟表表盘的装置
US10114338B2 (en) Exterior sub-assembly for a timepiece or watch or piece of jewellery
US8870450B2 (en) Timepiece assembly wherein a bottom plate is centred and secured relative to a middle part
JP2020506403A (ja) リアベゼルにより胴内所定位置に保持されたカプセルを備える時計ケース
JP2002062376A (ja) 腕時計
KR20020074077A (ko) 베젤을 통해 조립된 시계케이스
TW201805743A (zh) 用於手錶的外部零件之次組合件
US2814927A (en) Small clock
CN111722516B (zh) 世界时手表的表盘
HK40032015B (en) Orientable back for a timepiece
HK40032015A (en) Orientable back for a timepiece
MX2014005834A (es) Caja de reloj.
CN223679530U (zh) 一种内影圈与表盘对位结构、表头及手表
US478321A (en) Edward everett ellis
JP2016114540A (ja) 計時装置
JP5943297B2 (ja) 見切り構造及び時計
CN115903435A (zh) 用于钟表的可定向后盖
JP2025070497A (ja) 時計

Legal Events

Date Code Title Description
A621 Written request for application examination

Free format text: JAPANESE INTERMEDIATE CODE: A621

Effective date: 20191225

A131 Notification of reasons for refusal

Free format text: JAPANESE INTERMEDIATE CODE: A131

Effective date: 20201104

A601 Written request for extension of time

Free format text: JAPANESE INTERMEDIATE CODE: A601

Effective date: 20210204

A521 Request for written amendment filed

Free format text: JAPANESE INTERMEDIATE CODE: A523

Effective date: 20210218

TRDD Decision of grant or rejection written
A01 Written decision to grant a patent or to grant a registration (utility model)

Free format text: JAPANESE INTERMEDIATE CODE: A01

Effective date: 20210316

A61 First payment of annual fees (during grant procedure)

Free format text: JAPANESE INTERMEDIATE CODE: A61

Effective date: 20210409

R150 Certificate of patent or registration of utility model

Ref document number: 6868088

Country of ref document: JP

Free format text: JAPANESE INTERMEDIATE CODE: R150

R250 Receipt of annual fees

Free format text: JAPANESE INTERMEDIATE CODE: R250

R250 Receipt of annual fees

Free format text: JAPANESE INTERMEDIATE CODE: R250