JP6847397B2 - 吐水装置 - Google Patents

吐水装置 Download PDF

Info

Publication number
JP6847397B2
JP6847397B2 JP2017065553A JP2017065553A JP6847397B2 JP 6847397 B2 JP6847397 B2 JP 6847397B2 JP 2017065553 A JP2017065553 A JP 2017065553A JP 2017065553 A JP2017065553 A JP 2017065553A JP 6847397 B2 JP6847397 B2 JP 6847397B2
Authority
JP
Japan
Prior art keywords
rectifying unit
passage
hot water
water
generating element
Prior art date
Legal status (The legal status is an assumption and is not a legal conclusion. Google has not performed a legal analysis and makes no representation as to the accuracy of the status listed.)
Active
Application number
JP2017065553A
Other languages
English (en)
Other versions
JP2018167164A (ja
Inventor
慧 渡邊
慧 渡邊
清岳 浮貝
清岳 浮貝
雄也 永田
雄也 永田
Current Assignee (The listed assignees may be inaccurate. Google has not performed a legal analysis and makes no representation or warranty as to the accuracy of the list.)
Toto Ltd
Original Assignee
Toto Ltd
Priority date (The priority date is an assumption and is not a legal conclusion. Google has not performed a legal analysis and makes no representation as to the accuracy of the date listed.)
Filing date
Publication date
Application filed by Toto Ltd filed Critical Toto Ltd
Priority to JP2017065553A priority Critical patent/JP6847397B2/ja
Publication of JP2018167164A publication Critical patent/JP2018167164A/ja
Application granted granted Critical
Publication of JP6847397B2 publication Critical patent/JP6847397B2/ja
Active legal-status Critical Current
Anticipated expiration legal-status Critical

Links

Images

Landscapes

  • Bidet-Like Cleaning Device And Other Flush Toilet Accessories (AREA)
  • Bathtubs, Showers, And Their Attachments (AREA)
  • Nozzles (AREA)

Description

本発明は、吐水装置に関し、特に、吐水口から湯水(湯又は水)を往復振動させながら吐出する吐水装置に関する。
吐水口から吐出される湯水の方向が振動的に変化するシャワーヘッドが知られている。このシャワーヘッドのような吐水装置においては、供給される湯水の給水圧によりノズルを振動的に駆動し、吐出口から吐出される湯水の方向を変化させている。このようなタイプの吐水装置では、単一の吐水口から広い範囲に湯水を吐出することができるので、広い範囲に吐水可能な吐水装置をコンパクトに構成できることが期待される。
一方、特開2000−120141号公報(特許文献1)には、温水洗浄便座装置が記載されている。この温水洗浄便座装置においては、流体素子ノズルを使用して自励発振を誘発し、洗浄水の噴出方向を振動的に変化させている。具体的には、この温水洗浄便座装置においては図23に示すように、噴射ノズル102の両側にフィードバック流路104が設けられている。各フィードバック流路104は、噴射ノズル102と連通したループ状の流路であり、噴射ノズル102内を流れる洗浄水の一部が流入して循環するように構成されている。また、噴射ノズル102は、楕円形断面の噴射口102aに向けてテーパ状に広がる形状に構成されている。
洗浄水が供給されると、噴射ノズル102から噴射される洗浄水は、コアンダ効果(Coanda effect)により、楕円形断面の噴射口102aの何れか一方の側の壁面に引き寄せられ、これに沿うように噴射される(図23の状態a)。洗浄水が一方の壁面に沿って噴射されると、洗浄水が噴射されている側のフィードバック流路104内にも洗浄水が流入し、フィードバック流路104内の圧力が上昇する。この圧力上昇により、噴射されている洗浄水が押され、洗浄水は反対側の壁面に引き寄せられ、反対側の壁面に沿って噴射されるようになる(図23の状態a→b→c)。さらに、反対側の壁面に沿って洗浄水がされると、今度は、反対側のフィードバック流路104内の圧力が上昇し、噴射洗浄水は押し戻される(図23の状態c→b→a)。この作用を繰り返すことにより、噴射される洗浄水は、図23の状態aとcの間で振動的に方向が変化する。
また、特開2004−275985号公報(特許文献2)には、純流体素子が記載されている。この純流体素子は、流体噴出ノズルを横断するように、連結ダクトが設けられており、この連結ダクトの作用により、流体噴出ノズル内の上側又は下側の圧力が交互に上昇する。この圧力上昇により押された噴流は、コアンダ効果により、流体噴出ノズルの上側板に沿った噴流、又は下側板に沿った噴流となり、これらの状態が一定周期で繰り返され、噴射方向が振動的に変化する流れとなる。
さらに、特公昭58−49300号公報(特許文献3)には、振動スプレー装置が記載されている。この振動スプレー装置は、図24に示す構成を有するものであり、前室110内で発生するカルマン渦を利用して、出口112から噴射される噴流の方向を振動的に変化させるものである。まず、入口孔114から前室110内に流入した流体は、前室110内に島状に設けられた三角形断面の障害物116に衝突する。流体が衝突すると、障害物116の下流側には、障害物116の上側と下側に交互にカルマン渦が発生し、渦列となる。
このカルマン渦の渦列は、成長しながら出口112に到達する。出口112近傍においては、渦列の渦が存在する側の流速が速く、反対側の流速が遅くなる。図24に示す例においては、カルマン渦は障害物116の上側と下側で交互に発生し、この渦列が順次出口112まで到達するので、出口112近傍では、上側の流速が速い状態と、下側の流速が速い状態が交互に現れる。上側の流速が速い状態では、流速の速い流体が出口112上側の壁面110aに衝突して方向が変えられ、出口112から噴射される流体は、全体として斜め下方に向かう噴流となる。一方、下側の流速が速い状態では、流速の速い流体が出口112下側の壁面110bに衝突し、出口112からは斜め上方に向かう噴流が噴射される。このような状態が交互に繰り返されることにより、出口112からの噴流は往復振動しながら噴射される。
以上、特許文献1乃至3に記載されている流体素子をシャワーヘッド等の吐水装置に応用して、湯水を往復振動させながら吐出することも考えられる。
特開2000−120141号公報 特開2004−275985号公報 特公昭58−49300号公報
まず、散水ノズルを振動的に駆動して吐出される湯水の方向を変化させる吐水装置は、ノズルを駆動する必要があるため、ノズル周辺の構造が複雑になり、複数のノズルをコンパクトに吐水装置に収納することが難しいという問題がある。また、このタイプの吐水装置では、ノズルが物理的に動くため、可動部分に摩耗が発生しやすく、摩耗を回避するためには、可動部を構成する部材の材質の選択に制約を受けるという問題がある。さらに、複雑な構造の可動部分を摩耗しにくい材料で形成する必要があるため、コスト高になるという問題がある。
一方、特許文献1乃至3に記載されているタイプの噴射装置は流体素子による発振現象を利用したものであり、可動部材を設けることなく流体の噴射方向を変化させることができるため、簡単な構成で、コンパクトにノズル部分を構成できるという利点がある。
しかしながら、特許文献1及び2に記載の流体素子をシャワーヘッド等の吐水装置に応用した場合には、噴射される湯水の浴び心地が良くないという問題が、本件発明者により見出された。ここで、発明者が目標としている良好な浴び心地とは、大きな液滴の湯水が、広範囲に万遍なく吐出されている状態を意味している。即ち、シャワーヘッドから吐出される湯水の液滴が過度に小さい場合には湯水がミスト状となり、同量の湯水を浴びていたとしてもシャワーを浴びている実感を得ることができない。また、吐出される湯水が吐水範囲内で不均一になっていると、使用者が意図してシャワーをあてた部分を均一に洗い流すことができず、使用感の悪いものとなる。
ここで、特許文献1及び2に記載されている流体素子は、噴出される流体がコアンダ効果により壁面に沿って流れるという現象を利用したものであるため、吐出範囲内に噴射される流体にムラができてしまう。即ち、図23に示す温水便座装置においては、噴射される洗浄水は状態a、b、cの間を遷移するものであるが、実際には、噴流が壁面に引き寄せられている状態aや状態cの期間が長く、それらの間の状態(状態b付近)をとる期間は極僅かである。このため、特許文献1及び2に記載されている流体素子をシャワーヘッド等の吐水装置に応用した場合、吐水範囲の周辺部分の吐水量が多く、中央付近の吐水量が少ない「中抜け」した状態となり、浴び心地の悪いものとなってしまう。
これに対して特許文献3に記載されている流体素子は、カルマン渦を応用したものであるため、噴流が壁面に引き寄せられながら流れるという現象は殆ど発生していない。このため、吐水方向が振動的に変化することにより形成される吐水範囲内において、ほぼ均一な吐水量を得ることができる。また、図24に示す流体素子をシャワーヘッド等の吐水装置に応用した場合、出口112から噴射される湯水の流速を高くすると、湯水は大きな速度で壁面110a(又は110b)に衝突して大きく方向転換される。このため、流量が大きい状態では、出口112から噴射される湯水は広い範囲に広がり吐水範囲が広くなる。しかしながら、湯水の流速を極めて高くすると、噴射された湯水が細かな液滴に分解されてしまい、湯水が往復振動する振動平面と直交する方向にも吐水が広がってしまう。このように湯水が細かな液滴に分解されてしまうと、流速を高くした場合でも湯水を浴びた使用者に心地良い刺激感を与えることができず、使用感の悪いものとなってしまう。
従って、本発明は、簡単な構造で、コンパクトに構成することができ、使用感に優れた吐水を得ることができる吐水装置を提供することを目的としている。
上述した課題を解決するために、本発明は、吐水口から湯水を往復振動させながら吐出させる吐水装置であって、吐水装置本体と、この吐水装置本体に設けられ、供給された湯水を所定の振動平面内で往復振動させながら吐出する振動発生素子と、を有し、振動発生素子は、吐水装置本体から供給された湯水が流入する給水通路と、この給水通路の流路断面の一部を閉塞するように、給水通路の下流側端部に配置され、給水通路によって導かれた湯水が衝突することで、その下流側に交互に反対回りの渦を発生させる湯水衝突部と、給水通路の下流側に設けられ、湯水衝突部により形成された渦をく渦列通路と、この渦列通路の下流側に設けられ、振動平面と夫々平行に配置された2つの壁面、及び振動平面に対して直角に向けられた2つの側壁面によって囲まれ、渦列通路の上流端よりも幅の狭い通路である第1整流部と、この第1整流部の下流側に設けられ第2整流部と、を有し、第2整流部は、振動平面と夫々平行に配置された2つの平面部のみから構成されていることを特徴としている。
このように構成された本発明によれば、振動発生素子により、吐水装置から吐出される湯水を往復振動させることができるので、コンパクトで簡単な構造で、1つの吐水口から広い範囲に湯水を吐出することができる。また、吐出するノズルを動かすことなく、吐水方向を変化させることができるので、可動部の摩耗等の問題がなく、低コストで、耐久性の高い吐水装置を構成することができる。
本件発明者は、上記のような構成により、吐出される湯水を往復振動させることには成功した。しかしながら、本件発明者は、吐出された湯水を浴びることによる心地良い刺激感を得るため、吐水口から吐出される流速を非常に高くした場合に、吐出された湯水が吐水口の比較的近傍で細かな液滴に分解してしまうという新たな技術課題に直面した。心地良い刺激感を得るべく、吐出される湯水の流速を高くしたとしても、噴射された湯水が細かな液滴に分解されてしまうと、湯水を浴びた使用者に十分な刺激感を与えることはできない。この湯水の液滴への分解により、吐出された湯水は、湯水が往復振動している振動平面内ばかりでなく、振動平面に直交する方向にも広がり、細かな液滴に分解してしまう。
この新たな技術課題を解決するには、渦列通路を通過した湯水への整流性を高めるため、整流通路を長く構成することが考えられる。しかしながら、整流通路を長く構成すると、整流通路が湯水の往復振動の妨げになってしまう。また、仮に整流通路が湯水の往復振動の妨げにならなかったとしても、剥離部で剥離した湯水が拡大する整流通路の壁面に再付着しやすく、これによりコアンダ効果が発生してしまう。上記のように、コアンダ効果が発生すると、往復振動する湯水の流れが、吐水範囲の周辺部分に偏ってしまい、吐出される湯水は浴び心地の悪いものとなってしまう。このコアンダ効果の発生を避けるため、整流通路の広がり角度を極端に大きくすると、振動発生素子の先端部の設計に無理が生じ、剥離部等を形成するための壁面が極端に薄くなってしまう等、製品化が困難な形態になることが分かった。
本件発明者は、上記のような試行錯誤を繰り返しながら鋭意研究開発を進めた結果、上記の本件発明の構造に到達した。即ち、本件発明によれば、渦列通路を通過した湯水を、まず第1整流部に導き、次いで第2整流部に導く。第1整流部においては、流入した湯水の、振動平面に平行な方向の乱れ、及び振動平面に直交する方向の乱れを抑制する。これにより、流入した湯水を、所定の吐水範囲でムラなく吐水することが可能となる。しかしながら、第1整流部を通過させただけでは、吐出される湯水の流速を非常に高くしたとき、湯水が往復振動する振動平面に対して直交する方向に流れが広がり、湯水が細かな液滴に分解してしまう。そこで、本件発明者は、第1整流部の下流側に、振動平面に直交する方向の乱れを抑制する第2整流部を設けることにより、上記の問題を解決した。この第2整流部は振動平面に平行な方向の乱れを抑制しないため、第2整流部を設けることにより吐水範囲を狭くしたり、コアンダ効果を発生させることなく、吐出される湯水の、振動平面に直交する方向の広がりを抑制することができる。このように、本件発明によれば、第1整流部及び第2整流部を二段階に設けることにより、吐水範囲内にほぼ一定に液滴を分布させることができると共に、吐出される湯水の流速を非常に高くして心地良い刺激感を得ることができる。
また、このように構成された本発明によれば、第2整流部が振動平面に平行な2つの平面部から構成されているので、第1整流部からの流れが振動平面内に広がった場合も、流れが第2整流部を構成する壁面に衝突することがない。このため、第2整流部では、確実に、振動平面に直交する方向の湯水の広がりだけを抑制することができ、振動平面内の往復振動を阻害することがない。
本発明において、好ましくは、第2整流部を構成する2つの平面部の幅は、第1整流部の下流端における幅よりも広く構成されている。
このように構成された本発明によれば、第2整流部の幅が第1整流部の下流端の幅よりも広く構成されているので、往復振動により第1整流部から広がりながら吐出する湯水の流れに対しても、振動平面に直交する方向の乱れを第2整流部により抑制することができる。この結果、振動平面に直交する方向の湯水の広がりを、より広範囲で抑制することができ、より心地良い刺激感を得ることができる。
また、本発明は、吐水口から湯水を往復振動させながら吐出させる吐水装置であって、吐水装置本体と、この吐水装置本体に設けられ、供給された湯水を所定の振動平面内で往復振動させながら吐出する振動発生素子と、を有し、振動発生素子は、吐水装置本体から供給された湯水が流入する給水通路と、この給水通路の流路断面の一部を閉塞するように、給水通路の下流側端部に配置され、給水通路によって導かれた湯水が衝突することで、その下流側に交互に反対回りの渦を発生させる湯水衝突部と、給水通路の下流側に設けられ、湯水衝突部により形成された渦を導く渦列通路と、この渦列通路の下流側に設けられ、振動平面と夫々平行に配置された2つの壁面、及び振動平面に対して直角に向けられた2つの側壁面によって囲まれ、渦列通路の上流端よりも幅の狭い通路である第1整流部と、この第1整流部の下流側に設けられた第2整流部と、を有し、第2整流部は、振動平面と夫々平行に配置された2つの壁面、及び振動平面に対して直角に向けられた2つの側壁面によって囲まれ、第1の整流部よりも幅が広い通路であることを特徴としている。
また、本発明において、好ましくは、第2整流部の2つの側壁面は、第1整流部から吐出された湯水が干渉しない位置に設けられている。
本発明において、好ましくは、渦列通路は、その幅が一定に構成され、第1整流部は、その幅が、渦列通路の幅よりも狭く形成されている。
このように構成された本発明によれば、渦列通路の幅が一定に構成され、この渦列通路が幅の狭い第1整流部に接続されているので、導かれた湯水が渦列通路の下流端において急激に偏向され、より大きな振幅で湯水を往復振動させることができ、広い吐水範囲を得ることができる。
本発明において、好ましくは、吐水装置本体は、振動発生素子の第2整流部を挿入するための吐出開口部を備え、振動発生素子は、第2整流部が吐出開口部の縁と接するように、吐水装置本体に取り付けられる。
このように構成された本発明によれば、振動発生素子の第2整流部が、吐水装置本体の吐出開口部の縁と接しているので、湯水を往復振動させる振動発生素子に作用する反力が、振動発生素子自体を振動させ、異音等が発生するのを抑制することができる。これにより、異音の発生等がない、高級感のある吐水装置を提供することができる。
本発明の吐水装置によれば、簡単な構造で、コンパクトに構成することができ、使用感に優れた吐水を得ることができる。
本発明の第1実施形態によるシャワーヘッドの外観を示す斜視図である。 本発明の第1実施形態によるシャワーヘッドの全断面図である。 本発明の第1実施形態によるシャワーヘッドに備えられている振動発生素子の外観を示す斜視図である。 本発明の第1実施形態における振動発生素子の平面断面図である。 本発明の第1実施形態における振動発生素子の垂直断面図である。 本発明の実施形態によるシャワーヘッドに備えられている振動発生素子における湯水の流れを解析した流体シミュレーションの結果を示す図である。 本発明の第1実施形態によるシャワーヘッドに備えられている単一の振動発生素子から吐出された湯水の流れを示すストロボ写真の一例である。 本発明の第1実施形態によるシャワーヘッドに備えられている振動発生素子から吐出される湯水の状態を示す写真である。 比較例として、第2整流部を備えていない振動発生素子から吐出される湯水の状態を示す写真である。 本発明の第2実施形態によるシャワーヘッドに備えられている振動発生素子の外観を示す斜視図である。 本発明の第2実施形態における振動発生素子の平面断面図である。 本発明の第2実施形態における振動発生素子の垂直断面図である。 本発明の第2実施形態における振動発生素子の変形例の平面断面図である。 本発明の第2実施形態における振動発生素子を、シャワーヘッドの内部に取り付けた状態を示す断面図である。 本発明の第3実施形態によるシャワーヘッドに備えられている振動発生素子の外観を示す斜視図である。 本発明の第3実施形態における振動発生素子の平面断面図である。 本発明の第3実施形態における振動発生素子の垂直断面図である。 本発明の第3実施形態によるシャワーヘッドに備えられている振動発生素子における湯水の流れを解析した流体シミュレーションの結果を示す図である。 本発明の第3実施形態によるシャワーヘッドに備えられている単一の振動発生素子から吐出された湯水の流れを示すストロボ写真の一例である。 本発明の第3実施形態によるシャワーヘッドに備えられている振動発生素子から吐出される湯水の状態を示す写真である。 比較例として、第2整流部を備えていない振動発生素子から吐出される湯水の状態を示す写真である。 本発明の第4実施形態によるシャワーヘッドに備えられている振動発生素子の外観を示す斜視図である。 本発明の第4実施形態における振動発生素子の平面断面図である。 本発明の第4実施形態における振動発生素子の垂直断面図である。 本発明の第5実施形態によるシャワーヘッドに備えられている振動発生素子の外観を示す斜視図である。 本発明の第5実施形態における振動発生素子の平面断面図である。 本発明の第5実施形態における振動発生素子の垂直断面図である。 特許文献1に記載されている流体素子の作用を示す図である。 特許文献3に記載されている流体素子の構成を示す図である。
次に、添付図面を参照して、本発明の好ましい実施形態の吐水装置であるシャワーヘッドを説明する。
まず、図1乃至図8を参照して、本発明の第1実施形態によるシャワーヘッドを説明する。図1は本発明の第1実施形態によるシャワーヘッドの外観を示す斜視図である。図2は本発明の第1実施形態によるシャワーヘッドの全断面図である。図3は本発明の第1実施形態によるシャワーヘッドに備えられている振動発生素子の外観を示す斜視図である。また、図4Aは、本実施形態における振動発生素子の平面断面図であり、図4Bは、振動発生素子の垂直断面図である。
図1に示すように、本実施形態のシャワーヘッド1は、概ね円柱形のシャワーヘッド本体2と、このシャワーヘッド本体2内に、軸線方向に一直線に並べて埋め込まれた7つの振動発生素子4と、を有する。
本実施形態のシャワーヘッド1は、シャワーヘッド本体2の基端部に接続されたシャワーホース(図示せず)から湯水が供給されると、各振動発生素子4の吐水口4aから湯水が往復振動しながら吐出される。なお、本実施形態においては、湯水は、シャワーヘッド本体2の中心軸線に概ね直交する振動平面内で、所定の中心角を有する扇形を形成するように、各吐水口4aから吐出される。
次に、図2を参照して、シャワーヘッド1の内部構造を説明する。
図2に示すように、シャワーヘッド本体2内には、通水路を形成する通水路形成部材6と、各振動発生素子4を保持する振動発生素子保持部材8が内蔵されている。本実施形態においては、これらのシャワーヘッド本体2、通水路形成部材6、及び振動発生素子保持部材8により吐水装置本体が構成されている。
通水路形成部材6は、概ね円筒形の部材であり、シャワーヘッド本体2の内部に供給された湯水の流路を形成するように構成されている。通水路形成部材6の基端部には、シャワーホース接続部材6aが水密的に接続されるようになっている。また、通水路形成部材6の先端部は、半円形断面状に切り欠かれており、この切り欠き部分に振動発生素子保持部材8が配置される。
振動発生素子保持部材8は、概ね半円柱形の部材であり、通水路形成部材6の切り欠き部に配置されることにより、円柱形が形成されるようになっている。また、通水路形成部材6と振動発生素子保持部材8の間にはパッキン6bが配置され、これらの間の水密性が確保されている。さらに、振動発生素子保持部材8には、各振動発生素子4を挿入して保持するための7つの素子挿入孔8aが、概ね等間隔に、軸線方向に一直線に並べて形成されている。これにより、通水路形成部材6の中に流入した湯水は、振動発生素子保持部材8に保持された各振動発生素子4の背面側に流入し、正面に設けられた吐水口4aから吐出される。また、各素子挿入孔8aは、シャワーヘッド本体2の中心軸線に直交する平面に対して僅かに傾斜するように設けられており、各振動発生素子4から噴射される湯水は、全体としてシャワーヘッド本体2の軸線方向にも僅かに広がるように吐出される。
次に、図3及び図4を参照して、本実施形態のシャワーヘッドに内蔵されている振動発生素子4の構成を説明する。
図3に示すように、振動発生素子4は概ね薄い直方体状の部材であり、その正面側の先端には長方形の吐水口4aが設けられ、背面側の端部には鍔部4bが形成されている。さらに、振動発生素子4の周囲を一周するように、鍔部4bと平行に溝4cが設けられている。この溝4cにはOリング(図示せず)が嵌め込まれ、振動発生素子保持部材8の素子挿入孔8aとの間の水密性が確保される。また、振動発生素子4は、鍔部4bにより振動発生素子保持部材8に対して位置決めされると共に、水圧による振動発生素子保持部材8からの脱落が防止されている。
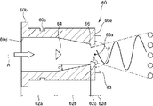
図4Aは図3のA−A線に沿う断面図であり、図4Bは図3のB−B線に沿う断面図である。
図4Aに示すように、振動発生素子4の内部には、長手方向に貫通するように長方形断面の通路が形成されている。この通路は、上流側から順に、給水通路10a、渦列通路10b、第1整流部10c、第2整流部10dとして形成されている。これら長方形断面の通路の各長辺は吐出される湯水が振動する振動平面と平行な方向(図4Aの紙面の方向)に向けられている。
給水通路10aは、振動発生素子4背面側の流入口4dから延びる断面積一定の長方形断面の直線状の通路である。
渦列通路10bは、給水通路10aの下流側に、給水通路10aに連なるように(段差なく)設けられた長方形断面の通路である。即ち、給水通路10aの下流端と、渦列通路10bの上流端は、同一の寸法形状を有している。渦列通路10bの対向する一対の壁面(両側壁面)は、渦列通路10b全体に亘って、下流側に向けて流路断面積が縮小するようにテーパして構成されている。即ち、渦列通路10bは、その全体が下流側に向けて細く、次第に幅が狭くなるテーパ部分として構成されている。なお、本明細書において、「幅」とは、振動発生素子4の内部に形成された各通路の中心軸線Aを横断する、振動平面と平行な方向の長さを意味するものとする。
第1整流部10cは、渦列通路10bと連通するように下流側に設けられた長方形断面の短い通路であり、断面積一定で直線状に形成されている。この第1整流部10cにより、渦列通路10bによって導かれた渦列を含む湯水が整流され、第2整流部10dに流出する。この第1整流部10cの流路断面積は、渦列通路10bの下流側端部の流路断面積よりも小さく構成されており、渦列通路10bと第1整流部10cの間には段部12が形成されている。この段部12の表面である段部壁面は、渦列通路10bの中心軸線Aに対して直交する方向に向けられている。従って、渦列通路10bのテーパした壁面(テーパ部分壁面)と段部壁面の為す角度は90゜よりも大きく(90゜+α゜)なる。また、段部壁面の長さは、テーパ部分壁面の長さよりも短く構成されている。
第2整流部10dは、第1整流部10cと連なるように、第1整流部10cの下流側に設けられている。また、第2整流部10dは、第1整流部10cの流路の幅と同一の幅に形成された、互いに平行に配置された2つの平面部13から構成されている。即ち、第1整流部10cの長方形断面の流路から吐出した湯水は、第2整流部10dを構成する、第1整流部10cと同一の幅の2枚の平行な平面部13の間に流入する。図3に示すように、これらの平面部13は、概ね直方体状に形成されている振動発生素子4の先端面4eから突出するように設けられている。換言すれば、第2整流部10dの各平面部13は、第1整流部10cの流路の床面及び天井面(図4Aの紙面に平行な壁面)と同一平面で連なっている一方、第2整流部10dには側壁面(図4Aの紙面に垂直な壁面)が存在しない。
即ち、第1整流部10cの側壁面は第2整流部10dにかけて、270゜の折れ角βで振動発生素子4の先端面4eに連なっている。換言すれば、湯水の流路は、平行な側壁面(広がり角=0゜)を有する第1整流部10cから、振動平面内において広がり角θ=180゜で広がる第2整流部10dに接続される。このように、第1整流部10cから第2整流部10dに連なる流路は、上下方向(図4Aの紙面に垂直な方向)には同一の高さで連続している一方、振動平面内では階段状に急激に広くなる。このため、第1整流部10cから流出した湯水の流れを、第2整流部10dにおいて幅方向(図4Aにおける上下方向)に規制する壁面はなく、第1整流部10cから流出した湯水は、第2整流部10dにおいて、幅方向には無制限に広がることができる。
次に、図4Bに示すように、給水通路10a、渦列通路10b、第1整流部10c、及び第2整流部10dの高さ方向に対向する壁面(天井面及び床面)は、全て同一平面上に設けられている。即ち、給水通路10a、渦列通路10b、第1整流部10c、及び第2整流部10dの高さは全て同一で、一定である。
なお、本実施形態においては、第2整流部10dの長さ(振動発生素子4の中心軸線A方向の長さ)は、第1整流部10cの通路の長さ(振動発生素子4の中心軸線A方向の長さ)の約1.5倍に形成されている。好ましくは、第2整流部10dの長さを、第1整流部10cの通路の長さの約0.25倍乃至約10倍に形成する。
一方、図4Aに示すように、給水通路10aの下流側端部(給水通路10aと渦列通路10bの接続部近傍)には湯水衝突部14が形成されており、この湯水衝突部14は給水通路10aの流路断面の一部を閉塞するように設けられている。この湯水衝突部14は、給水通路10aの高さ方向に対向する壁面(天井面及び床面)を連結するように延びる三角柱状の部分であり、給水通路10aの幅方向の中央に、島状に配置されている。湯水衝突部14の断面は、直角二等辺三角形状に形成されており、その斜辺が給水通路10aの中心軸線Aと直交するように配置され、また、直角二等辺三角形の直角の部分は下流側に向くように配置されている。この湯水衝突部14を設けることにより、その下流側にカルマン渦が生成され、吐水口4aから吐出される湯水が往復振動される。また、本実施形態においては、湯水衝突部14は、直角二等辺三角形の斜辺の部分(湯水衝突部14の上流端)が、給水通路10aと渦列通路10bの境界線上に位置するように配置されている。
なお、本実施形態において、渦列通路10bの側壁面と、中心軸線Aとの為す角(図4Aにおける角α)は約7゜である。好ましくは、側壁面と中心軸線Aとの為す角は約3゜乃至約25゜に設定する。このように角度を設定することにより、吐出流量の変化に伴う吐水範囲の変化を抑制しながら、コアンダ効果の発生を抑制することができる。
次に、図5乃至図8を新たに参照して、本発明の実施形態によるシャワーヘッド1の作用を説明する。
図5は、本発明の実施形態によるシャワーヘッド1に備えられている振動発生素子4における湯水の流れを解析した流体シミュレーションの結果を示す図である。図6は、本発明の実施形態によるシャワーヘッド1に備えられている単一の振動発生素子4から吐出された湯水の流れを示すストロボ写真の一例である。
まず、シャワーホース(図示せず)から供給された湯水は、シャワーヘッド本体2内の通水路形成部材6(図2)に流入し、さらに、振動発生素子保持部材8に保持された各振動発生素子4の流入口4d(図4)に流入する。各振動発生素子4の流入口4dから給水通路10aに流入した湯水は、その流路の一部を閉塞するように設けられた湯水衝突部14に衝突する。これにより、湯水衝突部14の下流側には、交互に反対回りのカルマン渦の渦列が形成される。この湯水衝突部14により形成されたカルマン渦は、テーパ状に先が細くなった渦列通路10bによって導かれながら成長し、第1整流部10cに至る。
この渦列通路10b内における湯水の流れを流体シミュレーションにより解析した結果が図5の(a)欄〜(c)欄である。この流体シミュレーションに示されているように、湯水衝突部14の下流側には渦が発生し、その部分で流速が高くなっている。この流速の高い部分(図5において色の濃い部分)は湯水衝突部14の両側に交互に表れ、渦列は渦列通路10bの壁面に沿って吐水口4aに向かって進行する。渦列通路10bの下流側の第1整流部10cに流入した湯水は、ここで振動平面(図5の紙面に平行な面)に平行な方向の乱れ、及び振動平面に直交する方向の乱れが抑制され、整流される。この第1整流部10cを通過した湯水は、第2整流部10dにおいて、振動平面に直交する方向の乱れのみが抑制され、整流される。
第2整流部10dを経て吐水口4aから吐出される湯水は、吐水口4aにおける流速分布に基づいて曲げられ、流速の高い部分が図5における上下方向に移動するに従って、吐出方向が変化する。即ち、湯水の流速の高い部分が図5における吐水口4aの上端に位置する状態では、湯水は下方に向けて噴射され、流速の高い部分が吐水口4aの下端に位置する状態では、湯水は上方に向けて噴射される。このように、湯水衝突部14の下流側に交互にカルマン渦を発生させることにより、吐水口4aにおいて流速分布が発生して、噴流が偏向する。また、渦列の進行により流速の速い部分の位置が往復運動するため、噴射される湯水も振動平面(図5の紙面に平行な面)内で往復振動する。この際、第2整流部10dは、振動平面と平行に配置された2つの平面部13のみから構成されている(図3に示すように側壁面が設けられていない)ため、振動平面に直交する方向の乱れのみを抑制し、振動平面内での湯水の往復振動には殆ど影響を与えない。
また、渦列通路10bと第1整流部10cの間には段部12が設けられているため、渦列通路10bのテーパした壁面(テーパ部分壁面)に沿う流れは、ここで剥離されて第1整流部10cに流入する。この段部12により流れが壁面から剥離されることにより、第1整流部10cの側壁面において発生するコアンダ効果が抑制される。また、第1整流部10cの下流側の第2整流部10dには側壁面が設けられておらず、急激に広がっている(広がり角θ=180゜)ため、第2整流部10dにおいてはコアンダ効果は発生しない。このため、吐水口4aから吐出される湯水は、コアンダ効果の影響を殆ど受けることがなく、滑らかに往復移動される。従って、段部12は、渦列通路10bの壁面に沿った流れを剥離させ、コアンダ効果を抑制する剥離部として作用する。さらに、段部12の表面である段部壁面は、剥離部壁面として機能する。
次に、図6に示す、本実施形態における振動発生素子4から吐出された湯水の流れを示すストロボ写真では、吐水方向が滑らかに往復移動しているため、整った正弦波状の流れが得られている。このように、本実施形態における振動発生素子4によれば、大粒の液滴が、広い範囲にムラなく吐出される浴び心地の良いシャワー吐水を得ることができる。
次に、図7及び図8を参照して、振動発生素子4に設けられている第2整流部10dの効果を説明する。
図7は、本実施形態のシャワーヘッド1に備えられている振動発生素子4から吐出される湯水の状態を示す写真である。図8は、比較例として、第2整流部10dを備えていない振動発生素子から吐出される湯水の状態を示す写真である。図7における振動発生素子と図8における振動発生素子は、第2整流部10dの有無を除き、同一の構成を有する。また、図7及び図8において、左側の2枚の写真は流速4m/secで振動発生素子から吐出する湯水の状態を示し、右側の2枚の写真は流速8m/secで振動発生素子から吐出する湯水の状態を示している。さらに、図7及び図8において、上段の写真は振動発生素子から吐出する湯水を振動平面に直交する方向から撮影したものであり、下段の写真は湯水を振動平面に平行な方向から撮影したものである。
まず、図7に示すように、流速4m/secで振動発生素子から吐出する湯水は、振動平面内において綺麗な正弦波状に振動される(図7の左上)と共に、振動平面に直交する方向には殆ど広がることなく(図7の左下)一直線に吐出されている。一方、振動発生素子から吐出する湯水の流速を非常に高くし、8m/secとした場合には、振動平面内における正弦波状の湯水の振動に乱れは生じる(図7の右上)ものの、振動平面に直交する方向の湯水の広がりは抑制されている(図7の右下)。このため、8m/secの流速で吐出された湯水を浴びた使用者には、心地良い刺激感を与えることができる。
次に、図8に示すように、比較例として、第2整流部10dを備えていない振動発生素子から吐出される湯水は、流速4m/secの場合には、本実施形態の第2整流部10dを備えた振動発生素子から吐出される湯水とほぼ同等に正弦波状の流れとなっている(図8の左上及び左下)。これに対し、流速が8m/secにされた場合には、振動発生素子から吐出された湯水は、正弦波の形態をとどめておらず(図8の右上)、また、振動平面に直交する方向にも大きく流れが広がってしまっていることがわかる(図8の右下)。これは、振動発生素子から吐出される湯水が、吐水口の比較的近傍で細かな液滴に分解されているためである。このように、吐出された湯水の流れが細かな液滴に分解されてしまうと、流速を8m/secに高めたとしても、湯水を浴びた使用者には心地良い刺激感を与えることができない。本実施形態の振動発生素子(図7)では、第2整流部10dを備えているため、吐出される湯水の流速を非常に高くした場合でも、湯水の流れが振動平面に直交する方向に広がるのが抑制され(図7の右下)、使用者に心地良い刺激感を与えることができる。
本発明の第1実施形態のシャワーヘッド1によれば、振動発生素子4に、第1整流部10c及び第2整流部10dを二段階に設ける(図4A)ことにより、吐水範囲内にほぼ一定に液滴を分布させることができると共に、吐出される湯水の流速を非常に高くして心地良い刺激感を得ることができる。
また、本実施形態のシャワーヘッド1によれば、第2整流部10dが振動平面(図4Aの紙面に平行な平面)に平行な2つの平面部13から構成されているので、第1整流部10cからの流れが振動平面内に広がった場合も、流れが第2整流部10dを構成する壁面に衝突することがない。このため、第2整流部では、確実に、振動平面に直交する方向の湯水の広がりだけを抑制することができ、振動平面内の往復振動を阻害することがない。
次に、図9及び図10を参照して、本発明の第2実施形態によるシャワーヘッドを説明する。
本実施形態のシャワーヘッドは、内蔵されている振動発生素子の構成のみが、上述した第1実施形態とは異なっている。従って、ここでは、本実施形態の第1実施形態とは異なる点のみを説明し、同様の構成、作用、効果については説明を省略する。
図9は、本発明の第2実施形態における振動発生素子の斜視図である。また、図10Aは、本実施形態における振動発生素子の平面断面図であり、図10Bは、振動発生素子の垂直断面図である。
図9及び図10に示すように、本実施形態における振動発生素子30は、渦列通路の構成、及び第2整流部の構成が第1実施形態と異なっている。即ち、本実施形態においては、渦列通路の上流側が断面積一定の通路で構成されており、また、第2整流部の幅が第1整流部よりも広く構成されている。
図9に示すように、振動発生素子30は概ね薄い直方体状の部材であり、その正面側の先端には長方形の吐水口30aが設けられ、背面側の端部には鍔部30bが形成されている。さらに、振動発生素子30の周囲を一周するように、鍔部30bと平行に溝30cが設けられている。
図10Aに示すように、第1実施形態と同様に、振動発生素子30の内部には、長手方向に貫通するように長方形断面の通路が形成されている。この通路は、上流側から順に、給水通路32a、渦列通路32b、第1整流部32c、第2整流部32dとして形成されている。
給水通路32aは、振動発生素子30背面側の流入口30dから延びる断面積一定の長方形断面の直線状の通路である。
渦列通路32bは、給水通路32aの下流側に、給水通路32aに連なるように設けられた長方形断面の通路である。即ち、給水通路32aの下流端と、渦列通路32bの上流端は、同一の寸法形状を有している。渦列通路32bの対向する一対の壁面(両側面)は、その上流側においては平行に形成され、下流側においては、下流端に向けて流路断面積が縮小するようにテーパして構成されたテーパ部分32eが設けられている。即ち、渦列通路32bは、上流端から断面積一定で延びた後、下流側に向けて次第に幅が狭くなるように構成されている。
第1整流部32cは、渦列通路32b(テーパ部分32e)と連通するように下流側に設けられた長方形断面の通路であり、断面積一定で直線状に形成されている。この第1整流部32cにより、渦列通路32bによって導かれた渦列を含む湯水が整流され、第2整流部32dに流出する。この第1整流部32cの流路断面積は、渦列通路32b(テーパ部分32e)の下流側端部の流路断面積よりも小さく構成されており、渦列通路32bと第1整流部32cの間には剥離部である段部36が形成されている。この段部36の表面である段部壁面は、渦列通路32bの中心軸線Aに対して直交する方向に向けられている。従って、渦列通路32bのテーパした壁面(テーパ部分壁面)と段部壁面の為す角度は90゜よりも大きく(90゜+α゜)なる。また、段部壁面の長さは、テーパ部分壁面の長さよりもよりも短く構成されている。
第2整流部32dは、第1整流部32cと連なるように、第1整流部32cの下流側に設けられている。また、第2整流部32dは、第1整流部32cの流路の幅よりも広い幅を有する、互いに平行に配置された2つの平面部33から構成されている。即ち、第1整流部32cの長方形断面の流路から吐出した湯水は、第2整流部32dを構成する、第1整流部31cよりも幅が広い2枚の平行な平面部33の間に流入する。図9に示すように、これらの平面部33は、概ね直方体状に形成されている振動発生素子30の先端面30eから突出するように設けられている。換言すれば、第2整流部32dの各平面部33は、第1整流部32cの流路の床面及び天井面(図10Aの紙面に平行な壁面)と同一平面で連なっている一方、第2整流部32dには側壁面(図10Aの紙面に垂直な壁面)が存在しない。
即ち、第1整流部32cの側壁面は第2整流部32dにかけて、270゜の折れ角βで振動発生素子30の先端面30eに連なっている。換言すれば、湯水の流路は、平行な側壁面(広がり角=0゜)を有する第1整流部32cから、振動平面内において広がり角θ=180゜で広がる第2整流部32dに接続される。このように、第1整流部32cから第2整流部32dに連なる流路は、上下方向(図10Aの紙面に垂直な方向)には同一の高さで連続している一方、振動平面内では階段状に急激に広くなる。このため、第1整流部32cから流出した湯水の流れを、第2整流部32dにおいて幅方向(図10Aにおける上下方向)に規制する壁面はなく、第1整流部32cから流出した湯水は、第2整流部32dにおいて、幅方向には無制限に広がることができる。
また、図10Bに示すように、本実施形態においても、第1実施形態と同様に、給水通路32a、渦列通路32b、第1整流部32c及び第2整流部32dの高さ方向に対向する壁面(天井面及び床面)は、全て同一平面上に設けられている。即ち、給水通路32a、渦列通路32b、第1整流部32c及び第2整流部32dの高さは全て同一で、一定である。
なお、本実施形態においては、第2整流部32dの長さ(振動発生素子30の中心軸線A方向の長さ)は、第1整流部32cの通路の長さ(振動発生素子30の中心軸線A方向の長さ)の約1.5倍に形成されている。好ましくは、第2整流部32dの長さを、第1整流部32cの通路の長さの約0.25倍乃至約10倍に形成する。また、本実施形態においては、第2整流部32dの幅は、第1整流部32cの通路の幅の約2倍に形成されている。好ましくは、第2整流部32dの幅を、第1整流部32cの通路の幅の約1倍乃至約3倍に形成する。
一方、図10Aに示すように、給水通路32aの下流側端部(給水通路32aと渦列通路32bの接続部近傍)には、給水通路32aの流路断面の一部を閉塞するように、湯水衝突部34が設けられている。この湯水衝突部34の構成は、第1実施形態と同様であるので、説明を省略する。
また、渦列通路32bのテーパ部分32eの軸線方向の長さを、第1整流部32cの軸線方向の長さよりも長く形成しておくことにより、吐出される湯水の流量による吐出範囲の変化を十分に抑制できることが確認されている。好ましくは、テーパ部分32eの中心軸線A方向の長さは、第1整流部32cの中心軸線A方向の長さの4倍以上に形成する。また、渦列通路32bのテーパ部分32eの側壁面と、中心軸線Aとの為す角(図10Aにおける角α)は約7゜である。好ましくは、側壁面と中心軸線Aとの為す角は約3゜乃至約25゜に設定する。このように角度を設定することにより、吐出流量の変化に伴う吐水範囲の変化を抑制しながら、コアンダ効果の発生を抑制することができる。さらに、給水通路32a下流端の、湯水衝突部34によって一部が閉塞されている部分の流路断面積(給水通路32aの流路断面積から湯水衝突部34の投影面積を減じた面積)は、第1整流部32cの流路断面積よりも大きく構成されている。
また、渦列通路32bの下流側の第1整流部32cに流入した湯水は、ここで振動平面(図10Aの紙面に平行な面)に平行な方向の乱れ、及び振動平面に直交する方向の乱れが抑制され、整流される。この第1整流部32cを通過した湯水は、第2整流部32dにおいて、振動平面に直交する方向の乱れのみが抑制され、整流される。
第2整流部32dを経て吐水口30aから吐出される湯水は、吐水口30aにおける流速分布に基づいて曲げられ、流速の高い部分の移動に従って吐出方向が変化する。この際、第2整流部32dは、振動平面と平行に配置された2つの平面部33のみから構成されている(図9に示すように側壁面が設けられていない)ため、振動平面に直交する方向の乱れのみを抑制し、振動平面内での湯水の往復振動には殆ど影響を与えない。また、第2整流部32dの幅(平面部33の幅)は、第1整流部32cの流路断面の幅よりも広く形成されている。このため、第1整流部32cから往復振動しながら吐出され、幅方向において第1整流部32cよりも外側に向けて吐出される湯水も2つの平面部33の間を通るので、このような湯水に対しても第2整流部32dは振動平面に直交する方向の乱れを抑制することができる。これにより、吐出される湯水の振動平面に直交する方向の広がりを、より効果的に抑制することができる。
なお、本発明の第2実施形態における振動発生素子30は、渦列通路32b及び第2整流部32dの構成が、上述した第1実施形態とは異なっているが、渦列通路32b又は第2整流部32dの構成の何れか一方を、第1実施形態における振動発生素子に適用することもできる。
本発明の第2実施形態のシャワーヘッドによれば、第2整流部32dの振動平面(図10Aの紙面に平行な平面)に平行な方向の幅が第1整流部32cの下流端の幅よりも広く構成されているので、往復振動により第1整流部32cから広がりながら吐出する湯水の流れに対しても、振動平面に直交する方向の乱れを第2整流部32dにより抑制することができる。この結果、振動平面に直交する方向の湯水の広がりを、より広範囲で抑制することができ、より心地良い刺激感を得ることができる。
次に、図11を参照して、本発明の第2実施形態における振動発生素子の変形例を説明する。
図11は、本変形例による振動発生素子の平面断面図である。
本変形例による振動発生素子38は、第2整流部39の構成のみが上述した第2実施形態とは異なっている。
上述した第2実施形態においては、第2整流部32dは2つの平面部33(図9)から構成されており、第2整流部32dには側壁面が設けられていない。これに対して、本変形例においては、第2整流部39は幅広の長方形断面の通路から構成され、側壁面39aが設けられている。即ち、図11に示すように、第2整流部39は、第1整流部32cの下流側に設けられた長方形断面の通路であり、その高さは第1整流部32cの高さと同一で、幅が第1整流部32cの幅よりも広くなっている。即ち、湯水の流路は、第1整流部32cから第2整流部39にかけて、振動平面内において広がり角θ=180゜で階段状に急激に広くなった後、幅一定(広がり角=0゜)となっている。このように、本変形例においては、第2整流部39に側壁面39aが設けられているものの、その幅が第1整流部32cの幅よりも十分に広いため、第1整流部32cから往復振動しながら吐出される湯水と側壁面39aが干渉せず、吐出される湯水が側壁面39aに直接当たることはない。
従って、本変形例においても、第2整流部39は、振動平面に直交する方向の乱れのみを抑制し、振動平面内での湯水の往復振動には殆ど影響を与えない。なお、本変形例において、第2整流部39の幅(両側の側壁面39aの間の距離)は、第1整流部32cの幅の2倍に形成されている。このため、本変形例による振動発生素子38は、第2実施形態における振動発生素子と実質的に同一の作用、効果を奏するものである。
なお、本変形例において、第2整流部39の基端を形成する基端壁面39bは、振動発生素子38の中心軸線Aと直交する方向に向けられている。即ち、第1整流部32cの通路を構成する内壁面と、第2整流部39の基端壁面39bは90゜に折れ曲がっている。換言すれば、第1整流部32cの側壁面は第2整流部39へかけて、270゜の折れ角βで広がっているが、この折れ角βは、吐出される湯水と基端壁面39bが干渉したり、コアンダ効果を発生させることがない限り任意に変更することができる。例えば、折れ角βを270゜よりも小さく形成することにより、振動発生素子38の第1整流部32cを構成する部分の肉厚を厚くすることができ、強度を増すことができる。また、第2整流部39の側壁面39aも、吐出される湯水と干渉しない限り任意の角度に向けることができる。
同様に、第1、第2実施形態における折れ角βも変更することができる。
さらに、図11に示した変形例では、第2整流部39自体が側壁面39aを備えていたが、振動発生素子を取り付けるシャワーヘッド本体2の構成によっても実質的に側壁面を備えた構成となる。
図12は、本発明の第2実施形態における振動発生素子30を、シャワーヘッドの内部に取り付けた状態を示す断面図である。
図2を参照して説明したように、振動発生素子は、振動発生素子保持部材8に設けられた素子挿入孔8aに挿入されることにより、シャワーヘッド本体2内に固定され、その先端部がシャワーヘッド本体2に設けられた開口から露出している。即ち、図12に拡大して示すように、振動発生素子保持部材8の素子挿入孔8aに挿入された振動発生素子30の平面部33は、シャワーヘッド本体2に形成された吐出開口部2aに挿入される。これにより、シャワーヘッド本体2の吐出開口部2aの縁は、第2整流部32dを構成する2つの平面部33の側方に位置し、実質的に第2整流部32dの側壁面として機能する。また、図12に示すように、振動発生素子30を、その先端部がシャワーヘッド本体2の吐出開口部2aの縁に接するように取り付けることにより、往復振動する湯水を吐出する際の振動発生素子30自体の振動を抑制し、異音等の発生を抑制することができる。
このように、第2実施形態における振動発生素子30の第2整流部32dがシャワーヘッド本体2の吐出開口部2aに挿入された場合でも、第2整流部32dを構成する平面部33の幅は十分に広いため、往復振動しながら吐出される湯水が、吐出開口部2aの縁と干渉することはない。
一方、第1実施形態における振動発生素子4は、第2整流部10dの幅が第1整流部10cの幅と同一であるため、第2整流部10dの側面が吐出開口部2aの縁と接するように振動発生素子4を配置すると、第1整流部10cから吐出した湯水が吐出開口部2aの縁と干渉しやすい。このため、好ましくは、吐出開口部2aの幅を第2整流部10dの幅よりも十分に広く構成するか、或いは、第2整流部10dがシャワーヘッド本体2の外表面から突出するように振動発生素子4を配置する。
次に、図13乃至図18を参照して、本発明の第3実施形態によるシャワーヘッドを説明する。
本実施形態のシャワーヘッドは、内蔵されている振動発生素子の構成のみが、上述した第1実施形態とは異なっている。従って、ここでは、本実施形態の第1実施形態とは異なる点のみを説明し、同様の構成、作用、効果については説明を省略する。
図13は、本発明の第3実施形態における振動発生素子の斜視図である。また、図14Aは、本実施形態における振動発生素子の平面断面図であり、図14Bは、振動発生素子の垂直断面図である。
図13及び図14に示すように、本実施形態における振動発生素子40は、渦列通路の構成が第1実施形態と異なっている。即ち、本実施形態においては、渦列通路全体が断面積一定の通路で構成されている。
図13に示すように、振動発生素子40は概ね薄い直方体状の部材であり、その正面側の先端には長方形の吐水口40aが設けられ、背面側の端部には鍔部40bが形成されている。さらに、振動発生素子40の周囲を一周するように、鍔部40bと平行に溝40cが設けられている。
図14Aに示すように、第1実施形態と同様に、振動発生素子40の内部には、長手方向に貫通するように長方形断面の通路が形成されている。この通路は、上流側から順に、給水通路42a、渦列通路42b、第1整流部42c、第2整流部42dとして形成されている。
給水通路42aは、振動発生素子40背面側の流入口40dから延びる断面積一定の長方形断面の直線状の通路である。
渦列通路42bは、給水通路42aの下流側に、給水通路42aに連なるように設けられた断面積一定で直線状に形成された長方形断面の通路である。即ち、給水通路42aと、渦列通路42bは、同一の断面形状を有している。従って、渦列通路42bの対向する一対の壁面(両側面)は、その全体が平行に形成されている。
第1整流部42cは、渦列通路42bと連通するように下流側に設けられた長方形断面の通路であり、断面積一定で直線状に形成されている。この第1整流部42cにより、渦列通路42bによって導かれた渦列を含む湯水が整流され、第2整流部42dに流出する。この第1整流部42cの流路断面積は、渦列通路42bの流路断面積よりも小さく構成されており、渦列通路42bと第1整流部42cの間には剥離部である段部46が形成されている。この段部46の表面である段部壁面は、渦列通路42bの中心軸線Aに対して直交する方向に向けられている。従って、渦列通路42bの壁面と段部壁面の為す角度は90゜になる。
第2整流部42dは、第1整流部42cと連なるように、第1整流部42cの下流側に設けられている。また、第2整流部42dは、第1整流部42cの流路と同一の幅に形成された、互いに平行に配置された2つの平面部43から構成されている。即ち、第2整流部42dは振動発生素子40の先端面40eから突出するように設けられている。第1整流部42cの側壁面は第2整流部42dにかけて、270゜の折れ角βで先端面40eに連なり、湯水の流路は、広がり角=0゜の第1整流部42cから、振動平面内において広がり角θ=180゜で広がる第2整流部42dに接続される。これら第1整流部42c及び第2整流部42dの構成は、上述した第1実施形態と同様であるため、説明を省略する。
次に、給水通路42aの下流側端部(給水通路42aと渦列通路42bの接続部近傍)には、給水通路42aの流路断面の一部を閉塞するように、湯水衝突部44が設けられている。この湯水衝突部44の構成は、第1実施形態と同様であるので、説明を省略する。
また、渦列通路42bの下流側の第1整流部42cに流入した湯水は、ここで振動平面(図14Aの紙面に平行な面)に平行な方向の乱れ、及び振動平面に直交する方向の乱れが抑制され、整流される。この第1整流部42cを通過した湯水は、第2整流部42dにおいて、振動平面に直交する方向の乱れのみが抑制され、整流される。
次に、図15乃至図18を新たに参照して、本発明の第3実施形態によるシャワーヘッドの作用を説明する。
図15は、本発明の第3実施形態によるシャワーヘッドに備えられている振動発生素子40における湯水の流れを解析した流体シミュレーションの結果を示す図である。図16は、本発明の実施形態によるシャワーヘッドに備えられている単一の振動発生素子40から吐出された湯水の流れを示すストロボ写真の一例である。
本実施形態における振動発生素子40の渦列通路42b内における湯水の流れを流体シミュレーションにより解析した結果が図15の(a)欄〜(c)欄である。この流体シミュレーションに示されているように、湯水衝突部44の下流側には渦が発生し、その部分で流速が高くなっている。この流速の高い部分(図15において色の濃い部分)は湯水衝突部44の両側に交互に表れ、吐水口4aに向かって進行する。渦列通路42bの下流端に到達した渦を含む湯水は、段部46に当たって大きく偏向され、第1整流部42cに流入する。第1整流部42cに流入した湯水は、ここで振動平面(図15の紙面に平行な面)に平行な方向の乱れ、及び振動平面に直交する方向の乱れが抑制され、整流される。この第1整流部42cを通過した湯水は、第2整流部42dにおいて、振動平面に直交する方向の乱れのみが抑制され、整流される。
第2整流部42dを経て吐水口40aから吐出される湯水は、吐水口40aにおける流速分布に基づいて強く曲げられ、流速の高い部分が図15における上下方向に移動するに従って、吐出方向が変化する。これにより、噴射される湯水も振動平面(図15の紙面に平行な面)内で往復振動する。この際、第2整流部42dは、振動平面と平行に配置された2つの平面部43のみから構成されている(図13に示すように側壁面が設けられていない)ため、振動平面に直交する方向の乱れのみを抑制し、振動平面内での湯水の往復振動には殆ど影響を与えない。
また、渦列通路42bと第1整流部42cの間には段部46が設けられているため、渦列通路42bのテーパした壁面(テーパ部分壁面)に沿う流れは、ここで剥離されて第1整流部42cに流入する。この段部46により流れが壁面から剥離され、強く偏向されることにより、第1整流部42cの側壁面においてはコアンダ効果は実質的に発生しない。また、第1整流部42cの下流側の第2整流部42dには側壁面が設けられていないため、第2整流部42dにおいてはコアンダ効果は発生しない。従って、段部46は、渦列通路42bの壁面に沿った流れを剥離させる剥離部として作用する。さらに、段部46の表面である段部壁面は、剥離部壁面として機能する。
次に、図16に示す、本実施形態における振動発生素子40から吐出された湯水の流れを示すストロボ写真では、吐水方向の往復移動により、概ね正弦波状に振動する流れが得られている。このように、本実施形態における振動発生素子40によれば、吐水口40aから吐出される湯水の流速を高くすると、湯水は大きな速度で段部46に衝突して大きく方向転換することができるので、湯水の流れを強く偏向することができ、第1実施形態における振動発生素子4よりも広い範囲に吐出されるシャワー吐水を得ることができる。
次に、図17及び図18を参照して、振動発生素子40に設けられている第2整流部42dの効果を説明する。
図17は、本実施形態のシャワーヘッド1に備えられている振動発生素子4から吐出される湯水の状態を示す写真である。図18は、比較例として、第2整流部42dを備えていない振動発生素子から吐出される湯水の状態を示す写真である。図17における振動発生素子と図18における振動発生素子は、第2整流部42dの有無を除き、同一の構成を有する。また、図17及び図18において、左側の2枚の写真は流速4m/secで振動発生素子から吐出する湯水の状態を示し、右側の2枚の写真は流速8m/secで振動発生素子から吐出する湯水の状態を示している。さらに、図17及び図18において、上段の写真は振動発生素子から吐出する湯水を振動平面に直交する方向から撮影したものであり、下段の写真は湯水を振動平面に平行な方向から撮影したものである。
まず、図17に示すように、流速4m/secで振動発生素子から吐出する湯水は、振動平面内において広い角度範囲で振動される(図17の左上)と共に、振動平面に直交する方向にはあまり広がることなく(図17の左下)一直線に吐出されている。一方、振動発生素子から吐出する湯水の流速を非常に高くし、8m/secとした場合には、振動平面内における振動に乱れは生じるものの、より広い角度範囲で振動し(図17の右上)、振動平面に直交する方向の湯水の広がりも或る程度抑制されている(図17の右下)。
次に、図18に示すように、比較例として、第2整流部42dを備えていない振動発生素子から吐出される湯水は、流速4m/secの場合でも乱れが大きく、振動平面に直交する方向にも広がっている(図18の左上及び左下)。さらに、流速が8m/secにされた場合には、振動発生素子から吐出された湯水は、吐出直後に細かな液滴に分解され、振動平面に直交する方向にも大きく流れが広がってしまっていることがわかる(図18の右上及び右下)。このように、吐出された湯水の流れが細かな液滴に分解されてしまうと、流速を8m/secに高めたとしても、湯水を浴びた使用者には心地良い刺激感を与えることができない。本実施形態の振動発生素子(図17)では、第2整流部42dを備えているため、吐出される湯水の流速を非常に高くした場合でも、湯水の流れが振動平面に直交する方向に広がるのが抑制され(図17の右下)、使用者に心地良い刺激感を与えることができる。
次に、図19及び図20を参照して、本発明の第4実施形態によるシャワーヘッドを説明する。
本実施形態のシャワーヘッドは、内蔵されている振動発生素子の構成のみが、上述した第3実施形態とは異なっている。従って、ここでは、本実施形態の第3実施形態とは異なる点のみを説明し、同様の構成、作用、効果については説明を省略する。
図19は、本発明の第4実施形態における振動発生素子の斜視図である。また、図20Aは、本実施形態における振動発生素子の平面断面図であり、図20Bは、振動発生素子の垂直断面図である。
図19及び図20に示すように、本実施形態における振動発生素子50は、第2整流部の構成が第3実施形態と異なっている。
図19に示すように、振動発生素子50は概ね薄い直方体状の部材であり、その正面側の先端には長方形の吐水口50aが設けられ、背面側の端部には鍔部50bが形成されている。さらに、振動発生素子50の周囲を一周するように、鍔部50bと平行に溝50cが設けられている。
図20Aに示すように、第3実施形態と同様に、振動発生素子50の内部には、長手方向に貫通するように長方形断面の通路が形成されている。この通路は、上流側から順に、給水通路52a、渦列通路52b、第1整流部52c、第2整流部52dとして形成されている。
これらのうち、給水通路52a、渦列通路52b、及び第1整流部52cの構成は、上述した第3実施形態と同様であるため説明を省略する。また、渦列通路52bと第1整流部52cの間には剥離部である段部56が形成されている。この段部56の構成も上述した第3実施形態と同様であるため説明を省略する。
第2整流部52dは、第1整流部52cと連なるように、第1整流部52cの下流側に設けられている。また、第2整流部52dは、第1整流部52cの流路よりも幅の広い、互いに平行に配置された2つの平面部53から構成されている。即ち、第2整流部52dは振動発生素子50の先端面50eから突出するように設けられている。第1整流部52cの側壁面は第2整流部52dにかけて、270゜の折れ角βで先端面50eに連なり、湯水の流路は、広がり角=0゜の第1整流部52cから、振動平面内において広がり角θ=180゜で広がる第2整流部52dに接続される。これら第1整流部52c及び第2整流部52dの構成は、上述した第2実施形態と同様であるため、説明を省略する。
なお、本実施形態においては、第2整流部52dの長さ(振動発生素子50の中心軸線A方向の長さ)は、第1整流部52cの通路の長さ(振動発生素子50の中心軸線A方向の長さ)の約1.5倍に形成されている。好ましくは、第2整流部52dの長さを、第1整流部52cの通路の長さの約0.25倍乃至約10倍に形成する。また、本実施形態においては、第2整流部52dの幅は、第1整流部52cの通路の幅の約2倍に形成されている。好ましくは、第2整流部52dの幅を、第1整流部52cの通路の幅の約1倍乃至約3倍に形成する。
また、給水通路52aの下流側端部(給水通路52aと渦列通路52bの接続部近傍)には、給水通路52aの流路断面の一部を閉塞するように、湯水衝突部54が設けられている。この湯水衝突部54の構成は、第1実施形態と同様であるので、説明を省略する。
振動発生素子50において、渦列通路52bの下流側の第1整流部52cに流入した湯水は、ここで振動平面(図20Aの紙面に平行な面)に平行な方向の乱れ、及び振動平面に直交する方向の乱れが抑制され、整流される。この第2整流部52cを通過した湯水は、第2整流部52dにおいて、振動平面に直交する方向の乱れのみが抑制され、整流される。また、第2整流部52dの幅(平面部53の幅)は、第1整流部52cの流路断面の幅よりも広く形成されている。このため、第1整流部52cから往復振動しながら吐出され、幅方向において第1整流部52cよりも外側に向けて吐出される湯水も2つの平面部53の間を通るので、このような湯水に対しても第2整流部52dは振動平面に直交する方向の乱れを抑制することができる。これにより、吐出される湯水の振動平面に直交する方向の広がりを、より効果的に抑制することができる。
また、本実施形態における振動発生素子50についても、図11及び図12に示した変形例と同様の変更を行うことができる。即ち、本実施形態における振動発生素子50に対しても、第2整流部52dに側壁面(図示せず)を設けたり、平面部53がシャワーヘッド本体2の吐出開口部2aの縁に接するように振動発生素子50を配置することができる。即ち、第2整流部52dの幅は十分に広いため、第1整流部52cから往復振動しながら吐出される湯水と側壁面(図示せず)が干渉せず、吐出される湯水が側壁面に直接当たることはない。
次に、図21及び図22を参照して、本発明の第5実施形態によるシャワーヘッドを説明する。
本実施形態のシャワーヘッドは、内蔵されている振動発生素子の構成のみが、上述した第1実施形態とは異なっている。従って、ここでは、本実施形態の第1実施形態とは異なる点のみを説明し、同様の構成、作用、効果については説明を省略する。
図21は、本発明の第5実施形態における振動発生素子の斜視図である。また、図22Aは、本実施形態における振動発生素子の平面断面図であり、図22Bは、振動発生素子の垂直断面図である。
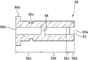
図21及び図22に示すように、本実施形態における振動発生素子60は、第1整流部及び第2整流部の構成が第1実施形態と異なっている。
図21に示すように、振動発生素子60は概ね薄い直方体状の部材であり、その正面側の先端には長方形の吐水口60aが設けられ、背面側の端部には鍔部60bが形成されている。さらに、振動発生素子60の周囲を一周するように、鍔部60bと平行に溝60cが設けられている。
図22Aに示すように、第1実施形態と同様に、振動発生素子60の内部には、長手方向に貫通するように長方形断面の通路が形成されている。この通路は、上流側から順に、給水通路62a、渦列通路62b、第1整流部62c、第2整流部62dとして形成されている。
これらのうち、給水通路62a、及び渦列通路62bの構成は、上述した第1実施形態と同様であるため説明を省略する。また、渦列通路62bと第1整流部62cの間には剥離部である段部66が形成されている。この段部66の構成も上述した第3実施形態と同様であるため説明を省略する。
第1整流部62cは、渦列通路62bと連なるように、渦列通路62bの下流側に設けられた長方形断面の通路である。また、第1整流部62cの対向する一対の壁面(両側壁面)は、下流側に向けて流路断面積が拡大するようにテーパして構成されている。即ち、第1整流部62cの幅は、下流側に向けて広くなるように構成されている。このように、渦列通路62bの側壁面に沿う流れを剥離させる段部66の下流側に、流路断面積が拡大するようにテーパした第1整流部62cが設けられているため、第1整流部62c内を流れる湯水は、その側壁面から剥離しやすい。しかしながら、このように形成された第1整流部62cによっても、振動平面内における湯水の流れの広がりを、第1整流部62cの広がり以下に抑制する作用がある。従って、本実施形態における第1整流部62cも、渦列通路62bを通過した湯水の流れの、振動平面に平行な方向の乱れ、及び振動平面に直交する方向の乱れを抑制する第1整流部として機能する。また、第1整流部62cのテーパ角度は比較的小さいため、第1整流部62cを構成する部材の肉厚が極端に薄くなることはない。
第2整流部62dは、第1整流部62cと連なるように、第1整流部62cの下流側に設けられている。また、第2整流部62dは、第1整流部62cの流路の下流端よりも幅の広い、互いに平行に配置された2つの平面部63から構成されている。即ち、第2整流部62dは振動発生素子60の先端面60eから突出するように設けられている。第1整流部62cの側壁面は第2整流部62dにかけて、約250゜の折れ角βで先端面60eに連なり、湯水の流路は、広がり角=40゜の第1整流部62cから、振動平面内において広がり角θ=180゜で広がる第2整流部62dに接続される。この第2整流部62dの構成は、上述した第1実施形態と同様であるため、説明を省略する。
なお、本実施形態においては、第2整流部62dの長さ(振動発生素子60の中心軸線A方向の長さ)は、第1整流部62cの通路の長さ(振動発生素子60の中心軸線A方向の長さ)の約1.5倍に形成されている。好ましくは、第2整流部62dの長さを、第1整流部62cの通路の長さの約0.25倍乃至約10倍に形成する。また、本実施形態においては、第2整流部62dの幅は、第1整流部62cの上流端における通路の幅の約2倍に形成されている。好ましくは、第2整流部62dの幅を、第1整流部62cの通路の幅の約1倍乃至約3倍に形成する。
また、給水通路62aの下流側端部(給水通路62aと渦列通路62bの接続部近傍)には、給水通路62aの流路断面の一部を閉塞するように、湯水衝突部64が設けられている。この湯水衝突部64の構成は、第1実施形態と同様であるので、説明を省略する。
振動発生素子60において、渦列通路62bの下流側の第1整流部62cに流入した湯水は、ここで振動平面(図22Aの紙面に平行な面)に平行な方向の乱れ、及び振動平面に直交する方向の乱れが抑制され、整流される。この第2整流部62cを通過した湯水は、第2整流部62dにおいて、振動平面に直交する方向の乱れのみが抑制され、整流される。また、第2整流部62dの幅(平面部63の幅)は、第1整流部62cの下流端における流路断面の幅よりも広く形成されている。このため、第1整流部62cから往復振動しながら吐出され、幅方向において第1整流部62cよりも外側に向けて吐出される湯水も2つの平面部63の間を通るので、このような湯水に対しても第2整流部62dは振動平面に直交する方向の乱れを抑制することができる。これにより、吐出される湯水の振動平面に直交する方向の広がりを、より効果的に抑制することができる。
また、本実施形態における振動発生素子60についても、図11及び図12に示した変形例と同様の変更を行うことができる。即ち、本実施形態における振動発生素子60に対しても、第2整流部62dに側壁面(図示せず)を設けたり、平面部63がシャワーヘッド本体2の吐出開口部2aの縁に接するように振動発生素子60を配置することができる。即ち、第2整流部62dの幅は十分に広いため、第1整流部62cから往復振動しながら吐出される湯水と側壁面(図示せず)が干渉せず、吐出される湯水が側壁面に直接当たることはない。
以上、本発明の好ましい実施形態を説明したが、上述した実施形態に種々の変更を加えることができる。特に、上述した実施形態においては、本発明をシャワーヘッドに適用していたが、台所のシンクや洗面台等で使用する水栓装置や、便座等に備えられる温水洗浄装置等、任意の吐水装置に本発明を適用することができる。また、上述した実施形態においては、シャワーヘッドに複数の振動発生素子が備えられていたが、吐水装置には適用に応じて任意の個数の振動発生素子を備えることができ、単一の振動発生素子を備えた吐水装置を構成することもできる。
なお、上述した本発明の実施形態において、振動発生素子内の通路について、便宜的に「幅」、「高さ」等の用語を用いて形状を説明したが、これらの用語は振動発生素子を設ける方向を規定するものではなく、振動発生素子は任意の方向に向けて使用することができる。例えば、上述した実施形態における「高さ」の方向を水平方向に向けて振動発生素子を使用することもできる。
1 本発明の第1実施形態の吐水装置であるシャワーヘッド
2 シャワーヘッド本体
4 振動発生素子
4a 吐水口
4b 鍔部
4c 溝
4d 流入口
4e 先端面
6 通水路形成部材
6a シャワーホース接続部材
6b パッキン
8 振動発生素子保持部材
8a 素子挿入孔
10a 給水通路
10b 渦列通路
10c 第1整流部
10d 第2整流部
12 段部(剥離部)
13 平面部
14 湯水衝突部
30 振動発生素子
30a 吐水口
30b 鍔部
30c 溝
30d 流入口
30e 先端面
32a 給水通路
32b 渦列通路
32c 第1整流部
32d 第2整流部
32e テーパ部分
33 平面部
34 湯水衝突部
36 段部(剥離部)
38 振動発生素子
39 第2整流部
39a 側壁面
39b 基端壁面
40 振動発生素子
40a 吐水口
40b 鍔部
40c 溝
40d 流入口
40e 先端面
42a 給水通路
42b 渦列通路
42c 第1整流部
42d 第2整流部
43 平面部
44 湯水衝突部
46 段部(剥離部)
50 振動発生素子
50a 吐水口
50b 鍔部
50c 溝
50d 流入口
50e 先端面
52a 給水通路
52b 渦列通路
52c 第1整流部
52d 第2整流部
53 平面部
54 湯水衝突部
56 段部(剥離部)
60 振動発生素子
60a 吐水口
60b 鍔部
60c 溝
60d 流入口
60e 先端面
62a 給水通路
62b 渦列通路
62c 第1整流部
62d 第2整流部
63 平面部
64 湯水衝突部
66 段部(剥離部)
102 噴射ノズル
102a 噴射口
104 フィードバック流路
110 前室
110a 壁面
110b 壁面
112 出口
114 入口孔
116 障害物

Claims (6)

  1. 吐水口から湯水を往復振動させながら吐出させる吐水装置であって、
    吐水装置本体と、
    この吐水装置本体に設けられ、供給された湯水を所定の振動平面内で往復振動させながら吐出する振動発生素子と、を有し、
    上記振動発生素子は、
    上記吐水装置本体から供給された湯水が流入する給水通路と、
    この給水通路の流路断面の一部を閉塞するように、上記給水通路の下流側端部に配置され、上記給水通路によって導かれた湯水が衝突することで、その下流側に交互に反対回りの渦を発生させる湯水衝突部と、
    上記給水通路の下流側に設けられ、上記湯水衝突部により形成された渦をく渦列通路と、
    この渦列通路の下流側に設けられ、上記振動平面と夫々平行に配置された2つの壁面、及び上記振動平面に対して直角に向けられた2つの側壁面によって囲まれ、上記渦列通路の上流端よりも幅の狭い通路である第1整流部と、
    この第1整流部の下流側に設けられ第2整流部と、
    を有し、
    上記第2整流部は、上記振動平面と夫々平行に配置された2つの平面部のみから構成されていることを特徴とする吐水装置。
  2. 上記第2整流部を構成する上記2つの平面部の幅は、上記第1整流部の下流端における幅よりも広く構成されている請求項1記載の吐水装置。
  3. 吐水口から湯水を往復振動させながら吐出させる吐水装置であって、
    吐水装置本体と、
    この吐水装置本体に設けられ、供給された湯水を所定の振動平面内で往復振動させながら吐出する振動発生素子と、を有し、
    上記振動発生素子は、
    上記吐水装置本体から供給された湯水が流入する給水通路と、
    この給水通路の流路断面の一部を閉塞するように、上記給水通路の下流側端部に配置され、上記給水通路によって導かれた湯水が衝突することで、その下流側に交互に反対回りの渦を発生させる湯水衝突部と、
    上記給水通路の下流側に設けられ、上記湯水衝突部により形成された渦を導く渦列通路と、
    この渦列通路の下流側に設けられ、上記振動平面と夫々平行に配置された2つの壁面、及び上記振動平面に対して直角に向けられた2つの側壁面によって囲まれ、上記渦列通路の上流端よりも幅の狭い通路である第1整流部と、
    この第1整流部の下流側に設けられた第2整流部と、
    を有し、
    上記第2整流部は、上記振動平面と夫々平行に配置された2つの壁面、及び上記振動平面に対して直角に向けられた2つの側壁面によって囲まれ、上記第1の整流部よりも幅が広い通路であることを特徴とする吐水装置。
  4. 上記第2整流部の2つの側壁面は、上記第1整流部から吐出された湯水が干渉しない位置に設けられている請求項3記載の吐水装置。
  5. 上記渦列通路は、その幅が一定に構成され、上記第1整流部は、その幅が、上記渦列通路の幅よりも狭く形成されている請求項1乃至4の何れか1項に記載の吐水装置。
  6. 上記吐水装置本体は、上記振動発生素子の上記第2整流部を挿入するための吐出開口部を備え、上記振動発生素子は、上記第2整流部が上記吐出開口部の縁と接するように、上記吐水装置本体に取り付けられる請求項1乃至5の何れか1項に記載の吐水装置。
JP2017065553A 2017-03-29 2017-03-29 吐水装置 Active JP6847397B2 (ja)

Priority Applications (1)

Application Number Priority Date Filing Date Title
JP2017065553A JP6847397B2 (ja) 2017-03-29 2017-03-29 吐水装置

Applications Claiming Priority (1)

Application Number Priority Date Filing Date Title
JP2017065553A JP6847397B2 (ja) 2017-03-29 2017-03-29 吐水装置

Publications (2)

Publication Number Publication Date
JP2018167164A JP2018167164A (ja) 2018-11-01
JP6847397B2 true JP6847397B2 (ja) 2021-03-24

Family

ID=64019786

Family Applications (1)

Application Number Title Priority Date Filing Date
JP2017065553A Active JP6847397B2 (ja) 2017-03-29 2017-03-29 吐水装置

Country Status (1)

Country Link
JP (1) JP6847397B2 (ja)

Families Citing this family (10)

* Cited by examiner, † Cited by third party
Publication number Priority date Publication date Assignee Title
JP7296224B2 (ja) * 2019-03-15 2023-06-22 株式会社Lixil 吐出装置及び吐出システム
US11739517B2 (en) 2019-05-17 2023-08-29 Kohler Co. Fluidics devices for plumbing fixtures
US12595649B2 (en) 2019-05-17 2026-04-07 Kohler Co. Fluidics devices for plumbing fixtures
JP2021016747A (ja) * 2019-07-24 2021-02-15 株式会社Lixil 吐出装置及び浴室設備
JP7356633B2 (ja) * 2019-08-30 2023-10-05 Toto株式会社 吐水装置
JP7519242B2 (ja) * 2020-09-08 2024-07-19 株式会社Lixil 吐出装置
JP7668095B2 (ja) * 2020-09-09 2025-04-24 株式会社Lixil 吐出装置
JP7523010B2 (ja) * 2021-02-24 2024-07-26 Toto株式会社 吐水装置
JP7822545B2 (ja) * 2022-02-28 2026-03-03 Toto株式会社 吐水装置
CN117545408B (zh) * 2021-12-10 2026-01-06 Toto株式会社 吐水装置

Family Cites Families (4)

* Cited by examiner, † Cited by third party
Publication number Priority date Publication date Assignee Title
US5035361A (en) * 1977-10-25 1991-07-30 Bowles Fluidics Corporation Fluid dispersal device and method
WO1979000361A1 (en) * 1977-12-09 1979-06-28 P Bauer Improved fluidic oscillator and spray-forming output chamber
JP2000027266A (ja) * 1998-07-08 2000-01-25 Toto Ltd 人体洗浄ノズル
JP6048656B2 (ja) * 2012-12-11 2016-12-21 パナソニックIpマネジメント株式会社 シャワーヘッド

Also Published As

Publication number Publication date
JP2018167164A (ja) 2018-11-01

Similar Documents

Publication Publication Date Title
JP6847397B2 (ja) 吐水装置
JP6905205B2 (ja) 吐水装置
TWI617274B (zh) 吐水裝置
JP6827647B2 (ja) 吐水装置
JP6674621B2 (ja) 吐水装置
CN111032972A (zh) 液体射流成形器和喷雾成形器
JP6681015B2 (ja) 吐水装置
JP6688455B2 (ja) シャワーヘッド
JP2017109152A (ja) 吐水装置
JP6236751B1 (ja) 吐水装置
WO2018037210A1 (en) Shower head producing a suspension of water droplets in air
JP6674632B2 (ja) 吐水装置
WO2023106370A1 (ja) 吐水装置
JP6699072B2 (ja) 吐水装置
CN109972700B (zh) 吐水装置
JPH0631994Y2 (ja) シャワーノズル
JP2023086504A (ja) 吐水装置
JP2025068659A (ja) シャワー装置
WO2017057327A1 (ja) 吐水装置
JP2024095517A (ja) シャワー装置
JP2025033117A (ja) 吐水装置
JP2024095518A (ja) シャワー装置

Legal Events

Date Code Title Description
A621 Written request for application examination

Free format text: JAPANESE INTERMEDIATE CODE: A621

Effective date: 20200120

A977 Report on retrieval

Free format text: JAPANESE INTERMEDIATE CODE: A971007

Effective date: 20201106

A131 Notification of reasons for refusal

Free format text: JAPANESE INTERMEDIATE CODE: A131

Effective date: 20201112

A521 Request for written amendment filed

Free format text: JAPANESE INTERMEDIATE CODE: A523

Effective date: 20210108

TRDD Decision of grant or rejection written
A01 Written decision to grant a patent or to grant a registration (utility model)

Free format text: JAPANESE INTERMEDIATE CODE: A01

Effective date: 20210201

A61 First payment of annual fees (during grant procedure)

Free format text: JAPANESE INTERMEDIATE CODE: A61

Effective date: 20210214

R150 Certificate of patent or registration of utility model

Ref document number: 6847397

Country of ref document: JP

Free format text: JAPANESE INTERMEDIATE CODE: R150