JP6830686B1 - ヒートシンク - Google Patents

ヒートシンク Download PDF

Info

Publication number
JP6830686B1
JP6830686B1 JP2019171147A JP2019171147A JP6830686B1 JP 6830686 B1 JP6830686 B1 JP 6830686B1 JP 2019171147 A JP2019171147 A JP 2019171147A JP 2019171147 A JP2019171147 A JP 2019171147A JP 6830686 B1 JP6830686 B1 JP 6830686B1
Authority
JP
Japan
Prior art keywords
heat sink
plates
fins
unit
accommodating portion
Prior art date
Legal status (The legal status is an assumption and is not a legal conclusion. Google has not performed a legal analysis and makes no representation as to the accuracy of the status listed.)
Active
Application number
JP2019171147A
Other languages
English (en)
Other versions
JP2021048342A (ja
Inventor
脩 渡
脩 渡
健太 藤野
健太 藤野
Original Assignee
株式会社セルシステム
Priority date (The priority date is an assumption and is not a legal conclusion. Google has not performed a legal analysis and makes no representation as to the accuracy of the date listed.)
Filing date
Publication date
Application filed by 株式会社セルシステム filed Critical 株式会社セルシステム
Priority to JP2019171147A priority Critical patent/JP6830686B1/ja
Application granted granted Critical
Publication of JP6830686B1 publication Critical patent/JP6830686B1/ja
Publication of JP2021048342A publication Critical patent/JP2021048342A/ja
Active legal-status Critical Current
Anticipated expiration legal-status Critical

Links

Images

Landscapes

  • Cooling Or The Like Of Semiconductors Or Solid State Devices (AREA)

Abstract

【課題】柔軟な配置が可能な小型のヒートシンクを提供する。【解決手段】ヒートシンク100は、2枚のプレート11及び12、複数のフィン13、ファンユニットFUを有する。2枚のプレート11及び12は、主面が対向するように平行に配置される。複数のフィン13は、2枚のプレート11及び12の間で、X方向に配列され、かつ、Y方向に延在している。収容部10は、複数のフィン13の一部に設けられた切り欠き部により構成される。ファンユニットFUは、収容部10に収容され、かつ、Y方向に送風を行う。【選択図】図3

Description

本発明は、ヒートシンクに関する。
各種装置においては、電源を供給する電源ユニットなどの熱を発生するユニットが搭載されており、これらの熱を放熱するため、ヒートシンクが広く用いられる。
例えば、風量に応じてフィンの配列の粗密を工夫することで、冷却効率を向上させることができるヒートシンクが提案されている(特許文献1)。本構成では、熱源に接して冷却用のヒートシンクが配置されている。ファンがヒートシンクと対向する位置に配置され、ヒートシンクへの送風を行う。このヒートシンクでは、ファンの回転軸と対向する位置のフィンに対し、周辺部のフィンが密に配置されている。これにより、フィンの粗密を好適に設計することで冷却効率が向上する。
特開2017−69499号公報
特許文献1では、一般的なヒートシンクと同様に、ヒートシンクの外部に送風用のファンユニットが設けられている。この場合、装置の筐体の外面にファンユニットを配置しなければならず、ヒートシンク及びヒートシンクにより放熱される発熱ユニットは、その配置に制約を受けることがある。そのため、装置の設計の自由度が制限される事態が生じる。
また、ヒートシンクとファンユニットとを別々に設ける必要があるため、ヒートシンク及びファンユニットからなる冷却部の小型化には限界がある。
本発明は、上記の事情に鑑みて成されたものであり、本発明の目的は、柔軟な配置が可能な小型のヒートシンクを提供することである。
本発明の第1の態様であるヒートシンクは、主面が対向するように平行に配置された2枚のプレートと、前記2枚のプレートの間で、前記2枚のプレートの主面に対して平行な方向である第1の方向に配列された、前記第1の方向に直交し、かつ、前記2枚のプレートの主面に対して平行な第2の方向に延在する、複数のフィンと、前記複数のフィンの一部に設けられた切り欠き部からなる収容部と、前記第2の方向に送風する、前記収容部に収容されたファンユニットと、を有するものである。これにより、ファンユニットを内蔵した小型のヒートシンクを実現できる。
本発明の第2の態様であるヒートシンクは、上記のヒートシンクであって、前記収容部には、前記第1の方向に配列された複数の前記ファンユニットが収容されることが望ましい。これにより、複数のファンユニットを内蔵した小型のヒートシンクを実現できる。
本発明の第3の態様であるヒートシンクは、上記のヒートシンクであって、前記2枚のプレート、前記複数のフィン及び前記収容部からなるヒートシンクブロックは、前記第1及び第2の方向に直交する第3の方向に離隔された、前記第2の方向に延在する第1及び第2のビームと、前記第1のビームと前記第2のビームとの間に設けられた、前記複数のフィンのうちの1つのフィンと、を備えるユニットプレートを、前記第1の方向に複数個連結することで構成され、連結された前記第1のビームが、前記2枚のプレートの一方を構成し、連結された前記第2のビームが、前記2枚のプレートの他方を構成することが望ましい。これにより、単純な構造のユニットプレートを組み合わせて、任意の寸法の任意の数のファンユニットを内蔵するヒートシンクを実現できる。
本発明の第4の態様であるヒートシンクは、上記のヒートシンクであって、連結された複数の前記ユニットプレートのうち、前記収容部に対応する位置のものの前記フィンには、前記切り欠き部が設けられることが望ましい。これにより、収容部を好適に構成することができる。
本発明の第5の態様であるヒートシンクは、上記のヒートシンクであって、前記2枚のプレートの一方又は両方には、前記収容部に対応する位置に開口部が設けられ、前記ファンユニットは、前記開口部を介して前記収容部に挿入可能であり、かつ、前記開口部を介して前記収容部から取り出し可能であることが望ましい。これにより、開口部を介して、容易に内蔵ファンユニットを着脱可能なヒートシンクを実現できる。
本発明の第6の態様であるヒートシンクは、上記のヒートシンクであって、前記収容部に前記ファンユニットを収容した状態で、前記開口部を覆うカバープレートをさらに備えることが望ましい。これにより、内蔵ファンユニットを固定し、開口部からの風の漏れを防止できる。
本発明の第7の態様であるヒートシンクは、上記のヒートシンクであって、前記2枚のプレート、前記複数のフィン及び前記収容部からなるヒートシンクブロックは、前記第1の方向に配列される第1のヒートシンクブロックと第2のヒートシンクブロックとに分割されて構成されることが望ましい。これにより、複数のヒートシンクブロックを組み合わせて、ファンユニットを内蔵した小型のヒートシンクを実現できる。
本発明の第8の態様であるヒートシンクは、上記のヒートシンクであって、前記収容部の一部は前記第1のヒートシンクブロックに形成され、前記収容部の他の一部は前記第2のヒートシンクブロックに形成され、前記第1のヒートシンクブロックと前記第2のヒートシンクブロックとを連結することで前記収容部が構成され、又は、前記収容部は前記第1及び第2のヒートシンクブロックの一方に形成されることが望ましい。これにより、収容部を好適に構成することができる。
本発明によれば、柔軟な配置が可能な小型のヒートシンクを提供することができる。
本発明の上述及び他の目的、特徴、及び長所は以下の詳細な説明及び付随する図面からより完全に理解されるだろう。付随する図面は図解のためだけに示されたものであり、本発明を制限するためのものではない。
実施の形態1にかかるヒートシンクの外観を模式的に示す図である。 図1のII−II線におけるヒートシンクのX−Y断面を示す図である。 実施の形態1にかかるヒートシンクにおけるファンユニットの収容方法を示す図である。 配線引き出し用の孔部の例を示す図である。 実施の形態2にかかるヒートシンクの構成を模式的に示す図である。 図5のVI−VI線におけるヒートシンクのX−Y断面を示す図である。 実施の形態2にかかるヒートシンクにおけるファンユニットの収容方法を示す図である。 実施の形態3にかかるヒートシンクの構成を模式的に示す図である。 実施の形態3にかかるヒートシンクにおけるファンユニットの収容方法を示す図である。 実施の形態4にかかるヒートシンクの構成を模式的に示す図である。 図10のXI−XI線におけるヒートシンクのX−Y断面を示す図である。 実施の形態4にかかるヒートシンクにおけるファンユニットの収容方法を示す図である。 実施の形態5にかかるヒートシンクの構成を模式的に示す図である。 ユニットプレートの構成を示す図である。 ユニットプレートの構成を示す図である。 ユニットプレートの部分拡大図である。 連結されたユニットプレートの連結部の拡大図である。
以下、図面を参照して本発明の実施の形態について説明する。各図面においては、同一要素には同一の符号が付されており、必要に応じて重複説明は省略される。
実施の形態1
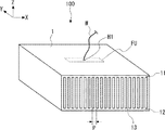
実施の形態1にかかるヒートシンクについて説明する。図1に、実施の形態1にかかるヒートシンク100の外観を模式的に示す。ヒートシンク100は、ヒートシンクブロック1及びファンユニットFUを有する。ヒートシンクブロック1は、2枚のプレート11及び12の間に配列された複数のフィン13を有するものとして構成される。以下では、説明の明確化のため、X軸、Y軸及びZ軸が互いに直交した3次元直交座標系において、ヒートシンクブロック1のそれぞれを構成するプレートの主面を、X−Y平面と平行な面として表している。また、ヒートシンクブロック1のフィン13のそれぞれの主面を、Y−Z平面に平行な面として表している。なお、以下では、X軸、Y軸及びZ軸のそれぞれに沿う方向(X方向、Y方向及びZ方向)を、第1〜第3の方向とも称する。
図2に、図1のII−II線におけるヒートシンク100のX−Y断面を示す。ヒートシンクブロック1では、Z方向に離隔して配置されたプレート11とプレート12との間に、複数のフィン13が、ピッチPの等間隔で、X方向に並んで配列されている。フィン13のうち、ファンユニットFUを収容する部分には切り欠き部が設けられる。これらの切り欠き部によって、ファンユニットFUを収容できる寸法を有する空間である収容部10が構成される。以下では、ファンユニットFUのX方向の寸法をLx、Y方向の寸法をLy、Z方向の寸法をLzとし、収容部10はこの寸法のファンユニットFUを収容可能な容積を有するものとして構成される。
図3に、実施の形態1にかかるヒートシンク100におけるファンユニットFUの収容方法を示す。本構成では、例えば、プレート12とフィン13とが一体として形成されており、上方からファンユニットFUを収容部10に挿入することができる。ファンユニットFUは、送風方向がフィンの長手方向に平行な方向、すなわちY方向となるように収容される。その後、プレート11をフィン13上に被せて、ネジなどの固定手段によって固定することで、ヒートシンク100を作製することができる。
なお、ファンユニットFUに接続される配線は、ヒートシンクブロック1に配線引き出し用の孔部を設け、配線をこの孔部に挿通させて引き出してもよい。
図4に、配線引き出し用の孔部の例を示す。この例では、プレート11に孔部H1が設けられ、この孔部H1に配線Wが挿通されている。
以上、本構成によれば、ファンユニットを内蔵したヒートシンクを提供することができる。ファンユニットがヒートシンクブロックの外部に露出していないので、ヒートシンクの小型化を実現することができる。
また、ファンユニットがヒートシンクブロックの外部に露出する一般的なヒートシンクと異なり、単純な外形とすることができるので、装置内におけるヒートシンクの配置の自由度を向上させることができる。
さらに、ファンユニットの送風を効率よくフィンに導くことができるので、ヒートシンクの熱を効率的に放熱することができる。
なお、上述では収容部の配置位置をヒートシンクブロックの中央としたが、これは例示に過ぎない。必要に応じて、X方向の任意の位置、かつ、Y方向の任意の位置に収容部を設けてもよい。
実施の形態2
実施の形態2にかかるヒートシンクについて説明する。実施の形態2にかかるヒートシンクは、実施の形態1にかかるヒートシンクの変形例であり、ヒートシンク内に複数のファンユニットを内蔵するものとして構成される。図5に、実施の形態2にかかるヒートシンク200の構成を模式的に示す。ヒートシンク200は、ヒートシンクブロック2及びファンユニットFU1〜FU3を有する。
ヒートシンクブロック2は、実施の形態1にかかるヒートシンク100のヒートシンクブロック1に対応するものである。ヒートシンクブロック2は、複数のファンユニットを収容可能に構成される。ここでは、ヒートシンクブロック2が3つのファンユニットFU1〜FU3を収容する例について説明する。
ヒートシンクブロック2のプレート21、プレート22、フィン23及び収容部20は、それぞれヒートシンク100のプレート11、プレート12、フィン13及び収容部10に対応する。
図6に、図5のVI−VI線におけるヒートシンク200のX−Y断面を示す。図7に、実施の形態2にかかるヒートシンク200におけるファンユニットFU1〜FU3の収容方法を示す。実施の形態1と同様に、ヒートシンクブロック2の収容部20は、3つのファンユニットFU1〜FU3を収容可能な寸法を有するように構成される。ファンユニットFU1〜FU3は、X方向に並んで配列され、かつ、送風方向がフィンの長手方向に平行な方向、すなわちY方向となるように収容される。よって、ヒートシンクブロック2は、収容部20のX方向の寸法が3×Lxよりも大きくなるように構成される。
なお、ファンユニットFU1〜FU3に接続される配線は、実施の形態1で図4を参照して説明した孔部を適宜設け、配線をこの孔部に挿通させて引き出してもよい。
以上、本構成によれば、複数のファンユニットを内蔵したヒートシンクを提供することができる。これにより、実施の形態1と同様の利点を有する、より大型のヒートシンクを実現することが可能となる。
なお、本実施の形態では、X方向に配列された3つのファンユニットが内蔵される構成について説明したが、これは例示に過ぎない。すなわち、ヒートシンクにはX方向に配列された2又は4個以上のファンユニットを内蔵してもよい。
実施の形態3
実施の形態3にかかるヒートシンクについて説明する。実施の形態3にかかるヒートシンク300は、実施の形態2にかかるヒートシンク200の変形例であり、ヒートシンクブロックの組み立て後に複数のファンユニットを着脱可能に構成されている。図8に、実施の形態3にかかるヒートシンク300の構成を模式的に示す。
ヒートシンク300は、ヒートシンクブロック3、カバープレート34及びファンユニットFU1〜FU3を有する。
ヒートシンクブロック3のプレート31、プレート32、フィン33及び収容部30は、それぞれヒートシンク200のプレート21、プレート22、フィン23及び収容部20に対応する。
図9に、実施の形態3にかかるヒートシンク300におけるファンユニットFU1〜FU3の収容方法を示す。プレート31には、収容部30に対応する位置に開口部OPが設けられている。この開口部OPを通じてファンユニットFU1〜FU3を収容部30に挿入することで、ファンユニットFU1〜FU3が収容部30に収容される。
換言すれば、本構成では、プレート31及び32とフィン33とからなるヒートシンクブロック3を組み立てた後でも、ファンユニットの着脱が可能である。
ファンユニットFU1〜FU3が収容部30に収容された状態で、開口部OPはカバープレート34によって閉塞される。カバープレート34は、適宜、ネジなどの固定手段によってヒートシンクブロック3に固定することができる。これにより、ファンユニットFU1〜FU3がヒートシンクブロック3から脱落することを防止するとともに、ファンユニットFU1〜FU3からの送風が開口部OPから漏れ出すことも防止できる。
なお、ファンユニットFU1〜FU3に接続される配線は、例えばカバープレート34に、実施の形態1で図4を参照して説明した孔部を適宜設け、配線をこの孔部に挿通させて引き出してもよい。
以上、本構成によれば、実施の形態1及び2と同様に、ファンユニットを内蔵したヒートシンクを提供することができる。これにより、これにより、実施の形態1及び2と同様の利点を有するとともに、より容易に作製できるヒートシンクを実現することが可能となる。
また、本構成によれば、ヒートシンクブロックを分解することなく、ファンユニットを容易に着脱、すなわち、取り付け及び取り外しを行うことができる。よって、用途に合わせてファンユニットを交換したり、故障したファンユニットを健全なファンユニットに置換することが可能である。
実施の形態4
実施の形態4にかかるヒートシンクについて説明する。実施の形態4にかかるヒートシンクは、実施の形態2にかかるヒートシンク200の変形例であり、ヒートシンクブロックが複数に分割された構成を有する。図10に、実施の形態4にかかるヒートシンク400の構成を模式的に示す。ヒートシンク400は、ヒートシンクブロック4、ヒートシンクブロック5及びファンユニットFU1〜FU3を有する。
本構成では、ヒートシンクブロック4及び5は、X方向に並んで配置されて連結されることで、実施の形態2のヒートシンクブロック2と同様のヒートシンクブロックを構成する。なお、ヒートシンクブロック4及び5の一方を第1のヒートシンクブロックとも称し、他方を第2のヒートシンクブロックとも称する。
ヒートシンクブロック4では、Z方向に離隔して配置されたプレート41とプレート42との間に、複数のフィン43が、ピッチPの等間隔で、X方向に並んで配列されている。フィン43のうち、ヒートシンクブロック5の側に配列される一部のものには、ファンユニットFU1〜FU3を収容するための切り欠き部44が設けられる。
ヒートシンクブロック5では、Z方向に離隔して配置されたプレート51とプレート52との間に、複数のフィン53が、ピッチPの等間隔で、X方向に並んで配列されている。フィン53のうち、ヒートシンクブロック4の側に配列される一部のものには、ファンユニットFU1〜FU3を収容するための切り欠き部54が設けられる。
図11に、図10のXI−XI線におけるヒートシンク400のX−Y断面を示す。ヒートシンクブロック4及び5は、切り欠き部44と切り欠き部54とが対向するように配列される。これにより、切り欠き部44及び54Dは、一体としてファンユニットFU1〜FU3を収容可能な寸法を有する、実施の形態2における収容部20と同様の収容部40を構成する。
この例では、ヒートシンクブロック4及び5は、それぞれ、図11の線Lに対して対称な形状となるように構成される。すなわち、切り欠き部44及び54は、同じ容積を有している。
ファンユニットFU1〜FU3は、ヒートシンクブロック4とヒートシンクブロック5とを接合する前に、収容部40に挿入される。図12に、実施の形態4にかかるヒートシンク400におけるファンユニットFU1〜FU3の収容方法を示す。ファンユニットFU1〜FU3を切り欠き部44と切り欠き部54とで挟み込んで、ヒートシンクブロック4及び5を互いに接近させて連結することで、収容部40にファンユニットFU1〜FU2を収容することができる。なお、ヒートシンクブロック4とヒートシンクブロック5との連結は、ネジなどの各種の固定手段を用いることが可能である。
なお、ファンユニットFU1〜FU3に接続される配線は、ヒートシンクブロック4とヒートシンクブロック5の接合部のプレートに配線引き出し用の孔部を設け、配線をこの孔部に挿通させて引き出してもよい。
また、本実施の形態では収容部40がヒートシンク4及び5に2分割されて構成されるものとして説明したが、収容部40はヒートシンク4及び5の一方にのみ設けられてもよい。
以上、本構成によれば、複数のファンユニットを内蔵したヒートシンクを提供することができる。これにより、実施の形態2と同様の利点を有する、大型のヒートシンクを実現することが可能となる。
実施の形態5
実施の形態5にかかるヒートシンクについて説明する。実施の形態5にかかるヒートシンク500では、ヒートシンクブロックが複数のユニットプレートを組み合わせることで構成される。図13に、実施の形態5にかかるヒートシンク500の構成を模式的に示す。
ヒートシンク500は、実施の形態1にかかるヒートシンク300のヒートシンクブロック3を、ヒートシンクブロック6に置換した構成を有する。ヒートシンク500のその他の構成は、ヒートシンク300と同様である。
ヒートシンク500のヒートシンクブロック6は、ユニットプレートPL1及びユニットプレートPL2で構成される。
図14に、ユニットプレートPL1の構成を示す。ユニットプレートPL1は、Z方向に離隔して配置されたY方向に延在する2本のビームB11及びB12と、ビームB11とビームB12との間に設けられたY−Z平面を主面とするフィンF1とで構成される。なお、ビームB11及びB12の一方を第1のビームとも称し、他方を第2のビームとも称する。
図15に、ユニットプレートPL2の構成を示す。ユニットプレートPL2は、Z方向に離隔して配置されたY方向に延在する2本のビームB21及びB22と、ビームB21とビームB22との間に設けられたY−Z平面を主面とするフィンF2とで構成される。ユニットプレートPL2では、ユニットプレートPL1と異なり、フィンF2の中央部に、ファンユニットを収容するための切り欠き部Cが設けられる。なお、ビームB21及びB22の一方を第1のビームとも称し、他方を第2のビームとも称する。
ユニットプレートPL1及びPL2のビームのそれぞれは、隣接するユニットプレートと連結するための機構が設けられる。以下、具体例について説明する。図16に、ユニットプレートの部分拡大図を示す。
ユニットプレートPL1及びPL2のビームのX(−)側には、T字型の溝GRが設けられている。溝GRは、Z−X平面において90°横倒しにしたT字型の中空部を有する溝として、ビームをY方向に貫通するように設けられる。
各ユニットプレートのビームのX(+)側には、T字型の突出部PJが設けられている。突出部PJは、Z−X平面において90°横倒しにしたT字型の突出部を有するものとして、ビームのX(+)側の面上でY方向に延在するように設けられる。
よって、例えば、2つのユニットプレートの一方の溝GRのY(+)側の端部と、他方の突出部PJのY(−)側の端部とを嵌合させて、その後2つのユニットプレートをY方向に沿って互いに逆方向にスライドさせることで、突出部PJ全体が溝GRに嵌まり込む。これによって、2つのユニットプレートが互いに連結される。図17に、連結されたユニットプレートの連結部の拡大図を示す。この連結作業を複数回繰り返すことで、図17に示すように、ヒートシンクブロック6を構成することができる。
収容部40に対応する位置ではユニットプレートPL2を連結し、かつ、その他の位置ではユニットプレートPL1を連結することで、ヒートシンクブロック3と同様の構成を有するヒートシンクブロック6を実現できることが理解できる。
なお、ファンユニットの収容については、実施の形態3で図9を参照して説明したのと同様であるので、説明を省略する。
以上、本構成によれば、複数のファンユニットを内蔵したヒートシンクを提供することができる。これにより、実施の形態3と同様の利点を有する、大型のヒートシンクを実現することが可能となる。
また、本構成によれば、連結するユニットプレートを適宜選択することで、必要に応じて、内蔵するファンユニットの数の変更や、ヒートシンクブロックの寸法の変更に対応することが可能となる。また、予めユニットプレートを準備しておくことで、任意の数のファンユニット及び寸法に対応可能なヒートシンクを容易に作製することができる。これにより、実施の形態1〜4と比べて、ヒートシンクの設計により柔軟に対応することが可能となる。
その他の実施の形態
なお、本発明は上記実施の形態に限られたものではなく、趣旨を逸脱しない範囲で適宜変更することが可能である。例えば、実施の形態3〜5では、X方向配列された3つのファンユニットが内蔵される構成について説明したが、これは例示に過ぎない。すなわち、ヒートシンクには、1個、又は、X方向に配列された2個又は4個以上のファンユニットを内蔵してもよい。
ヒートシンクブロックやカバープレートを構成する材料としては、アルミニウム、鉄、銅などの高い電熱特性を有する金蔵材料を用いることがのぞましい。なお、ここでいう金属材料は、純金属だけでなく合金を含むことは言うまでもない。また、用途によっては、セラミックスなどの非金属材料を用いてもよい。
上述の実施の形態では、ヒートシンクに収容部が1つ設けられているが、これは便宜上のものに過ぎず、1つのヒートシンクに複数の収容部を設け、各収容部に1以上のファンユニットを収容してもよい。この場合、複数の収容部は、それぞれX−Y平面内の異なる位置に設けてもよい。
B11、B12、B21、B22 ビーム
PL1、PL2 ユニットプレート
C 切り欠き部
F1、F2 フィン
FU、FU1〜FU3 ファンユニット
GR 溝
H1 孔部
OP 開口部
PJ 突出部
W 配線
1〜6 ヒートシンクブロック
10、20、30、40 収容部
11、12、21、22、31、32、41、42 プレート
13、23、33、43 フィン
34 カバープレート
44、54 切り欠き部
100、200、300、400、500 ヒートシンク

Claims (6)

  1. 主面が対向するように平行に配置された2枚のプレートと、
    前記2枚のプレートの間で、前記2枚のプレートの主面に対して平行な方向である第1の方向に配列された、前記第1の方向に直交し、かつ、前記2枚のプレートの主面に対して平行な第2の方向に延在する、複数のフィンと、
    前記複数のフィンの一部に設けられた切り欠き部からなる収容部と、
    前記第2の方向に送風する、前記収容部に収容されたファンユニットと
    カバープレートと、を備え、
    前記2枚のプレートの一方又は両方には、前記収容部に対応する位置に開口部が設けられ、
    前記ファンユニットは、前記開口部を介して前記収容部に挿入可能であり、かつ、前記開口部を介して前記収容部から取り出し可能であり、
    前記カバープレートは、前記収容部に前記ファンユニットを収容した状態で、前記開口部を覆う、
    ヒートシンク。
  2. 前記収容部には、前記第1の方向に配列された複数の前記ファンユニットが収容される、
    請求項1に記載のヒートシンク。
  3. 前記2枚のプレート、前記複数のフィン及び前記収容部からなるヒートシンクブロックは、
    前記第1及び第2の方向に直交する第3の方向に離隔された、前記第2の方向に延在する第1及び第2のビームと、前記第1のビームと前記第2のビームとの間に設けられた、前記複数のフィンのうちの1つのフィンと、を備えるユニットプレートを、前記第1の方向に複数個連結することで構成され、
    連結された前記第1のビームが、前記2枚のプレートの一方を構成し、
    連結された前記第2のビームが、前記2枚のプレートの他方を構成する、
    請求項1又は2に記載のヒートシンク。
  4. 連結された複数の前記ユニットプレートのうち、前記収容部に対応する位置のものの前記フィンには、前記切り欠き部が設けられる、
    請求項3に記載のヒートシンク。
  5. 主面が対向するように平行に配置された2枚のプレートと、
    前記2枚のプレートの間で、前記2枚のプレートの主面に対して平行な方向である第1の方向に配列された、前記第1の方向に直交し、かつ、前記2枚のプレートの主面に対して平行な第2の方向に延在する、複数のフィンと、
    前記複数のフィンの一部に設けられた切り欠き部からなる収容部と、
    前記第2の方向に送風する、前記収容部に収容されたファンユニットと、を備え、
    前記2枚のプレート、前記複数のフィン及び前記収容部からなるヒートシンクブロックは、前記第1の方向に配列される第1のヒートシンクブロックと第2のヒートシンクブロックとに分割されて構成され、
    前記収容部の一部は前記第1のヒートシンクブロックに形成され、前記収容部の他の一部は前記第2のヒートシンクブロックに形成され、前記第1のヒートシンクブロックと前記第2のヒートシンクブロックとを連結することで前記収容部が構成され、又は、
    前記収容部は前記第1及び第2のヒートシンクブロックの一方に形成される、
    ヒートシンク
  6. 前記収容部には、前記第1の方向に配列された複数の前記ファンユニットが収容される、
    請求項5に記載のヒートシンク。
JP2019171147A 2019-09-20 2019-09-20 ヒートシンク Active JP6830686B1 (ja)

Priority Applications (1)

Application Number Priority Date Filing Date Title
JP2019171147A JP6830686B1 (ja) 2019-09-20 2019-09-20 ヒートシンク

Applications Claiming Priority (1)

Application Number Priority Date Filing Date Title
JP2019171147A JP6830686B1 (ja) 2019-09-20 2019-09-20 ヒートシンク

Publications (2)

Publication Number Publication Date
JP6830686B1 true JP6830686B1 (ja) 2021-02-17
JP2021048342A JP2021048342A (ja) 2021-03-25

Family

ID=74562356

Family Applications (1)

Application Number Title Priority Date Filing Date
JP2019171147A Active JP6830686B1 (ja) 2019-09-20 2019-09-20 ヒートシンク

Country Status (1)

Country Link
JP (1) JP6830686B1 (ja)

Family Cites Families (12)

* Cited by examiner, † Cited by third party
Publication number Priority date Publication date Assignee Title
JPH062312Y2 (ja) * 1988-05-13 1994-01-19 日本電気株式会社 ヒートシンク
JPH0750494A (ja) * 1993-08-06 1995-02-21 Mitsubishi Electric Corp 冷却装置
JPH1174429A (ja) * 1997-06-27 1999-03-16 Showa Alum Corp 放熱器
JP3524444B2 (ja) * 1999-10-21 2004-05-10 古河電気工業株式会社 電子機器用冷却装置および冷却方法
JP2001210766A (ja) * 2000-01-21 2001-08-03 Tousui Ltd ヒートシンク
JP2002305273A (ja) * 2001-04-05 2002-10-18 Pfu Ltd ヒートシンク装置
TW577585U (en) * 2002-12-24 2004-02-21 Delta Electronics Inc Multi-level heat-dissipating device
KR20060070176A (ko) * 2004-12-20 2006-06-23 삼성전자주식회사 냉각장치와 이를 포함하는 액정표시장치
CN2854803Y (zh) * 2005-07-21 2007-01-03 国格金属科技股份有限公司 散热片结构
CN101072489B (zh) * 2006-05-10 2010-09-08 建准电机工业股份有限公司 复合散热模组
KR20160109507A (ko) * 2015-03-11 2016-09-21 주식회사 고아정공 팬 일체형 하우징
CN107023499B (zh) * 2016-01-29 2020-04-24 台达电子工业股份有限公司 风扇及散热装置

Also Published As

Publication number Publication date
JP2021048342A (ja) 2021-03-25

Similar Documents

Publication Publication Date Title
US10798841B2 (en) Electronic apparatus and method for producing electronic apparatus
US9578781B2 (en) Heat management for electronic enclosures
CN107443421B (zh) 电机单元以及机器人
JP6830686B1 (ja) ヒートシンク
JP6303952B2 (ja) 基板実装構造及び電源装置
JP6061049B1 (ja) 電力変換装置及び電力変換システム
US10602604B2 (en) Electronic component unit
US20200236811A1 (en) Thermally conductive insert element for electronic unit
JP2019022293A (ja) 電源装置
JP2017177088A (ja) 照射器具、及び、照射装置
JP7660367B2 (ja) 冷却構造および電子機器
WO2018061814A1 (ja) 電源装置
JP2018195844A (ja) ヒートシンク
JP7084278B2 (ja) ヒートシンク
WO2019159776A1 (ja) 冷却装置
US8726505B2 (en) Heat sinking methods for performance and scalability
CN222424553U (zh) 电源模块
JP2008311467A (ja) パワーモジュール
JP6569404B2 (ja) 電源装置及び電源装置の製造方法
JP7074270B1 (ja) 半導体装置
US10971899B2 (en) Laser light source unit
JP2009076623A (ja) 電子機器
TW201102742A (en) Optical projection system
KR20190121356A (ko) 방열 장치 및 발전 장치
US20130299156A1 (en) Sink heating methods for performance and scalability

Legal Events

Date Code Title Description
A621 Written request for application examination

Free format text: JAPANESE INTERMEDIATE CODE: A621

Effective date: 20190925

A131 Notification of reasons for refusal

Free format text: JAPANESE INTERMEDIATE CODE: A131

Effective date: 20201104

A521 Request for written amendment filed

Free format text: JAPANESE INTERMEDIATE CODE: A523

Effective date: 20201221

TRDD Decision of grant or rejection written
A01 Written decision to grant a patent or to grant a registration (utility model)

Free format text: JAPANESE INTERMEDIATE CODE: A01

Effective date: 20210105

A61 First payment of annual fees (during grant procedure)

Free format text: JAPANESE INTERMEDIATE CODE: A61

Effective date: 20210113

R150 Certificate of patent or registration of utility model

Ref document number: 6830686

Country of ref document: JP

Free format text: JAPANESE INTERMEDIATE CODE: R150

R250 Receipt of annual fees

Free format text: JAPANESE INTERMEDIATE CODE: R250

R250 Receipt of annual fees

Free format text: JAPANESE INTERMEDIATE CODE: R250

R250 Receipt of annual fees

Free format text: JAPANESE INTERMEDIATE CODE: R250