JP6814411B2 - エレベータ用ブレーキの開放装置及びエレベータ - Google Patents

エレベータ用ブレーキの開放装置及びエレベータ Download PDF

Info

Publication number
JP6814411B2
JP6814411B2 JP2018106992A JP2018106992A JP6814411B2 JP 6814411 B2 JP6814411 B2 JP 6814411B2 JP 2018106992 A JP2018106992 A JP 2018106992A JP 2018106992 A JP2018106992 A JP 2018106992A JP 6814411 B2 JP6814411 B2 JP 6814411B2
Authority
JP
Japan
Prior art keywords
extension
rotating
brake
elevator
opening device
Prior art date
Legal status (The legal status is an assumption and is not a legal conclusion. Google has not performed a legal analysis and makes no representation as to the accuracy of the status listed.)
Active
Application number
JP2018106992A
Other languages
English (en)
Other versions
JP2019210090A (ja
Inventor
雅弘 染田
雅弘 染田
Current Assignee (The listed assignees may be inaccurate. Google has not performed a legal analysis and makes no representation or warranty as to the accuracy of the list.)
Fujitec Co Ltd
Original Assignee
Fujitec Co Ltd
Priority date (The priority date is an assumption and is not a legal conclusion. Google has not performed a legal analysis and makes no representation as to the accuracy of the date listed.)
Filing date
Publication date
Application filed by Fujitec Co Ltd filed Critical Fujitec Co Ltd
Priority to JP2018106992A priority Critical patent/JP6814411B2/ja
Publication of JP2019210090A publication Critical patent/JP2019210090A/ja
Application granted granted Critical
Publication of JP6814411B2 publication Critical patent/JP6814411B2/ja
Active legal-status Critical Current
Anticipated expiration legal-status Critical

Links

Images

Landscapes

  • Maintenance And Inspection Apparatuses For Elevators (AREA)

Description

本発明は、エレベータ用ブレーキの開放装置及びエレベータに関する。
従来、例えば、エレベータは、躯体に固定される外管と、外管に挿入され、一端部がブレーキに接続される内線と、内線の他端部が接続される回転部を有する開放装置とを備えている(例えば、特許文献1)。そして、回転部が回転されることで、内線が引かれる。これにより、ブレーキが開放される。
ところで、例えば、回転部を所定の角度(例えば、90°〜120°)だけしか回転できない構造の場合がある。斯かる構造において、回転部を最大限回転させても、ブレーキが開放されない場合がある。例えば、経年によって内線が伸びた場合や、経年によって外管に対する内線の位置が変化した場合や、内線の長さの初期設定が誤っていた場合等が、挙げられる。
特開2004−307181号公報
そこで、課題は、ブレーキを開放するために必要となる内線の引き量を、確実に確保することができるエレベータ用ブレーキの開放装置及びエレベータを提供することである。
エレベータ用ブレーキの開放装置は、躯体に固定される外管に挿入されて且つ一端部がブレーキに接続される内線を、引くために、前記内線の他端部が接続される回転部を備える、エレベータ用ブレーキの開放装置であって、前記内線の他端部側を前記外管から引き出し可能な最大量を、変更させる変更手段を備える。
また、エレベータ用ブレーキの開放装置は、前記回転部を支持する支持部を備え、前記支持部は、前記回転部を接続する回転接続部を備え、前記変更手段は、前記外管に対する前記回転部の位置を変更できるように、前記回転接続部を複数備える、という構成でもよい。
また、エレベータ用ブレーキの開放装置においては、前記回転部は、前記回転接続部に接続される凸状の軸部を備え、前記回転接続部は、前記軸部が挿入されて且つ前記軸部を下方から支持する孔部を備える、という構成でもよい。
また、エレベータ用ブレーキの開放装置においては、前記回転部は、前記内線の他端部を接続する内線接続部を備え、前記変更手段は、前記回転部に対する前記内線の他端部の位置を変更できるように、前記内線接続部を、前記回転部の周方向で離すようにして複数備える、という構成でもよい。
また、エレベータ用ブレーキの開放装置は、前記回転部を回転する際に操作される操作部を備え、前記回転部は、前記操作部を接続する操作接続部を備え、前記変更手段は、前記回転部に対する前記操作部の位置を変更できるように、前記操作接続部を、前記回転部の周方向で離すようにして複数備える、という構成でもよい。
また、エレベータは、かごを停止させるためのブレーキと、躯体に固定される外管と、前記外管に挿入され、一端部が前記ブレーキに接続される内線と、前記の開放装置と、を備える。
図1は、一実施形態に係るエレベータの要部概要図である。 図2は、同実施形態に係るエレベータの要部概要図である。 図3は、同実施形態に係る開放装置の要部正面図である。 図4は、図3の側面図である。 図5は、同実施形態に係る開放装置の要部分解正面図であって、一部が断面を示す図である。 図6は、同実施形態に係る開放装置の要部正面図である。 図7は、図6の側面図である。 図8は、同実施形態に係る開放装置の要部正面図である。 図9は、同実施形態に係る開放装置の要部正面図である。 図10は、変形例に係る開放装置の要部正面図である。 図11は、別の変形例に係るエレベータの要部概要図である。 図12は、同変形例に係る開放装置の要部正面図である。 図13は、同変形例に係る開放装置の要部正面図である。 図14は、他の実施形態に係る開放装置の要部分解正面図であって、一部が断面を示す図である。 図15は、同実施形態に係る開放装置の要部正面図である。 図16は、同実施形態に係る開放装置の要部正面図である。 図17は、さらに他の実施形態に係る開放装置の要部分解正面図であって、一部が断面を示す図である。 図18は、同実施形態に係る開放装置の要部正面図である。 図19は、同実施形態に係る開放装置の要部正面図である。 図20は、同実施形態に係る開放装置の要部正面図である。 図21は、同実施形態に係る開放装置の要部正面図である。
<第1実施形態>
以下、エレベータ及び開放装置における第1の実施形態について、図1〜図13を参照しながら説明する。なお、各図(図14〜図21も同様)において、図面の寸法比と実際の寸法比とは、必ずしも一致しておらず、また、各図面の間での寸法比も、必ずしも一致していない。
図1及び図2に示すように、本実施形態に係るエレベータ1は、ロープ1aと、ロープ1aが巻き掛けられる綱車1bを有する巻上機1cとを備えている。なお、ロープ1aの一方側は、ユーザが乗るためのかご(図示していない)に接続され、ロープ1aの他方側は、釣合錘(図示していない)に接続されている。
巻上機1cは、かご及び釣合錘を鉛直方向D3に走行させるために、綱車1bを回転させる駆動源(図示していない)と、綱車1bと一体となって回転する回転体1dとを備えている。なお、本実施形態に係るエレベータ1は、巻上機1cを昇降路X1の内部に配置する、という構成であるが、斯かる構成に限られず、例えば、昇降路X1よりも上方に機械室を備え、巻上機1cを機械室の内部に配置する、という構成でもよい。
エレベータ1は、かごを停止させるために回転体1dに接するブレーキ2と、躯体X2に固定される外管3と、外管3に挿入される内線4と、ブレーキ2を手動で開放させる開放装置5とを備えている。なお、本実施形態に係るブレーキ2は、回転体1dを厚み方向で挟むように接するディスク式ブレーキである、という構成であるが、斯かる構成に限られず、例えば、回転体1dの外周面に接するドラム式ブレーキである、という構成でもよい。
外管3は、複数の固定具1eによって、躯体X2(例えば、昇降路X1の内面)に固定されている。また、外管3の一端部3aは、例えばネジ体(ナット)で、ブレーキ2の不動部2aに固定されることによって、躯体X2に対して固定されている。そして、外管3は、可撓性を有している。特に、外管3の材質は、限定されないが、例えば、外管3は、樹脂で形成されている。なお、外管3は、アウタチューブとも呼ばれる。
内線4の一端部4aは、外管3の一端部3aから露出している。そして、内線4は、ブレーキ2に接続されている。具体的には、内線4は、ブレーキ2の可動部2bに固定されている。また、内線4は、可撓性を有している。さらに、内線4は、非伸縮性を有している。特に、内線4の材質は、限定されないが、例えば、内線4は、鉄線(ワイヤ)で形成されている。なお、内線4は、インナワイヤとも呼ばれる。
開放装置5は、躯体X2の内部に収容されている。例えば、開放装置5は、乗場の壁の内部に収容されており、操作者は、乗場で開放装置5を操作することができる。そして、開放装置5が操作されることによって、内線4が開放装置5によって引かれる。これにより、ブレーキ2の可動部2bが可動するため、起動しているブレーキ2が、開放される。なお、開放装置5が操作されない場合には、開放装置5は、開閉可能な又は着脱可能な扉や蓋によって、覆われている。
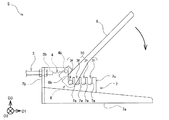
図3及び図4に示すように、開放装置5は、内線4を引くために周方向D4に回転される回転部6と、回転部6を支持する支持部7と、回転部6を回転する際に操作される長尺な操作部8と、回転部6が回転することを規制する規制部9とを備えている。なお、操作部8は、手で操作される。本実施形態においては、操作部8は、ハンドルレバーであって、把持される。
図3〜図5に示すように、回転部6は、回転する回転本体部6aと、回転本体部6aの回転中心の位置から突出する凸状の軸部6bとを備えている。そして、回転部6は、剛性を有している。特に、回転部6の材質は、限定されないが、例えば、金属(アルミ、鉄、ステンレス)で形成されている。
回転部6は、少なくとも回転本体部6aが回転可能な構成であればよい。例えば、回転本体部6aと軸部6bとが一体的であって、軸部6bが回転本体部6aと一体となって回転する、という構成でもよく、また、例えば、回転本体部6aと軸部6bとが別体であって、回転本体部6aが軸部6bに対して回転する、という構成でもよい。
回転本体部6aは、外周部に巻かれる内線4を案内する溝6cと、内線4の他端部4bを接続する内線接続部6dと、操作部8の端部を接続する操作接続部6eと、を備えている。なお、内線4の他端部4bは、外管3の他端部3bから露出して、回転本体部6aの内線接続部6dに接続されている。
溝6cは、回転本体部6aの外周部に設けられ、周方向D4に連続して延びている。具体的には、溝6cは、回転本体部6aの外周部の全域に亘って延びている。本実施形態においては、溝6cは、複数(三つ)備えられているが、溝6cの個数は、一つでもよく、特に、限定されない。そして、複数の溝6cは、水平方向(「第2水平方向」ともいう)D2で離れて配置されている。
内線接続部6dは、溝6cの位置に配置されている。具体的には、内線接続部6dは、溝6cと重なるように配置されている。また、本実施形態においては、内線接続部6dは、一つの溝6cに対して、一つ備えられているが、内線接続部6dの個数は、特に限定されない。なお、本実施形態においては、二つの内線4が、回転部6に接続されている。
内線接続部6dは、内線4の他端部4bを着脱可能に構成されている。本実施形態においては、内線接続部6dは、内線4の他端部4bを引っ掛けることで、内線4bの他端部4bを接続している。具体的には、内線4の他端部4bが球状に形成されていることに対して、内線接続部6dは、内線4の他端部4bを嵌めて引っ掛けるように、凹状に形成されている。
なお、内線接続部6dは、内線4の他端部4bと接続されている構成であればよい。例えば、内線4の他端部4bと内線接続部6dとが互いに螺合するネジ部を備えることで、内線接続部6dが内線4の他端部4bと着脱可能に接続されている、という構成でもよい。また、例えば、内線接続部6dが、接続具によって、内線4の他端部4bと着脱可能に接続されている、という構成でもよい。また、例えば、内線接続部6dは、内線4の他端部4bと着脱不能に接続されている、という構成でもよい。
操作接続部6eは、本実施形態においては、一つ備えられているが、操作接続部6eの個数は、特に限定されない。そして、操作接続部6eは、操作部8を着脱可能に構成されている。本実施形態においては、操作接続部6eと操作部8とが互いに螺合するネジ部を備えることで、操作接続部6eが操作部8と着脱可能に接続されている。具体的には、操作接続部6eは、凹状に形成されて内周部に雌ネジを備え、操作部8は、端部の外周部に雄ネジを備えている。
なお、操作接続部6eは、斯かる構成に限られない。例えば、操作接続部6eが、接続具によって、操作部8と着脱可能に接続されている、という構成でもよい。また、例えば、操作部8が、凹状の操作接続部6eに嵌め込められることによって、操作接続部6eが、操作部8と着脱可能に接続されている、という構成でもよい。
図3〜図4及び図6〜図7に示すように、支持部7は、躯体X2に固定されるベース部7aと、外管3の他端部3bを固定する外管固定部7bとを備えている。また、支持部7は、回転部6を挟むように配置される一対の板部7c,7cと、回転部6を保持するために、板部7cに接続される保持部7d,7dとを備えている。
支持部7は、剛性を有している。特に、支持部7の材質は、限定されないが、例えば、金属(鉄、ステンレス)で形成されている。なお、ベース部7aは、例えば、ネジ体(図示していない)によって、躯体X2に固定されている。
外管固定部7bは、板状に形成されており、ベース部7aから水平方向(「第1水平方向」ともいう)D1に立設している。また、外管固定部7bは、外管3が挿入される開口を備えている。そして、外管3の他端部3bは、例えばネジ体(ナット)によって、外管固定部7bに固定されている。これにより、外管3の他端部3bは、躯体X2に対して固定されている。なお、外管3の他端部3bは、例えば固定具1eで、躯体X2に直接的に固定されている、という構成でもよい。
板部7cは、回転部6の軸部6bが挿入される孔部7eを備えている。本実施形態においては、孔部7eは、四つ備えられているが、孔部7eの個数は、特に限定されない。そして、孔部7eは、水平方向D1に延びており、水平方向D1の一端部で開放されている。これにより、孔部7eは、挿入された軸部6bを下方から支持することができる。また、複数の孔部7eは、鉛直方向D3に並列されている。
保持部7dは、板状に形成されている。そして、保持部7dは、孔部7eの水平方向D1の一端部を閉塞する第1の位置(図3及び図4)と、孔部7eの水平方向D1の一端部を開放する第2の位置(図6及び図7)とに変位できる。保持部7dが第1の位置(「保持位置」ともいう)に位置する際には、孔部7eに挿入された軸部6bが、保持部7dによって保持され、保持部7dが第2の位置(「出入位置」ともいう)に位置する際には、孔部7eから回転部6を出したり孔部7eに回転部6を入れたりすることができる。
なお、保持部7dが保持位置に位置する際に、板部7cの孔部7eと保持部7dとが協働することによって、支持部7は、回転部6を接続する回転接続部7fを備える。本実施形態においては、回転接続部7fは、四つ備えられているが、回転接続部7fの個数は、特に限定されない。そして、回転接続部7fは、鉛直方向D3に並列されている。
また、本実施形態においては、保持部7dは、ネジ体(ボルト)5aによって、板部7cに接続されている。そして、保持部7dは、ネジ体5aに挿通される開口を備えており、板部7cは、ネジ体5aと螺合するネジ孔7gを備えている。なお、保持部7dが板部7cに接続される構成は、斯かる構成に限られず、特に限定されない。
規制部9は、本実施形態においては、板部7cと螺合するネジ体9aである。そして、ネジ体9aの端部が回転部6(回転本体部6a)と接することによって、回転部6(回転本体部6a)が回転することを規制することができる。反対に、ネジ体9aの端部が回転部6(回転本体部6a)から離れることによって、回転部6(回転本体部6a)は、自由に回転可能となる。なお、規制部9の構成は、斯かる構成に限られず、特に限定されない。
本実施形態に係るエレベータ1及び開放装置5の構成については以上の通りであり、次に、本実施形態に係るエレベータ1及び開放装置5の作用について、図8及び図9を参照しながら説明する。
図8において、回転部6は、上から3番目の回転接続部7fに接続されている。そして、ブレーキ2を開放するために、回転部6が周方向D4に回転され、内線4が引かれる。このとき、例えば、操作部8が躯体X2や他装置等と干渉することによって、回転部6を所定の角度(例えば、90°〜120°)だけしか回転できない構造の場合がある。これにより、回転部6を最大限回転させても、内線4の引き量が不足し、ブレーキ2が開放しない場合がある。
斯かる場合に、回転部6を接続する回転接続部7fが、変更される。例えば、図9に示すように、回転部6が、最上の回転接続部7fに接続される。これにより、内線4の他端部4b側を外管3の他端部3bから引き出し(露出)可能な最大量が、所定量W1だけ大きくなるため、内線4の引き量が所定量W1だけ大きくなる。なお、図9において、2点鎖線は、図8における内線4の他端部4bの位置を示している。
このように、回転接続部7fが複数備えられているため、回転部6を接続する回転接続部7fが、変更されることによって、外管3の他端部3bに対する回転部6の位置が、変更される。これにより、内線4の引き量を変更することができるため、ブレーキ2を開放するために必要となる内線4の引き量が、確実に確保される。したがって、複数の回転接続部7fは、内線4の他端部4b側を外管3から引き出し可能な最大量を変更させる変更手段10として機能している。
なお、板部7cに孔部7eを複数形成する加工を行うだけで、変更手段10を形成することができる。これにより、例えば、回転部6を加工する場合と比較して、加工の作業が簡易になる。また、回転接続部7fが鉛直方向D3に並列されているため、板部7cの鉛直方向D3の寸法が大きくなる。これにより、板部7cの強度が大きくなるため、操作部8に加えられる力によって、例えば、板部7cが変形することを抑制することができる。
以上より、本実施形態に係るエレベータ1は、かごを停止させるためのブレーキ2と、躯体X2に固定される外管3と、前記外管3に挿入され、一端部4aが前記ブレーキ2に接続される内線4と、前記の開放装置5と、を備える。
そして、本実施形態に係るエレベータ1用ブレーキ2の開放装置5は、躯体X2に固定される外管3に挿入されて且つ一端部4aがブレーキ2に接続される内線4を、引くために、前記内線4の他端部4bが接続される回転部6を備える、エレベータ1用ブレーキ2の開放装置5であって、前記内線4の他端部4b側を前記外管3から引き出し可能な最大量を、変更させる変更手段10を備える。
斯かる構成によれば、変更手段10によって、内線4の他端部4b側を外管3から引き出し可能な最大量を、変更することができる。これにより、ブレーキ2を開放するために必要となる内線4の引き量を、確実に確保することができる。
また、本実施形態に係るエレベータ1用ブレーキ2の開放装置5は、前記回転部6を支持する支持部7を備え、前記支持部7は、前記回転部6を接続する回転接続部7fを備え、前記変更手段10は、前記外管3に対する前記回転部6の位置を変更できるように、前記回転接続部7fを複数備える、という構成である。
斯かる構成によれば、変更手段10は、回転接続部7fを複数備えている。これにより、回転部6を接続する回転接続部7fが、変更されることによって、外管3に対する回転部6の位置が、変更される。したがって、内線4の他端部4b側を外管3から引き出し可能な最大量を、変更することができる。
また、本実施形態に係るエレベータ1用ブレーキ2の開放装置5においては、前記回転部6は、前記回転接続部7fに接続される凸状の軸部6bを備え、前記回転接続部7fは、前記軸部6bが挿入されて且つ前記軸部6bを下方から支持する孔部7eを備える、という構成である。
斯かる構成によれば、軸部6bが挿入される孔部7eが、変更されることによって、外管3に対する回転部6の位置が、変更される。そして、孔部7eが軸部6bを下方から支持するため、回転部6の位置を安定させることができる。
なお、エレベータ1及び開放装置5は、上記した第1実施形態に係るエレベータ1及び開放装置5の構成及び作用に限定されるものではない。例えば、上記した第1実施形態に係るエレベータ1及び開放装置5に対して、以下のような変更が行われてもよい。
(1)上記第1実施形態に係る開放装置5においては、変更手段10は、回転接続部7fを複数備えている、という構成である。しかしながら、開放装置5は、斯かる構成に限られない。例えば、図10に示すように、変更手段10は、回転接続部7fの位置を変更可能に構成されている、という構成でもよい。
図10に係る支持部7においては、保持部7dは、軸部6bを下方から支持している。そして、板部7cの孔部7eと保持部7dとが協働することによって、支持部7は、回転部6を接続する回転接続部7fを備えている。
板部7cは、孔部7eを一つ備えており、孔部7eは、鉛直方向D3に延びて、上端部で開放されている。そして、保持部7dは、ネジ体(ボルト)5aによって、板部7cに接続されており、板部7cは、ネジ体5aと螺合するネジ孔7gを複数備えている。これにより、孔部7eに対する保持部7dの位置が、変更されることによって、回転接続部7fの位置が、変更される。
(2)また、上記第1実施形態に係る開放装置5においては、操作部8は、手で操作される、という構成である。しかしながら、開放装置5は、斯かる構成に限られない。例えば、図11〜図13に示すように、操作部8は、足で操作される、という構成でもよい。図11〜図13に係る開放装置5は、昇降路X1の底部に配置されており、操作部8は、フットレバーであって、足で踏まれる。
(3)また、上記第1実施形態に係る開放装置5においては、孔部7eは、水平方向D1に延びており、鉛直方向D3に複数並列されている、という構成である。しかしながら、開放装置5は、斯かる構成に限られない。例えば、図11〜図13に示すように、孔部7eは、鉛直方向D3に延びており、水平方向D1に複数並列されている、という構成でもよい。
図11〜図13に係る開閉装置5においては、変更手段10を構成する回転接続部7fは、水平方向D1に複数(図11〜図13においては、四つ)並列されている。そして、孔部7eは、鉛直方向D3に延びており、上端部で開放されている。これにより、孔部7eは、上端部から挿入された軸部6bを、下端部で下方から支持することができる。
図12において、回転部6は、左から1番目の回転接続部7fに接続されている。それに対して、図13においては、回転部6は、右から1番目の回転接続部7fに接続されている。これにより、内線4の他端部4b側を外管3の他端部3bから引き出し可能な最大量が、所定量W2だけ大きくなるため、内線4の引き量が所定量W2だけ大きくなる。なお、図13において、2点鎖線は、図12における内線4の他端部4bの位置を示している。
なお、図11〜図13に係る開放装置5は、昇降路X1の底部に固定されている、という構成に限られない。例えば、開放装置5は、所定階の乗場壁や昇降路X1の内部の乗場戸の下等に収納されており、昇降路X1の底部や乗場に引き出されて操作される、という構成でもよい。
<第2実施形態>
次に、開放装置5における第2の実施形態について、図14〜図16を参照しながら説明する。なお、図14〜図16において、図1〜図9の符号と同一の符号を付した部分は、第1実施形態と略同様の構成又は略同様の機能(作用)を有する要素を表し、その説明は、繰り返さない。
図14及び図15に示すように、本実施形態に係る開放装置5は、内線接続部6dを複数備えている点と、回転接続部7fを一つ備えている点とで、第1実施形態に係る開放装置5と相違している。以下、回転部6と支持部7について、説明する。
回転部6は、内線接続部6dを、周方向D4で離すようにして複数備えている。具体的には、内線接続部6dは、一つの溝6cに対して、回転部6の周方向D4で離すようにして複数備えている。本実施形態においては、内線接続部6dは、一つの溝6cに対して、四つ備えられているが、内線接続部6dの数量は、特に限定されない。
そして、内線4の他端部4bが接続される内線接続部6dが、変更されることによって、回転部6に対する内線4の他端部4bの位置を変更することができる。なお、内線接続部6dは、内線4の他端部4bを着脱可能に構成されていれば、その構成は、特に限定されない。
支持部7は、板部7cに、回転接続部7fを一つ備えている。なお、回転接続部7fの数量は、特に限定されない。例えば、支持部7は、第1実施形態に係る支持部7と同じ構成であって、複数の回転接続部7fを備えている、という構成でもよい。
本実施形態に係る開放装置5の構成は以上の通りであり、次に、本実施形態に係る開放装置5の作用について、図15及び図16を参照しながら説明する。
図15において、内線4の他端部4bは、最も下の内線接続部6d(図14参照)に接続されている。それに対して、図16においては、内線4の他端部4bは、最も上の内線接続部6d(図14参照)に接続されている。これにより、内線4の他端部4b側を外管3の他端部3bから引き出し可能な最大量が、所定量W3だけ大きくなるため、内線4の引き量が所定量W3だけ大きくなる。
したがって、複数の内線接続部6dは、内線4の他端部4b側を外管3から引き出し可能な最大量を変更させる変更手段10(図14参照)として機能している。なお、図16において、2点鎖線は、図15における内線4の他端部4bの位置を示している。
なお、内線接続部6dが、それぞれの溝6cに対して複数備えられているため、内線接続部6dは、それぞれの内線4に対して複数備えられていることになる。これにより、内線4ごとに、適した内線接続部6dを選択することができる。
以上より、本実施形態係るエレベータ1用ブレーキ2の開放装置5は、躯体X2に固定される外管3に挿入されて且つ一端部4aがブレーキ2に接続される内線4を、引くために、前記内線4の他端部4bが接続される回転部6を備える、エレベータ1用ブレーキ2の開放装置5であって、前記内線4の他端部4b側を前記外管3から引き出し可能な最大量を、変更させる変更手段10を備える。
斯かる構成によれば、変更手段10によって、内線4の他端部4b側を外管3から引き出し可能な最大量を、変更することができる。これにより、ブレーキ2を開放するために必要となる内線4の引き量を、確実に確保することができる。
また、本実施形態係るエレベータ1用ブレーキ2の開放装置5においては、前記回転部6は、前記内線4の他端部4bを接続する内線接続部6dを備え、前記変更手段10は、前記回転部6に対する前記内線4の他端部4bの位置を変更できるように、前記内線接続部6dを、前記回転部6の周方向D4で離すようにして複数備える、という構成である。
斯かる構成によれば、変更手段10は、内線接続部6dを、回転部6の周方向D4で離すようにして複数備えている。これにより、内線4の他端部4bを接続する内線接続部6dが、変更されることによって、回転部6に対する内線4の他端部4bの位置が、変更される。したがって、内線4の他端部4b側を外管3から引き出し可能な最大量を、変更することができる。
<第3実施形態>
次に、開放装置5における第3の実施形態について、図17〜図21を参照しながら説明する。なお、図17〜図21において、図1〜図9の符号と同一の符号を付した部分は、第1実施形態と略同様の構成又は略同様の機能(作用)を有する要素を表し、その説明は、繰り返さない。
図17及び図18に示すように、本実施形態に係る開放装置5は、操作接続部6eを複数備えている点と、回転接続部7fを一つ備えている点とで、第1実施形態に係る開放装置5と相違している。以下、回転部6と支持部7について、説明する。
回転部6は、操作接続部6eを、周方向D4で離すようにして複数備えている。本実施形態においては、操作接続部6eは、二つ備えられているが、操作接続部6eの数量は、特に限定されない。そして、操作部8が接続される操作接続部6eが、変更されることによって、回転部6に対する操作部8の位置を変更することができる。なお、操作接続部6eは、操作部8を着脱可能に構成されていれば、その構成は、特に限定されない。
支持部7は、板部7cに、回転接続部7fを一つ備えている。なお、回転接続部7fの数量は、特に限定されない。例えば、支持部7は、第1実施形態に係る支持部7と同じ構成であって、複数の回転接続部7fを備えている、という構成でもよい。
本実施形態に係る開放装置5の構成は以上の通りであり、次に、本実施形態に係る開放装置5の作用について、図18〜図21を参照しながら説明する。
図18において、操作部8は、一方の操作接続部6eに接続されている。そして、ブレーキ2を開放するために、回転部6が周方向D4に回転され、内線4が引かれる。このとき、例えば、操作部8が躯体X2や他装置等と干渉することによって、回転部6を所定の角度(例えば、90°〜120°)だけしか回転できない構造の場合がある。これにより、図19に示すように、回転部6を最大限回転させても、内線4の引き量が不足し、ブレーキ2が開放しない場合がある。
斯かる場合に、操作部8を接続する操作接続部6eが変更される。例えば、図20に示すように、操作部8は、一方の操作接続部6eから取り外され、他方の操作接続部6eに接続される。このとき、規制部9が操作されることによって、回転部6が回転することを規制している。そして、例えば、操作部8が躯体X2や他装置等と再び干渉するまで、回転部6が周方向D4に所定の角度(例えば、90°〜120°)だけ回転される。
これにより、操作接続部6eが一つである構成に対して、操作接続部6eが二つである構成においては、図21に示すように、内線4の他端部4b側を外管3の他端部3bから引き出し可能な最大量が、所定量W4だけ大きくなる。したがって、内線4の引き量が所定量W4だけ大きくなるため、ブレーキ2を確実に開放することができる。
このように、複数の操作接続部6eは、内線4の他端部4b側を外管3から引き出し可能な最大量を変更させる変更手段10として機能している。なお、図21において、2点鎖線は、図20における内線4の他端部4bの位置を示している。
以上より、本実施形態係るエレベータ1用ブレーキ2の開放装置5は、躯体X2に固定される外管3に挿入されて且つ一端部4aがブレーキ2に接続される内線4を、引くために、前記内線4の他端部4bが接続される回転部6を備える、エレベータ1用ブレーキ2の開放装置5であって、前記内線4の他端部4b側を前記外管3から引き出し可能な最大量を、変更させる変更手段10を備える。
斯かる構成によれば、変更手段10によって、内線4の他端部4b側を外管3から引き出し可能な最大量を、変更することができる。これにより、ブレーキ2を開放するために必要となる内線4の引き量を、確実に確保することができる。
また、本実施形態係るエレベータ1用ブレーキ2の開放装置5は、前記回転部6を回転する際に操作される操作部8を備え、前記回転部6は、前記操作部8を接続する操作接続部6eを備え、前記変更手段10は、前記回転部6に対する前記操作部8の位置を変更できるように、前記操作接続部6eを、前記回転部6の周方向D4で離すようにして複数備える、という構成である。
斯かる構成によれば、変更手段10は、操作接続部6eを、回転部6の周方向D4で離すようにして複数備えている。これにより、操作部8を接続する操作接続部6eが、変更されることによって、回転部6に対する操作部8の位置が、変更される。したがって、内線4の他端部4b側を外管3から引き出し可能な最大量を、変更することができる。
なお、エレベータ1及び開放装置5は、上記した実施形態の構成に限定されるものではなく、また、上記した作用効果に限定されるものではない。また、エレベータ1及び開放装置5は、本発明の要旨を逸脱しない範囲内において種々変更を加え得ることは勿論である。例えば、上記した複数の実施形態の各構成や各方法等を任意に採用して組み合わせてもよく(1つの実施形態に係る各構成や各方法等を他の実施形態に係る構成や方法等に適用してもよく)、さらに、下記する各種の変更例に係る構成や方法等を任意に一つ又は複数選択して、上記した実施形態に係る構成や方法等に採用してもよいことは勿論である。
上記実施形態に係る開放装置5においては、回転部6は、手動で回転される、という構成である。しかしながら、開放装置5は、斯かる構成に限られない。例えば、開放装置5は、駆動源(例えば、モータ)を備えており、回転部6は、駆動源によって回転される、という構成でもよい。
1…エレベータ、1a…ロープ、1b…綱車、1c…巻上機、1d…回転体、1e…固定具、2…ブレーキ、2a…不動部、2b…可動部、3…外管、3a…一端部、3b…他端部、4…内線、4a…一端部、4b…他端部、5…開放装置、5a…ネジ体、6…回転部、6a…回転本体部、6b…軸部、6c…溝、6d…内線接続部、6e…操作接続部、7…支持部、7a…ベース部、7b…外管固定部、7c…板部、7d…保持部、7e…孔部、7f…回転接続部、7g…ネジ孔、8…操作部、9…規制部、9a…ネジ体、10…変更手段、D1…(第1)水平方向、D2…(第2)水平方向、D3…鉛直方向、D4…周方向、X1…昇降路、X2…躯体

Claims (6)

  1. 躯体に固定される外管に挿入されて且つ一端部がブレーキに接続される内線を、引くために、前記内線の他端部が接続される回転部を備える、エレベータ用ブレーキの開放装置であって、
    記内線の他端部側を前記外管から引き出し可能な最大量を、前記回転部が回転操作されて前記内線が引かれることによって変更させる変更手段を備える、エレベータ用ブレーキの開放装置。
  2. 躯体に固定される外管に挿入されて且つ一端部がブレーキに接続される内線を、引くために、前記内線の他端部が接続される回転部を備える、エレベータ用ブレーキの開放装置であって、
    前記内線の他端部側を前記外管から引き出し可能な最大量を、変更させる変更手段と、
    前記回転部を支持する支持部と、を備え、
    前記支持部は、前記回転部を接続する回転接続部を備え、
    前記変更手段は、前記外管に対する前記回転部の位置を変更できるように、前記回転接続部を複数備える、エレベータ用ブレーキの開放装置。
  3. 前記回転部は、前記回転接続部に接続される凸状の軸部を備え、
    前記回転接続部は、前記軸部が挿入されて且つ前記軸部を下方から支持する孔部を備える、請求項2に記載のエレベータ用ブレーキの開放装置。
  4. 躯体に固定される外管に挿入されて且つ一端部がブレーキに接続される内線を、引くために、前記内線の他端部が接続される回転部を備える、エレベータ用ブレーキの開放装置であって、
    前記内線の他端部側を前記外管から引き出し可能な最大量を、変更させる変更手段を備え、
    前記回転部は、前記内線の他端部を接続する内線接続部を備え、
    前記変更手段は、前記回転部に対する前記内線の他端部の位置を変更できるように、前記内線接続部を、前記回転部の周方向で離すようにして複数備える、エレベータ用ブレーキの開放装置。
  5. 躯体に固定される外管に挿入されて且つ一端部がブレーキに接続される内線を、引くために、前記内線の他端部が接続される回転部を備える、エレベータ用ブレーキの開放装置であって、
    前記内線の他端部側を前記外管から引き出し可能な最大量を、変更させる変更手段と、
    前記回転部を回転する際に操作される操作部と、を備え、
    前記回転部は、前記操作部を接続する操作接続部を備え、
    前記変更手段は、前記回転部に対する前記操作部の位置を変更できるように、前記操作接続部を、前記回転部の周方向で離すようにして複数備える、エレベータ用ブレーキの開放装置。
  6. かごを停止させるためのブレーキと、
    躯体に固定される外管と、
    前記外管に挿入され、一端部が前記ブレーキに接続される内線と、
    前記1〜5の何れか1項に記載の開放装置と、を備える、エレベータ。
JP2018106992A 2018-06-04 2018-06-04 エレベータ用ブレーキの開放装置及びエレベータ Active JP6814411B2 (ja)

Priority Applications (1)

Application Number Priority Date Filing Date Title
JP2018106992A JP6814411B2 (ja) 2018-06-04 2018-06-04 エレベータ用ブレーキの開放装置及びエレベータ

Applications Claiming Priority (1)

Application Number Priority Date Filing Date Title
JP2018106992A JP6814411B2 (ja) 2018-06-04 2018-06-04 エレベータ用ブレーキの開放装置及びエレベータ

Publications (2)

Publication Number Publication Date
JP2019210090A JP2019210090A (ja) 2019-12-12
JP6814411B2 true JP6814411B2 (ja) 2021-01-20

Family

ID=68846347

Family Applications (1)

Application Number Title Priority Date Filing Date
JP2018106992A Active JP6814411B2 (ja) 2018-06-04 2018-06-04 エレベータ用ブレーキの開放装置及びエレベータ

Country Status (1)

Country Link
JP (1) JP6814411B2 (ja)

Families Citing this family (1)

* Cited by examiner, † Cited by third party
Publication number Priority date Publication date Assignee Title
CN118789347B (zh) * 2024-09-12 2024-11-15 深圳市华亚数控机床有限公司 一种电梯部件加工用万能机床

Also Published As

Publication number Publication date
JP2019210090A (ja) 2019-12-12

Similar Documents

Publication Publication Date Title
US8157077B2 (en) Clutch device for electric winches
JP5861252B2 (ja) エレベータ巻上機の非常救出装置
JP2008260588A (ja) エレベーター用巻上機
JP6814411B2 (ja) エレベータ用ブレーキの開放装置及びエレベータ
US20230242377A1 (en) Brake disc releasing device, turning device, elevator rescue kit and method
JP6231248B1 (ja) エレベーターロープの交換支援用ブレーキ装置
JP5084838B2 (ja) エレベータ巻上機
KR101581137B1 (ko) 완강기의 오일공급구조
JP2010126358A (ja) エレベータのかご手摺装置
JP4299043B2 (ja) エレベータ巻上機のブレーキ開放装置およびその操作方法
CN222026218U (zh) 拉线器以及拉线器用的板部件
JP4291457B2 (ja) エレベータ巻上機のブレーキ解放装置
JP6120921B2 (ja) エレベータ用ワイヤロープ交換機
JP6319051B2 (ja) エレベータ用巻上機の手動操作装置
JP5709679B2 (ja) エレベータ巻上げ機の人力駆動装置
JP6587150B2 (ja) エレベータ用巻上装置、エレベータ、及び巻上装置用ロープカバー
JP5654863B2 (ja) エレベータのかご装置
JP4672337B2 (ja) エレベータ巻上機のブレーキ解放装置
KR100571537B1 (ko) 엘리베이터용 권양기
JP6112208B2 (ja) エレベータのかご
JP6517722B2 (ja) エレベータ装置
JP6944139B2 (ja) ガバナロープの振動抑制装置及びエレベータ
JPWO2017002232A1 (ja) エレベータの巻上機の手動駆動方法、および、エレベータの巻上機の手動駆動装置
WO2006059380A1 (ja) エレベータの巻上機
JP5157854B2 (ja) ワイヤロープの自転式巻き取り装置

Legal Events

Date Code Title Description
A621 Written request for application examination

Free format text: JAPANESE INTERMEDIATE CODE: A621

Effective date: 20190701

A131 Notification of reasons for refusal

Free format text: JAPANESE INTERMEDIATE CODE: A131

Effective date: 20200728

A521 Request for written amendment filed

Free format text: JAPANESE INTERMEDIATE CODE: A523

Effective date: 20200814

A02 Decision of refusal

Free format text: JAPANESE INTERMEDIATE CODE: A02

Effective date: 20200902

A521 Request for written amendment filed

Free format text: JAPANESE INTERMEDIATE CODE: A523

Effective date: 20201021

C60 Trial request (containing other claim documents, opposition documents)

Free format text: JAPANESE INTERMEDIATE CODE: C60

Effective date: 20201021

A911 Transfer to examiner for re-examination before appeal (zenchi)

Free format text: JAPANESE INTERMEDIATE CODE: A911

Effective date: 20201102

C21 Notice of transfer of a case for reconsideration by examiners before appeal proceedings

Free format text: JAPANESE INTERMEDIATE CODE: C21

Effective date: 20201110

TRDD Decision of grant or rejection written
A01 Written decision to grant a patent or to grant a registration (utility model)

Free format text: JAPANESE INTERMEDIATE CODE: A01

Effective date: 20201120

A61 First payment of annual fees (during grant procedure)

Free format text: JAPANESE INTERMEDIATE CODE: A61

Effective date: 20201203

R150 Certificate of patent or registration of utility model

Ref document number: 6814411

Country of ref document: JP

Free format text: JAPANESE INTERMEDIATE CODE: R150

R250 Receipt of annual fees

Free format text: JAPANESE INTERMEDIATE CODE: R250

R250 Receipt of annual fees

Free format text: JAPANESE INTERMEDIATE CODE: R250

R250 Receipt of annual fees

Free format text: JAPANESE INTERMEDIATE CODE: R250