JP6726869B2 - 接点装置および電磁継電器 - Google Patents

接点装置および電磁継電器 Download PDF

Info

Publication number
JP6726869B2
JP6726869B2 JP2019083348A JP2019083348A JP6726869B2 JP 6726869 B2 JP6726869 B2 JP 6726869B2 JP 2019083348 A JP2019083348 A JP 2019083348A JP 2019083348 A JP2019083348 A JP 2019083348A JP 6726869 B2 JP6726869 B2 JP 6726869B2
Authority
JP
Japan
Prior art keywords
contact
movable
holder
axis
base
Prior art date
Legal status (The legal status is an assumption and is not a legal conclusion. Google has not performed a legal analysis and makes no representation as to the accuracy of the status listed.)
Active
Application number
JP2019083348A
Other languages
English (en)
Other versions
JP2019117809A (ja
Inventor
浩司 横山
浩司 横山
智史 坂井
智史 坂井
Current Assignee (The listed assignees may be inaccurate. Google has not performed a legal analysis and makes no representation or warranty as to the accuracy of the list.)
Panasonic Intellectual Property Management Co Ltd
Original Assignee
Panasonic Intellectual Property Management Co Ltd
Priority date (The priority date is an assumption and is not a legal conclusion. Google has not performed a legal analysis and makes no representation as to the accuracy of the date listed.)
Filing date
Publication date
Application filed by Panasonic Intellectual Property Management Co Ltd filed Critical Panasonic Intellectual Property Management Co Ltd
Priority to JP2019083348A priority Critical patent/JP6726869B2/ja
Publication of JP2019117809A publication Critical patent/JP2019117809A/ja
Priority to JP2020100394A priority patent/JP6948627B2/ja
Application granted granted Critical
Publication of JP6726869B2 publication Critical patent/JP6726869B2/ja
Active legal-status Critical Current
Anticipated expiration legal-status Critical

Links

Images

Landscapes

  • Contacts (AREA)

Description

本発明は、接点装置および電磁継電器に関する。
従来、固定接点に可動接触子が接離する接点装置が知られている(例えば特許文献1参照)。特許文献1に記載された接点装置は、可動接触子を保持する保持体と、保持体に連結される可動軸とを備えている。
特開2012−22982号公報
ところで、特許文献1に記載された従来の接点装置は、接触子ホルダ(保持体)がベースの内面に接触することによって、接触子ホルダおよび可動接触子の回転を規制している。
しかしながら、特許文献1に記載された従来の接点装置は、接触子ホルダおよび可動接触子が回転した状態では、可動接触子とベースの内面との間の距離が近くなり、遮断に必要なアークスペースが狭くなってしまうという問題があった。
本発明は上記の点に鑑みてなされた発明であり、本発明の目的は、簡単な構成でありながら、アークスペースを確保し、かつ、弧絡を抑制することができる接点装置および電磁継電器を提供することにある。
本発明の接点装置は、固定接点を有する固定端子と、第1軸に沿って延び、前記固定接点に対向する可動接点を有する可動接触子と、前記第1軸に直交する第2軸に沿って延び、前記第2軸に沿って移動可能に設けられた可動軸と、前記可動接触子の上方に設けられた調整部と、前記可動接触子の下方に設けられたヨークと、前記可動接触子と前記調整部と前記ヨークとを保持する接触子ホルダと、前記固定接点、前記可動接触子、前記調整部、前記ヨークおよび前記接触子ホルダを収納する中空箱型のベースと、を備え、前記可動軸の移動に伴って、前記接触子ホルダおよび前記可動接触子は前記第2軸に沿って移動し、前記可動接触子が前記第2軸に沿って移動することで、前記可動接点が前記固定接点に接離し、前記ベースを形成する周壁は、前記第1軸に沿って延び、前記第1軸と前記第2軸に直交する第3軸において互いに対向する第1の内面および第2の内面を有し、前記第1の内面から、前記第3軸に沿って前記第2の内面に向かって第1突出部が突出し、前記第2の内面から、前記第3軸に沿って前記第1の内面に向かって第2突出部が突出し、前記可動接触子は、前記第2軸周りに回転可能に設けられており、前記第1突出部および前記第2突出部は、前記第2軸周りの前記可動接触子または前記接触子ホルダの回転を規制するように配置されている。
この接点装置において、前記第3の方向において前記接触子ホルダの下部領域の幅が前記接触子ホルダの上部領域の幅よりも大きいことが好ましい。
この接点装置において、前記突出部の少なくとも先端面は曲面であり、前記接触子ホルダのうちの前記突出部と対向する面は平面であることが好ましい。
この接点装置において、前記接触子ホルダは、前記突出部と対向する位置に凸領域を有することが好ましい。
この接点装置において、前記接触子ホルダは、前記突出部に当接する樹脂部材を含むことが好ましい。
この接点装置において、前記突出部は、前記第1の方向に並んで前記ベースに複数設けられていることが好ましい。
この接点装置において、前記突出部は、前記ベースのうち前記第3の方向において向かい合う一対の内面に一対設けられていることが好ましい。
本発明の電磁継電器は、前記接点装置と、前記可動接触子が前記固定接点に接離するように前記可動軸を駆動する駆動装置とを備える。
本発明では、アークスペースを確保し、かつ、弧絡を抑制することができる。
実施形態1に係る電磁継電器の図2のA−A線の断面図である。 実施形態1に係る電磁継電器の外観斜視図である。 実施形態1に係る電磁継電器の図2のB−B線の断面図である。 実施形態1に係る電磁継電器の図2のC−C線の断面図である。 実施形態1に係る電磁継電器において可動接触子が回転している状態の断面図である。 実施形態1に係る電磁継電器において可動接触子が回転している状態の断面図である。 実施形態1に係る電磁継電器の要部の拡大図である。 実施形態1の変形例に係る電磁継電器の断面図である。 実施形態1の他の変形例に係る電磁継電器の断面図である。 実施形態2に係る電磁継電器の要部の拡大図である。
(実施形態1)
実施形態1に係る電磁継電器1は、図1〜3に示すように、接点装置2と、駆動装置3と、中空箱型のハウジング4とを備えている。ハウジング4には、接点装置2と駆動装置3とが収納されている。
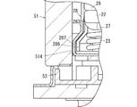
接点装置2は、一対の固定端子21と、可動接触子22と、接圧ばね23と、ばね受け部24と、可動軸25と、調整部26と、ヨーク27と、接触子ホルダ28と、ベース(ケース)51と、連結体52と、絶縁部材53とを備えている。
一対の固定端子21の各々は、銅などの導電性材料によって略円柱状に形成されている。各固定端子21の下端には、固定接点211が設けられている。そして、各固定端子21は、ベース51の貫通孔511に挿通されて設けられ、上端をベース51の上面から突出させた状態でベース51にろう付けによって接合されている。
一対の固定接点211は、一対の固定端子21の下端に固着されている。一対の固定接点211は、第1の方向(図3の左右方向)に並んでいる。なお、各固定接点211は、固定端子21と一体に形成されていてもよい。
可動接触子22は、一対の固定接点211に接離する。より詳細には、可動接触子22は、第1の方向(図3の左右方向)と直交する第2の方向(図3の上下方向)において一対の固定接点211に接離する。可動接触子22は、左右方向(図3の左右方向)に長い平板状に形成され上面の左右両端側に可動接点221を有している。つまり、一対の可動接点221は、可動接触子22の左右方向の両端部分である。一対の可動接点221は、
一対の固定接点211に所定の間隔を空けて対向する位置に形成されている。また、可動接触子22には、左右方向(図3の左右方向)の略中央部に嵌合するようにヨーク27が設けられている。
接圧ばね23は、コイルばねから成り、伸縮方向を上下方向に向けた状態でばね受け部24とヨーク27との間に配置されている。接圧ばね23の上端側内径部にヨーク27の位置決め凸部271が嵌め込まれることによって、接圧ばね23は、ヨーク27および可動接触子22に対して位置決めされている。
ばね受け部24は、例えば樹脂などの電気的に絶縁性を有する材料で略矩形板状に形成されている。ばね受け部24の基部241の上面の略中央には、略円板上の位置決め凸部242が形成されている。そして、接圧ばね23の下端側内径部にばね受け部24の位置決め凸部242が嵌め込まれることによって、ばね受け部24は、接圧ばね23に対して位置決めされている。
可動軸25は、可動接触子22が一対の固定接点211に接離するように接触子ホルダ28を第2の方向に移動させる。言い換えると、可動軸25は、可動接触子22が一対の固定接点211に接離するように軸方向(図3の上下方向)に移動する。すなわち、可動軸25は、接触子ホルダ28に接続されて可動接触子22が一対の固定接点211に接離するように第2の方向に移動する。可動軸25は、上下方向に長い略丸棒状に形成されている。可動軸25の下端には、駆動装置3の可動鉄心34が接続されている。可動軸25の上端は、ばね受け部24に接続されている。可動軸25は、固定鉄心33の貫通孔331、復帰ばね36および可動鉄心34の貫通孔341に挿通された状態で、可動鉄心34に固定される。
調整部26は、磁性体材料で例えば略矩形板状に形成されている。そして、調整部26は、可動接触子22の左右方向の略中央部の上面に載置され、接触子ホルダ28に固定される。なお、調整部26は、板状に形成されていることには限定されず、他の形状に形成されていてもよい。
ヨーク27は、磁性体材料からなり、左右方向から見て上方が開口した断面略U字状に形成されている。そして、ヨーク27は、可動接触子22の略中央部を前後方向から挟持するように、可動接触子22の略中央部の下方側に配置されている。また、ヨーク27の下面の略中央には、略円板状の位置決め凸部271が形成されている。
接触子ホルダ28は、図6に示すように、可動接触子22を保持する。接触子ホルダ28は、一対の保持部281を備えている。各保持部281は、底部282と、側部283とを備えている。底部282および側部283は、非磁性体材料を折り曲げ加工することによって形成されている。そして、一対の保持部281は、互いに前後方向に離間した状態でばね受け部24と一体成形されている。底部282および側部283と接圧ばね23との間には、ばね受け部24が介在している。すなわち、ばね受け部24は、底部282と接圧ばね23とを電気的に絶縁している。
一対の底部282は、調整部26とで可動接触子22、ヨーク27および接圧ばね23を上下方向に挟持する。したがって、可動接触子22は、接圧ばね23によって上方へ押圧され、可動接触子22の上面が調整部26に当接することによって、固定接点211側への移動が規制される。側部283は、底部282の端部から上方向に延びて設けられている。一対の側部283は、前後方向(図6の左右方向)に対向している。各側部283には、可動接触子22およびヨーク27が摺接する。各側部283が調整部26に当接することによって、一対の側部283は、調整部26を前後方向に挟持している。各底部2
82は、例えば板状に形成されている。ただし、各底部282は、板状に形成されていることには限定されず、他の形状に形成されていてもよい。また、各側部283は、例えば板状に形成されている。ただし、各側部283は、板状に形成されていることには限定されず、他の形状に形成されていてもよい。
可動接触子22の上方に設けられている調整部26および可動接触子22の下方に設けられているヨーク27は、磁性体材料で形成され、接触子ホルダ28は、非磁性体材料で形成されている。これにより、固定接点211と可動接点221とが接触して可動接触子22に電流が流れた際に、可動接触子22の周囲に可動接触子22を中心として調整部26およびヨーク27を通る磁束が形成される。そして、調整部26とヨーク27との間に磁気吸引力が働き、この磁気吸引力によって固定接点211と可動接点221との間に発生する電磁反発力を抑制し、固定接点211と可動接点221との間における接圧の低下を抑制する。
ベース51は、図3に示すように、セラミックなどの耐熱性材料から下面が開口した中空箱型に形成されている。ベース51は、一対の固定接点211、可動接触子22および接触子ホルダ28を収納している。ベース51の上面には、左右方向に並ぶように2つの貫通孔511が形成されている。
連結体52は、第1端がベース51の開口周縁にろう付けによって接合されている。そして、連結体52の第2端は、駆動装置3の継鉄35のうちの第1の継鉄板351とろう付けによって接合されている。
絶縁部材53は、底面部531と、突出部532とを備えている。底面部531の略中央には、可動軸25が挿通される挿入孔533が形成されている。絶縁部材53は、セラミックや合成樹脂などの絶縁性材料から上面が開口した略中空直方体状に形成され、周壁の上端側がベース51の周壁の内面に当接する。これにより、絶縁部材53は、ベース51の開口部において、固定接点211と可動接点221との間で発生するアークを、ベース51と連結体52との接合部から絶縁する。
ところで、本実施形態の接点装置2では、ばね受け部24は、可動接触子22において一対の固定接点211側とは反対側に配置されている。そして、ばね受け部24は、基部241と、位置決め凸部242と、突出部243と、隔壁244とを備えている。隔壁244は、可動軸25の周囲に設けられている。より詳細には、隔壁244は、例えば円筒状に形成されており、可動軸25の軸方向に沿って基部241から絶縁部材53に向かって延びて設けられている。
上記のような隔壁244が設けられていることによって、固定接点211と可動接触子22との接離によって発生した異物が挿入孔533に侵入することを低減できる。
ところで、本実施形態の接点装置2は、図1に示すように、複数(図1では4個)の突出部512〜515を備えている。複数の突出部512〜515の各々は、第1の方向(図1の左右方向)および第2の方向(図1の紙面と直交する方向)のいずれとも直交する第3の方向(図1の上下方向)において、ベース51のうちの接触子ホルダ28と対向する位置から第3の方向に突出している。
また、接触子ホルダ28は、図6に示すように、第3の方向(図6の左右方向)において、接触子ホルダ28の下部領域の幅が接触子ホルダ28の上部領域の幅よりも大きい。より具体的には、接触子ホルダ28において、一対の保持部281は、複数の突出部512〜515と対向する位置に複数の凸領域284〜287を有している。
さらに、複数の突出部512〜515の各々は曲面である。一方、接触子ホルダ28のうちの突出部512〜515と対向する面は平面である。これにより、曲面と平面との安定的な接触を実現することができる。
続いて、本実施形態に係る接点装置2の動作について図3を参照しながら説明する。まず、駆動装置3によって可動軸25が上方へ変位すると、可動軸25の変位に伴って可動軸25に接続されたばね受け部24および接触子ホルダ28が上方へ変位する。ばね受け部24および接触子ホルダ28の変位に伴って、可動接触子22が上方へ移動する。そして、可動接触子22が、一対の固定接点211に当接して接点間が導通する。
このような接点装置2の動作において、可動接触子22および接触子ホルダ28が可動軸25を中心に時計回りに回転した場合、図5に示すように、可動接触子22および接触子ホルダ28がベース51の内面に当接せずに、凸領域284が突出部512に当接し、凸領域287が突出部515に当接する。一方、可動接触子22および接触子ホルダ28が可動軸25を中心に反時計回りに回転した場合、可動接触子22および接触子ホルダ28がベース51の内面に当接せずに、凸領域285が突出部513に当接し、凸領域286が突出部514に当接する。
次に、駆動装置3について図3を参照しながら詳細を説明する。
駆動装置3は、電磁石ブロックであり、図3に示すように、可動接触子22が一対の固定接点211に接離するように可動軸25を駆動する。
駆動装置3は、励磁巻線31と、コイルボビン32と、固定鉄心33と、可動鉄心34と、継鉄35と、復帰ばね36と、円筒部材37と、ブッシュ38とを備えている。また、駆動装置3は、励磁巻線31の両端がそれぞれ接続される一対のコイル端子を備えている。
コイルボビン32は、樹脂材料によって上端および下端に鍔部321,322が形成された略円筒状に形成され、鍔部321,322間の円筒部323に励磁巻線31が巻回されている。また、円筒部323の下端側の内径は、上端側の内径よりも拡径されている。
励磁巻線31は、コイルボビン32の鍔部321に設けられる一対の端子部に端部が各々接続され、端子部に接続されるリード線を介して一対のコイル端子とそれぞれ接続されている。各コイル端子は、銅などの導電性材料から形成され、半田などによってリード線と接続されている。
固定鉄心33は、磁性材料によって略円柱状に形成されており、コイルボビン32内に配置されて固定されている。より詳細には、固定鉄心33は、コイルボビン32の円筒部323に収納されている円筒部材37内に設けられている。
可動鉄心34は、磁性材料によって略円筒状に形成されており、軸方向において固定鉄心33と対向するようにコイルボビン32内に配置されている。より詳細には、可動鉄心34は、円筒部材37内に設けられている。可動鉄心34は、可動軸25と固定され、励磁巻線31への通電に応じて上下方向に移動する。より詳細には、励磁巻線31が通電されると、可動鉄心34は上方向に移動する。一方、励磁巻線31への通電が遮断されると、可動鉄心34は下方向に移動する。
継鉄35は、第1の継鉄板351と、第2の継鉄板352と、一対の第3の継鉄板35
3とを備えている。第1の継鉄板351は、コイルボビン32の上端側に設けられている。第2の継鉄板352は、コイルボビン32の下端側に設けられている。一対の第3の継鉄板353は、第2の継鉄板352の左右両端から第1の継鉄板351側へ延びて設けられている。第1の継鉄板351は、略矩形板状に形成されている。第1の継鉄板351の上面側略中央には、挿通孔354が形成されている。挿通孔354には、固定鉄心33の上端部が挿通されている。
復帰ばね36は、固定鉄心33の貫通孔331の下部および可動鉄心34の貫通孔341の上部に挿入されている。復帰ばね36は、固定鉄心33と可動鉄心34との間に圧縮状態で設けられており、可動鉄心34を下方へ弾性付勢する。
円筒部材37は、有底円筒状に形成されており、コイルボビン32の円筒部323に収納されている。円筒部材37の上端には鍔部371が形成されている。鍔部371は、コイルボビン32の鍔部321と第1の継鉄板351との間に位置する。ここで、円筒部材37の円筒部372内の下端側には、可動鉄心34が設けられている。さらに、円筒部372内には、固定鉄心33が設けられている。
ブッシュ38は、磁性材料によって円筒状に形成されている。ブッシュ38は、コイルボビン32における下端側の内周面と円筒部材37の外周面との間に形成される隙間部分に嵌合されている。ブッシュ38は、第1〜3の継鉄板351〜353と固定鉄心33と可動鉄心34とともに磁気回路を形成している。
次に、ハウジング4について図2,3を参照しながら詳細を説明する。
ハウジング4は、樹脂材料によって略矩形箱状に形成されており、上面が開口した中空箱型のハウジング本体41と、ハウジング本体41の開口に覆設する中空箱型のカバー42とから構成されている。
ハウジング本体41は、図2に示すように、左右側壁の前端に、電磁継電器1を取付面にねじ止めによって固定する際に用いられる挿通孔が形成された一対の突部411が設けられている。また、図3に示すように、ハウジング本体41の上端側の開口周縁には段部412が形成されており、上端は下端側に比べて内径が大きくなっている。
カバー42は、下面が開口した中空箱型に形成されている。カバー42の上面部421には、上面部421を左右に略2分割する仕切り部422が形成されている。仕切り部422によって2分割された上面部421には、それぞれ固定端子21が挿通する一対の挿通孔423が形成されている。
また、ハウジング4に接点装置2および駆動装置3が収納される際には、継鉄35の第2の継鉄板352とハウジング本体41の底面部413との間に下側クッションゴム43が介装される。そして、ベース51とカバー42との間には、固定端子21が挿通する挿通孔441が形成された上側クッションゴム44が介装されている。
上記構成からなる電磁継電器1は、復帰ばね36の付勢力によって可動鉄心34が下方へ摺動し、それに伴って可動軸25も下方へ移動する。これにより、可動接触子22は、調整部26によって下方へ押圧されると調整部26とともに下方へ移動する。そのため、初期状態では可動接点221が固定接点211と離間している。
そして、励磁巻線31が通電され、可動鉄心34が固定鉄心33に吸引されて上方へ摺動すると、可動鉄心34に連結された可動軸25も連動して上方へ移動する。これにより
、可動軸25に接続されたばね受け部24(接触子ホルダ28)が固定接点211側へ移動し、接触子ホルダ28の上記移動に伴って可動接触子22も上方へ移動する。そして、可動接点221が固定接点211に当接して固定接点211と可動接点221とが導通する。
また、励磁巻線31への通電がオフされると、復帰ばね36の付勢力によって可動鉄心34が下方へ摺動し、それに伴って可動軸25も下方へ向かって移動する。これにより、ばね受け部24(接触子ホルダ28)も下方へ移動し、接触子ホルダ28の上記移動に伴って可動接触子22も下方へ移動するので、固定接点211と可動接点221とが離間する。
なお、本実施形態の電磁継電器1の接点装置2では、一対の可動接点221は、可動接触子22の一部であって、可動接触子22と一体に設けられているが、本実施形態の変形例として、一対の可動接点は、可動接触子22とは別体に設けられていてもよい。このような接点装置2においても、可動軸25の移動によって、可動接触子22とは別体に設けられた可動接点が可動接触子22と一体に移動し、可動接点が固定接点211に接離する。
以上説明した本実施形態に係る接点装置2では、可動接触子22および接触子ホルダ28が可動軸25の周りに回転した場合に、接触子ホルダ28が突出部512〜515に接触する。これにより、可動接触子22が回転規制された状態であっても、ベース51内において可動接触子22とベース51との間に十分な空間を確保することができる。その結果、一対の固定接点211と可動接触子22との間に発生するアークを延ばすためのアークスペースを確保することができ、弧絡を抑制することができる。
本実施形態に係る接点装置2では、可動接触子22および接触子ホルダ28が可動軸25の周りに回転した場合に、接触子ホルダ28が突出部512〜515に接触する。これにより、可動接触子22が回転規制された状態であっても、ベース51内の上部領域において可動接触子22とベース51との間に十分な空間を確保することができるので、アークスペースを十分に確保することができ、弧絡をより抑制することができる。特に、ベース51が下部で開口している場合、形状精度の高いベース入口部(下部)で回転規制することができるので、回転規制の精度を向上させることができる。
本実施形態に係る接点装置2では、曲面と平面との安定的な接触を実現することができるので、回転規制時のかじ込みを防止することができる。特に、ベース51がセラミックである場合、セラミックが欠けるのを防止することができる。
本実施形態に係る接点装置2では、点接触で回転規制を行うことができるので、回転規制の精度を向上させることができる。特に、ベース51が下部で開口している場合、形状精度の高いベース入口部(下部)で回転規制することができるので、回転規制の精度を向上させることができる。
なお、本実施形態では、接点装置2は、第3の方向に対向するベース51の内面の両方に、第1の方向に並んでベース51に複数の突出部512〜515を備えているのに対し、本実施形態の変形例として、接点装置2は、図8に示すように、第3の方向に対向するベース51の片方の内面にのみ複数の突出部512,513を備えていてもよい。
本変形例に係る接点装置2では、可動接触子22および接触子ホルダ28が可動軸25の周りにどちらに回転しても、ベース51内において可動接触子22とベース51との間に十分な空間を確保することができる。これにより、可動接触子22がどちらに回転して
も、アークスペースを確保することができ、弧絡を抑制することができる。
また、本実施形態の変形例として、接点装置2は、図9に示すように、ベース51内のうち第3の方向において向かい合う一対の内面に一対の突出部513,515のみを備えていてもよい。すなわち、接点装置2は、ベース51の各内面に1個ずつの突出部513,515を備えていてもよい。
本変形例に係る接点装置2では、可動接触子22および接触子ホルダ28が可動軸25の周りにどちらに回転しても、ベース51内において可動接触子22とベース51との間に十分な空間を確保することができる。これにより、可動接触子22がどちらに回転しても、アークスペースを確保することができ、弧絡を抑制することができる。
(実施形態2)
実施形態2に係る接点装置2は、図10に示すように、突出部512〜515に樹脂部材29が当接する点で、実施形態1に係る接点装置2(図3参照)と相違する。なお、実施形態1の電磁継電器1(図3参照)と同様の構成要素については、同一の符号を付して説明を省略する。
本実施形態の接触子ホルダ28は、複数の樹脂部材29を備えている。複数の樹脂部材29は、それぞれ複数の突出部512〜515に当接する。各樹脂部材29は、接触子ホルダ28の金属部分との同時成形によって作製される。なお、実施形態1の接触子ホルダ28(図6参照)と同様の機能については説明を省略する。
以上説明した本実施形態に係る接点装置2では、突出部512〜515に樹脂部材29が当接することによって、金属の露出が少なくなり、アークが弧絡する可能性を低減させることができ、弧絡を抑制することができる。
なお、各樹脂部材29は、接触子ホルダ28の金属部分と同時成形ではなく、接触子ホルダ28の金属部分とは別部材であってもよい。この場合、各樹脂部材29は、例えば、接触子ホルダ28の金属部分に貼り付けられる。
1 電磁継電器
2 接点装置
211 固定接点
22 可動接触子
25 可動軸
28 接触子ホルダ
284〜287 凸領域
29 樹脂部材
3 駆動装置
51 ベース
512〜515 突出部

Claims (14)

  1. 定接点を有する固定端子と、
    第1軸に沿って延び、前記固定接点に対向する可動接点を有する可動接触子と、
    前記第1軸に直交する第2軸に沿って延び、前記第2軸に沿って移動可能に設けられた可動軸と、
    前記可動接触子の上方に設けられた調整部と、
    前記可動接触子の下方に設けられたヨークと、
    前記可動接触子と前記調整部と前記ヨークとを保持する接触子ホルダと、
    前記固定接点、前記可動接触子、前記調整部、前記ヨークおよび前記接触子ホルダを収納する中空箱型のベースと、を備え、
    前記可動軸の移動に伴って、前記接触子ホルダおよび前記可動接触子は前記第2軸に沿って移動し、
    前記可動接触子が前記第2軸に沿って移動することで、前記可動接点が前記固定接点に接離し、
    前記ベースを形成する周壁は、前記第1軸に沿って延び、前記第1軸と前記第2軸に直交する第3軸において互いに対向する第1の内面および第2の内面を有し、
    前記第1の内面から、前記第3軸に沿って前記第2の内面に向かって第1突出部が突出し、
    前記第2の内面から、前記第3軸に沿って前記第1の内面に向かって第2突出部が突出し、
    前記可動接触子は、前記第2軸周りに回転可能に設けられており、
    前記第1突出部および前記第2突出部は、前記第2軸周りの前記可動接触子または前記接触子ホルダの回転を規制するように配置された、
    接点装置。
  2. 前記第3の方向において前記接触子ホルダの下部領域の幅が前記接触子ホルダの上部領域の幅よりも大きいことを特徴とする請求項1記載の接点装置。
  3. 第1突出部の先端面および前記第2突出部の先端面は曲面である
    ことを特徴とする請求項1記載の接点装置。
  4. 前記接触子ホルダのうちの前記第1突出部および前記第2突出部と対向する面は平面である
    ことを特徴とする請求項3記載の接点装置。
  5. 更に、
    前記第1の内面から、前記第3軸に沿って前記第2の内面に向かって第3突出部が突出し、
    前記第2の内面から、前記第3軸に沿って前記第1の内面に向かって第4突出部が突出している
    ことを特徴とする請求項1〜4のいずれか1項に記載の接点装置。
  6. 前記調整部は、磁性体からなることを特徴とする請求項1〜5のいずれか1項に記載の接点装置。
  7. 前記ヨークは、磁性体からなることを特徴とする請求項1〜6のいずれか1項に記載の接点装置。
  8. 前記接触子ホルダは、非磁性体からなることを特徴とする請求項1〜7のいずれか1項に記載の接点装置。
  9. 前記調整部は、前記接触子ホルダに固定されている、請求項1〜8のいずれか1項に記載の接点装置。
  10. 前記ヨークは、前記可動接触子を挟持するように前記可動接触子の下方に設けられている、請求項1〜9のいずれか1項に記載の接点装置。
  11. 互いに直交する第1の方向および第2の方向のうちの前記第2の方向に移動する可動軸と、
    前記可動軸に対して、前記第1の方向に配置される固定接点と、
    前記固定接点に接離する可動接触子と、
    前記可動接触子を保持し、前記可動接触子が前記固定接点に接離するように前記可動軸により前記第2の方向に移動させられる接触子ホルダと、
    前記固定接点、前記可動接触子および前記接触子ホルダを収納するベースと、
    前記第1の方向および前記第2の方向のいずれとも直交する方向を第3の方向とした場合、前記ベースのうち前記第3の方向において向かい合う一対の内面の各々に設けられており、前記ベースの各内面から前記第3の方向に突出する突出部と、を備え、
    前記可動軸を通りかつ前記第1の方向に直交する平面にて2分割される前記ベースの内部空間の一方の領域において、前記ベースの内面における前記突出部の先端の前記第1の方向の両側には、前記突出部の先端を基準として前記第3の方向における前記可動接触子とは反対側に位置する一対の側面が設けられ、
    前記可動接触子が前記可動軸の周りの一方向に回転した場合に、少なくとも1つの前記突出部の先端面を前記接触子ホルダまたは前記可動接触子に接触させ、
    前記第3の方向において前記接触子ホルダの下部領域の幅が前記接触子ホルダの上部領域の幅よりも大きいことを特徴とする接点装置。
  12. 互いに直交する第1の方向および第2の方向のうちの前記第2の方向に移動する可動軸と、
    前記可動軸に対して、前記第1の方向に配置される固定接点と、
    前記固定接点に接離する可動接触子と、
    前記可動接触子を保持し、前記可動接触子が前記固定接点に接離するように前記可動軸により前記第2の方向に移動させられる接触子ホルダと、
    前記固定接点、前記可動接触子および前記接触子ホルダを収納するベースと、
    前記第1の方向および前記第2の方向のいずれとも直交する方向を第3の方向とした場合、前記ベースのうち前記第3の方向において向かい合う一対の内面の各々に設けられており、前記ベースの各内面から前記第3の方向に突出する突出部と、を備え、
    前記可動軸を通りかつ前記第1の方向に直交する平面にて2分割される前記ベースの内部空間の一方の領域において、前記ベースの内面における前記突出部の先端の前記第1の方向の両側には、前記突出部の先端を基準として前記第3の方向における前記可動接触子とは反対側に位置する一対の側面が設けられ、
    前記可動接触子が前記可動軸の周りの一方向に回転した場合に、少なくとも1つの前記突出部の先端面を前記接触子ホルダまたは前記可動接触子に接触させ、
    前記接触子ホルダは、前記突出部と対向する位置に凸領域を有することを特徴とする接点装置。
  13. 互いに直交する第1の方向および第2の方向のうちの前記第2の方向に移動する可動軸と、
    前記可動軸に対して、前記第1の方向に配置される固定接点と、
    前記固定接点に接離する可動接触子と、
    前記可動接触子を保持し、前記可動接触子が前記固定接点に接離するように前記可動軸により前記第2の方向に移動させられる接触子ホルダと、
    前記固定接点、前記可動接触子および前記接触子ホルダを収納するベースと、
    前記第1の方向および前記第2の方向のいずれとも直交する方向を第3の方向とした場合、前記ベースのうち前記第3の方向において向かい合う一対の内面の各々に設けられており、前記ベースの各内面から前記第3の方向に突出する突出部と、を備え、
    前記可動軸を通りかつ前記第1の方向に直交する平面にて2分割される前記ベースの内部空間の一方の領域において、前記ベースの内面における前記突出部の先端の前記第1の方向の両側には、前記突出部の先端を基準として前記第3の方向における前記可動接触子とは反対側に位置する一対の側面が設けられ、
    前記可動接触子が前記可動軸の周りの一方向に回転した場合に、少なくとも1つの前記突出部の先端面を前記接触子ホルダまたは前記可動接触子に接触させ、
    前記接触子ホルダは、前記突出部に当接する樹脂部材を含むことを特徴とする接点装置。
  14. 請求項1〜13のいずれか1項に記載の接点装置と、
    前記可動接触子が前記固定接点に接離するように前記可動軸を駆動する駆動装置と
    を備えることを特徴とする電磁継電器。
JP2019083348A 2019-04-24 2019-04-24 接点装置および電磁継電器 Active JP6726869B2 (ja)

Priority Applications (2)

Application Number Priority Date Filing Date Title
JP2019083348A JP6726869B2 (ja) 2019-04-24 2019-04-24 接点装置および電磁継電器
JP2020100394A JP6948627B2 (ja) 2019-04-24 2020-06-09 電磁継電器およびベース

Applications Claiming Priority (1)

Application Number Priority Date Filing Date Title
JP2019083348A JP6726869B2 (ja) 2019-04-24 2019-04-24 接点装置および電磁継電器

Related Parent Applications (1)

Application Number Title Priority Date Filing Date
JP2015081415A Division JP6528271B2 (ja) 2015-04-13 2015-04-13 接点装置および電磁継電器

Related Child Applications (2)

Application Number Title Priority Date Filing Date
JP2019135148A Division JP6685024B2 (ja) 2019-07-23 2019-07-23 電磁継電器
JP2020100394A Division JP6948627B2 (ja) 2019-04-24 2020-06-09 電磁継電器およびベース

Publications (2)

Publication Number Publication Date
JP2019117809A JP2019117809A (ja) 2019-07-18
JP6726869B2 true JP6726869B2 (ja) 2020-07-22

Family

ID=67304584

Family Applications (1)

Application Number Title Priority Date Filing Date
JP2019083348A Active JP6726869B2 (ja) 2019-04-24 2019-04-24 接点装置および電磁継電器

Country Status (1)

Country Link
JP (1) JP6726869B2 (ja)

Families Citing this family (2)

* Cited by examiner, † Cited by third party
Publication number Priority date Publication date Assignee Title
CN110473744B (zh) * 2019-08-09 2025-01-07 厦门宏发电力电器有限公司 一种基于磁钢进行灭弧的直流继电器
JP7641567B2 (ja) * 2021-04-28 2025-03-07 パナソニックIpマネジメント株式会社 接点装置及び電磁継電器

Family Cites Families (4)

* Cited by examiner, † Cited by third party
Publication number Priority date Publication date Assignee Title
JP2005026183A (ja) * 2003-07-02 2005-01-27 Matsushita Electric Works Ltd 電磁開閉装置
JP5684649B2 (ja) * 2011-05-19 2015-03-18 富士電機機器制御株式会社 電磁接触器
JP5876270B2 (ja) * 2011-11-01 2016-03-02 富士電機株式会社 電磁接触器
JP6175764B2 (ja) * 2012-12-12 2017-08-09 富士電機機器制御株式会社 電磁接触器

Also Published As

Publication number Publication date
JP2019117809A (ja) 2019-07-18

Similar Documents

Publication Publication Date Title
JP6528271B2 (ja) 接点装置および電磁継電器
US9799474B2 (en) Contactor and electromagnetic relay
JP6064262B2 (ja) 接点装置のばね負荷調整構造および、接点装置のばね負荷調整方法
JP5559662B2 (ja) 接点装置
JP5821036B2 (ja) 接点装置
JP7178596B2 (ja) 電磁継電器
JP6726869B2 (ja) 接点装置および電磁継電器
JP6685024B2 (ja) 電磁継電器
JP7380028B2 (ja) リレー
JP6948627B2 (ja) 電磁継電器およびベース
WO2023053686A1 (ja) 電磁継電器
JP7434769B2 (ja) 電磁継電器
JP6667150B2 (ja) 電磁継電器
JP5336271B2 (ja) 接点装置
CN112582209A (zh) 继电器
JP5845467B2 (ja) 接点装置
JP2012022983A (ja) 接点装置
JP5568672B2 (ja) 接点装置
CN112582219A (zh) 继电器
CN112582217A (zh) 继电器
JP2012104358A (ja) 接点装置

Legal Events

Date Code Title Description
A621 Written request for application examination

Free format text: JAPANESE INTERMEDIATE CODE: A621

Effective date: 20190424

A131 Notification of reasons for refusal

Free format text: JAPANESE INTERMEDIATE CODE: A131

Effective date: 20200128

A977 Report on retrieval

Free format text: JAPANESE INTERMEDIATE CODE: A971007

Effective date: 20200130

A521 Written amendment

Free format text: JAPANESE INTERMEDIATE CODE: A523

Effective date: 20200330

TRDD Decision of grant or rejection written
A01 Written decision to grant a patent or to grant a registration (utility model)

Free format text: JAPANESE INTERMEDIATE CODE: A01

Effective date: 20200512

A61 First payment of annual fees (during grant procedure)

Free format text: JAPANESE INTERMEDIATE CODE: A61

Effective date: 20200611

R151 Written notification of patent or utility model registration

Ref document number: 6726869

Country of ref document: JP

Free format text: JAPANESE INTERMEDIATE CODE: R151