JP6698103B2 - 操舵方法 - Google Patents

操舵方法 Download PDF

Info

Publication number
JP6698103B2
JP6698103B2 JP2017554708A JP2017554708A JP6698103B2 JP 6698103 B2 JP6698103 B2 JP 6698103B2 JP 2017554708 A JP2017554708 A JP 2017554708A JP 2017554708 A JP2017554708 A JP 2017554708A JP 6698103 B2 JP6698103 B2 JP 6698103B2
Authority
JP
Japan
Prior art keywords
rudder
propeller
shaft
steering
steered
Prior art date
Legal status (The legal status is an assumption and is not a legal conclusion. Google has not performed a legal analysis and makes no representation as to the accuracy of the status listed.)
Active
Application number
JP2017554708A
Other languages
English (en)
Other versions
JPWO2017098595A1 (ja
Inventor
智文 井上
智文 井上
Current Assignee (The listed assignees may be inaccurate. Google has not performed a legal analysis and makes no representation or warranty as to the accuracy of the list.)
Japan Marine United Corp
Original Assignee
Japan Marine United Corp
Priority date (The priority date is an assumption and is not a legal conclusion. Google has not performed a legal analysis and makes no representation as to the accuracy of the date listed.)
Filing date
Publication date
Application filed by Japan Marine United Corp filed Critical Japan Marine United Corp
Publication of JPWO2017098595A1 publication Critical patent/JPWO2017098595A1/ja
Application granted granted Critical
Publication of JP6698103B2 publication Critical patent/JP6698103B2/ja
Active legal-status Critical Current
Anticipated expiration legal-status Critical

Links

Images

Classifications

    • BPERFORMING OPERATIONS; TRANSPORTING
    • B63SHIPS OR OTHER WATERBORNE VESSELS; RELATED EQUIPMENT
    • B63HMARINE PROPULSION OR STEERING
    • B63H25/00Steering; Slowing-down otherwise than by use of propulsive elements; Dynamic anchoring, i.e. positioning vessels by means of main or auxiliary propulsive elements
    • B63H25/06Steering by rudders
    • B63H25/38Rudders
    • BPERFORMING OPERATIONS; TRANSPORTING
    • B63SHIPS OR OTHER WATERBORNE VESSELS; RELATED EQUIPMENT
    • B63HMARINE PROPULSION OR STEERING
    • B63H25/00Steering; Slowing-down otherwise than by use of propulsive elements; Dynamic anchoring, i.e. positioning vessels by means of main or auxiliary propulsive elements
    • B63H25/06Steering by rudders
    • B63H25/38Rudders
    • B63H2025/388Rudders with varying angle of attack over the height of the rudder blade, e.g. twisted rudders

Landscapes

  • Chemical & Material Sciences (AREA)
  • Engineering & Computer Science (AREA)
  • Combustion & Propulsion (AREA)
  • Mechanical Engineering (AREA)
  • Ocean & Marine Engineering (AREA)
  • Other Liquid Machine Or Engine Such As Wave Power Use (AREA)
  • Organic Low-Molecular-Weight Compounds And Preparation Thereof (AREA)
  • Thin Film Transistor (AREA)
  • Wind Motors (AREA)

Description

本発明は、プロペラ回転流を効果的に回収する船舶用舵、操舵方法及び船舶に関する。
船舶用舵は、船尾配置を容易にし、船尾肥大度を減少させるために、舵のコード長を短くすることが要望される。
この要望を満たし、かつ操縦性能を維持する手段として、例えば特許文献1,2が提案されている。
特許文献1の「大型船用二枚舵システム」では、一基の推進プロペラの後方に一対の高揚力舵を配設する。各高揚力舵は、舵ブレードの頂端部と底端部にそれぞれ頂端板と底端板を有する。また、このシステムでは、各舵ブレードの内舷側の面上で推進プロペラの軸心とほぼ同じ水準位置にほぼ前縁部から後方に向けて所定の翼弦長を有するフィンを設ける。さらに、このシステムでは、各舵ブレードの弦長を推進プロペラ直径の60〜45%に構成する。
特許文献2の「船舶用舵」では、舵本体の水平断面形状が、前縁部形状が円弧状またはこれに類似する形状からなり、舵本体の後方に向かって徐々に断面幅が増加して最大幅に達し、外側に凸の形状から外側に凹の形状に変化しながら断面幅が減少していく。その後、水平断面形状は、後端まで、ほぼ平行な直線で形成される直線状部分を有し、有限幅をもつ後端を有する。
特開2003−26096号公報 特開2007−186204号公報
特許文献1は、一軸二舵システムとして知られている。一軸二舵システムでは二枚の舵をプロペラ後方に左右対称に配置する。一軸二舵システムは多種多様な操船モードを有し、操船性に優れているが、プロペラセンターを外して舵を配置するため、プロペラ回転流のエネルギー回収率が悪化する。そのため、一軸二舵システムではプロペラ回転流のエネルギー回収率の悪化を補填するためのフィンの追加、あるいは舵のコード長を短くした分、船体を延長させて船尾肥大度の減少をはかるのが一般的である。
一方で特許文献2のように、舵自体を高揚力化させる高揚力舵に関する技術も研究されてきた。高揚力舵は、小舵面積かつ高アスペクト比化が可能であり、舵のコード長を短くできる。最新の船舶の舵は概ね高揚力化がはかられており、舵コード長は極限まで短くなっている。従って、更なる性能向上のために既存の一軸二舵システムを適用しても、ベースになる一舵のコード長が既に短くなっており、その効果が得にくいという問題がある。
本発明は、最新船舶の舵性能を更に向上させるために、創案されたものである。すなわち、本発明の目的は、プロペラ回転流のエネルギーを効果的に利用でき、かつ舵の面積および翼厚を更に減少させることができる船舶用舵、操舵方法及び船舶を提供することにある。
本発明によれば、船尾に配置されたプロペラの後方かつ軸線上に上下に配置された上部舵及び下部舵を備え、
前記上部舵と前記下部舵は、前記プロペラの前記軸線上から、左舷側及び右舷側にそれぞれ独立に転舵可能であり、減速時又は減速旋回時に、前記上部舵及び前記下部舵の一方を左舷側に転舵し、他方を右舷側に転舵する、船舶用舵が提供される。
前記上部舵と前記下部舵をそれぞれ独立に転舵可能な上部用舵取機と下部用舵取機を備える。
前記下部舵の肉厚分布は、前記上部舵より薄く構成されている。
プロペラ回転方向を後方から見て、時計回りとした場合、
前記上部舵は、左舷側から右舷側に流れるプロペラ回転流に適した翼形を有し、
前記下部舵は、右舷側から左舷側に流れるプロペラ回転流に適した翼形を有する。
前記上部舵と前記下部舵とは、翼形又は翼形の反り線が相違する。
また、本発明によれば、船尾に配置されたプロペラの後方かつ軸線上に上下に配置された上部舵及び下部舵を準備し、
前記上部舵及び前記下部舵を、前記プロペラの前記軸線上から、左舷側及び右舷側にそれぞれ独立に転舵し、
減速時又は減速旋回時に、前記上部舵及び前記下部舵の一方を左舷側に転舵し、他方を右舷側に転舵する、操舵方法が提供される。
さらに、本発明によれば、上述した船舶用舵を装備した、船舶が提供される。
本発明によれば、プロペラセンター(プロペラの後方かつ軸線上)に上部舵及び下部舵を配置するので、プロペラ回転流のエネルギーを上部舵及び下部舵により効果的に回収できる。
特に、本発明の船舶用舵は、直進時及び旋回時に、上部舵と下部舵を独立に転舵させてそれぞれ適切な舵角を取ることで、いかなるプロペラ回転数においても常にプロペラ回転流のエネルギー回収に最適な舵角を実現できる。また、その結果、本発明の船舶用舵は、上部舵と下部舵が一体となった1枚の舵と比較して、高揚力を発生させることが可能となり、トータルの舵面積を低減することができる。
また、上部舵と下部舵が一体となった1枚の舵と比較して、上部舵と下部舵の舵面積がほぼ半減するので、上部舵と下部舵の設計荷重が減少する。従って、翼厚が減少して舵単体性能を向上させることができる。
従って、本発明によれば、プロペラ回転流のエネルギーを効果的に利用でき、かつ舵の面積および翼厚を減少させることができる。
本発明の船舶用舵の実施形態を示す側面図である。 図1のA−A線による断面図である。 図1の模式的平面図である。 直進時に上部舵に発生する流体力の説明図である。 直進時に下部舵に発生する流体力の説明図である。 直進時の上部舵及び下部舵の位置を示す図である。 左旋回時の上部舵及び下部舵の位置を示す図である。 左旋回時の上部舵及び下部舵の位置を示す別の図である。 90度の減速モードを示す図である。 30度の減速モードを示す図である。 減速右旋回モードを示す図である。 減速左旋回モードを示す図である。
本発明の実施形態を図面に基づいて説明する。なお、各図において共通する部分には同一の符号を付し、重複した説明を省略する。
図1は、本発明の船舶用舵100の実施形態を示す側面図であり、図2は図1のA−A線による断面図である。
図1、図2において、1は船舶、2は船尾、3はベースライン、4はプロペラセンター、5は転舵軸、6は右舷側、7は左舷側である。
この例において、ベースライン3は、船舶1の下面に相当する水平線である。また、プロペラセンター4は、プロペラ8の軸線を意味する。プロペラセンター4は、水平でも傾斜していてもよい。
転舵軸5は、この例では鉛直軸であり、プロペラセンター4と交差する。なお、転舵軸5は、プロペラセンター4と交差する限りで、鉛直でなくてもよい。
プロペラ8は、この例では単一であるが、2つのプロペラ8が互いに逆回転する二重反転プロペラであってもよい。
図1、図2において、本発明の船舶用舵100は、上部舵10A及び下部舵10Bと、上部用操舵機20A及び下部用操舵機20Bと、を備える。
上部舵10A及び下部舵10Bは、船尾2に配置されたプロペラ8の後方かつ軸線上に上下に配置されている。「プロペラ8の後方かつ軸線上」とは、上部舵10A及び下部舵10Bの共通の転舵軸5が、プロペラ8の後方のプロペラセンター4を含む鉛直平面上に位置することを意味する。
図1において、上部舵10Aと下部舵10Bは、コード長Lと舵高さHがほぼ等しく構成されている。またこの例において、上部舵10Aと下部舵10Bの境界面は、プロペラセンター4の高さとほぼ一致している。
また、下部舵10Bの下端は、ベースライン3よりも上方であることが好ましい。
なお、本発明はこの例に限定されない。すなわち、上部舵10Aと下部舵10Bとは、コード長L又は舵高さHが相違してもよい。また、上部舵10Aと下部舵10Bの境界面が、プロペラセンター4と相違してもよい。
図1、図2において、上部舵10Aと下部舵10Bは、共通(同一)の転舵軸5を有する。
上部用操舵機20Aと下部用操舵機20Bは、上部舵10Aと下部舵10Bをそれぞれ独立に転舵する機能を有する。
すなわち、上部舵10A及び下部舵10Bは、プロペラ8の軸線上から、左舷側7及び右舷側6にそれぞれ転舵可能である。上部舵10A及び下部舵10Bの転舵角度は、プロペラセンター4に対して左舷側7及び右舷側6に最大90度以上であるのがよい。
上述した構成により、プロペラセンター4(プロペラ8の後方かつ軸線上)に上部舵10A及び下部舵10Bを配置するので、プロペラ回転流9a,9bのエネルギーを上部舵10A及び下部舵10Bにより効果的に回収することができる。
特に、本発明の船舶用舵100は、直進時及び旋回時に、上部舵10Aと下部舵10Bを独立に転舵させてそれぞれ適切な舵角を取ることで、いかなるプロペラ回転数においても常にプロペラ回転流9a,9bのエネルギー回収に最適な舵角を実現できる。また、その結果、本発明の船舶用舵100は、上部舵10Aと下部舵10Bが一体となった1枚の舵と比較して、高揚力を発生させることが可能となり、トータルの舵面積を低減することができる。
また、上部舵10Aと下部舵10Bが一体となった1枚の舵と比較して、上部舵10Aと下部舵10Bの舵面積がほぼ半減する。従って、翼厚が減少して舵単体性能を向上させることができる。
図1、図2において、上部用操舵機20Aは、上部用舵軸22aと上部用舵取装置24aとを有する。上部用舵軸22aは、中空円筒形の軸であり、下端が上部舵10Aに固定され、転舵軸5に沿って上方に延びる。上部用舵取装置24aは、転舵軸5を中心に上部用舵軸22aの上端部を転舵する。この転舵角度は、左舷側7及び右舷側6に最大90度以上であるのがよい。
また、下部用操舵機20Bは、下部用舵軸22bと下部用舵取装置24bとを有する。下部用舵軸22bは、この例では中実軸であり、下端が下部舵10Bに固定され、転舵軸5に沿って上方に延びる。下部用舵取装置24bは、転舵軸5を中心に下部用舵軸22bの上端部を転舵する。この転舵角度は、左舷側7及び右舷側6に最大90度以上であるのがよい。
上述した構成により、上部舵10Aと下部舵10Bが一体となった1枚の舵と比較して、上部舵10Aと下部舵10Bの舵面積がほぼ半減し、上部舵10Aと下部舵10Bの設計荷重が減少するので、上部用舵軸22a及び下部用舵軸22bの必要最大トルクがほぼ半減し、それぞれの必要寸法(例えば直径)を小さく(細く)することができる。
転舵軸5は、上部舵10A及び下部舵10Bのコード長Lの中心近傍、又は最大肉厚部近傍に位置することが好ましい。また下部舵10Bの肉厚は、下部用舵軸22bの接続部において、下部用舵軸22bの直径より大きい必要がある。
上述したように、上部舵10Aと下部舵10Bが一体となった1枚の舵と比較して、舵面積がほぼ半減し、設計荷重が減少するので、下部用舵軸22bの直径を従来より小さく(細く)することができ、下部舵10Bの肉厚分布を従来より薄くすることができる。なおこの場合でも、プロペラ回転流9bのエネルギー回収に最適な舵角に下部舵10Bを独立に転舵させることができるので、プロペラ回転流9bのエネルギー回収率を高めることができる。
一方、上部舵10Aは、貫通孔11(後述する)を設ける必要があるため、下部舵10Bの肉厚より大きくなる。しかし、上部舵10Aと下部舵10Bが一体となった1枚の舵と比較して、舵面積がほぼ半減し、設計荷重が減少するので、上部用舵軸22aの直径も従来より小さく(細く)することができる。またこの場合も、プロペラ回転流9aのエネルギー回収に最適な舵角に上部舵10Aを独立に転舵させることができるので、プロペラ回転流9aのエネルギー回収率を高めることができる。
図1、図2において、中空円筒形の上部用舵軸22aと中実の下部用舵軸22bとは、転舵軸5を同軸とする二重管である。
上部用舵軸22aは、船尾2に設けられたハウジング26の内側に、第1軸受27aを介して、転舵軸5を中心に回転自在に取り付けられている。また、図示しないシールにより、上部用舵軸22aとハウジング26の隙間から海水Wが流入しないように密封されている。
上部舵10Aは、その上面から下面まで転舵軸5に沿って貫通する貫通孔11を有する。
下部用舵軸22bは、貫通孔11と上部用舵軸22aの内側に、第2軸受27bを介して転舵軸5を中心に回転自在に取り付けられている。また、図示しないシールにより、貫通孔11及び下部用舵軸22bと上部用舵軸22aの隙間から海水Wが流入しないように密封されている。
上部用舵取装置24aは、上部用舵軸22aの上端部に固定され水平に延びる上部用チラー28aと、転舵軸5を中心に上部用チラー28aを水平に揺動する複数の油圧シリンダ29aとを有する。
下部用舵取装置24bは、下部用舵軸22bの上端部に固定され水平に延びる下部用チラー28bと、転舵軸5を中心に下部用チラー28bを水平に揺動する複数の油圧シリンダ29bとを有する。
油圧シリンダ29a,29bは、それぞれ図示しない油圧ユニットにより独立に制御され、上部舵10Aと下部舵10Bをそれぞれ独立に転舵するようになっている。
上述したように、上部舵10Aと下部舵10Bが一体となった1枚の舵と比較して、上部舵10Aと下部舵10Bの舵面積がほぼ半減し、上部舵10Aと下部舵10Bの設計荷重が減少するので、上部用舵取装置24a及び下部用舵取装置24bの必要最大トルクがほぼ半減する。従って、上部用舵取装置24a及び下部用舵取装置24bの構成機器を小型化することができる。
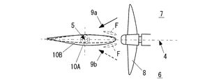
図3Aは、図1の模式的平面図である。この図において、上部舵10Aを実線、下部舵10Bを破線で示している。
この図において、下部舵10Bの肉厚分布は、上部舵10Aより薄く構成されている。
また、プロペラ回転方向を後方から見て、時計回りとした場合、上部舵10Aは、左舷側7から右舷側6に流れるプロペラ回転流9a(実線の矢印で示す)に適した翼形を有する。
また、プロペラ回転方向を後方から見て、時計回りとした場合、下部舵10Bは、右舷側6から左舷側7に流れるプロペラ回転流9b(破線の矢印で示す)に適した翼形を有する。
図3Bは、直進時に上部舵10Aに発生する流体力の説明図である。
上部舵10Aに対し左舷側7から右舷側6に流れる回転流9aにより、流れと直角方向に揚力La、平行方向に抗力Daが発生する。抗力Daに対して揚力Laが大きくなるように、上部舵10Aの舵角および翼形を選択すれば、前進方向の分力を効率的に得ることができる。
図3Cは、直進時に下部舵10Bに発生する流体力の説明図である。
下部舵10Bに対し右舷側6から左舷側7に流れる回転流9bにより、流れと直角方向に揚力Lb、平行方向に抗力Dbが発生する。抗力Dbに対して揚力Lbが大きくなるように、下部舵10Aの舵角および翼形を選択すれば、前進方向の分力を効率的に得ることができる。
すなわち、この例において、上部舵10Aと下部舵10Bとは、翼形又は翼形の反り線が相違する。
上述した構成により、本発明の船舶用舵100は、直進時において上部舵10Aと下部舵10Bが一体となった1枚の舵と比較して、プロペラ回転流9a,9bのエネルギーを効率的に回収し、舵に発生する流体力の前進方向の分力を効率的に得ることができる。
なお、上部舵10Aと下部舵10Bは、この例に限定されず、それぞれプロペラ回転流9a,9bに適した翼形である限りで、高揚力化のため、フィンF(図3Aに破線で示す)又はフラップ(図示せず)を有してもよい。
また、本発明の上部舵10Aと下部舵10Bは、上述した構成に限定されない。すなわち、上部舵10A及び下部舵10Bの翼形は、プロペラセンター4に対し右舷側6と左舷側7が対称であってもよい。
本発明の船舶1は、上述した船舶用舵100を装備する。
上述した船舶用舵100を装備することにより、舵のコード長Lを短くすることができ、船尾配置を容易にし、船尾肥大度を減少させることができる。
なお、本発明の船舶1は、1軸のプロペラ8に限定されず、2軸又は3軸以上のプロペラ8を有してもよい。その場合、上述した上部舵10A及び下部舵10Bと上部用操舵機20A及び下部用操舵機20Bは、複数のプロペラ8の各軸にそれぞれ設けることが好ましい。なお、本発明の船舶1は、複数のプロペラ8のうち、一部のみに、上述した上部舵10A及び下部舵10Bと上部用操舵機20A及び下部用操舵機20Bを設けてもよい。
本発明の船舶用舵100の操舵方法は、上述した上部舵10A及び下部舵10Bと上部用操舵機20A及び下部用操舵機20Bとを準備し、上部舵10A及び下部舵10Bをそれぞれ独立に転舵する。
図4A,図4B,図4Cは、本発明の操舵方法の説明図である。
以下、上部舵10A及び下部舵10Bが右舷側6と左舷側7とで対称とし、下部舵10Bの肉厚分布は、上部舵10Aより薄く構成されている場合を説明する。なお、ここでは舵に働く流体力を前後方向成分Fと左右方向成分Sに分けて説明する。上部舵10Aに働く流体力のうち、前後方向成分をFa、左右方向成分をSa、下部舵10Bに働く流体力うち、前後方向成分をFb、左右方向成分をSbとする。
図4Aは、直進時の上部舵10A及び下部舵10Bの位置を示す図であり、図4Bは左旋回時の上部舵10A及び下部舵10Bの位置を示す図である。
図4Aに示すように、直進時の上部舵10A及び下部舵10Bの位置は、平面視で実質的に一致し、上部舵10Aと下部舵10Bが一体となった1枚の舵と同様に、プロペラ回転流9a,9bのエネルギーを効果的に回収することができる。
また、図4Bに示すように、左旋回時の上部舵10A及び下部舵10Bの位置も、平面視で実質的に一致させることができ、上部舵10Aと下部舵10Bが一体となった1枚の舵と同様であるが、上部舵10Aは左旋回に寄与する力を出すのに対し、下部舵10Bは左旋回への寄与が小さい。これではプロペラ回転流9a,9bのエネルギーを効果的に利用できていない。右旋回時も同様の問題がある。
図4Cは、左旋回時の上部舵10A及び下部舵10Bの位置を示す別の図である。
上述したように、上部舵10Aには左舷側7から右舷側6に流れるプロペラ回転流9aが作用し、下部舵10Bには右舷側6から左舷側7に流れるプロペラ回転流9bが作用する。
従って、この図に示すように、本発明の操舵方法は、左旋回時においても、上部舵10Aと下部舵10Bを独立に転舵させてそれぞれ適切な舵角を取ることで、プロペラ回転数に応じてプロペラ回転流9a,9bのエネルギーを有効に利用し、高揚力を発揮させることが可能である。右旋回時及び直進時も同様である。
図5Aと図5Bは、減速時の本発明の操舵方法の説明図である。
この図に示すように、本発明の操舵方法では、減速時に、上部舵10A及び下部舵10Bの一方を左舷側7に転舵し、他方を右舷側6に転舵する。
図5Aは、90度の減速モード、すなわち上部舵10Aを約90度左舷側7に転舵し、下部舵10Bを約90度右舷側6に転舵した状態を示す図である。この場合、流れに対して舵がほぼ直角に近い状態で配置されるため、揚力は得られず、抗力が顕著になる。その結果、舵には前進方向とは反対向きに大きな流体力が発生し、船舶1を急減速することができる。
図5Bは、30度の減速モード、すなわち上部舵10Aを約30度左舷側7に転舵し、下部舵10Bを約30度右舷側6に転舵した状態を示す図である。
90度以下の舵角、例えば図5Bの30度の減速モードの場合も、90度の舵角(図5A)と比較して、減速効果は落ちるが、類似の効果が得られる。
なお、上部舵10A及び下部舵10Bの最大操舵角は、右舷側6及び左舷側7に90度以上であってもよい。
この構成により、船舶1の後進時においても、船舶1の操舵性を確保することができる。
図6A,図6Bは、減速旋回時の本発明の操舵方法の説明図である。
図6Aは、減速右旋回モード、すなわち上部舵10Aを約90度左舷側7に転舵し、下部舵10Bを約30度右舷側6に転舵した状態を示す図である。この場合、上部舵10Aが主に減速の役割を、下部舵10Bが主に右旋回の役割を担うため、船舶1を減速しながら、右旋回させることができる。
図6Bは、減速左旋回モード、すなわち上部舵10Aを約30度左舷側7に転舵し、下部舵10Bを約90度右舷側6に転舵した状態を示す図である。この場合、上部舵10Aが主に左旋回の役割を、下部舵10Bが主に減速の役割を担うため、船舶1を減速しながら、左旋回させることができる。
なお、上述した本発明の操舵方法は、上部舵10A及び下部舵10Bの翼形の反り線及び翼形が相違する場合にも、同様に適用することができる。
上述した本発明によれば、プロペラセンター4(プロペラ8の後方かつ軸線上)に上部舵10A及び下部舵10Bを配置するので、プロペラ回転流9a,9bのエネルギーを上部舵10A及び下部舵10Bにより効果的に回収できる。
特に、本発明の船舶用舵100は、直進時及び旋回時に、上部舵10Aと下部舵10Bを独立に転舵させてそれぞれ適切な舵角を取ることで、いかなるプロペラ回転数においても常にプロペラ回転流9a,9bのエネルギー回収に最適な舵角を実現できる。また、その結果、本発明の船舶用舵100は、上部舵10Aと下部舵10Bが一体となった1枚の舵と比較して、高揚力を発生させることが可能となり、トータルの舵面積を低減することができる。
また、上部舵10Aと下部舵10Bが一体となった1枚の舵と比較して、上部舵10Aと下部舵10Bの舵面積がほぼ半減するので、上部舵10Aと下部舵10Bの設計荷重が減少する。従って、翼厚が減少して舵単体性能を向上させることができる。
従って、本発明によれば、プロペラ回転流9a,9bのエネルギーを効果的に利用でき、かつ舵の面積および翼厚を減少させることができる。
本発明は上述した実施の形態に限定されず、本発明の要旨を逸脱しない範囲で種々変更を加え得ることは勿論である。
F フィン
H 舵高さ
L コード長
W 海水
1 船舶
2 船尾
3 ベースライン
4 プロペラセンター
5 転舵軸
6 右舷側
7 左舷側
8 プロペラ
9a,9b プロペラ回転流
10A 上部舵
10B 下部舵
11 貫通孔
20A 上部用操舵機
20B 下部用操舵機
22a 上部用舵軸
22b 下部用舵軸
24a 上部用舵取装置
24b 下部用舵取装置
26 ハウジング
27a 第1軸受
27b 第2軸受
28a 上部用チラー
28b 下部用チラー
29a,29b 油圧シリンダ
100 船舶用舵

Claims (1)

  1. 船尾に配置されたプロペラの後方かつ軸線上に上下に配置された上部舵及び下部舵を準備し、
    前記上部舵及び前記下部舵を、前記プロペラの前記軸線上から、左舷側及び右舷側にそれぞれ独立に転舵し、
    減速時又は減速旋回時に、前記上部舵及び前記下部舵の一方を左舷側に転舵し、他方を右舷側に転舵する、操舵方法。
JP2017554708A 2015-12-09 2015-12-09 操舵方法 Active JP6698103B2 (ja)

Applications Claiming Priority (1)

Application Number Priority Date Filing Date Title
PCT/JP2015/084484 WO2017098595A1 (ja) 2015-12-09 2015-12-09 船舶用舵、操舵方法及び船舶

Publications (2)

Publication Number Publication Date
JPWO2017098595A1 JPWO2017098595A1 (ja) 2018-09-20
JP6698103B2 true JP6698103B2 (ja) 2020-05-27

Family

ID=59012768

Family Applications (1)

Application Number Title Priority Date Filing Date
JP2017554708A Active JP6698103B2 (ja) 2015-12-09 2015-12-09 操舵方法

Country Status (6)

Country Link
JP (1) JP6698103B2 (ja)
KR (1) KR102042947B1 (ja)
CN (1) CN108290628A (ja)
PH (1) PH12018500496A1 (ja)
SG (1) SG11201803107WA (ja)
WO (1) WO2017098595A1 (ja)

Families Citing this family (3)

* Cited by examiner, † Cited by third party
Publication number Priority date Publication date Assignee Title
DE202019102807U1 (de) * 2018-11-29 2020-03-05 Becker Marine Systems Gmbh Ruder für Schiffe und Doppelpropellerschiff mit zwei Rudern
JP6608553B1 (ja) * 2019-03-14 2019-11-20 ジャパン・ハムワージ株式会社 輻輳海域の避航操船方法および避航操船システム
JP7440136B1 (ja) * 2023-01-25 2024-02-28 株式会社鷹取製作所 船舶の操縦支援装置

Family Cites Families (10)

* Cited by examiner, † Cited by third party
Publication number Priority date Publication date Assignee Title
JP3751260B2 (ja) 2001-05-09 2006-03-01 ジャパン・ハムワージ株式会社 大型船用二枚舵システム
JP4312081B2 (ja) * 2004-03-04 2009-08-12 株式会社大島造船所 舵装置およびその取付方法
JP4448524B2 (ja) * 2007-03-08 2010-04-14 ユニバーサル造船株式会社 一軸二舵システム
JP2007186204A (ja) 2007-03-16 2007-07-26 Universal Shipbuilding Corp 船舶用舵
KR20090110779A (ko) * 2008-04-18 2009-10-22 미츠비시 쥬고교 가부시키가이샤 핀이 장착된 방향타
KR200447816Y1 (ko) * 2009-07-10 2010-02-23 대우조선해양 주식회사 선박용 방향타
CN101746498A (zh) * 2010-01-28 2010-06-23 武汉理工大学 分体式助推高效舵
JP2012240496A (ja) * 2011-05-17 2012-12-10 Heian Kaiun Kk 2軸船の舵機構
JP2013107522A (ja) * 2011-11-22 2013-06-06 Nippon Yusen Kk ラダーバルブおよび船舶用舵
JP5943631B2 (ja) * 2012-02-15 2016-07-05 三菱重工業株式会社 船舶の舵装置、これを備えた船舶、および舵装置の製造方法

Also Published As

Publication number Publication date
PH12018500496A1 (en) 2018-09-24
WO2017098595A1 (ja) 2017-06-15
KR20180040700A (ko) 2018-04-20
KR102042947B1 (ko) 2019-11-27
SG11201803107WA (en) 2018-05-30
CN108290628A (zh) 2018-07-17
JPWO2017098595A1 (ja) 2018-09-20

Similar Documents

Publication Publication Date Title
US11014643B2 (en) Steering mechanism for a boat having a planing hull
JP4789953B2 (ja) 船舶用推進システム
CN104540729A (zh) 双反转螺旋桨推进方式的船舶
CN103640444B (zh) 斜侧双体水面两栖无人艇
JP6698103B2 (ja) 操舵方法
JP5453625B2 (ja) 二軸推進器付船舶
JP6493691B2 (ja) 船舶
JP6554743B2 (ja) 近接二軸船のフィン付舵、船舶
KR101324965B1 (ko) 러더 및 이를 갖춘 선박
JP2011157019A (ja) 多胴船の推進性能向上装置
JP6618869B2 (ja) 船舶の推進システム
JP7107668B2 (ja)
CN107200115A (zh) 舵构造和船的制作方法
JP7634391B2 (ja) 操舵装置
KR20130012433A (ko) 선박용 러더 및 이를 갖춘 선박
JP2017095020A (ja) 船舶、及び船舶の操船方法
KR101524428B1 (ko) 선박용 러더 및 그를 포함하는 선박
Li The Partition to Fins/Rudders Layout and Propulsion Types for UUV
JP2006298001A (ja) 舶用一軸二舵システムおよび一軸二舵船舶
BG65958B1 (bg) Допълнително корабно кормилно устройство
KR20160031661A (ko) 타력 가변형 러더
JPH0521000U (ja) オフセンタープロペラ1軸船

Legal Events

Date Code Title Description
A621 Written request for application examination

Free format text: JAPANESE INTERMEDIATE CODE: A621

Effective date: 20180605

A131 Notification of reasons for refusal

Free format text: JAPANESE INTERMEDIATE CODE: A131

Effective date: 20190329

A521 Request for written amendment filed

Free format text: JAPANESE INTERMEDIATE CODE: A523

Effective date: 20190522

A131 Notification of reasons for refusal

Free format text: JAPANESE INTERMEDIATE CODE: A131

Effective date: 20191025

A521 Request for written amendment filed

Free format text: JAPANESE INTERMEDIATE CODE: A523

Effective date: 20191212

TRDD Decision of grant or rejection written
A01 Written decision to grant a patent or to grant a registration (utility model)

Free format text: JAPANESE INTERMEDIATE CODE: A01

Effective date: 20200422

A61 First payment of annual fees (during grant procedure)

Free format text: JAPANESE INTERMEDIATE CODE: A61

Effective date: 20200427

R150 Certificate of patent or registration of utility model

Ref document number: 6698103

Country of ref document: JP

Free format text: JAPANESE INTERMEDIATE CODE: R150

R250 Receipt of annual fees

Free format text: JAPANESE INTERMEDIATE CODE: R250